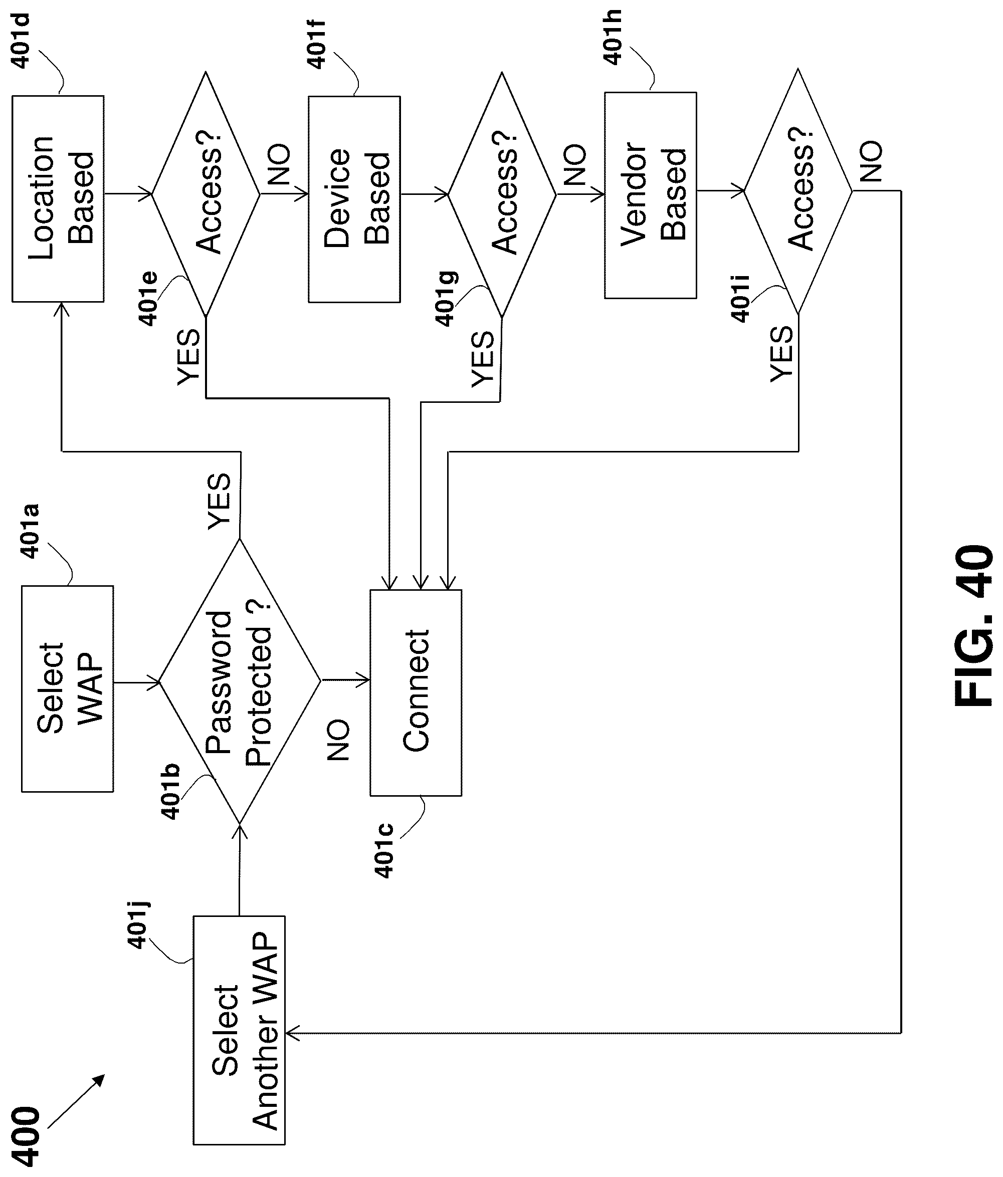
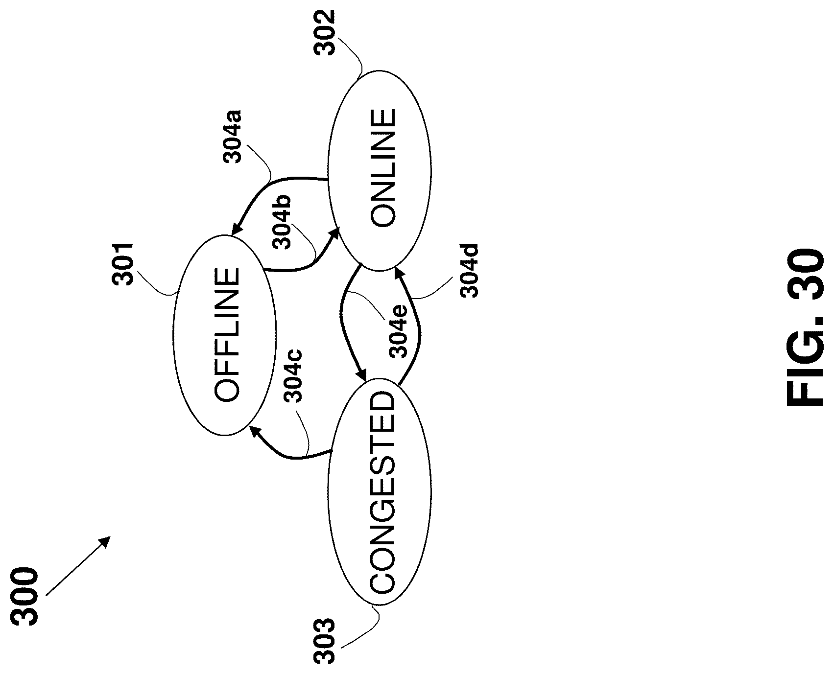
A method for fetching a content from a web server to a client device is disclosed, using tunnel devices serving as intermediate devices. The client device accesses an acceleration server to receive a list of available tunnel devices. The requested content is partitioned into slices, and the client device sends a request for the slices to the available tunnel devices. The tunnel devices in turn fetch the slices from the data server, and send the slices to the client device, where the content is reconstructed from the received slices. A client device may also serve as a tunnel device, serving as an intermediate device to other client devices. Similarly, a tunnel device may also serve as a client device for fetching content from a data server. The selection of tunnel devices to be used by a client device may be in the acceleration server, in the client device, or in both. The partition into slices may be overlapping or non-overlapping, and the same slice (or the whole content) may be fetched via multiple tunnel devices.
1. A method for use with first, second, and third devices, and for use with a web server that stores a web-site that includes first, second, and third web-pages respectively identified using first, second and third Uniform Resource Locators (URLs), the method comprising:
receiving, by the first device, a first HyperText Transfer Protocol (HTTP) request that comprises the first URL; sending, by the first device to the web server, the received first HTTP request; receiving, by the first device from the web server, in response to the sending of the first HTTP request, the first web-page; sending, by the first device, the received first web-page; receiving, by the second device, a second HTTP request that comprises the second URL; sending, by the second device to the web server, the received second HTTP request; receiving, by the second device from the web server, in response to the sending of the second HTTP request, the second web-page; sending, by the second device, the received second web-page; receiving, by the third device, a third HTTP request that comprises the third URL; sending, by the third device to the web server, the received third HTTP request; receiving, by the third device from the web server, in response to the sending of the third HTTP request, the third web-page; sending, by the third device, the received third web-page; and constructing at least part of the web-site from the received first, second, and third web-pages. 2. The method according to 3. The method according to 4. The method according to 5. The method according to 6. The method according to 7. The method according to 8. The method according to 9. The method according to 10. The method according to 11. The method according to 12. The method according to 13. The method according to 14. The method according to 15. The method according to 16. The method according to 17. The method according to 18. The method according to 19. The method according to 20. The method according to 21. The method according to 22. The method according to 23. The method according to 24. The method according to 25. The method according to 26. The method according to 27. The method according to 28. The method according to 29. The method according to 30. The method according to 31. The method according to 32. The method according to 33. The method according to 34. The method according to 35. The method according to 36. The method according to 37. The method according to 38. The method according to 39. The method according to 40. The method according to 41. The method according to 42. The method according to 43. The method according to 44. The method according to 45. The method according to 46. The method according to 47. The method according to 48. The method according to 49. The method according to 50. The method according to 51. The method according to 52. The method according to 53. The method according to 54. The method according to 55. The method according to 56. The method according to 57. The method according to 58. The method according to 59. The method according to 60. The method according to 61. The method according to 62. The method according to 63. The method according to 64. The method according to 65. The method according to 66. The method according to 67. The method according to 68. The method according to 69. The method according to
This application is a continuation application of U.S. application Ser. No. 15/663,762, filed on Jul. 30, 2017, which is a continuation application of U.S. application Ser. No. 14/930,894, filed on Nov. 3, 2015 (now U.S. Pat. No. 9,742,866), which is a divisional of U.S. application Ser. No. 14/468,836, filed on Aug. 26, 2014 (now U.S. Pat. No. 9,241,044), which claims priority from U.S. Provisional Application Ser. No. 61/870,815, filed on Aug. 28, 2013, all of which are hereby incorporated herein by reference. This disclosure relates generally to an apparatus and method for improving communication over the Internet by using intermediate nodes, and in particular, to using devices that may doubly function as an end-user and as an intermediate node. Unless otherwise indicated herein, the materials described in this section are not prior art to the claims in this application and are not admitted to be prior art by inclusion in this section. The Internet is a global system of interconnected computer networks that use the standardized Internet Protocol Suite (TCP/IP), including Transmission Control Protocol (TCP) and the Internet Protocol (IP), to serve billions of users worldwide. It is a network of networks that consists of millions of private, public, academic, business, and government networks, of local to global scope, that are linked by a broad array of electronic and optical networking technologies. The Internet carries a vast range of information resources and services, such as the interlinked hypertext documents on the World Wide Web (WWW) and the infrastructure to support electronic mail. The Internet backbone refers to the principal data routes between large, strategically interconnected networks and core routers in the Internet. These data routes are hosted by commercial, government, academic, and other high-capacity network centers, the Internet exchange points and network access points that interchange Internet traffic between the countries, continents and across the oceans of the world. Traffic interchange between Internet service providers (often Tier 1 networks) participating in the Internet backbone exchange traffic by privately negotiated interconnection agreements, primarily governed by the principle of settlement-free peering. The Transmission Control Protocol (TCP) is one of the core protocols of the Internet protocol suite (IP) described in RFC 675 and RFC 793, and the entire suite is often referred to as TCP/IP. TCP provides reliable, ordered and error-checked delivery of a stream of octets between programs running on computers connected to a local area network, intranet or the public Internet. It resides at the transport layer. Web browsers typically use TCP when they connect to servers on the World Wide Web, and used to deliver email and transfer files from one location to another. HTTP, HTTPS, SMTP, POP3, IMAP, SSH, FTP, Telnet and a variety of other protocols that are typically encapsulated in TCP. As the transport layer of TCP/IP suite, the TCP provides a communication service at an intermediate level between an application program and the Internet Protocol (IP). Due to network congestion, traffic load balancing, or other unpredictable network behavior, IP packets can be lost, duplicated, or delivered out of order. TCP detects these problems, requests retransmission of lost data, rearranges out-of-order data, and even helps minimize network congestion to reduce the occurrence of the other problems. Once the TCP receiver has reassembled the sequence of octets originally transmitted, it passes them to the receiving application. Thus, TCP abstracts the application's communication from the underlying networking details. The TCP is utilized extensively by many of the Internet's most popular applications, including the World Wide Web (WWW), E-mail, File Transfer Protocol, Secure Shell, peer-to-peer file sharing, and some streaming media applications. While IP layer handles actual delivery of the data, TCP keeps track of the individual units of data transmission, called segments, which a message is divided into for efficient routing through the network. For example, when an HTML file is sent from a web server, the TCP software layer of that server divides the sequence of octets of the file into segments and forwards them individually to the IP software layer (Internet Layer). The Internet Layer encapsulates each TCP segment into an IP packet by adding a header that includes (among other data) the destination IP address. When the client program on the destination computer receives them, the TCP layer (Transport Layer) reassembles the individual segments and ensures they are correctly ordered and error free as it streams them to an application. The TCP protocol operations may be divided into three phases. Connections must be properly established in a multi-step handshake process (connection establishment) before entering the data transfer phase. After data transmission is completed, the connection termination closes established virtual circuits and releases all allocated resources. A TCP connection is typically managed by an operating system through a programming interface that represents the local end-point for communications, the Internet socket. During the duration of a TCP connection, the local end-point undergoes a series of state changes. Since TCP/IP is based on the client/server model of operation, the TCP connection setup involves the client and server preparing for the connection by performing an OPEN operation. A client process initiates a TCP connection by performing an active OPEN, sending a SYN message to a server. A server process using TCP prepares for an incoming connection request by performing a passive OPEN. Both devices create for each TCP session a data structure used to hold important data related to the connection, called a Transmission Control Block (TCB). There are two different kinds of OPEN, named ‘Active OPEN’ and ‘Passive OPEN’. In Active OPEN the client process using TCP takes the “active role” and initiates the connection by actually sending a TCP message to start the connection (a SYN message). In Passive OPEN the server process designed to use TCP is contacting TCP and saying: “I am here, and I am waiting for clients that may wish to talk to me to send me a message on the following port number”. The OPEN is called passive because aside from indicating that the process is listening, the server process does nothing. A passive OPEN can in fact specify that the server is waiting for an active OPEN from a specific client, though not all TCP/IP APIs support this capability. More commonly, a server process is willing to accept connections from all corners. Such a passive OPEN is said to be unspecified. In passive OPEN, the TCP uses a three-way handshake, and before a client attempts to connect with a server, the server must first bind to and listen at a port to open it up for connections. Once the Passive OPEN is established, a client may initiate an Active OPEN. To establish a connection, the three-way (or 3-step) handshake occurs:
At this point, both the client and server have received an acknowledgment of the connection. The steps 1, 2 establish the connection parameter (sequence number) for one direction and it is acknowledged. The steps 2, 3 establish the connection parameter (sequence number) for the other direction and it is acknowledged, and then a full-duplex communication is established. The Internet Protocol (IP) is the principal communications protocol used for relaying datagrams (packets) across a network using the Internet Protocol Suite. Responsible for routing packets across network boundaries, it is the primary protocol that establishes the Internet. IP is the primary protocol in the Internet Layer of the Internet Protocol Suite and has the task of delivering datagrams from the source host to the destination host based on their addresses. For this purpose, IP defines addressing methods and structures for datagram encapsulation. Internet Protocol Version 4 (IPv4) is the dominant protocol of the Internet. IPv4 is described in Internet Engineering Task Force (IETF) Request for Comments (RFC) 791 and RFC 1349, and the successor, Internet Protocol Version 6 (IPv6), is currently active and in growing deployment worldwide. IPv4 uses 32-bit addresses (providing 4 billion: 4.3×109addresses), while IPv6 uses 128-bit addresses (providing 340 undecillion or 3.4×1038addresses), as described in RFC 2460. An overview of an IP-based packet 15 is shown in The Internet Protocol is responsible for addressing hosts and routing datagrams (packets) from a source host to the destination host across one or more IP networks. For this purpose the Internet Protocol defines an addressing system that has two functions. Addresses identify hosts and provide a logical location service. Each packet is tagged with a header that contains the meta-data for the purpose of delivery. This process of tagging is also called encapsulation. IP is a connectionless protocol for use in a packet-switched Link Layer network, and does not need circuit setup prior to transmission. The aspects of guaranteeing delivery, proper sequencing, avoidance of duplicate delivery, and data integrity are addressed by an upper transport layer protocol (e.g., TCP—Transmission Control Protocol and UDP—User Datagram Protocol). The main aspects of the IP technology are IP addressing and routing. Addressing refers to how IP addresses are assigned to end hosts and how sub-networks of IP host addresses are divided and grouped together. IP routing is performed by all hosts, but most importantly by internetwork routers, which typically use either Interior Gateway Protocols (IGPs) or External Gateway Protocols (EGPs) to help make IP datagram forwarding decisions across IP connected networks. Core routers serving in the Internet backbone commonly use the Border Gateway Protocol (BGP) as per RFC 4098 or Multi-Protocol Label Switching (MPLS). Other prior art publications relating to Internet related protocols and routing include the following chapters of the publication number 1-587005-001-3 by Cisco Systems, Inc. (July 1999) entitled: “ An Internet packet typically includes a value of Time-to-live (TTL) for avoiding the case of packet looping endlessly. The initial TTL value is set in the header of the packet, and each router in the packet path subtracts one from the TTL field, and the packet is discarded upon the value exhaustion. Since the packets may be routed via different and disparately located routers and servers, the TTL of the packets reaching the ultimate destination computer are expected to vary. The Internet architecture employs a client-server model, among other arrangements. The terms ‘server’ or ‘server computer’ relates herein to a device or computer (or a plurality of computers) connected to the Internet and is used for providing facilities or services to other computers or other devices (referred to in this context as ‘clients’) connected to the Internet. A server is commonly a host that has an IP address and executes a ‘server program’, and typically operates as a socket listener. Many servers have dedicated functionality such as web server, Domain Name System (DNS) server (described in RFC 1034 and RFC 1035), Dynamic Host Configuration Protocol (DHCP) server (described in RFC 2131 and RFC 3315), mail server, File Transfer Protocol (FTP) server and database server. Similarly, the term ‘client’ is used herein to include, but not limited to, a program or to a device or a computer (or a series of computers) executing this program, which accesses a server over the Internet for a service or a resource. Clients commonly initiate connections that a server may accept. For non-limiting example, web browsers are clients that connect to web servers for retrieving web pages, and email clients connect to mail storage servers for retrieving mails. The Hypertext Transfer Protocol (HTTP) is an application protocol for distributed, collaborative, hypermedia information systems, commonly used for communication over the Internet. Hypertext is. HTTP is the protocol to exchange or transfer hypertext, which is a structured text that uses logical links (hyperlinks) between nodes containing text. HTTP version 1.1 was standardized as RFC 2616 (June 1999), which was replaced by a set of standards (obsoleting RFC 2616), including RFC 7230—HTTP/1.1: Message Syntax and Routing, RFC 7231—HTTP/1.1: Semantics and Content, RFC 7232—HTTP/1.1: Conditional Requests, RFC 7233—HTTP/1.1: Range Requests, RFC 7234—HTTP/1.1: Caching, and RFC 7235—HTTP/1.1: Authentication. HTTP functions as a request-response protocol in the client-server computing model. A web browser, for example, may be the client and an application running on a computer hosting a website may be the server. The client submits an HTTP request message to the server. The server, which provides resources such as HTML files and other content, or performs other functions on behalf of the client, returns a response message to the client. The response contains completion status information about the request and may also contain requested content in its message body. A web browser is an example of a user agent (UA). Other types of user agent include the indexing software used by search providers (web crawlers), voice browsers, mobile apps and other software that accesses, consumes or displays web content. HTTP is designed to permit intermediate network elements to improve or enable communications between clients and servers. High-traffic websites often benefit from web cache servers that deliver content on behalf of upstream servers to improve response time. Web browsers cache previously accessed web resources and reuse them when possible, to reduce network traffic. HTTP proxy servers at private network boundaries can facilitate communication for clients without a globally routable address, by relaying messages with external servers. HTTP is an application layer protocol designed within the framework of the Internet Protocol Suite. Its definition presumes an underlying and reliable transport layer protocol, and Transmission Control Protocol (TCP) is commonly used. However, HTTP can use unreliable protocols such as the User Datagram Protocol (UDP), for example, in the Simple Service Discovery Protocol (SSDP). HTTP resources are identified and located on the network by Uniform Resource Identifiers (URIs) or, more specifically, Uniform Resource Locators (URLs), using the http or https URI schemes. URIs and hyperlinks in Hypertext Markup Language (HTML) documents form webs of inter-linked hypertext documents. An HTTP session is a sequence of network request-response transactions. An HTTP client initiates a request by establishing a Transmission Control Protocol (TCP) connection to a particular port on a server. An HTTP server listening on that port waits for a client's request message. Upon receiving the request, the server sends back a status line, such as “HTTP/1.1 200 OK”, and a message of its own. The body of this message is typically the requested resource, although an error message or other information may also be returned. HTTP is a stateless protocol. A stateless protocol does not require the HTTP server to retain information or status HTTP persistent connection, also called HTTP keep-alive, or HTTP connection reuse, refers to using a single TCP connection to send and receive multiple HTTP requests/responses, as opposed to opening a new connection for every single request/response pair. Persistent connections provide a mechanism by which a client and a server can signal the close of a TCP connection. This signaling takes place using the Connection header field. The HTTP persistent connection is described in IETF RFC 2616, entitled: “ An Operating System (OS) is software that manages computer hardware resources and provides common services for computer programs. The operating system is an essential component of any system software in a computer system, and most application programs usually require an operating system to function. For hardware functions such as input and output and memory allocation, the operating system acts as an intermediary between programs and the computer hardware, although the application code is usually executed directly by the hardware and will frequently make a system call to an OS function or be interrupted by it. Common features typically supported by operating systems include process management, interrupts handling, memory management, file system, device drivers, networking (such as TCP/IP and UDP), and Input/Output (I/O) handling. Examples of popular modern operating systems include Android, BSD, iOS, Linux, OS X, QNX, Microsoft Windows, Windows Phone, and IBM z/OS. A server device (in server/client architecture) typically offers information resources, services, and applications to clients, and is using a server dedicated or oriented operating system. Current popular server operating systems are based on Microsoft Windows (by Microsoft Corporation, headquartered in Redmond, Washington, U.S.A.), Unix, and Linux-based solutions, such as the ‘Windows Server 2012’ server operating system is part of the Microsoft ‘Windows Server’ OS family, that was released by Microsoft on 2012, providing enterprise-class datacenter and hybrid cloud solutions that are simple to deploy, cost-effective, application-focused, and user-centric, and is described in Microsoft publication entitled: “ Unix operating systems are widely used in servers. Unix is a multitasking, multiuser computer operating system that exists in many variants, and is characterized by a modular design that is sometimes called the “Unix philosophy,” meaning the OS provides a set of simple tools that each perform a limited, well-defined function, with a unified filesystem as the main means of communication, and a shell scripting and command language to combine the tools to perform complex workflows. Unix was designed to be portable, multi-tasking and multi-user in a time-sharing configuration, and Unix systems are characterized by various concepts: the use of plain text for storing data; a hierarchical file system; treating devices and certain types of Inter-Process Communication (IPC) as files; and the use of a large number of software tools, small programs that can be strung together through a command line interpreter using pipes, as opposed to using a single monolithic program that includes all of the same functionality. Under Unix, the operating system consists of many utilities along with the master control program, the kernel. The kernel provides services to start and stop programs, handles the file system and other common “low level” tasks that most programs share, and schedules access to avoid conflicts when programs try to access the same resource or device simultaneously. To mediate such access, the kernel has special rights, reflected in the division between user-space and kernel-space. Unix is described in a publication entitled: “UNIX Tutorial” by tutorialspoint.com, downloaded on July 2014, which is incorporated in its entirety for all purposes as if fully set forth herein. A client device (in server/client architecture) typically receives information resources, services, and applications from servers, and is using a client dedicated or oriented operating system. Current popular server operating systems are based on Microsoft Windows (by Microsoft Corporation, headquartered in Redmond, Washington, U.S.A.), which is a series of graphical interface operating systems developed, marketed, and sold by Microsoft. Microsoft Windows is described in Microsoft publications entitled: “Windows Internals—Part 1” and “ Chrome OS is a Linux kernel-based operating system designed by Google Inc. out of Mountain View, California, U.S.A., to work primarily with web applications. The user interface takes a minimalist approach and consists almost entirely of just the Google Chrome web browser; since the operating system is aimed at users who spend most of their computer time on the Web, the only “native” applications on Chrome OS are a browser, media player and file manager, and hence the Chrome OS is almost a pure web thin client OS. The Chrome OS is described as including a three-tier architecture: firmware, browser and window manager, and system-level software and userland services. The firmware contributes to fast boot time by not probing for hardware, such as floppy disk drives, that are no longer common on computers, especially netbooks. The firmware also contributes to security by verifying each step in the boot process and incorporating system recovery. The system-level software includes the Linux kernel that has been patched to improve boot performance. The userland software has been trimmed to essentials, with management by Upstart, which can launch services in parallel, re-spawn crashed jobs, and defer services in the interest of faster booting. The Chrome OS user guide is described in the Samsung Electronics Co., Ltd. presentation entitled: “ A mobile operating system (also referred to as mobile OS), is an operating system that operates a smartphone, tablet, PDA, or other mobile device. Modern mobile operating systems combine the features of a personal computer operating system with other features, including a touchscreen, cellular, Bluetooth, Wi-Fi, GPS mobile navigation, camera, video camera, speech recognition, voice recorder, music player, near field communication and infrared blaster. Currently popular mobile OS are Android, Symbian, Apple iOS, BlackBerry, MeeGo, Windows Phone, and Bada. Mobile devices with mobile communications capabilities (e.g. smartphones) typically contain two mobile operating systems—the main user-facing software platform is supplemented by a second low-level proprietary real-time operating system which operates the radio and other hardware. Android is an open source and Linux-based mobile operating system (OS) based on the Linux kernel that is currently offered by Google. With a user interface based on direct manipulation, Android is designed primarily for touchscreen mobile devices such as smartphones and tablet computers, with specialized user interfaces for televisions (Android TV), cars (Android Auto), and wrist watches (Android Wear). The OS uses touch inputs that loosely correspond to real-world actions, such as swiping, tapping, pinching, and reverse pinching to manipulate on-screen objects, and a virtual keyboard. Despite being primarily designed for touchscreen input, it also has been used in game consoles, digital cameras, and other electronics. The response to user input is designed to be immediate and provides a fluid touch interface, often using the vibration capabilities of the device to provide haptic feedback to the user. Internal hardware such as accelerometers, gyroscopes and proximity sensors are used by some applications to respond to additional user actions, for example adjusting the screen from portrait to landscape depending on how the device is oriented, or allowing the user to steer a vehicle in a racing game by rotating the device, simulating control of a steering wheel. Android devices boot to the homescreen, the primary navigation and information point on the device, which is similar to the desktop found on PCs. Android homescreens are typically made up of app icons and widgets; app icons launch the associated app, whereas widgets display live, auto-updating content such as the weather forecast, the user's email inbox, or a news ticker directly on the homescreen. A homescreen may be made up of several pages that the user can swipe back and forth between, though Android's homescreen interface is heavily customizable, allowing the user to adjust the look and feel of the device to their tastes. Third-party apps available on Google Play and other app stores can extensively re-theme the homescreen, and even mimic the look of other operating systems, such as Windows Phone. The Android OS is described in a publication entitled: “ iOS (previously iPhone OS) from Apple Inc. (headquartered in Cupertino, California, U.S.A.) is a mobile operating system distributed exclusively for Apple hardware. The user interface of the iOS is based on the concept of direct manipulation, using multi-touch gestures. Interface control elements consist of sliders, switches, and buttons. Interaction with the OS includes gestures such as swipe, tap, pinch, and reverse pinch, all of which have specific definitions within the context of the iOS operating system and its multi-touch interface. Internal accelerometers are used by some applications to respond to shaking the device (one common result is the undo command) or rotating it in three dimensions (one common result is switching from portrait to landscape mode). The iOS is described in the publication entitled: “ Operating systems: An Operating System (OS) is software that manages computer hardware resources and provides common services for computer programs. The operating system is an essential component of any system software in a computer system, and most application programs usually require an operating system to function. For hardware functions such as input and output and memory allocation, the operating system acts as an intermediary between programs and the computer hardware, although the application code is usually executed directly by the hardware and will frequently make a system call to an OS function or be interrupted by it. Common features typically supported by operating systems include process management, interrupts handling, memory management, file system, device drivers, networking (such as TCP/IP and UDP), and Input/Output (I/O) handling. Examples of popular modern operating systems include Android, BSD, iOS, Linux, OS X, QNX, Microsoft Windows, Windows Phone, and IBM z/OS. Process management: The operating system provides an interface between an application program and the computer hardware, so that an application program can interact with the hardware only by obeying rules and procedures programmed into the operating system. The operating system is also a set of services which simplify development and execution of application programs. Executing an application program involves the creation of a process by the operating system kernel which assigns memory space and other resources, establishes a priority for the process in multi-tasking systems, loads program binary code into memory, and initiates execution of the application program which then interacts with the user and with hardware devices. The OS must allocate resources to processes, enable processes to share and exchange information, protect the resources of each process from other processes, and enable synchronization among processes. The OS maintains a data structure for each process, which describes the state and resource ownership of that process, and which enables the OS to exert control over each process. In many modern operating systems, there can be more than one instance of a program loaded in memory at the same time; for example, more than one user could be executing the same program, each user having separate copies of the program loaded into memory. With some programs, known as re-entrant type, it is possible to have one copy loaded into memory, while several users have shared access to it so that they each can execute the same program-code. The processor at any instant can only be executing one instruction from one program but several processes can be sustained over a period of time by assigning each process to the processor at intervals while the remainder become temporarily inactive. A number of processes being executed over a period of time instead of at the same time is called concurrent execution. A multiprogramming or multitasking OS is a system executing many processes concurrently. A multiprogramming requires that the processor be allocated to each process for a period of time, and de-allocated at an appropriate moment. If the processor is de-allocated during the execution of a process, it must be done in such a way that it can be restarted later as easily as possible. There are two typical ways for an OS to regain control of the processor during a program's execution in order for the OS to perform de-allocation or allocation: The process issues a system call (sometimes called a software interrupt); for example, an I/O request occurs requesting to access a file on hard disk. Alternatively, a hardware interrupt occurs; for example, a key was pressed on the keyboard, or a timer runs out (used in pre-emptive multitasking). The stopping of one process and starting (or restarting) of another process is called a context switch or context change. In many modern operating systems, processes can consist of many sub-processes. This introduces the concept of a thread. A thread may be viewed as a sub-process; that is, a separate, independent sequence of execution within the code of one process. Threads are becoming increasingly important in the design of distributed and client-server systems and in software run on multi-processor systems. Modes: Many contemporary processors incorporate a mode bit to define the execution capability of a program in the processor. This bit can be set to a kernel mode or a user mode. A kernel mode is also commonly referred to as supervisor mode, monitor mode or ring 0. In kernel mode, the processor can execute every instruction in its hardware repertoire, whereas in user mode, it can only execute a subset of the instructions. Instructions that can be executed only in kernel mode are called kernel, privileged or protected instructions to distinguish them from the user mode instructions. For example, I/O instructions are privileged. So, if an application program executes in user mode, it cannot perform its own I/O, and must request the OS to perform I/O on its behalf. The system may logically extend the mode bit to define areas of memory to be used when the processor is in kernel mode versus user mode. If the mode bit is set to kernel mode, the process executing in the processor can access either the kernel or user partition of the memory. However, if user mode is set, the process can reference only the user memory space, hence two classes of memory are defined, the user space and the system space (or kernel, supervisor or protected space). In general, the mode bit extends the operating system's protection rights, and is set by the user mode trap instruction, also called a supervisor call instruction. This instruction sets the mode bit, and branches to a fixed location in the system space. Since only the system code is loaded in the system space, only the system code can be invoked via a trap. When the OS has completed the supervisor call, it resets the mode bit to user mode prior to the return. Computer operating systems provide different levels of access to resources, and these hierarchical protection domains are often referred to as ‘protection rings’, and are used to protect data and functionality from faults (by improving fault tolerance) and malicious behaviour (by providing computer security). A protection ring is one of two or more hierarchical levels or layers of privilege within the architecture of a computer system. These levels may be hardware-enforced by some CPU architectures that provide different CPU modes at the hardware or microcode level. Rings are arranged in a hierarchy from most privileged (most trusted, usually numbered zero) to least privileged (least trusted, usually with the highest ring number). On most operating systems, kernel mode or ‘Ring 0’ is the level with the most privileges and interacts most directly with the physical hardware such as the CPU and memory. Special gates between rings are provided to allow an outer ring to access an inner ring's resources in a predefined manner, as opposed to allowing arbitrary usage. Correctly gating access between rings can improve security by preventing programs from one ring or privilege level from misusing resources intended for programs in another. For example, spyware running as a user program in Ring 3 should be prevented from turning on a web camera without informing the user, since hardware access should be a Ring 1 function reserved for device drivers. Programs such as web browsers running in higher numbered rings must request access to the network, a resource restricted to a lower numbered ring. Kernel: With the aid of the firmware and device drivers, the kernel provides the most basic level of control over all of the computer's hardware devices. It manages memory access for programs in the RAM, it determines which programs get access to which hardware resources, it sets up or resets the CPU's operating states for optimal operation at all times, and it organizes the data for long-term non-volatile storage with file systems on such media as disks, tapes, flash memory, etc. The part of the system executing in kernel supervisor state is called the kernel, or nucleus, of the operating system. The kernel operates as trusted software, meaning that when it was designed and implemented, it was intended to implement protection mechanisms that could not be covertly changed through the actions of untrusted software executing in user space. Extensions to the OS execute in user mode, so the OS does not rely on the correctness of those parts of the system software for correct operation of the OS. Hence, a fundamental design decision for any function to be incorporated into the OS is whether it needs to be implemented in the kernel. If it is implemented in the kernel, it will execute in kernel (supervisor) space, and have access to other parts of the kernel. It will also be trusted software by the other parts of the kernel. If the function is implemented to execute in user mode, it will have no access to kernel data structures. There are two techniques by which a program executing in user mode can request the kernel's services, namely ‘System call’ and ‘Message passing’. Operating systems are typically with one or the other of these two facilities, but commonly not both. Assuming that a user process wishes to invoke a particular target system function, in the system call approach, the user process uses the trap instruction, so the system call should appear to be an ordinary procedure call to the application program; the OS provides a library of user functions with names corresponding to each actual system call. Each of these stub functions contains a trap to the OS function, and when the application program calls the stub, it executes the trap instruction, which switches the CPU to kernel mode, and then branches (indirectly through an OS table), to the entry point of the function which is to be invoked. When the function completes, it switches the processor to user mode and then returns control to the user process; thus simulating a normal procedure return. In the message passing approach, the user process constructs a message, that describes the desired service, and then it uses a trusted send function to pass the message to a trusted OS process. The send function serves the same purpose as the trap; that is, it carefully checks the message, switches the processor to kernel mode, and then delivers the message to a process that implements the target functions. Meanwhile, the user process waits for the result of the service request with a message receive operation. When the OS process completes the operation, it sends a message back to the user process. Interrupts handling: Interrupts are central to operating systems, as they provide an efficient way for the operating system to interact with and react to its environment. Interrupts are typically handled by the operating system's kernel, and provide a computer with a way of automatically saving local register contexts, and running specific code in response to events. When an interrupt is received, the computer's hardware automatically suspends whatever program is currently running, saves its status, and runs computer code previously associated with the interrupt. When a hardware device triggers an interrupt, the operating system's kernel decides how to deal with this event, generally by running some processing code. The amount of code being run depends on the priority of the interrupt, and the processing of hardware interrupts is executed by a device driver, which may be either part of the operating system's kernel, part of another program, or both. Device drivers may then relay information to a running program by various means. A program may also trigger an interrupt to the operating system. For example, if a program wishes to access an hardware (such as a peripheral), it may interrupt the operating system's kernel, which causes control to be passed back to the kernel. The kernel will then process the request. If a program wishes additional resources (or wishes to shed resources) such as memory, it will trigger an interrupt to get the kernel's attention. Each interrupt has its own interrupt handler. The number of hardware interrupts is limited by the number of interrupt request (IRQ) lines to the processor, but there may be hundreds of different software interrupts. Interrupts are a commonly used technique for computer multitasking, especially in real-time computing systems, which are commonly referred to as interrupt-driven systems. Memory management: A multiprogramming operating system kernel is responsible for managing all system memory which is currently in use by programs, ensuring that a program does not interfere with memory already in use by another program. Since programs time share, each program must have independent access to memory. Memory protection enables the kernel to limit a process' access to the computer's memory. Various methods of memory protection exist, including memory segmentation and paging. In both segmentation and paging, certain protected mode registers specify to the CPU what memory address it should allow a running program to access. Attempts to access other addresses will trigger an interrupt which will cause the CPU to re-enter supervisor mode, placing the kernel in charge. This is called a segmentation violation (or Seg-V), and the kernel will generally resort to terminating the offending program, and will report the error. Memory management further provides ways to dynamically allocate portions of memory to programs at their request, and free it for reuse when no longer needed. This is critical for any advanced computer system where more than a single process might be underway at any time. Several methods have been devised that increase the effectiveness of memory management. Virtual memory systems separate the memory addresses used by a process from actual physical addresses, allowing separation of processes and increasing the effectively available amount of RAM using paging or swapping to secondary storage. The quality of the virtual memory manager can have an extensive effect on overall system performance. File system: Commonly a file system (or filesystem) is used to control how data is stored and retrieved. By separating the data into individual pieces, and giving each piece a name, the information is easily separated and identified, where each piece of data is called a “file”. The structure and logic rules used to manage the groups of information and their names is called a “file system”. There are many different kinds of file systems. Each one has a different structure and logic, properties of speed, flexibility, security, size and more. Some file systems have been designed to be used for specific applications. For example, the ISO 9660 file system is designed specifically for optical discs. File systems can be used on many different kinds of storage devices. Some file systems are used on local data storage devices; others provide file access via a network protocol (for example, NFS, SMB, or 9P clients). Some file systems are “virtual”, in that the “files” supplied are computed on request (e.g. procfs) or are merely a mapping into a different file system used as a backing store. The file system manages access to both the content of files and the metadata about those files. It is responsible for arranging storage space; reliability, efficiency, and tuning with regard to the physical storage medium are important design considerations. A disk file system takes advantages of the ability of disk storage media to randomly address data in a short amount of time. Additional considerations include the speed of accessing data following that initially requested and the anticipation that the following data may also be requested. This permits multiple users (or processes) access to various data on the disk without regard to the sequential location of the data. Examples include FAT (FAT12, FAT16, FAT32), exFAT, NTFS, HFS and HFS+, HPFS, UFS, ext2, ext3, ext4, XFS, btrfs, ISO 9660, Files-11, Veritas File System, VMFS, ZFS, ReiserFS and UDF. Some disk file systems are journaling file systems or versioning file systems. TMPFS. TMPFS (or tmpfs) is a common name for a temporary file storage facility on many Unix-like operating systems. While intended to appear as a mounted file system, it is stored in volatile memory instead of a non-volatile storage device. A similar construction is a RAM disk, which appears as a virtual disk drive and hosts a disk file system. The tmpfs is typically a file system based on SunOS virtual memory resources, which does not use traditional non-volatile media to store file data; instead, tmpfs files exist solely in virtual memory maintained by the UNIX kernel. Because tmpfs file systems do not use dedicated physical memory for file data, but instead use VM system resources and facilities, they can take advantage of kernel resource management policies. Tmpfs is designed primarily as a performance enhancement to allow short-lived files to be written and accessed without generating disk or network I/O. Tmpfs maximizes file manipulation speed while preserving UNIX file semantics. It does not require dedicated disk space for files and has no negative performance impact. The tmpfs is described in a Sun Microsystem Inc. paper entitled: “ Device drivers: A device driver is a specific type of computer software developed to allow interaction with hardware devices. Typically, this constitutes an interface for communicating with the device, through the specific computer bus or communications subsystem that the hardware is connected to, providing commands to and/or receiving data from the device, and on the other end, the requisite interfaces to the operating system and software applications. It is a specialized hardware-dependent computer program which is also operating system specific that enables another program, typically an operating system or applications software package or computer program running under the operating system kernel, to interact transparently with a hardware device, and usually provides the requisite interrupt handling necessary for any necessary asynchronous time-dependent hardware interfacing needs. Networking: Most operating systems support a variety of networking protocols, hardware, and applications for using them, allowing computers running dissimilar operating systems to participate in a common network, for sharing resources such as computing, files, printers, and scanners, using either wired or wireless connections. Networking can essentially allow a computer's operating system to access the resources of a remote computer, to support the same functions as it could if those resources were connected directly to the local computer. This includes everything from simple communication, to using networked file systems, or sharing another computer's graphics or sound hardware. Some network services allow the resources of a computer to be accessed transparently, such as SSH, which allows networked users direct access to a computer's command line interface. A client/server networking allows a program on a computer, called a client, to connect via a network to another computer, called a server. Servers offer (or host) various services to other network computers and users. These services are usually provided through ports or numbered access points beyond the server's network address. Each port number is usually associated with a maximum of one running program, which is responsible for handling requests to that port. A daemon, being a user program, can in turn access the local hardware resources of that computer by passing requests to the operating system kernel. Input/Output (I/O) handling: An input/output (or I/O) is the communication between an information processing system (such as a computer) and the outside world, possibly a human or other information processing system. The inputs are typically the signals or data received by the system, and the outputs are the signals or data sent from it. I/O devices may be used by a person (or other system) to communicate with a computer. For instance, a keyboard or a mouse may be an input device for a computer, while monitors and printers are considered output devices for a computer. Devices for communication between computers, such as modems and network cards, typically serve for both input and output. User interface: Every computer that is to be operated by a human being requires a user interface, usually referred to as a ‘shell’, and is essential if human interaction is to be supported. The user interface views the directory structure and requests services from the operating system that will acquire data from input hardware devices, such as a keyboard, mouse or credit card reader, and requests operating system services to display prompts, status messages and such on output hardware devices, such as a video monitor or printer. The two most common forms of a user interface have historically been the command-line interface, where computer commands are typed out line-by-line, and the Graphical User Interface (GUI), where a visual environment (most commonly a WIMP) is present. Typically the GUI is integrated into the kernel, allowing the GUI to be more responsive by reducing the number of context switches required for the GUI to perform its output functions. WDM. The Windows Driver Model (WDM), also known as the Win32 Driver Model, is a standard model defining a framework for device drivers specified by Microsoft, providing unified driver models. The WDM model is based on WDM drivers that are layered in a complex hierarchy and communicate with each other via I/O Request Packets (IRPs). The WDM was introduced with Windows 98 and Windows 2000 to replace VxD which was used on older versions of Windows such as Windows 95 and Windows 3.1, as well as the Windows NT Driver Model, and WDM drivers are usable on all of Microsoft's operating systems of Windows 95 and later. The WDM is described in the publication entitled: “ A general schematic view of the WDM architecture 430 is shown on The user mode applications (such as application #1 431 System calls provide an essential interface between a process and the operating system. A system call is how a program requests a service from an operating system's kernel. This may include hardware related services (e.g., accessing the hard disk), creating and executing new processes, and communicating with integral kernel services (such as scheduling). A system call is typically processed in the kernel mode, which is accomplished by changing the processor execution mode to a more privileged one. The hardware sees the world in terms of the execution mode according to the processor status register, and processes are an abstraction provided by the operating system. A system call does not require a context switch to another process, it is processed in the context of whichever process invoked it. The system calls are often executed via traps or interrupts; that automatically puts the CPU into some required privilege level, and then passes control to the kernel, which determines whether the calling program should be granted the requested service. If the service is granted, the kernel executes a specific set of instructions over which the calling program has no direct control, returns the privilege level to that of the calling program, and then returns control to the calling program. Implementing system calls requires a control transfer, which involves some sort of architecture-specific feature. System calls can be roughly grouped into five major categories: Process control, such as load, execute, create/terminate process, get/set process attributes, wait for time, wait event, and signal event; file management, such as request/release device, create/delete file, open/close file, read/write/reposition file, and get/set file attributes; device management, such as read/write/reposition device, get/set device attributes, and logically attach/detach devices; information maintenance, such as get/set time or date, get/set system data, and get/set process, file, or device attributes; and communication such as create, delete communication connection, transfer status information, and attach or detach remote devices. The system calls are commonly handled by the I/O manager 435 The PnP manager 435 I/O Request Packets (IRPs) are kernel mode structures that are used to communicate with each other and with the operating system. They are data structures that describe I/O requests, to a driver, all of these parameters (such as buffer address, buffer size, I/O function type, etc.) are passed via a single pointer to this persistent data structure. The IRP with all of its parameters can be put on a queue if the I/O request cannot be performed immediately. I/O completion is reported back to the I/O manager by passing its address to a routine for that purpose, IoCompleteRequest. The IRP may be repurposed as a special kernel APC object if such is required to report completion of the I/O to the requesting thread. IRPs are typically created by the I/O Manager in response to I/O requests from user mode. However, IRPs are sometimes created by the plug-and-play manager, power manager, and other system components, and can also be created by drivers and then passed to other drivers. The WDM uses kernel-mode device drivers to enable it to interact with hardware devices, where each of the drivers has well defined system routines and internal routines that it exports to the rest of the operating system. DriverEntry is the first routine called after a driver is loaded, and is responsible for initializing the driver. All devices are seen by user mode code as a file object in the I/O manager, though to the I/O manager itself the devices are seen as device objects, which it defines as either file, device or driver objects. The drivers may be aggregated as a driver stack 436, including kernel mode drivers in three levels: highest level drivers 436 WDM drivers can be classified into the following types and sub-types: Device function drivers, bus drivers, and filter drivers. A function driver is the main driver for a device. A function driver is typically written by the device vendor and is required (unless the device is being used in raw mode). A function driver can service one or more devices. Miniport drivers are a type of function drivers for interfaces such as USB, audio, SCSI and network adapters. They are hardware specific, but the control access to the hardware is through a specific bus class driver. Class drivers are a type of function drivers and can be thought of as built-in framework drivers that miniport and other class drivers can be built on top of. The class drivers provide interfaces between different levels of the WDM architecture. Common functionality between different classes of drivers can be written into the class driver and used by other class and miniport drivers. The lower edge of the class driver will have its interface exposed to the miniport driver, while the upper edge of top level class drivers is operating system specific. Class drivers can be dynamically loaded and unloaded at will. They can do class specific functions that are not hardware or bus-specific (with the exception of bus-type class drivers) and in fact sometimes only do class specific functions such as enumeration. A bus driver services a bus controller, adapter, or bridge. Microsoft provides bus drivers for most common buses, such as Advanced configuration and Power Interface (ACPI), Peripheral Component Interconnect (PCI), PnPISA, SCSI, Universal Serial Bus (USB), and FireWire. A bus driver can service more than one bus if there is more than one bus of the same type on the machine. The ACPI bus driver interacts with the ACPI BIOS to enumerate the devices in the system and control their power use, the PCI bus driver (such as pci.sys) enumerates and configures devices connected via the PCI bus, the FireWire and the USB bus driver respectively enumerates and controls devices connected via the IEEE 1394 high speed bus and the USB. The stream class driver provides a basic processing supporting high bandwidth, time critical, and video and audio data related hardware, and uses minidrivers for interfacing the actual hardware, and hard-disk, floppies, CDs, and DVDs are interfaces using SCSI and CDROM/DVD class driver. The Human Input Device (HID) provides an abstract view of input devices, and the Still Image Architecture (SIA) class driver is used to obtain content from a scanner and a still camera, using minidrivers. For example, accessing an hard disk (such as HDD 30) involves a file system driver as high-level driver, a volume manager driver as intermediate level driver, and a disk driver as a low-level driver. Filter drivers are optional drivers that add value to or modify the behavior of a device and may be non-device drivers. A filter driver can also service one or more devices. Upper level filter drivers sit above the primary driver for the device (the function driver), while lower level filter drivers sit below the function driver and above the bus driver. A driver service is a type of kernel-level filter driver implemented as a Windows service that enables applications to work with devices. The Hardware Abstraction Layer 438, or HAL, is a layer between the physical hardware layer 430 Linux is a Unix-like and mostly POSIX-compliant computer operating system assembled under the model of free and open source software development and distribution. The defining component of Linux is the Linux kernel, an operating system kernel first released on 5 Oct. 1991 by Linus Torvalds. Linux was originally developed as a free operating system for Intel x86-based personal computers, but has since been ported to more computer hardware platforms than any other operating system. Linux also runs on embedded systems such as mobile phones, tablet computers, network routers, facility automation controls, televisions, and video game consoles. Android, which is a widely used operating system for mobile devices, is built on top of the Linux kernel. Typically, Linux is packaged in a format known as a Linux distribution for desktop and server use. Linux distributions include the Linux kernel, supporting utilities and libraries and usually a large amount of application software to fulfill the distribution's intended use. A Linux-based system is a modular Unix-like operating system. Such a system uses a monolithic kernel, the Linux kernel, which handles process control, networking, and peripheral and file system access. Device drivers are either integrated directly with the kernel or added as modules loaded while the system is running. Some components of an installed Linux system are a bootloader, for example GNU GRUB or LILO, which is executed by the computer when it is first turned on, and loads the Linux kernel into memory; an init program, which is the first process launched by the Linux kernel, and is at the root of the process tree, and starts processes such as system services and login prompts (whether graphical or in terminal mode); Software libraries which contain code which can be used by running processes; and user interface programs such as command shells or windowing environments. A version of Linux is described, for example, in IBM Corporation (headquartered in Armonk, New-York, U.S.A.) publication No. SC34-2597-03 entitled: “ The general schematic Linux driver architecture 450 is shown in Similar to the WDM 430 shown in Similar to the WDM 430 shown in The modules in the modules stack 454, typically referred to as Loadable Kernel Modules (or LKM), are object files that contain code to extend the running Linux kernel, or so-called base kernel. LKMs are typically used to add support for new hardware and/or filesystems, or for adding system calls. When the functionality provided by a LKM is no longer required, it can be unloaded in order to free memory and other resources. Loadable kernel modules in Linux are located in /lib/modules and have had the extension ‘.ko’ (“kernel object”) since version 2.6 (previous versions used the .o extension), and are loaded (and unloaded) by the modprobe command. The lsmod command lists the loaded kernel modules. In emergency cases, when the system fails to boot (due to e.g. broken modules), specific modules can be enabled or disabled by modifying the kernel boot parameters list (for example, if using GRUB, by pressing ‘e’ in the GRUB start menu, then editing the kernel parameter line). Linux allows disabling module loading via sysctl option /proc/sys/kernel/modules_disabled. An initramfs system may load specific modules needed for a machine at boot and then disable module loading. A web browser (commonly referred to as a browser) is a software application for retrieving, presenting, and traversing information resources on the World Wide Web. An information resource is identified by a Uniform Resource Identifier (URI/URL) and may be part of a web page, a web-page, an image, a video, or any other piece of content. Hyperlinks present in resources enable users easily to navigate their browsers to related resources. Although browsers are primarily intended to use the World Wide Web, they can also be used to access information provided by web servers in private networks or files in file systems. The primary purpose of a web browser is to bring information resources to the user (“retrieval” or “fetching”), allowing them to view the information (“display”, “rendering”), and then access other information (“navigation”, “following links”). Currently the major web browsers are known as Firefox, Internet Explorer, Google Chrome, Opera, and Safari. The process begins when the user inputs a Uniform Resource Locator (URL), for example ‘http://en.wikipedia.org/’, into the browser. The prefix of the URL, the Uniform Resource Identifier or URI, determines how the URL will be interpreted. The most commonly used kind of URI starts with http: and identifies a resource to be retrieved over the Hypertext Transfer Protocol (HTTP). Many browsers also support a variety of other prefixes, such as https: for HTTPS, ftp: for the File Transfer Protocol, and file: for local files. Prefixes that the web browser cannot directly handle are often handed off to another application entirely. For example, mailto: URIs are usually passed to the user's default e-mail application, and news: URIs are passed to the user's default newsgroup reader. In the case of http, https, file, and others, once the resource has been retrieved the web browser will display it. HTML and associated content (image files, formatting information such as CSS, etc.) is passed to the browser's layout engine to be transformed from markup to an interactive document, a process known as “rendering”. Aside from HTML, web browsers can generally display any kind of content that can be part of a web page. Most browsers can display images, audio, video, and XML files, and often have plug-ins to support Flash applications and Java applets. Upon encountering a file of an unsupported type or a file that is set up to be downloaded rather than displayed, the browser prompts the user to save the file to disk. Information resources may contain hyperlinks to other information resources. Each link contains the URI of a resource to go to. When a link is clicked, the browser navigates to the resource indicated by the link's target URI, and the process of bringing content to the user begins again. The architecture of a web browser is described in the publication entitled: “ A currently popular web browser is the Internet Explorer (formerly Microsoft Internet Explorer and Windows Internet Explorer, commonly abbreviated IE or MSIE) from Microsoft Corporation, headquartered in Redmond, Washington, U.S.A., which is a series of graphical web browsers developed by Microsoft and included as part of the Microsoft Windows line of operating systems. The Internet Explorer 8 is described, for example, in Microsoft 2009 publication entitled: “ A mobile browser, also called a microbrowser, minibrowser, or Wireless Internet Browser (WIB), is a web browser designed for use on a mobile device such as a mobile phone or PDA. Mobile browsers are optimized so as to display Web content most effectively for small screens on portable devices. Mobile browser software must be small and efficient to accommodate the low memory capacity and low-bandwidth of wireless handheld devices. Some mobile browsers can handle more recent technologies like CSS 2.1, JavaScript, and Ajax. Websites designed for access from these browsers are referred to as wireless portals or collectively as the Mobile Web. They may automatically create “mobile” versions of each page, for example this one The mobile browser typically connects via cellular network, via Wireless LAN, or via other wireless networks, and are using standard HTTP over TCP/IP, and displays web pages written in HTML, XHTML Mobile Profile (WAP 2.0), or WML (which evolved from HDML). WML and HDML are stripped-down formats suitable for transmission across limited bandwidth, and wireless data connection called WAP. WAP 2.0 specifies XHTML Mobile Profile plus WAP CSS, subsets of the W3C's standard XHTML and CSS with minor mobile extensions. Some mobile browsers are full-featured Web browsers capable of HTML, CSS, ECMAScript, as well as mobile technologies such as WML, i-mode HTML, or cHTML. To accommodate small screens, some mobile browsers use Post-WIMP interfaces. An example of a mobile browser is Safari, which is a mobile web browser developed by Apple Inc. (headquartered in Apple Campus, Cupertino, California, U.S.A), included with the OS X and iOS operating systems, and described in Apple publication entitled: “ The term “processor” is used herein to include, but not limited to, any integrated circuit or other electronic device (or collection of devices) capable of performing an operation on at least one instruction, including, without limitation, Reduced Instruction Set Core (RISC) processors, CISC microprocessors, Microcontroller Units (MCUs), CISC-based Central Processing Units (CPUs), and Digital Signal Processors (DSPs). The hardware of such devices may be integrated onto a single substrate (e.g., silicon “die”), or distributed among two or more substrates. Furthermore, various functional aspects of the processor may be implemented solely as software or firmware associated with the processor. The computer system 11 may be coupled via a bus 13 to a display 17, such as a Cathode Ray Tube (CRT), a Liquid Crystal Display (LCD), a flat screen monitor, a touch screen monitor or similar means for displaying text and graphical data to a user. The display may be connected via a video adapter for supporting the display. The display allows a user to view, enter, and/or edit information that is relevant to the operation of the system. An input device 18, including alphanumeric and other keys, is coupled to the bus 13 for communicating information and command selections to the processor 27. Another type of user input device is a cursor control 19, such as a mouse, a trackball, or cursor direction keys for communicating direction information and command selections to the processor 27 and for controlling cursor movement on the display 17. This input device typically has two degrees of freedom in two axes, a first axis (e.g., x) and a second axis (e.g., y), that allows the device to specify positions in a plane. The computer system 11 may be used for implementing the methods and techniques described herein. According to one embodiment, those methods and techniques are performed by the computer system 11 in response to the processor 27 executing one or more sequences of one or more instructions contained in a main memory 25 The term “computer-readable medium” (or “machine-readable medium”) is used herein to include, but not limited to, any medium or any memory, that participates in providing instructions to a processor, (such as the processor 27) for execution, or any mechanism for storing or transmitting information in a form readable by a machine (e.g., a computer). Such a medium may store computer-executable instructions to be executed by a processing element and/or control logic, and data which is manipulated by a processing element and/or control logic, and may take many forms, including but not limited to, non-volatile medium, volatile medium, and transmission medium. Transmission media includes coaxial cables, copper wire and fiber optics, including the wires that comprise the bus 13. Transmission media can also take the form of acoustic or light waves, such as those generated during radio-wave and infrared data communications, or other form of propagating signals (e.g., carrier waves, infrared signals, digital signals, etc.). Common forms of computer-readable media include, for example, a floppy disk, a flexible disk, hard disk, magnetic tape, or any other magnetic medium, a CD-ROM, any other optical medium, punch-cards, paper-tape, any other physical medium with patterns of holes, a RAM, a PROM, and EPROM, a FLASH-EPROM, any other memory chip or cartridge, a carrier wave as described hereinafter, or any other medium from which a computer can read. Various forms of computer-readable media may be involved in carrying one or more sequences of one or more instructions to the processor 27 for execution. For example, the instructions may initially be carried on a magnetic disk of a remote computer. The remote computer can load the instructions into its dynamic memory and send the instructions over a telephone line using a modem. A modem local to the computer system 11 can receive the data on the telephone line and use an infrared transmitter to convert the data to an infrared signal. An infrared detector can receive the data carried in the infrared signal and appropriate circuitry can place the data on the bus 13. The bus 13 carries the data to the main memory 25 The computer system 11 commonly includes a communication interface 29 coupled to the bus 13. The communication interface 29 provides a two-way data communication coupling to a network link 28 that is connected to a local network 14. For example, the communication interface 29 may be an Integrated Services Digital Network (ISDN) card or a modem to provide a data communication connection to a corresponding type of telephone line. As another non-limiting example, the communication interface 29 may be a local area network (LAN) card to provide a data communication connection to a compatible LAN. For example, Ethernet based connection based on IEEE802.3 standard may be used, such as 10/100BaseT, 1000BaseT (gigabit Ethernet), 10 gigabit Ethernet (10 GE or 10 GbE or 10 GigE per IEEE Std. 802.3ae-2002as standard), 40 Gigabit Ethernet (40 GbE), or 100 Gigabit Ethernet (100 GbE as per Ethernet standard IEEE P802.3ba). These technologies are described in Cisco Systems, Inc. Publication number 1-587005-001-3 (June 1999), “ The Internet 113 is a global system of interconnected computer networks that use the standardized Internet Protocol Suite (TCP/IP), including Transmission Control Protocol (TCP) and the Internet Protocol (IP), to serve billions of users worldwide. It is a network of networks that consists of millions of private, public, academic, business, and government networks, of local to global scope, that are linked by a broad array of electronic and optical networking technologies. The Internet carries a vast range of information resources and services, such as the interlinked hypertext documents on the World Wide Web (WWW) and the infrastructure to support electronic mail. The Internet backbone refers to the principal data routes between large, strategically interconnected networks and core routers in the Internet. These data routes are hosted by commercial, government, academic and other high-capacity network centers, the Internet exchange points and network access points that interchange Internet traffic between the countries, continents and across the oceans of the world. Traffic interchange between Internet service providers (often Tier 1 networks) participating in the Internet backbone exchange traffic by privately negotiated interconnection agreements, primarily governed by the principle of settlement-free peering. An Internet Service Provider (ISP) 12 is an organization that provides services for accessing, using, or participating in the Internet 113. Internet Service Providers may be organized in various forms, such as commercial, community-owned, non-profit, or otherwise privately owned. Internet services typically provided by ISPs include Internet access, Internet transit, domain name registration, web hosting, and colocation. Various ISP Structures are described in Chapter 2 A mailbox provider is an organization that provides services for hosting electronic mail domains with access to storage for mailboxes. It provides email servers to send, receive, accept, and store email for end users or other organizations. Internet hosting services provide email, web-hosting, or online storage services. Other services include virtual server, cloud services, or physical server operation. A virtual ISP (VISP) is an operation that purchases services from another ISP, sometimes called a wholesale ISP in this context, which allow the VISP's customers to access the Internet using services and infrastructure owned and operated by the wholesale ISP. It is akin to mobile virtual network operators and competitive local exchange carriers for voice communications. A Wireless Internet Service Provider (WISP) is an Internet service provider with a network based on wireless networking. Technology may include commonplace Wi-Fi wireless mesh networking, or proprietary equipment designed to operate over open 900 MHz, 2.4 GHz, 4.9, 5.2, 5.4, 5.7, and 5.8 GHz bands or licensed frequencies in the UHF band (including the MMDS frequency band) and LMDS. ISPs may engage in peering, where multiple ISPs interconnect at peering points or Internet exchange points (IXs), allowing routing of data between each network, without charging one another for the data transmitted-data that would otherwise have passed through a third upstream ISP, incurring charges from the upstream ISP. ISPs requiring no upstream and having only customers (end customers and/or peer ISPs), are referred to as Tier 1 ISPs. A multitasking is a method where multiple tasks (also known as processes or programs) are performed during the same period of time—they are executed concurrently (in overlapping time periods, new tasks starting before others have ended) instead of sequentially (one completing before the next starts). The tasks share common processing resources, such as a CPU and main memory. Multitasking does not necessarily mean that multiple tasks are executing at exactly the same instant. In other words, multitasking does not imply parallelism, but it does mean that more than one task can be part-way through execution at the same time, and more than one task is advancing over a given period of time. In the case of a computer with a single CPU, only one task is said to be running at any point in time, meaning that the CPU is actively executing instructions for that task. Multitasking solves the problem by scheduling which task may be the one running at any given time, and when another waiting task gets a turn. The act of reassigning a CPU from one task to another one is called a context switch. When context switches occur frequently enough, the illusion of parallelism is achieved. Even on computers with more than one CPU (called multiprocessor machines) or more than one core in a given CPU (called multicore machines), where more than one task can be executed at a given instant (one per CPU or core), multitasking allows many more tasks to be run than there are CPUs. Operating systems may adopt one of many different scheduling strategies. In multiprogramming systems, the running task keeps running until it performs an operation that requires waiting for an external event (e.g. reading from a tape) or until the computer's scheduler forcibly swaps the running task out of the CPU. Multiprogramming systems are designed to maximize CPU usage. In time-sharing systems, the running task is required to relinquish the CPU, either voluntarily or by an external event such as a hardware interrupt. Time sharing systems are designed to allow several programs to execute apparently simultaneously. In real-time systems, some waiting tasks are guaranteed to be given the CPU when an external event occurs. Real time systems are designed to control mechanical devices such as industrial robots, which require timely processing. Encryption based mechanisms are commonly end-to-end processes involving only the sender and the receiver, where the sender encrypts the plain text message by transforming it using an algorithm, making it unreadable to anyone, except the receiver which possesses special knowledge. The data is then sent to the receiver over a network such as the Internet, and when received the special knowledge enables the receiver to reverse the process (decrypt) to make the information readable as in the original message. The encryption process commonly involves computing resources such as processing power, storage space and requires time for executing the encryption/decryption algorithm, which may delay the delivery of the message. Transport Layer Security (TLS) and its predecessor Secure Sockets Layer (SSL) are non-limiting examples of end-to-end cryptographic protocols, providing secured communication above the OSI Transport Layer, using keyed message authentication code and symmetric cryptography. In client/server applications, the TLS client and server negotiate a stateful connection by using a handshake procedure, during which various parameters are agreed upon, allowing a communication in a way designed to prevent eavesdropping and tampering. The TLS 1.2 is defined in RFC 5246, and several versions of the protocol are in widespread use in applications such as web browsing, electronic mail, Internet faxing, instant messaging and Voice-over-IP (VoIP). In application design, TLS is usually implemented on top of any of the Transport Layer protocols, encapsulating the application-specific protocols such as HTTP, FTP, SMTP, NNTP, and XMPP. Historically, it has been used primarily with reliable transport protocols such as the Transmission Control Protocol (TCP). However, it has also been implemented with datagram-oriented transport protocols, such as the User Datagram Protocol (UDP) and the Datagram Congestion Control Protocol (DCCP), a usage which has been standardized independently using the term Datagram Transport Layer Security (DTLS). A prominent use of TLS is for securing World Wide Web traffic carried by HTTP to form HTTPS. Notable applications are electronic commerce and asset management. Increasingly, the Simple Mail Transfer Protocol (SMTP) is also protected by TLS (RFC 3207). These applications use public key certificates to verify the identity of endpoints. Another Layer 4 (Transport Layer) and upper layers encryption-based communication protocols include SSH (Secure Shell) and SSL (Secure Socket Layer). Layer 3 (Network Layer) and lower layer encryption based protocols include IPsec, L2TP (Layer 2 Tunneling Protocol) over IPsec, and Ethernet over IPsec. The IPsec is a protocol suite for securing IP communication by encrypting and authenticating each IP packet of a communication session. The IPsec standard is currently based on RFC 4301 and RFC 4309, and was originally described in RFCs 1825-1829, which are now obsolete, and uses the Security Parameter Index (SPI, as per RFC 2401) as an identification tag added to the header while using IPsec for tunneling the IP traffic. An IPsec overview is provided in Cisco Systems, Inc. document entitled: “ Two common approaches to cryptography are found in U.S. Pat. No. 3,962,539 to Ehrsam et al., entitled “ A proxy server is a server (a computer system or an application) that acts as an intermediary for requests from clients seeking resources from other servers. A client connects to the proxy server, requesting some service, such as a file, connection, web page, or other resource, available from a different server and the proxy server evaluates the request as a way to simplify and control its complexity. Proxies may be used to add structure and encapsulation to distributed systems. Today, most proxies are web proxies, facilitating access to content on the World Wide Web and providing anonymity. A proxy server may reside on the user's local computer, or at various points between the user's computer and destination servers on the Internet. A proxy server that passes requests and responses unmodified is usually called a gateway or sometimes a tunneling proxy. A forward proxy is an Internet-facing proxy used to retrieve from a wide range of sources (in most cases anywhere on the Internet). Forward proxies are proxies in which the client server names the target server to connect to, and are able to retrieve from a wide range of sources (in most cases anywhere on the Internet). An open proxy is a forwarding proxy server that is accessible by any Internet user, while browsing the Web or using other Internet services. There are varying degrees of anonymity, however, as well as a number of methods of ‘tricking’ the client into revealing itself regardless of the proxy being used. A reverse proxy is usually an Internet-facing proxy used as a front-end to control and protect access to a server on a private network. A reverse proxy commonly also performs tasks such as load-balancing, authentication, decryption or caching. Randomness is commonly implemented by using random numbers, defined as a sequence of numbers or symbols that lack any pattern and thus appear random, are often generated by a random number generator. Randomness for security is also described in IETF RFC 1750 Onion routing (OR) is a technique for anonymous communication over the Internet or any other computer network. Messages are repeatedly encrypted and then sent through several network nodes called onion routers. Each onion router removes a layer of encryption to uncover routing instructions, and sends the message to the next router where this is repeated. This prevents these intermediary nodes from knowing the origin, destination, and contents of the message. To prevent an adversary from eavesdropping on message content, messages are encrypted between routers. The advantage of onion routing (and mix cascades in general) is that it is not necessary to trust each cooperating router; if one or more routers are compromised, anonymous communication can still be achieved. This is because each router in an OR network accepts messages, re-encrypts them, and transmits to another onion router. The idea of onion routing (OR) is to protect the privacy of the sender and the recipient of a message, while also providing protection for message content as it traverses a network. Onion routing accomplishes this according to the principle of Chaum mix cascades: messages travel from source to destination via a sequence of proxies (“onion routers”), which re-route messages in an unpredictable path. Routing onions are data structures used to create paths through which many messages can be transmitted. To create an onion, the router at the head of a transmission selects a number of onion routers at random and generates a message for each one, providing it with symmetric keys for decrypting messages, and instructing it which router will be next in the path. Each of these messages, and the messages intended for subsequent routers, is encrypted with the corresponding router's public key. This provides a layered structure, in which it is necessary to decrypt all outer layers of the onion in order to reach an inner layer. Onion routing is described in U.S. Pat. No. 6,266,704 to Reed et al., entitled: “Onion Routing Network for Securely Moving data through Communication Networks”, which is incorporated in its entirety for all purposes as if fully set forth herein. Other prior art publications relating to onion routing are the publications “ ‘Tor’ is an anonymizing network based on the principles of ‘onion routing’, and involves a system which selects a randomly chosen route for each connection, via the routers present in the Tor network. The last server appears herein as an ‘exit node’ and sends the data to the final recipient after leaving the Tor cloud. At this point, it is no longer possible for an observer constantly watching the ‘exit node’ to determine who the sender of the message was. This concept and its components are known from the ‘Tor’ project in http://www.torproject.org. The Tor network concept is described in U.S. Patent Application Publication 2010/0002882 to Rieger et al., in the publication “ Computer networks may use a tunneling protocol where one network protocol (the delivery protocol) encapsulates a different payload protocol. Tunneling enables the encapsulation of a packet from one type of protocol within the datagram of a different protocol. For example, VPN uses PPTP to encapsulate IP packets over a public network, such as the Internet. A VPN solution based on Point-to-Point Tunneling Protocol (PPTP), Layer Two Tunneling Protocol (L2TP), or Secure Socket Tunneling Protocol (SSTP) can be configured. By using tunneling a payload may be carried over an incompatible delivery-network, or provide a secure path through an untrusted network. Typically, the delivery protocol operates at an equal or higher OSI layer than does the payload protocol. In one example of a network layer over a network layer, Generic Routing Encapsulation (GRE), a protocol running over IP (IP Protocol Number 47), often serves to carry IP packets, with RFC 1918 private addresses, over the Internet using delivery packets with public IP addresses. In this case, the delivery and payload protocols are compatible, but the payload addresses are incompatible with those of the delivery network. In contrast, an IP payload might believe it sees a data link layer delivery when it is carried inside the Layer 2 Tunneling Protocol (L2TP), which appears to the payload mechanism as a protocol of the data link layer. L2TP, however, actually runs over the transport layer using User Datagram Protocol (UDP) over IP. The IP in the delivery protocol could run over any data-link protocol from IEEE 802.2 over IEEE 802.3 (i.e., standards-based Ethernet) to the Point-to-Point Protocol (PPP) over a dialup modem link. Tunneling protocols may use data encryption to transport insecure payload protocols over a public network (such as the Internet), thereby providing VPN functionality. IPsec has an end-to-end Transport Mode, but can also operate in a tunneling mode through a trusted security gateway. HTTP tunneling is a technique by which communications performed using various network protocols are encapsulated using the HTTP protocol, the network protocols in question usually belonging to the TCP/IP family of protocols. The HTTP protocol therefore acts as a wrapper for a channel that the network protocol being tunneled uses to communicate. The HTTP stream with its covert channel is termed an HTTP tunnel. HTTP tunnel software consists of client-server HTTP tunneling applications that integrate with existing application software, permitting them to be used in conditions of restricted network connectivity including firewalled networks, networks behind proxy servers, and network address translation. Virtual Private Networks (VPNs) are point-to-point connections across a private or public network, such as the Internet. A VPN client typically uses special TCP/IP-based protocols, called tunneling protocols, to make a virtual call to a virtual port on a VPN server. In a typical VPN deployment, a client initiates a virtual point-to-point connection to a remote access server over the Internet, then the remote access server answers the call, authenticates the caller, and transfers data between the VPN client and the organization's private network. To emulate a point-to-point link, data is encapsulated, or wrapped, with a header. The header provides routing information that enables the data to traverse the shared or public network to reach its endpoint. To emulate a private link, the data being sent is encrypted for confidentiality. Packets that are intercepted on the shared or public network are indecipherable without the encryption keys. The link in which the private data is encapsulated and encrypted is known as a VPN connection. Commonly there are two types of VPN connections, referred to as Remote Access VPN and Site-to-Site VPN. Popular VPN connections use PPTP, L2TP/IPsec, or SSTP protocols. The RFC 4026 provides ‘Provider Provisioned Virtual Private Network (VPN) Terminology’, and RFC 2547 provides a VPN method based on MPLS (Multiprotocol Label Switching) and BGP (Border Gateway Protocol). Remote access VPN connections enable users working at home or on the road to access a server on a private network using the infrastructure provided by a public network, such as the Internet. From the user's perspective, the VPN is a point-to-point connection between the computer (the VPN client) and an organization's server. The exact infrastructure of the shared or public network is irrelevant because it appears logically as if the data is sent over a dedicated private link. Site-to-site VPN connections (also known as router-to-router VPN connections) enable organizations to have routed connections between separate offices or with other organizations over a public network while helping to maintain secure communications. A routed VPN connection across the Internet logically operates as a dedicated wide area network (WAN) link. When networks are connected over the Internet, a router forwards packets to another router across a VPN connection. To the routers, the VPN connection operates as a data-link layer link. A site-to-site VPN connection connects two portions of a private network. The VPN server provides a routed connection to the network to which the VPN server is attached. The calling router (the VPN client) authenticates itself to the answering router (the VPN server), and, for mutual authentication, the answering router authenticates itself to the calling router. In the site-to site VPN connection, the packets sent from either router across the VPN connection typically do not originate at the routers. There is a growing widespread use of the Internet for carrying multimedia, such as a video and audio. Various audio services include Internet-radio stations and VoIP (Voice-over-IP). Video services over the Internet include video conferencing and IPTV (IP Television). In most cases, the multimedia service is a real-time (or near real-time) application, and thus sensitive to delays over the Internet. In particular, two-way services such a VoIP or other telephony services and video-conferencing are delay sensitive. In some cases, the delays induced by the encryption process, as well as the hardware/software costs associated with the encryption, render encryption as non-practical. Therefore, it is not easy to secure enough capacity of the Internet accessible by users to endure real-time communication applications such as Internet games, chatting, VoIP, and MoIP (Multimedia-over-IP), so there may be a data loss, delay or severe jitter in the course of communication due to the property of an Internet protocol, thereby causing inappropriate real-time video communication. The following chapters of the publication number 1-587005-001-3 by Cisco Systems, Inc. (July 1999), entitled: “ VoIP systems in widespread use today fall into three groups: systems using the ITU-T H.323 protocol, systems using the SIP protocol, and systems that use proprietary protocols. H.323 is a standard for teleconferencing that was developed by the International Telecommunications Union (ITU). It supports full multimedia, audio, video and data transmission between groups of two or more participants, and it is designed to support large networks. H.323 is network-independent: it can be used over networks using transport protocols other than TCP/IP. H.323 is still a very important protocol, but it has fallen out of use for consumer VoIP products due to the fact that it is difficult to make it work through firewalls that are designed to protect computers running many different applications. It is a system best suited to large organizations that possess the technical skills to overcome these problems. Session Initiation Protocol (SIP) is an Internet Engineering Task Force (IETF) standard signaling protocol for teleconferencing, telephony, presence and event notification and instant messaging. It provides a mechanism for setting up and managing connections, but not for transporting the audio or video data. It is probably now the most widely used protocol for managing Internet telephony. Similar to the IETF protocols, SIP is defined in a number of RFCs, principally RFC 3261. A SIP-based VoIP implementation may send the encoded voice data over the network in a number of ways. Most implementations use a Real-time Transport Protocol (RTP), which is defined in RFC 3550. Both SIP and RTP are implemented on UDP, which, as a connectionless protocol, can cause difficulties with certain types of routers and firewalls. Usable SIP phones therefore also need to use Simple Traversal of UDP over NAT (STUN), a protocol defined in RFC 3489 that allows a client behind a NAT router to find out its external IP address and the type of NAT device. A Cyclic Redundancy Check (CRC) is an error-detecting code commonly used in digital networks and storage devices to detect accidental changes to raw data. Blocks of data entering these systems get a short check value attached, based on the remainder of a polynomial division of their contents; on retrieval the calculation is repeated, and corrective action can be taken against presumed data corruption if the check values do not match. Ethernet commonly uses 32-bit CRC function. Specification of a CRC code requires definition of a so-called generator polynomial. The polynomial becomes a divisor in a polynomial long division, which takes the message as the dividend, and in which the quotient is discarded and the remainder becomes the result. The important caveat that the polynomial coefficients are calculated according to the arithmetic of a finite field, so the addition operation can always be performed bitwise-parallel (there is no carry between digits). The length of the remainder is always less than the length of the generator polynomial, which therefore determines how long the result can be. In practice, all commonly used CRCs employ the finite field GF(2). This is the field of two elements, usually called 0 and 1, comfortably matching computer architecture. A CRC is referred to as an n-bit CRC when its check value is n bits. For a given n, multiple CRCs are possible, each with a different polynomial. Such a polynomial has highest degree n, which means it has n+1 terms. In other words, the polynomial has a length of n+1; its encoding requires n+1 bits. Note that most integer encodings either drop the Most Significant Bit (MSB) or Least Significant Bit (LSB), since they are always 1. The CRC and associated polynomial typically have a name of the form CRC-n-XXX. The simplest error-detection system, the parity bit, is in fact a trivial 1-bit CRC: it uses the generator polynomial x+1 (two terms), and has the name CRC-1. Computation of a cyclic redundancy check is derived from the mathematics of polynomial division, modulo two. In practice, it resembles long division of the binary message string, with a fixed number of zeroes appended, by the “generator polynomial” string except that exclusive OR operations replace subtractions. Division of this type is efficiently realised in hardware by a modified shift register and in software by a series of equivalent algorithms, starting with simple code close to the mathematics and becoming faster through byte-wise parallelism and space-time tradeoffs. Various CRC standards extend the polynomial division algorithm by specifying an initial shift register value, a final exclusive OR step and, most critically, a bit ordering (endianness). As a result, the code seen in practice deviates confusingly from “pure” division, and the register may shift left or right. The most important attribute of the polynomial is its length (largest degree—exponent—+1 of any one term in the polynomial), because of its direct influence on the length of the computed check value. The most commonly used polynomial lengths are 9 bits (CRC-8), 17 bits (CRC-16), 33 bits (CRC-32), and 65 bits (CRC-64). A calculation of CRC-32 is described in the publication entitled: “32- A CRC is an example of a hash function, which refers to any function that can be used to map data of arbitrary size to data of fixed size, with slight differences in input data producing very big differences in an output data. Values returned by the hash function are called hash values, hash codes, hash sums, or simply hashes. Hash values are commonly used to differentiate between data. For example, in implementing a set in software, one has to avoid including an element more than once. Recent developments in internet payment networks also uses a form of ‘hashing’ for producing checksums, bringing additional attention to the term. Hash functions are primarily used to generate fixed-length output data that act as a shortened reference to the original data. This is useful when the original data is too cumbersome to use in its entirety. Hash functions commonly include checksums, check digits, fingerprints, randomization functions, error-correcting codes, and ciphers. One practical use is a data structure called a hash table where the data is stored associatively. Searching linearly for a person's name in a list becomes cumbersome as the length of the list increases, but the hashed value can be used to store a reference to the original data and retrieve constant time (barring collisions). Another use is in cryptography, the science of encoding and safeguarding data. It is easy to generate hash values from input data and easy to verify that the data matches the hash, but for certain hash functions hard to ‘fake’ a hash value to hide malicious data. Hash functions are also frequently used to accelerate table lookup or data comparison tasks such as finding items in a database, detecting duplicated or similar records in a large file and finding similar stretches in DNA sequences. A hash function should be deterministic: when it is invoked twice on identical data (e.g. two strings containing exactly the same characters), the function should produce the same value. This is crucial to the correctness of virtually all algorithms based on hashing. In the case of a hash table, the lookup operation should look at the slot where the insertion algorithm actually stored the data that is being sought for, so it needs the same hash value. Hash functions used to accelerate data searches typically produce smaller hash values, such as a 32 bit integer. On the other hand, cryptographic hash functions produce much larger hash value, in order to ensure the computational complexity of brute-force inversion. For example SHA-1, one of the most widely used cryptographic hash functions, produces a 160-bit value. In both cases, the hash function breaks the input data into chunks of specific size. Hash functions used for data searches use an arithmetic expression which iteratively processes those chunks (such as the characters in a string) to produce the hash value. In cryptographic hash functions, these chunks are processed by a one-way compression function, with the last chunk being padded if necessary. In this case, their size, which is called block size, is much bigger than the size of the hash value. For example, in SHA-1, the hash value is 160 bits and the block size 512 bits. A hash table (a.k.a. Hash map) is a data structure that associates keys with values, and is commonly used to support a lookup: given a key (e.g., a person's name), find the corresponding value (e.g., that person's telephone number), thus allowing to use a number to locate a desired value in a table. Hash tables are typically used to implement an associative array, a structure that can map keys to values. A hash table uses a hash function to compute an index into an array of buckets or slots, from which the correct value can be found. The hash function may assign each key to a unique bucket, but typically hash table designs assume that hash collisions—different keys that are assigned by the hash function to the same bucket—will occur and must be accommodated in some way. In a well-dimensioned hash table, the average cost (number of instructions) for each lookup is independent of the number of elements stored in the table. Many hash table designs also allow arbitrary insertions and deletions of key-value pairs, at a constant average cost per operation. In many situations, hash tables turn out to be more efficient than search trees or any other table lookup structure, and thus are widely used in many kinds of computer software, particularly for associative arrays, database indexing, caches, and sets. Filter driver. A filter driver is a Microsoft Windows compatible driver that extends or modifies the function of peripheral devices or supports a specialized device in a personal computer. It is a driver or program or module that is inserted into the existing driver stack to perform some specific function, while not affecting the normal working of the existing driver stack in any major way. Any number of filter drivers can be added to Windows, where upper level filter drivers sit above the primary driver for the device (the function driver), while lower level filter drivers sit below the function driver and above a bus driver. Filter drivers may work on a certain brand of device such as a mouse or keyboard, or they may perform some operation on a class of devices, such as any mouse or any keyboard. A filter driver may be developed using the guide entitled: “ Hook. A hook (also known as a hook procedure or hook function) is a mechanism by which an application can intercept events, such as messages, mouse actions, and keystrokes, and generally refers to a function provided by a software application that receives certain data before the normal or intended recipient of the data. The hook function can thus examine or modify certain data before passing on the data. Therefore, a hook function allows a software application to examine data before the data is passed to the intended recipient. A function that intercepts a particular type of event is known as a hook procedure. The hook procedure can act on each event it receives, and then modify or discard the event. The term ‘hooking’ is used herein to include, but not limited to, a range of techniques used to alter or augment the behavior of an operating system, of applications, or of other software components by intercepting function calls, messages, or events passed between software components. A code that handles such intercepted function calls, events or messages is called a “hook”. Hooking is used for many purposes, including debugging and extending functionality. Examples might include intercepting keyboard or mouse event messages before they reach an application, or intercepting operating system calls in order to monitor behavior or modify the function of an application or other component. It is also widely used in benchmarking programs, for example frame rate measuring in 3D games, where the output and input is done through hooking. Hooking is described, for example, in the presentations by High-Tech Bridge SA and titled: “ Physical modification. An hooking may be achieved by physically modifying an executable or library before an application is running through techniques of reverse engineering. This is typically used to intercept function calls to either monitor or replace them entirely. For example, by using a disassembler, the entry point of a function within a module can be found. It can then be altered to instead dynamically load some other library module and then have it execute desired methods within that loaded library. If applicable, another related approach by which hooking can be achieved is by altering an import table of an executable. This table can be modified to load any additional library modules as well as changing what external code is invoked when a function is called by an application. An alternate method for achieving the function of hooking is by intercepting function calls through a wrapper library. When creating a wrapper, you make your own version of a library that an application loads, with all the same functionality of the original library that it will replace, so all the functions that are accessible are essentially the same between the original and the replacement. This wrapper library can be designed to call any of the functionality from the original library, or replace it with an entirely new set of logic. Runtime modification. Operating systems and software may provide the means to easily insert event hooks at runtime, as long as the process inserting the hook is granted enough permission to do so. Microsoft Windows allows to insert hooks that can be used to process or modify system events and application events for dialogs, scrollbars, and menus, as well as other items. It also allows a hook to insert, remove, process, or modify keyboard and mouse events. Linux provides another example where hooks can be used in a similar manner to process network events within the kernel through NetFilter. When such functionality is not provided, a special form of hooking employs intercepting library function calls that are made by a process. Function hooking is implemented by changing the very first few code instructions of the target function to jump to an injected code. Alternatively on systems using the shared library concept, the interrupt vector table or the import descriptor table can be modified in memory. A hook chain is a list of pointers to special, application-defined callback functions called hook procedures. When a message occurs that is associated with a particular type of hook, the operating system passes the message to each hook procedure referenced in the hook chain, one after the other. The action of a hook procedure can depend on the type of hook involved. For example, the hook procedures for some types of hooks can only monitor messages, others can modify the messages or stop their progress through the chain, restricting them from reaching the next hook procedure or a destination window. Plug-in. A plug-in (or ‘plugin’, ‘extension’, or ‘add-on’/‘addon’) is a software component that adds a specific feature to an existing software application, for example for enabling customization. The common examples are the plug-ins used in web browsers to add new features such as search-engines, virus scanners, or the ability to utilize a new file type such as a new video format. An ‘Add-on’ (or ‘addon’) is the general term for what enhances an application, and comprises snap-in, plug-in, theme, and skin. An extension add-on tailors the core features of an application by adding an optional module, whereas a plug-in add-on would tailor the outer layers of an application to personalize functionality. A theme or a skin add-on is a preset package containing additional or changed graphical appearance details, achieved by the use of a Graphical User Interface (GUI) that can be applied to a specific software and websites to suit the purpose, topic, or tastes of different users to customize the look and feel of a piece of computer software or an operating system front-end GUI (and window managers). Typically, the host application provides services which the plug-in can use, including a way for plug-ins to register themselves with the host application and a protocol for the exchange of data with plug-ins. Plug-ins depend on the services provided by the host application and do not usually work by themselves. Conversely, the host application operates independently of the plug-ins, making it possible for end-users to add and update plug-ins dynamically without needing to make changes to the host application. The term ‘plug-in’ is used herein to include, but not limited to, a software extension, which is software that serves to extend the capabilities of, or data available to an existing software application; it becomes included in the program. Therefore, after integration, extensions can be seen as part of the browser itself, tailored from a set of optional modules. IPC. An Inter-Process Communication (IPC) (also be referred to as inter-thread communication and inter-application communication) is a set of methods for the exchange of data between multiple threads, in one or more processes. IPC methods may use message passing, synchronization, shared memory, and Remote Procedure Calls (RPC). IPC provides an environment that allows process cooperation, and may be used for providing Information sharing, computational speedup, modularity, convenience, and privilege separation. In the Windows operating system environment, the IPC provides mechanisms for facilitating communications and data sharing between processes or applications. Common IPC methods include file sharing, where a record (or any other information) stored on disk (or any other memory) can be accessed by name by any process; a signal which is an asynchronous notification sent to a process or to a specific thread within the same process in order to notify it of an event that occurred; a socket which is a data stream sent over a network interface, either to a different process on the same computer or to another computer, such as Internet sockets; a pipe (or pipeline) which is a two-way data stream interfaced through standard input and output and is read character by character, commonly used in Unix-like computer operating systems; message queues which are anonymous data stream similar to the pipe that stores and retrieves information in packets, providing an asynchronous communications protocol; a semaphore which is a variable or abstract data type that is used for controlling access to a common resource; a shared memory which is a memory that may be simultaneously accessed by multiple programs with an intent to provide communication among them or avoid redundant copies, such as where one process creates an area in RAM which other processes can access; and memory mapped file, where a file that is physically present on-disk, but can also be a device, shared memory object, or other resource that the operating system can reference through a file descriptor. Few IPC mechanisms are described in the Marko Vuskovic publication ‘Operating Systems’ in Chapter 9 entitled: “ The Windows operating system supports IPC mechanisms such as a clipboard, where the clipboard acts as a central depository for data sharing among applications, so when a user performs a cut or copy operation in an application, the application puts the selected data on the clipboard in one or more standard or application-defined formats, and any other application can then retrieve the data from the clipboard, choosing from the available formats that it understands; using Component Object Model (COM), where applications that use Object Linking and Embedding (OLE) manage compound documents can be used to call on other applications for data editing; Using Data Copy enabling an application to send information to another application using the WM_COPYDATA message; DDE protocol that enables applications to exchange data in a variety of formats; and mailslots providing one-way communication where processes write messages to their mailslot. Browser extension. A browser extension is a computer program that extends the functionality of a web browser in some way. Extensions can be created through use of web technologies such as HTML, JavaScript, and CSS. Browser extensions can also improve the user interface of the web browser without directly affecting viewable content of a web page, which can be achieved through a variety of add ons such as toolbars and plug-ins. Microsoft Internet Explorer started supporting extensions from version 5 released in 1999. Mozilla Firefox has supported extensions since its launch in 2004. The Opera desktop web browser supported extensions from version 10 released in 2009. Google Chrome started supporting extensions from version 4 released in 2010. The Apple Safari web browser started supporting native extensions from version 5 released in 2010. The syntax for extensions may differ from browser to browser, or at least enough different that an extension working on a browser does not work on another one. Plug-ins add specific abilities into browsers using Application Programming Interfaces (APIs) allowing third parties to create plug-ins that interact with the browser. The original API was NPAPI, but subsequently Google introduced the PPAPI interface in Chrome. In addition, plug-ins allow browser extensions to perform tasks such as blocking ads, creating a secure online connection, and adding applications within a browser. Well-known browser plug-ins include the Adobe Flash Player, the QuickTime Player, and the Java plug-in, which can launch a user-activated Java applet on a web page to its execution a local Java virtual machine. Sockets. A socket (a.k.a. ‘network socket’) is an endpoint of an IPC flow across a computer network. In the case the communications is based on IP (Internet Protocol), the network sockets are referred to as Internet sockets. A socket API is an application programming interface (API), usually provided by the operating system, that allows application programs to control and use network sockets. Internet socket APIs are usually based on the Berkeley sockets standard. A socket address is the combination of an IP address and a port number, similar to one end of a telephone connection in the combination of a phone number and a particular extension. Based on this address, internet sockets deliver incoming data packets to the appropriate application process or thread. Sockets are further described in a University of Toronto, Department of Computer Science presentation entitled: “ An Internet socket is characterized by a unique combination of a Local socket address (Local IP address and port number), remote socket address (used for established TCP sockets), and the used Protocol, typically a transport protocol (e.g., TCP, UDP, raw IP, or others). Within the operating system and the application that created a socket, a socket is referred to by a unique integer value called a socket descriptor. The operating system forwards the payload of incoming IP packets to the corresponding application by extracting the socket address information from the IP and transport protocol headers and stripping the headers from the application data. Several Internet socket types are available, such as Datagram sockets, also known as connectionless sockets, which use User Datagram Protocol (UDP), Stream sockets, also known as connection-oriented sockets, which use Transmission Control Protocol (TCP) or Stream Control Transmission Protocol (SCTP), and Raw sockets (or Raw IP sockets), typically available in routers and other network equipment. Here the transport layer is bypassed, and the packet headers are made accessible to the application. Other socket types are implemented over other transport protocols, such as Systems Network Architecture (SNA). Communicating local and remote sockets are called socket pairs. Each socket pair is described by a unique 4-tuple consisting of source and destination IP addresses and port numbers, i.e. of local and remote socket addresses. In the TCP case, each unique socket pair 4-tuple is assigned a socket number, while in the UDP case, each unique local socket address is assigned a socket number. The socket is primarily a concept used in the Transport Layer of the Internet model. Networking equipment such as routers and switches do not require implementations of the Transport Layer, as they operate on the Link Layer level (switches) or at the Internet Layer (routers). However, stateful network firewalls, network address translators, and proxy servers keep track of active socket pairs. Also in fair queuing, layer 3 switching and quality of service (QoS) support in routers, packet flows may be identified by extracting information about the socket pairs. Raw sockets are typically available in network equipment and are used for routing protocols such as IGRP and OSPF, and in Internet Control Message Protocol (ICMP). The amount of data transferred in a given period in commonly referred to as ‘bandwidth’ (BW) or ‘bit-rate’, which is the number of bits that are conveyed or processed per unit of time. The bit rate is quantified using the bits per second unit (symbol bit/s or b/s), often in conjunction with an SI prefix such as kilo—(1 kbit/s=1000 bit/s), mega—(1 Mbit/s=1000 kbit/s), giga—(1 Gbit/s=1000 Mbit/s) or tera—(1 Tbit/s=1000 Gbit/s). The non-standard abbreviation bps is often used to replace the standard symbol bit/s, so that, for example, “1 Mbps” (or 1 Mb/s) is used to mean one million bits per second. One byte per second (1 B/s) corresponds to 8 bit/s. Latency is typically defined as a time interval between the stimulation and the response, or, from a more general point of view, as a time delay between the cause and the effect of some physical change in the system being observed. Network-related latency, such as in a packet-switched network, is measured either one-way (the time from the source sending a packet to the destination receiving it), or Round-Trip delay Time (RTT), referring to the one-way latency from source to destination plus the one-way latency from the destination back to the source, plus any delays at the destination, such as processing or other delays. Round-trip latency can be measured from a single point. Latency limits total bandwidth in reliable two-way communication systems as described by the bandwidth-delay product, which refers to the product of a data link's capacity (in bits per second) and its end-to-end delay (in seconds). The result, an amount of data measured in bits (or bytes), is equivalent to the maximum amount of data on the network circuit at any given time, i.e., data that has been transmitted but not yet acknowledged. Sometimes it is calculated as the data link's capacity multiplied by its round trip time. A network with a large bandwidth-delay product is commonly known as a Long Fat Network (LFN). As defined in IETF RFC 1072, a network is considered an LFN if its bandwidth-delay product is significantly larger than 105 bits (12500 bytes). The Round-trip Delay Time (RTD) or Round-Trip Time (RTT) is the length of time it takes for a signal to be sent and to be received and processed at the destination node, plus the length of time it takes for an acknowledgment of that signal to be received. This time delay therefore includes the propagation times between the two points of a signal. The signal is generally a data packet, and the RTT is also known as the ping time, and an internet user can determine the RTT by using the ping command. Network links with both a high bandwidth and a high RTT can have a very large amount of data (the bandwidth-delay product) “in flight” at any given time. Such “long fat pipes” require a special protocol design. One example is the TCP window scale option. The RTT was originally estimated in TCP by: RTT=(α·Old_RTT)+((1−α)·New_Round_Trip_Sample), where α is a constant weighting factor (0≤α<1). Choosing a value a close to 1 makes the weighted average immune to changes that last a short time (e.g., a single segment that encounters long delay). Choosing a value for a close to 0 makes the weighted average response to changes in delay very quickly. Once a new RTT is calculated, it is entered into the above equation to obtain an average RTT for that connection, and the procedure continues for every new calculation. The RTT may be measured as described in IETF 1323, and may be estimated by using a method described in IETF RFC 6323, which are both incorporated in their entirety for all purposes as if fully set forth herein. An estimation of RTT for messages using TCP may use Karn's Algorithm, described by Karn, Phil and Craig Partridge in ACM SIGCOMM '87—Computer Communication Review publication, entitled: “ Many software platforms provide a service called ‘ping’ that can be used to measure round-trip latency. Ping performs no packet processing; it merely sends a response back when it receives a packet (i.e., performs a no-op), thus it is a first rough way of measuring latency. Ping operates by sending Internet Control Message Protocol (ICMP) echo requesting packets to the target host, and waiting for an ICMP response. During this process it measures the time from transmission to reception (round-trip time) and records any packet loss. The results of the test are printed in a form of a statistical summary of the response packets received, including the minimum, maximum, and the mean round-trip times, and sometimes the standard deviation of the mean. The Transmission Control Protocol/Internet Protocol (TCP/IP) suite normally used on the Internet has included an Internet Message Control Protocol (ICMP) that is commonly used in echo testing or ping and trace route applications. In general, the Internet standard ‘ping’ or ‘ICMP echo’ has a request/response format, wherein one device sends an ICMP echo request and another device responds to a received ICMP echo request with a transmitted ICMP echo response. Normally, IP devices are expected to implement the ICMP as part of the support for IP, to be able to use ICMP for testing. Internet RFC 792, entitled “ A newer version of ICMP known as ICMP version 6 or ICMPv6 as described at least partially in RFCs 1885 and 2463, which are both entitled “ Moreover, the ICMP echo protocol is basically a two-way echo in which one initiating device and/or process starts the communication by transmitting an echo request message, which may be then received by an echo responder process. The echo responder process, generally located on another device, receives the echo request message and responds with an echo reply back to the initiating process. Once the initiating device and/or process receives the response or times out waiting on the response, the two-way echo exchange of messages is complete. Although the echo request and echo response normally are performed between processes on two different devices, one skilled in the art will be aware that a device can ping its own IP address implying that the echo request and echo responder reply processes are on the same device. In addition, the loopback address of network 127.0.0.0 in IPv4 can be used to allow a device to the loopback outbound echo request messages back into the device's own incoming echo request responder processes. IPv6 has a loopback functionality as well. This copying of data exactly in the ICMP echo response is somewhat wasteful because the responder generally does not convey that much (if any) information back to the ICMP echo request initiating device. Arguably the initiating device could compute bit error rate (BER) statistics on the transmitted versus the received data field in ICMP echo packets. However, such physical layer issues as BER statistics normally are not as relevant for network layer IP datagranis that already include various error control code mechanisms. Arguably the device running the responding process can communicate information to the device running the initiating process by having the device running the original responding process initiate its own echo request and wait for an echo response from the original initiating device. Such a solution results in four packets, with a first echo request from a local device responded to by a first echo response from a remote device, and with a second echo request from the remote device responded to by a second echo response from the local device. An identifier and/or sequence number in ping packets generally has allowed the ping to be used by a device to determine the round-trip delay from the time an ICMP echo request packet is sent to the time corresponding to when an associated received ICMP echo request is received back at an initiating device. Furthermore, ping packets generally convey little or no information about the type of the device that initiated the ping. Moreover, although IPv4 has Type of Service (ToS) fields in the IP datagram, these fields have become more important as the services used over the Internet and networks using Internet technology have grown from basic computer data communication to also include real-time applications such as voice and/or video. Various Type of Service (ToS) in IPv4 and IPv6 have been used in implementing various (Quality of Service) QoS characteristics that are defined for different classes of service and/or Service Level Agreements (SLAs). Timestamp. A timestamp is a sequence of characters or encoded information identifying when a certain event occurred, usually giving date and time of day, sometimes accurate to a small fraction of a second, and also refers to digital date and time information attached to the digital data. For example, computer files contain timestamps that tell when the file was last modified, and digital cameras add timestamps to the pictures they take, recording the date and time the picture was taken. A timestamp is typically the time at which an event is recorded by a computer, not the time of the event itself. In many cases, the difference may be inconsequential: the time at which an event is recorded by a timestamp (e.g., entered into a log file) should be close to the time of the event. Timestamps are typically used for logging events or in a Sequence of Events (SOE), in which case each event in the log or SOE is marked with a timestamp. In a file system such as a database, timestamp commonly mean the stored date/time of creation or modification of a file or a record. The ISO 8601 standard standardizes the representation of dates and times which are often used to construct timestamp values, and IETF RFC 3339 defines a date and time format for use in Internet protocols using the ISO 8601 standard representation. Caching. A system and method for increasing cache size by performing the steps of: categorizing storage blocks within a storage device as within a first category of storage blocks if the storage blocks that are available to the system for storing data when needed; categorizing storage blocks within the storage device as within a second category of storage blocks if the storage blocks contain application data therein; and categorizing storage blocks within the storage device as within a third category of storage blocks if the storage blocks are storing cached data and are available for storing application data if no first category of storage blocks are available to the system, is described in U.S. Pat. No. 8,135,912 to Shribman et al. entitled: “System and Method of Increasing Cache Size”, which is incorporated in its entirety for all purposes as if fully set forth herein. A system for resolving Domain Name System (DNS) queries that contains a communication device for resolving DNS queries, wherein the communication device further contains a memory and a processor that is configured by the memory, a cache storage for use by the communication device, and a network of authoritative domain name servers, where in a process of the communication device looking up a DNS request within the cache storage, if the communication device views an expired DNS entry within the cache storage, the communication device continues the process of looking up the DNS request in the cache storage while, in parallel, sending out a concurrent DNS request to an authoritative domain name server that the expired DNS entry belongs to, is described in U.S. Pat. No. 8,671,221 to the same inventors as this application, entitled: “Method and System for Increasing Speed of Domain Name System Resolution within a Computing Device”, which is incorporated in its entirety for all purposes as if fully set forth herein. Systems and methods of storing previously transmitted data and using it to reduce bandwidth usage and accelerate future communications, and using algorithms to identify long compression history matches. A network device that may improve compression efficiency and speed is described in U.S. Pat. No. 7,865,585 to Samuels et al., entitled: “Systems and Methods for Providing Dynamic Ad Hok Proxy-Cache Hierarchies”, which is incorporated in its entirety for all purposes as if fully set forth herein. Further, a method and system for accelerating the receipt of data in a client-to-client network described in U.S. Pat. No. 7,203,741 to Marco et al., entitled: “Method and System for Accelerating Receipt of Data in a Client-to-Client Network”, which is incorporated in its entirety for all purposes as if fully set forth herein. Hearbeat. A heartbeat is a periodic signal generated by hardware or software to indicate normal operation or to synchronize other parts of a system. Usually a heartbeat is sent between machines at a regular interval of an order of seconds. If a heartbeat is not received for a time—usually a few heartbeat intervals—the machine that should have sent the heartbeat is assumed to have failed. As used herein, a heartbeat is a periodic message, such as a ‘ping’, generated by devices connected to the Internet to indicate being ‘online’ (connected to the Internet) and normal operation, and if a heartbeat is not received for a time, the device is assumed to be ‘offline’ (not connected to the Internet). A heartbeat protocol is generally used to negotiate and monitor the availability of a resource, such as a floating IP address. Typically, when a heartbeat starts on a machine, it will perform an election process with other machines on the network to determine which machine, if any, owns the resource. The IETF RFC 6520 describes Heartbeat operation for the Transport Layer Security (TLS), and is incorporated in its entirety for all purposes as if fully set forth herein. Users in the Internet may desire anonymity in order not to be identified as a publisher (sender), or reader (receiver), of information. Common reasons include censorship at the local, organizational, or national level, personal privacy preferences such as preventing tracking or data mining activities, the material or its distribution is considered illegal or incriminating by possible eavesdroppers, the material may be legal but socially deplored, embarrassing, or problematic in the individual's social world, and fear of retribution (against whistleblowers, unofficial leaks, and activists who do not believe in restrictions on information nor knowledge). Full anonymity on the Internet, however, is not guaranteed since IP addresses can be tracked, allowing to identify the computer from which a certain post was made, albeit not the actual user. Anonymizing services, such as I2P—‘The Anonymous Network’ or Tor, address the issue of IP tracking, as their distributed technology approach may grant a higher degree of security than centralized anonymizing services where a central point exists that could disclose one's identity. An anonymous web browsing refers to browsing the World Wide Web while hiding the user's IP address and any other personally identifiable information from the websites that one is visiting. There are many ways of accomplishing anonymous web browsing. Anonymous web browsing is generally useful to internet users who want to ensure that their sessions cannot be monitored. For instance, it is used to circumvent traffic monitoring by organizations that want to find out or control which web sites employees visit. Further, since some web-sites response differently when approached from mobile devices, anonymity may allow for accessing such a web-site from a non-mobile device, posing as a mobile device. WiFi. A device herein (such as device 11) may consist of, be part of, or include, a Personal Computer (PC), a desktop computer, a mobile computer, a laptop computer, a notebook computer, a tablet computer, a server computer, a handheld computer, a handheld device, a Personal Digital Assistant (PDA) device, or a cellular handset. Alternatively or in addition, a device may consist of, be part of, or include, a handheld PDA device, an on-board device, an off-board device, a hybrid device, a vehicular device, a non-vehicular device, a mobile device, or a portable device. A network herein (such as LAN 14), may consist of, be part of, or include, a wired or wireless network, a Local Area Network (LAN), a Wireless LAN (WLAN), a Metropolitan Area Network (MAN), a Wireless MAN (WMAN), a Wide Area Network (WAN), a Wireless WAN (WWAN), a Personal Area Network (PAN), or a Wireless PAN (WPAN). Alternatively or in addition, a network herein may be operating substantially in accordance with existing IEEE 802.11, 802.11a, 802.11b, 802.11g, 802.11k, 802.11n, 802.11r, 802.16, 802.16d, 802.16e, 802.20, 802.21 standards and/or future versions and/or derivatives of the above standards. Further, a network element (or a device) herein may consist of, be part of, or include, a cellular radio-telephone communication system, a cellular telephone, a wireless telephone, a Personal Communication Systems (PCS) device, a PDA device which incorporates a wireless communication device, or a mobile/portable Global Positioning System (GPS) device. The communication interface 29 may consist of, be part of, or include, a transceiver or modem for communication with the network, such as LAN 14. In the case of wired networks, the communication interface 29 connects to the network via a port 28 that may include a connector, and in the case of wireless network, the communication interface 29 connects to the network via a port 28 that may include an antenna. The LAN 14 may be a Wireless LAN (WLAN) such as according to, or base on, IEEE 802.11-2012, and the WLAN port may be a WLAN antenna and the WLAN transceiver may be a WLAN modem. The WLAN may be according to, or base on, IEEE 802.11a, IEEE 802.11b, IEEE 802.11g, IEEE 802.11n, or IEEE 802.11ac. Commonly referred to as Wireless Local Area Network (WLAN), such communication makes use of the Industrial, Scientific and Medical (ISM) frequency spectrum. In the US, three of the bands within the ISM spectrum are the A-Band, 902-928 MHz; the B-Band, 2.4-2.484 GHz (a.k.a. 2.4 GHz); and the C-Band, 5.725-5.875 GHz (a.k.a. 5 GHz). Overlapping and/or similar bands are used in different regions such as Europe and Japan. In order to allow interoperability between equipment manufactured by different vendors, few WLAN standards have evolved, as part of the IEEE 802.11 standard group, branded as WiFi (www.wi-fi.org). The IEEE 802.11b standard describes a communication using the 2.4 GHz frequency band and supporting a communication rate of 11 Mb/s, IEEE 802.11a uses the 5 GHz frequency band to carry 54 MB/s, and IEEE 802.11g uses the 2.4 GHz band to support 54 Mb/s. The WiFi technology is further described in a publication entitled: “ In order to support multiple devices and using a permanent solution, a Wireless Access Point (WAP) is typically used. A Wireless Access Point (WAP, or Access Point—AP) is a device that allows wireless devices to connect to a wired network using Wi-Fi, or related standards. The WAP usually connects to a router (via a wired network) as a standalone device, but it can also be an integral component of the router itself. Using Wireless Access Point (AP) allows users to add devices that access the network with little or no cables. A WAP normally connects directly to a wired Ethernet connection and the AP then provides wireless connections using radio frequency links for other devices to utilize that wired connection. Most APs support the connection of multiple wireless devices to one wired connection. An example of using WAPs is shown in a system 20 Authentication in general, and a WAP authentication in particular, is used as the basis for authorization, which is the determination whether a privilege may be granted to a particular user or process, privacy, which keeps information from becoming known to non-participants, and non-repudiation, which is the inability to deny having done something that was authorized to be done based on the authentication. An authentication in general, and a WAP authentication in particular, may use an authentication server, that provides a network service that applications may use to authenticate the credentials, usually account names and passwords, of their users. When a client submits a valid set of credentials, it receives a cryptographic ticket that it can subsequently use to access various services. Authentication algorithms include passwords, Kerberos, and public key encryption. Compression. Data compression, also known as source coding and bit-rate reduction, involves encoding information using fewer bits than the original representation. Compression can be either lossy or lossless. Lossless compression reduces bits by identifying and eliminating statistical redundancy, so that no information is lost in lossless compression. Lossy compression reduces bits by identifying unnecessary information and removing it. The process of reducing the size of a data file is commonly referred to as a data compression. A compression is used to reduce resource usage, such as data storage space or transmission capacity. Data compression is further described in a Carnegie Mellon University chapter entitled: “ In a scheme involving lossy data compression, some loss of information is acceptable. For example, dropping of a nonessential detail from a data can save storage space. Lossy data compression schemes may be informed by research on how people perceive the data involved. For example, the human eye is more sensitive to subtle variations in luminance than it is to variations in color. JPEG image compression works in part by rounding off nonessential bits of information. There is a corresponding trade-off between preserving information and reducing size. A number of popular compression formats exploit these perceptual differences, including those used in music files, images, and video. Lossy image compression is commonly used in digital cameras, to increase storage capacities with minimal degradation of picture quality. Similarly, DVDs use the lossy MPEG-2 Video codec for video compression. In lossy audio compression, methods of psychoacoustics are used to remove non-audible (or less audible) components of the audio signal. Compression of human speech is often performed with even more specialized techniques; speech coding, or voice coding, is sometimes distinguished as a separate discipline from audio compression. Different audio and speech compression standards are listed under audio codecs. Voice compression is used in Internet telephony, for example, and audio compression is used for CD ripping and is decoded by audio player. Lossless data compression algorithms usually exploit statistical redundancy to represent data more concisely without losing information, so that the process is reversible. Lossless compression is possible because most real-world data has statistical redundancy. The Lempel-Ziv (LZ) compression methods are among the most popular algorithms for lossless storage. DEFLATE is a variation on LZ optimized for decompression speed and compression ratio, and is used in PKZIP, Gzip and PNG. The LZW (Lempel-Ziv-Welch) method is commonly used in GIF images, and is described in IETF RFC 1951. The LZ methods use a table-based compression model where table entries are substituted for repeated strings of data. For most LZ methods, this table is generated dynamically from earlier data in the input. The table itself is often Huffman encoded (e.g., SHRI, LZX). Typical modern lossless compressors use probabilistic models, such as prediction by partial matching. Lempel-Ziv-Welch (LZW) is an example of lossless data compression algorithm created by Abraham Lempel, Jacob Ziv, and Terry Welch. The algorithm is simple to implement, and has the potential for very high throughput in hardware implementations. It was the algorithm of the widely used Unix file compression utility compress, and is used in the GIF image format. The LZW and similar algorithms are described in U.S. Pat. No. 4,464,650 to Eastman et al. entitled: “Apparatus and Method for Compressing Data Signals and Restoring the Compressed Data Signals”, in U.S. Pat. No. 4,814,746 to Miller et al. entitled: “Data Compression Method”, and in U.S. Pat. No. 4,558,302 to Welch entitled: “High Speed Data Compression and Decompression Apparatus and Method”, which are all incorporated in their entirety for all purposes as if fully set forth herein. A class of lossless data compression algorithms is based on using dictionaries, and operates by searching for matches between the text to be compressed and a set of strings contained in a data structure (called the ‘dictionary’) maintained by the encoder. When the encoder finds such a match, it substitutes a reference to the string's position in the data structure. Some dictionary coders use a ‘static dictionary’, one whose full set of strings is determined before coding begins and does not change during the coding process. This approach is most often used when the message or set of messages to be encoded is fixed and large. A dictionary is often built from redundancy extracted from a data environment (various input streams) which dictionary is then used statically to compress a further input stream. For example, a dictionary may be built from old English texts then is used to compress a book. More common are methods where the dictionary starts in some predetermined state, but the contents change during the encoding process, based on the data that has already been encoded. Both the LZ77 and LZ78 algorithms work on this principle, where in LZ77, a circular buffer called the “sliding window” holds the last N bytes of data processed, which serves as the dictionary, effectively storing every substring that has appeared in the past N bytes as dictionary entries. Instead of a single index identifying a dictionary entry, two values are needed: the length, indicating the length of the matched text, and the offset (also called the distance), indicating that the match is found in the sliding window starting offset bytes before the current text. LZ78 uses a more explicit dictionary structure; at the beginning of the encoding process, the dictionary only needs to contain entries for the symbols of the alphabet used in the text to be compressed, but the indexes are numbered in order to leave spaces for many more entries. At each step of the encoding process, the longest entry in the dictionary that matches the text is found, and its index is written to the output; the combination of that entry and the character that followed it in the text is then added to the dictionary as a new entry. An example of a dictionary-based compression is described in an University of Michigan paper entitled: “ A one-way dictionary-based compression system is shown as a system 470 in A two-way dictionary-based compression system is shown as a system 470 Image/video. Any content herein may consist of, be part of, or include, an image or a video content. A video content may be in a digital video format that may be based on one out of: TIFF (Tagged Image File Format), RAW format, AVI, DV, MOV, WMV, MP4, DCF (Design Rule for Camera Format), ITU-T H.261, ITU-T H.263, ITU-T H.264, ITU-T CCIR 601, ASF, Exif (Exchangeable Image File Format), and DPOF (Digital Print Order Format) standards. A intraframe or interframe compression may be used, and the compression may a lossy or a non-lossy (lossless) compression, that may be based on a standard compression algorithm, which may be one or more out of JPEG (Joint Photographic Experts Group) and MPEG (Moving Picture Experts Group), ITU-T H.261, ITU-T H.263, ITU-T H.264 and ITU-T CCIR 601. Web Analytics. Web analytics typically refers to the measurement, collection, analysis, and reporting of web data for purposes of understanding and optimizing web usage. Web analytics is commonly used for measuring web traffic, and may be used as a tool for business and market research, as well as to assess and improve the effectiveness of a web site. Web analytics applications can also help companies measure the results of traditional print or broadcast advertising campaigns. For example, it helps one to estimate how traffic to a website changes after the launch of a new advertising campaign. The web analytics provide information about the number of visitors to a website and the number of page views, and helps gauge traffic and popularity trends, which may be useful for market research. Web analytics related description and methods are described in a whitepaper by E-Nor, Inc. entitled: “ There are two categories of web analytics: off-site and on-site web analytics. Off-site web analytics refers to web measurement and analysis, and includes the measurement of a website's potential audience (opportunity), share of voice (visibility), and buzz (comments) that is happening on the Internet. On-site web analytics measure a visitor's behavior once on the website, and includes its drivers and conversions; for example, the degree to which different landing pages are associated with online purchases. On-site web analytics typically measures the performance of the website in a commercial context, and this data is typically compared against key performance indicators for performance, and used to improve a web site or marketing campaign's audience response. Google Analytics is a widely used on-site web analytics service; although new tools are emerging that provide additional layers of information, including heat maps and session replay. Google Analytics is a service offered by Google that generates detailed statistics about a website's traffic and traffic sources and measures conversions and sales. The product is aimed at marketers as opposed to webmasters and technologists from which the industry of web analytics originally grew. Google Analytics can track visitors from all referrers, including search engines and social networks, direct visits and referring sites, and also tracks display advertising, pay-per-click networks, email marketing and digital collateral such as links within PDF documents. Integrated with AdWords, users can now review online campaigns by tracking landing page quality and conversions (goals). Goals might include sales, lead generation, viewing a specific page, or downloading a particular file. Google Analytics is implemented with “page tags”. A page tag, in this case called the Google Analytics Tracking Code is a snippet of JavaScript code that the website owner user adds to every page of the website. The tracking code runs in the client browser when the client browses the page (if JavaScript is enabled in the browser), and collects visitor data and sends it to a Google data collection server, as part of a request for a web beacon. The tracking code loads a larger JavaScript file from the Google webserver and then sets variables with the user's account number. The larger file (currently known as ga.js) is typically 18 KB. The file does not usually have to be loaded, though, because of browser caching. Assuming caching is enabled in the browser, it downloads ga.js only once at the start of the visit. Furthermore, as all websites that implement Google Analytics with the ga.js code use the same master file from Google, a browser that has previously visited any other website running Google Analytics will already have the file cached on their machine. In addition to transmitting information to a Google server, the tracking code sets first party cookies (If cookies are enabled in the browser) on each visitor's computer. These cookies store anonymous information, such as whether the visitor has been to the site before (new or returning visitor), the timestamp of the current visit, and the referrer site or campaign that directed the visitor to the page (e.g., search engine, keywords, banner, or email). Google Analytics is further described in an Koozai Ltd. guide entitled: “ DHCP. The Dynamic Host Configuration Protocol (DHCP) is a standardized networking protocol used on Internet Protocol (IP) networks for dynamically distributing network configuration parameters, such as IP addresses for interfaces and services. With DHCP, network elements request IP addresses and networking parameters automatically from a DHCP server, reducing the need for a network administrator or a user to configure these settings manually. DHCP is typically used by network elements for requesting Internet Protocol parameters, such as an IP address from a network server, and is based on the client-server model. When a network element connects to a network, its DHCP client software in the operating system sends a broadcast query requesting necessary information. Any DHCP server on the network may service the request. The DHCP server manages a pool of IP addresses and information about client configuration parameters such as default gateway, domain name, the name servers, and time servers. On receiving a request, the server may respond with specific information for each client, as previously configured by an administrator, or with a specific address and any other information valid for the entire network, and the time period for which the allocation (lease) is valid. A host typically queries for this information immediately after booting, and periodically thereafter before the expiration of the information. When an assignment is refreshed by the client computer, it initially requests the same parameter values, and may be assigned a new address from the server, based on the assignment policies set by administrators. Depending on implementation, the DHCP server may have three methods of allocating IP-addresses: (a) Dynamic allocation, where a network administrator reserves a range of IP addresses for DHCP, and each client computer on the LAN is configured to request an IP address from the DHCP server during network initialization. The request-and-grant process uses a lease concept with a controllable time period, allowing the DHCP server to reclaim (and then reallocate) IP addresses that are not renewed. (b) Automatic allocation, where the DHCP server permanently assigns an IP address to a requesting client from the range defined by the administrator. This is similar to dynamic allocation, but the DHCP server keeps a table of past IP address assignments, so that it can preferentially assign to a client the same IP address that the client previously had. (c) Static allocation, where the DHCP server allocates an IP address based on a preconfigured mapping to each client's MAC address. DHCP used for Internet Protocol version 4 (IPv4) is described in IETF RFC 2131, entitled “ The DHCP protocol employs a connectionless service model, using the User Datagram Protocol (UDP). It is implemented with two UDP port numbers for its operations, which are the same as for the BOOTP protocol. The UDP port number 67 is the destination port of a server, and the UDP port number 68 is used by the client. DHCP operations fall into four phases: Server discovery, IP lease offer, IP request, and IP lease acknowledgment. These stages are often abbreviated as DORA for discovery, offer, request, and acknowledgment. The DHCP protocol operation begins with clients broadcasting a request. If the client and server are on different subnets, a DHCP Helper or DHCP Relay Agent may be used. Clients requesting renewal of an existing lease may communicate directly via an UDP unicast, since the client already has an established IP address at that point. Redundancy. A redundancy may be used in order to improve an accuracy, reliability, or availability. The redundancy may be implemented where two or more components may be used for the same functionality. The components may be similar, substantially or fully the same, identical, different, substantially different, or distinct from each other, or any combination thereof. The redundant components may be concurrently operated, allowing for improved robustness and allowing for overcoming a Single Point Of Failure (SPOF), or alternatively one or more of the components serves as a backup. The redundancy may be a standby redundancy, which may be ‘Cold Standby’ and ‘Hot Standby’. In the case three redundant components are used, Triple Modular Redundancy (TMR) may be used, and Quadruple Modular Redundancy (QMR) may be used in the case of four components. A 1:N Redundancy logic may be used for three or more components. A communication system employing redundancy is described in U.S. Patent Application No. 2013/0201316 to Binder et al., entitled: “System and Method for Server Based Control”, and redundancy for carrying audio over the Internet is described in IETF RFC 2198 entitled: “ Parallel Redundancy Protocol (PRP) is a data communication network standardized by the International Electrotechnical Commission (IEC) as IEC 62439-3 Clause 4, which allows systems to overcome any single network failure without affecting the data transmission by using redundancy. Under PRP, each network node has two Ethernet ports attached to two different local area networks of arbitrary, but similar topology, and the two LANs are completely separated and are assumed to be fail-independent. A source node sends simultaneously two copies of a frame, one over each port. The two frames travel through their respective LANs until they reach a destination node, in the fault-free case, with a certain time skew. The destination node accepts the first frame of a pair and discards the second, taking advantage of a sequence number in each frame that is incremented for each frame sent. Therefore, as long as one LAN is operational, the destination always receives one frame. This protocol provides a zero-time recovery and allows checking the redundancy continuously to detect lurking failures. The PRP is described in an ABB Switzerland Ltd. 2012 presentation entitled “ Gateway. The term ‘gateway’ is used herein to include, but not limited to, a network element (or node) that is equipped for interfacing between networks that uses different protocols. A gateway typically contains components such as protocol translators, impedance matching devices, rate converters, fault isolators, or signal translators, as necessary to provide networking interoperability. A gateway may be a router or a proxy server that routes between networks, and may operate at any network layer. In a network for an enterprise, a computer server acting as a gateway node is often also acting as a proxy server and a firewall server. A gateway is often associated with both a router, which knows where to direct a given packet of data that arrives at the gateway, and a switch, which furnishes the actual path in and out of the gateway for a given packet. A subnet mask is a mask used to determine what subnet belongs to an IP address. An IP address has two components, the network address and the host address. For example, consider the IP address 150.215.017.009. Assuming this is part of a Class B network, the first two numbers (150.215) represent the Class B network address, and the second two numbers (017.009) identify a particular host on this network. A subnetting enables the network administrator to further divide the host part of the address into two or more subnets. In this case, a part of the host address is reserved to identify the particular subnet. On an IP network, clients should automatically send IP packets with a destination outside a given subnet mask to a network gateway. A subnet mask defines the IP range of a private network. For example, if a private network has a base IP address of 192.168.0.0 and has a subnet mask of 255.255.255.0, then any data going to an IP address outside of 192.168.0.X will be sent to that network gateway. While forwarding an IP packet to another network, the gateway might or might not perform Network Address Translation (NAT). Domain Name System (DNS) is a hierarchical distributed naming system for computers, services, or any resource connected to the Internet or a private network. It associates various information with domain names assigned to each of the participating entities, and translates easily memorized domain names to the numerical IP addresses needed for the purpose of locating computer services and devices worldwide. The DNS is described, for example, in the IETF RFC 3467 entitled: “ The ‘404’ or ‘Not Found’ error message is a HTTP standard response code indicating that the client was able to communicate with a given gateway or server, but the server could not find what was requested. The web site hosting server will typically generate a “404 Not Found” web page when a user attempts to follow a broken or dead link; hence, the 404 error is one of the most recognizable errors users can find on the web. When communicating via HTTP, a server is required to respond to a request, such as a web browser request for a web page, with a numeric response code and an optional, mandatory, or disallowed (based upon the status code) message. In the code 404, the first digit indicates a client error, such as a mistyped Uniform Resource Locator (URL). The following two digits indicate the specific error encountered. At the HTTP level, a 404 response code is followed by a human-readable “reason phrase”. The HTTP specification suggests the phrase “Not Found” and many web servers by default issue an HTML page that includes both the 404 code and the “Not Found” phrase. Referring to In consideration of the foregoing, it would be an advancement in the art to provide an improved functionality method and system that is simple, secure, anonymous, cost-effective, load balanced, redundant, reliable, provide lower CPU and/or memory usage, enable pipelining of requests and responses, reduce network congestion, easy to use, reduce latency, faster, has a minimum part count, minimum hardware, and/or uses existing and available components, protocols, programs and applications for providing better quality of service, overload avoidance, better or optimal resources allocation, better communication and additional functionalities, and provides a better user experience. A system may comprise multiple data servers and multiple client and tunnel devices, each data server may be storing a respective content that may be fetched by the client devices via the Internet. The tunnel devices may be used as intermediate devices (or nodes). Upon initializing of the client and tunnel devices (such as upon powering up or upon launching the applicable software application), they sign-in with an acceleration server, which stores an identification (such as IP address) of each of the client and tunnel devices. A client device, which may be requesting a content from a data server, first communicates with the acceleration server to receive a list of the available tunnel devices. The client device may then select one (or more) tunnel device, and then executes a pre-connection process with the selected tunnel device. Upon determining the need for a content to be fetched from the data server, the client device sends a request to the tunnel device, which in turn fetches the required content from the data server, and sends the fetched content to the client device. Each of the devices (client or tunnel) and each of the servers (acceleration or data) may be identified in the Internet using an IP address that may be in an IPv4 or IPv6 form. Alternatively or in addition to using an intermediary device such as the tunnel device (or multiple tunnel devices), the client device may directly access and fetch content from the data server, without using any intermediate device such as a tunnel device. A device may be both a client device and a tunnel device, and the roles may be assumed one at a time, or may be employed in parallel using multitasking or multiprocessing. The required communication of requests and content between the client device and the selected tunnel device may be preceded by a pre-connection phase used for establishing a connection between the devices, which may be later used for the required request or content transfer. The devices may communicate using VPN or TCP, and a connection may be established by performing ‘Active OPEN’ or ‘Passive OPEN’. The content may include files, text, numbers, audio, voice, multimedia, video, images, music, computer programs or any other sequence of instructions, as well as any other form of information represented as a string of bits or bytes. In one example, the content may include, be a part of, or a whole of, a website page. One or a plurality of tunnel devices may be used. Further, a device may directly access the data server, hence acting as its own tunnel device. The selection of a tunnel or of multiple tunnels to be used by the client device may be based on pre-set criteria. The selection may use various attributes or characteristics of the tunnel devices, its operation environment, history, and any other characteristics. The attributes associated with each tunnel device may be stored in the acceleration server, and sent to the client device as part of the available tunnel devices list, so that the client device may use these attributes for the selection process. The criteria herein may be used independently or in combination. In yet another alternative, the selection may be based on a timing, such as Time-Of-Day (TOD) or a day of the week. The tunnel device (or devices) to be used may be randomly selected; using a random number generator may be based on a physical process, or may be software based using pseudo-random numbers. Alternatively or in addition, the tunnel device (or devices) to be used may be selected based on physical geographical location, such as based on the physical proximity to another device in the system, such as the data server. Alternatively or in addition, the tunnel device (or devices) to be used may be selected based on their IP address or addresses. Alternatively or in addition, the tunnel device (or devices) to be used may be selected based on their sign-in time, or the time of its last activity as a tunnel. The content requested by the client device may be partitioned into multiple parts or ‘slices’. Any number of slices may be used. The slicing may be in a bit, nibble (4-bits), byte (8-bits), word (multiple bytes), character, string, or a file level. The partition may be into equal length parts, or may use different length slicing. The content may be composed of inherent or identifiable parts or segments, and the partition may make use of these parts. The content may be a website content composed of multiple webpages, and each slice may include one (or few) webpages. Further, the partition may be sequential or non-sequential in the content. The partitioning may be non-overlapping or overlapping. A method is disclosed for fetching over the Internet a first content, identified by a first content identification, by a first device, identified in the Internet by a first identifier, from a second server identified in the Internet by a third identifier via a second device identified in the Internet by a second identifier, by using a first server. The method may be comprising the steps of the second device sending the second identifier to the first server; in response to receiving the second identifier, the first server storing the second identifier; the first device sending a first request to the first server; in response to receiving the first request, the first server sending the second identifier to the first device; the first device sending a second request to the second device using the second identifier, the second request includes the first content identification and the third identifier; in response to receiving the second request, the second device sending the first content identification to the second server using the third identifier; in response to receiving the first content identification, the second server sending the first content to the second device; and in response to receiving the first content, the second device sending the first content to the first device. The method may further comprise the following steps of the first device sending the first content identification to the second server using the third identifier; and in response to receiving the first content identification, the second server sending the first content to the first device. These steps may be performed before, after, or concurrently (using multitasking or multiprocessing) with any of the former steps. The method may further be used with a third device identified in the Internet by a fourth identifier, and may further comprise the steps of the third device sending the fourth identifier to the first server; in response to receiving the fourth identifier, the first server storing the fourth identifier; in response to receiving the first request, the first server sending the fourth identifier to the first device; the first device sending a third request to the third device using the fourth identifier, the third request includes the first content identification and the third identifier; in response to receiving the third request, the third device sending the first content identification to the second server using the third identifier; in response to receiving the first content identification, the second server sending the first content to the third device; and in response to receiving the first content, the third device sending the first content to the first device. These steps may be performed before, after, or concurrently (using multitasking or multiprocessing) with any of the former steps. The method may further be used with a group consisting of a plurality of devices, each associated with a respective identifier for being identified in the Internet, for each of the devices in the group the method further comprising the steps of the group device sending the associated identifier to the first server; and in response to receiving the associated identifier, the first server storing the associated identifier. Further, in response to receiving the first request, the first server may be sending the identifiers of all the devices in the group to the first device. The method may further comprise the steps of the first device sending a third request to the group device using the device associated identifier, the third request includes the first content identification and the third identifier; in response to receiving the third request, the group device sending the first content identification to the second server using the third identifier; in response to receiving the first content identification, the second server sending the first content to the group device; and in response to receiving the first content, the group device sending the first content to the first device. The second device may be included as part of the group, and the method may further comprise a step of selecting the second device out of the devices in the group. The first server may select the second device out of the devices in the group, and in the first server may send the second identifier to the first device in response to the selection. Further, the first server may send the identifiers of all the devices in the group to the first device, followed by a step of the first device selecting the second device. Further, the method may include a step of selecting one or more devices, distinct from the second device, out of the devices in the group. The second device may be randomly selected out of the devices in the group using one or more random numbers generated by a random number generator. The random number generator may be hardware based using thermal noise, shot noise, nuclear decaying radiation, photoelectric effect, or quantum phenomena. Alternatively or in addition, the random number generator may be software based, based on executing an algorithm for generating pseudo-random numbers. The second device may be selected based on attributes or characteristics of the device. The second device may be selected based on the physical geographical location, and the method may comprise for each of the devices in the group the step of sending the device physical geographical location to the first server, followed by the step of the first server storing the received group device physical geographical location. The physical geographical location may include at least one out of a continent, a country, a state or province, a city, a street, a ZIP code, or a longitude and a latitude. The second device may be selected based on the physical geographical proximity to the second server. The second device may be selected based on the second identifier, the second identifier may be an IP address, and the second device may be selected based on its IP address. Alternatively or in addition, the second device may be selected based on comparing the second identifier to the third identifier. Alternatively or in addition, the second device may be selected based on past activities, such as based on the timing of an event. The event may be a last or previous communication between the second device and the first device, the last communication between the second device and the first server, or the last communication between the second device and the second server. These steps may be performed before, after, or concurrently (using multitasking or multiprocessing) with any of the former steps. Each of the identifiers herein may be a URL or an IP address in IPv4 or IPv6 form. Any one of the servers herein may be a web server using Hyper Text Transfer Protocol (HTTP) that responds to HTTP requests via the Internet, and any request herein may be an HTTP request. Any communication herein may be based on, or according to, TCP/IP protocol or connection, and may be preceded by the step of establishing a connection, such as an ‘Active OPEN’ or a ‘Passive OPEN’. Alternatively or in addition, any communication herein may be based on, or use a VPN or a tunneling protocol. Any content herein may include, consist of, or comprise, part or whole of files, text, numbers, audio, voice, multimedia, video, images, music, or computer program, or may include, consists of, or comprise, a part of, or a whole of, a website page. The method may be used for fetching over the Internet a second content, identified by a second content identification, by a third device identified in the Internet by a fourth identifier, from a third server identified in the Internet by a fifth identifier, via the first device, and may further comprising the steps of the third device sending a third request to the first server; in response to receiving the third request, the first server sending the first identifier to the third device; the third device sending a fourth request to the first device using the first identifier, the fourth request includes the second content identification and the fifth identifier; in response to receiving the fourth request, the first device sending the second content identification to the third server using the fifth identifier; in response to receiving the second content identification, the third server sending the second content to the first device; and in response to receiving the second content, the first device sending the second content to the third device. The third server may be distinct from, or the same device as, the second server. The third device may be distinct from, or the same device as, the second device. The second content may be distinct from, or the same content as, the first content. A client device may be a first device identified in the Internet by a first identifier, executing a method for fetching over the Internet a first content, identified by a first content, from a second server identified in the Internet by a third identifier, via a second device identified in the Internet by a second identifier, using a first server. The method may include the steps of sending the first identifier to the first server; sending a first request to the first server; receiving the second identifier from the first server; sending a second request to the second device using the second identifier, the second request includes the first content identification and the third identifier; and receiving the first content from the second device. The method may further comprising of the step of sending the first content identification to the second server using the third identifier. These steps may be performed before, after, or concurrently (using multitasking or multiprocessing) with any of the former steps. The method may further be used with a third device identified in the Internet by a fourth identifier, and may further comprise the steps of receiving the fourth identifier from the first server; sending a third request to the third device using the fourth identifier, the third request includes the first content identification and the third identifier; and receiving the first content from the third device. These steps may be performed before, after, or concurrently (using multitasking or multiprocessing) with any of the former steps. The method may further be used with a group consisting of a plurality of devices, each device in the group may be associated with a respective identifier for being identified in the Internet, and may further comprise the steps of receiving the identifiers of the group devices from the first server; sending a third request to the group devices using their associated identifiers, the third request includes the first content identification and the third identifier; and receiving the first content from the group devices. The second device may be included in the group, and the method may further comprise a step of selecting the second device out of the devices in the group, or the step of selecting one or more devices, distinct from the second device, out of the devices in the group. The method may further be used for fetching over the Internet a second content, identified by a second content identification, by a third device, identified in the Internet by a fourth identifier, from a third server identified in the Internet by a fifth identifier, via the first device. The method may further comprise steps of receiving a third request from the third device, the third request includes the second content identification and the fifth identifier; in response to receiving the third request, sending the second content identification to the third server using the fifth identifier; receiving the second content from the third server; and in response to receiving the second content, sending the second content to the third device using the fourth identifier. The third server may be distinct from the second server, or the third server and the second server are the same server. The second content may be distinct from the first content, or the second content and the first content may be the same content. A tunnel device may be identified in the Internet by a second identifier execute a method for fetching over the Internet a first content, identified by a first content identification, by a first device, identified in the Internet by a first identifier, from a second server identified in the Internet by a third identifier using a first server. The method may comprise the steps of sending the second identifier to the first server; receiving a second request from the first device, the second request includes the first content identification and the third identifier; in response to receiving the second request, sending the first content identification to the second server using the third identifier; receiving the first content from the second server; and in response to receiving the first content, sending the first content to the first device using the first identification. An acceleration server may execute a method for fetching over the Internet a first content, identified by a first content identification, by a first device identified in the Internet by a first identifier, from a second server identified in the Internet by a third identifier via a second device identified in the Internet by a second identifier. The method may comprise steps of receiving the second identifier from the second device; in response to receiving the second identifier, storing the second identifier; receiving a first request from the first device; and in response to receiving a first request, sending the second identifier to the first device. The method may further be used with a third device identified in the Internet by a fourth identifier, and may comprise the steps of receiving the fourth identifier from the third device; in response to receiving the fourth identifier, storing the fourth identifier; and in response to receiving the first request, sending the fourth identifier to the first device. The method may further be used with a group consisting of a plurality of devices; each device in the group may be associated with a respective identifier for being identified in the Internet, for each of the group devices in the group. The method may comprise steps of receiving the associated identifier from the group device; in response to receiving the associated identifier, storing the associated identifier; and in response to receiving the first request, sending the identifier of all group devices to the first device. The second device may be included as part of the group, and the method may further comprise the step of selecting the second device out of the devices in the group, and the sending the second identifier to the first device may be in response to the selection. A method is disclosed for fetching a content over the Internet by a first device identified in the Internet by a first identifier, from a first server identified in the Internet by a second identifier via a group of multiple devices each identified in the Internet by an associated group device identifier. The method may comprise a step of partitioning the content into a plurality of content slices, each content slice containing at least part of the content, and identified using a content slice identifier. For each of the content slices, the method may comprise steps of selecting a device from the group; the first device sending a first request to the selected device using the selected device identifier, the first request including the content slice identifier and a second identifier; in response to receiving the first request, the selected device sending a second request to the first server using the second identifier, the second request including the content slice identifier; in response to receiving the second request, the first server sending the content slice to the selected device; and in response to receiving the content slice, the selected device sending the content slice to the first device. The content may be composed of bits, nibbles, bytes, characters, words, or strings, and the partitioning may be based on bit, nibble, byte, multi-byte, number, character, word, or string level, or may be composed of files, or programs, and the partitioning may be based on file or program level. Alternatively or in addition, the content may be a website content comprising multiple webpages, and the partitioning may be based webpages level. All the parts of the content may be included in all of the content slices. All of the content slices may be having a same size. A part of the content may be included in two or more content slices. The partitioning may be sequential or non-sequential in the content. The number of content slices may be equal to, higher than, or lower than, the number of devices in the group. A distinct device may be selected for each content slice A method to be executed by a device is disclosed for fetching a content over the Internet from a first server identified in the Internet by a second identifier via a group of multiple devices each identified in the Internet by an associated group device identifier, the method comprising a step of partitioning the content into a plurality of content slices, each content slice containing at least part of the content, and identified using a content slice identifier. For each of the content slices, the method may comprise steps of selecting a device from the group; sending a first request to the selected device using the selected device identifier, the first request including the content slice identifier and the second identifier; receiving the content slice from the selected device; and constructing the content from the received content slices. A method is disclosed for fetching over the Internet a first content, identified by a first content identifier, by a first device, identified in the Internet by a first identifier, from a second server identified in the Internet by a third identifier via a second device identified in the Internet by a second identifier, using a first server. The method may comprise the steps of the second device sending the second identifier to the first server; in response to receiving the second identifier, the first server storing the second identifier; the first device sending a first request to the first server; in response to receiving the first request, the first server sending the second identifier to the first device; the first device sending a second request to the second device using the second identifier, the second request includes the first content identifier and the third identifier; in response to receiving the second request, the second device sending the first content identifier to the second server using the third identifier; in response to receiving the first content identifier, the second server sending the first content to the second device; and in response to receiving the first content, the second device sending the first content to the first device. Alternatively or in addition, the method may comprise the additional steps of the first device sending the first content identifier to the second server using the third identifier; and in response to receiving the first content identifier, the second server sending the first content to the first device. These additional steps may precede any of the other steps, follow any of the other steps, or may be executed simultaneously with any one of the other steps using multitasking or multiprocessing. Alternatively or in addition, the method may be for use with a third device identified in the Internet by a fourth identifier, and may further comprising the steps of the third device sending the fourth identifier to the first server; in response to receiving the fourth identifier, the first server storing the fourth identifier; in response to receiving the first request, the first server sending the fourth identifier to the first device; the first device sending a third request to the third device using the fourth identifier, the third request includes the first content identifier and the third identifier; in response to receiving the third request, the third device sending the first content identifier to the second server using the third identifier; in response to receiving the first content identifier, the second server sending the first content to the third device; and in response to receiving the first content, the third device sending the first content to the first device. Alternatively or in addition, the method may be for use with a group consisting of a plurality of devices, each associated with a respective identifier for being identified in the Internet, for each of the devices in the group, and the method may further comprise the steps of the group device sending the associated identifier to the first server; and in response to receiving the associated identifier, the first server storing the associated identifier. Alternatively or in addition, the method may comprise the step of in response to receiving the first request, the first server sending the identifiers of all the devices in the group to the first device. Alternatively or in addition, for each of the group devices in the group, the method may further comprise the steps of the first device sending a third request to the group device using the device associated identifier, the third request includes the first content identifier and the third identifier; in response to receiving the third request, the group device sending the first content identifier to the second server using the third identifier; in response to receiving the first content identifier, the second server sending the first content to the group device; and in response to receiving the first content, the group device sending the first content to the first device. The second device may be included in the group, the method may further comprise the step of selecting the second device out of the devices in the group by the first server, and the first server may be sending the second identifier to the first device in response to the selection. Alternatively or in addition, the method may comprise the step of the first server may be sending the identifiers of all devices and the group to the first device, followed by a step of the first device selecting the second device. Alternatively or in addition, the method may comprise the step of selecting 2, 3, 4, 5, 6, 7, 8, 9, 10, or more than 10 devices, distinct from the second device, out of the devices in the group. The second device may be randomly selected out of the devices in the group, such as being randomly selected using one or more random numbers generated by a random number generator. The random number generator may be software based, such as based on executing an algorithm for generating pseudo-random numbers. Alternatively or in addition, the second device may be selected based on attributes or characteristics of the device, or based on the device physical geographical location. Further, for each of the devices in the group, the method may comprise the steps of sending the device physical geographical location to the first server, followed by the step of the first server storing the received group device physical geographical location. The physical geographical location may include a continent, a country, a state or province, a city, a street, a ZIP code, or longitude and latitude, and the second device may be selected based on the physical geographical proximity to the second server. The second device may be selected based on the second identifier that may be an IP address, and the second device may be selected based on its IP address, or the second device may be selected based on comparing the second identifier to the third identifier. Alternatively or in addition, the second device may be selected based on past activities, or based on the timing of an event, wherein the event may be the last communication between the second device and the first device, may be the last communication between the second device and the first server, or may be the last communication between the second device and the second server. The method may be used for fetching over the Internet a second content, identified by a second content identifier, by a third device, identified in the Internet by a fourth identifier, from a third server identified in the Internet by a fifth identifier, via the first device, the method further comprising the steps of the third device sending a third request to the first server; in response to receiving the third request, the first server sending the first identifier to the third device; the third device sending a fourth request to the first device using the first identifier, the fourth request includes the second content identifier and the fifth identifier; in response to receiving the fourth request, the first device sending the second content identifier to the third server using the fifth identifier; in response to receiving the second content identifier, the third server sending the second content to the first device; and in response to receiving the second content, the first device sending the second content to the third device. The third server may be distinct from, or the same as, the second server, the third device may be distinct from, or the same as, the second device, and the second content may be distinct from, or the same as, the first content. The method may further comprise the steps of the first device receiving the first content from the second device; and the first device storing the first content in a memory. Further, a method is disclosed for fetching over the Internet a first content, identified by a first content identifier, by a first device, identified in the Internet by a first identifier, from a second server identified in the Internet by a third identifier via a second device identified in the Internet by a second identifier, using a first server. The method may comprise the steps of sending the first identifier to the first server; sending a first request to the first server; receiving the second identifier from the first server; sending a second request to the second device using the second identifier, the second request includes the first content identifier and the third identifier; and receiving the first content from the second device. The method may be further for use with a third device identified in the Internet by a fourth identifier, and may further comprise the steps of receiving the fourth identifier from the first server; sending a third request to the third device using the fourth identifier, the third request includes the first content identifier and the third identifier; and receiving the first content from the third device. The method may further for use with a group consisting of a plurality of devices, each device in the group may be associated with a respective identifier for being identified in the Internet, and may further comprise the steps of receiving the identifiers of the group devices from the first server; sending a third request to the group device using their associated identifiers, the third request includes the first content identifier and the third identifier; and receiving the first content from the group devices. The second device may be included in the group, and the method may further comprise the step of selecting the second device out of the devices in the group. Further, one or more devices, distinct from the second device, may be selected out of the devices in the group. The second device may be randomly selected out of the devices in the group, may be selected based on attributes or characteristics of the device. Alternatively or in addition, the selection may be based on a physical geographical location, such as on the physical geographical proximity to the second server. Further, the second device may be selected based on the second identifier, based on past activities, or based on the timing of an event. Further, the method may be for fetching over the Internet a second content, identified by a second content identifier, by a third device, identified in the Internet by a fourth identifier, from a third server identified in the Internet by a fifth identifier, via the first device, the method may further comprise the steps of receiving a third request from the third device, where the third request includes the second content identifier and the fifth identifier; in response to receiving the third request, sending the second content identifier to the third server using the fifth identifier; receiving the second content from the third server; and in response to receiving the second content, sending the second content to the third device using the fourth identifier. The third server may be distinct from, or same as, the second server. The second content may be distinct from, or same as, the first content. A method is disclosed for fetching over the Internet a first content, identified by a first content identifier, by a first device, identified in the Internet by a first identifier, from a second server identified in the Internet by a third identifier via a second device identified in the Internet by a second identifier, using a first server. The method may comprise the steps of sending the second identifier to the first server; receiving a second request from the first device, the second request includes the first content identifier and the third identifier; in response to receiving the second request, sending the first content identifier to the second server using the third identifier; receiving the first content from the second server; and in response to receiving the first content, sending the first content to the first device using the first identifier. A method is disclosed for fetching over the Internet a first content, identified by a first content identifier, by a first device, identified in the Internet by a first identifier, from a second server identified in the Internet by a third identifier via a second device identified in the Internet by a second identifier, using a first server, the method may comprise the steps of receiving the second identifier from the second device; in response to receiving the second identifier, storing the second identifier; receiving a first request from the first device; and in response to receiving a first request, sending the second identifier to the first device. The method may for use with a third device identified in the Internet by a fourth identifier, and may further comprise the steps of receiving the fourth identifier from the third device; in response to receiving the fourth identifier, storing the fourth identifier; and in response to receiving the first request, sending the fourth identifier to the first device. The method may be used with a group consisting of a plurality of devices; each device in the group may be associated with a respective identifier for being identified in the Internet. For each of the group devices in the group, the method further comprising the steps of receiving the associated identifier from the group device; in response to receiving the associated identifier, storing the associated identifier; and in response to receiving the first request, sending the identifier of all group devices to the first device. A method is disclosed for fetching a content over the Internet by a first device identified in the Internet by a first identifier, from a first server identified in the Internet by a second identifier ia a group of multiple devices, each identified in the Internet by an associated group device identifier, the method comprising the step of partitioning the content into a plurality of content slices, each content slice containing at least part of the content, and identified using a content slice identifier, and for each of the content slices. The method may comprise the steps of selecting a device from the group; the first device sending a first request to the selected device using the selected device identifier, the first request including the content slice identifier and the second identifier; in response to receiving the first request, the selected device sending a second request to the first server using the second identifier, the second request including the content slice identifier; in response to receiving the second request, the first server sending the content slice to the selected device; and in response to receiving the content slice, the selected device sending the content slice to the first device. A method is disclosed for fetching a content over the Internet from a first server identified in the Internet by a second identifier via a group of multiple devices, each identified in the Internet by an associated group device identifier, the method may comprise the step of partitioning the content into a plurality of content slices, each content slice containing at least part of the content, and identified using a content slice identifier. For each of the content slices, the method may comprise the steps of selecting a device from the group; sending a first request to the selected device using the selected device identifier, the first request including the content slice identifier and the second identifier; receiving the content slice from the selected device; and constructing the content from the received content slices. A content herein may be composed of bits, nibbles, bytes, characters, words, or strings, and the partitioning may be based on bit, nibble, byte, multi-byte, number, character, word, or string level. Alternatively or in addition, a content herein may be composed of files or programs, and the partitioning may be based on file or program level. Further, the content may be a website content comprising multiple webpages, and the partitioning may be based on webpages level. All parts of the content may be included in all of the content slices, and two or more, or all of the content slices, may be having the same size. Two or more of the content slices may include the same information. Further, the same part of the content may be included in two or more content slices. The partitioning may be sequential or non-sequential in the content, and the number of the content slices may be equal to, higher than, or lower than, the number of devices in the group. A distinct device may be selected for each content slice. The first device may consist of, comprise, or be part of, any network element. In one example, the first device may consist of, comprise, or be part of, a client device, such as the client device #1. The first server may consist of, comprise, or be part of, any network element. In one example, the first server may consist of, comprise, or be part of, the acceleration server. The second server may consist of, comprise, or be part of, any network element. In one example, the second server may consist of, comprise, or be part of, a data server, such as the data server #1. The third server may consist of, comprise, or be part of, any network element. In one example, the third server may consist of, comprise, or be part of, a data server, such as the data server #2. The second device may consist of, comprise, or be part of, any network element. In one example, the second device may consist of, comprise, or be part of, a tunnel device, such as the tunnel device #1. The third device may consist of, comprise, or be part of, any network element. Alternatively or in addition, the third device may consist of, comprise, or be part of, a client device, such as the client device #2. A method is disclosed for a first device fetching over the Internet a first content, identified by a first content identifier, stored in a first server that may be identified in the Internet by a first identifier, where the first content may be composed of multiple content parts, and each content part may be identified by a respective content part identifier. The method may be for use with a group of devices, each storing a copy of at least one content part and each group device may be identified in the internet by a respective group device identifier, and may be further for use with a second device identified in the Internet by a second identifier and storing the group device identifiers, and furthermore for use with a second server. The method may comprise the steps of the first device sending the first content identifier to the second server; in response to receiving the first content identifier, the second server sending the second identifier to the first device; the first device sending the first content identifier to the second device using the second identifier; and in response to receiving the first content identifier, the second device sending the group devices identifiers to the first device. Further, for each one out of the group devices identifiers, the method may comprise the steps of the first device sending a content part identifier to the group device using the group device identifier; and in response to receiving the content part identifier, the group device sending the content part identified by the content part identifier to the first device. The first device may consist of, comprise, or be part of, any network element. In one example, the first device may consist of, comprise, or be part of, a client device, such as the client device #1. The first server may consist of, comprise, or be part of, any network element. In one example, the first server may consist of, comprise, or be part of, the acceleration server. The second server may consist of, comprise, or be part of, any network element. In one example, the second server may consist of, comprise, or be part of, a data server, such as the data server #1. The third server may consist of, comprise, or be part of, any network element. In one example, the third server may consist of, comprise, or be part of, a data server, such as the data server #2. The second device may consist of, comprise, or be part of, any network element. In one example, the second device may consist of, comprise, or be part of, a tunnel device, such as the agent device #1. Any device included in the group of devices may consist of, comprise, or be part of, any network element. Alternatively or in addition, a group device may consist of, comprise, or be part of, a peer device, such as the peer device #2. The first server may be a web server, and the first content may be a web-site, a web-page, or a URL, and the first content identifier may be an IP address, URL, or an HTTP header. The first identifier may be the first server IP address, the second identifier may be the second IP address, and each of the group devices identifier may be an IP address or the respective group device. The first content may be composed of bits, nibbles, bytes, characters, words, or strings, and the content parts may be based on bit, nibble, byte, multi-byte, number, character, word, or string level partitioning of the first content, and the first content may include, consist of, or comprise, part or whole of files, text, numbers, audio, voice, multimedia, video, images, music, or computer program. Alternatively or in addition, the first content may include, be composed of, consist of, or comprise, a part of, or a whole of, files or programs, and the content parts may be based on file level or program level partitioning of the first content. Further, the first content may be a website content comprising multiple webpages, and the content parts may be based on webpages level partitioning of the first content. All the components of the first content may be included in all of the content parts. The method may further comprise the step of the first device reconstructing the first content from the received multiple content parts. Part of, or all of, the content parts may be having the same size, that may be 8 KB, 16 KB, 32 KB, or 64 KB. Two or more content parts may be identical and may contain the same data. A same portion of the first content may be included in two or more content parts. The content parts may be a result of a sequential, or a non-sequential, partitioning of the first content. The number of content parts may be equal to the number of group devices in the group. Each of the content part identifiers may be a hash value that may be the result of a hash function of the respective data in the content part, such as a checksum or CRC of the respective data in the content part. The CRC may be CRC-8, CRC-16. CRC-32, or CRC-64. The method may further comprise the steps of the first device sending the first content identifier to the first server using the first identifier; and in response to receiving the first content identifier, the first server may be sending the part of, or the whole of, the first content to the first device. These steps may precede, follow, or be executed concurrently, with any one of the previously mentioned steps, using multitasking or multiprocessing The method may be for use with a second group consisting of a plurality of devices, each associated with a respective identifier for being identified in the Internet, the second group including the second device, wherein in response to receiving the first content identifier, the second server sending the identifiers of all devices in the second group to the first device, and may further comprise the step of selecting the second device from the second group. The second device may be randomly selected out of the devices in the group, using one or more random numbers generated by a random number generator. The random number generator may be hardware based, and may be using thermal noise, shot noise, nuclear decaying radiation, photoelectric effect, or quantum phenomena. Alternatively or in addition, the random number generator may be software based, and may be based on executing an algorithm for generating pseudo-random numbers. Alternatively or in addition, the second device may be selected based on attributes or characteristics of the device. Further, the second device may be selected based on the physical geographical location, and the method may further comprise for each of the devices in the second group, the steps of sending the device physical geographical location to the first device, followed by the step of the first device storing the received second group devices physical geographical location. The physical geographical location may include a continent, a country, a state or province, a city, a street, or a ZIP code, as well as longitude and latitude. Furthermore, the second device may be selected based on the physical geographical proximity to the first device. Alternatively or in addition, the second device may be selected based on the second identifier, which may be an IP address, where the second device may be selected based on its IP address, or based on comparing the second identifier to a first device identifier. Further, the second device may be selected based on past activities, or based on the timing of an event, such as the last communication between the second device and the first device. Furthermore, the second device may be selected based on the ISP used to connect the second device to the Internet. One or more of the group devices may be storing the first content. Alternatively or in addition, all of the group devices may be storing the first content. Alternatively or in addition, at least one of, or all of, the group devices may be storing only one content part. Each of the identifiers may be an IP address (such as in IPv4 or IPv6 form) or a URL. At least one of the servers may be a web server using HyperText Transfer Protocol (HTTP) that responds to HTTP requests (such as the first and second requests) the via the Internet. Further, the communication with the second server may be based on, or using, HTTP persistent connection. Furthermore, the communication with the first device, the second device, one of the group devices, the first server, or the second server, may be based on, or may be according to, TCP/IP protocol or connection. The method may further comprise the step of establishing a connection between the first device and the second device in response to receiving the second identifier, and the first device may be communicating with the second device over the established connection. Further, the first device may be communicating with the second device using TCP, wherein the connection may be established by performing ‘Active OPEN’ or ‘Passive OPEN’. Alternatively or in addition, the first device may be communicating with the second device using a VPN or a tunneling protocol, and the connection may be established using authentication. Further, the method may comprise the step of of establishing a connection between the first device and at least one of the group devices in response to receiving the group devices identifiers. The first device may be communicating with at least one of, or all of, the group devices over established connections. The first device may be communicating with at least one of the group devices using TCP, and the connection may be established by performing ‘Active OPEN’ or ‘Passive OPEN’. Alternatively or in addition, the first device may be communicating with at least one of the group devices using a VPN or using a tunneling protocol. Any of the connections may be using authentication. The method according may further used with a fourth device fetching over the Internet a second content, identified by a second content identifier, stored in a second server that may be identified in the Internet by a fifth identifier, the second content may be composed of multiple second content parts, each second content part may be identified by a respective second content part identifier, and may be for use with a second group of devices each storing a copy of at least one second content part and each second group device may be identified in the internet by a respective second group device identifier, where the first device may be identified in the Internet by a third identifier. The method may further comprise the steps of the fourth device sending the second content identifier to the second server; in response to receiving the second content identifier, the second server sending the third identifier to the fourth device; the fourth device sending the second content identifier to the first device using the third identifier; and in response to receiving the second content identifier, the first device sending the second group devices identifiers to the fourth device. The method may further be used with a fourth device fetching over the Internet a second content, identified by a second content identifier, stored in a second server that may be identified in the Internet by a fifth identifier, the second content may be composed of multiple second content parts, each second content part may be identified by a respective second content part identifier, and may be further for use with a second group of devices each storing a copy of at least one second content part and each second group device is identified in the internet by a respective second group device identifier where the first device may be identified in the Internet by a third identifier and may be storing at least one of the second content parts, and may be for use with a fifth device fetching identified in the Internet by a fifth identifier and storing the third identifier. The method may further comprise the steps of the fourth device sending the second content identifier to the second server; in response to receiving the second content identifier, the second server sending the fifth identifier to the fourth device; the fourth device sending the second content identifier to the fifth device using the fifth identifier; in response to receiving the second content identifier, the fourth device sending the third identifier to the fourth device; the fourth device sending the identifier of the at least one second content part stored in the first device to the first device using the third identifier; and in response to receiving the identifier of the at least one second content part, the first device sending the at least one second content part to the fourth device. The fourth device may consist of, comprise, or be part of, any network element. In one example, the first device may consist of, comprise, or be part of, a client device, such as the client device #1. In one example, the second server may consist of, comprise, or be part of, a data server, such as the data server #2. The fourth device and the second device may be the same device or distinct devices, and the fourth device may be the same as one of the group devices. The fifth device may consist of, comprise, or be part of, any network element. In one example, the fifth device may consist of, comprise, or be part of, an agent device, such as the agent device #2. The fourth device and the second device may be the same device or distinct devices. The fourth device may be the same as one of the group devices. Further, the fifth device and the second device may be the same device. Alternatively or in addition, the fifth device and the one of the group devices may be the same device. A method is disclosed for fetching over the Internet a first content, identified by a first content identifier, stored in a first server that may be identified in the Internet by a first identifier, the first content may be composed of multiple content parts, each content part may be identified by a respective content part identifier. The method may be used with a group of devices each storing a copy of at least one content part and each group device may be identified in the internet by a respective group device identifier, may be for use with a second device identified in the Internet by a second identifier and storing the group device identifiers, and may be used with a second server. The method may comprise the steps of sending the first content identifier to the second server; receiving the second identifier from the second server; sending the first content identifier to the second device using the second identifier; and receiving the group devices identifiers from the second device. For each one out of the group devices identifiers, the method may further comprise the steps of sending a content part identifier to the group device using the group device identifier; and receiving from the group device the content part identified by the content part identifier. The method may further comprise the steps of sending the first content identifier to the first server using the first identifier; and receiving the part of, or the whole of, the first content, from the first server. A method is disclosed for a first device fetching over the Internet a first content, identified by a first content identifier, stored in a first server that may be identified in the Internet by a first identifier, the first content may be composed of multiple content parts, each content part may be identified by a respective content part identifier, for use with a group of devices each storing a copy of at least one content part and each group device may be identified in the internet by a respective group device identifier. The method may be used with a second device identified in the Internet by a second identifier and storing the group device identifiers, and may further be for use with a second server. The method may comprise the steps of receiving the first content identifier from the first device; and sending the group devices identifiers to the first device. A method for a first device fetching over the Internet a first content, identified by a first content identifier, stored in a first server that may be identified in the Internet by a first identifier, the first content may be composed of multiple content parts, where each content part may be identified by a respective content part identifier, is disclosed. The method may comprise the steps of storing a content part identified by a content part identifier; receiving from the first device sending the content part identifier; and in response to receiving the content part identifier sending the content part identified by the content part identifier to the first device. A method and system using an internet-connected device designated as a tunnel device is disclosed. A tunnel device may receive from a client device a request for content from a data server. Upon receiving such a request, the tunnel device fetches the requested content from the data server and sends the retrieved content to the client device. The request may specify a range of, or any portion of, the content, and then only the specified portion or range is retrieved from the data server and sent to the requesting client device. A tunnel device may open multiple connections when fetching the requested content from the data server. In a case where more connections may be opened for higher loading bandwidth, the client device may send a request to the tunnel device to open more connection with the data server. The client device may use multiple tunnel devices, and may specify different or the same ranges or portions for each one of the tunnel devices. In a case where the requested content is locally stored in the tunnel device, such as in a local memory, such as a cache, the content is fetched from the local (internal) memory. Multiple tunnel devices, such as 5 tunnel devices, may be selected to be used by the client device, and the client device may request each of the tunnel devices to open more connections to the data server, up to the maximum allowable number of connections. The selection may be based on their proximity to the data server, such as selecting those tunnel devices that are the closest to the data server, based on their geolocation, IP distance, physical location, or the data communication characteristics. A first network element may request content stored in a second network element over a communication link being part of a network. A time period for fetching the content may be estimated by the first network element by estimating the Bandwidth (BW) and the Round Trip Time (RTT) associated with the content fetching transaction. The estimation of the BW and RTT may use a database that contains information relating to previous interactions with the second network elements. Alternatively or in addition, the estimation of the BW and RTT may use a database that contains information relating to previous interactions with a first group of network elements that are associated with an IP distance lower than, and with a second group of network elements that is associated with an IP distance higher than, the second network element, such as by calculating the average IP distance between the two groups. A system may comprise a central server and network elements, each of the network elements may be in an ‘online’ or an ‘offline’ state. When in the online’ state, each of the network elements periodically transmits a message (such as a ‘ping’) to the central server. In response to receiving the message, the central server determines that the network element from which a message was received in a defined past period is in an ‘online’ state, and further determines that network elements, from which a message was not received in the defined past period, are in an ‘offline’ state. An operating system may send data from an application to network elements using sockets. A method may queue the data to be sent, and transfer the data to a socket that is available for immediate data transfer. The queue may be dynamic and may be part of an added layer to the OS. The added layer may further continuously check the sockets and queues, and upon detecting a queued data and a ready-to-send data socket, the data is un-queued from its dynamic queue and sent through the socket ready for sending. In a case where the application cancels the data sending, data is removed from the respective socket and the respective queue. In a network element that is connected to a network and includes an operating system and applications, a method by which a program on the network element may provide the communication configuration to the operating system, instead of the operating system getting it from a gateway on the network. The program may communicate with the external gateway to get the configuration information so that it can communicate with other network elements, and provides separate configuration information to the operating system, thereby having the operating system communicate with the program, and the program communicating with the external network elements. In a scenario where a communication of content between two network elements may use two or more data paths (routes), the content may be concurrently transmitted and received over multiple data paths. In one scenario, one or both of the network elements may connect only via a single data path. A reliability proxy server that is capable of concurrently communicating with one (or both) of the network elements over multiple data paths, may be used. The reliability proxy server serves as a proxy server, and communicate the content with one (or both) of the network elements over multiple data paths, A timeout period (such as 5 ms, or any period substantially shorter than the defined typical) may be defined for completing a DHCP request. A DHCP request is repeatedly retransmitted to a DHCP server upon each timeout expiration, until a response is received, or until the typical timeout period expires. A data may be transferred from a first network element to a second network element may involve transporting of a low priority, such as less time critical, meta data. Such meta data may be delayed by the first network element and be sent to the second network element only after higher priority, or more time sensitive, data was sent. For use with devices such as WiFi access points that requires authentication such as being password protected, a user may try to connect a network element to a device that its password is unknown. The connection may automatically guess passwords for the connection, such as passwords that were used to connect to other devices, passwords that are common in the geographical location, or passwords that are common to similar devices from this same manufacturer. A central server (or servers) may store a list of known devices, such as WiFi access points, and their associated authentication methods, and may further store social connections between users. A user connecting to the devices may be prompted to update the central server the authentication information regarding the device and the device associated sharing level with others. A sharing-approved user may fetch the authentication information from the central server for connecting to a device. A network element may use a hierarchical structure, whereby some of the graphical elements are sons or parents of other elements, for a user interface. If a user drags an object beyond the borders of a parent object, the dragging may be performed by carrying over (inheriting) the dragging to the parent object, and so recursively until reaching a parent that allows the dragging. A method is disclosed for dictionary-based compression scheme, that may be used with a first device storing a first content in a first memory, and a second device storing a second content in a second memory, and for use with communicating a third content stored in the first device over a network. The method comprising the steps of the first device partitioning at least part of the first content into a plurality of first content slices according to a partitioning scheme; the first device associating a distinct slice identifier to each of the first content slices according to a rule; the second device partitioning at least part of the second content into a plurality of second content slices according to a partitioning scheme; the second device associating a distinct slice identifier to each of the second content slices according to the rule; the first device partitioning at least part of the third content into a plurality of third content slices according to a partitioning scheme. For each one of the third content slices, the method may further comprise the steps of the first device comparing the data in the third content slice to the data in the plurality of the first content slices; the first device sending to the second device over the network the slice identifier of the first content slice that includes the same data as the third content slice; the second device receiving the slice identifiers sent from the first device over the network; and the second device associating second content slices associated with the received slice identifiers. Two of, or all of, the slices may have the same the same size. Two of, or all of, the slices may be the same. The partitioning may be sequential in the respective content. A method for attribute-based selecting devices by a first device located in a first geographical location, from a group of multiple Internet-connected devices is disclosed, where each of the group devices may be addressable in the Internet by a respective IP address. The method comprising the steps of obtaining a list of the IP addresses of the devices of the group; determining the geographical location of each of the group devices based on the IP address; associating a value of the attribute for each of the geographical location of each of the group devices; associating a first value of the attribute for the first geographical location; and selecting one or more devices from the group based on comparing the values of the group devices to the first value. A single device or multiple devices may be selected, associated with the first value or having a value close to the first value. The geographical location may consist of, or comprise, a continent, a country, a region, a city, a street, a ZIP code, or a timezone. The determining of the geographical location of each of the group devices may be based on a geolocation, such as based on W3C Geolocation API. The method may be used with a database associating IP addresses to geographical locations, wherein the determining of the geographical location of each of the group devices based on the IP address may be using the database. The database may be stored in the first device or may be stored in a server accessible via the Internet, where the geographical location may be determined by the first device sending the IP addresses of the group devices to the server over the Internet; in response to receiving the IP addresses, the server sending the database associated physical locations to the first device; and the first device receiving the physical locations from the server. The attribute may relate to people or society, such as language, sport, demographics, or religion, or may be demographic based, such as culture, race, ethnicity, population, age structure, population growth rate, death rate, birth rate, migration rate, sex ratio, life expectancy, or health expenditures. The attribute may be economy related, such as Gross Domestic Product (GDP), GDP per capita (PPP), gross national saving, agriculture products, industry types, labor force, unemployment rate, household income or consumption by percentage share, Government budget, taxes and other revenues, inflation rate (consumer prices), export/import of goods and services, household consumption, government consumption, or investment in fixed capital. The attribute may relate to geography, such as climate, coastline, terrain, natural resources, and environment. A method is disclosed for a first device fetching over the Internet a first content having a size X and identified by a first content identification, the first content may be stored in a second device that is identified in the Internet by a second identifier. The first device may be identified in the Internet by a first identifier, and the method may comprise the steps of the first device sending the first identifier and the first content identification to the second device; in response to receiving the first identifier and the first content identification, the second device sending the first content to the first device using the first identifier; the first device starting to receive the first content from the second device; the first device ending to receive the first content from the second device; the first device measuring an Round Trip Time (RTT) as a first time interval between the sending of the first identifier and the starting to receive the first content from the second device; the first device measuring a second time interval (T) between the starting and the ending of receiving the first content from the second device; and the first device calculating the bandwidth (BW) as X/T. The method may further comprise the step of the first device storing in a memory the RTT and the BW, or the step of the first device sending the RTT and the BW to the second device. The method may be used with a second content having a size Y identified by a second content identification stored in the second device, and the method may further comprise the step of estimating a third time interval between a sending of the first identifier to the second device and an ending to receive the second content from the second device, where the third time interval may be estimated to be RTT+Y/BW. A method is disclosed for a first device fetching over the Internet a first content having a size X identified by a first content identification, for use with a group of group devices, each of the group devices storing the first content and each identified in the Internet by a respective group device identifier. Each of the group devices may be associated with a respective Round Trip Time (RTT) and a respective bandwidth (BW), and the method may comprise the steps of for each one of the group devices, estimating the time interval for fetching the first content from the group device using the RTT and BW; selecting the group device having the lowest estimated time interval; the first device sending the first identifier and the first content identification to the selected group device; and in response to receiving the first identifier and the first content identification, the selected group device sending the first content to the first device using the first identifier. The method may further comprise the steps of the first device starting to receive the first content from the selected group device; the first device ending to receive the first content from the selected group device; the first device measuring an Round Trip Time (RTT) as a first time interval between the sending of the first identifier and the starting to receive the first content from the selected group device; the first device measuring a second time interval (T) between the starting and the ending of receiving the first content from the selected group device; and the first device calculating the bandwidth (BW) as X/T. Further, the method may further comprise the step of associating the measured RTT and the calculated BW with the selected group device, and the step of the first device storing in a memory the measured RTT and the calculated BW. Alternatively or in addition, the method may further comprising the step of the first device sending the measured RTT and the calculated BW to the selected group device, wherein the time interval for each group device is estimated using the RTT and the BW associated with the group device, and is calculated as RTT+X/BW. A method is disclosed for fetching to a first device a content having a size X from N multiple locations each storing a copy of a part of, or the entire of, the content. The method may comprise for each location designated as i (1≤i≤N) the steps of obtaining the Round Trip Time (RTTi), wherein the RTTi is the time interval between a sending of a request to the i location and a starting to receive part of the first content from the i location; obtaining the Bandwidth (BWi), wherein the BWi is the rate of receiving data after the starting to receive from the i location; and designating Ti as Ti=RTTi+Xi/BWi, wherein Xi is the size of part of the content fetched from the i location. The method may further comprise the steps of non-overlapping partitioning of the content into N partitions, wherein the size of each partition is designated as Xi, so that for i=1 to N, ΣXi=X; the first device fetching the partitions from the N locations; and the first device assembling the content from the received partitions. The content may be stored in a device in each location, and the first device and the location devices may be interconnected via a digital network, such as the Internet. The partitioning may be based on the RTTi values, may be based on BWi, or may be based on both BWi and RTTi of all of the locations. The partitioning may be based on calculating the maximum or minimum value of Ti for all locations. Alternatively or in addition, the partitioning may be based on minimizing the maximum value of Ti for all locations, and may be calculated at the first device according to: Xi=BWi*[(X+ΣRTTi*BWi)/(ΣBWi)−RTTi]. The RTTi and the BWi values may be stored in the first device, and may be based on previous communication with the locations. A non-transitory computer readable medium containing computer instructions that, when executed by a computer processor, cause the processor to perform at least part of, or all of, the above steps. The first device may consist of, comprise, or be part of, any network element. In one example, the first device may consist of, comprise, or be part of, a client device, such as the client device #1. The second device, or each of the group devices, may consist of, comprise, or be part of, any network element. In one example, the second device, or each of the group devices, may consist of, comprise, or be part of, a tunnel device, such as the tunnel device #1 or the tunnel device #2. A method for improving the fetching of a content from a first server over the Internet, for use with a second server distinct from the first server identified in the Internet by an identifier, is described. The method may comprise the steps of the application sending a first message to the second server; intercepting the first message to the second server; obtaining a second message based on the first message and on the identifier; returning the second message to the application; and in response to receiving the second message, the application sending a request for the content to the first server. The interception may be by hooking to the application, may be in a filter driver form, or may use an Inter-Process Communication (IPC). The IPC may use, or be based on, a file sharing, a signal, a socket, a pipe, a message queue, a shared memory, a semaphore, memory mapped file, a clipboard, a Component Object Model (COM), a data copy, a DDE protocol, or mailslots. The application may be a web browser that consists of, comprises, or may be based on, Microsoft Internet Explorer, Google Chrome, Opera™, or Mozilla Firefox®. The web browser may be a mobile web browser, which consists of, comprises of, or may be based on, Safari, Opera Mini™, or Android web browser. The identifiers may be an IP address (in IPv4 or IPv6 form), or a URL. The first message may be a web analytic related message, and the second server may be a web analytic server, such as Google Analytics server. The second message may be the same as, or based on, a response to the first message from the web analytic server. The method may use a database storing a list of typical responses from a web analytic server, and the second message may be obtained from the database. The method may comprise the step of blocking the sending of the first message to the second server, and the step of receiving a response from the second server. The method may use a database storing a list of typical responses from a web analytic server, and may further comprise the step of storing the response from the second server in the database. A system is disclosed comprising multiple Internet-connected network elements, designated as peer devices, where each of the peer devices may store only a portion of a file (or other content) (‘chunks’) in its cache memory. Network elements, designated as client devices, may use the peer devices for fetching the portions of the file therefrom, and reconstructing the entire file. The system may consist, may include, may be based on, or may be part of, the system described in the '604 patent. A same portion or the file may be stored in two or more peer devices, each may be associated with a BW and RTT (where BW is the bandwidth of a peer device to the client device connection and RTT is the round trip time from a peer device to the client and back), and the peer device associated with the highest BW/RTT may be selected to provide the portion of the file. Alternatively or in addition, the number of portions allocated to be fetched from a peer device is based on, or pro-rata to, the respective peer device BW/RTT. The system may further comprise multiple Internet-connected network elements, designated as agent devices, which store in their memory information regarding which peer devices are storing which portions of the file, and further store which client devices requested which files, so that client devices may serve as peer devices for providing the portions of file that they have fetched. After a client device completes the fetching of a file, it may update network elements, such as the agent devices used, regarding the files availability in each of the used peer devices. An agent device may provide a client device a list of peer devices that may be used for sourcing a part of, or an entire of, the file, and the client device may select five (5) or any other number of peer devices from the list, to fetch data therefrom. The agent device may store a first list of peer devices that may be available for use and storing a part of, or an entire of, the file, and may select from the first list a second list of peer devices to be sent to the client device. The second list may be selected based on the BW/RTT ratio associated with the communication of the respective peer device with the client device, such as selecting the peer devices having the highest ration of BW/RTT. Alternatively or in addition, the second list may be selected based on recent transaction between these peer devices and other client devices, such as selecting only peer devices that completed a successful data transfer. Alternatively or in addition, the second list may be selected based on the geographical distance to the client device. The number of chunks allocated to the peer devices, to be fetched by a client device from the peer devices, may be set to a same number for all the peer devices. Alternatively or in addition, the number of chunks allocated to the peer devices may be determined by the latency in transporting the chunks to the client device, such as based on estimating the BW/RTT between the peer devices to the client device. A client device may send out the request for a list of agent devices also to other network elements that the client device has communicated with in the past, so that if these elements have knowledge of any agent devices that may provide the information about the applicable peer devices, such an agent devices list will be sent to the client device. If these network elements themselves have knowledge of peer devices (including themselves) that might provide portions of the data required by the client device, they might provide themselves as an agent devices to the client device. Further, the client device may fetch information from a peer device regarding available agent devices, such as agent devices that were previously used with the data server. Alternatively or in addition, the client device may request a list of agent devices from an acceleration server. A client device may request a list of peer devices from an agent device. If the requested data or file, in part or in whole, is stored in the agent device, the agent device may provide that data or file directly to the client device, instead of providing the meta data about the file to the client device. Alternatively or in addition, the agent device may provide that data or file directly to the client device only when the file is below a certain size, such as 16 KB. In a case where a client device fetches the required file from any other source, and that file is below that certain size, the client device may update and send the file to be stored in the agent devices, so that the data may be later provided to a client device. A client device may receive and use a list of agent devices for a specific transaction, and when the network is idle, the client device may update the acceleration server regarding the used agent devices, allowing the acceleration server to later recommend or use these agent devices. The updating of the acceleration server may include the IP address of each of the agent devices, the communication session information such as RTT, BW and speed, the ports used in the communication sessions, the latency and speed for each of the connection phases, and whether the required file or data was stored in each of the agent devices. The acceleration server may use this information to decide which agent devices to recommend and include in a future agent devices list requested by client devices. A client device may receive and use a list of peer devices for a specific transaction (such as from an agent device), and when the network is idle, the client device may update the acceleration server, agent devices, or both, regarding the used peer devices, allowing the acceleration server or the agent devices to later recommend or use these peer devices. The updating of the acceleration server or the agent devices may include the IP address of each of the peer devices, the communication session information such as RTT, BW and speed, the ports used in the communication sessions, the latency and speed for each of the connection phases, and whether the required file or data was stored in each of the peer devices. The acceleration server or the agent devices may use this information to decide which peer devices to recommend and include in future peer devices list requested, such as by client devices. In a case where an agent device does not store a required information, such as a peer devices list, the client device or the acceleration server may update the agent device with that information after it was obtained. Further, the client device or the acceleration server may update all of the agent devices that were used in a transaction. Such an update may be performed only when the communication is idling. The acceleration server may periodically review the load of each of the network elements (such as agent devices), and if two network elements are used below a certain threshold of load, it merges the range responsibilities of these network elements. The responsibilities may be the peer devices that the agent device is responsible for serving, or may be the data servers that the agent device is responsible for serving. A network element may log network elements that are accessing it, or may only log a portion of the requests according to a certain algorithm, by which the list of accessing network elements may be representative of all of the requests. The algorithm may be based on logging only the past several requests (such as a last 1000 requests or the requests in the past 5 minutes), or may be based on logging a logarithmically reducing list of random requests. Upon fetching requested chunks from various sources (such as peer devices) by a client device, some chunks may be larger than a pre-set minimum size. The client device may estimate that one of the sources will complete providing its last chunk much later than all other chunks from the other sources. In such a case, this chunk may be split into smaller sized chunks, such as into half of the original size, and re-distributed between the various sources. The splitting may be only performed if the last chunk is expected to delay the entire file loading by 10% or 50%. A back end module may be used that is based on applying criteria to a request received by a client device. Only requests that meet the criteria may be handled using a handling method associated with the criteria. The criteria may be based on the URL requested, the domain requested, the IP address of the request defined data server, the type of the requested file, the request timing, or the client device geographical location. Two or more data path may be available for fetching a content. The selection of which data path to use may be based on estimating the time for completing the content fetching for each data path, and may be based on historical data regarding the performance and timing of each stage of part connections of each of the data paths. The times used for each stage may be the top percentile under which most samples fall (e.g., using a sample that is larger than 95% of the other samples). A watermark system may be used to determine a threshold used to prefer and select one scheme over the other. If both data paths estimated performance are below a threshold, both data paths may be simultaneously used. In a case where either a peers-using scheme (system or method) or a tunnels-using scheme may be used, the scheme to be used may be selected based on an evaluating the time to completely receive the information using the scheme. The evaluation may be based on data from previous interactions with peer devices and tunnel devices associated with, or in the vicinity of, the available peer devices and tunnel devices. Once the desired scheme is chosen, a timer is set for the expected time to complete the transaction, and if that time plus a margin has passed, both schemes may be selected to operate concurrently. In such a case of simultaneous activation of both schemes, upon receiving the first piece of data by one of the schemes, and if the other scheme is still active, that other scheme is terminated. Alternatively or in addition, upon receiving the last piece by one of the schemes, if the other scheme is still active, it is terminated. Further, upon fetching all requested data, information about all of the participating network elements, including response times for one or more of their functions, is stored for future use, and may further be sent to other network elements in the network for future use. A method for managing congestion within a group of network elements is disclosed; where a central load-balancing server may identify that an element is congested. If over a certain amount of the network elements within the group are congested, a new network element is added to the group, and if over a certain amount of the network elements has not signaled being congested (such as by sending a message from the congested network elements), the server removes one or more of the network elements from the group. Alternatively or in addition, the signaling to the central load-balancing server may be performed by communication devices that are trying to connect or to use these network elements. The signaling to the central load-balancing server may be performed by the network elements whenever their own resources (such as storage capacity, I/O activity, CPU utilization, or available communication bandwidth) are used over a certain threshold. The central load-balancing server may send a request to the network elements and may mark them as congested, if they do not respond within a determined timeframe to a status request. Each of the identifiers herein may be an IP address (in IPv4 or IPv6 form) or a URL. Each of the servers may be a web server using HyperText Transfer Protocol (HTTP) that responds to HTTP requests via the Internet, and the first and second requests may be HTTP requests. Each communication with a server may be based on, or using, HTTP persistent connection. Any communication with a network element, such as with the first device, the second device, the first server, or the second server, may be based on, or be according to, TCP/IP protocol or connection, and may be preceded by the step of establishing a connection. Further, communication between any two network elements, such as between the first device and the second device, may be over the established connection. Any communication between any two network elements may use TCP, and wherein the connection may be established by performing ‘Active OPEN’ or ‘Passive OPEN’, may use a VPN, or may use a tunneling protocol. Any content herein, such as the first content, may include, consist of, or comprise, a part or whole of files, text, numbers, audio, voice, multimedia, video, images, music, web-site page, or computer program. Each of the network elements herein, such as the first, second, and third servers, may store, operate, or use, a server operating system, that may be based on, comprise, or use, Microsoft Windows Server®, Linux, or UNIX, such as Microsoft Windows Server® 2003 R2, 2008, 2008 R2, 2012, or 2012 R2 variant, Linux™ or GNU/Linux based Debian GNU/Linux, Debian GNU/kFreeBSD, Debian GNU/Hurd, Fedora™, Gentoo™, Linspire™, Mandriva, Red Hat® Linux, SuSE, and Ubuntu®, UNIX® variant Solaris™, AIX®, Mac™ OS X, FreeBSD®, OpenBSD, and NetBSD®. Each of the network elements herein, such as the first, second, and third devices, may store, operate, or use, a client operating system, that may consist or, comprise of, or may be based on, Microsoft Windows 7, Microsoft Windows XP, Microsoft Windows 8, Microsoft Windows 8.1, Linux, or Google Chrome OS. The client operating system may be a mobile operating system, such as Android version 2.2 (Froyo), Android version 2.3 (Gingerbread), Android version 4.0 (Ice Cream Sandwich), Android Version 4.2 (Jelly Bean), Android version 4.4 (KitKat)), Apple iOS version 3, Apple iOS version 4, Apple iOS version 5, Apple iOS version 6, Apple iOS version 7, Microsoft Windows® Phone version 7, Microsoft Windows® Phone version 8, Microsoft Windows® Phone version 9, or Blackberry® operating system. Any method herein may further comprise the step of intercepting a request for a content by a network element, such as the intercepting of the request for the first content by the first device. The request may be initiated in an application (that may be a communications application such as a TCP/IP or HTTP handling application) in a network element such as the first device. The interception may be in the form of a plug-in or an extension of the application, may be by hooking to the application, may be in a filter driver form, or may be using Inter-Process Communication (IPC). The IPC may be using a file sharing, a signal, a socket, a pipe, a message queue, a shared memory, a semaphore, memory mapped file, a clipboard, a Component Object Model (COM), a data copy, a DDE protocol, or mailslots. The application may be a web browser that may be consisting of, comprising of, or may be based on, Microsoft Internet Explorer, Google Chrome, Opera™, or Mozilla Firefox®. Alternatively or in addition, the web browser may be a mobile web browser, that consist of, comprise of, or may be based on, Safari, Opera Mini™, or Android web browser. Any system or method herein may implement redundancy, where the system or method may include one or more additional identical, similar, or different element, such as using two or more identical or similar slices or any other content parts, using two or more identical or similar network elements performing identical or similar functionalities, using two or more identical or similar hardware pieces performing identical or similar functionalities, or using two or more data-paths transporting identical or similar information. The redundancy may be based on Dual Modular Redundancy (DMR), Triple Modular Redundancy (TMR), Quadruple Modular Redundancy (QMR), 1:N Redundancy, ‘Cold Standby’, or ‘Hot Standby’. The steps described herein may be sequential, and performed in the described order. For example, in a case where a step is performed in response to another step, or upon completion of another step, the steps are executed one after the other. However, in case where two or more steps are not explicitly described as being sequentially executed, these steps may be executed in any order, or may be simultaneously performed. Two or more steps may be executed by two different network elements, or in the same network element, and may be executed in parallel using multiprocessing or multitasking. A tangible machine-readable medium (such as a storage) may have a set of instructions detailing part (or all) of the methods and steps described herein stored thereon, so that when executed by one or more processors, may cause the one or more processors to perform part of, or all of, the methods and steps described herein. Any of the network elements may be a computing device that comprises a processor and a computer-readable memory (or any other tangible machine-readable medium), and the computer-readable memory may comprise computer-readable instructions such that, when read by the processor, the instructions causes the processor to perform the one or more of the methods or steps described herein. Any communication or connection herein, such as the connection of peripherals in general, and memories in particular to a processor, and between any two network elements, may use a bus. A communication link (such as Ethernet, or any other LAN, PAN or WAN communication links may also be regarded as buses herein. A bus may be an internal bus, an external bus or both. A bus may be a parallel or a bit-serial bus. A bus may be based on a single or on multiple serial links or lanes. A bus medium may be electrical conductors based such as wires or cables, or may be based on a fiber-optic cable. A bus topology may use point-to-point, multi-drop (electrical parallel) and daisy-chain, and may be based on hubs or switches. A point-to-point bus may be full-duplex, or half-duplex. Further, a bus may use proprietary specifications, or may be based on, similar to, substantially or fully compliant to an industry standard (or any variant thereof), and may be hot-pluggable. A bus may be defined to carry only digital data signals, or may also defined to carry a power signal (commonly DC voltages), either in separated and dedicated cables and connectors, or may carry the power and digital data together over the same cable. A bus may support master/slave configuration. A bus may carry a separated and dedicated timing signal or may use self-clocking line-code. The networks or the data paths may be similar, identical or different geographical scale or coverage types and data rates, such as NFCs, PANs, LANs, MANs, or WANs, or any combination thereof. The networks or the data paths may be similar, identical or different types of modulation, such as Amplitude Modulation (AM), a Frequency Modulation (FM), or a Phase Modulation (PM), or any combination thereof. The networks or the data paths may be similar, identical or different types of duplexing such half- or full-duplex, or any combination thereof. The networks or the data paths may be based on similar, identical or different types of switching such as circuit-switched or packet-switched, or any combination thereof. The networks or the data paths may have similar, identical or different ownership or operation, such as private or public networks, or any combination thereof. Any selection of devices herein, such as the selection of tunnel devices to be used either by a client device or by an acceleration sever, or the selection of agent devices either by a client device or by an acceleration sever, or the selection of peer devices, either by a client device or by an agent device, may be based on one or more of the following: Content URL, such as specific files on the Internet (e.g., “Wikipedia.org/contact.html”), domain name such as specific web sites (e.g., “Wikipedia.org”), data server IP such as specific servers (e.g., server having IP address of “208.80.152.201”), type of file such as specific file types (e.g., “.flv files”), time of day such as specific handling of all files or a group of files during certain hours of the day (e.g., “all files between 11 pm to 4 am”), or geography of the client such as specific handling according to a location of the client device (e.g., “for all Clients in Germany”). The above summary is not an exhaustive list of all aspects of the present invention. Indeed, it is contemplated that the invention includes all systems and methods that can be practiced from all suitable combinations and derivatives of the various aspects summarized above, as well as those disclosed in the detailed description below and particularly pointed out in the claims filed with the application. Such combinations have particular advantages not specifically recited in the above summary. The invention is herein described, by way of non-limiting examples only, with reference to the accompanying drawings, wherein like designations denote like elements. Understanding that these drawings only provide information concerning typical embodiments of the invention and are not therefore to be considered limiting in scope: The principles and operation of an apparatus or a method according to the present invention may be understood with reference to the figures and the accompanying description wherein identical or similar components (either hardware or software) appearing in different figures are denoted by identical reference numerals. The drawings and descriptions are conceptual only. In actual practice, a single component can implement one or more functions; alternatively or in addition, each function can be implemented by a plurality of components and devices. In the figures and descriptions, identical reference numerals indicate those components that are common to different embodiments or configurations. Identical numerical references (in some cases, even in the case of using different suffix, such as 5, 5 Each of devices herein may consist of, include, be part of, or be based on, a part of, or the whole of, the computer 11 or the system 100 shown in In one example, an accessing to a data server is improved by using an intermediate device referred to as ‘tunnel’ device, that is executing a ‘tunnel’ flowchart. The method of using a tunnel device is described below, based on a database 40 shown in The process starts upon initializing a tunnel application in a tunnel device, schematically shown as a step ‘START’ 71 Similarly, the client device #1 31 In order to make the communication between a client device and a tunnel device faster and more efficient, a pre-connection phase is defined, where a preparation for communication such as a TCP connection is established, allowing for quick data transfer afterwards. The pre-connection phase starts at a ‘Start Pre-Connection’ state 53 Based on pre-set criteria, a tunnel device (or multiple tunnel devices) is selected by the client device #1 31 The pre-connection process involves establishing a connection (directly or via a server) between the client device #1 31 In another example, a VPN is formed between the devices, and the tunneling or the VPN establishment is performed as part of the pre-connection phase. The tunnel endpoints are authenticated before secure VPN tunnels can be established. User-created remote-access VPNs may use passwords, biometrics, two-factor authentication, or any other cryptographic methods. Network-to-network tunnels often use passwords or digital certificates, and permanently stores the key in order to allow a tunnel to establish automatically, without intervention from a user. As long as the client device #1 31 The content herein may consist of, or comprise, data such as files, text, numbers, audio, voice, multimedia, video, images, music, computer programs or any other sequence of instructions, as well as any other form of information represented as a string of bits, bytes, or characters. In one example, the content may include, be a part of, or a whole of, a URL or a website page. The acceleration server 32 generally executes a flowchart 80 shown in Data servers (such as the data server #1 22 Alternatively or in addition, a tunnel device may try to open as many connections as available, as described in a flowchart 74 shown in Alternatively or in addition, a tunnel device may be used to store a content to be provided to a client device, as described in a flowchart 75 shown in Since the data server #1 22 A schematic messaging flow diagram 110 describing the client device #1 31 While accessing the data server #1 22 A flowchart 100 relating to the client device #1 31 In such a configuration, three distinct data paths are involved in the content fetching. In addition to the messaging data path 110, a messaging flow 110 Alternatively or in addition to accessing the data server #1 22 In one example, the same content (from the same data server #1 22 The tasks relating to the different data paths, such as shown in a flowchart 100 Similarly, in case of multiple connect fetching processes, the client device #1 31 The client device 31 The client device 31 Alternatively or in addition, the tunnel devices to be used may be selected by both the client device #1 31 The selection of the tunnel device (or devices) to be used, or the priorities assigned to them, may be based on the available communication attributes or their history. For example, based on the costs associated with the usage of a network, the higher cost network may have lower priority and less used than lower cost or free network. In another example, a high quality network, such as having a higher available bandwidth or throughput, lower communication errors or packet loss, lower hops to destination, or lower transfer delay time, is having higher priority that a lower quality network. The system may use Bit Error Rate (BER), Received Signal Strength Indicator (RSSI), Packet Loss Ratio (PLR), Cyclic Redundancy Check (CRC) and other indicators or measures associated with the communication channel associated with a network interface, and may be based on, use, or include the methodology and schemes described in RFC 2544 entitled: “ Random: In one example, the tunnel device (or devices) to be used are randomly selected. Randomness is commonly implemented by using random numbers, defined as a sequence of numbers or symbols that lack any pattern and thus appear random, are often generated by a random number generator. Randomness is described, for example, in IETF RFC 1750 Physical location: In one example, the selection criterion is based on physical geographical location of a tunnel device. For example, a tunnel device, which is geographically the closest to the data server #1 22 IP Address: In one example, the IP address is used as a measure to determine ‘closeness’. For example, an IP address that is numerically close to another IP, may be considered as ‘geographically’ close. In this context, 192.166.3.103 is closer to 192.166.3.212 than to 192.167.3.104. Alternatively or in addition, devices that share the same ISP are considered as ‘close’, since it is likely that better and faster communication is provided, since the need to communicate via the Internet is obviated. Timing: In one example, the timing of an event or activity of a tunnel device affects its selection. The timing of a tunnel device signing up with the acceleration server 32 may be used for the selection criterion. The first available tunnel device that signed in may be first selected, then the second in line. In the example of the table 40 shown in Alternatively or in addition, the time of the last usage as the tunnel device may be used as a criterion. For example, a tunnel device that was most recently used will have the highest priority to be reselected. Alternatively, a ‘fairness’ rule will be applied in order to uniformly use all available channels, where a tunnel device will be selected if it was not used the most time. The content requested by the client device #1 31 The partitioning may be non-overlapping, wherein each slice includes a distinct part of the content, as is exampled above in a case wherein the content includes 240 bytes designated byte #1 to byte #240, where using a byte level partitioning into three slices (referred as slice #1, slice #2, and slice #3), results in a first slice (slice #1) including byte #1 to byte #80, a second slice (slice #2) including byte #81 to byte #160, and a third slice (slice #3) including byte #161 to byte #240. Alternatively or in addition, an overlapping partitioning may be applied, where the same part of the content is included in multiple slices. For example, in a case above where the content includes 240 bytes designated byte #1 to byte #240, and using a byte level partitioning into three slices (referred as slice #1, slice #2, and slice #3), a first slice (slice #1) may include byte #1 to byte #160, a second slice (slice #2) may include byte #81 to byte #240, and a third slice (slice #3) may include byte #1 to byte #80 in addition to byte #161 to byte #240. In such a case, byte #1 to byte #80 are part of both slice #1 and slice #3, byte #81 to byte #160 are part of both slice #1 and slice #2, and byte #161 to byte #240 are part of both slice #2 and slice #3. It is noted that in such a partition, the content may be fully reconstructed from any two of the slices, hence providing a degree of redundancy. For example, in case of carrying the three slices over the Internet and a failure to receive one of the slices, the remaining two slices may be used to fully reconstruct the whole content. The same content may be requested and fetched using multiple tunnel devices as exampled above. Alternatively or in addition, the content may be partitioned into multiple slices (overlapping or non-overlapping), where each slice is requested and fetched using a distinct tunnel device (or via the client device serving as its own tunnel). The content is partitioned into slices in a ‘Content Partition’ step 101 The system was exampled above where a device may be a client device (such as the client device #1 31 In one example shown as a messaging flow 120 Any device referred to herein as a ‘tunnel device’, such as the tunnel device #1 33 Further, the functionality of any device herein may be implemented using multiple physical devices. In one example shown as a system 130 in In one example, the acceleration server 32 (together with the tunnel devices) forms a system that may be used to provide a service to a client device. The service allows the client device (such as client device #1 31 Number of tunnels. The number of tunnels that were available to a client device, or the number of tunnel devices that were actually used, may be used as an indication to the service level. Location. The service level may be measured or billed based the country the data server, from which the content is fetched, is located. Similarly, the service level may be measured or billed based the country the client device, to which the content is fetched, is located. While the pre-connection process was described above regarding the communication between a client device (such as the client device #1 31 The performance of the method and system described herein may be based on the latency involved in fetching a required content. The flowchart 65 in As part of the ‘Send Content Request’ step 63 After a transaction involving fetching a content from a tunnel is completed, it is beneficial to store the fetched content for future use, as shown in a ‘Store Content’ step 145 in the flowchart 140. The fetched content may be stored in the client device in any volatile or non-volatile memory, or may be stored in a local cache as described in U.S. Pat. No. 8,135,912 to the same inventors as this application, entitled: “System and Method of Increasing Cache Size”, which is incorporated in its entirety for all purposes as if fully set forth herein. The content is stored with its related metadata or any other identifiers, so it can be easily detected and fetched when later required. For example, the stored content may be used when the same content is required at any later stage by the same client, or may be used when the client device also serves as a peer device, such as the peer device #1 102 After a transaction involving fetching a content from a tunnel is completed, it is beneficial to store the transaction related information for future use, such as for future analysis. An example of a table relating to transactions log, that may be part of a database, is shown as table 150 in A fifth column 151 The transaction log, such as table 150, may be prepared by a client device, such as client device #1 31 Similar to table 150 shown in The tunnel devices to be used when content is to be fetched from a data server (such as the data server 22 In the example of the transaction log table 150 Alternatively or in addition, the criterion to select a single tunnel to be used for fetching content from the data server may be based on having lower RTT, assuming that the lower RTT has not changed and thus will result in faster content fetching, and hence the tunnel device used in the first logged transaction (having an IP address of 139.230.154.213) will be selected for this transaction, having the lowest recorded RTT of 30 ms. In the case two tunnel devices are to be selected, the second tunnel device to be selected is the tunnel device used in the second logged transaction (having an IP address of 132.171.60.197) will be selected for this transaction, being associated with the second lowest RTT in the table (70 ms). Similarly, the tunnel device associated with the fourth logged transaction will be the next to be selected. Alternatively or in addition, both the RTT and the BW are used as criteria for selecting tunnel devices. In one example, the expected total latency is calculated, based on both the former BW and the former RTT, and the tunnel device offering the lowest estimated total latency will be selected. In one example, assuming the content to be fetched is estimated (or known to be) having the size of 100 Kb (100 kilobits). The tunnel device used in the first logged transaction (in the first row 154 However, assuming the content to be fetched is estimated (or known to be) having the size of 1000 Kb (1000 kilobits=1 Mb). The tunnel device used in the first logged transaction (in the first row 154 The flowchart 74 in Web analysis is used by many web sites in order to measure the usage statistics, such as counting of web pages views, checking an average time between various web pages, and other usage statistics (‘usage stats’). In many cases, the web analysis is based on embedding a code in the web-browser, which sends an update or request to an analytics server, such as Google Analytics Server, which is used to measure and log the required web analysis. A flowchart 170 shown in Each of the analytic servers that are commonly used typically uses a unified response to an update request in the ‘Analytics Server Response’ step 171 The database containing the typical responses may be used to accelerate the flow of the requesting application, as described in a flowchart 170 The typical response database is used as a look-up table, associating to the update request intercepted a simulated artificial typical response, that is expected to be the same or similar to the response expected from the analytics server, as part of an ‘Obtain Typical Response’ step 172 The actual response received from the analytics server as part of the ‘Analytics Server Response’ step 171 The elements involved in a DHCP process are illustrated in a system 180 shown in While the common DHCP resolving period is under 5 ms in a LAN environment, and under 20 ms in a WAN environment, the timer #1 typical setting is of 5 seconds (or any other number of seconds), which is many orders of magnitude longer than required. Further, in some case a short or an intermittent communication problem, may cause a transiently drop of a packet, causing the DHCP process to fail and not be completed. Such failure will be detected only after the full 5 seconds has been expired, leading to a long delay in responding to, and fixing the problem (e.g, by repeating the DHCP process). An improved DHCP timing scheme is shown as a flowchart 190 in In one example, accessing a data server is improved by using an intermediate device referred to as ‘peer’ and ‘agent’ devices, respectfully executing a ‘peer’ and ‘agent’ flowchart. The content stored in a data server, such as the data server #1 22 The partitioning may be non-overlapping, wherein each slice includes a distinct part of the content, as exampled above in the case wherein the content includes 240 bytes designated byte #1 to byte #240, where using a byte level partitioning into three slices (referred as slice #1, slice #2, and slice #3), results in a first slice (slice #1) including byte #1 to byte #80, a second slice (slice #2) including byte #81 to byte #160, and a third slice (slice #3) including byte #161 to byte #240. Alternatively or in addition, an overlapping partitioning may be applied, where the same part of the content is included in multiple slices. For example, in a case above where the content includes 240 bytes designated byte #1 to byte #240, and using a byte level partitioning into three slices (referred as slice #1, slice #2, and slice #3), a first slice (slice #1) may include byte #1 to byte #160, a second slice (slice #2) may include byte #81 to byte #240, and a third slice (slice #3) may include byte #1 to byte #80 in addition to byte #161 to byte #240. In such a case, byte #1 to byte #80 are part of both slice #1 and slice #3, byte #81 to byte #160 are part of both slice #1 and slice #2, and byte #161 to byte #240 are part of both slice #2 and slice #3. It is noted that in such a partition, the content may be fully reconstructed from any two of the slices, hence providing a degree of redundancy. For example, in case of carrying the three slices over the Internet and a failure to receive one of the slices, the remaining two slices may be used to fully reconstruct the whole content. In one example, the content is a website or a webpage, or may be identified as a URL, and consists of, or comprises, non-overlapping and equally-sized parts, referred to as chunks. For example, multiple chunks may be combined to reconstruct the original content, such as website or content. A chunk size may be 16 KB (Kilo-Bytes), and in the case the content to be partitioned is not an exact multiple of 16 KB, the ‘last’ chunk will padded and filled with ‘space’ characters (or any other no content data). For example, multiple chunks may be combined to reconstruct the original content, such as website or content, as schematically shown in an arrangement 210 shown in Each of the content in the chunks is identified by a chunk identifier, where each chunk identifier is associated with one, and only one, chunk. In one example, preferably used in sequential partitioning scheme, a chunk is identified by the identifier of the content and the location of the chunk in the sequence of the partitioning. For example, a chunk may be identified by the content (e.g., URL, web-site, or web-page), and a number such as the number ‘23’, meaning that this chunk is the 23rdslice in sequential partitioning of the content. Alternatively or in addition, the CRC of the content of the chunk is calculated, and used as the chunk identifier. For example, CRC-32 may be used, allowing each chunk (such as 16 KB size) to be identified by 33-bit identifier. Alternatively or in addition, a chunk identifier is based on a hash function of the chunk content. A peer device may include a part of, or the entire stack of a single URL. Alternatively or in addition, a peer device may include a part of, or the entire stack of multiple URLs. In one example, a peer device may store all of the chunks included in a URL (or any other content). As shown in the arrangement 210, the peer device #1 213 A peer device, such as the peer device #1 102 An agent device, such as the agent device #1 103 In one example, accessing a data server may be obviated by accessing copies of the data server content stored as chunks in ‘peer’ devices, each executing a ‘peer’ flowchart. The peer devices for a content (such as a URL, web-page, web-site, or IP address) are identified by ‘agent’ devices, each executing an ‘agent’ flowchart. The method of retrieving chunks from peer devices is described below, based on the database 250 As shown in the messaging and timing chart 220, the process starts upon initializing an agent application in an agent device, schematically shown as a ‘START’ step 224 Similarly, the peer device #1 102 Similarly, the client device #1 201 While the pre-connection process was described above regarding the communication between a client device (such as the client device #1 31 A content, such as an URL (or a web-page, or a web-site) which is typically stored in a data server, such as the data server #1 22 After receiving the agent devices list in the ‘Receive Agents List’ step 231 Any number of agent devices may be selected. The number of agent devices that are selected in the ‘Select Agents’ step 231 A schematic messaging flow diagram 260 describing the client device #1 31 A flowchart 230 A schematic visual messaging flow diagram 260 The flowchart 239 in Similarly, the chunks from peer #2 are requested (in parallel or sequentially to peer #1 chunks fetching 239 Upon receiving part of, or all of, the requested chunks, the client device #1 201 Any number of peer devices may be selected. The number of peer devices that are selected in the ‘Select Peers’ step 238 After a transaction involving fetching a content from all peer devices is completed, it is beneficial to store the fetched content for future use, as shown in a ‘Store Content’ step 235 The selection of the agent devices to be used in the ‘Select Agents’ step 231 The performance of the method and system described herein may be based on the latency involved in fetching a required content. The flowchart 230 As part of the ‘Request Chunk Peer #1’ step 237 After a transaction involving fetching a content from a peer is completed, it is beneficial to store the transaction related information for future use, such as for future analysis. An example of a table relating to transactions log, that may be part of a database, is shown as a table 280 in A fifth column 281 The transaction log, such as table 150, may be prepared by a client device, such as client device #1 201 Similar to table 280 shown in The peer devices to be used when content is to be fetched from a data server (such as the data server 22 In the example of the transaction log table 280 Alternatively or in addition, the criterion to select a single peer (or an agent) device to be used for fetching content from the data server may be based on having lower RTT, assuming that the lower RTT has not changed and thus will result in faster content fetching. Hence the peer device used in the first logged transaction (having an IP address of 139.230.154.213) will be selected for this transaction, having the lowest recorded RTT of 30 ms. In the case two peer devices are to be selected, the second peer device to be selected is the peer device used in the second logged transaction (having an IP address of 132.171.60.197) will be selected for this transaction, being associated with the second lowest RTT in the table (70 ms). Similarly, the peer device associated with the fourth logged transaction will be the next to be selected. Alternatively or in addition, both the RTT and the BW are used as criteria for selecting peer (or agent) devices. In one example, the expected total latency is calculated, based on both the former BW and the former RTT, and the peer device offering the lowest estimated total latency will be selected. In one example, assuming the content to be fetched is estimated (or known to be) having the size of 100 Kb (100 kilobits). The peer device used in the first logged transaction (in the first row 284 However, assuming the content to be fetched is estimated (or known to be) having the size of 1000 Kb (1000 kilobits=1 Mb). The peer device used in the first logged transaction (the first row 284 In the general case, there may be N peer devices that may be used, designated i=1, 2, . . . N, and that the total content size is X. Assuming non-overlapping partition, each of the peer devices (i) will be assigned part of the total content Xi, where X=ΣXi. The latency (Ti) in each path (i) relating to a peer device (i) is calculated as Ti=RTTi+Xi/BWi, where RTTi is the RTT associated with peer device (i) and BWi is the BW associated with the peer device (i). Since typically the latency relating to complete the fetching of the whole of the content (T) is determined by the longest latency of the individual latency Ti, then T=max(Ti), hence it is beneficial to minimize the maximum Ti, designated as min(max(Ti))=min(max(RTTi+Xi/BWi)). Such a minimum is obtained when all Ti's are equal to each other, so that T=Ti=T1=T2=T3= . . . =TN, which is resulted when the partition Xi is: Xi=BWi*[(X+ΣRTTi*BWi)/(IBWi)−RTTi], and the latency in such a case is T=(X+Σ(RTTi*BWi))/(jBWi). In the example of using two peer devices (N=2), then X1=BW1*[X+BW2*(RTT2−RTT1)]/(BW1+BW2) and X2=BW2*[X+BW1*(RTT1−RTT2)]/(BW1+BW2), while the resulting latency is T=T1=T2=(RTT1*BW1+RTT2*BW2+X)/(BW1+BW2). Referring now to a system 290 shown in An analysis of the system 290 is shown as a view 290 The allocation of the parts of the requested content to the available peer devices to be fetched therefrom, may be part of the ‘Select Peers’ step 238 The allocations of the content chunks into the available peer devices may be based on estimation RTT, BW, as well as other parameters relating to each of the peer devices, as well as on the communication characteristics associated with each peer device, and known to the client device. Such an estimation may be found to be inaccurate or not updated. The client device may measure and update the BW, RTT, and other relevant information as part of the actual content fetching. For example, an actual RTT and BW may be measured per each of the peer devices as described in the flowchart 140 in In one example shown as view 295 The flowchart 296 shown in In one example shown as arrangement 290 Each of the devices denoted herein as servers, such as the acceleration server 32, the data server #1 22 Devices that are not denoted herein as servers, such as client devices (such as the client device #1 31 The method and system described herein allows for a client device (such as Client device #1 31 Examples of web browsers include Microsoft Internet Explorer (available from Microsoft Corporation, headquartered in Redmond, Washington, U.S.A.), Google Chrome which is a freeware web browser (developed by Google, headquartered in Googleplex, Mountain View, California, U.S.A.), Opera™ (developed by Opera Software ASA, headquartered in Oslo, Norway), and Mozilla Firefox® (developed by Mozilla Corporation headquartered in Mountain View, California, U.S.A.). The web-browser may be a mobile browser, such as Safari (developed by Apple Inc. headquartered in Apple Campus, Cupertino, California, U.S.A), Opera Mini™ (developed by Opera Software ASA, headquartered in Oslo, Norway), and Android web browser. Any network element, or any device that is herein that is connectable to the Internet, may be in one of the states in a state diagram 300 shown in Upon power up and being operative, the device shifts from the ‘OFFLINE’ state 301 to the ‘ONLINE’ state 302 as depicted by an arrow 304 In one example, the congestion decision may be based on a CPU utilization, where CPU time or CPU usage is reported either for each thread, for each process, or for the entire system. The CPU utilization relates to the relative time that the CPU is not idling (for example, the amount of time it not executing a system idle process). In the case the CPU utilization is above a predetermined threshold, such as 80%, the device declares itself as congested. Alternatively or in addition, a congestion state may be based on memory utilization. In the case wherein the memory locations that are in use are above a predetermined threshold, for example, when additional memory requirements may not be satisfied, the device may declare itself as congested. Alternatively or in addition, a congestion state may be the result of detecting of low availability of communication bandwidth (for example, for accessing the Internet), or input/output resources limitations. The congestion in Internet related communication is described in IETF RFC 2914 entitled: “ A heartbeat mechanism may be used in order to allow devices to sense the status of other devices in the system. A ‘ONLINE HEARTBEAT’ flow chart 305 is shown in The congestion related activities of a device is shown in a flowchart 310 A device that monitors or tracks the status a tracked device (that executes the flowchart 310 and the flowchart 310 In one example, all the devices herein (including server devices) in the system are tracked and are executing the tracked device flowchart 310 and the flowchart 310 In one example, the client devices, such as client device #1 201 A device may be selected to provide a service, such as a tunnel device that may be selected (alone or as part of a group) by a client device as part of the ‘Select Tunnels’ step 101 Alternatively or in addition, in the case where multiple devices are selected to provide a service, such as a group of multiple tunnel devices, a group of multiple agent devices, or a group of multiple peer devices, the unavailability of a single device or multiple devices in the group (due to shifting to ‘offline’ state 301 or to ‘congested’ state 303), may not be handled or corrected, as long as a performance criterion or a threshold is not crossed. For example, assume 5 tunnel devices are assigned to a client device in the ‘Select Tunnels’ step 101 The system 30 shown in Similarly, the system 200 shown in Any network element in the system may be a dedicated device that assumes only a single role, and thus being only a client (using tunnels), a tunnel, a client (using agents/peers), an agent, or a peer device. Alternatively or in addition, a network element may be capable of assuming two or more roles, either at different times or simultaneously, from the list of roles including a client (using tunnels), a tunnel, a client (using agents/peers), an agent, or a peer device. Alternatively or in addition, a device may be capable of assuming all of the above roles. Further, the same server may be both the tunnels-related acceleration server 32 and the peer/agent related acceleration server 202, either simultaneously or at different times. Alternately, two (or more) distinct servers may be used. Referring to a system 340 shown in The client device 341 in the system 340 may use tunnel devices and assume the role of the client device #1 31 If the direct fetching is not selected, then in a ‘Method Select’ step 331 Alternatively, the client device #1 341 may select to only use peer/agent devices (‘Peers Only’), and in this scenario, it will execute the peers/agents-using client device flowchart (such as the flowchart 230 in Alternatively or in addition, the client device #1 341 may select to use both methods (‘Both’), and such to simultaneously execute both the tunnels-using client device flowchart (such as the flowchart 60 in A content fetched or sent by a network element may consist of, or include, video data. Video data fetched via the Internet are typically identified by a set of characters, including three fields, relating to a URL domain name, a specific video identifier, and offset, relating to the viewing point in the video data itself. For example, in a video identifier such as https://www.youtube.com/watch?v=9mSb3P7cZIE?ST=1:48, the field ‘https://www.youtube.com’ is the URL domain, which identify the server from which the video can be fetched, the part ‘9mSb3P7cZIE’ identifies the video data (such as a movie) as a whole, and the offset ‘1:48’ part in the video starting point, in this example after 1 minute and 48 seconds after the video start point. The offset may be presented (as part of the video identifier) in time using another format such as #T=3M54S (denoting starting point after 3 minutes and 54 seconds) is bytes (such as B=10344, denoting a starting point after 10344 bytes), relative offset (such as in %, such as R=54.3, denoting that the starting point is after 54.3% of the total video length, such as byte 543 out of 100 bytes sized video content)), and various other methods. In the case the content to be fetched is a video data, while the video content may be located in other network elements, it may be identified differently than the requested URL or content identifier, and as such may not be easily fetched. In one example, in order to form a common method for identification of a video-related URL, the offset is detected (e.g., by the ‘/’ symbol, or by the identifying the offset format, or both), and the URL is stored (such as in a cache) identified as the domain name and the video data identifier only, where the offset is stored as additional separate attribute. In one example, the offset presentation is normalized to a common format, which is understood by all of the network elements. A flowchart 410 shown in IP-based geolocation (commonly known as geolocation) is a mapping of an IP address (or MAC address) to the real-world geographic location of a computing device or a mobile device connected to the Internet. The IP address based location data may include information such as country, region, city, postal/zip code, latitude, longitude, or Timezone. Deeper data sets can determine other parameters such as domain name, connection speed, ISP, language, proxies, company name, US DMA/MSA, NAICS codes, and home/business classification. The geolocation is further described in the publication entitled: “ Further, the W3C Geolocation API is an effort by the World Wide Web Consortium (W3C) to standardize an interface to retrieve the geographical location information for a client-side device. It defines a set of objects, ECMA Script standard compliant, that executing in the client application give the client's device location through the consulting of Location Information Servers, which are transparent for the Application Programming Interface (API). The most common sources of location information are IP address, Wi-Fi and Bluetooth MAC address, radio-frequency identification (RFID), Wi-Fi connection location, or device Global Positioning System (GPS) and GSM/CDMA cell IDs. The location is returned with a given accuracy depending on the best location information source available. The W3C Recommendation for the geolocation API specifications draft dated Oct. 24, 2013, is available from the web-site http://www.w3.org/TR/2013/REC-geolocation-API-20131024. Geolocation-based addressing is described in U.S. Pat. No. 7,929,535 to Chen et al., entitled: “Geolocation-based Addressing Method for IPv6 Addresses”, and in U.S. Pat. No. 6,236,652 to Preston et al., entitled: “Geo-spacial Internet Protocol Addressing”, and in U.S. Patent Application Publication No. 2005/0018645 to Mustonen et al., entitled: “Utilization of Geographic Location Information in IP Addressing”, which are all incorporated in their entirety for all purposes as if fully set forth herein. Geolocation may be used by any network element. The peer devices described above as storing a content (chunks) that is required by a client device, and thus the client device fetches the content from the peer devices rather than directly from the web server (or in addition to it). In some cases, multiple devices are available storing unknown content which may be the content required by a client device. The geolocation may be used to determine which available devices may be, or are expected to be, storing the content that is requested. In this context, two Internet-connected devices, each identified by a respective IP address, for example, are considered as being ‘close’ if there is a likelihood that the same content is stored in both, or that both devices fetched the same content from a data server. Similarly, two devices are considered closer than the other two devices if there is a higher likelihood that they store the same content (from the same data server). Referring now to In one example, the selection is based only on the obtained the geographical location. In one example, such selection may be based on the physical geographical location of the requesting device (obtained locally at the requesting device or by using a geolocation), a physical geographical location of the data server storing a content that is requested (obtained locally or by using geolocation), or relating to physical geographical location of IP addressable, Internet connected device. In one example, the devices may be selected based on being in the same location, such as in the same continent, country, region, city, street, or timezone. The devices may be selected from the list based on the physical geographical distance, where ‘closeness’ is defined as based on actual geographical distance between devices, where shorter distance indicates closer devices. For example, is the case where the latitude and the longitude are obtained, the physical distance between each device in the list and the requesting device (or the data server or another device) may be calculated, and the nearest device will be first selected, then the second nearest device, and so on. Alternatively or in addition, devices in the same city (or street) as the requesting device are considered as the closest and may be first selected, then the devices that are in the same region or country may be considered as close and may be selected next. In one example, an attribute is used as a basis for defining ‘closeness’ in the ‘Select Devices’ step 354, and each device is associated with an attribute value based on its geographical physical location, in an ‘Associate Attribute’ step 353. The information relating to the various attributes can be obtained from a database that is local to the requesting device, or may be publicly available via the Internet, using city, region, or country based databases. In one example, country based information may be obtained via the Internet, such as ‘The World Factbook’ website by the U.S. Central Intelligence Agency (CIA) having a URL: “https://www.cia.gov/library/publications/the-world-factbook/docs/notesanddefs.html?fieldkey=2113&alphaletter-G&term=Geography-note”, and the United Nations Statistics Division website: https://data.un.org. One example of such an attribute is the language that is widely spoken (or is the formal language) in a geographical location, such as in a country. In this aspect, while Portugal is geographically closer to Germany than to Brazil, using the language as the selection attribute suggest that Portugal is ‘closer’ to Brazil, since the Portuguese language is popular in both these countries, and Portuguese—speaking Portugal is language-wise distant from German-speaking Germany. Similarly, Arabic-spoken countries are close to each other, regardless of the actual geographical distance. Such ‘closeness’ definition is supported, since a web-site or URL having a content (such as text, audio or video) in Portuguese language, is likely to be accessed by users from Brazil and Portugal, and less likely to be accessed by users located in Germany. Another example of an attribute is the popular sport type in the geographical location. For example, soccer is most popular in Brazil and in Germany, while American football is popular in the U.S. Regarding this aspect, Brazil is considered to be closer to Germany than to the U.S., as it is expected that web-sites associated with soccer will be more popular with users in Germany and Brazil rather than with user in North-America. Another example of an attribute is the religion popular in a region or a country. In this aspect, Turkey and Egypt, both being Islamic countries, are religion-wise closer than Turkey and Greece, having different dominant religion, in spite of their geographical proximity. For example, web-site offering Islamic-related content are likely to be more popular in Turkey and Egypt, rather than in Greece. Other attributes relating to people and society may include race and ethnic groups, and demographic or social characteristics, such as population, age structure, population growth rate, death rate, birth rate, migration rate, sex ratio, life expectancy, and health expenditures. Other attributes may include economical-related characteristics (of a location or a country), such as Gross Domestic Product (GDP), GDP per capita (PPP), gross national saving, agriculture products, industry types, labor force, unemployment rate, household income or consumption by percentage share, Government budget, taxes and other revenues, inflation rate (consumer prices), export/import of goods and services, household consumption, government consumption, and investment in fixed capital. Another example of an attribute is the weather in a location or a country. Countries or locations associated with cold weather are being considered weather-wise closer than locations having distinct and different weather. For example, web-sites relating to ski resorts or snow related equipment are likely to be more popular in cold weather countries than countries having a desert climate. Similarly, web-sites relating to cooling equipment (such as air conditioners) are likely to be more popular in warm weather locations and countries. In addition to climate, other geographical related characteristics include having a coastline, terrain, natural resources, and environment. In one example, the following demographic attributes or categories can be used: Gender, such as male or female; age, such as the age groups 0-11, 12-17, 18-20, 21-24, 25-34, 35-49, 50-54, 55-64, and 65-99; income (in US $, for example) such as 0-24,999, 25,000-49,999, 50,000-74,999, 75,000-99,999, 100,000-149,000, and 150,000 and up; education such as some High School, High School Graduate, Home College, Associates Degree, Bachelor's Degree, and Post Graduate; occupation such as administrative or Clerical, Craftsman, Educators, Executive, Laborer, Homemaker, Military, Professional, Sales, Service, Student, Technical, Self-employed, and Retired; race such as Hispanic, Non-Hispanic, African American, Caucasian, Asian, and Native American. Alternatively or in addition, the following psychographic categories may be used: Travel, such as Air, Car Rental, Lodging; Reservations; and Maps; Finance/Investments such as Banking Brokers, Quotes, Insurance, and Mortgage; sports, such as Auto Racing, Baseball, Basketball, Fantasy Sports, Football, Hockey, Soccer, Golf, and Tennis; recreation & hobbies such as Cycling, Golf, Hiking, Sailing, Snow, Sports, Surfing, Tennis, Home & Garden, Pets, Genealogy, Photography, Games, and Toys; entertainment such as Movies/Film, Music, Theater, TV/Video, Sci-Fi, Humor, Games, and Toys; auto such as Trucks, SUV, and Sports car; news and information such as Magazines and Weather; politics such as Democrat and Republican; E-shopping such as Groceries, Furniture, Auctions, Cards/Gifts, Apparel, Books, Music, TV/Video; Software such as E-purchasing and Computers; Science; Employment; health & fitness; Medical; Pharmacy; Dating/Single; Advice; Beauty; Weddings; Maternity; or Spirituality/Religion such as Astrology. An example of profiling web users is described in U.S. Pat. No. 8,108,245 to Hosea et al., entitled: “Method and System for Web User Profiling and Selective Content Delivery”, which is incorporated in its entirety for all purposes as if fully set forth herein. A bitmap (a.k.a. bit array or bitmap index) is a mapping from some domain (for example, a range of integers) to bits (values that are zero or one). In computer graphics, when the domain is a rectangle (indexed by two coordinates) a bitmap gives a way to store a binary image, that is, an image in which each pixel is either black or white (or any two colors). More generally, the term ‘bitmap’ is used herein to include, but not limited to, a pixmap, which refers to a map of pixels, where each one may store more than two colors, thus using more than one bit per pixel. A bitmap is a type of memory organization or image file format used to store digital images. In typical uncompressed bitmaps, image pixels are generally stored with a color depth of 1, 4, 8, 16, 24, 32, 48, or 64 bits per pixel. Pixels of 8 bits and fewer can represent either grayscale or indexed color. An alpha channel (for transparency) may be stored in a separate bitmap, where it is similar to a grayscale bitmap, or in a fourth channel that, for example, converts 24-bit images to 32 bits per pixel. The bits representing the bitmap pixels may be packed or unpacked (spaced out to byte or word boundaries), depending on the format or device requirements. Depending on the color depth, a pixel in the picture will occupy at least n/8 bytes, where n is the bit depth. For an uncompressed, packed within rows, bitmap, such as is stored in Microsoft DIB or BMP file format, or in uncompressed TIFF format, a lower bound on storage size for a n-bit-per-pixel (2n colors) bitmap, in bytes, can be calculated as: size=width·height·n/8, where height and width are given in pixels. In the formula above, header size and color palette size, if any, are not included. The BMP file format, also known as bitmap image file or Device Independent Bitmap (DIB) file format or simply a bitmap, is a raster graphics image file format used to store bitmap digital images, independently of the display device (such as a graphics adapter), especially on Microsoft Windows and OS/2 operating systems. The BMP file format is capable of storing 2D digital images of arbitrary width, height, and resolution, both monochrome and color, in various color depths, and optionally with data compression, alpha channels, and color profiles. The Windows Metafile (WMF) specification covers the BMP file format. An image scaling is the process of resizing a digital image. Scaling is a non-trivial process that involves a trade-off between efficiency, smoothness and sharpness. With bitmap graphics, as the size of an image is reduced or enlarged, the pixels that form the image become increasingly visible, making the image appear “soft” if pixels are averaged, or jagged if not. With vector graphics, the trade-off may be in processing power for re-rendering the image, which may be noticeable as slow re-rendering with still graphics, or slower frame rate and frame skipping in computer animation. Apart from fitting a smaller display area, image size is most commonly decreased (or subsampled or downsampled) in order to produce thumbnails. Enlarging an image (upsampling or interpolating) is generally common for making smaller imagery fit a bigger screen in fullscreen mode, for example. In “zooming” a bitmap image, it is not possible to discover any more information in the image than already exists, and image quality inevitably suffers. However, there are several methods of increasing the number of pixels that an image contains, which evens out the appearance of the original pixels. Typically scaling of an image, such as enlarging or reducing the image, involves manipulation of one or more pixels of the original image into one or more pixels in the target image. In many applications, image scaling is required to be executed in real-time, requiring processing power. Scaling or resizing of an image is typically measured as the ratio (in %, for example) of the number of pixels of the resulting image relative to the number of pixels in the original image. Some image scaling schemes are simple and may be quickly and efficiently processed, such as the examples shown in Some image reduction schemes are simple and may be quickly and efficiently processed, such as the examples shown in Referring now to a flowchart 360 in When using a graphics-based human interface, when an element is dragged from a location to another location on a screen, the dragging is typically limited by the outer limits of the parent object, as schematically shown in views 370 Referring now to a flowchart 380 shown in In a ‘Location Beyond Object (N+1) Limits?’ step 381 Any device herein may be connected to the Internet using a wireless access, such as via a WLAN, such as the device 11 A flowchart 400 in Commonly users or devices in a certain geographical location (such as city or country) are more likely to use certain passwords, due to the tendency of the local population (having similar demographics, for example), to choose similar or same words. Hence, in a case wherein the selected WAP is password-protected, the device 391 fetches from the database 392 and tries various passwords associated with the local geographical location in a ‘Location Based’ step 401 Referring to For each of the communication links, a device may assign a level of sharing, associated with the intention of a user of the device to share the passwords, stored in the local database or stored in the database 392 A flowchart 400 In the case there is no locally available password regarding the respective WAP, the device may connect to the authentication server 403 for fetching authentication information from the central database 392 Alternatively or in addition, the device may try the password of the WAP in a ‘Guess Password’ step 402 As part of sending the authentication server 403 a new password, such as in ‘Update Database’ step 402 Referring to an architecture 440 shown in While the arrangement 10 shown in Each network may be a wired network, which is based on conductive medium, such as a coaxial cable, twisted-pair, powerlines, or telephone lines, or may be a wireless network which is based on a non-conductive medium, and is using RF, light, or sound guided, or any other over-the-air propagation. Further, a network may be NFC, PAN, LAN, MAN, WAN, WPAN, WLAN (such as WiFi), WMAN, or WWAN. Further, the communication may be based on a cellular communication. A network may be half-duplex, full-duplex, or unidirectional, and may use modulation such as AM, FM, or PM. Furthermore, a network may be packet-based or circuit-switched. The various communication interfaces and the respective protocols are serviced by the kernel space 430 An adaptive system involving real-time moving data between sockets and queues upon their availability is shown as an architecture 457 in The flowchart 460, which may be executed by any network element, starts at a ‘Data to Send’ step 461 Any transfer of data between any two network elements, may use, or be based on, a compression scheme (which may be any compression scheme), such as the communication between a client device (such as the client device #1 31 Alternatively or in addition, the same or other compression scheme may be used in the communication between an agent device (such as the agent device #1 103 The same compression scheme may be used in all of the above communications. Alternatively or in addition, no compression or different compression scheme may be used in each of the above communication. A compression scheme used may be lossy or lossless (non-lossy). Further, a compression scheme may be a dictionary-based scheme. Furthermore, the compression may be according to, or based on, a standard compression algorithm which may be JPEG (Joint Photographic Experts Group) and MPEG (Moving Picture Experts Group), ITU-T H.261, ITU-T H.263, ITU-T H.264, or ITU-T CCIR 601. Further, the compression scheme may be according to, or based on, Lempel-Ziv (LZ) or Huffman encoding (or both) compression methods, such as LZ, DEFLATE, SHRI, LZX, or LZW. Further, a dictionary-based compression scheme may be used that is according to, or based on, a local dictionary as described herein. In the case wherein the data transferred consists of, or include, m video data, the compression scheme may be an intraframe or interframe compression. Devices communicating over a network, such as over the Internet 113, may include the same software components or applications, such as the same operating system or the same web browser, and may further retrieve and store the same or similar content from the Internet 113. Such stored content similarities may be used in order to build a dictionary to use in a lossless compression scheme. Referring now to a lossless dictionary-based system 470 The building of the local dictionaries 478 Since the storage area allocated in the ‘Allocate Memory’ step 481 The encoding device 471 Upon receiving data, such as the DATA_2 from the network 480, the decoding device executes a ‘Receiving Data’ flowchart 483, shown in The retransmit request is received at the connection 479 Using a compression scheme allows for reducing the time interval required in order to transfer a content from an encoding device (such as the encoding device 471 In the case wherein a retransmission is required, there is time-consuming overhead added to the total transfer time, relating to the retransmission request from the decoding device to the encoding device, such as the ‘Send Retransmit Request’ step 483 The need for retransmission may be estimated, and thus the time saving in using a compression scheme may be estimated, and used for deciding to use a compression scheme, or what compression scheme to use. In one example, a probability of retransmission is allocated to each content (or a part thereof). The probability may be estimated based on the probability that a random device may store such content, based on former communication sessions, based on a receiving device characteristics (such as being a laptop, a desktop, a smartphone, or a mobile device), based on the receiving device operating system (such as Windows or Android), or based on the receiving device IP address. Based on the assigned retransmission probability, the estimated time savings using various compression schemes may be estimated, and the estimation may be used in order to select between compression schemes. Assuming a probability P for a successful compression, the probability for a retransmission is 1−P, and hence the estimated time saving (EST_ACTUAL_SAVE) can be calculated as EST_ACTUAL_SAVE=SAVED_TIME−(1−P)*PENALTY, hence in the case of P=1 (successful compression, no retransmission), the saved time will be the SAVED_TIME, and in case of P=0 (retransmission guaranteed), the estimated saved time is SAVED_TIME−PENALTY. In the case the EST_ACTUAL_SAVE is negative (or zero), whereby no actual time saving is expected to be achieved, an alternative (or none) compression scheme should be used. Referring now to a flowchart 484 shown in Referring to a system 490 shown in However, while identified by the same identifier (such as a URL), the content in the data server #1 22 Referring to a flowchart 490 In a ‘Same as Local Copy ?’ step 494 The steps involved in the actual validating of the local content copy are considered part of a ‘Content Validation’ flowchart 496, that is part of the flowchart 490 In one example, a network element (device) periodically checks and validates the content stored in it. Hence, when the content is required, local copy may be used for either local use or as a peer device, allowing for faster response to a request for the locally stored content. A network element may thus execute a flowchart 490 As shown in the system 500 in A Virtual Gateway Service 512 (VGS) may be used to reduce the period of re-connection, and to reduce the harmful impact on the network element 504 operations, as shown in a system 510 in In one example, the network element 504 may disconnect from the gateway #1 505 The VGS 512 may execute a flowchart 510 A concept of writing cache data to the free portion of the memory is introduced in U.S. Pat. No. 8,135,912 to Shribman et al., entitled: “System and Method of Increasing Cache Size”. The stored information is transparent to the operating system, and thus more cache size is available without degrading the amount of memory that is available for the user to use. The memory arrangement in such a prior art system is shown in When the cleanup is performed, then in a step 62214 it is checked whether the free space is close to running out (e.g., is it under x % of the total available storage size, where x can be 10%, or under y Bytes free where Y is 1 GB for example). If this threshold has been reached, then in a step 62216 the least relevant cache is searched for to be removed. The criteria for less relevant could be in that it has expired, or that it is accessed the least, or any of other prior art cache purge methods. This cache item is removed. A cache system such as that described in U.S. Pat. No. 8,135,912 to Shribman et al. entitled: “System and Method of Increasing Cache Size”, creates a very large cache size (cache_size) but at the expense of the reliability of reading the cache back after writing it, where the probability for a cache miss (i.e., to try to read back the cached element and to fail) at a certain point in time would be P, where P<1. In some cases, the cache_size is significantly bigger than required for the system operation. In such a case, (NDCACHE—Non-Deterministic volatile memory CACHE). In a computing device, the Random Access Memory (RAM) is a limited resource. When the operating system uses the RAM, it typically increases the speed of the application. However, excessive use of the RAM for an application limits the use of the RAM by other applications and thus limits their speed. One such use of the RAM is for caching information in order to speed up the speed of the program's operation. Such cached data may be data retrieved from the network, or be the result of a complicated operation, etc. Operating systems make use of the RAM for caching purposes, and typically leave some of the RAM free to be used later. If this free RAM, memory could be used to store additional cache without significantly affecting system performance in other ways that would be beneficial. Sometimes, a TLB 64006 entry or PTE prohibits access to a virtual page, perhaps because no physical random access memory has been allocated to that virtual page. In this case, the MMU 64004 signals a page fault to the CPU 64002. The operating system (OS) then handles the situation, perhaps by trying to find a spare frame of RAM and set up a new PTE to map it to the requested virtual address. If no RAM is free, it may be necessary to choose an existing page (known as a victim), using some replacement algorithm or ‘eviction algorithm’, and save it to another form of storage (e.g., hard disk)—typically known as “paging”. The prior art memory management can be described as deterministic, because information that is stored in the physical memory by the application is always retrievable, even in case that physical memory is purged, since the driver for that memory segment that is purged typically saves the data before discarding it. There is a ‘cost’ to this determinism, in that there is a load and purge time to the physical memory, since when purging this physical memory it needs to be written to a different medium, and then loaded back from the medium before it can be read. In cases where an application wishes to store cache data in the volatile memory in order to save time in re-calculating an algorithm, or in order to not load it again from the web, or in other cases, it does not need the determinism offered by the state of the art memory management systems, but it does need high access speeds, since if the speeds are not high, then it may be more beneficial to the system to re-calculate the algorithm or to re-fetch the information from the web, and not to do a page fault which is costly in time. In addition, the more physical memory available for the cache, the faster that the applications can run. However, the more physical memory allocated to cache of one application, the less is available for other uses, and thus the system performance may be degraded. Therefore, it is beneficial to design a system that can gain from higher speeds associated with non-determinism in the memory management, and that can use the maximum possible physical memory without deteriorating the performance of other applications. NDCACHE READ and NDCACHE WRITE 65404 are the functions used to read from the NDCACHE and write to the NDCACHE (respectively) that is referenced by the FILEDS that was initially received from the NDCACHE_OPEN function. The BUFFER is an allocated memory that the application can use to read the information to (in case of NDCACHE_READ) or to write from (in case of NDCACHE_WRITE). The OFFSET is the offset (in bytes, for example) within the NDCACHE referenced, to start the read, or to start the write, from. SIZE is the number of bytes to read or to write. NDCACHE_CLOSE 65406 is called to close the handle to the NDCACHE referenced by FILEDS. After all handles to an NDCACHE are closed, the OS may decide to swap it out based on its eviction algorithms. NDCACHE_UNLINK 6508 is called to remove the NDCACHE entry referenced by FILEDS from the operating system's page table, thus effectively deleting this NDCACHE. A file system is a means to organize data by providing procedures to store, retrieve and update data, as well as manage the available space on the device(s) which contain it. A file system is tuned to the specific characteristics of the device. There is usually a tight coupling between the operating system and the file system. Some filesystems provide mechanisms to control access to the data and metadata. Ensuring reliability is a major responsibility of a filesystem. Some filesystems provide a means for multiple programs to update data in the same file at nearly the same time. File systems are used on data storage devices such as hard disk drives, floppy disks, optical discs, memory storage devices, remote servers, etc. File systems may provide access to data on a file server by acting as clients for a network protocol (e.g. NFS or SMB clients), or they may be virtual and exist only as an access method for virtual data (e.g. procfs). This is distinguished from a directory service and registry. A File system is implemented in a file system driver which implements a standard file system API for using it, and is coupled to a storage device or other storage strategy (like mapping to existing memory). A secondary implementation of an NDCACHE may use simple file system mounting. This implementation is simple in that it does not require kernel mode modifications, or some minimal modifications to the TMPFS file storage facility that is available on many unix-like operating systems. If any of the above events in a step 66606 occurred, then the OS would benefit from having more volatile memory. This is checked in a step 66608. If the OS would not benefit from more memory, then continue to the step 66604. If it would, then in a step 66610 the NDCACHE is reduced by deleting a number of elements from it, so that its size is reduced by Z bytes (for example by 200 MB). In a step 66612 shows various strategies by which elements may be reduced from the NDCACHE: delete the least recently used (LRU), the least frequently used (LFU), the largest elements by bytes, or the smallest elements by size. This TMPFS size reduction thus frees space for the operating system. This system described in Hence, a method of increasing the size of the memory (which is a physical memory) available to applications by which an application may request memory which is specially marked, is disclosed, where the application is able to read and write to this physical memory, and where if the operating system needs more memory then this specially marked memory is discarded. If the specially marked memory space is swapped by the operating system, then it is simply discarded. If the operating system would benefit by having more memory available to it, it reduces the size of the memory allocated to the specially marked cache. The method may be implemented by a TMPFS system that allocates physical memory to this special cache, where if the operating system would benefit by having more memory available to it, it reduces the size of the TMPFS allocated to this specially marked cache The second implementation of the NDCACHE—the calls to TMPFS are from user mode to kernel mode, and thus may take thousands of CPU cycles to complete. It is thus desirable to avoid calls between user mode and kernel mode if possible, to improve a performance of the system to get minimum cycles per an NDCACHE call. A system with higher performance can be achieved by implementing the NDCACHE as a user mode module that communicates with an NDCACHE kernel module, as described in Then the first memory position in P (P[0]) is increased (so that if this was a new assignment of memory, then P is now 1), to indicate that there is content in this NDCACHE. Then the program continues by writing the data to P, starting at P[l]. If the cache exists (i.e. was not allocated by this call), then do the NDCACHE_WRITE( ) function. Block 67804 describes how the swapping out of memory ranges by an NDCACHE_DRIVER is done: Once the eviction algorithm of the NDCACHE_DRIVER decided to free a range, it maps the virtual memory pointers to an “all zero” range in ‘read only’ mode (for example by mapping to devzero. This quickly sets the memory and the LOCK_FLAG to zero, thus freeing the physical memory for the OS to use, and marking it as empty towards the applications using the NDCACHE. In the previous implementation methods, an NDCACHE element in the previous implementations is assigned in one block. The problem is that this whole block is swapped out even if only a certain part needs to be swapped out by the OS (all or nothing type of approach). It is desirable to have an implementation where only portions of the allocation may be swapped out (for example, the NDCACHE element could be a whole file, and it may be useful if parts of it are swapped out). In block 68002 there are a group of pages in the physical memory of a computer (page #1, Page #2, . . . Page #N), in this example each of the pages is a range of 4 KB. In block 68004, there is a group of flags in an area of the physical memory allocated to be the management area of the NDCACHE, where there is one such flag for every page in the memory, that is allocated to the NDCACHE. Each flag in the management area in block 68004 is actually a ‘lock flag’ from the previous implementation of the NDCACHE and is used in the same way, but is done per page, so that each lock flag correlates with one page in the memory. Thus, the NDCACHE may allocate a large file from Page #1 to Page #N, and when the OS needs more free memory then the NDCACHE's eviction algorithm may choose to free a certain memory size for the OS (e.g. 4 MB), and only remove the first 1,000 pages from this NDCACHE, instead of removing the whole cache. Hence, an NDCACHE system is disclosed, where each NDCACHE is mapped to a multitude of physical memory pages, and where there is one lock flag associated with each such physical memory page, so that when the operating system of the computing device needs more physical memory, it can release only some of the physical pages associated with this NDCACHE. The normal operation (read/write) of the NDCACHE in the fourth implementation is similar to the earlier implementations, but where the memory for the NDCACHE is the series of memory pages allocated to the NDCACHE, and the LOCK_FLAG is not for the whole memory range allocated to the NDCACHE, but for each of the pages in that memory range, and when the eviction algorithm needs to free memory for the OS, it can evict a portion of the memory ranges, freeing up the memory range and its corresponding LOCK_FLAG from the management area. 1. When an NDCACHE that is smaller than the OS's memory page size (typically 4 kB) is requested, a full page (e.g. 4 kB) is allocated and thus there is waste in allocating more than is needed. 2. When an NDCACHE that is larger than the page size is requested, the allocation needs to be done in multiple parts (once for each page), thus degrading performance and degrading the ease of use of the API. 3. The fourth implementation does not conform to the ‘malloc’/‘free’ paradigm, which makes it more difficult to integrate in to existing and new solutions In this improvement, when a new NDCACHE is allocated, when allocating the pages in memory 69002 for the NDCACHE, a secondary management area 69004 is allocated at the first page, such that it includes a pointer to the first LOCK_FLAG in the management area 69006, and a counter of how many pages are allocated to this NDCACHE (“N”) is maintained. Thus, when allocating multiple pages for an NDCACHE, the secondary management area 69004 includes all the information needed to use all pages and lock flags. Note that the allocations for these memory ranges can use any of the existing malloc/free implementation algorithms to allocate memory from the main NDCACHE pool to this allocation. The malloc and free can be done over mmap with the implementation of NDCACHE shown in the fourth implementation, which makes this a non-deterministic cache. Also note that if the allocation is less than one page size, T→N could still span more than one page, if for example this page already contains part of a previous allocation and this this new allocation causes the allocation to overrun to the next page. A further note about NDCACHE: There is an advantage to being able to use named objects for NDCACHE—i.e., for the NDCACHE objects to be named so that they can be used by multiple processes, and also lets the virtual memory related to these named objects to be freed on swap. This can be implemented over the systems described previously by adding a hash table where in the open/create of the object, this name is looked up in the hash table, and if found provides back a pointer to an existing object. There are applications that may benefit from understanding when the computer's resources are idle. For example, a screensaver monitors the mouse and keyboard movements for idleness, and after a preset amount of idle time, it activates its display program. Further, the idling period may be utilized for performing non-time sensitive activities, such as upodating and maintenance. For example, idling is detected as part of the ‘Idle ?’ step 495 Light sensor senses changes in light intensity or structure—i.e., idleness of the physical surrounding of the computing device (movement of persons, for example, can trigger this to not be idle):
If any of the above sensors is idle in a step 70006, then check in a step 70008 whether all sensors included in PARAMS are idle and have been idle for the amount of time as described in T. If they have all been idle for this time, call the CB. Hence, in a system monitoring the idleness of a computing device, the following sensors may be included in a list of devices to be monitored for idleness: Bits being sent or received to/from communication device, storage device read or write, temperature changes in any of the device's temperature gauges, CPU busy over certain threshold, camera senses motion, light sensor senses changes in light intensity or structure, Accelerometer that senses movement or orientation change, HD accelerometer that senses movement, GPS sensor that senses movement in location or hight In storage devices with moving media, physical seek times are typically long relative to the read or write times because of the read/write head movement, and thus should be avoided where possible. Also in storage devices, writing to the storage device is typically less urgent as reading from it, since the writing is typically to archive existing information, whereas reading data is used for actionable results (such as displaying data on the screen) and thus may be blocking. In prior art systems, reading and writing occur randomly, and thus when the typically higher priority reading is occurring, it could possibly be after a write has occurred, and thus the reading head is typically not close to the place where the information should be read from. Delaying the writing of data until storage device read/write is idle can speed up the read time, since there's then no need to wait for write to end before reading and also eliminates many seek cycles. This concept may be broadened by looking not only at the idleness of the storage device 71008 by the storage device idle monitor 71006, but by incorporating an idleness monitor that checks for a much broader set of idleness parameters such as keyboard inputs, mouse inputs, network communication, etc., since any kind of non-idleness on the computing device typically correlates to reads from the storage device, and thus storage writes should be avoided during such periods of non-idleness. Hence, in a computing system comprised of a storage device and a processor, a method for reducing the average time to read data from such storage device is disclosed, by which storage writes are only performed when the storage device has been idle for a certain amount of time (eg. 30 ms). Other parameters may be checked for idleness, such as the keyboard input, the mouse input, the network communication, etc. When a network element is connected to a WAP, it sometimes shortly disconnects and then reconnects. This short disconnection (sometimes referred to as ‘cutoff’) may occur due to an ‘explicit user disconnect’ reason, where the user explicitly requests to disconnect from the WAP, such as due to poor service from the WAP, or because other reasons, such as turning off the network element, and disconnecting from the network (for example by turning off the WiFi switch). When the network element tries to re-connect to the WAP, it is typically preferred to first try to connect to ‘favorite’ WAPs, which are commonly WAPs that the network element has already successfully previously connected to. In one example, a WAP is determined as a ‘favorite’ WAP when providing high signal strength. Typical connections (including data paths and communication links) via a network, and in particular via a packet-based network such as the Internet 113, are associated with a reliability that is less than 100%. The reliability is typically measured as the number of packets that do not reach their destination intact, but can also be measured by their latency, bandwidth, and other factors. In one example, the program may be installed on only one of the network elements. In such a scheme, a network element designated as a reliability proxy may be used, on which the program is installed. Preferably, the reliability proxy may use multiple connections to the other network element. A scheme using a reliability proxy is shown in It is also possible to use this method in a configuration where neither the NE1 25 nor the NE2 26 includes the program installed, as shown in A flowchart of the program is shown in A method of transmitting packets in parallel over multiple routes, between the NE1 25 and the NE2 26, is described in In addition to packet loss, unreliable connections typically frequently disconnect. In such a case, the communicating devices try to reconnect, and often succeed. However, such a disconnection may create discontinuity that may be detected by the communicating applications, and may impact their performance, such as a producing a “404 page not found” message in a web browser. However, if the disconnection is not detected by the applications until the re-connection is established, the discontinuity could be avoided. Thus, it is desirable to delay for a short time the signaling to the applications, until the connection is re-established, as described in a flowchart in In a step 24802 the NE1 25 initiates a communication with other network element, such as the NE2 26. The connection from the NE1 25 to the NE2 26 is established in a step 24804 through a Reliability Proxy program (RP) in each of the NE1 25 and the NE2 26 (if such an RP exists). If the RP does not exist in the NE1 25, then it can be configured to use an external device as a Reliability Proxy (RP). If the RP does not exist in the NE2 26, then the NE1 25 requests an RP from the reliability proxy network server, and communicates with it, instead of communicating directly with the NE2 26, where the RP will proxy the messages to the NE2 26 so that effectively the NE1 25 is communicating with the NE2 26. The connection between the RPs may be disconnected as determined in a step 24810 (whether the RPs are within the NE1 25 and the NE2 26, or external to them). If the connection was disconnected, then in a step 24812 the reliability proxies hold the connection between them and the operating system that they are acting as a proxy for, for a set short amount of time that it would take to re-connect the broken connection in a reasonable scenario (e.g., 200 ms). Holding the connection may be performed in a way similar to the virtual application gateway described in The systems and methods herein may use redundant communication routes (or data paths), that may be based on standby redundancy, (a.k.a. Backup Redundancy), where one of the data paths or the associated hardware is considered as a primary unit, and the other data path (or the associated hardware) is considered as the secondary unit, serving as back up to the primary unit. The secondary unit typically does not monitor the system, but is there just as a spare. The standby unit is not usually kept in sync with the primary unit, so it must reconcile its input and output signals on the takeover of the communication. This approach does lend itself to give a “bump” on transfer, meaning the secondary operation may not be coordinated with the last system state of the primary unit. Such mechanism may require a watchdog, which monitors the system to decide when a switchover condition is met, and command the system to switch control to the standby unit. Standby redundancy configurations commonly employ two basic types, namely ‘Cold Standby’ and ‘Hot Standby’. In a cold standby scheme, the secondary unit is either powered off or otherwise non-active in the system operation, thus preserving the reliability of the unit. The drawback of this design is that the downtime is greater than in hot standby, because the standby unit needs to be powered up or activated, and brought online into a known state. In a hot standby scheme, the secondary unit is powered up or otherwise kept operational, and can optionally monitor the system. The secondary unit may serve as the watchdog and/or voter to decide when to switch over, thus eliminating the need for an additional hardware for this job. This design does not preserve the reliability of the standby unit as well as the cold standby design. However, it shortens the downtime, which in turn increases the availability of the system. Some flavors of Hot Standby are similar to Dual Modular Redundancy (DMR) or Parallel Redundancy. The main difference between Hot Standby and DMR is how tightly the primary and the secondary are synchronized. DMR completely synchronizes the primary and secondary units. While a redundancy of two was exampled above, where two data paths and two hardware devices were used, a redundancy involving three or more data paths or systems may be equally used. The term ‘N’ Modular Redundancy, (a.k.a. Parallel Redundancy) refers to the approach of having multiply units or data paths running in parallel. All units are highly synchronized and receive the same input information at the same time. Their output values are then compared and a voter decides which output values should be used. This model easily provides bumpless switchovers. This model typically has faster switchover times than Hot Standby models, thus the system availability is very high, but because all the units are powered up and actively engaged with the system operation, the system is at more risk of encountering a common mode failure across all the units. Deciding which unit is correct can be challenging if only two units are used. If more than two units are used, the problem is simpler, usually the majority wins or the two that agree win. In N Modular Redundancy, there are three main typologies: Dual Modular Redundancy, Triple Modular Redundancy, and Quadruple Redundancy. The Quadruple Modular Redundancy (QMR) is fundamentally similar to the TMR but using four units instead of three to increase the reliability. The obvious drawback is the 4× increase in system cost. Dual Modular Redundancy (DMR) uses two functional equivalent units, thus either can control or support the system operation. The most challenging aspect of DMR is determining when to switch over to the secondary unit. Because both units are monitoring the application, a mechanism is needed to decide what to do if they disagree. Either a tiebreaker vote or simply the secondary unit may be designated as the default winner, assuming it is more trustworthy than the primary unit. Triple Modular Redundancy (TMR) uses three functionally equivalent units to provide a redundant backup. This approach is very common in aerospace applications where the cost of failure is extremely high. TMR is more reliable than DMR due to two main aspects. The most obvious reason is that two “standby” units are used instead of just one. The other reason is that in a technique called diversity platforms or diversity programming may be applied. In this technique, different software or hardware platforms are used on the redundant systems to prevent common mode failure. The voter decides which unit will actively control the application. With TMR, the decision of which system to trust is made democratically and the majority rules. If three different answers are obtained, the voter must decide which system to trust or shut down the entire system, thus the switchover decision is straightforward and fast. Another redundancy topology is 1:N Redundancy, where a single backup is used for multiple systems, and this backup is able to function in the place of any single one of the active systems. This technique offers redundancy at a much lower cost than the other models by using one standby unit for several primary units. This approach only works well when the primary units all have very similar functions, thus allowing the standby to back up any of the primary units if one of them fails. While the redundant data paths have been exampled with regard to the added reliability and availability, redundant data paths may as well be used in order to provide higher aggregated data rate, allowing for faster response and faster transfer of data over the multiple data paths. A client device may connect to one of multiple sources for fetching data therefrom. The client device may estimate in advance the Bandwidth (BW) and Round Trip Time (RTT) relating to a connection to each of the sources, in order to estimate the best source to use. Further, a client device may use several available peer devices for loading chunks therefrom. A chunk may, include, for example, 16 KB of data. Assuming that there are two peers devices, designated as P1 and P2, respectively associated with the following BW/RTT times: P1_BW=2,000 Kb/s P1_RTT=30 ms and P2_BW=4,000 Kb/s P2_RTT=70 ms, then the estimated time for a transaction using P1 would be 30 ms+16,000*8/2,000,000=30 ms+64 ms=94 ms, whereas a transaction using P2 would be 60 ms+16,000*8/4,000,000=70 ms+32 ms=102 ms. In such a case, it would be beneficial for the client device to select and use P1. Other examples of such networks include an HTTP client that may access two different web servers for obtaining a certain URL, such as the original web server, and a CDN storing the URL content. However, the client device may not have previously (or lately) communicated with a source, and thus may not possess the BW and the RTT data needed for the evaluation. In such a case, it would be beneficial to have an algorithm for estimating BT/RTT with the source. In the example shown in In such a case, the client needs to assess the BW and RTT of the source_2. A good estimation (or a guess) may assume that the values of the BW and RTT of the source_2 are between the values of BW and RTT of source_1 and source_4, which are the sources of either side of the source_2 (in terms of IP address), based on the information stored in the database 20810. The estimated values of the source_2 related BW and RTT might be derived in various ways. For example, using proportional estimation, so that when the BW and RTT of source 1 are respectively BW1 and RTT1, for source 4 they are respectively BW4 and RTT4, and for source 2 they are respectively BW2 and RTT2, then BW2 and RTT2 can be calculated by their relative IP distance from BW1 and BW4 and between RTT1 and RTT4. Other ways to calculate can be a regular average, such as BW2=(BW1+BW4)/2. Alternatively or in addition, the database 20810 may reside on a server on the network, and thus a client device may request and fetch therefrom information about connecting to various sources, even those that it has not previously or lately connected with, based on connections with other client devices that have communicated with it and logged their results to this networked database. A large database may be used to store data relating to the connections characteristics (such as BW and RTT) to various network elements. Over time this data accumulates, and may be reduced by storing only valuable information, as shown in a flowchart The system initializes in a step 21202, when the system starts for the first time, before the database is initialized. As part of an initialization process, a database is created, with entries that signify logarithmic IP distances from the local network element. Thus, a first entry will be for an IP_dist=1, a second for an IP_dist=2, a third for an IP_dist=4, a fourth for an IP_dist=8, etc., until the farthest IP distance possible in the network that the local network element is operating in (for an IPv4 network example, the smallest IP address is 0.0.0.0 and the largest address is 255.255.255.255, the largest IP distance is half of the difference between these two addresses). In a step 21204, it is checked whether the database is accessed for reading or writing. The database is accessed for reading when a program requests the estimated BW & RTT between the local network element (associated with IP that is designated as a HOST_IP), and a certain network element to which this local network element is considering to communicate with (associated with IP that is designated as IP_NEW). The database is accessed for writing when the local network element has completed a communication session to another network element, or otherwise found out information about the BW & RTT to that network element in other ways, and requests to write the newly learned data (NEW_BW, NEW_RTT) to the database so that the system can make later better assessments of the BW & RTT. Next, the IP distance (IP_DISTANCE) is calculated in a step 21206 between the HOST_IP to the IP_NEW by finding the number of IPs that are between the HOST_IP and the IP_NEW. Note that in the case of using IP distance, this method considers that the IP addresses are ‘connected at the edges’, meaning that the first address (0.0.0.0 in IPv4) is 1 IP address away from the last address (255.255.255.255 in IPv4), and thus there are two different IP distances between each 2 points. The IP_DISTANCE is calculated as the minimum between these two distances. In a step 21208, the logarithmic distance (DIST) from HOST_IP to the NEW_IP is calculated. The DIST is calculated as the Round_down(log_b2(IP_DISTANCE)—where the rounding down the log (in base 2) of the IP_DISTANCE between HOST_IP and IP_NEW. If the database action was for a READ action, then in a step 21212 the BW & RTT are read from the entry [DIST] of the database. If the database action was for a WRITE action, then in a step 21214 the NEW_BW & NEW_RTT are written to the entry [DIST]. Note that the NEW_BW & NEW_RTT may also be written to the database in other methods, in order to keep track also of historical data. For example, the NEW_BW & NEW_RTT may be averaged in with the other data samples (by keeping the latest average and the number of samples in the database), or in any other similar methods. When network elements use BW & RTT values from the tables, they could benefit from ‘teaching’ each other about the information they already have about BW & RTT between them and other network elements. In a step 21410 the local host receives a BW & RTT table (UPDATE DB) from a different network element associated with an IP that is IP_ELEMENT. Then, for each non-empty entry in the UPDATE_DB (entry marked as ‘E’), the following set of actions is performed: First, in a step 21414 the IP of the network element that provided the UPDATE_DB (IP_ELEMENT) is looked up in the local network element database, and the resulting BW and RTT are stored in memory as BW_ELEMENT and RTT_ELEMENT (these are the BW and RTT between the local network element and the network element that is providing the UPDATE_DB). Then, in a step 21416, the BW & RTT in entry ‘E’ are stored in memory as BW_E and RTT_E. In a step 21418, the IP distance from the network element to the ‘E’ associated IP is calculated and stored in the data base as IP_DIST_E. In a step 21420, the local database entry for the IP distance of (IP ELEMENT_DIST+IP_DIST_E) is updated where the BW value receives the value of BW_HOST+BW_E and the RTT value receives the value of RTT_HOST+RTT_E. The term ‘network element’ (or ‘element’) is used herein to include, but not limited to, a tunnel-based client device (such as the client device #1 31 The steps described herein may be sequential, and performed in the described order. For example, in a case where a step is performed in response to another step, or upon completion of another step, the steps are executed one after the other. However, in case where two or more steps are not explicitly described as being sequentially executed, these steps may be executed in any order, or may be simultaneously performed. Two or more steps may be executed by two different network elements, or in the same network element, and may be executed in parallel using multiprocessing or multitasking. A tangible machine-readable medium (such as a storage) may have a set of instructions detailing part (or all) of the methods and steps described herein stored thereon, so that when executed by one or more processors, may cause the one or more processors to perform part of, or all of, the methods and steps described herein. Any of the network elements may be a computing device that comprises a processor and a computer-readable memory (or any other tangible machine-readable medium), and the computer-readable memory may comprise computer-readable instructions such that, when read by the processor, the instructions causes the processor to perform the one or more of the methods or steps described herein. Any device or network element herein may comprise, consists of, or include a Personal Computer (PC), a desktop computer, a mobile computer, a laptop computer, a notebook computer, a tablet computer, a server computer, a handheld computer, a handheld device, a Personal Digital Assistant (PDA) device, a cellular handset, a handheld PDA device, an on-board device, an off-board device, a hybrid device, a vehicular device, a non-vehicular device, a mobile or portable device, a non-mobile or a non-portable device. Further, any device or network element herein may comprise, consist of, or include a major appliance (white goods) and may be an air conditioner, dishwasher, clothes dryer, drying cabinet, freezer, refrigerator, kitchen stove, water heater, washing machine, trash compactor, microwave oven and induction cooker. The appliance may similarly be a ‘small’ appliance such as TV set, CD or DVD player, camcorder, still camera, clock, alarm clock, video game console, HiFi or home cinema, telephone or answering machine. The term ‘host’ or ‘network host’ is used herein to include, but not limited to, a computer or other device connected to a computer network, such as the Internet. A network host may offer information resources, services, and applications to users or other nodes on the network, and is typically assigned a network layer host address. Computers participating in networks that use the Internet Protocol Suite may also be called IP hosts, and computers participating in the Internet are called Internet hosts, or Internet nodes. Internet hosts and other IP hosts have one or more IP addresses assigned to their network interfaces. The addresses are configured either manually by an administrator, automatically at start-up by means of the Dynamic Host Configuration Protocol (DHCP), or by stateless address autoconfiguration methods. Network hosts that participate in applications that use the client-server model of computing, are classified as server or client systems. Network hosts may also function as nodes in peer-to-peer applications, in which all nodes share and consume resources in an equipotent manner. The arrangements and methods described herein may be implemented using hardware, software or a combination of both. The term “software integration” or any other reference to the integration of two programs or processes herein, is used herein to include, but not limited to, software components (e.g., programs, modules, functions, processes, etc.) that are (directly or via another component) combined, working or functioning together or form a whole, commonly for sharing a common purpose or set of objectives. Such software integration can take the form of sharing the same program code, exchanging data, being managed by the same manager program, executed by the same processor, stored on the same medium, sharing the same GUI or other user interface, sharing peripheral hardware (such as a monitor, printer, keyboard and memory), sharing data or a database, or being part of a single package. The term “hardware integration” or integration of hardware components is used herein to include, but not limited to, hardware components that are (directly or via another component) combined, working or functioning together or form a whole, commonly for sharing a common purpose or set of objectives. Such hardware integration can take the form of sharing the same power source (or power supply) or sharing other resources, exchanging data or control (e.g., by communicating), being managed by the same manager, physically connected or attached, sharing peripheral hardware connection (such as a monitor, printer, keyboard and memory), being part of a single package or mounted in a single enclosure (or any other physical collocating), sharing a communication port, or used or controlled with the same software or hardware. The term “integration” herein is used herein to include as applicable, but not limited to, a software integration, a hardware integration, or any combination thereof. Any networking protocol may be utilized for exchanging information between the network elements (e.g., clients, tunnels, peers, servers) within the network (such as the Internet). For example, it is contemplated that communications can be performed using TCP/IP. Generally, HTTP and HTTPS are utilized on top of TCP/IP as the message transport envelope. These two protocols are able to deal with firewall technology better than other message management techniques. However, partners may choose to use a message-queuing system instead of HTTP and HTTPS if greater communications reliability is needed. A non-limiting example of a message queuing system is IBM's MQ-Series or the Microsoft Message Queue (MSMQ). The system described hereinafter is suited for both HTTP/HTTPS, message-queuing systems, and other communications transport protocol technologies. Furthermore, depending on the differing business and technical requirements of the various partners within the network, the physical network may embrace and utilize multiple communication protocol technologies. The term “port” refers to a place of access to a device, electrical circuit or network, where energy or signal may be supplied or withdrawn. The term “interface” of a networked device refers to a physical interface, a logical interface (e.g., a portion of a physical interface or sometimes referred to in the industry as a sub-interface—for example, such as, but not limited to a particular VLAN associated with a network interface), and/or a virtual interface (e.g., traffic grouped together based on some characteristic—for example, such as, but not limited to, a tunnel interface). As used herein, the term “independent” relating to two (or more) elements, processes, or functionalities, refers to a scenario where one does not affect nor preclude the other. For example, independent communication such as over a pair of independent data routes means that communication over one data route does not affect nor preclude the communication over the other data routes. Some embodiments may be used in conjunction with various devices, network elements, and systems, for example, a Personal Computer (PC), a desktop computer, a mobile computer, a laptop computer, a notebook computer, a tablet computer, a server computer, a handheld computer, a handheld device, a Personal Digital Assistant (PDA) device, a cellular handset, a handheld PDA device, an on-board device, an off-board device, a hybrid device, a vehicular device, a non-vehicular device, a mobile or portable device, a non-mobile or non-portable device, a wireless communication station, a wireless communication device, a wireless Access Point (AP), a wired or wireless router, a wired or wireless modem, a wired or wireless network, a Local Area Network (LAN), a Wireless LAN (WLAN), a Metropolitan Area Network (MAN), a Wireless MAN (WMAN), a Wide Area Network (WAN), a Wireless WAN (WWAN), a Personal Area Network (PAN), a Wireless PAN (WPAN), devices and/or networks operating substantially in accordance with existing IEEE 802.11, 802.11a, 802.11b, 802.11g, 802.11k, 802.11n, 802.11r, 802.16, 802.16d, 802.16e, 802.20, 802.21 standards and/or future versions and/or derivatives of the above standards, units and/or devices which are part of the above networks, one way and/or two-way radio communication systems, cellular radio-telephone communication systems, a cellular telephone, a wireless telephone, a Personal Communication Systems (PCS) device, a PDA device which incorporates a wireless communication device, a mobile or portable Global Positioning System (GPS) device, a device which incorporates a GPS receiver or transceiver or chip, a device which incorporates an RFID element or chip, a Multiple Input Multiple Output (MIMO) transceiver or device, a Single Input Multiple Output (SIMO) transceiver or device, a Multiple Input Single Output (MISO) transceiver or device, a device having one or more internal antennas and/or external antennas, Digital Video Broadcast (DVB) devices or systems, multi-standard radio devices or systems, a wired or wireless handheld device (e.g., BlackBerry, Palm Treo), a Wireless Application Protocol (WAP) device, or the like. As used herein, the terms “program”, “programmable”, and “computer program” are meant to include any sequence or human or machine cognizable steps which perform a function. Such programs are not inherently related to any particular computer or other apparatus, and may be rendered in virtually any programming language or environment including, for example, C/C++, Fortran, COBOL, PASCAL, assembly language, markup languages (e.g., HTML, SGML, XML, VoXML), and the likes, as well as object-oriented environments such as the Common Object Request Broker Architecture (CORBA), Java™ (including J2ME, Java Beans, etc.) and the likes, as well as in firmware or other implementations. Generally, program modules include routines, programs, objects, components, data structures, etc., that performs particular tasks or implement particular abstract data types. The term “application program” (also referred to as ‘application’, ‘software application’, or ‘application software’) is used herein to include, but not limited to, a computer program designed to perform a specific function directly for a user, or for another application program. Application software is typically a set of one or more programs designed to carry out operations for a specific application. Commonly, an application software is dependent on system software that manages and integrates computer capabilities, but does not directly perform tasks that benefit the user, such as an operating system, to execute. Examples of types of application software may include accounting software, media players, and office suites. Applications may be bundled with the computer and its system software, or may be published separately, and further may be developed and coded as a proprietary, or as an open-source, software. Most applications are designed to help people perform an activity. The terms “task” and “process” are used generically herein to describe any type of running programs, including, but not limited to a computer process, task, thread, executing application, operating system, user process, device driver, native code, machine or other language, etc., and can be interactive and/or non-interactive, executing locally and/or remotely, executing in foreground and/or background, executing in the user and/or operating system address spaces, a routine of a library and/or standalone application, and is not limited to any particular memory partitioning technique. The steps, connections, and processing of signals and information illustrated in the figures, including, but not limited to any block and flow diagrams and message sequence charts, may typically be performed in the same or in a different serial or parallel ordering and/or by different components and/or processes, threads, etc., and/or over different connections and be combined with other functions in other embodiments, unless this disables the embodiment or a sequence is explicitly or implicitly required (e.g., for a sequence of reading the value, processing the value—the value must be obtained prior to processing it, although some of the associated processing may be performed prior to, concurrently with, and/or after the read operation). Where certain process steps are described in a particular order or where alphabetic and/or alphanumeric labels are used to identify certain steps, the embodiments are not limited to any particular order of carrying out such steps. In particular, the labels are used merely for convenient identification of steps, and are not intended to imply, specify or require a particular order for carrying out such steps. Furthermore, other embodiments may use more or less steps than those discussed herein. They may also be practiced in distributed computing environments where tasks are performed by remote processing devices that are linked through a communications network. In a distributed computing environment, program modules may be located in both local and remote memory storage devices. The corresponding structures, materials, acts, and equivalents of all means plus function elements in the claims below are intended to include any structure, or material, for performing the function in combination with other claimed elements as specifically claimed. The description of the present invention has been presented for purposes of illustration and description, but is not intended to be exhaustive or limited to the invention in the form disclosed. The present invention should not be considered limited to the particular embodiments described above, but rather should be understood to cover all aspects of the invention as fairly set out in the attached claims. Various modifications, equivalent processes, as well as numerous structures to which the present invention may be applicable, will be readily apparent to those skilled in the art to which the present invention is directed upon review of the present disclosure. All publications, standards, patents, and patent applications cited in this specification are incorporated herein by reference as if each individual publication, patent, or patent application were specifically and individually indicated to be incorporated by reference and set forth in its entirety herein.RELATED APPLICATION
TECHNICAL FIELD
BACKGROUND
SUMMARY
BRIEF DESCRIPTION OF THE DRAWINGS
DETAILED DESCRIPTION