A virtual assistant system for communicating with customers uses human intelligence to correct any errors in the system AI, while collecting data for machine learning and future improvements for more automation. The system may use a modular design, with separate components for carrying out different system functions and sub-functions, and with frameworks for selecting the component best able to respond to a given customer conversation. The system may have agent assistance functionality that uses natural language processing to identity concepts in a user conversation and to illustrate that concepts within a graphical user interface of a human agent so that the human agent can more accurately and more rapidly assist the user in accomplishing the user's conversational objectives.
1. A method comprising:
A computer-implemented method of assisting a human agent in fulfilling a workflow objective to respond in real time in a conversation with a user via a communication server, the computer-implemented method comprising: obtaining a natural language utterance of the user within the conversation; based on a state of the conversation, using a natural language understanding model to identify a plurality of concepts from the utterance; and presenting, to a human agent, the identified concepts and a transcript of the conversation within an agent desktop user interface, such that the human agent can use the agent desktop user interface to approve or modify the identified concepts to be included as input for the workflow objective, the agent desktop user interface comprising: a first region displaying the transcript of the conversation, a second region displaying the identified concepts, a third region displaying a form used to fulfill the workflow objective, and a visual link between ones of the identified concepts and corresponding ones of fields of the form; wherein the human agent approves the identified concepts by selecting one of the identified concepts, such that a value of the selected identified concept is populated within a field of the form to which the selected identified concept was visually linked. 2. The computer-implemented method of 3. The computer-implemented method of 4. The computer-implemented method of accessing a workflow definition comprising a set of dialog nodes, the dialog nodes representing dialog states within the conversation and having corresponding execution requirements; tracking a current dialog state of the conversation throughout the conversation; and identifying the plurality of concepts from the utterance at least in part based on the current dialog state. 5. The computer-implemented method of 6. The computer-implemented method of 7. The computer-implemented method of 8. The computer-implemented method of 9. The computer-implemented method of 10. The computer-implemented method of 11. A non-transitory computer-readable storage medium storing instructions that when executed by a computer processor perform actions comprising:
obtaining a natural language utterance of a user within a conversation with a human agent via a communication server; based on a state of the conversation, using a natural language understanding model to identify a plurality of concepts from the utterance; and presenting, to a human agent, the identified concepts and a transcript of the conversation within an agent desktop user interface, such that the human agent can use the agent desktop user interface to approve or modify the identified concepts to be included as input for a workflow objective, the agent desktop user interface comprising: a first region displaying the transcript of the conversation, a second region displaying the identified concepts, a third region displaying a form used to fulfill the workflow objective, and a visual link between ones of the identified concepts and corresponding ones of fields of the form; wherein the human agent approves the identified concepts by selecting one of the identified concepts, such that a value of the selected identified concept is populated within a field of the form to which the selected identified concept was visually linked. 12. The non-transitory computer-readable storage medium of 13. The non-transitory computer-readable storage medium of 14. The non-transitory computer-readable storage medium of accessing a workflow definition comprising a set of dialog nodes, the dialog nodes representing dialog states within the conversation and having corresponding execution requirements; tracking a current dialog state of the conversation throughout the conversation; and identifying the plurality of concepts from the utterance at least in part based on the current dialog state. 15. The non-transitory computer-readable storage medium of 16. The non-transitory computer-readable storage medium of 17. A communication server comprising:
a computer processor; and a non-transitory computer-readable storage medium storing instructions that when executed by the computer processor perform actions comprising: obtaining a natural language utterance of a user within a conversation with a human agent via the communication server; based on a state of the conversation, using a natural language understanding model to identify a plurality of concepts from the utterance; and presenting, to a human agent, the identified concepts and a transcript of the conversation within an agent desktop user interface, such that the human agent can use the agent desktop user interface to approve or modify the identified concepts to be included as input for a workflow objective, the agent desktop user interface comprising: a first region displaying the transcript of the conversation, a second region displaying the identified concepts, a third region displaying a form used to fulfill the workflow objective, and a visual link between ones of the identified concepts and corresponding ones of fields of the form; wherein the human agent approves the identified concepts by selecting one of the identified concepts, such that a value of the selected identified concept is populated within a field of the form to which the selected identified concept was visually linked. 18. The communication server of accessing a workflow definition comprising a set of dialog nodes, the dialog nodes representing dialog states within the conversation and having corresponding execution requirements; tracking a current dialog state of the conversation throughout the conversation; and identifying the plurality of concepts from the utterance at least in part based on the current dialog state. 19. The communication server of 20. The communication server of
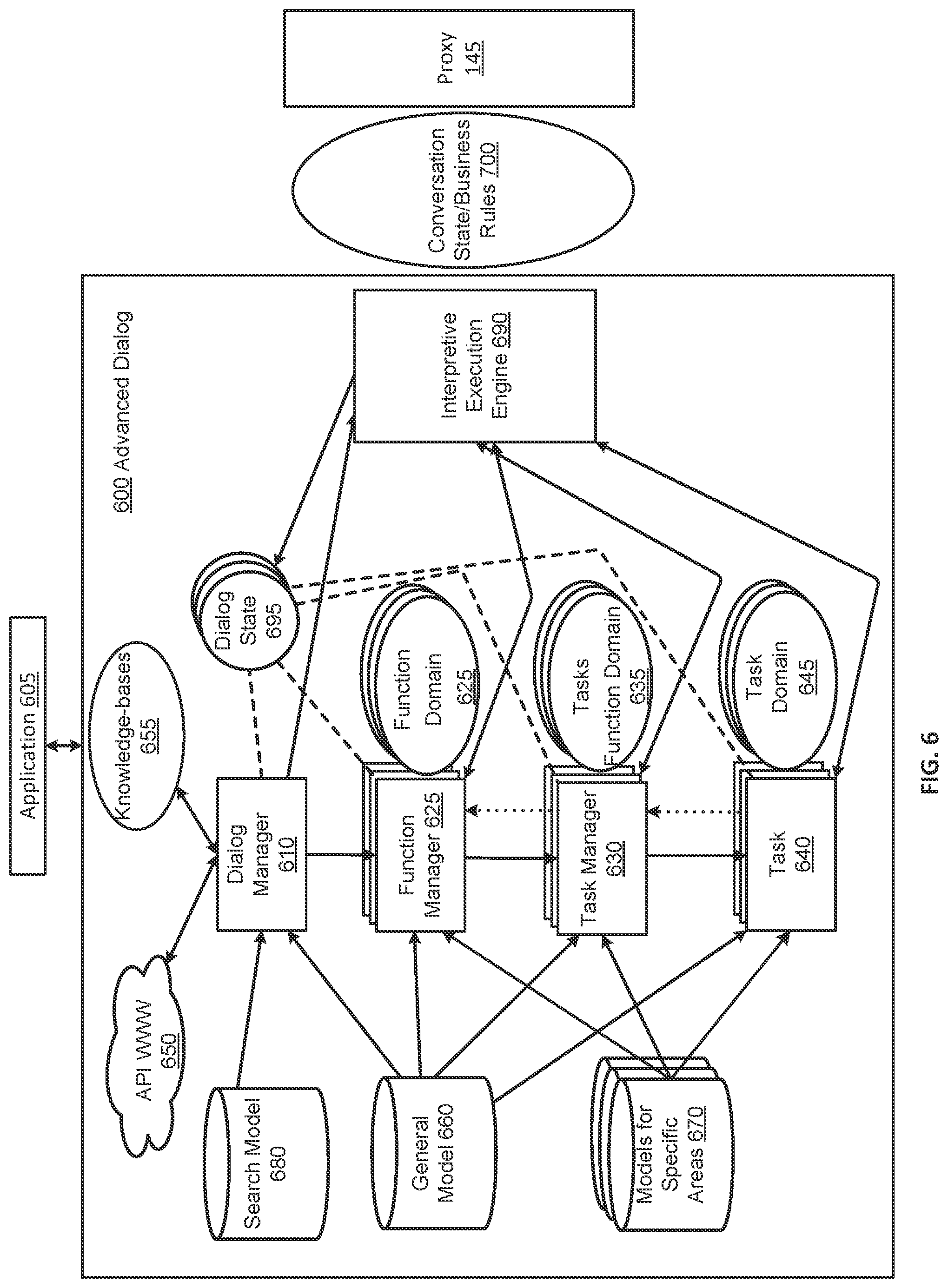
This application is a continuation-in-part of U.S. patent application Ser. No. 16/836,487 filed on Mar. 31, 2020, which is hereby incorporated by reference. The present invention generally relates to the field of human-computer interaction, and more specifically, to systems and user interfaces that facilitate human-computer interaction through processing of natural languages and other forms of human expression. Technology and investment in Artificial Intelligence (AI) and its application to customer service has increased in recent years, resulting in much more powerful ways of interacting with the consumers called Virtual Assistants (VAs) (software that interacts with users to respond to needs expressed by the users). Among the leaders in VAs for personal use are Apple's™ Siri™, Amazon's™ Alexa™, Microsoft's™ Cortana™, and Google™ Assistant. Each of these companies in the VA space has invested substantial resources in Artificial Intelligence (AI). Current systems for virtual assistance in customer care are often completely automated for simple tasks and provide automation support and routing into the appropriate company service representative (agent) to complete more complex consumer inquiries. Most traditional automated customer care solutions are driven by simple directed dialogs, such as Interactive Voice Response systems (IVRs). Today's customer care VAs are more complex. Automating customer care systems requires significant investment in highly-skilled technical resources and significant efforts in maintenance. VAs use more sophisticated dialog systems, with open-ended responses, requiring the services of Artificial Intelligence (AI) to automate conversations. Building and maintaining AI systems that learn from data often involves laborious labeling of data by professional annotators and experimentation by skilled researchers to produce effective AI models. Testing VAs for customer care requires a significant investment in skilled technical resources. For marketing and legal reasons, companies often require well-scripted dialogs, whether with a live agent or an automated system. Error management and edge conditions—that is, what to do when the VA does not fully understand the conversation—is one of the major problems for VAs. In such cases, systems have traditionally required extensive “re-prompting”, “confirmation”, or “clarification” to verify AI understanding, resulting often in frustration for the consumer and subsequent transfers to human agents. Not only does this reduce consumer loyalty, it also incurs cost for the company fielding the VA. For companies seeking a high level of customer experience, forcing consumers to adjust to their automated systems can result in lower NPS (Net Promoter Scores) and customer churn. It is also difficult for human agents during a customer conversation simultaneously both to respond to the customer and also to interact with a computer system to carry out the customer's wishes. Traditionally, agents such as call center employees, sales representatives, and others who interact with customers by telephone or chat, are obliged to multi-task between managing conversation with the customer and interacting with various underlying enterprise systems and interfaces. For example, as travel agents interact with customers they must simultaneously type data in to forms that enable them to look up available flights, car reservations, hotel rooms and so on. This process can be cumbersome and adversely impact the experience for the customer while the customer waits for the agent to complete an interaction with the system and resume focusing on the conversation, and additionally puts cognitive strain on the agent, who must simultaneously deal with the customer and with (often a range of) computer systems. Additionally, conventional systems do not provide the agent with assistance that is synchronized with the current state of the conversation. One alternative solution is to handle the customer call wholly with an intelligent assistant and not engage a human agent. However, although this solution works for simpler tasks, given the potential for error in automated systems and the difficulty of authoring effective conversational AI systems, it does not scale well to more complex tasks. Alternatively, if an automated system “listened in” on the communication and automatically completed forms and workflows for the agent, it would still suffer from the fact that recognition and understanding of free flowing human-human communication—especially audio—is error prone, and automatically completing tasks can result in errors that the agent would be obliged to undo and correct. The disclosed system applies artificial intelligence to the understanding of natural language within a human conversation in order to assist a human agent when supporting a customer or other user seeking to accomplish a goal using the system. A natural-language customer service interaction system solves the challenge of improving the user experience in customer-agent conversations by introducing an agent assistance module that “listens in” to user conversations in real-time, recognizes and interprets the conversation, and uses that interpretation to populate a dynamic visual interface for the agent. In addition to providing an incremental and persistent presentation of the conversation as it unfolds, the interface identifies concepts that arise in a conversation and presents them graphically to the user (e.g., as “concept bubbles”) as actionable items that can be manipulated in order to assist and accelerate the agent's use of underlying information and workflow systems. For example, in some embodiments the agent assistance module identifies dates, location, and times referenced in a conversation and presents them as visual icons in a scratchpad user interface, such that the human agent can choose to visually manipulate (e.g., select, or drag and drop) the icons in order to fill out portions of an interactive form. In other embodiments, the agent assistance module is used to pre-populate high confidence results into the form, without first requiring agent confirmation. This invention overcomes the limitations of automated recognition, interpretation, and tracking of a conversation by providing an interface that allows the agent to use concepts when they are understood correctly or alternatively to ignore or actively dismiss them when they contain errors. Thus, the system couples the ability to recognize concepts within a natural language conversation with a user interface for presenting agents with those concepts and allowing them to manipulate those concepts to accomplish user goals. In some embodiments, the techniques disclosed herein are performed in concert with a fully automated system. In cases where the automated system has low confidence in its interpretation, or when business rules dictate, the automated system transfers or delegates the communication to a human agent. The system described here presents the progress in the current state of the conversation as a chat dialog to the agent, and in some cases presents items that were interpreted as concept bubbles that the agent can choose to use in order to advance the agent's workflow. The features and advantages described in the specification are not all inclusive and, in particular, many additional features and advantages will be apparent to one of ordinary skill in the art in view of the drawings, specification, and claims. Moreover, it should be noted that the language used in the specification has been principally selected for readability and instructional purposes, and may not have been selected to delineate or circumscribe the inventive subject matter. The system is designed for customer service interactions, which include any consumer-to-business conversation. The customer service industry has a large variety of conversations, from a food ordering use case “I want a large pepperoni pizza,” to a large technology company technical support use case “I have a problem with my phone overheating”. Consumers communicate to companies through a variety of channels 105, traditionally through phone calls and SMS, and more recently through what are called social channels, such as Facebook, Instagram, Twitter, Snapchat, WhatsApp, WeChat and others. A consumer decides on a device and method of connection. Depending on the device, the conversation can be multimodal and multimedia. As an example of multimodal communication, instead of telling or typing for the system a serial number of a device, the consumer can take a screenshot and send the image of the serial number to the system. The image can be read by an AI Image understanding service 810, which derives the serial number from the image and provides the serial number as a contribution to the to the unfolding conversation. New channels, devices, and methods for communication are added into the marketplace all the time. This disclosure will focus on a conversation which can include a variety of channels and modes of communication, but is simplified into the concept of a conversation, which could include a multimodal conversation on a smart device, such as a phone or tablet. A conversation 103 is initiated by a consumer or the system (e.g., by an individual consumer, or by an employee of a company), by connecting a device to the system or connecting to the consumer. This connection could be made by a traditional phone call, mobile call, text message, email, social direct message (DM), a chat session 105, or a social post 160, as non-limiting examples. A conversation 103 is then started. One of the first responses from the system may be to identify the consumer. For example, the consumer may hear or see a system greeting such as, “Welcome to ABC company's virtual agent! What is your name?” Identification of the consumer may use consumer security services 106, biometrics, and/or other means of identification, such as personal information. The user may answer the system by stating his or her name, and the system could use both name biometrics, and name lookup based on the user's provided name, as two factor modes of identification. In the case of textual data (e.g., name) without accompanying biometrics, the dialog 600 may respond with additional questions, which may include passwords or other uniquely identifying information, which the system would encrypt and redact (e.g., item 850 in Once the consumer is identified, the system looks up as much information about the consumer as is available through company information 162, through APIs 175, and through consumer databases 177. The system categorizes the characteristics of the consumer by demographics, psychographics, or company priority, as some examples, creating a consumer profile 170, which the system uses to tailor the conversation experience with the consumer. The tailoring of the system experience is governed by company configurations 180 or by system defaults. The system has many configurable parameters, which enables companies to adjust the system to meet business requirements. For example, for a highly-valued consumer, the system could be configured to converse solely with a live special agent, whereas for another consumer the system could use a combination of AI and HI to converse with the consumer. The conversation is managed by advanced dialog 600, which may proceed to try to understand the purpose of the conversation. For example, the advanced dialog 600 may create dynamic prompting by using NLG (Natural Language Generation) and text-to-speech 107 and media services 108 by asking “How can I help you <first name of consumer>?”, where the prompt can include text-to-speech audio and recorded audio. The system in its simplest form can be seen in The system can be configured to use AI 800 only for a specific application or set of tasks, such as those tasks collecting sensitive information, which could result in the system re-prompting and confirming the understanding results with the consumer. The system can be configured to use AI 800 and HI 900 understanding services 550 to minimize consumer time, which improves NPS (Net Promoter Score), and when AI is not “confident”, HI can be used to improve understanding. When configured, at any time that AI services 800 return less than desirable confidence recognition results to the proxy 145, the proxy requests the distributor 500 to use HI services 900 to assist with the understanding of the conversation. When HI 900 is used, AI assist 860 (see The system is designed to capture all the data from all parts of the system. The data lake 150 represents a store for all kinds of data. The lake 150 can consist of conversation data, “consumer inputs into the system”, and “responses system outputs to the consumer” (which can be live conversations), recordings, recording transcriptions, text, images, and logs, events, error messages, biometrics, AI data, models, model revisions, revisions of the dialog, HI data, HI quality data, consumer data, consumer profile data, company history data, knowledge-bases data, distributor data, and dialog state data, as just some examples. The system tries to maximize the quality of the data it stores. The system distinguishes data that is obtained from AI 800 from data that is obtained from HI 900. Without this distinction, AI 800 would train on AI data, which can be reinforced with AI models, reducing important edge conditions (i.e. AI doesn't understand what it doesn't understand). Data is organized by the system for tasks that the system performs. The system uses success metrics, such as time to perform the same tasks across all understanding services 550, or the number of conversational turns to perform the same tasks, as examples of quality metrics. Quality metrics are used by machine learning to weight HI data for either supervised or unsupervised learning. Most conventional AI systems require well-structured and well-labeled data provided by professionals to ensure the accuracy of data for machine learning. The system is designed in a way to maximize the use of all HI data, which in some embodiments uses a form of crowdsourcing of its HI, in off-peak hours, by sending the same conversation to multiple agents 950, using a clear majority of results as weighted data for machine learning. This technique can virtually eliminate the need for professional data labelers. In Since the system is mostly data-driven, new techniques, functions, and algorithms can be programmed into the system, while maintaining backward compatibility. New functionality may require new system configurations. AI Services 800, 810, 820, 830, 840, 850, require model building using machine learning 300. Algorithms used for model building can include deep neural networks and/or other model types to produce acoustic, word, intent (classification), and confidence models. The system also produces models that are used by the advanced dialog 600 models for the HI assists 860, 870 of As the advanced dialog 600 learns more capabilities, the tasks that the dialog 600 can successfully perform are added as capabilities of the AI system. For example, assume that a consumer wishes to make a hotel reservation. The type of the consumer influences the dialog requirements 520, as do the associated tasks 420 (see Dialog requirements can vary by consumer. For example, a platinum level consumer (a highly-valued consumer), may be connected by the distributor 530 to a live agent 950. If by chance there is a large queue for these specialized agents, the distributor 530 could use a dialog asking if the consumer would like to be scheduled for a return contact by the specialized agent or to proceed with the automated system. In contrast, the distributor 530 could send a less valued consumer to the AI virtual assistant. Such decisions may be specified by a policy (e.g., that consumers with certain attributes—such as platinum level status—are to be handled by HI, and other consumers with other attributes are to be handled by AI); such policies may be consulted by the distributor 530 when determining whether to use AI or HI for a given conversation or portion thereof. There are two main operations of the advanced dialog 600: i) configuration of the dialog nodes, and ii) execution of the dialog by the interpretive execution engine 690. The advanced dialog system 600 is interpretive and is executed by predefined configurable components. Being interpretive enables the system to change in real time by changing configurations or adding instructions to the execution engine 690. The system also is configured to be able to run tests, with a layering of environments from development to test to company test to trial production to live production. The execution engine 690 can have company-specific application code added into the system, which provides flexibility to the system for tailoring to company requirements. The execution engine 690 not only executes the dialog but also executes APIs and custom APIs with the data map, which enables communication with a company's systems, fires off business rules 770, and adjusts the application dialog state 695. When execution of a dialog component is completed and the business rules 700 are satisfied, the advanced dialog 600 updates the state 695 of the dialog, determines the next step in execution (and possibly executes another prompt to obtain additional needed information, if any), and then supplies the distributor 530 with dialog requirements for an understanding service. The advanced dialog 600 enables connections to the interne to perform searches or to interface with VAs to search for information and to communicate with other VAs, such as Siri™, Alexa™, Cortana™, or Google™. The advanced dialog 600 has the ability to find answers and search a company's knowledge-base. The advanced dialog 600 need not have a predefined sequence of execution. It has a starting point, but allows navigation to the consumer conversation to fulfill the consumer's requests. The sequence is determined by the path the consumer wants to traverse to accomplish the consumer's goals. Any dialog component, or node thereof, can be executed at any time. The dialog state 695 tracks the execution requirements of each of the nodes, 610, 620, 630, 640. For example, payment information for a hotel reservation may be incomplete and the conversation accordingly may be suspended, since the consumer requires the system to look up the consumer's bank account number via the internet. Then the consumer may want to know the consumer's checking account balance and to transfer money from savings, prior to completion of the electronic payment from the consumer's checking account. In some embodiments, as is discussed in more detail later below, the advanced dialog 600 is a dialog system , such as (for example) a propose-decide framework, where the dialog manager 610 and Understanding Services results from the proxy 145, polls each of the dialog components, 640, 630, 620, to decide which component can provide the best answer or interpretation to the current conversation. Dialog tasks 640 can include one or more tasks, and a dialog task in turn is managed by a task manager 630. For example, the task manager 630 could represent the process of paying by credit card. In this case, the tasks 640 could be to collect credit card number, expiry date, or security code. When the consumer is asked for choice of payment type (e.g., “how do you want to pay for . . . ”), the consumer may answer “by credit card”. The Function Manager 620 for “payment” may manage the task managers 630 for all sorts of payment options, such as a check, credit card, PayPal™, Rewards, etc., assigning the work to the “credit card payment” task manager to perform credit card payments. Another unique aspect of this system is its ability to test “success” by comparing results from dialog automation to HI performance. The recognition/redaction component 850 of AI services 800 transcribes the conversation between the agent 950 and the consumer 101. In some embodiments, the script and workflow analysis 410 of the system compares results of tasks performed by agents 950 with the same tasks performed by the advanced dialog 600. In some embodiments, testing is automated by the system acting as the consumer during conversations associated with the tasks 640, and comparing AI to HI results in the data lake 150, for the same tasks. When the automation obtains a configured success threshold, which can be measure as the percent successful AI performance of the tasks, vs HI task performance, these tasks 640 are added into the capabilities of the advanced dialog 600 and can be assigned by the distributor 500. This threshold could be calculated automatically by the system, where the system weighs the goals of support costs vs. consumer time, and determines that 90% of HI success is an acceptable threshold, and/or could be added into the system in 185. The dialog manager 610 can represent a network of dialogs (or applications). Business rules 700 are entered as scripts into the system and can be interpretable scripts in scripting languages such as JavaScript, or Python, or executable code such as native operating system binaries, bytecodes for a virtual machine, or the like. Business rules are executed whenever dialog state changes. As one example of a business rule for payment, a rule could require a credit card expiration date to be more than 1 year in the future. Such a rule would not make sense as data entry validation, which would be part of credit card expiry date entry. Business rules 700 may be defined at any “node” 610, 620, 630, 640 of the advanced dialog. The business rules 720, 740, 760 execute when the dialog logic completes within an execution step of the dialog node. If the dialog logic is if not satisfied, the advanced dialog 600 is programed to manage the error. AI Services 800 include services such as understanding services like image processing 810, (facial, iris, drawings, signs, maps, photographs, drawings, hand gestures, etc.), ASR (Automated Speech Recognition) 820, and NLP (Natural Language Processing) 830. Some of the specialized capabilities of the systems for ASR and NLP is described in U.S. Pat. Nos. 10,096,317 and 10,216,832 are incorporated herein by reference. One unique capability of the system is the proxy 145, as described in U.S. Pat. Nos. 8,484,031; 6,025,785; 9,245,525; 9,741,347; and 10,049,676. The proxy 145 analyzes information about the consumer, current conversation, and conversation history, accordingly updates dialog requirements 510. The proxy 145 can evaluate the results from AI. HI services 900 provide a spectrum of human understanding services, ranging from simple word corrections in voice to more complex technical issues. Recognition/redaction component 850 is configured to run on live conversation, or on recorded conversations, transcribing and monitoring conversations, for: i) Identification of functions and tasks that automation could provide, where the system, if configured to do so, can transition from a live conversation to an automated conversation, can delegate tasks 870 to Agents/Intent Analysts, and ii) Identification of SPI (Sensitive Personal Information) within conversations between an agent 950, and the consumer 101. The system can identify when an agent (HI) 950 is receiving personal information within the media stream. Such SPI can be redacted from the conversation by the recognition/redaction component 850, and processed by the system so as to ensure that privacy is maintained. The system may also distribute the conversation to different agents 950 as separate portions, such that the SPI cannot be obtained by any one agent. For example, a credit card number can be broken up into several utterances (e.g., the credit identification number, and two sets of four digits, the expiry date, and the security code) and distributed to different agents 950. Alternatively, if the agent 950 had the appropriate security clearance, redaction would not be necessary. The agent desktop is equipped with an AI assist user interface 860, in which the agent selects the intents proposed by AI or types in or otherwise inputs text to select intents. Other agents 950 could be trained to enter data for specific tasks (an example of task delegation 870) to complete tasks for the conversation. Certain agents 950 may be configured with the ability to enter freeform information. This freeform information would cause the automated system to connect directly with the agent 950. The Agent desktop 870 can also be configured to receive tasks, such as name and address entry, either asynchronously (where the system would continue with the conversation with the user) or synchronously, where the user would wait for the task to be completed. In some embodiments, a general abstract web service API is used for task delegation, minimizing the need for a direct API and connection with the system. AI assist for the agent can be combined with the agent desktop 870. The conversation with the task could be recorded and the audio sent, if necessary, or the system could fill the required data and send it to the agent for entry into the customer system. The proxy 145 uses the distributor 530 to request HI for interpretation of a conversation with a consumer when AI understanding services 800 does not have sufficient confidence, and/or does not have an intent that meets the conversational requirements configured in the system (e.g., the current conversation is at a state in which the user is expected to provide product information, yet AI 800 determines that the user appears to be expressing an intent to speak with a customer service representative). The data provided by HI 900 becomes valuable training data for the machine learning 300. The system also tracks the agent 950, using analytics and metrics to assess and quantify agent quality. Quality of agent performance enables the machine learning 300 to weight the data for building better models. This agent quality metric could be associated with the agent from external systems such as Avaya™, Genesys™, Zendesk™, Nice™, and CallMiner™. Measurements of agent quality can be obtained by comparing the effort and time an agent takes to perform certain tasks to the effort and time that other agents take. The system understands how to perform “gold standard” transactions. A new agent, or existing agents, are asked to perform these transactions by sending text, media, or recorded consumer conversations for specific tasks to the agent. The results of these transactions are then graded as a quality metric. Agent voice quality is analyzed and used as one of the characteristics of the agent. Other indications of agent quality can be obtained through surveys. The agent quality metric and characteristics can be used by the distributor 530 as part of the capability of HI 900. Given a sufficient amount of data such as tasks performed by all agents 950, transcribed conversations, agent quality grades, and data entered by the agent (successful transactions), machine learning 300 can use that data to generate better models and thus improve AI in the system. In Consumer: Hello Agent: Afternoon and welcome to Hyatt Rewards. May I have your phone number or your rewards number, since we don't seem to match your telephone number in our system? Consumer: Yeah, I am calling from my work. My number is 555-555-5555. Also you can add my work number into the system, which is 222-222-2222. By analyzing 410 the script, the system can decompose the script into several components: (1) Task : system greeting, using configuration data (2) Task : collect consumer identification
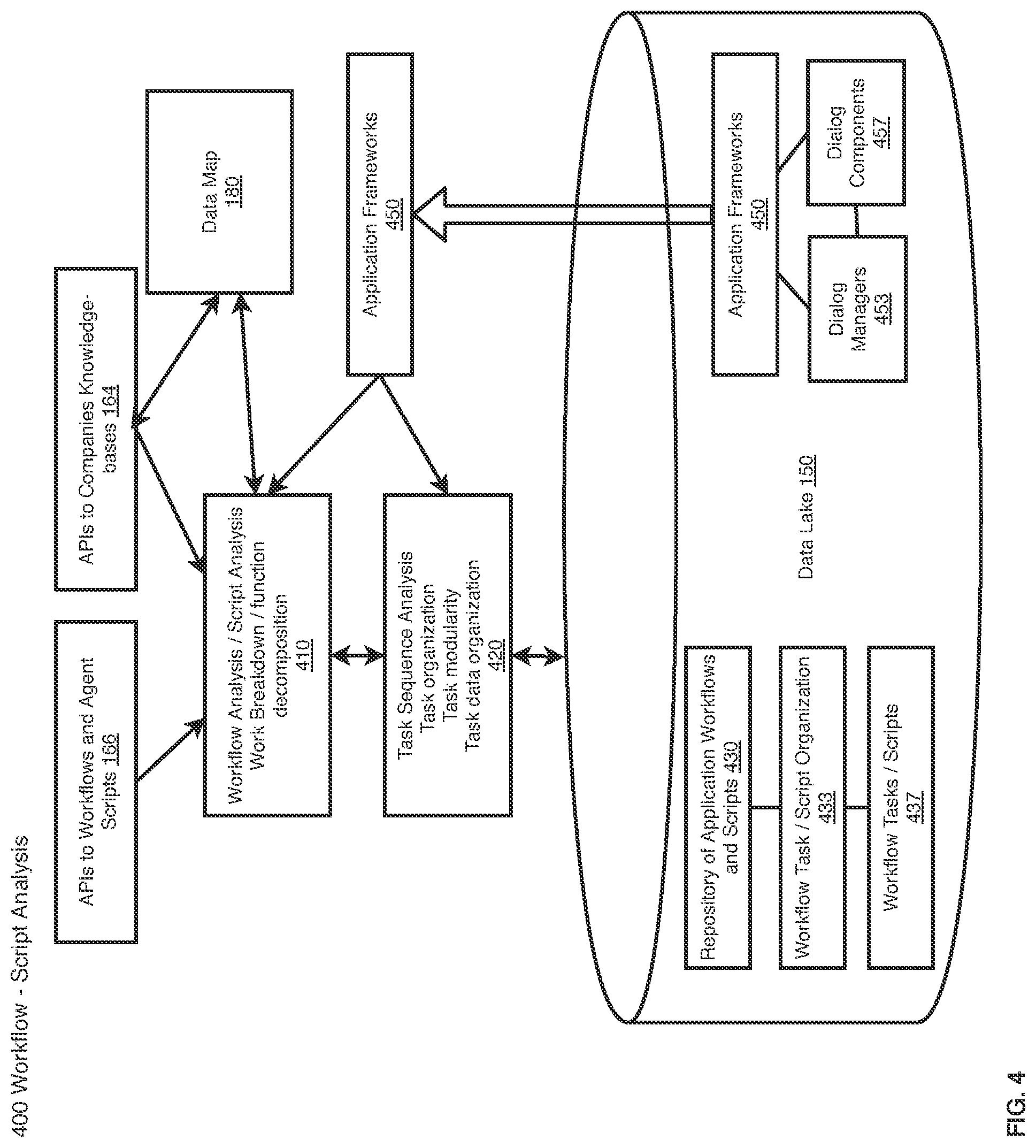
(3) Task Collect Phone Number to search (4) Task Collect Alternate Phone Number which also uses (3). By breaking down the agent conversation, these tasks may be added into the tasks 640 that AI performs, since the task is already understood by the AI system, in a dialog component 457, to enter a phone number. The system may also have an API to the customer system that enables it to post data it collects or learns to collect to the customer system. An example of configuration data can be as simple as defining the company name, where the first prompt of the system may be composed of code that supports prompting for literal text, followed by any amount of variable data items, followed by more literal text. For instance, the prompt may be “welcome to”+<ABC Company>+“how can I help you?”, where <ABC Company> represents a variable data item that may be filled with a company name. If a dialog component lacks the required data to execute (e.g., it lacks a value for <ABC Company>), the system can use HI to converse with the consumer while collecting data to configure the task 640. The matching is done through understanding the workflow of the scripts, their options, data that is collected by the agent, collection logs with time stamps, etc. For example, if there is no script which allows for both searching for rewards by phone number and adding an alternate number into the system, the system knows the agent steps: (1) the data that was collected, using “search” for rewards by phone number, then step (2) data collection of the alternate phone number, these two tasks, which the agent performed were manually entered, as part of the agent script, entering the alternate phone number. The data map 180 maps data from company syntax and semantics to system syntax and semantics. The data that is collected in the workflow forms 420 is mapped into the system data and forms, which enables the system to match application frameworks to the company workflow. The system workflow is represented and displayed to the company in a GUI 185 using company syntax and semantics. The company can select application frameworks 450 that best represent the company's industry and customer care applications. This selection allows the system to match the company's applications. The company configures, customizes, and adjusts the standard dialog components 457 and business rules 700, and adds dialog components if required. The company has the ability to build new application frameworks. Dialog components can be overridden or augmented by the company. The system enables on-going adjustments and additions to application frameworks 450, dialog managers 453, and dialog components, 457, (parts of the application 605 within the system which are needed to perform various functions and tasks including and not limited to dialog managers, function managers, task managers, tasks, AI, ASR, Natural Language Understanding (NLU), Text to Speech (TTS), Natural Language Generation (NLG), Machine Learning (ML), recorded audio, text, images, hand gestures, image recognition, etc. For example, entry of a reservation “from” date, a reservation “to” date, a hotel property, number of rooms, number of guests, payment and reward information, or other properties need not be programmed into the system, but could be understood through Workflow—Script Analysis decomposition 410 and analysis of data entry forms (data entered by the agent) 420, and then automated by matching the tasks and task organization to existing application frameworks 450 for reservations. Using the best fit method, the framework with the script is matched, and in turn is used by advanced dialog 600 to produce a reservation dialog, which in turn could be manually tested, or tested by running actual “conversations” from the data lake 150 through the system and comparing HI results to AI results data. An application 605 which executes within the system can comprise one or more dialog managers 610, each dialog manager managing a major function of the system. For example, the application for hotels—which can contain major functions of reservations, rewards, concierge services, or housekeeping, as some non-limiting examples—could have dialog managers 610 to manage each major function. Each of these functions in turn could have function managers 620, which focus on the function of reservations, for example. The function managers 620 in turn could have one or more task managers 630, such as hotel look-up. The task manager could likewise have one or more manager tasks 640 that it manages, such as city look-up, property look-up, or property selection. A reservation may be decomposed into tasks 640, such as entry of reservation dates, searching for a hotel location or a flight, or booking a seat or a room, as examples of some tasks and of their task sequencing. These tasks are organized by the task manager 630 as multiple functional steps associated with a reservation. The system reservations application framework 450 can be used for various industries, such as plane reservations, hotel reservations, cruise reservations, and car reservations, as some non-limiting examples. The framework gives the advanced dialog 600 executable structure, where the task decomposition gives the advanced dialog the data (including forms to fill) to complete the service interaction. Advantageously, this method of structuring a system can significantly reduce the need for programming and testing dialogs, though companies may of course still augment the default frameworks, configure the frameworks, and adjust the dialogs where needed. This is due to the fact that most changes are data changes and not code additions. As a result, only verification of configuration of the data need be performed, not execution of the system, which is predefined in the application frameworks. Well-defined, reviewed, and approved company agent scripts with data entry forms thus serve as input to the dialog system, with text-to-speech 107 enabling the generating of audio for the consumer as needed. This eliminates tedious legal review of a new dialog to define what consumers may hear or view. In some cases, skilled human supervision, adjustments, legal review, recording of audio, testing and validation may additionally be employed before live production. Turning to the distributor 500, when the system requires using an understanding service 550, it matches system resources with dialog requirements using a multidimensional matrix representing dialog requirements 510 (e.g., types of consumer characteristics, security requirements, tasks to be performed, tasks cost model) with the resources of capabilities/availability data 520 to assign the service to HI or AI, optionally using an acceptable configurable back off vector indicating a maximum degree of allowable deviation from the specified requirements. For example, a consumer characteristic with a value of 9 (e.g., representing an easily frustrated consumer) would be best matched with an agent with a corresponding characteristic with value of 9 (e.g., indicating that the agent has a calming disposition that is soothing to frustrated customers). Specifying a backoff limit of 5 would mean that the distributor 500 will first attempt to match the consumer with the closest agents with characteristic values in the range from 9 to 5, only placing the consumer into a queue if an agent matching that criterion is not presently available. The capabilities of the resources of the system can be adjusted in real time, as the AI learns more transactions. The distributor 500 periodically polls (polling period is configurable) the APIs 523, 526, 529, and accordingly adjusts agent services, capabilities, and availability. System services can be adjusted through configuration from: Artificial Intelligence (AI), to a mixture of AI and Human Intelligence (HI), to full HI. At all times, the distributor 500 has up-to-date information about its workforce and its capability, which includes both automated dialogs 600, understanding services 550, as well as AI 800 and HI 900. Statistics are constantly kept about the availability and capability of the workforce in order to maximize both AI and HI services. In some embodiments, dialog requirements matching resources of capability/availability 520 are described in a priority order, using customer profile matching as the first priority to match, with each of the profile characteristics being represented as an ordered pair, where one element of the pair is the desired value of the characteristic to match, and the other element is the “back-off matching threshold”. For example, the consumer profile 170 may specify a value of 5 for a particular characteristic of the consumer, and the configuration of the distributor 500 may have values of 5 and 2 for that characteristic, meaning that the consumer should preferably be matched with an agent that has a profile of 5, and no lower than a value of 2. Security has become an important aspect of any system. This system configures a vector of security to HI services to define capabilities and methods of processing or redacting special information from agents. For example, some agents maybe trained in HIPAA, a value of 6, where security clearance to process credit card information may have a value of 8. Agents that are long term employees who can perform all sorts of conversations, may have a clearance of 9, and their managers a value of 10. The distributor 500 matches consumers to automated components to handle interactions with the consumer, based on the characteristics of the consumer and the area of interest. This distribution method has been extended to include not only voice call services, but also to include multiple channels (voice, chat, text, social, web, audio visual, etc.). The system not only combines these “channels” of communication, but also understands multimodality and audiovisual elements, which modern consumer devices are capable of supporting. In some embodiments, the distributor 500 is trained using machine learning techniques to choose the best component for a given consumer. As the system learns successful approaches to performing a function (as indicated by corresponding confidence scores), whether automated or by agent, characteristic of the consumer, capability of the agent, their quality as measured by results, or methods of automation, these successful features will be given higher weighting and the distributor will use this information to assign work appropriately. The distributor 500 works closely with the proxy 145. When the proxy 145 identifies a lower than desirable AI understanding threshold 840, the distributor 500 finds an available agent/intent analyst 950 to perform the understanding service 550. If no agent is available, the proxy 145 can decide to backoff the threshold criteria to a lower threshold of understanding or to put the request on “hold” until there is a suitable agent available. Whether the system employs a live agent or an automated system for communication with a consumer is opaque to the consumer, as seen in the simplified The proxy 145 uses recognition criteria—such as consumer conversation history, consumer characteristics, AI success of each turn of the current conversation (as stored in a dialog state 695) and conversation to date—to update dialog requirements for using AI or HI Understanding Services 550. The decision of the proxy 145 is independent of the distributor 500, the major responsibility of which is to match requirements and decide on resource availability to route the conversation. The advanced dialog 600, the workflow—script analysis 400, and the machine learning 300, may use information from external sources to build the dialog. For an example, a food menu with agent “scripts” can be used to build a knowledge graph of items, and the menu data, with agent conversation, agent scripts and transcriptions of conversations, can be used to match an application of the application framework 450 to order food. The knowledge graph dialog is described in U.S. patent application Ser. No. 16/265,668. The food menu and business rules can be augmented by the company 185. The knowledge graph gives a dialog manager an organization and method regarding what can be ordered and how to select choices, where the agent scripts give the workflow—script analysis 150A the types of “prompts” associated with order, the many consumer conversations provide data for the AI models (e.g., transcribed words, associated sounds, entities and intents from transcriptions). Other application frameworks 450 may be used by the advanced dialog 600, such as a workflow-based approach, where the decomposition of the company work flow 420 into tasks gives the machine learning a method of matching tasks to the dialog components 457, and the sequence of these tasks provides a method of data organization to traverse a conversation. In some embodiments, the workflow-based approach is combined with a propose-decide-based advanced dialog 600. An advanced dialog 600 based on a propose-decide framework can be represented as a set (pool, or a hierarchy), of dialog components, each with a specific domain knowledge and set of business rules, and a specific set of goals to accomplish. In an embodiment employing hierarchies, each level of the hierarchy has knowledge of the levels below and relies on the expertise of the levels below for their ability to perform tasks. If AI understanding at a task 640 doesn't understand what the consumer wants (i.e., the confidence score of the AI's interpretation is below a given threshold), it elevates the part of the conversation to the dialog component “above” in the hierarchy. For example, referring to As noted, capabilities can be hierarchical; for example, the reservation capability of a function manager 620 could be assigned to an agent who can enter a complete hotel reservation. A subtask, such as locating a property, may be assigned to an agent just starting who is assigned a capability of task 640 (e.g., “hotel lookup”, where all the agent is trained to do is to find a hotel). These capabilities when learned by the system can be assigned to automated tasks. The following provides a specific example for the hotel industry, according to some embodiments. An example of how the system maybe initialized by the customer: The customer may choose to enter all information into the system manually, by the data entry person, 185. They may select a sample template of their industry, from a GUI listing industry types, e.g. Hospitality, and framework dialogs to configure (reservations, rewards, billing, etc.). Customer specific information may be added, such as company name, and data could be loaded, like hotel properties and their name and organization. Data entry can be used to specify data names and descriptions that are familiar to the company, and descriptions, overriding the existing defaults. The system could then start to play an automated dialog where the data entry person could adjust rules (e.g. for reservations, such as the rule: if the hotel is 100% booked and the user is an elite member of rewards, then book their reservation, allowing a reservation to lapse for the latest arrival, booking to a nearby property). The default forms from the template would show the required fields for entry by the user, where data entry could add or delete fields within the forms. The form field ordering may dynamically change by specification. For example, a hotel booking may order the fields as property, then day, then number of nights. Data entry could change the order to day, then number of nights, and on another form facilitate a property search to select a hotel. For cruises, the conversation may start with a destination, optionally selecting a ship, then dates. The system is flexibly configurable and can run in a trial and QA mode dynamically as changes are made. In addition to data entry, the system can consume existing forms, data names, and descriptions electronically, even decomposition company work flows, such as: the first step is identification of the user; step two is establishing the user account; step three and so forth are tasks which are ordered by the customer's system. An application for the hotel industry, in the system, may consist of the following major functions. The structure of customer conversations in the hotel industry could be arranged as follows: Main Menu:
For the purpose of the use case we will focus on Reservations and Rewards. Note from the above information and associated “agent” scripts from the customer, the workflow information can be consumed from the API 166. Analyzing the agent scripts and the associated screens 410, and the data map 180—which maps customer-specific names like “bonjour number” to the generic system name “reward number”—the data entry screens, hotel look-up, booking, and payment, can be analyzed into discrete tasks 420 with the associated scripts used by the agent. An application framework for hospitality, which would be defined into the system, which may have 2 or three frameworks depending on the “property characteristics”, would have an existing hotel reservation framework, with dialog managers and components. The organization flow of the customer system may not be defined in the system. That is, there may be no relationship in the software of the flow of control of the company system, but the agent performs the flow of control because they are trained in the company system. The flow of control could also be discovered from the logging of the transactions, date and time of data entry, into the database, for example in the use case below, the log is look-up of ANI (caller ID), no match, identify user, hotel search, etc. Analyzing the log information of company system, enables the workflow analysis to decompose the customer system into tasks, and then match these tasks to the template, which is organized in the system. This is all done prior to runtime, and can be updated with new workflows from the customer system. Business rules 700 may not be available at time of workflow script analysis 400, and may require data entry by 185, default rules are established in the frameworks. During execution, the new system has the execution flow and business rules in the advanced dialog 600. The definition of the application and the advanced dialog is in the framework provided in the system 450. Execution happens upon events such as the arrival of an email, the posting of a social post, the receipt of a phone call, etc. With identification of the consumer or user, the event themselves, use the state information 695 to either start the dialog or to pick up from previous state. State preservation can be company-defined. For example, a reservation conversation that is partially completed may be open for 1 week, unless the date of the reservation is past. Principles similar to those for Web, Mobile, and Text apply to voice calls when calling a hotel 800 number. The main number may respond to the inquiry with a prompt such as, “Welcome to <hotel name>. How can I help you?” This part of the dialog would be in a function call greeting. The desktop of the agent would have a script with a variety of system screens and data entry tasks. The following identifies the system screens and possible logic for one example in the hotel industry: System: “Welcome to <name>hotel.”
System: “How can I help you?”
System: “Are you an existing customer or a new customer?” Customer: Existing. System: “Can you please provide me with a phone number, reward number, or name and address?” Customer: My phone number is 555-555-5555, but also please add my work number to my profile.
System: “Please wait while I update your profile.”
Customer: Near downtown.
Customer: One night. Just me.
System: “You're all set. Your reservation number is xxxxxxx. You are confirmed for one night at the Chicago Suites Hotel. Is there anything more that I can do for you today?” Customer: All set, thank you. Good bye.
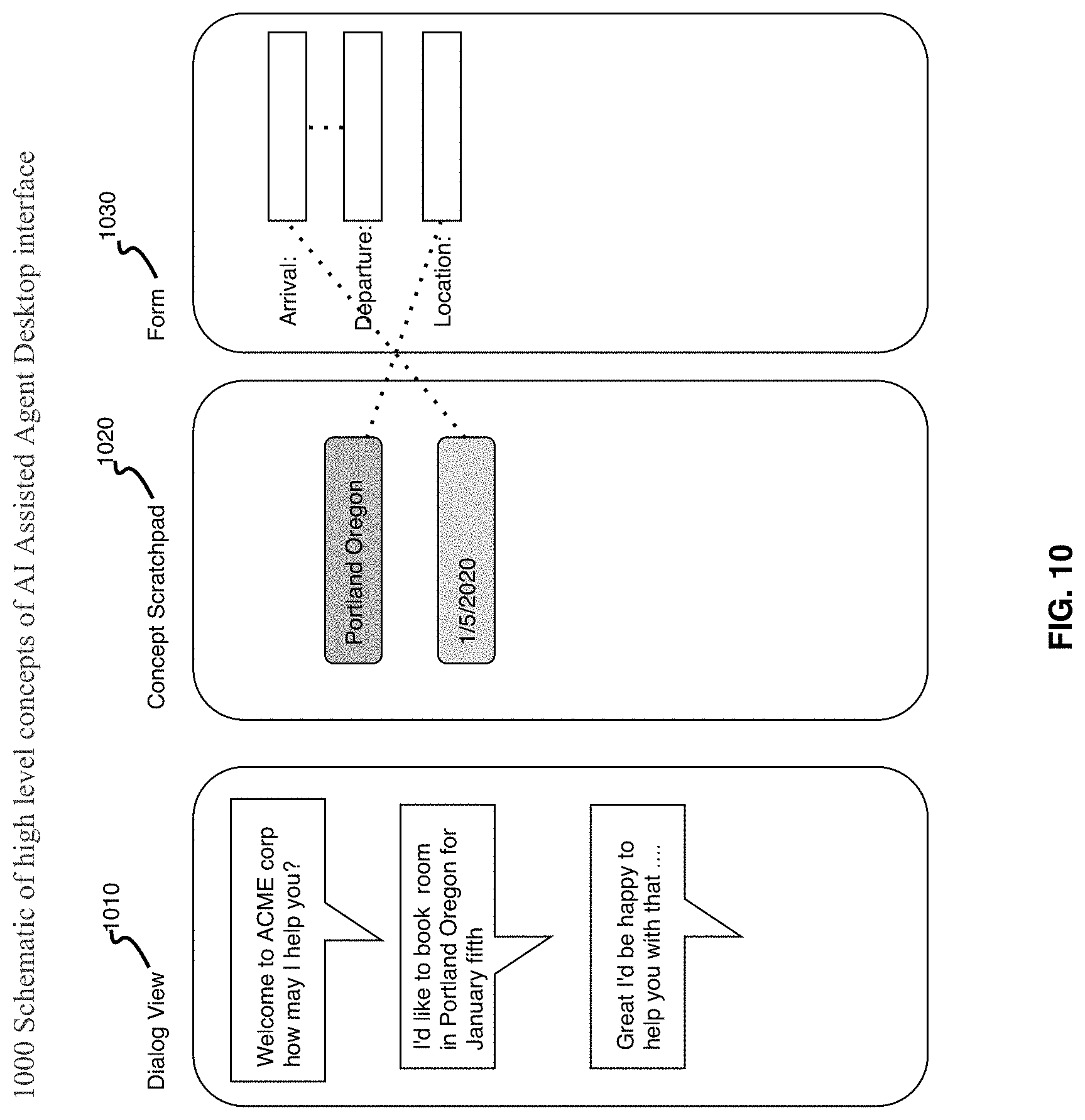
In some embodiments, AI Assist to HI module 1360 provides support to a human agent when interacting with a customer or other user. The AI Assist to HI module 1360 “listens in” in real time on the conversation between customer and agent, recognizes what is being communicated, tracks the conversation, and represents recognized information as objects in a graphical user interface (hereinafter “agent desktop interface”) that can be used to accelerate the process of accomplishing the customer's objective for the conversation. (The term “workflow objective,” as used herein, refers to the goal of the current workflow for the customer's objective. For example, if the customer has the objective of booking a hotel room, the workflow objective might be to fill in the pertinent information about the desired hotel stay into a form that will enable the system to send a booking request to a hotel's booking system.) This includes easing the burden of agents filling in pertinent forms, such as by pre-populating results within the agent desktop interface where there is sufficient confidence in those results. For example, in some embodiments, key concepts that the customer mentions during the conversation appear as visual elements in a scratchpad user interface that the agent can choose to drag and drop into forms and workflows. Thus, in addition to providing an incremental and persistent presentation of the conversation as it unfolds, in some embodiments the agent desktop interface presents concepts that arise in the conversation as actionable “concept bubbles” that can be manipulated in order to assist and accelerate the agent's use of underlying information and workflow systems. The AI Assist to HI module 1360 presents the spoken dialog (or chat) as it unfolds, including incremental presentation of ASR and Natural Language results. In either case, the spoken or chat dialog appears in the user interface as if it were a chat. Natural language and dialog analysis are used to identify key concepts and turn them into graphical elements that the agent can act on (e.g., via a live scratchpad for concepts from the conversation). For example, instead of trying to type what the customers say, the agents can drag and drop key concepts from the ‘listening in’ AI analysis and use those concepts to fill forms or otherwise advance their workflow. AI capabilities can ‘listen in’ on the communication and assist the agent in real-time through a graphical user interface (agent desktop). In some embodiments, in addition to identifying actionable concepts from the customer's speech, the system also tracks the state of the dialog and provides hints to the agent regarding the agent's next statement in the conversation. For example, in the use case of The key components and their connections in order to enable the above user experience are now described. The communication server 1310 allows utterances to flow freely between a customer 1305 and an agent 1390, but also allows the agent assistance module to “listen in” on the conversation. In some embodiments the customer and the agent are connected together, through the telephony audio streams, based on a SIP (Session Initiation Protocol) connection. SIP is the regular protocol for multimedia communication sessions in applications of voice and video calls, IP telephony, and mobile phone calling over LTE. The communication server connects these two streams for text or audio for the agent and for the customer via a proxy 1315. A speech recognizer 1320 is used to convert the audio signal to a text transcript. The speech recognizer 1320 operates incrementally in that it generates text of partial hypotheses over time. These are handled by an incremental event handler 1330, which passes incremental updates to the AI Assist to HI module 1360. In some embodiments, the customer's interactions begin with an automated system, and in cases of low confidence, or where business rules dictate, the automated system delegates to or transfers control to the agent 1390. In these cases the agent desktop interface is used to present the current state of the conversation to the agent, and in some cases to provide graphical representations (e.g., the concept bubbles of In some embodiments the customer 1305 begins the communication interacting with an advanced dialog 1350, and in cases of low confidence or where business rules dictate, the system maintains control of the conversation but presents the state of the conversation to a human agent 1390, who can use the agent desktop interface to accept or correct the system's interpretation and then enable the automated system to continue its interaction with the customer. In order to avoid detracting from the customer experience, the system should be able to listen in on the utterances between customer and agent without adding perceptible latency. Updates to the agent desktop interface need to be rapid in order to avoid impacting the customer experience. The system may use dual websocket connections or other bidirectional protocols to send events among the different components (e.g., ASR 1320, 1 NLP 1370, agent desktop browser 1380, and AI Assist to the HI module 1360). The AI Assist to HI module 1360 acts not only to coordinate the events from all the active players and components, but also to monitor, 1365, and further to store, log, and present real-time analytics and future data for analysis. Moreover, the utterances in each stream are divided into tentative (hypothesized) portions of an utterance and completed (finalized) portions of an utterance, based on measures from ASR and/or NL. An Incremental Speech Event Handler component 1330 for audio events separates the stream of audio events by speaker and based on the timestamps associated with new tentative portions of an utterance and what is marked as complete, updates the utterance text to be shown in the visualization of the conversation. The Incremental Speech Event Handler 1330 receives events from the speech recognizer (ASR). These events can pertain to one of two streams: either the caller audio stream or the agent audio stream. These events are received incrementally while the agent or caller is speaking. Some events indicate tentative recognition hypotheses while others represent final or complete recognition hypotheses. The Incremental Speech Event Handler 1330 fields this stream of events and keeps track of the current best hypothesis so it can be provided for display in the user interface as the conversation unfolds. In some embodiments, timestamps on the incoming events (tentative or complete) are checked against the current best hypothesis in order to determine whether part of it needs to be updated, or if it needs to be extended. In other embodiments, the string overlap is used to determine whether a new incremental hypothesis extends the current best or replaces part of it. Furthermore, a “beginning turn” event from the ASR recognizer can be used to detect the time slot when there is a new input for the stream (either the agent stream or the caller stream) and based on this parameter the new tentative prompt can be separated from the rest of the accumulated context for the stream. The AI Assist to HI module 1360 sends ASR recognized utterances or text, to a natural language server that applies intent classification and tagging algorithms in order to assign intents to utterances and identify key concepts such as dates, names, location etc. These are passed back to the AI Assist to HI module 1360, which prepares updates combining the ASR and NL and passes them to the browser 1380 in which the agent can see the dialog unfold. In the case of spoken dialog, in case utterances are not recognized correctly, the interface also provides the agent access to the original audio. The agent desktop interface implements the functions for drag and drop of concepts into the web forms or workflow. When the form is complete the agent so specifies (e.g., by selecting a “search” button) in order to retrieve results. The example of The natural language processing 1370 in this example domain primarily includes extraction of entities, since the intent (hotel reservation and cancellation) is normally apparent. These entities include check-in/check-out dates, city, hotel name, amenities, and room type. NLP can be performed either locally in the agent assistance server, or in an independent NLP analysis server. The former option is faster. In the latter option, communication could be managed by intelligently timing the requests to minimize latency where NLP analysis might be required only when the utterance from a channel is close to the end and the next channel is close to the beginning of the new utterance. The agent desktop interface 1380 enables cooperation between the AI and the human agent. On the left side of the interface, the transcription 1010 of the caller and the agent shows up in real time. On the middle of the interface, graphical elements 1020 of the entities representing the key concepts of the reservation appear in real-time. In the hotel reservation domain, these key concepts include check-in/check-out dates in the right format (no matter how the caller expressed them), hotel name, city, room type, and amenities. Entity types are identified with specific colors to speed up identification by the human agent. The human agent's responsibility is to drag and drop the key concepts extracted by the AI to the forms 1030 for the hotel reservation on the right side of the interface. The agents can select or have the AI automatically populate concepts, adding them to forms and other aspects of their workflow. Therefore, all the analysis is processed by the AI but the final decision is made by the human agent, thereby obtaining close to 100% accuracy. At the end of the process, when the submit button 1040 on the form is clicked, the agent assistance web server is directly connected to a search API 1385 of a service for fulfilling the user request (e.g., that of the Expedia™ website for hotel reservations), and all the results are shown at the bottom of the service's web page (e.g., the hotel reservation service) based on the required attributes by the caller. Note that in the example of Reference in the specification to “one embodiment” or to “an embodiment” means that a particular feature, structure, or characteristic described in connection with the embodiments is included in at least one embodiment. The appearances of the phrase “in one embodiment” or “an embodiment” in various places in the specification are not necessarily all referring to the same embodiment. Some portions of the detailed description are presented in terms of algorithms and symbolic representations of operations on data bits within a computer memory. These algorithmic descriptions and representations are the means used by those skilled in the data processing arts to most effectively convey the substance of their work to others skilled in the art. An algorithm is here, and generally, conceived to be a self-consistent sequence of steps (instructions) leading to a desired result. The steps are those requiring physical manipulations of physical quantities. Usually, though not necessarily, these quantities take the form of electrical, magnetic or optical signals capable of being stored, transferred, combined, compared and otherwise manipulated. It is convenient at times, principally for reasons of common usage, to refer to these signals as bits, values, elements, symbols, characters, terms, numbers, or the like. Furthermore, it is also convenient at times, to refer to certain arrangements of steps requiring physical manipulations or transformation of physical quantities or representations of physical quantities as modules or code devices, without loss of generality. However, all of these and similar terms are to be associated with the appropriate physical quantities and are merely convenient labels applied to these quantities. Unless specifically stated otherwise as apparent from the following discussion, it is appreciated that throughout the description, discussions utilizing terms such as “processing” or “computing” or “calculating” or “determining” or “displaying” or “determining” or the like, refer to the action and processes of a computer system, or similar electronic computing device (such as a specific computing machine), that manipulates and transforms data represented as physical (electronic) quantities within the computer system memories or registers or other such information storage, transmission or display devices. Certain aspects of the embodiments include process steps and instructions described herein in the form of an algorithm. It should be noted that the process steps and instructions of the embodiments can be embodied in software, firmware or hardware, and when embodied in software, could be downloaded to reside on and be operated from different platforms used by a variety of operating systems. The embodiments can also be in a computer program product which can be executed on a computing system. The embodiments also relate to an apparatus for performing the operations herein. This apparatus may be specially constructed for the purposes, e.g., a specific computer, or it may comprise a computer selectively activated or reconfigured by a computer program stored in the computer. Such a computer program may be stored in a computer readable storage medium, such as, but is not limited to, any type of disk including floppy disks, optical disks, CD-ROMs, magnetic-optical disks, read-only memories (ROMs), random access memories (RAMs), EPROMs, EEPROMs, magnetic or optical cards, application specific integrated circuits (ASICs), or any type of media suitable for storing electronic instructions, and each coupled to a computer system bus. Memory can include any of the above and/or other devices that can store information/data/programs and can be transient or non-transient medium, where a non-transient or non-transitory medium can include memory/storage that stores information for more than a minimal duration. Furthermore, the computers referred to in the specification may include a single processor or may be architectures employing multiple processor designs for increased computing capability. The algorithms and displays presented herein are not inherently related to any particular computer or other apparatus. Various systems may also be used with programs in accordance with the teachings herein, or it may prove convenient to construct more specialized apparatus to perform the method steps. The structure for a variety of these systems will appear from the description herein. In addition, the embodiments are not described with reference to any particular programming language. It will be appreciated that a variety of programming languages may be used to implement the teachings of the embodiments as described herein, and any references herein to specific languages are provided for disclosure of enablement and best mode. As used herein, the terms “comprises,” “comprising,” “includes,” “including,” “has,” “having” or any other variation thereof, are intended to cover a non-exclusive inclusion. For example, a process, method, article, or apparatus that comprises a list of elements is not necessarily limited to only those elements but may include other elements not expressly listed or inherent to such process, method, article, or apparatus. In addition, use of the “a” or “an” are employed to describe elements and components of the embodiments herein. This is done merely for convenience and to give a general sense of embodiments. This description should be read to include one or at least one and the singular also includes the plural unless it is obvious that it is meant otherwise. The use of the term and/or is intended to mean any of: “both”, “and”, or “or.” In addition, the language used in the specification has been principally selected for readability and instructional purposes, and may not have been selected to delineate or circumscribe the inventive subject matter. Accordingly, the disclosure of the embodiments is intended to be illustrative, but not limiting, of the scope of the embodiments. While particular embodiments and applications have been illustrated and described herein, it is to be understood that the embodiments are not limited to the precise construction and components disclosed herein and that various modifications, changes, and variations may be made in the arrangement, operation, and details of the methods and apparatuses of the embodiments without departing from the spirit and scope of the embodiments.RELATED APPLICATIONS
FIELD OF ART
BACKGROUND
SUMMARY
BRIEF DESCRIPTION OF THE DRAWINGS
DETAILED DESCRIPTION
Industry-Specific Examples
Agent User Interfaces
System Architecture
Other Considerations