A method and system for monitoring an offender or defendant or potential victim utilizing multi-factor location verification. In one embodiment, the multi-factor location verification method and system utilizes GPS location data and WiFi router location data, transmitted on predetermined intervals by a wearable device and a smart phone, to determine whether the wearable device and smart phone are within a predetermined geolocation. If it is determined in subsequent transmissions of location data that not all location data is within the predetermined geolocation, an alert is sent out indicating that an offender or defendant or potential victim is no longer located within the predetermined geolocation.
1. A method of monitoring an individual, comprising the steps of:
a) providing an individual with a wearable device and a smart phone; b) connecting the wearable device and smart phone using a radiofrequency tether; c) using software to set a maximum allowable distance between the wearable device and smart phone; d) connecting the wearable device and smart phone to a cellular network; e) connecting the wearable device and smart phone to an internet service provider using a WiFi router; f) obtaining GPS location data by the wearable device and by the smart phone; g) obtaining WiFi router location data from the WiFi router by the wearable device and smart phone; h) transmitting the GPS location data and WiFi location data from the wearable device and smart phone to one or more servers; and i) comparing the GPS location data and WiFi location data from the wearable device and smart phone to determine whether the wearable device and smart phone are within the maximum allowable distance. 2. The method of 3. The method of 4. The method of 5. The method of 6. The method of 7. The method of 8. The method of 9. The method of 10. The method of j) receiving additional location data from the wearable device and the smart phone if it is determined that not the wearable device and smart phone are not within the maximum allowable distance of each other; and k) sending an alert if the additional location data does not demonstrate that the wearable device and smart phone are within the maximum allowable distance of each other. 11. The method of l) Sending connection data by the wearable device and smart phone to the one or more servers as to whether the smart phone and wearable device are connected to each other. 12. The method of 13. The method of 14. The method of 15. A system for monitoring whether an individual is within a set location, comprising the steps of:
a) providing an individual with a wearable device and a smart phone; b) connecting the wearable device and smart phone using a radiofrequency tether; c) using software to set a geolocation area, wherein the geolocation area is a maximum allowable distance between the wearable device and smart phone; d) connecting the wearable device and smart phone to a cellular network; e) connecting the wearable device and smart phone to an internet service provider using a WiFi router; f) obtaining GPS location data by the wearable device and by the smart phone at least every minute; g) obtaining WiFi router location data from the WiFi router by the wearable device and smart phone at least every minute; h) transmitting the GPS location data and WiFi location data from the wearable device and smart phone to one or more servers by the cellular network or internet service provider if the wearable device and smart phone are without a cellular network connection; i) comparing the GPS location data and WiFi location data from the wearable device and smart phone to determine whether all location data is within the set geolocation area; j) receiving additional location data from the wearable device and the smart phone if it is determined that not all location data is within the set geolocation area; and k) sending an alert if the additional location data is not all within the set geolocation area. 16. The system of a casing which is water-resistant; a tamper-proof band; a charger; a screen; a speaker; a microphone; software to permit biometric identification of the individual wearing the device; software to permit communication between the device and a third party or a third party device; and a camera. 17. A system for helping to prevent kidnapping, comprising:
a computer network; a central monitoring facility; a communications network; a first communication device; and a second communication device; wherein the first communication device is a wearable device comprising:
a global positioning system (GPS) receiver; a wireless telephone communicator; and a panic alert button; and wherein the second communication device is a smart phone; and wherein the first and second communication devices establish communication with the central monitoring facility; wherein the first and second communication devices are connected to a WiFi router; wherein the first and second communication devices obtain and transmit GPS location data and WiFi location data at predetermined intervals; wherein the GPS location data and WiFi location data from the wearable device and smart phone is reviewed to determine whether all location data is within a set geolocation area, wherein the set geolocation area is a maximum allowable distance between the wearable device and smart phone; wherein if not all location data from the wearable device and smart phone is within the set geolocation area in a predetermined number of subsequent transmissions of location data, a triggering event takes place and an alert is sent to the central monitoring facility to alert trained operators of a potential hostage attempt/kidnapping in progress. 18. The system of 19. The system of 20. The system of
Priority of U.S. Provisional Patent Application Ser. No. 63/129,744, filed 23 Dec. 2020, incorporated herein by reference, is hereby claimed. Not applicable Not applicable The present invention relates to an apparatus and method for monitoring an offender, defendant, or potential victim. In one embodiment, the present invention monitors an offender who has an upcoming court date (e.g., hearing or trial) wherein the offender pays an agreed fee to a first entity that is a monitoring entity. The first entity monitors the offender via one or more methods after the offender is released from jail. Based upon an agreed formula, the fee is shared with a second entity that is a law enforcement entity. If the offender fails to appear for a scheduled court date, the first entity learns of the failure to appear via remote monitoring, such as that done by a “smart” device (e.g., use of a “smart” phone or “smart” watch). The first entity then notifies the second entity or law enforcement entity who then apprehends the offender. After an arrest, offenders are in some cases released until they are obligated to appear in court before a judge or attend a hearing that is related to their arrest/accused crime. When these defendants or offenders do not show for their appearance or hearing, there is a need to have a notification of such failure to appear. There is also a need to apprehend the offender after such a failure to appear. The following possibly relevant patents are incorporated herein by reference:
Additionally, the following websites are also incorporated by reference:
The method and apparatus of the present invention solves the problems confronted in the art in a simple and straightforward manner. What is provided is a method and apparatus that helps solve some of the challenges that agencies are faced with regarding the monitoring of offenders. The method of the present invention provides an improved method wherein a defendant pays to enroll in a program featuring a first, monitoring entity and a second entity, such as a law enforcement entity. As part of the method, a percentage of the revenue received by the monitoring entity is paid according to an agreed formula to law enforcement and/or a prosecutor's office for each parish/county in which the program is implemented. As part of the method, law enforcement will use the funds to cover the cost to enroll defendants into the monitoring program. Law enforcement will arrest defendants who fail to comply with the terms of their release or fail to appear for court. This method can also include sharing of the agreed fee with a law enforcement agency (e.g. sheriff or police department and/or a prosecutor's office). Defendants will be monitored when released from jail. These methods include Telephony Network, GPS tracking, Wi-Fi tracking, mobile application, automated notifications, network triangulation, interactive voice interview. The present invention features a biometric voice verification system that tracks offenders/defendants via an app on a “smart” device, such as a smartphone (e.g., iPhone or Android) or a wearable device such as the Shad® Watch™. The system can be set up to ensure court compliance, sending notifications, such as court date reminders, automatically to the defendants. In another embodiment, the present invention utilizes a smartwatch as the tracking device. In various embodiments, the participant or enrollee can respond to notifications via the app. In various embodiments, the participant or enrollee can make payments. If a defendant does not show up for court, law enforcement officials can locate a defendant or the offender via the defendant's “smart” device (e.g., smartphone or smartwatch or both) and/or go back and review historical location data in attempts to apprehend the defendant. The defendants are billed directly for these services. In one embodiment, the fee collected from the accused or defendant is shared according to an agreed formula with a law enforcement agency (e.g., local jail or sheriff's office). Telephony network can include 2-way voice biometrics, cellular network, location verification, interactive review (self-report) or notifications via push, text, telephony (e.g., with ability to conference a live call). Continuous GPS tracking can be tracked via ankle or wrist devices. Mobile applications include GPS location verification, cellular network location verification, facial recognition, interactive interview (self-report), Bluetooth connected ankle or wrist device, live video as well as notifications via push, text (SMS) and telephony (with the ability to conference a live call). The present invention features automated notification to ensure court compliance and includes, push, text (SMS), court date reminders with custom notification such as court date change, etc. The present invention can also feature automated systems for collecting funds directly from the defendant. In one embodiment of the present invention, an officer can track a defendant's whereabouts and compliance history by either automated or manual intervention. The method of the present invention can include revenue sharing with a law enforcement agency and/or prosecutor's office, for example, and can include using law enforcement to arrest defendants. If a defendant does not show up for court, law enforcement officials can locate offenders via their smart device and the method of the present invention and/or go back and review historical location data in attempts to apprehend them. The method of the present invention features a biometric platform that is a powerful and complete community supervision package. The method of the present invention includes a variety of comprehensive compliance services that can be implemented individually, or as a complete solution, with no geographical restrictions. A preferred embodiment of method of the present invention provides the following core elements and services: 1) voice verification; 2) fingerprint; 3) facial recognition; and 4) mobile application. The core services of the method of the present invention include, for example, Location Based Services (LBS), Self-Report Interview (SRI), Notifications with optional delivery verification, Random Drug Test (RDT) notifications with message verification delivery, Sobriety, Offender Pay Solutions (OPS), Caseload Management (CLM), Officer Mobile App (OMA), and Travel Pass. The present invention includes a method of supervising an offender or defendant who has been arrested or incarcerated and then released. Preferably, the method comprises the steps of: a) the offender or defendant paying to a first monitoring entity an enrollment fee so that the offender or defendant becomes an enrollee; b) wherein in step “a” the enrollee has a mobile device or land line device having a camera and that is able to receive messages and/or telephone calls from the first monitoring entity; c) the enrollee receiving from the first monitoring entity a communication; d) wherein in step “c” the communication requires that the enrollee film himself or herself using the camera of his or her land line or mobile device; e) the monitoring entity selecting a method of identifying the enrollee by optionally using voice recognition or facial recognition; and f) the monitoring entity notifying a second entity that is a law enforcement entity if the enrollee does not answer the communication of step “c” or is not properly identified by the voice recognition or facial recognition of step “e”; g) after step “f” the second entity apprehending the enrollee; and h) wherein the fee of step “a” is shared by the first and second entities according to an agreed formula. Preferably, the enrollee has a curfew schedule and the communication of step “c” is a curfew management call. In one preferred embodiment, the communication is at a random time selected by the first monitoring entity. In other preferred embodiments, the communication is at an agreed time. Preferably, in step “c” there are multiple communications before step “f”. Preferably, these communications are at random times. Preferably, there are multiple enrollees using the same land line or mobile device and wherein an identification pin number or caller identification verifies which enrollee is called. Preferably, after a failure of voice recognition or facial recognition, an enrollee is able to repeat the voice recognition or facial recognition by an enrollee initiated communication. Preferably, the enrollee location is determined during step “c”. Preferably, location is used to confirm that the enrollee is within a telephone service area during steps “c”-“e”. Another preferred method of the present invention for supervising an offender or defendant who has been arrested or incarcerated and then released, comprises the steps of: a) the offender or defendant paying to a first monitoring entity an enrollment fee so that the offender or defendant becomes an enrollee; b) wherein in step “a” the enrollee has a mobile device or land line device having a camera and that is able to receive messages and/or telephone calls from the first monitoring entity; c) the enrollee initiating a communication with a first monitoring entity using the land line or mobile device, wherein the first entity is optionally able to identify the enrollee by caller identification; d) wherein in step “c” the communication requires that the enrollee film himself or herself using the camera of his or her land line or mobile device; e) the monitoring entity selecting a method of identifying the enrollee by optionally using voice recognition or facial recognition; and f) the monitoring entity notifying a second entity that is a law enforcement entity if the enrollee does not answer the communication of step “c” or is not properly identified by the voice recognition or facial recognition of step “e”; g) after step “f” the second entity apprehending the enrollee; and h) wherein the fee of step “a” is shared by the first and second entities according to an agreed formula. Preferably, in step “c” there are multiple communications and the first entity provides to the enrollee a schedule for said communications. Preferably, the communications can be in any language. Preferably, the enrollee is required to answer questions during one or more of said communications. In some preferred embodiments, the questions are via text message. In these embodiments, it is preferable for the enrollee to be able to answer the questions via text message. Preferably, after an initial interview, the enrollee is sent an alert that requests a communication from the enrollee to complete the interview with a communication and wherein the alert cannot be dismissed and prevents use of the mobile device until the enrollee initiates the call. In some preferred embodiments, the communication of step “c” is a text message. In some preferred embodiments, the communication of step “c” is a notification. The notification is preferably an email, text to speech voice with verification, text to speech without voice verification, SMS, voicemail, or text to speech paired with SMS. Another preferred method of the present invention for of supervising an offender or defendant who has been arrested or incarcerated and then released, comprises the steps of: a) the offender or defendant paying to a first monitoring entity an enrollment fee so that the offender or defendant becomes an enrollee; b) wherein in step “a” the enrollee has a mobile device or land line device having a camera and that is able to receive messages and/or telephone calls from the first monitoring entity; c) the enrollee receiving from the first monitoring entity a communication that is a drug test notification; d) wherein in step “c” the communication requires that the enrollee self-identify and/or film himself or herself using the camera of his or her land line or mobile device; e) the monitoring entity selecting a method of identifying the enrollee by optionally using voice recognition or facial recognition; and f) the monitoring entity notifying a second entity that is a law enforcement entity if the enrollee does not answer the communication of step “c” or is not properly identified by the voice recognition or facial recognition of step “e”; g) after step “f” the second entity apprehending the enrollee; and h) wherein the fee of step “a” is shared by the first and second entities according to an agreed formula. Preferably, in step “c” there are multiple communications before step “f”. Preferably, the enrollee is identified by voice without voice biometric verification, voice with biometric verification, text to speech (TTS), SMS (text message(s)), uploaded way file in any language, or text to speech and SMS simultaneously. Preferably, the enrollee is provided with a breathalyzer device and after step “c” is required to use the breathalyzer device to provide a value for the enrollee's alcohol consumption. Preferably, the value is transmitted to the first monitoring entity via a REST API call from the BACtrack® device which requests and receives responses via HTTP protocol. A preferred device of the present invention is a smart watch/device for locating, tracking and/or monitoring a person. Preferably, the device includes at least the following: a global positioning system (GPS) receiver; a wireless telephone communicator; a casing which is water resistant; a light sensor; a heart rate sensor; a tamper proof band; a wireless charger; a screen; a speaker; a microphone; software to permit biometric identification of individual wearing device; software to permit communication between device and third party or third party device; and a camera. Preferably, the casing is waterproof. Preferably, the casing is waterproof to at least 3 meters. Preferably, the casing can work for at least 30 minutes while under up to 15 cm of water. Preferably, the screen comprises an interactive interface. Preferably, the communication is voice communication. Preferably, the communication is not voice communication. The methods of the present invention can be carried out with a watch of the present invention, the watch comprising: a global positioning system (GPS) receiver; a wireless telephone communicator; a casing which is water resistant; a light sensor; a heart rate sensor; a tamper proof band; a wireless charger; a screen; a speaker; a microphone; software to permit biometric identification of individual wearing device; software to permit communication between device and third party or third party device; and a camera. The methods of the present invention can be carried out with a watch of the present invention, the watch comprising: a global positioning system (GPS) receiver; a wireless telephone communicator; a casing which is water resistant; a light sensor; a heart rate sensor; a tamper proof band; a wireless charger; a screen; a speaker; a microphone; software to permit biometric identification of individual wearing device; software to permit communication between device and third party or third party device; and a camera. The methods of the present invention can be carried out with a system of the present invention, the system comprising: a first monitoring entity; a second monitoring entity; a communications network; and a communication device. The communication device of the system preferably comprises a watch. Wherein the watch has at least the following: a global positioning system (GPS) receiver; a wireless telephone communicator; a casing which is water resistant; a light sensor; a heart rate sensor; a tamper proof band; a wireless charger; a screen; a speaker; a microphone; software to permit biometric identification of individual wearing device; software to permit communication between device and third party or third party device; and a camera. The methods of the present invention can be carried out with a system of the present invention, the system comprising: a computer network; a first monitoring entity; a second monitoring entity; a communications network; and a communication device, wherein the communication device is a watch comprising:
The present invention also includes a system to prevent kidnapping, the system comprising: a computer network; a central monitoring facility; a communications network; and a communication device, wherein the mobile device is a watch comprising: a global positioning system (GPS) receiver;
In this system, preferably the device establishes communication with the central monitoring facility when a triggering event takes places. Preferably, the triggering event comprises an alert generated by the kidnapping victim, a detection of tampering by the device, or detection that the victim or device is outside of a pre-determined safe zone. Preferably, the establishment of communication between the device and the central monitoring facility alerts trained operators of a potential hostage attempt/kidnapping in progress. Preferably, once communication is established, a central station operator asks the victim if they are okay via the two-way voice function of the device and if the victim responds they are okay, the operator will respond by asking them what their secret passphrase is; wherein the victim has the option of responding with the phrase associated with a false alarm that all is okay or a phrase associated with an actual kidnapping or hostage event; wherein if the phrase stated by the victim matches the passphrase on file, the operator will respond by thanking the victim and stating that they have verified the passphrase, and to have a good day; wherein authorities are dispatched once victim responds with passphrase on file. A device of the present invention is preferably a smart watch/device for locating, tracking and/or monitoring a person. Preferably, the device comprise:
Preferably, the casing can work for at least work for at least 30 minutes while under up to 1 m of water. Preferably, the device meets the standards of an IP67 waterproof rating. For a further understanding of the nature, objects, and advantages of the present invention, reference should be had to the following detailed description, read in conjunction with the following drawings, wherein like reference numerals denote like elements and wherein: The curfew management application of the present invention allows the user to verify whether a defendant, offender, or enrollee is at a designated location at a specific time. In one embodiment of the present invention, the curfew management application uses voice verification and facial recognition during inbound/outbound curfew calls to positively identify an enrollee. The curfew management application allows the user (such as a law enforcement official, for example) to schedule random calls or push notifications at a desired frequency. These calls or push notifications may be placed outbound to the enrollee or the enrollee may be required to call into the system from the designated location. The application uses a feature that retrieves caller ID information and may alert the user if the enrollee is calling in from an unauthorized phone number. In one embodiment, the user may be notified if the enrollee fails to successfully complete inbound/outbound curfew calls due to no answer, hang ups, busy signals, and voicemails. Utilizing curfew management and the curfew management application of the present invention enables a law enforcement agency to efficiently monitor the whereabouts of enrollees. Curfew management provides the ability to create a set or random curfew schedule. The curfew management application of the present invention enables an agency to: 1) schedule random curfew calls during a specific time frame on a certain day; 2) schedule random outbound curfew calls during a daily, weekly, monthly, or random period; 3) modify a curfew schedule; 4) send random push notifications to the enrollee's smart phone to initiate a curfew call; 5) use caller ID feature that detects if the enrollee is attempting to place an inbound call from an unauthorized phone number or use call forwarding; 6) positively identify the enrollee by using voice verification or facial recognition technology; 7) enable the enrollee to perform a voice verification request via the telephony network and the option to perform a verification request using a Wi-Fi data network; 8) easily access reports of all tracking history; 9) provide instant, daily, or weekly automated user email alerts of non-compliant calls; 10) reduce false non-compliance results by specifying multiple attempts to reach an enrollee before they are found to be non-compliant; 11) audit all user modifications to compliance or enrollee caseload history; 12) set the amount of time between call attempts; 13) provide manually initiated on demand outbound verification calls or alerts; 14) restrict manually initiated calls; 15) listen to voice verification files for each call; 16) provide quick view button for current calls as well as future scheduled calls; 17) cancel individual or multiple calls without adjusting the schedule; 18) provide proprietary multi verification channel registration and verification to reduce or eliminate voice failures; 19) require callbacks after verifications (Call forwarding spoofing); 20) set the number of call attempts prior to becoming non-compliant; 21) modify the compliance status of a call; 22) add user notes to a compliance call; 23) provide audited recordings of any user changes on the enrollee profile; 24) provide audit recordings of future call cancellations; 25) identify an inbound call by either caller ID or pin number (this is ideal in a case where more than one enrollee is using the same telephone number); 26) scheduling templates to minimize entering repetitive schedules; 27) avoid location spoofing; 28) easily filter curfew calls by a call number that is auto generated for each call; 29) filter curfew calls by compliance status; 30) filter curfew calls by date; and 31) filter calls by call type. The present invention enables law enforcement to schedule inbound/outbound calls daily, weekly or monthly (recurs once every (x) number of days or weeks or months), or in a customizable schedule, and can include the following features (alone or in combination): 1) Randomly scheduled calls that allow the user to choose which days and the frequency of calls during a given weekly or monthly period; 2) customized frequency of required inbound/outbound calls; 3) enable or disable feature for inbound/outbound schedules; 4) ability to disable a schedule until a specific date; 5) open end date on curfew schedule so that the schedule recurs until the enrollee is disabled; and 6) ability to modify a curfew schedule. The present invention can include a “Curfew Call: feature that can include any of the following aspects, alone or in combination: 1) designate the number of inbound/outbound calls to be placed to or from an enrollee during a specific period of time; 2) designate the number of alerts to be sent to an enrollee's smart device (for example, smart phone) requiring the enrollee to initiate an inbound call during a specific time frame; 3) random call frequency; 4) restrict inbound calls from unauthorized numbers or allow any phone number; 5) ability to identify an inbound call by either caller ID or a PIN number (this feature is used when more than one enrollee is using the same telephone); 6) schedule multiple attempts on outbound calls; 7) ability to set the amount of time between outbound call attempts; 8) ability to cancel individual or multiple calls without adjusting the call schedule; 9) ability to see scheduled outbound calls 30 days in advance; 10) manually initiated on demand outbound call; 11) quick view button capability to conveniently view outbound calls scheduled for the current day or for the next 30 days; 12) user ability to filter curfew calls for a specific enrollee by call number, date, compliance status, or call type; 13) call forwarding detection; and 14) alerts to the user if the enrollee fails to check in or check in outside of the required schedule time. The present invention can include the following Additional Call Features: 1) proprietary multiple verification channel registration and verification to reduce or eliminate voice failures; 2) ability to listen to voice verification files for each call; 3) call review capabilities along with the ability to modify compliance and add notes to calls; 4) audit recordings of any user changes; 5) scheduling templates to avoid entering repetitive schedules; 6) restrictions placed on the smartphone app to prevent it from being deleted or tampered with 7) automated alert to the user if enrollee's smartphone device battery is low, has been turned off, or if the device is dead 8) agency feature that allows the enrollee to complete a verification call after a voice failure; 9) allows the enrollee to use more than one landline telephone number to be monitored on; 10) ability to cancel future scheduled inbound/outbound calls; 11) ability to export for compliance history reports; 12) ability to generate call history reports by specified date; and 13 ability to generate compliance activity reports per enrollee, per user, and per entity. The following are benefits of the Outbound Curfew Management feature of the present invention: 1) increases productivity for the agency by automating verification of an enrollee's whereabouts without interaction from the user; 2) increases productivity by preventing false non-compliances due to schedule changing abilities, call review, and call compliance modification features; 3) increases productivity by preventing false non compliances by using call adjustment or cancellation features for scheduled or allowed time away from home; 4) provides user accountability by auditing all user changes and modifications to enrollee profiles; 5) provides a recording of each call for user review or proof of an imposter; and 6) aids users in combating location spoofing. Location Services (LBS) The present invention can include Location Based Services (LBS) which allows the user to verify a participant's whereabouts using multifactor location verification technology. An example of such verification technology is a wearable device, such as a wristwatch, (e.g., the Shad® Watch™) which can incorporate Wi-Fi, GPS, and Network location technology to increase location accuracy while enhancing battery life. A smart wearable device such as the Shad® Watch™ can feature an attractive tamperproof wristwatch with color display. Such a watch can also be water-proof and include motion sensors, vibration alerts, messaging, heart rate and blood pressure detection. The watch can offer the ability to communicate with the participant by using two-way voice or electronic messaging. The watch also can have a QR activation feature that allows for a convenient and effortless activation process for users in the field. The Shad® Watch is preferably managed through the ShadowtrackONE™ total corrections platform designed for managing all services from one unified easy to use platform. LBS can also be paired with voice verification and facial recognition technology to positively identify the participant. Shadowtrack offers the flexibility of a minimally invasive tracking solution utilizing LBS on a landline telephone, mobile telephone or via the Shadowtrack mobile. This allows the participant to be discreetly monitored without having to wear any equipment. The location services feature of the present invention allows the agency, such as a law enforcement agency, to: 1) efficiently monitor the whereabouts of an enrollee during a specific time frame; 2) efficiently monitor if the enrollee is attempting to enter a restricted area; 3) monitor an enrollee at a specific address or within the range of an entire state; 4) detect location spoofing; and 5) use on demand or automated random location frequency. In one embodiment of the present invention, the location of the enrollee can be verified in the following ways, alone or in combination: 1) cellular triangulation of the smart device (for example, for the ShadoWatch); 2) GPS positioning coordinates; 3) scheduled silent location verification; 4) silent on demand user-initiated location verification; 5) pairing location services with voice verification and/or facial recognition to ensure the enrollee is with the telephone device during location verification; and 6) on demand manual GPS location request. In one embodiment of the present invention, when the verification call is completed, location coordinates are sent to the Shadowtrack® platform via an application protocol interface (API). The user can review location results via the following ways: 1) displayed on a map via the enrollee's profile; 2) displayed on the enrollee compliance tab via a “View Map” button that is listed for each inbound or outbound call; 3) displayed with a color-coded PIN for easy viewing: green for compliant (inside fence) and red for non-compliant (outside fence), for example; 4) GPS coordinate results logged on a map on the enrollee's compliance call details; 5) GPS results displayed with a color-coded PIN on a map within the call details for easy viewing as green for compliant (inside fence) and red for non-compliant (outside fence); and 6) location verification results logged on the enrollee compliance tab via the mobile app. Additional location verification features include: 1) compatibility with all major cellular carriers; 2) on demand voice verification combined with location verification; 3) option to initiate facial recognition verification in the event of a suspicious voice verification alert; 4) allows the user to create multiple Inclusion Zones to verify if the enrollee is at home, school, work, treatment program, etc.; 5) allows the user to create multiple Exclusion Zones to verify if the enrollee is near a restricted area; 6) customizable radius options to broaden or tighten a designated location area; 7) allows the user the option to set up a state radius in comparison to the enrollee's designated location address; 8) a feature set at the admin level that allows the agency to set all enrollee location radius's to a state wide parameter depending upon a certain interview protocol assigned to them; 9) an alert to the user if the enrollee does not initiate their location within a specified time frame; 10) API error for failure to reach the app due to the device being turned off or the app is not running 11) the ability for the Shadowtrack® platform to send messages that display an alert on the enrollee's smart device screen that must be manually dismissed; 12) feature that automatically prompts the enrollee on the next call to opt in to location services on their mobile device if an opt out occurs at any time; 13) mobile registration feature that alerts the user if a mobile phone number is “Not Locatable”; and 14) allows the user the ability to override location coordinates manually. The following are some benefits of the location services feature of the present invention: 1) improves efficiency by allowing users to automate monitoring enrollee's whereabouts on a consistent basis; 2) non-compliant alerts to help the user manage enrollee non-compliance due to being outside of a designated location; 3) assists in combating enrollees attempting to turn off Location services on their device to prevent location verification by alerting the user when this happens; 4) prevents location spoofing; and 5) allows the user the ability to tighten the radius area to miles but also broaden the radius area for the entire state of the enrollee's designated location address. In one or more embodiments, the multi-factor location verification function comprises: the ability to receive independent location data from the ShadoWatch™ wrist-worn device and from a mobile device that is preferably tethered to the ShadoWatch™ device via a radio frequency connection such as Bluetooth. The ShadoWatch™ device and the mobile device can transmit WiFi and GPS location information to the server on predefined intervals. The intervals of transmission may vary, for example, between 1 second and 1 hour. For example, the ShadoWatch™ device and mobile device which is preferably tethered to the ShadoWatch™ device may each transmit WiFi location information at least every 5 minutes. The interval of transmission can be adjusted. Similarly, the ShadoWatch™ device and mobile device may each transmit GPS location information on the same or different intervals as that of transmission of the WiFi location information. Preferably, location data is transmitted from each device at the same time. However, if not done at the same time, the server can parse the data and synchronize once data is received from both devices. Preferably, all location information (both GPS and WiFi) is transmitted from each device at the same time. However, if not done at the same time, the server can parse the data and synchronize once all the data is received. The preferable intervals of transmission for GPS location information are the same as that of transmission of WiFi location information. If it is determined that the enrollee/participant is not within the predetermined geofence, an alert is sent to an officer. The predefined intervals of transmission of location information for each device and each type of location information (WiFi or GPS) is preferably synced so that each type of location information (WiFi and GPS) is sent from each of the two devices at the same time. Once the data is received by the server, custom-developed software logic can compare the independent location data of each device to determine, with a high degree of accuracy, the location of the person wearing the ShadoWatch™ device as well as the distance between the devices. Specifically, location data is received from both devices at which point logic will compare the location points and determine if both points are within a pre-determined floating geolocation area. The user has the ability to set the size of the geolocation area. It can be of any size and will preferably be of a size to ensure that the enrollee with the wearable device is located with the smart phone. For example, the floating geofence could be 5 to 10 feet by 5 to 10 feet. If one location point from either device falls outside of the pre-determined geolocation area (geofence), the server will await for confirmation on the second location packet of data. If a point falls outside of this geolocation area on the second location data packet, a notification alert will be generated. If both location points are confirmed to fall within the geofence, the enrollee remains compliant. Location data is continuously sent, per the predetermined intervals. Moreover, by comparing the location data of two devices, the present invention is able to more accurately determine whether or not the person is located within a static geofenced area as compared to systems utilizing only one device and the present invention allows for more accurate determination of an enrollee's location. If one of the location points is not within the given geographical parameters of the other device, additional logic can be considered to confirm the irregular location coordinates. As previously noted, for example, when a location point falls outside of the floating geolocation fence area (indicating thus that the devices are too far apart), a subsequent data packet can be considered to confirm that the person is in fact outside of the floating geolocation fence area. If additional verification is unsuccessful (irregular location coordinates are confirmed), the appropriate personnel can be notified that the ShadoWatch™ device is no longer within the configured geofence of the two devices. As noted, the geofence size can be set by the user and is typically sized to about 10 feet by 10 feet, or about 100 square feet. With the use of the multi-factor location verification, both the ShadoWatch device and the mobile device should be together to remain compliant. Ensuring that the two devices are together is not a new technology. However, in existing technology, ensuring that the two devices are together is accomplished with a radio frequency (RF) tether. In the present invention, the multi-factor location verification function will determine if there is a separation between the two devices (ShadoWatch™ device and mobile device) by using WiFi and GPS location data in addition to a RF tether to determine a separation. It is possible to only use WiFi and GPS location data and not utilize the RF tether to determine separation, though utilization of RF tether in addition to location data is preferable. In addition to a separation determination, the present invention preferably has the ability to determine the distance between the two devices, and each location is preferably compared against each other to verify a location point's accuracy. A diagram showing the multi-factor verification function is set forth in Self-Report Interview (SRI) In one embodiment, the present invention includes a “self-reporting” service feature that consists of an interactive voice interview of customized questions that allows the user to obtain current information for the participant without the need for a face to face visit. The participant can conveniently complete their interview utilizing any telephone device or via the Shadowtrack mobile App. The SRI service supports any language and includes automatic transcription of participant responses. An exception report is generated from the participant responses and which the users can conveniently access. Exception responses are also noted on the participant profile via an audio file and can automatically be transcribed from speech to text. The SRI also includes scheduled reminders that can be placed to the participant via phone call, text, or email. Interview reminders improve participant compliance and ensure interview sessions are completed in a timely manner. The self-reporting service can be paired with LBS to not only verify the participant's whereabouts during the self-reporting session but to also randomly verify their location at any time during the month. Utilizing the Interactive Voice Interview (Self-Report) service of the present invention allows the agency to: 1) improve efficiency by eliminating user contact directly with the enrollee to retrieve updated information ranging from enrollee contact information, employment status, interaction with law enforcement or arrests, or any other type of information the user would like to retrieve from the enrollee; 2) improve enrollee accountability by reminding the enrollee they have an upcoming self-report session; and 3) obtain current records and contact information for the enrollee in a more efficient manner. In various embodiments of the present invention, the Interactive Voice Interview feature can include: 1) the ability to schedule the interview to begin on a specific date; 2) the ability to schedule the interview duration to be an hour, day, week, month; and 3) option to schedule the interview to recur daily, weekly, monthly, and yearly. In various embodiments of the present invention, interview reminders of the Self-Report service can be scheduled in the following ways: 1) a certain number of days prior to the interview period; 2) hours or minutes prior to interview expiration date; 3) recur every day until the end of the interview period; 4) recur a fixed number of times; and 5) logic that stops interview reminders once an interview has been complete. In various embodiments of the present invention, features of the Self-Report service can include:
The following are some benefits of the Interactive Voice Verification feature of the present invention: 1) Increases productivity for the agency by eliminating the user's personal interaction to obtain information from the enrollee; 2) Allows the agency to designate how frequently self-reporting is required in order to aid in upkeeping of current information for the enrollee; 3) Implements enrollee responsibility in reporting updated information to the user by placing self-reporting reminders; 4) Increases user efficiency by sending automated reports for enrollee's that fail to self-report; 5) Allows the user to pair random location verification with self-reporting to ensure the enrollee has not left a designated area during a self-reporting period; and 6) No transcription is required with smartphone. Notifications An embodiment of the notification service of the present invention provides a robust automated solution to communicate with the participant. This service allows the user the flexibility of sending notifications in several different formats including Text Message, Text to Speech (TTS), Email, and Voicemail. The user can schedule one time or recurring messages to one participant or multiple participants at the same time. The Shadowtrack application logs the date and time the participant received the notification, the details and format of the message, and the date and time the participant listened to the message. Future scheduled notifications can be cancelled at the user's discretion. This service allows the user to view all notification history for a participant as well as view future scheduled notifications for a period of time, for example, up to ninety days (90) in advance. In a preferred embodiment, utilizing the Notification service allows the agency to: 1) Improve efficiency by eliminating user contact directly with the enrollee; 2) Improve efficiency by allowing the user to send a notification to multiple enrollees at one time; 3) Scheduled and random customized notifications via speech, text to speech, text messaging or uploaded recorded voice, for example, which is useful for court and probation appointment reminders; and 4) Conveniently schedule exclusion dates for notifications so that notifications are not placed on specified dates. Notifications Platform Functionality 1) Schedule notification in the following ways, for example:
2) Example notification features:
1) Increases productivity for the agency by eliminating the user's personal interaction to communicate messages; 2) Increases productivity by allowing the user to deliver messages to multiple enrollee's one or more times; and 3) Increases efficiency by allowing the user to verify the enrollee has received the notification message. Random Drug Testing (RDT) A preferred embodiment of the drug testing service of the present invention offers a turnkey-solution to refine the entire drug testing process from start to finish. Shadowtrack's Random Drug Test is a solution for all aspects of drug testing including automated notification to the participant when they are selected to report for a test, an offender pay option (OPO) to collect payment for testing, and integration with testing facilities that allows for final test results to be documented in the application. Shadowtrack's approach to drug testing allows the participant to receive a notification to report for testing instead of requiring them to call into an automated system on a daily basis. This amounts to pointless additional calls and wasted officer resources. Users can create random or scheduled drug testing templates to designate the frequency of testing and include a custom notification message. Notifications can be placed to the participant via email, text to speech, or text. Shadowtrack's detailed color code reports allow the user to conveniently manage who is reporting for testing. The color code report can be viewed in a list, calendar, or graph format and can be exported in Excel or PDF format. Users can also view future scheduled notifications up to three months in advance. This allows the agency to properly plan staffing needs as well as office closures. Drug testing templates can conveniently be placed on hold or disabled. The RDT service also allows the user to designate specific dates they would like to exclude from scheduling drug testing notifications. This service improves the overall efficiency and productivity of users by automating the entire drug testing process. Utilizing the Random Drug Test service allows the agency to accomplish the non-exhaustive list of tasks: 1) Allows the user to place enrollees into named groups for random or fixed scheduled drug testing notifications; 2) Have unlimited number of groups; 3) Allows the user the flexibility of suspending drug testing notifications at the agency's discretion; 4) Allows the agency the ability to modify notification templates; 5) Allows the user the option to move an enrollee to another group; 6) Custom report available to the user so they are aware of what enrollees have been notified to report for drug testing and/or have upcoming drug testing notifications scheduled; 7) Improve efficiency by automating drug testing notifications to enrollees only when a drug test is required; 8) Includes voice verification to ensure the correct person is receiving the drug testing notification message; 9) Includes the ability to send an SMS message once it is determined an enrollee has not answered the call; 10) Allows the enrollee to call into the Shadowtrack® system to hear the notification message if they miss the phone call; 11) Sends the agency analytical data via reports regarding drug testing results; and 12) Sends an alert to the enrollee via the smartphone app to view the drug testing notification message. The alert message must be initiated or dismissed. Example Random Drug Testing Platform Functionality 1) Send Drug Testing notifications to an enrollee in one or more of the following formats:
2) Send “Drug Testing” notifications at the following frequencies:
3) Multiple attempts to deliver a drug testing notification:
4) Create Custom drug testing templates:
5) The ability to place an enrollee into a group to designate drug testing frequency:
6) Reporting:
7) Service Types:
1) Increases productivity for the agency by eliminating the user's interaction to notify an enrollee to report for drug testing; 2) Allows the agency to determine the days and times that are most convenient for enrollees to report for drug testing; 3) Allows the agency to place drug testing on hold for holidays or specific dates; 4) Allows the agency to set the discretion of how many enrollees report for drug testing; and 5) Provides the agency with analytical data as a way to document drug testing results in an effort to increase or decrease drug testing frequency for the enrollee or perform caseload studies. Sobriety A preferred embodiment of the present invention may include a sobriety module that works in conjunction the Shadowtrack mobile app. The app and device work with Android and IOS devices. In certain embodiments, BACtrack is an electronic device that is integrated with the Shadowtrack mobile app to utilize facial recognition, alcohol consumption detection, and location verification. The device requires no installation and can be purchased directly by the participant. Shadowtrack will send random alerts notifying the participant an “Alcohol Test is Required”. Once the alert is sent, the participant will have a configurable amount of time to complete the Sobriety test before becoming non-compliant. Once the test is completed, the Blood Alcohol Content (BAC) score, location of the test, and a picture of the participant while performing the test will be logged in the participant's profile in the Shadowtrack application. If the initial BAC score is above 0.0 a secondary test will be initiated to verify the validity of the initial result. The Shadowtrack mobile app works in conjunction with the BACtrack device to detect spoofing with other devices and includes liveness testing to ensure the validity of each test. This service provides a discreet and cost-effective approach to sobriety testing. If the test is completed, the device application may send the following results, for example, to the Shadowtrack® platform: 1) Blood alcohol score (BAC); 2) Location of the test; and 3) Picture of the enrollee. Utilizing the Breathalyzer Option allows the agency to have the following features, for example: 1) Combine facial recognition with alcohol consumption detection via an electronic device that requires no installation and is purchased and shipped directly to the enrollee; 2) Facial recognition liveness test to prevent enrollees from using a photograph or recorded video; 3) Anti-spoofing that includes the ability to detect other devices within Bluetooth range throughout the duration of the sobriety test; 4) Ability to detect the blue light on the breathalyzer device is on during a sobriety test to prevent spoofing; and 5) Outbound voice verification request only (Independent of alcohol test). Example Breathalyzer Platform Functionality: 1) Combines facial recognition with alcohol consumption detection via an electronic device, such as BACtrack that requires no installation and is purchased and shipped directly to the enrollee. In a preferred embodiment, when the Shadowtrack® app receives a verification call API request, a push notification will be displayed on the screen, along with a sound and vibrate, requesting that the enrollee call into the Shadowtrack® platform to complete a sobriety test. The alert will stay on the display until the enrollee initiates the call or manually dismisses the alert; preferably, the BAC value is transmitted to the first monitoring entity by a REST API call from the BACtrack® device which requests and receives responses via HTTP protocol (a REST API defines a set of functions which developers can perform requests and receive responses via HTTP protocol such as GET and POST”). 2) Enrollee may be prompted to place their face inside a designated square area on their mobile device to ensure accuracy of facial recognition during enrollment and subsequent sobriety testing; 3) When the verification call is completed, location coordinates may be sent to the Shadowtrack® platform. This can be set to automatically send out within a set time, such as minutes of the call. In one embodiment, Shadowtrack® has logic to set off an alert if we do not receive the location coordinates within five minutes;
4) Alert message displayed to the enrollee when low battery of the breathalyzer device is detected. 5) Facial recognition liveness test to prevent enrollees from using a photograph or recorded video. 6) Anti-spoofing that includes the ability to detect other devices within Bluetooth range. 7) The Shadowtrack® platform may trigger a non-compliant event and notify the assigned user for any of the following reasons, for example:
8) Send random “Sobriety Test” notifications in one or more of the following non-exhaustive list of formats:
9) Attempts:
10) Perform location validation:
11) User non-compliant notification types:
12) Reporting:
13) Service Types:
14) Unscheduled Tests:
1) Economical—service will be provided with little to no markup on existing Shadowtrack® services; 2) Ownership—enrollee owns device and can continue testing after completing court ordered program to aid in maintaining sobriety; 3) Easy to use—takes less than one minute to perform screening; 4) Unobtrusive—no embarrassing leg devices that can affect employment, family life or interfere with medical conditions; 5) Convenient—small device—can be carried in your pocket; and 6) Unified platform—Integrated with all other Shadowtrack® solutions. Caseload Management (CLM) In a preferred embodiment, the Caseload Management service of the present invention allow the user to manage an enrollee's case while on the Shadowtrack® program. Shadowtrack's caseload management (CLM) service provides an all-inclusive solution for users to manage their caseload more efficiently. CLM can be paired with any of Shadowtrack's other services or integrated with the agencies' existing case load management system. Users can take advantage of the CLM service by utilizing automated reminders triggered by requirement deadlines and create custom reminders and tasks that help the user and participant to stay on top of required duties. Users can also utilize the caseload calendar that allows for scheduling of appointments as well as an overall view of the participants upcoming scheduled events. The CLM service allows an agency to utilize custom mail merge documents, upload documents, attach them to the participant profile, enter free handed notes, and keep track of analytical data and demographics for participants. Shadowtrack's custom caseload reports can provide an agency with overall analytical data as a way to document demographics, crime statistics, and success/failure rates to perform caseload management studies. Caseload Management service allows the agency to: 1) Integrate with all of Shadowtrack® s modules to increase user efficiency; 2) Improve enrollee accountability by reminding the enrollee they have an upcoming deadline; 3) Obtain current records and contact information for the enrollee in a more efficient manner; and 4) Send scheduled and random customized notifications via text to speech, text messaging, email, or uploaded voicemail. Great for court and probation appointment reminders Example of Caseload Management Platform Functionality 1) Customizable API integration capability with 3rd party software;
2) Conditions
3) Caseload Management Events
4) Calendar
5) Notes
6) Automated Mail Merge Letters
7) Reports
8) Documents
9) Contacts
10) Authorized Lab
1) Provides user accountability by auditing all user changes and modifications to enrollee profiles; 2) Improves efficiency by allowing users to automate program condition deadlines and reminders to the enrollee; 3) Increases efficiency in user Caseload Management by sending automated reports to users for enrollee's that fail to meet program deadlines; 4) Increases productivity by allowing the user to deliver messages to multiple enrollee's one or more times; 5) Allows the agency to determine the days and times that are most convenient for enrollees to report for testing, counseling, or face to face meetings; 6) Provides the agency with analytical data as a way to document demographics, crime stats, success/failure rate or perform Caseload Management studies; 7) Economical—service will be provided with little to no markup on existing Shadowtrack® services; and 8) Calendar feature to easily manage an enrollee's upcoming appointments, court dates, etc. Example Mobile Application A preferred embodiment of the “Shadowtrack®” mobile app provides the ability to monitor an enrollee using voice or facial recognition for curfew, self-reporting, location verification, and sobriety via their mobile device. The mobile app features on demand push notifications for sobriety, self-reporting, curfew, and location verification, for example. The Mobile Application May Allow the Agency to: 1) Conveniently complete a voice enrollment via the mobile app; 2) Conveniently Initiate on demand or scheduled push notifications to the enrollee; 3) Improve enrollee compliance by having them call into the application to complete a push notification rather than having random phone calls being placed to the enrollee; 4) Improve the accuracy of location verification via the mobile app; 5) Combat enrollee spoofing of their mobile device with built in technology to detect this; and 6) Monitor movement of the enrollee mobile device during lengthy periods of inactivity in the event the user suspects the enrollee is not with their mobile phone. Example Mobile Application Platform Functionality 1) Mobile App
2) Facial Recognition
3) Benefits of the Mobile Application
The Officer Mobile App (OMA) allows the user to easily access and manage their caseload via their mobile device. The OMA allows the user to view a custom caseload summary of participants per service. User can also access compliance notifications, view tracking history, initiate on demand or scheduled verification sessions, and initiate on demand or scheduled location-based services. In addition to this, the user can send custom notifications and initiate two-way communication to the ShadoWatch™. The OMA provides a practical solution to manage one's caseload both in the office and in the field. With the user App coupled with the ShadoWatch™, the user is always in contact with the participant. The Officer Mobile application allows the agency to: 1) Increase efficiency by allowing the officer the convenience of managing their caseload via their mobile device; 2) Increase enrollee compliance by allowing the user the ability to prompt a live interactive video session or phone call to the enrollee in the event of a non-compliance event; 3) Allows the user to specify custom viewing of enrollee compliance history; and 4) Increase efficiency by sending on demand or scheduled custom push notifications to the enrollee via their mobile phone. Example Officer Mobile Application Platform Functionality 1) Available for multiple platforms, such as Android and iOS users; 2) Can be used with a mobile device, such as a phone or tablet; 3) On demand buttons to initiate requests or view compliance; 4) Allows the user to create scheduled and on demand push notifications to their enrollees for location verification, interview, voice verification, and sobriety; 5) Custom compliance viewing history capability that allows the user to choose viewing options for a set number of days, weeks, months, or a custom date period; 6) Allows the user to initiate on demand phone calls or live video interactive sessions; 7) Allows the user the convenience of listening to calls that result in a failed voice verification by playing the way file from the call on their mobile device; 8) Allows the user to initiate on demand location verification of the enrollee; 9) Customizable compliance alert frequency that allows the user to designate how often they would like to receive compliance alerts such as instantly, daily, or weekly; and 10) Customizable administrative option for viewing permissions that restrict the user from viewing other user caseloads or entities if required. Benefits of the Officer Mobile Application 1) Improves user efficiency and mobility by allowing the user to effectively monitor their caseload via their mobile device; 2) Improves enrollee compliance by allowing the officer to initiate on demand phone calls and live video interaction in the event of a non-compliance; and 3) Improves user efficiency by allowing the user to complete enrollments, make adjustments to schedules, and review compliance all from their mobile device. Example Travel Pass The travel pass feature allows for efficient and concise management of participants returning home from approved travel. This service works in conjunction with Shadowtrack's caller ID, voice verification, and location verification services. The service allows the user to enter “Return Dates” for the participant. The participant is then required to check into Shadowtrack's automated system by this date. If the participant fails to check in by this date, fails verification, or is found to be outside of the designated location, they will be considered non-compliant. An automated email will then be sent to the user. The travel pass feature increases participant's accountability and ensures the user is effectively managing the participant's whereabouts while on supervision. The travel pass service allows the agency to: 1) Efficiently manage caseload travel requests via the application eliminating direct contact with the enrollee to verify they have returned from travel; 2) The automated non-compliance alert allows the user to enforce enrollee accountability to return from travel by required return dates; 3) Minimize the risk of a user forgetting about a travel pass request; 4) Verify the enrollee is back at their required location using location services; and 5) Gives the user the ability to schedule travel passes via the User Mobile Application. Example Travel Pass Platform Functionality 1) Custom Shadowtrack script that allows the enrollee the option to check in from travel. The script may play as follows:
2) Ability to enable the “Return From Travel Check In” custom script only when a “Travel Pass Start Date” is entered in the application otherwise the custom script will not play; 3) A travel pass section listed at the top of the compliance tab to enter the travel “Start Date” and “Return Date”; 4) Travel pass results logged on the compliance tab; 5) A non-compliant call logged once the “Return Date” has arrived and the enrollee has not checked in; 6) The ability to generate a report to view what enrollees have not completed a check in by the required “Return Date”; and 7) Ability to run the following reports during a specified time period:
Benefits of the Travel Pass Service 1) Eliminates direct contact between the enrollee and user; 2) Automates enrollee check in from travel; 3) Increases enrollee accountability by automatically obtaining location information when the enrollee checks in; and 4) Allows the user to efficiently manage and monitor travel passes by reviewing the travel pass reports. 12. Tether The Tether device may be paired with the Shadowtrack mobile app via Bluetooth, for example. In the event that Bluetooth is disconnected, a verification call is prompted to ensure the enrollee is with their mobile device and verify Bluetooth connection with the Tether device is re-established. A non-compliance notification will be sent to the user if Bluetooth signal is lost or there is any attempt to tamper with or cut the Tether device strap. The user will also be notified when a signal from the Tether device is not received within a given a period of time or the enrollee is found to be outside of the designated monitoring area 12.1 The Tether allows the agency to:
12.2 Tether Platform Functionality
12.3 Benefits of the Tether device
13. Additional Application Services
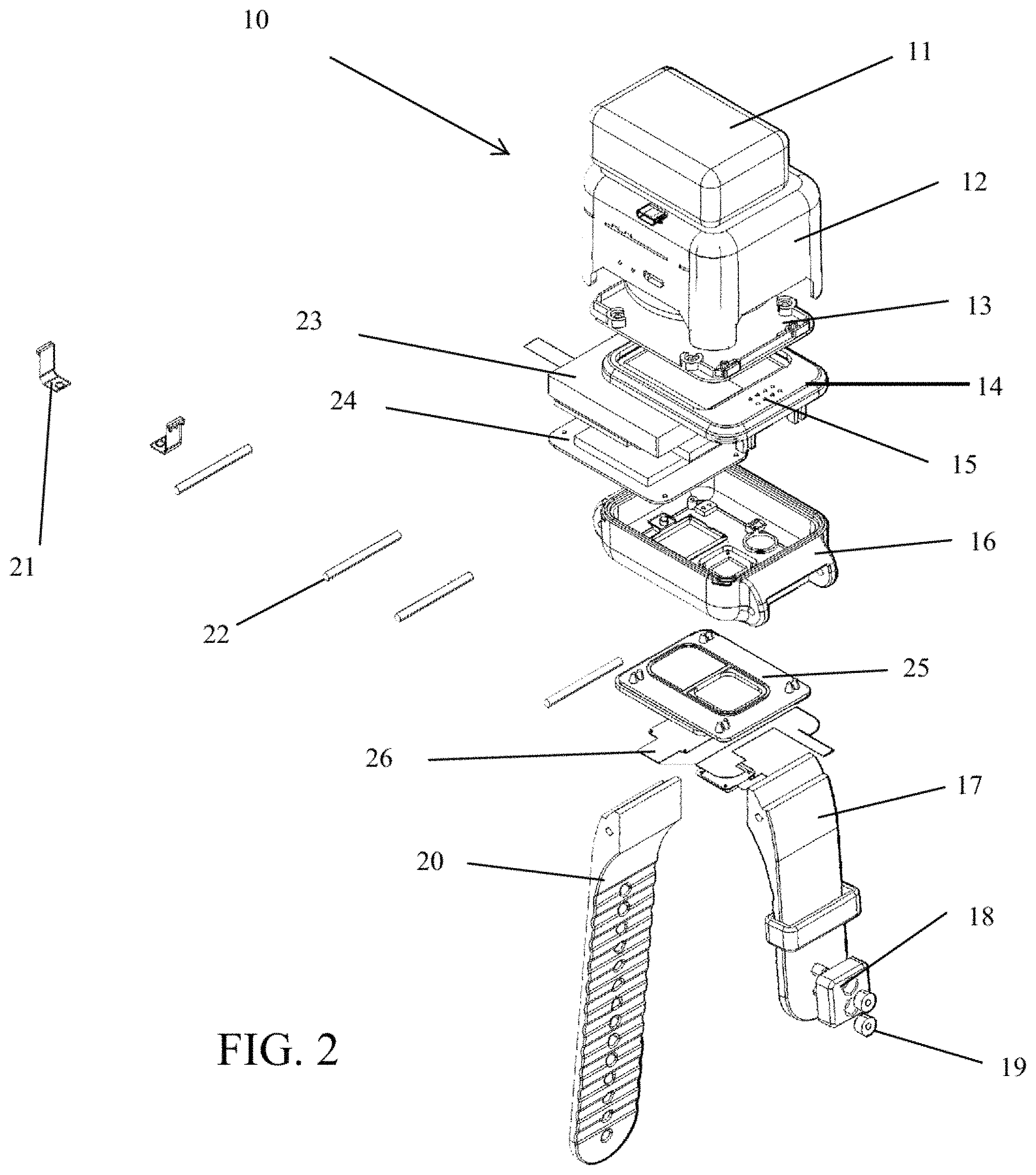
User IP Address tracking that includes the following, date and time of each login, IP Address, User agent string, Browser, and Browser version Surety Shadowtrack® Surety Management Service (SMS) provides an electronic solution to surety companies for managing the powers they guarantee for their agencies. The SMS service allows surety companies to easily import their inventory of powers in the Shadowtrack® application. The surety company can assign those powers to various agencies, and then continue to track the progress of those powers once they have been assigned. Surety companies can also utilize this service to document and manage licenses, appointments, and contracts per agency. The SMS service includes detailed settlement reports that aid the surety company in keeping track of agency balances as well as all other aspects of surety management. Bail Shadowtrack Bail management service (BMS) allows bail companies to manage their bonds and defendants. This service allows bond companies to work in conjunction with the surety company if desired. This service can also be paired with Shadowtrack® other monitoring services including location verification using the ShadoWatch™ or mobile App, custom notifications, and Shadowtrack® participant pay solution. Bail companies can execute powers, enter detailed court information, assign bonds to agents, and keep track of defendant balances. Watch/Bracelet The present invention also includes a watch as shown in The smartwatch can have the features as described above when referring to the mobile device or smartphone. In various embodiments of the present invention, the smartwatch incorporates features described in this specification, including but not limited to one or more of the following features: Wi-Fi, GPS receiver; Network location technology; color display; tamperproof band; tamperproof watch; water-proof; motion sensors; vibration alerts; messaging; heart rate detection; blood pressure detection; ability of user to communicate with participant by using two-way voice or electronic messaging; QR activation allowing convenient and effortless activation process for users in the field; management through ShadowtrackONE™ total corrections platform; inductive charging; IP67 waterproof rating; ability to call emergency personnel; send notifications; two-way facial recognition; light sensor; software to permit biometric identification of individual wearing device; software to permit communication between device and third party or third party device; camera; microphone; interactive screen; a panic alert button; interior tracking, which is the ability to track individuals within a structure using wifi technology when GPS is not available as well as the ability to alert the user if an enrollee has a low battery on the Shad® Watch device or if the Shad® Watch device has been turned off or the battery has died. In one or more embodiments, the ShadoWatch™ supervisor is notified any time there is a change in monitoring status of the user. In one or more embodiments, notifications are sent to a user when the participant arrives at work, school or any other location where additional arrival verification, either at one location or through a building, is necessary. Using the ShadoWatch™ device as shown in An embodiment of the present invention may include one or more of the following features:
Also incorporated herein by reference are my U.S. patent application Ser. No. 16/041,490, filed 20 Jul. 2018, and my U.S. Provisional Patent Application Ser. No. 62/534,961, filed 20 Jul. 2017. The following is a list of parts and materials suitable for use in the present invention: Parts Number Description
All measurements disclosed herein are at standard temperature and pressure, at sea level on Earth, unless indicated otherwise. All materials used or intended to be used in a human being are biocompatible, unless indicated otherwise. The foregoing embodiments are presented by way of example only; the scope of the present invention is to be limited only by the following claims.CROSS-REFERENCE TO RELATED APPLICATIONS
STATEMENT REGARDING FEDERALLY SPONSORED RESEARCH OR DEVELOPMENT
REFERENCE TO A “MICROFICHE APPENDIX”
BACKGROUND OF THE INVENTION
1. Field of the Invention
2. General Background of the Invention
BRIEF SUMMARY OF THE INVENTION
BRIEF DESCRIPTION OF THE SEVERAL VIEWS OF THE DRAWINGS
DETAILED DESCRIPTION OF THE INVENTION
Example Benefits of Notifications:
Example Benefits of Random Drug Testing Service
Benefits include:
Benefits of Caseload Management
Officer Mobile App (OMA)
PARTS LIST