Pre-conditioning a vaccine site with a potent recall antigen such as tetanus/diphtheria (Td) toxoid can significantly improve the lymph node homing and efficacy of tumor antigen-specific DC vaccines. Patients given Td had enhanced DC migration bilaterally and significantly improved survival. In mice, Td pre-conditioning also enhanced bilateral DC migration and suppressed tumor growth in a manner dependent on the chemokines CCL3 and CCL21 and Td-activated CD4+ T cells. Interference with any component of this axis markedly reduced Td-mediated DC migration and antitumor responses. Our clinical studies and corroborating investigations in mice suggest that pre-conditioning with a potent recall antigen represents a viable strategy to increase DC homing to lymph nodes and improve antitumor immunotherapy.
1. A method of immunizing a human, comprising: administering a first acellular immunogen to the human; and administering a second immunogen to the human, whereby administration of the first immunogen increases migration of the second immunogen to vaccine draining lymph nodes (VDLNs), wherein the first and second administrations are separated by 1 hour to 4 weeks, and wherein the second immunogen comprises a cytomegalovirus (CMV) antigen or an RNA encoding a CMV antigen. 2. The method of 3. The method of 4. The method of 5. The method of 6. The method of 7. The method of 8. The method of 9. The method of 10. The method of 11. A method of immunizing a human, comprising: administering to the human a first acellular immunogen comprising one or more of tetanus toxoid, diphtheria toxoid, tetanus and diphtheria toxoids, pneumococcal conjugate vaccine (PCV), or 12. The method of 13. The method of 14. The method of 15. The method of 16. The method of 17. The method of 18. The method of 19. The method of 20. The method of 21. A method of immunizing a human with cancer, comprising: administering to the human a first acellular immunogen comprising tetanus toxoid, diphtheria toxoid, or tetanus and diphtheria toxoids; and administering a second immunogen to the human comprising a pp65 cytomegalovirus (CMV) antigen or an RNA encoding a pp65 CMV antigen, wherein the first and second administrations are separated by 1 hour to 4 weeks. 22. The method of 23. The method of
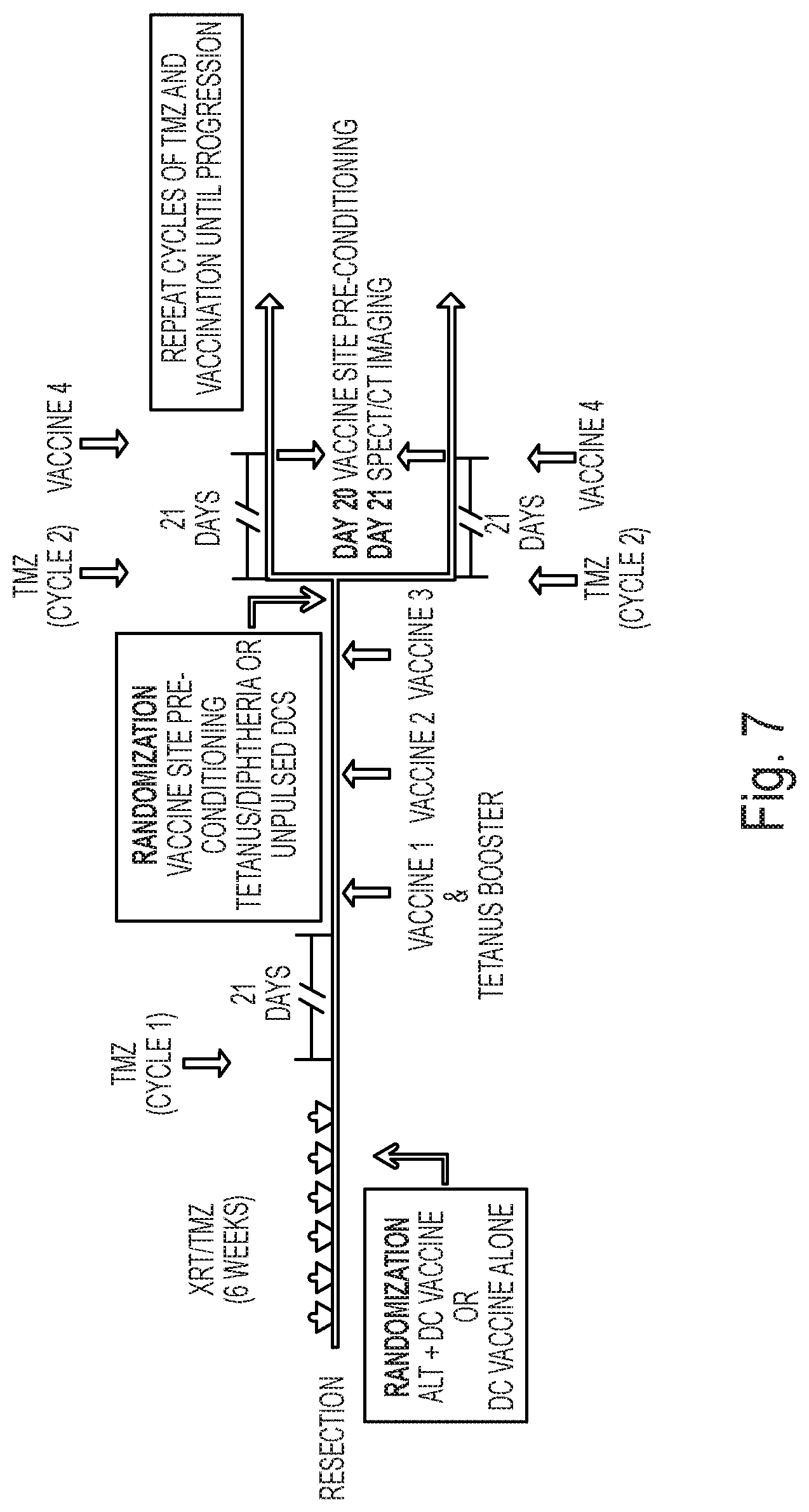
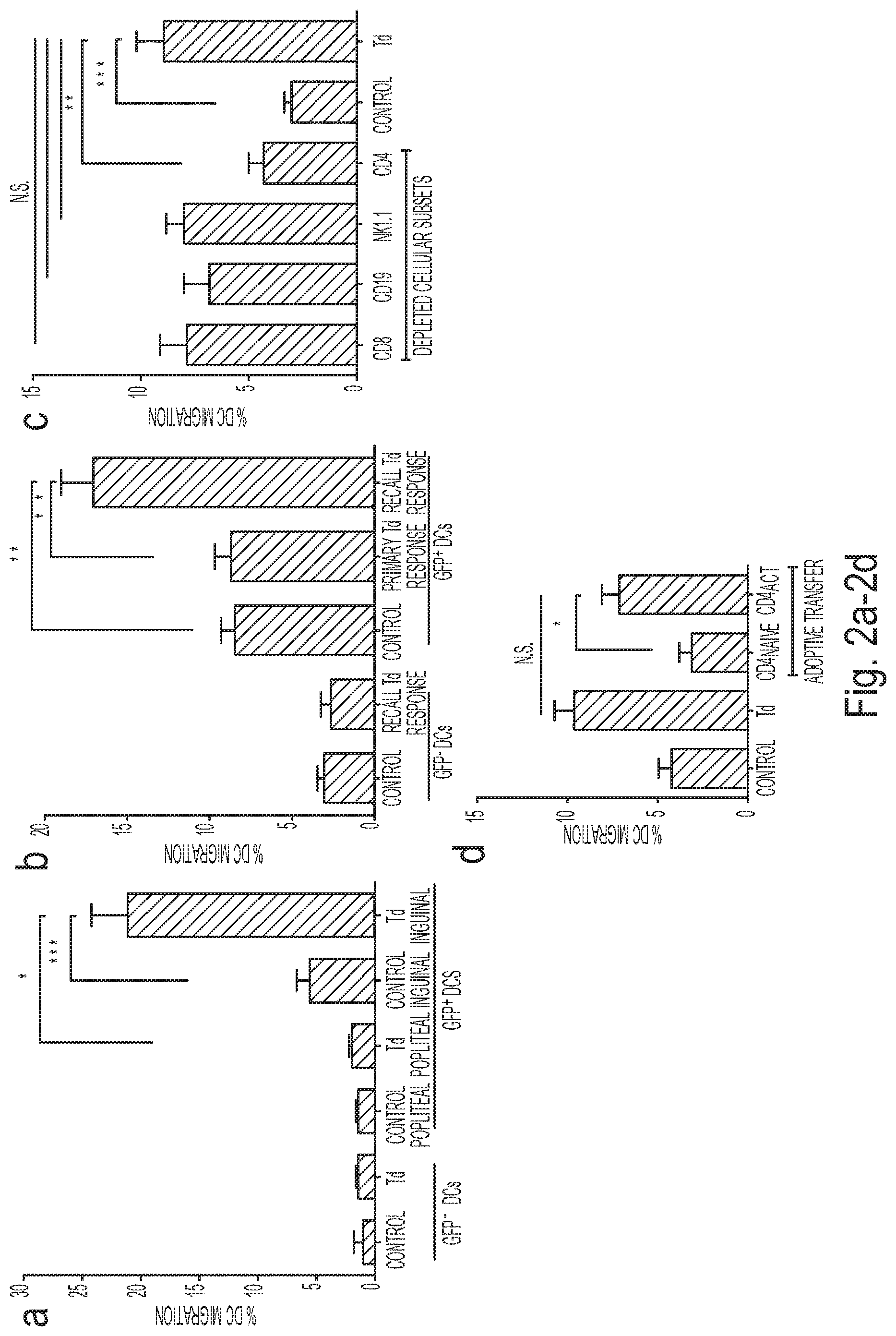
This application is a Continuation of U.S. Ser. No. 15/956,909 filed on Apr. 19, 2018, now U.S. Pat. No. 11,071,777 B2 issued Jul. 27, 2021, which is a Division of Ser. No. 15/036,878 filed on May 16, 2016, now U.S. Pat. No. 9,974,848 B2 issued May 22, 2018, which is a § 371 National Stage Application of PCT/US2014/065666 filed on Nov. 14, 2014, which claims benefit of U.S. 61/904,250 filed on Nov. 14, 2013, and all of these documents are hereby incorporated by reference in their entirety. This invention was made with government support under P50CA108786, P50-NS20023, R01-CA177476-01, R01-NS067037, P01-CA154291-01A1, P50-NS020023-30, 1UL2 RR024128-01 awarded by National Institutes of Health. The government has certain rights in the invention. This invention is related to the area of immunotherapy. In particular, it relates to cancer immunotherapy. Upon stimulation, dendritic cells (DCs) mature and migrate to draining lymph nodes to induce immune responses against pathogens1. As such, autologous, mature DCs generated ex vivo have been pulsed with tumor antigens and injected back into patients as a form of antitumor immunotherapy. While DC vaccines have shown limited promise in the treatment of patients with advanced cancers2-4including glioblastoma (GBM),5-7the factors dictating DC vaccine efficacy remain poorly understood. There is a continuing need in the art to improve DC vaccine efficacy as well as other types of vaccines' efficacy. A method of immunizing a human is provided. A first acellular immunogen is administered intradermally to the human. A second immunogen is administered intradermally to the human. Administration of the first immunogen increases migration of the second immunogen to vaccine draining lymph nodes (VDLNs). The first acellular immunogen is not an inflammatory cytokine. The first and second immunogens are distinct. The human has been previously immunized with or exposed to the first immunogen, such that the human has memory T cells which are specific and responsive to the first immunogen. A fusion protein is provided. It comprises tetanus toxoid and chemokine CCL3; diphtheria toxoid and chemokine CCL3; tetanus toxoid and a tumor specific or tumor associated antigen; tetanus toxoid and an antigen of an infectious agent; diphtheria toxoid and a tumor specific or tumor associated antigen; diphtheria toxoid and an antigen of an infectious agent; chemokine CCL3 and a tumor specific antigen; or chemokine CCL3 and an antigen of an infectious agent. A pharmaceutical composition is provided. It comprises tetanus toxoid and chemokine CCL3; diphtheria toxoid and chemokine CCL3; tetanus toxoid and a tumor specific or tumor associated antigen; tetanus toxoid and an antigen of an infectious agent; diphtheria toxoid and a tumor specific or tumor associated antigen; diphtheria toxoid and an antigen of an infectious agent; chemokine CCL3 and a tumor specific antigen; or chemokine CCL3 and an antigen of an infectious agent. A kit is provided. The kit comprises a first acellular immunogen and a second immunogen for intradermal administration to a human. The first acellular immunogen is selected from the group consisting of tetanus toxoid, diphtheria toxoid, and tetanus-diphtheria toxoids. The second immunogen is selected from the group consisting of a tumor-associated, a tumor-specific antigen, an antigen of an infectious agent, a dendritic cell vaccine, an antigen-pulsed dendritic cell vaccine, and dendritic cells pulsed with a CMV integument protein pp65 RNA. Another method of immunizing a human is provided. Chemokine CCL3 is administered to the human. An immunogen is administered intradermally to the human. Administration of chemokine CCL3 increases migration of the immunogen to vaccine draining lymph nodes (VDLNs). Another kit is provided which comprises components for administration to a human. The components comprise chemokine CCL3; and an immunogen selected from the group consisting of a tumor-associated, a tumor-specific antigen, an antigen of an infectious agent, a dendritic cell vaccine, an antigen-pulsed dendritic cell vaccine, and dendritic cells pulsed with a CMV integument protein pp65 RNA. A pharmaceutical composition is provided that comprises chemokine CCU and an immunogen selected from the group consisting of a tumor-associated, a tumor-specific antigen, an antigen of an infectious agent, a dendritic cell vaccine, an antigen-pulsed dendritic cell vaccine, and dendritic cells pulsed with a CMV integument protein pp65 RNA. These and other embodiments which will be apparent to those of skill in the art upon reading the specification provide the art with methods and products for treating infectious diseases and neoplastic diseases. * Model 2 of EORTC scoring system if methylation status unavailable † No progression ‡ Alive § Patient progressed prior to time of randomization for vaccine site pre-conditioning KPS, Karnofsky Performance Status; WHO, World Health Organization; MMSE, Mini-Mental State Examination, IDH1, isocitrate dehydrogenase type1; MGMT, O6-Methylguanine-DNA methyltransferase; PFS, progression-free survival; OS, overall survival; EORTC, European Organization for Research and Treatment of Cancer; O-E, observed—expected survival months; RPA, recursive partitioning analysis; NA, tissue not available. The inventors have developed a method and reagents for increasing an immune response in a human or other mammal. This is particularly useful where an increased immune response is desirable, such as in an individual that has a tumor or an individual that has an infectious disease. If an immune response is desired to an antigen, such as a tumor-associated, a tumor-specific, a bacterial, a viral, a fungal, or a parasitic antigen, typically one will immunize or vaccinate with such an antigen, called here an immunogen, or a second immunogen. But often the immune response is found to be suboptimal. The inventors have found that a suboptimal immune response can be enhanced by pretreatment with another, apparently unrelated, immunogen, called here a first immunogen. The first immunogen may be acellular. Preferably the subject has been previously immunized with or exposed to the first immunogen and the human has memory T cells or antibodies which are specific and responsive to the first immunogen. The first immunogen may be an agent that is not an inflammatory cytokine. Treatment with the first immunogen may be anytime from at least 0, 0.1, 1, 2, 3, 4, 5, 6, 7, 8, 9, 10, 12 hours before the second immunogen is administered up until 24, 36, 48, 60, 72 hours, and up to 4, 5, 6, or 7 days, or even up to 1, 2, 3, or 4 weeks. The first immunogen may be, for example, tetanus toxoid, diphtheria toxoid, tetanus-diphtheria toxoids, or any antigen which induces a CD4+ T cell immune response. The first immunogen may be a fusion protein that comprises, for example, tetanus toxoid, diphtheria toxoid, or tetanus-diphtheria toxoids. The inventors, while not wishing to be bound by any theory or mechanism, have found that the first immunogen works by increasing the migration of the second immunogen to vaccine draining lymph nodes (VDLNs). Additionally, the increase in migration is dependent on the presence of chemokine CCL3. Administration of CCL3 or granulocyte-macrophage colony stimulating factor (GM-CSF) may be used to substitute or augment the effect of the first immunogen. Such administration may employ the chemokine or cytokine itself, or the chemokine or cytokine as part of a fusion protein with another entity, such as a first immunogen discussed above. Administration of the first and/or second immunogens or agents may be via any convenient route. Intradermal, intravenous, subcutaneous, intramuscular, oral, sublingual, anal, or other delivery routes may be applied. Tumors that are amenable to immunological therapy include, without limitation, glioblastoma, pilocytic astrocytomas, subependymal giant cell gliomas (WHO Grade I); diffuse astrocytomas, oligodendrogliomas, oligoastrocytomas, ependymomas, pleomorphic xanthoastrocytomas (WHO Grade II); anaplastic astrocytomas, anaplastic oligodendrogliomas, and anaplastic oligoastrocytomas (WHO Grade III); GBMs medulloblastomas (WHO Grade IV), lung cancers, gastric cancers, ovarian cancers, breast cancers, colorectal cancers, pancreatic cancers, prostate cancers, chronic myelogenous leukemias, chronic lymphocytic leukemias, acute lymphoblastic leukemias, and acute myelogenous leukemias. Infectious agents that are amenable to the immunological therapy include without limitation bacterial, fungal, viral, and parasitic agents, such as protozoa and helminthes. Exemplary of such infectious agents are Acinetobacter baumannii; Actinomyces israelii; Actinomyces gerencseriae; Propionibacterium propionicus; Trypanosoma brucei; HIV (Human immunodeficiency virus); Entamoeba histolytica.; Second immunogens that are related to the tumor or infectious agent, may include isolated proteins, isolated portions of proteins (polypeptides), dendritic cell vaccines, antigen-pulsed dendritic vaccines, and dendritic cells pulsed with a cytomegalovirus (CMV) RNA such as integument protein pp56 RNA. Bacterial proteins or RNA may be used. Other viral RNAs or proteins may be used. Parasite or fungal proteins or RNA may be used. Fusion protein may be used as a way to deliver either the first immunogen alone, or both the first and the second immunogen fused together. Fusion proteins are typically made using well known techniques in the art using recombinant DNA. Alternatively two or more proteins may be joined together by chemical means or enzymatic means, i.e., post-translationally. Fusion of a first immunogen with CCL3 may deliver a more potent stimulation than either of the two alone. The construction of fusion proteins is routine and well known in the art. Combinations of agents may be combined together in a single composition or mixture or can be joined by fusion. Two agents can be administered simultaneously, approximately simultaneously, or serially. The first and second immunogens (or chemokine/cytokine and immunogen) may be administered separated by at least 12, 24, 36, or 48 hours. They may be administered within 48, 60, or 72 hours. If the two immunogens or agents are to be administered serially, they may advantageously be packaged together in a single container but in separate vessels. Such a container can be termed a kit and may additionally comprise instructions or other information, as well as additional agents or delivery means. Adjuvants may be added as separate elements of a kit or may be added to individual components in combination. Delivery devices may also be included in the kit, such as syringes and/or needles. Any mammal can be treated in this manner, including but not limited to lab animals, such as rats, mice, guinea pigs, chimpanzees, monkeys. Humans can be treated. Domestic animals such as dogs and cats can be treated. Farm animals, whether for dairy production or meat production, such as cows, goats, pigs, and horses can be so treated. Zoo animals can be so treated. Results from our trial appear to demonstrate that the modulation of CMV-specific DCs with Td pre-conditioning increases their migratory capacity and may improve clinical outcomes in patients with GBM. Corroborating studies in mice support these claims and underline CCL3 as a novel and important mediator of increased DC migration to VDLNs, in addition to its described roles in DC precursor mobilization to peripheral sites of inflammation18,19and in guiding nave CD8+ localization to sites of DC-CD4+ interactions in lymph nodes20. Our preclinical findings suggest that increased DC migration to VDLNs following Td pre-conditioning could be mediated through the induction of CCL21 and that CCL3 may be involved in enabling this step. However, it remains possible that additional mechanisms could also contribute to the increased DC accumulation in VDLNs. Evaluating efficacy in cancer vaccine trials is currently complex due to the lack of reliable immunologic predictors of clinical outcomes. However, our findings suggest that DC migration should be further investigated as a biomarker for immunotherapy studies. The above disclosure generally describes the present invention. All references disclosed herein are expressly incorporated by reference. A more complete understanding can be obtained by reference to the following specific examples which are provided herein for purposes of illustration only, and are not intended to limit the scope of the invention. Patient selection, demographics and clinical protocol. The clinical protocol and informed consent were approved by the U.S. Food and Drug Administration and Institutional Review Board at Duke University. Adults with a newly-diagnosed WHO Grade IV GBM, who had a gross total resection and residual radiographic contrast enhancement on post-resection magnetic resonance imaging (MRI) not exceeding 1 cm in diameter in two perpendicular axial planes, and a Karnofsky Performance Scale score of ≥80, were eligible for the clinical study (FDA-IND-BB-12839, Duke IRB Pro00003877, NCT00639639). Histopathology of all specimens was initially read as GBM, but this diagnosis was re-confirmed by a second board-certified neuro-pathologist. Histologic diagnosis included immunohistochemistry for MGMT protein expression. Benign endothelial cells staining positive for MGMT served as the internal control21. MGMT promoter methylation was performed by PCR. Based on published reports showing high expression of CMV viral proteins in >90% of GBM tumors9-12, we elected not to include pp65 staining of tumor tissue as an eligibility criterion for this trial. All 13 patients on study received a gross total resection defined as >90% with residual contrast enhancement of <1 cm2, and steroid doses could not exceed 2 mg/day of dexamethasone. No patients received intensity-modulated radiation therapy (IMRT) or had 5-aminolevulinic acid (5-ALA) dye used during resection. Thereafter, all patients completed a six week course of conformal external beam radiotherapy (XRT) to a dose of 60 Gray (Gy) with concurrent temozolomide (TMZ) at a targeted daily dose of 75 mg/m2/d. Upon completion of standard therapy, all patients underwent an MRI for evidence of progressive disease. Those with evidence of progressive disease or required steroid therapy in excess of physiological levels at the time of vaccination were replaced. A total of 13 patients were enrolled and randomized prior to the first cycle of standard-of-care 5-day TAU (200 mg/m2/day), but one progressed before randomization. For each vaccine 2×107mature pp65 RNA-pulsed DCs in 0.4 mL of saline were given intradermally in the groin. The first vaccination occurred on day 21±2 of TMZ cycle 1. Although some patients (n=5) were also randomized to receive an autologous lymphocyte transfer, those patients did not show a significant improvement in progression-free survival or overall survival. Patients given autologous lymphocytes were additionally administered 3×107cells/kg intravenously with acetaminophen (650 mg per os (po)) and Benadryl (25-50 mg po) given 30-60 minutes before infusion. The first three DC vaccines were given biweekly, and, at vaccine 4, patients were randomized to Td or unpulsed autologous DCs and received111In-labeled DCs for migration studies. Vaccine 4 and additional monthly vaccines until tumor progression occurred on day 21±2 of successive TMZ cycles. A minimum of six cycles of adjuvant TMZ were required as per standard-of-care and continuation was at the discretion of the treating neuro-oncologist. Patients were monitored for treatment-related toxicity, and none of the patients experienced any vaccine or Td-related adverse events. Human autologous DC generation for vaccination and production of pp65-LAMP/A64 mRNA. DCs were generated using the method of Romani et al.22-23, and after harvest the cells were frozen and assessed for contamination and lineage purity as previously published24. The 1.932 kB pp65 full-length cDNA insert was obtained from Dr. Bill Britt (University of Alabama-Birmingham, Birmingham, Ala.) and RNA was generated and transfected as previously reported23. Human DC migration studies. DC migration studies were done at the fourth vaccination. Patients were randomized by side to have one inguinal vaccination site pre-treated with either 1×106unpulsed DCs or Td toxoid (1 flocculation unit (Lf)). Saline was administered on the contralateral side. Vaccination site pretreatment was done 6 to 24 hours before DC vaccination. DCs were labeled with 10 μCi/1×107DC with111In (GE Healthcare, Arlington Heights, Ill.) and divided equally in the two sites. Gamma camera images (GE Infinia Hawkeye) were taken immediately after injection and at 24 and 48 hours after injection to compare111In-labeled DC migration from the inguinal injection sites to the inguinal lymph nodes. Progression-free and overall survival. The more recent Response Evaluation Criteria in Solid Tumors (RECIST criteria) judge progression by measuring the longest one-dimensional diameter and determine progression by a 20% increase in this diameter25. Once progression is detected on MRI, other imaging modalities such as positron emission tomography and a stereotactic brain biopsy of the enhancing region are incorporated to aid in determining progression. A stereotactic brain biopsy or resection demonstrating recurrence defines clinical progression. Progression-free survival (PFS) was defined as the time until radiographic or clinical progression and was censored at the last follow-up if the patient remained alive without disease progression. Overall survival (OS) was defined as the time until death and was censored at the last follow-up if the patient remained alive at the time of analysis. PFS and OS for all patients were calculated from both the time of surgery and from randomization to vaccine site pre-conditioning. Mice. All animal experiments were performed according to Duke University Institutional Animal Care and Use Committee-approved protocols. Female C57BL/6 wild-type, OT-I transgenic mice, Ccl3−/−, and RFP and GFP transgenic mice (ubiquitin promoter) were obtained from the Jackson Laboratory and were bred under pathogen-free conditions at Duke University Medical Center. The plt strain was provided by and maintained at Duke University Medical Center. All mice were bred under pathogen-free conditions at Duke University Medical Center. Generation of murine bone marrow-derived DCs, electroporation, and phenotyping. Bone marrow-derived DCs were generated from 6-8 week old female C57BL/6 wild-type, RFP+, or GFP+ transgenic mice and pulsed with OVA RNA as previously described23. For phenotyping, anti-mouse PE-conjugated CD11c (HL3), CD80 (16-10A1), CD86 (GU), Ly-6G (1A8), MHC class II (I-Ab; AF6-120.1) and isotype controls (IgG1; G235-2356, IgG2 Vaccine Site Pre-conditioning and DC Vaccination in Mice. For Td immunization, female 6-8 week old C57BL/6 mice received a primary i.m. vaccine of Td toxoid (Sanofi Aventis; DECAVAC® tetanus and diphtheria toxoid vaccine; 1Lf, 100 μL) administered bilaterally into the quadriceps muscle (50 uL per leg). An i.m. booster (0.5 Lf, 50 μL) was administered two weeks later. Vaccine site pre-conditioning with saline or Td toxoid (0.5 Lf) was given i.d. two weeks after the booster and randomized to the right or left groin site. Mouse IgG antibody responses to Td were measured by ELISA (Xpress Bio). Serum from immunized mice was harvested two weeks following each immunization prior to the next booster vaccine. DCs were resuspended at 1×106/100 μL PBS (Gibco) and administered i.d. on both sides 0.8 cm from the groin crease 24 hours after i.d. pre-conditioning. DCs injected in the groin ipsilateral to the Td pre-conditioning side were directly injected i.d. within the erythematous nodule produced by Td pre-conditioning. For recall response experiments using other protein antigen formulations, female 6-8 week old C57BL/6 mice received a primary i.m. vaccine of PREVNAR 13® Pneumococcal 13-valent conjugate vaccine (Pfizer, 1.32 μg, 100 μL) and PEDVAX HIB® Depletion, Adoptive Transfer, and CCL3 Reconstitution. Female 6-8 week old C57BL/6 mice were initially depleted of cellular subsets once daily (200 μg/mouse intraperitoneally) for three days prior to the first Td i.m. immunization. Anti-mouse CD4 (GK1.5) and anti-CD8 (2.43) antibodies were purchased from American Type Culture Collection (ATCC, Manassas, Va.). Anti-mouse NK1.1 (PK136) and anti-CD19 (2D5) and control isotype depleting antibodies (IgG2a (2A3) and IgG2b (LTF-2)) were from BioXCell. Maintenance doses of depletion antibodies were administered at three-day intervals (200 μg intraperitoneally) until vaccine site pre-conditioning with Td two weeks later. For adoptive transfer experiments, Td-activated CD4+ T cells (CD4Act) were induced in donor female 6-8 week old C57BL/6 mice. Mice were primed (1Lf, 100 μL) and boosted (0.5 Lf, 50 μL) i.m. with Td two weeks apart. Three days after the i.d. Td pre-conditioning, donor inguinal lymph nodes, skin injection sites, and spleens were harvested and processed for negative isolation of CD4+ T cells (Miltenyi Biotec). Complementary sites from naïve mice were harvested simultaneously and processed for negative isolation of CD4+ T cells (CD4Naive). A final dose of 6×106CD4+ T cells were administered intravenously into recipient mice two days before i.d. vaccination with RFP+ DCs. For CCL3 reconstitution in Ccl3−/− hosts, recombinant mouse CCL3 (R&D Systems) was administered intravenously into the tail vein (10 μg/mouse) 12 hours prior to vaccination with RFP+ DCs. Ccl3−/− mice that were Td-immune were given recombinant CCL3 12 hours following Td pre-conditioning at the vaccine site. Tumor implantation experiments. For tumor implantation experiments, B16/F10-OVA cells were grown as previously published27and injected subcutaneously at a concentration of 2×105cells in 200 μL of PBS in the flank of C57BL/6 mice 8 days before vaccine site pre-conditioning, the first intradermal vaccine of OVA RNA-pulsed DCs, and autologous lymphocyte transfer (1:1 infusion of nave: OT-I OVA-specific T cells). Randomization of mice occurred after tumor inoculation prior to vaccine site pre-conditioning and the first DC vaccine first by compilation and then by random sorting into various treatment cages. Mice received two additional weekly vaccines of RNA-pulsed DCs on days 15 and 22. Ten days after tumor implantation, flank sites were monitored daily for tumor growth, and tumor size was measured every two days. Tumor volume (millimeters cubed) was calculated by the formula (length×width2×0.52) in a perpendicular fashion. Mice were sacrificed when ulceration occurred or when the tumor reached either 2 cm in any direction or 2000 mm3. Analysis of tumor growth focused on follow-up assessments before significant dropout occurred. A logarithmic transformation yielded a linear relationship between tumor volume and time for all curves. A mixed effects linear model that accounted for correlation of measurements within a mouse was used to examine the relationship between time and log [tumor volume+1]. No blinding was done for these animal studies. Mouse tumor cell lines. The B16/F10-OVA tumor cell line was a kind gift from R. Vile, PhD (Mayo Clinic)27,28. The B16/F10 cell line was provided by I. Fidler, PhD (M. D. Anderson Cancer Center, Houston, Tex.)29. Cell lines were tested for mycoplasma before use. Murine lymph node digestion and quantification of fluorescent and endogenous DCs. Harvested LNs were placed in 6-well culture plates containing 1 mL HBSS with Ca2+/Mg2+ (Gibco), digested for 35 min at 37° C. with collagenase A (1 mg/mL; Roche) and DNasel (0.2 mg/mL; Sigma-Aldrich) and 20 mM EDTA (Invitrogen) was added for 5 minutes at room temperature to stop the reaction26. Single cell suspensions were prepared, cells were centrifuged (500×g×5 min) and resuspended in PBS with 2% FBS and stained with murine APC-conjugated CD11c (BD Pharmingen; HL3). For quantification of RFP+ or GFP+counts in individual lymph nodes, samples were resuspended at an equal volume and 50 μL of counting beads (Invitrogen; 50,000 beads) were added to each sample. Cells were gated first on murine CD11c+ cells and then RFP+ or GFP+ cells, and absolute cell counts/lymph node were quantified using the following equation: RFP+ or GFP+ events×50,000 beads/#bead events. For endogenous DC migration experiments, cells were surface-stained in PBS with 3% FBS, 10 mM EDTA, 5% normal mouse serum, 5% normal rat serum and 1% Fc Block (eBioscience; clone 93) and then intra-cellularly stained with anti-CD207 according to the manufacture's protocol (BD CYTOFIX/CYTOPERM™ fixation/permeabilization Kit). The cells were analyzed by BD LSRII flow cytometer with FlowJo software (Tree Star). FITC-conjugated anti-B220 (RA-3-6B2), ALEXA FLUOR® dye 700−conjugated anti-Ly-6G (1A8), APC-Cy7-conjugated anti-CD11b (M1/70), V450-conjugated anti-Ly-6C (AL-21) are from BD Pharmingen. PE-conjugated anti-CD207 (eBioL31), PE-Cy5.5-conjugated anti-CD11c (N418), PE-Cy7-conjugated anti-CD8 (53.6.7), APC-conjugated anti-CD103 (2E7), EFLUOR® dye 605NC-conjugated anti-CD45 (30-F11) and eFluor® 650NC-conjugated anti-MHC Class II (I-A/I-E) (M5/114.15.2) are from eBioscience. FITC-conjugated anti-CD3 (145-2C11) and anti-CD49b (DX5) are from BioLegend. LIVE/DEAD® Fixable Aqua Dead Cell Stain Kit is from Molecular Probes. Serum cytokine and chemokine analysis. Peripheral blood was collected 24 hours after vaccine site pre-conditioning prior to DC vaccination. For patients, blood was collected in 10 mL venous collection tubes (BD), allowed to clot, spun at 1,170×g for 15 minutes, and serum was stored at −190° C. For mice, blood was collected in microtainer tubes (BD) allowed to clot for 30 min, spun at 8,000×g for 5 min, and serum was stored at −80° C. Multiplex cytokine and chemokine kits were used for patient and mouse studies (cytokines and chemokines of interest for human, Affymetrix and Millipore: EPX080-10007-901, EPX010-12121-901, EPX010-12125-9, EPX010-10287-901, HCYTOMAG-60K-01 MDC; for mouse: Affymetrix and Millipore: EPX090-20821-901 PROCARTAPLEX™ 9-plex immunoassay, MCYP3MAG-74K-01 MDC) following the manufacturer's instructions. Expression of Chemokines CCL3 and CCL21 in Mice. Female 6-8 week old C57BL/6 or Ccl3−/− mice were immunized with Td as described above. Twenty-four hours following Td pre-conditioning, both left and right skin sites and inguinal lymph nodes were harvested. For protein isolation, skin and lymph node samples were placed in pre-loaded bead lysis EPPENDORF™ tubes (Next Advance) containing RIPA buffer (Sigma) with protease inhibitor cocktail tablets (Mini Complete Protease Inhibitor Cocktail Tablets, Roche Applied Science). Homogenization was performed with the Bullet Blender at 4° C. Supernatants were collected by centrifugation, and chemokines were quantified by ELISA. QUANTIKINE™ ELISA kits (R&D Systems) were used for CCL3, and RayBiotech ELISA kits were used for CCL21. Corresponding samples were run for total protein concentration using the Bradford assay. CCL3 and CCL21 concentrations were normalized across samples and expressed as μg per mg or ng per mg of total skin or lymph node protein. Statistical analysis. Statistics were reviewed by biostatisticians and tested as described in results and figure legends. Cox proportional hazard models were used to evaluate DC migration and clinical outcomes. The Logrank test was used to compare Kaplan-Meier survival curves with censored patient data. An unpaired two-sample student's t test was used for two-group comparisons. Paired t tests were used for comparisons between lymph nodes in the same host. One-way ANOVA was used to assess differences among three or more groups with post-hoc Tukey t tests for two-group comparisons. Wilcoxon rank sum analyses were conducted for pairwise comparisons in serum cytokine/chemokine panels. Signed rank tests were used to evaluate fold increase in chemokine levels. For tumor growth curves, a mixed effects linear model was employed utilizing log-transformed curves and F-test for pairwise comparisons of regression line slopes and mean tumor volumes on the first day of detectable tumors (y-intercept). Repeated measures for calculation of slopes incorporated time between detectable tumor until significant dropout occurred (maximal tumor size, ulceration, or death). Mean tumor volumes at final time points when entire control cohort expired were compared between two groups using an unpaired two-sample student's t test. Asterisks indicate level of significance (*P<0.05, **P≤0.01, ***P<0.001, P>0.05 not significant (N.S.)). To evaluate the influence of vaccine site pre-conditioning on DC migration clinically, we conducted a randomized and blinded clinical trial of patients with newly-diagnosed GBM (Extended Data. To validate these clinical results and understand the mechanistic underpinnings, we performed analogous studies in a mouse model. Vaccine sites of Td-immune mice were pre-conditioned with Td and then received a bilateral vaccine of ovalbumin (OVA) RNA-pulsed DCs. In a striking parallel to our clinical findings, Td-immune mice receiving Td pre-conditioning had a three-fold increase in DCs within the afferent inguinal lymph nodes ( In patients with GBM randomized to unilateral Td pre-conditioning we observed an increased uptake of111In-labeled DCs in bilateral lymph nodes, suggesting that Td pre-conditioning increased DC migration through systemic mediators ( Based on our observations that Td recall responses could induce bilateral DC migration and that systemic administration of Td-activated CD4+ T cells were sufficient to recapitulate the increased DC migration, we sought to examine the induction of CD4-dependent inflammatory mediators in the serum of patients and mice following a recall response with Td pre-conditioning. CCL3 was the only chemokine to be elevated in both patients and mice and had the greatest fold elevation of all chemokines in the serum of both following Td pre-conditioning ( To identify the site of the CCU production, we assayed the pre-conditioning sites in mice and found high concentrations of this chemokine only unilaterally at the site of Td pre-conditioning ( To evaluate the importance of CCL3 in mediating DC trafficking to VDLNs in vivo, we immunized and boosted Ccl3−/− mice with Td as described above and found that the migration of injected DCs to VDLNs in Ccl3−/− mice was significantly lower than in wild-type Td pre-conditioned mice ( Our studies demonstrated that CD4+ T cells activated by the Td recall response were sufficient to induce increased DC migration in naive mice ( Alterations in CCL21 expression along the lymphatic endothelium in the skin take place in the context of inflammation and have been associated with increased DC migration8. Following Td pre-conditioning, higher levels of CCL21 were seen in Td-treated wild-type mice compared to Ccl3−/− mice, and exogenous administration of CCL3 rescued the diminished levels of CCL21 at the vaccine sites of Ccl3−/− mice only in the context of Td recall responses ( The apparent increase in PFS and OS for Td treated-patients prompted us to determine if Td pre-conditioning could inhibit tumor growth in a murine model of established B16/F10-OVA tumors. Pairwise comparisons revealed that tumor growth in Td+OVA-DC mice was significantly delayed ( Experimental Design: Vaccine site pre-conditioning and DC vaccination in mice. For Td immunization, female 6-8 week old C57BL/6 mice received a primary i.m. vaccine of Td toxoid (Sanofi Aventis; DECAVAC®; 1Lf, 100 μL) administered bilaterally into the quadriceps muscle (50 uL per leg). An i.m. booster (0.5 Lf, 50 μL) was administered two weeks later. Vaccine site pre-conditioning with saline or Td toxoid (0.5 Lf) was given i.d. two weeks after the booster and randomized to the right or left groin site. Mouse IgG antibody responses to Td were measured by ELISA (Xpress Bio). Serum from immunized mice was harvested two weeks following each immunization prior to the next booster vaccine. DCs were resuspended at 1×106/100 μL PBS (Gibco) and administered i.d. on both sides 0.8 cm from the groin crease 24 hours after i.d. pre-conditioning. DCs injected in the groin ipsilateral to the Td pre-conditioning side were directly injected i.d. within the erythematous nodule produced by Td pre-conditioning. Depletion, Adoptive Transfer, and CCL3 Reconstitution. For CCL3 reconstitution in Ccl3−/− hosts, recombinant mouse CCL3 (R&D Systems) was administered intravenously into the tail vein (10 mg/mouse) 12 hours prior to vaccination with RFP+ DCs. Ccl3−/− mice that were Td-immune were given recombinant CCL3 12 hours following Td pre-conditioning at the vaccine site. In follow-up experiments assessing the dose-dependent response of CCL3 in Ccl3−/− hosts, 1 μg/mouse and 10 μg/mouse were administered intravenously 12 hours prior to the DC vaccine. In follow-up experiments assessing the dose-dependent response of CCL3 in wild-type hosts, 200 ng, 2 μg, and 20 μg/mouse were administered intravenously 12 hours following Td pre-conditioning and 12 hours prior to the DC vaccine. Results: Exogenous administration of CCL3 could rescue the limited DC migration in Ccl3−/− mice, but only when the Td recall responses were induced ( Alterations in CCL21 expression along the lymphatic endothelium in the skin take place in the context of inflammation and have been associated with increased DC migration8. Following Td pre-conditioning, higher levels of CCL21 were seen in Td-treated wild-type mice compared to Ccl3−/− mice, and exogenous administration of CCL3 rescued the diminished levels of CCL21 at the vaccine sites of Ccl3−/− mice only in the context of Td recall responses ( Significance of CCL21: Alterations in CCL21 expression along the lymphatic endothelium in the skin take place in the context of inflammation and have been associated with increased DC migration.8This is the key homing chemokine that facilitates DC entry into lymphatic vessels and draining lymph nodes. Prior studies have demonstrated that migration of mature DCs to VDLNs is regulated at the point of entry in tissue lymphatic vessels. Tissue-derived DCs will follow CCL21 gradients into initial afferent lymphatic vessels, which subsequently channel DCs into the subcapsular sinus of draining lymph nodes. We investigated whether increased DC migration to VDLNs following Td pre-conditioning could be a result of elevated CCL21 in the skin, thus facilitating DC entry into afferent lymphatic vessels. Following Td pre-conditioning, we found skin-derived CCL21 to be expressed at higher levels in Td-treated WT mice compared to Ccl3−/− mice ( The disclosure of each reference cited is expressly incorporated herein as is the disclosure of any priority application to which benefit is claimed, including, but not limited to U.S. Ser. No. 61/904,250.
TECHNICAL FIELD OF THE INVENTION
BACKGROUND OF THE INVENTION
SUMMARY OF THE INVENTION
BRIEF DESCRIPTION OF THE DRAWINGS
DETAILED DESCRIPTION OF THE INVENTION
EXAMPLE 1
Methods
EXAMPLE 2
EXAMPLE 3
EXAMPLE 4
EXAMPLE 5
EXAMPLE 6
EXAMPLE 7
EXAMPLE 8
EXAMPLE 9
EXAMPLE 10
EXAMPLE 11
REFERENCES