Semiconductor processing systems and method are described that may include flowing deposition precursors into a substrate processing region of a semiconductor processing chamber, where the substrate processing region includes an electrostatic chuck. The methods may further include depositing a seasoning layer on the electrostatic chuck from the deposition precursors to form a seasoned electrostatic chuck. The seasoning layer may be characterized by a dielectric constant greater than or about 3.5. The methods may still further include applying a voltage to the seasoned electrostatic chuck of greater than or about 500 V. The seasoned electrostatic chuck may be characterized by a leakage current of less than or about 25 mA when the voltage is applied.
1. A semiconductor processing method comprising:
flowing deposition precursors into a substrate processing region of a semiconductor processing chamber, wherein the substrate processing region includes an electrostatic chuck, and wherein the deposition precursors comprise molecular oxygen (O2); depositing a seasoning layer on the electrostatic chuck from the deposition precursors to form a seasoned electrostatic chuck, wherein the seasoning layer is characterized by a dielectric constant greater than or about 3.5; and applying a voltage to the seasoned electrostatic chuck of greater than or about 500 V, wherein the seasoned electrostatic chuck is characterized by a leakage current of less than or about 25 mA when the voltage is applied. 2. The semiconductor processing method of 3. The semiconductor processing method of 4. The semiconductor processing method of 5. The semiconductor processing method of 6. The semiconductor processing method of 7. The semiconductor processing method of 8. The semiconductor processing method of 9. The semiconductor processing method of 10. A semiconductor processing method comprising:
contacting a semiconductor wafer with an electrostatic chuck in a substrate processing region of a semiconductor processing chamber, wherein the electrostatic chuck has been seasoned with a seasoning layer that is characterized by a dielectric constant greater than or about 3.5; applying a clamping voltage to the seasoned electrostatic chuck of greater than or about 500 V to chuck the semiconductor wafer, wherein the seasoned electrostatic chuck is characterized by a leakage current of less than or about 25 mA when the clamping voltage is applied; and depositing greater than two layers on the chucked wafer, wherein the deposition of the greater than two layers induces a stress in the chucked wafer greater than or about 500 MPa, wherein the chucked wafer is characterized by bowing less than or about 100 μm after the deposition of the greater than two layers. 11. The semiconductor processing method of 12. The semiconductor processing method of 13. The semiconductor processing method of 14. The semiconductor processing method of
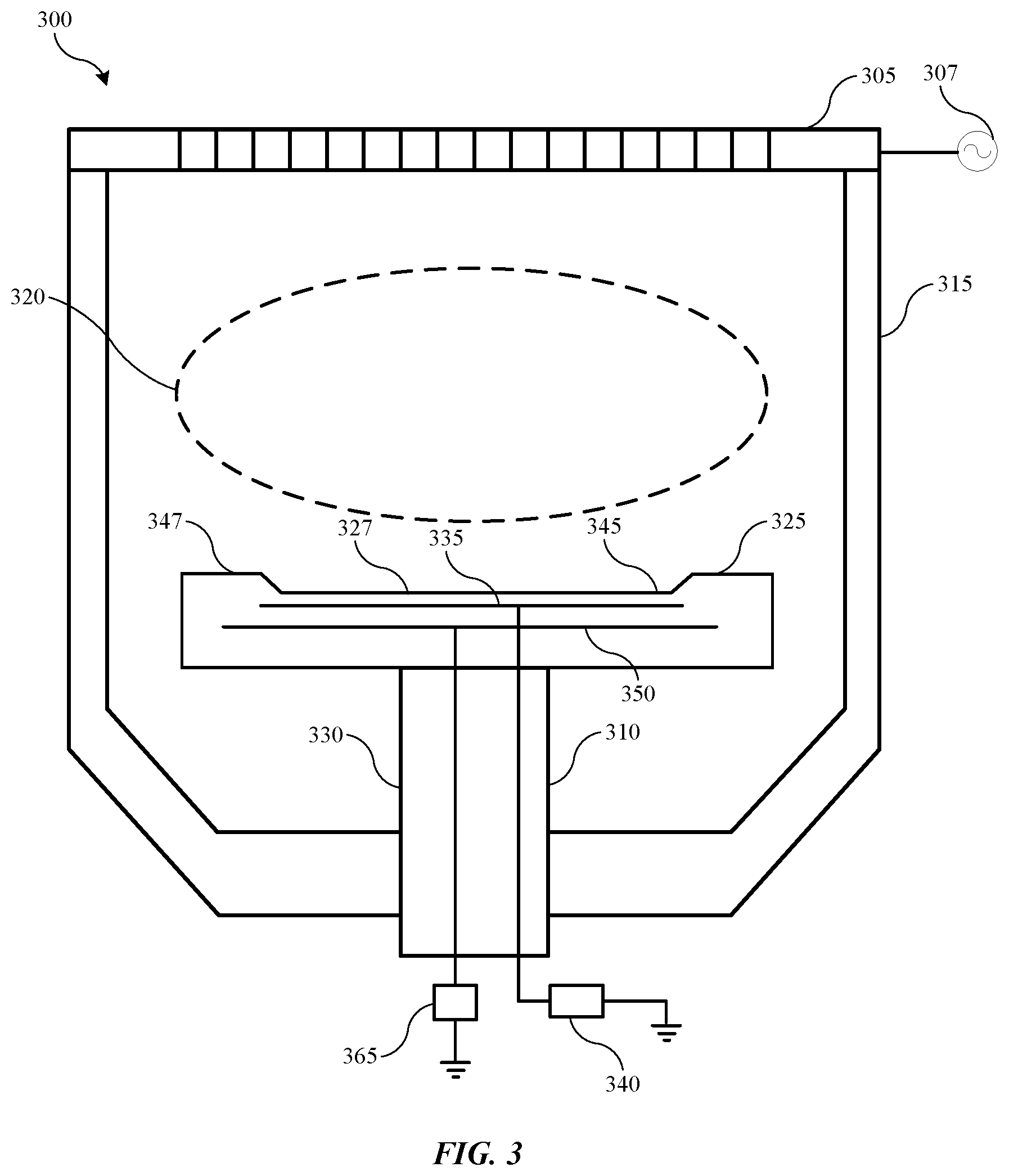
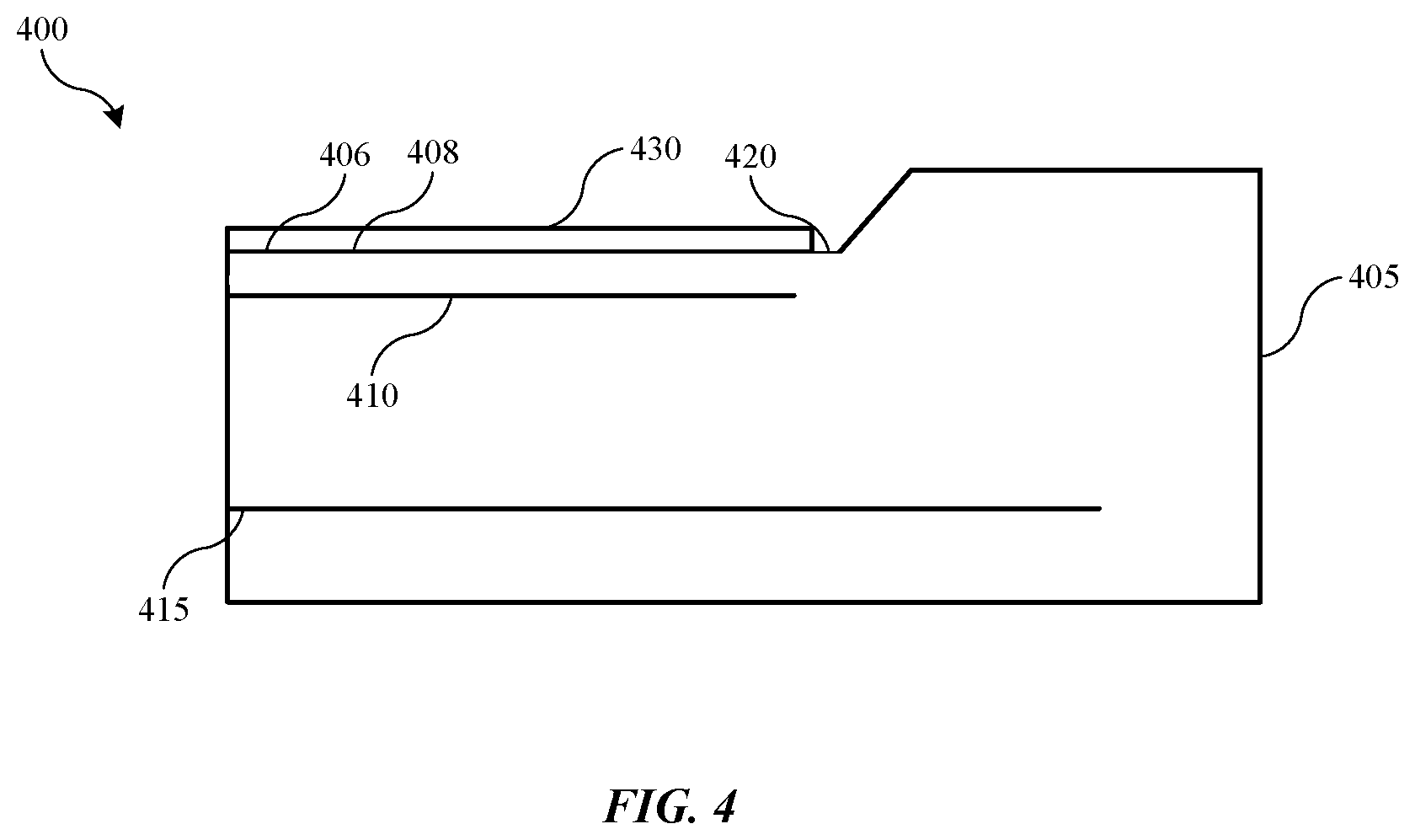
The present technology relates to components and apparatuses for semiconductor manufacturing. More specifically, the present technology relates to substrate support assemblies and other semiconductor processing equipment. Integrated circuits are made possible by processes which produce intricately patterned material layers on substrate surfaces. Producing patterned material on a substrate requires controlled methods for forming and removing material. Some processes to make integrated circuits include the deposition of many layers on a substrate wafer. In some instances, the cumulative stresses generated by the increasing number of layers can create stresses that are large enough to warp the substrate wafer during fabrication. The wafer warping can have many adverse effects on circuit fabrication, including the formation of layers with an uneven thickness across the wafer surface. As the number of layers formed on wafer substrates continue to increase, the amount of stress on the wafer continues to increase, which results in more pronounced wafer warping during fabrication. Thus, there is a need for improved systems and methods that can be used to produce high quality devices and structures with less warping of the substrate wafer. These and other needs are addressed by the present technology. Embodiments of the present technology include systems and methods of seasoning electrostatic chucks with dielectric seasoning films that permit the chuck to hold a high amount of static charge with a small amount of charge leakage. The seasoning films may include dielectric materials characterized by dielectric constants (κ-values) of greater than or about 3.5. The season films may be deposited on exposed surfaces of the electrostatic chuck as well as other exposed surfaces of a substrate support assembly and interior walls of a semiconductor processing chamber. The electrically insulating seasoning film may permit a high voltage to be applied to the electrostatic chuck with low levels of leakage current. Embodiments of the present technology include semiconductor processing methods that include flowing deposition precursors into a semiconductor processing chamber. The processing chamber may include a substrate processing region that includes an electrostatic chuck. The methods may further include depositing a seasoning layer on the electrostatic chuck from the deposition precursors to form a seasoned electrostatic chuck. The seasoning layer may be characterized by a dielectric constant greater than or about 3.5. The methods may still further include applying a voltage to the seasoned electrostatic chuck of greater than or about 500 V. When this voltage is applied, the seasoned electrostatic chuck may be characterized by a leakage current of less than or about 25 mA. In additional embodiments, the deposition precursors that form the seasoning layer may include a silicon-containing precursor. In further embodiments, the deposition precursors may also include molecular oxygen (O2). In some embodiments the seasoning layer formed from the deposition precursors may comprise undoped silicon oxide. In embodiments, the seasoning layer may be characterized by a thickness greater than or about 500 Å. In additional embodiments, the seasoning layer may include a bilayer of silicon oxide and undoped polysilicon. In embodiments, the polysilicon layer may be characterized by a thickness less than or about 300 Å. In still further embodiments, the seasoning layer may be characterized by less than or about 1 at. % carbon. Embodiments of the present technology also include processing methods that include contacting a semiconductor wafer with an electrostatic chuck. The electrostatic chuck may be located in a substrate processing region of a semiconductor processing chamber. The chuck may be seasoned with a seasoning layer that is characterized by a dielectric constant greater than or about 3.5. The methods may further include applying a clamping voltage to the seasoned electrostatic chuck of greater than or about 500 V to chuck the semiconductor wafer. When the clamping voltage is applied, the electrostatic chuck may be characterized by a leakage current of less than or about 25 mA. The methods may also include depositing greater than two layers on the chucked semiconductor wafer. In embodiments, the depositions of the layers may induce a stress in the wafer of greater than or about 500 MPa. In additional embodiments, the chucked wafer is characterized by a bowing of less than or about 100 μm after the deposition of the layers. In further embodiments, the chucked wafer may be characterized by a deviation from an average thickness of less than or about 2% after the deposition of the layers. In still further embodiments, the number of deposited layers may be at least 50 pairs of layers, where each pair of layers includes a dielectric layer and a semiconductor layer. In yet further embodiments, the seasoning layer may include undoped silicon oxide and may be characterized by less than or about 1 at. % carbon. Embodiments of the present technology may further include a substrate support assembly. The assembly may include an electrostatic chuck body that defines the substrate support assembly. The electrostatic chuck body may be seasoned with a seasoning layer characterized by a dielectric constant greater than or about 3.5. The substrate support assembly may further include a support stem coupled to the electrostatic chuck body, and an electrode embedded within the electrostatic chuck body between the substrate support surface and the support stem. The substrate support assembly may be characterized by a leakage current through the electrostatic chuck body of less than or about 25 mA at a clamping voltage of greater than or about 500 V. In additional embodiments, the seasoning layer may include undoped silicon oxide, and may be characterized by a thickness of greater than or about 500 Å. In further embodiments, the electrostatic chuck body may include ceramic material that is characterized by a volumetric resistivity of greater than or about 1×109ohm-cm. In yet further embodiments, the substrate support assembly may include a heater embedded within the electrostatic chuck body. Such technology may provide numerous benefits over conventional systems and techniques. For example, embodiments of the present technology may provide substrate supports with increased electrostatic chucking forces that counter a wafer's tendency to bow under the stresses created by the deposition of multiple layers on the wafer. Additionally, by providing reduced leakage currents relative to conventional technologies, an increased voltage chucking window may be afforded. These and other embodiments, along with many of their advantages and features, are described in more detail in conjunction with the below description and attached figures. A further understanding of the nature and advantages of the disclosed technology may be realized by reference to the remaining portions of the specification and the drawings. Several of the figures are included as schematics. It is to be understood that the figures are for illustrative purposes, and are not to be considered of scale unless specifically stated to be of scale. Additionally, as schematics, the figures are provided to aid comprehension and may not include all aspects or information compared to realistic representations, and may include exaggerated material for illustrative purposes. In the appended figures, similar components and/or features may have the same reference label. Further, various components of the same type may be distinguished by following the reference label by a letter that distinguishes among the similar components. If only the first reference label is used in the specification, the description is applicable to any one of the similar components having the same first reference label irrespective of the letter. Plasma enhanced deposition processes may energize one or more constituent precursors to facilitate film formation on a substrate. These formed films may be produced under conditions that cause stresses on the substrate. For example, in the development of dielectric layers for vertical memory applications, such as oxide-nitride (ON) or oxide-polysilicon (OP) stacks, many layers of material may be deposited on a substrate. These produced films may be characterized by internal stresses that act upon the substrate. This may cause a substrate to bow during processing, which can lead to poor uniformity of formation, as well as device damage or malfunction. An electrostatic chuck may be used to produce a clamping action against the substrate to overcome the bowing stress. However, as these device stacks increase in numbers of layers, the stresses acted upon the substrate increase, which may require a proportional increase in chucking voltage. When the chucking voltage (also called the clamping voltage) increases, the electrostatic chuck may experience increased levels of leakage current. The increased leakage current reduces the ability of the chuck to maintain the high electrostatic forces needed to offset the forces on the wafer substrate that cause it to bow. When the leakage current gets too high, the electrostatic chuck cannot generate high enough electrostatic force to prevent the wafer substrate from bowing during a multilayer film deposition. One cause of the increased leakage current with increased chucking voltage is the electrical conductivity of the seasoning film that covers the exposed surfaces of the electrostatic chuck. Conventional seasoning films include a bilayer of silicon oxide and doped polysilicon deposited on the surfaces of the chuck. The doped polysilicon layer in particular has a high electrical conductivity that can act as an electrical conduit for the charge building up on the chuck from the ramp up in the chucking voltage. As the chucking voltage increases, the leakage current throughout the conductive doped polysilicon layer also increases. These issues have limited conventional technologies to narrow chucking windows that cannot accommodate increased scaling of layers during deposition. The present technology overcomes these challenges with substrate support assemblies having particular materials and configurations exhibiting specific electrical characteristics that may produce reduced leakage currents over conventional technologies, especially at increased chucking voltages. Additionally, the assemblies may include seasoning layers deposited on surfaces of an electrostatic chuck body that electrically insulate the chuck to permit increased buildup of electrostatic charge though increased levels of an applied chucking voltage while also reducing the levels of leakage current. Although the remaining disclosure will routinely identify specific deposition processes utilizing the disclosed technology, it will be readily understood that the systems and methods are equally applicable to other deposition and cleaning chambers, as well as processes as may occur in the described chambers. Accordingly, the technology should not be considered to be so limited as for use with these specific deposition processes or chambers alone. The disclosure will discuss one possible system and chamber that may include pedestals according to embodiments of the present technology before additional variations and adjustments to this system according to embodiments of the present technology are described. The substrate processing chambers 108 For example, processing region 220B, the components of which may also be included in processing region 220A, may include a pedestal 228 disposed in the processing region through a passage 222 formed in the bottom wall 216 in the plasma system 200. The pedestal 228 may provide a heater adapted to support a substrate 229 on an exposed surface of the pedestal, such as a body portion. The pedestal 228 may include heating elements 232, for example resistive heating elements, which may heat and control the substrate temperature at a desired process temperature. Pedestal 228 may also be heated by a remote heating element, such as a lamp assembly, or any other heating device. The body of pedestal 228 may be coupled by a flange 233 to a stem 226. The stem 226 may electrically couple the pedestal 228 with a power outlet or power box 203. The power box 203 may include a drive system that controls the elevation and movement of the pedestal 228 within the processing region 220B. The stem 226 may also include electrical power interfaces to provide electrical power to the pedestal 228. The power box 203 may also include interfaces for electrical power and temperature indicators, such as a thermocouple interface. The stem 226 may include a base assembly 238 adapted to detachably couple with the power box 203. A circumferential ring 235 is shown above the power box 203. In some embodiments, the circumferential ring 235 may be a shoulder adapted as a mechanical stop or land configured to provide a mechanical interface between the base assembly 238 and the upper surface of the power box 203. A rod 230 may be included through a passage 224 formed in the bottom wall 216 of the processing region 220B and may be utilized to position substrate lift pins 261 disposed through the body of pedestal 228. The substrate lift pins 261 may selectively space the substrate 229 from the pedestal to facilitate exchange of the substrate 229 with a robot utilized for transferring the substrate 229 into and out of the processing region 220B through a substrate transfer port 260. A chamber lid 204 may be coupled with a top portion of the chamber body 202. The lid 204 may accommodate one or more precursor distribution systems 208 coupled thereto. The precursor distribution system 208 may include a precursor inlet passage 240 which may deliver reactant and cleaning precursors through a dual-channel showerhead 218 into the processing region 220B. The dual-channel showerhead 218 may include an annular base plate 248 having a blocker plate 244 disposed intermediate to a faceplate 246. A radio frequency (“RF”) source 265 may be coupled with the dual-channel showerhead 218, which may power the dual-channel showerhead 218 to facilitate generating a plasma region between the faceplate 246 of the dual-channel showerhead 218 and the pedestal 228. In some embodiments, the RF source may be coupled with other portions of the chamber body 202, such as the pedestal 228, to facilitate plasma generation. A dielectric isolator 258 may be disposed between the lid 204 and the dual-channel showerhead 218 to prevent conducting RF power to the lid 204. A shadow ring 206 may be disposed on the periphery of the pedestal 228 that engages the pedestal 228. An optional cooling channel 247 may be formed in the annular base plate 248 of the gas distribution system 208 to cool the annular base plate 248 during operation. A heat transfer fluid, such as water, ethylene glycol, a gas, or the like, may be circulated through the cooling channel 247 such that the base plate 248 may be maintained at a predefined temperature. A liner assembly 227 may be disposed within the processing region 220B in close proximity to the sidewalls 201, 212 of the chamber body 202 to prevent exposure of the sidewalls 201, 212 to the processing environment within the processing region 220B. The liner assembly 227 may include a circumferential pumping cavity 225, which may be coupled to a pumping system 264 configured to exhaust gases and byproducts from the processing region 220B and control the pressure within the processing region 220B. A plurality of exhaust ports 231 may be formed on the liner assembly 227. The exhaust ports 231 may be configured to allow the flow of gases from the processing region 220B to the circumferential pumping cavity 225 in a manner that promotes processing within the system 200. As noted, In embodiments, a seasoning layer (not shown) may be formed on exposed surfaces of the substrate support assembly 310. In further embodiments, the seasoning layer may be formed on the surfaces of the substrate support surface 327 that are exposed to the substrate processing region. The seasoning layer may increase the electrical resistance between a semiconductor wafer placed on the substrate support assembly 310, and the underlying electrostatic chuck body 325. In embodiments, the seasoning layer may include a dielectric layer having a dielectric constant greater than or about 3.5. In further embodiments, the seasoning layer may include a silicon oxide layer. In yet additional embodiments, the seasoning layer may be a bilayer of silicon oxide and undoped polysilicon. Electrostatic chuck body 325 may be coupled with a stem 330, which may support the chuck body and may include channels as will be discussed below for delivering and receiving electrical and/or fluid lines that may couple with internal components of the chuck body 325. Chuck body 325 may include associated channels or components to operate as an electrostatic chuck, although in some embodiments the assembly may operate as or include components for a vacuum chuck, or any other type of chucking system. Stem 330 may be coupled with the chuck body on a second surface of the chuck body opposite the substrate support surface. The electrostatic chuck body 325 may include an electrode 335, which may be a DC electrode, embedded within the chuck body proximate the substrate support surface. Electrode 335 may be electrically coupled with a power source 340. Power source 340 may be configured to provide energy or voltage to the electrically conductive chuck electrode 335. This may be operated to form a plasma of a precursor within the processing region 320 of the semiconductor processing chamber 300, although other plasma operations may similarly be sustained. For example, electrode 335 may also be a chucking mesh that operates as electrical ground for a capacitive plasma system including an RF source 307 electrically coupled with showerhead 305. For example, electrode 335 may operate as a ground path for RF power from the RF source 307, while also operating as an electric bias to the substrate to provide electrostatic clamping of the substrate to the substrate support surface. Power source 340 may include a filter, a power supply, and a number of other electrical components configured to provide a chucking voltage. In operation, a substrate may be in at least partial contact with the substrate support surface of the electrostatic chuck body, which may produce a contact gap, which may essentially produce a capacitive effect between a surface of the pedestal and the substrate. Voltage may be applied to the contact gap, which may generate an electrostatic force for chucking. The power supply 340 may provide electric charge that migrates from the electrode to the substrate support surface where it may accumulate, and which may produce a charge layer having Coulomb attraction with opposite charges at the substrate, and which may electrostatically hold the substrate against the substrate support surface of the chuck body. This charge migration may occur by current flowing through a dielectric material of the chuck body based on a finite resistance within the dielectric for Johnsen-Rahbek type chucking, which may be used in some embodiments of the present technology. Chuck body 325 may also define a recessed region 345 within the substrate support surface, which may provide a recessed pocket in which a substrate may be disposed. Recessed region 345 may be formed at an interior region of the top puck and may be configured to receive a substrate for processing. Recessed region 345 may encompass a central region of the electrostatic chuck body as illustrated, and may be sized to accommodate any variety of substrate sizes. A substrate may be seated within the recessed region, and contained by an exterior region 347, which may encompass the substrate. In some embodiments the height of exterior region 347 may be such that a substrate is level with or recessed below a surface height of the substrate support surface at exterior region 347. A recessed surface may control edge effects during processing, which may improve uniformity of deposition across the substrate in some embodiments. In some embodiments, an edge ring may be disposed about a periphery of the top puck, and may at least partially define the recess within which a substrate may be seated. In some embodiments, the surface of the chuck body may be substantially planar, and the edge ring may fully define the recess within which the substrate may be seated. In some embodiments the electrostatic chuck body 325 and/or the stem 330 may be insulative or dielectric materials. For example, oxides, nitrides, carbides, and other materials may be used to form the components. Exemplary materials may include ceramics, including aluminum oxide, aluminum nitride, silicon carbide, tungsten carbide, and any other metal or transition metal oxide, nitride, carbide, boride, or titanate, as well as combinations of these materials and other insulative or dielectric materials. Different grades of ceramic materials may be used to provide composites configured to operate at particular temperature ranges, and thus different ceramic grades of similar materials may be used for the top puck and stem in some embodiments. Dopants may be incorporated in some embodiments to adjust electrical properties as will be explained further below. Exemplary dopant materials may include yttrium, magnesium, silicon, iron, calcium, chromium, sodium, nickel, copper, zinc, or any number of other elements known to be incorporated within a ceramic or dielectric material. Electrostatic chuck body 325 may also include an embedded heater 350 contained within the chuck body. Heater 350 may include a resistive heater or a fluid heater in embodiments. In some embodiments the electrode 335 may be operated as the heater, but by decoupling these operations, more individual control may be afforded, and extended heater coverage may be provided while limiting the region for plasma formation. Heater 350 may include a polymer heater bonded or coupled with the chuck body material, although a conductive element may be embedded within the electrostatic chuck body and configured to receive current, such as AC current, to heat the top puck. The current may be delivered through the stem 330 through a similar channel as the DC power discussed above. Heater 350 may be coupled with a power supply 365, which may provide current to a resistive heating element to facilitate heating of the associated chuck body and/or substrate. Heater 350 may include multiple heaters in embodiments, and each heater may be associated with a zone of the chuck body, and thus exemplary chuck bodies may include a similar number or greater number of zones than heaters. The chucking mesh electrode 335 may be positioned between the heater 350 and the substrate support surface 327 in some embodiments, and a distance may be maintained between the electrode within the chuck body and the substrate support surface in some embodiments as will be described further below. The heater 350 may be capable of adjusting temperatures across the electrostatic chuck body 325, as well as a substrate residing on the substrate support surface 327. The heater may have a range of operating temperatures to heat the chuck body and/or a substrate above or about 100° C., and the heater may be configured to heat above or about 125° C., above or about 150° C., above or about 175° C., above or about 200° C., above or about 250° C., above or about 300° C., above or about 350° C., above or about 400° C., above or about 450° C., above or about 500° C., above or about 550° C., above or about 600° C., above or about 650° C., above or about 700° C., above or about 750° C., above or about 800° C., above or about 850° C., above or about 900° C., above or about 950° C., above or about 1000° C., or higher. The heater may also be configured to operate in any range encompassed between any two of these stated numbers, or smaller ranges encompassed within any of these ranges. In some embodiments, as will be described further below, the chuck heater may be operated to maintain a substrate temperature above at least 500° C. during deposition operations, such as forming stacks of material for memory devices as previously described. As described above, a power supply may be provided for each of the heater 415 and the electrode 410 in embodiments, which may be any number of power supplies. For example, the power supply for the electrode may be a DC power supply, or any other power supply, and may provide a voltage range configured to chuck a substrate to the substrate support surface 406. For example, a relatively higher power supply may be used for systems according to some embodiments of the present technology to facilitate chucking substrates having thicker deposition layers, which may be characterized by greater stress contributing to bowing. As one non-limiting example, for ON or OP stacks, as the number of pairs of layers increases, the forces acting on the substrate may increase. Higher temperatures may contribute to these forces, further increasing the amount of bowing, and challenging the capability to properly chuck the substrate to the support assembly. In embodiments, the substrate may be characterized by bowing that is greater than or about 100 μm, greater than or about 200 μm, greater than or about 300 μm, greater than or about 400 μm, greater than or about 500 μm, greater than or about 600 μm, greater than or about 700 μm, greater than or about 800 μm, greater than or about 900 μm, greater than or about 1000 μm, or more. To compensate for these forces, an increased chucking voltage may be used to maintain a substantially planar substrate surface, although an amount of bowing may still occur. As these layer pairs continue to increase, the minimum voltage to maintain chucking may continue to increase. Consequently, in some embodiments a minimum chucking voltage may be above or about −250 V, and depending on the stress and number of pairs to compensate, the minimum chucking voltage may be greater than or about −300 V, greater than or about −350 V, greater than or about −400 V, greater than or about −450 V, greater than or about −500 V, greater than or about −550 V, greater than or about −600 V, greater than or about −650 V, greater than or about −700 V, greater than or about −750 V, greater than or about −800 V, greater than or about −850 V, greater than or about −900 V, greater than or about −950 V, greater than or about −1,000 V, or more. As noted above, however, these deposition operations may be performed at increased temperatures, which may directly impact the resistivity of the chuck body material, and the ability of this material to operate appropriately as a J-R chuck. For example, electrostatic chuck body 405 may be aluminum nitride, for example, which may be characterized by a bulk resistance at a certain temperature. As the temperature of the material increases, resistance drops, and may drop significantly at temperatures above 500° C., for example. As the resistance drops, a likelihood of electrostatic discharge or arcing may increase. Additionally, to limit the substantial bowing of a substrate that may otherwise occur during these depositions, increased voltage may be used to maintain chucking. However, as this voltage is increased, the likelihood of arcing may similarly increase about the region of ledge 420, which may limit the amount of voltage that may be applied for chucking, and which may limit the ability to counteract bowing. This has conventionally led to damage and reduced quality of production. However, the present technology utilizes materials and configurations that may facilitate an increased voltage window without leading to arcing compared to conventional technology. For example, conventional technology may exhibit arcing at clamping voltages above or about −300 V, or about −350 V. This voltage may be insufficient to compensate for the film stresses generated during deposition of multi-layer stacks, such as for ON deposition with tens or hundreds of layers of material. The present technology may facilitate chucking at voltages of between about −500 V to about −1000 V, and including between about −600 V to about −800 V, which may accommodate stresses associated with greater numbers of deposition layers, while limiting arcing from the pedestal. The present technology also includes embodiments that utilize a seasoning layer that further increases the electrical resistivity between electrostatic chuck body 405 and substrate 430. The increased electrical resistivity provided by the seasoning layer further limits arcing from the pedestal at a higher chucking voltages and higher operating temperatures. In addition, the seasoning layer reduces a leakage current from the electrostatic chuck materials at the higher chucking voltages and higher operating temperatures. For J-R chucking, chucking force generally increases to a saturation level as temperature increases due to the resistance changes within the pedestal material facilitating charge migration to the surface of the chuck body. However, this has conventionally led to arcing about the substrate when chucking voltage is increased to levels to accommodate increased substrate bowing. The present technology improves on these deficiencies providing assemblies coated with seasoning layers that may operate at increased chucking voltages to compensate for increased substrate stresses by reducing leakage current in the substrate support assembly. Leakage current is an indicator of migration within a substrate support material, which may be measured from leakage occurring from the electrode. Conventional technologies may accept leakage currents of greater than or about 25 mA at particular operating temperatures, which may increase dramatically at operating temperatures above 500° C. While conventional technologies may consider leakage current from a perspective of insulation layer damage or substrate damage, relatively high leakage currents may be accepted in an attempt to boost chucking force. However, this has led to increased arcing in conventional designs. The present technology modifies aspects and characteristics of the substrate support assembly to limit leakage current by effectively increasing resistivity of the substrate support materials to limit leakage current while maintaining chucking force at the substrate. Accordingly, the present technology produces substrate support assemblies characterized by a resistivity based on leakage current that is maintained within a range to adequately chuck a substrate characterized by stresses as previously described, while also limiting or preventing arcing due to higher chucking voltages. Embodiments of the present technology that form a seasoning layer on the electrostatic chucking body may limit leakage current at chucking voltages of greater than or about 400 V, and may limit leakage current at chucking voltages of greater than or about 450 V, greater than or about 500 V, greater than or about 550 V, greater than or about 600 V, greater than or about 650 V, greater than or about 700 V, greater than or about 750 V, greater than or about 800 V, greater than or about 850 V, greater than or about 900 V, or higher. The present technology may limit leakage current within these voltage ranges to less than or about 25 mA, and may limit leakage current to less than or about 20 mA, less than or about 15 mA, less than or about 10 mA, less than or about 5 mA, less than or about 4 mA, less than or about 3 mA, less than or about 2 mA, less than or about 1 mA, or less. However, in some embodiments the leakage current may be maintained greater than or about 0.2 mA to ensure adequate migration to facilitate J-R chucking, and in some embodiments may maintain leakage currents greater than or about 0.3 mA, greater than or about 0.5 mA, greater than or about 0.7 mA, greater than or about 1.0 mA, or higher. Embodiments of the present technology may also limit leakage current at operating temperatures greater than or about 500° C., and may limit leakage current at temperatures greater than or about 550° C., greater than or about 600° C., greater than or about 650° C., greater than or about 700° C., greater than or about 750° C., or higher. The above-described leakage current ranges may apply to substrate support assemblies operating at both the above-described chucking voltages and operating temperatures. As noted above, J-R chucking may be at least partially based on a resistance of a contact layer provided between the substrate and the pedestal. By adjusting the distance of the electrode from the contact surface of the electrostatic chuck body, the resistance may be adjusted. Based on the increased temperatures of some embodiments of the present technology, the chucking force may be substantially maintained or minimally lowered as the regime may be along a relative plateau of chucking force. Consequently, in some embodiments, the electrode may be embedded further from a contact surface in some embodiments, which may effectively increase resistance of the substrate support assembly to reduce leakage currents that may contribute to arcing. For example, as illustrated in Electrostatic chuck body 405 may also be or include materials characterized by a particular volumetric resistivity. As noted above, the chuck body may be or include a ceramic material, such as aluminum nitride, or any of the materials discussed above. In some embodiments, the materials may be selected, doped, or produced, such as sintered, to provide a volumetric resistivity above a threshold. For example, in some embodiments, the chuck body may be or include a dielectric material, such as an aluminum nitride material, characterized by a volumetric resistivity greater than or about 5×108ohm-cm at a temperature of greater than or about 550° C., greater than or about 600° C., greater than or about 650° C., or more, and which may be characterized by a volumetric resistivity greater than or about 1×109ohm-cm, greater than or about 5×109ohm-cm, greater than or about 1×1010ohm-cm, greater than or about 3×1010ohm-cm, greater than or about 5×1010ohm-cm, greater than or about 7×1010ohm-cm, greater than or about 1×1011ohm-cm, greater than or about 3×1011ohm-cm, greater than or about 5×1011ohm-cm, greater than or about 7×1011ohm-cm, greater than or about 1×1012ohm-cm, or greater at any of these temperature ranges. Embodiments of the present technology also include processing methods for forming a seasoning layer on exposed surfaces of an electrostatic chuck body. The methods may be performed in a variety of processing chambers, including processing system 200 described above, as well as any other chamber in which plasma deposition may be performed. The methods may include a number of optional operations, which may or may not be specifically associated with some embodiments of methods according to the present technology. One or more operations may also be performed before or after the present methods. For example, a cleaning operation may be performed in the semiconductor processing chamber before the seasoning layer is formed on exposed surfaces of the electrostatic chuck body and other surfaces in the processing chamber. In some instances, the cleaning operation may include flowing an etchant gas such as NF3into the processing chamber to remove materials deposited in or on the chamber walls during previous deposition operations. In further instances, the cleaning operation may leave behind cleaning residues on one or more exposed surfaces of the chamber walls that may be covered by the seasoning layer. In some embodiments, the deposition precursors that flow into the semiconductor processing chamber may include O2and a silicon-containing precursor. In embodiments, a flow rate ratio of O2to silicon-containing precursor may be greater than or about 1:1, greater than or about 1.1:1, greater than or about 1.2:1, greater than or about 1.3:1, greater than or about 1.4:1, greater than or about 1.5:1, greater than or about 1.6:1, greater than or about 1.7:1, greater than or about 1.8:1, greater than or about 1.9:1, greater than or about 2:1, or more. In further embodiments, a flow rate for the O2may be greater than or about 300 sccm, greater than or about 325 sccm, greater than or about 350 sccm, greater than or about 375 sccm, greater than or about 400 sccm, or more. In still further embodiments, the flow rate of the silicon-containing precursor may be less than or about 300 sccm, less than or about 275 sccm, less than or about 250 sccm, less than or about 225 sccm, less than or about 200 sccm, less than or about 175 sccm, less than or about 150 sccm, or less. In yet further embodiments, the deposition precursors may include one or more carrier gases such as helium, argon, or nitrogen (N2). In embodiments, the carrier gas may be mixed with one or both of a silicon-containing precursor and an oxygen-containing precursor. In further embodiments, the flow rate for one or more carrier gases may be greater than or about 100 sccm, greater than or about 200 sccm, greater than or about 300 sccm, greater than or about 400 sccm, greater than or about 500 sccm, or more. In further embodiments, the deposition gases may include one or more undoped silicon-containing precursors to deposit a seasoning layer made of undoped polysilicon. In these embodiments, the deposition precursors may include silane. In further embodiments, the silane may continue to flow into the semiconductor processing chamber following the deposition of a first portion of a seasoning layer that comprises silicon oxide. In these embodiments, the flow of oxygen that accompanies the flow of silane into the chamber is reduced or stopped so the deposition precursors have a reduce amount or no oxygen present during the deposition of the undoped polysilicon portion of the seasoning layer. In embodiments, method 500 may further include depositing the seasoning layer on exposed surfaces of the electrostatic chuck at operation 510. In some embodiments, the deposition may include a plasma-enhanced chemical vapor deposition (PECVD) operation to deposit the seasoning layer. In further embodiments, the PECVD operation may include generating a plasma from the deposition precursors, and forming the seasoning layer from the plasma effluents of the deposition precursors. In embodiments, the power supplied to the deposition precursors to generate the plasma may be RF power having a frequency of 1 MHz or more. In further embodiments the plasma power supplied to the deposition precursors may be greater than or about 1000 Watts, greater than or about 2000 Watts, greater than or about 3000 Watts, greater than or about 4000 Watts, greater than or about 5000 Watts, or more. In embodiments, the deposition of the seasoning layer may also include heating the electrostatic chuck. In some embodiments, the chuck may be heated to a temperature greater than or about 100° C., greater than or about 150° C., greater than or about 200° C., greater than or about 250° C., greater than or about 300° C., or more. In some embodiments, heating the electrostatic chuck improves adhesion between the seasoning film and the underlying chuck material. In embodiments, the deposition of the seasoning layer may take place for greater than or about 10 seconds, greater than or about 15 seconds, greater than or about 20 seconds, greater than or about 30 seconds, greater than or about 45 seconds, or more. The deposition times may depend on the thickness of the seasoning layer. In embodiments, the seasoning layer may have a thickness (i.e., depth) of greater than or about 500 Å, greater than or about 750 Å, greater than or about 1000 Å, greater than or about 1250 Å, greater than or about 1500 Å, greater than or about 1750 Å, greater than or about 2000 Å, or more. In still further embodiments, the deposition layer may be a single layer of material. In yet further embodiments, the deposition layer may be a bilayer of two different materials. In yet additional embodiments, the deposition layer may be a multilayer that includes three or more different materials. The deposited seasoning layer provides an electrically insulating layer that limits the amount of leakage current away from the electrostatic chuck when a chucking voltage is applied. In embodiments, the deposited seasoning layer has a dielectric constant (κ-value) of greater than or about 3.5, greater than or about 3.6, greater than or about 3.7, greater than or about 3.8, greater than or about 3.9, greater than or about 4, or more. In further embodiments, the deposited seasoning layer may include only undoped materials. In still further embodiments, the deposited seasoning layer may have carbon levels of less than or about 1 at. %, less than or about 0.5 at. %, less than or about 0.01 at. %, less than or about 0.001 at. %, or less. In yet further embodiments, the deposited seasoning layer may be carbon free. In embodiments, the method 500 may further include contacting a substrate wafer with the seasoned electrostatic chuck at operation 515. In further embodiments, a substrate wafer (i.e., semiconductor substrate) may be placed on a seasoned substrate support surface defined by the electrostatic chuck body. The seasoned substrate support surface includes a seasoning layer between the support surface and a surface of the substrate wafer in direct contact with the seasoned electrostatic chuck. Embodiments of method 500 may further include applying a chucking voltage (i.e., clamping voltage) to the seasoned electrostatic chuck at operation 520. As noted above, the chucking voltage creates an attractive electrostatic force between the substrate support surface and the surface of the substrate wafer in contact with the support surface. This attractive electrostatic force may maintain the substrate wafer is a substantially planar shape by countering the stresses on the wafer than make it want to bow. In embodiments, the chucking voltage applied to the seasoned electrostatic chuck may be greater than or about −250 V, greater than or about −300 V, greater than or about −350 V, greater than or about −400 V, greater than or about −450 V, greater than or about −500 V, greater than or about −550 V, greater than or about −600 V, greater than or about −650 V, greater than or about −700 V, greater than or about −750 V, greater than or about −800 V, greater than or about −850 V, greater than or about −900 V, greater than or about −950 V, greater than or about −1,000 V, or more. The seasoning layer formed on the electrostatic chuck is electrically insulating, and reduces the leakage current from the chuck at an applied chucking voltage. In embodiments, the leakage current within the above-described chucking voltage ranges may be less than or about 10 mA, less than or about 8 mA, less than or about 6 mA, less than or about 5 mA, less than or about 4 mA, less than or about 3.5 mA, less than or about 3 mA, less than or about 2.5 mA, less than or about 2 mA, less than or about 1.5 mA, or less. As noted above, in some embodiments the leakage current may be maintained greater than or about 0.2 mA to ensure adequate migration to facilitate J-R chucking, and in some embodiments may maintain leakage currents greater than or about 0.3 mA, greater than or about 0.5 mA, greater than or about 0.7 mA, greater than or about 1.0 mA, or higher. Embodiments of the present technology provide for the formation of seasoning layers on electrostatic chucks that are more electrically insulating than conventional seasoning layers that often include doped oxide and polysilicon materials. As a result of this increased electrical resistance, the present seasoning layers reduce the leakage current from electrostatic chucks at the high chucking voltages and high temperatures experienced to counter the bowing forces generated by depositing many stacks of layers on a wafer substrate. These properties are increasingly important in seasoning layers deposited on electrostatic chucks that hold wafers undergoing multiple ON and OP depositions to make semiconductor devices such as 3D-NAND devices. In the preceding description, for the purposes of explanation, numerous details have been set forth in order to provide an understanding of various embodiments of the present technology. It will be apparent to one skilled in the art, however, that certain embodiments may be practiced without some of these details, or with additional details. Having disclosed several embodiments, it will be recognized by those of skill in the art that various modifications, alternative constructions, and equivalents may be used without departing from the spirit of the embodiments. Additionally, a number of well-known processes and elements have not been described in order to avoid unnecessarily obscuring the present technology. Accordingly, the above description should not be taken as limiting the scope of the technology. Where a range of values is provided, it is understood that each intervening value, to the smallest fraction of the unit of the lower limit, unless the context clearly dictates otherwise, between the upper and lower limits of that range is also specifically disclosed. Any narrower range between any stated values or unstated intervening values in a stated range and any other stated or intervening value in that stated range is encompassed. The upper and lower limits of those smaller ranges may independently be included or excluded in the range, and each range where either, neither, or both limits are included in the smaller ranges is also encompassed within the technology, subject to any specifically excluded limit in the stated range. Where the stated range includes one or both of the limits, ranges excluding either or both of those included limits are also included. As used herein and in the appended claims, the singular forms “a”, “an”, and “the” include plural references unless the context clearly dictates otherwise. Thus, for example, reference to “a heater” includes a plurality of such heaters, and reference to “the protrusion” includes reference to one or more protrusions and equivalents thereof known to those skilled in the art, and so forth. Also, the words “comprise(s)”, “comprising”, “contain(s)”, “containing”, “include(s)”, and “including”, when used in this specification and in the following claims, are intended to specify the presence of stated features, integers, components, or operations, but they do not preclude the presence or addition of one or more other features, integers, components, operations, acts, or groups.TECHNICAL FIELD
BACKGROUND
SUMMARY
BRIEF DESCRIPTION OF THE DRAWINGS
DETAILED DESCRIPTION