A turbine blade is provided. The turbine blade may include an airfoil having an airfoil tip, a leading edge, a trailing edge, and a pressure side and a suction side extending from the leading edge to the trailing edge and defining an airfoil cavity, a squealer tip arranged at the airfoil tip part and comprising a trailing edge tip portion disposed at the trailing edge of the airfoil and a pressure side rail and a suction side rail meeting at the trailing edge tip portion and defining a squealer tip pocket at the airfoil tip, and at least one tip cooling hole disposed at the squealer tip pocket to provide cooling air from the airfoil cavity to the squealer tip pocket, wherein the trailing edge tip portion of the squealer tip includes a chamfer disposed towards the pressure side of the airfoil and a groove extending from the squealer tip pocket to the chamfer to provide cooling air from the squealer tip pocket to the chamfer.
1. A turbine blade comprising:
an airfoil having an airfoil tip, a leading edge, a trailing edge, and a pressure side and a suction side extending from the leading edge to the trailing edge and defining an airfoil cavity therein; a squealer tip arranged at the airfoil tip and comprising a trailing edge tip portion disposed at the trailing edge of the airfoil and a pressure side rail and a suction side rail defining a squealer tip pocket at the airfoil tip; and at least one tip cooling hole disposed at the squealer tip pocket to provide cooling air from the airfoil cavity to the squealer tip pocket, wherein the trailing edge tip portion of the squealer tip comprises: an upper surface which is a radially outer surface of the trailing edge tip portion; a pressure side surface corresponding to the pressure side of the airfoil; a chamfer disposed between and obliquely formed by connecting the upper surface of the trailing edge tip portion and the pressure side surface of the trailing edge tip portion; and a groove extending from the squealer tip pocket to the chamfer to provide cooling air from the squealer tip pocket to the chamfer, wherein the chamfer has a concave shape at a groove-side of the chamfer; and wherein the chamfer has a planar or convex shape at a trailing-edge-side of the chamfer. 2. The turbine blade according to 3. The turbine blade according to 4. The turbine blade according to 5. The turbine blade according to wherein the trailing edge tip portion comprises a plurality of chamfer-cooling holes spaced apart from each other at regular intervals. 6. The turbine blade according to 7. The turbine blade according to 8. The turbine blade according to 9. The turbine blade according to 10. The turbine blade according to wherein a width of the groove decreases along a radially inward direction of the airfoil; and wherein a floor of the groove is inclined downward towards the pressure side of the airfoil. 11. The turbine blade according to 12. The turbine blade according to 13. A turbine blade assembly comprising:
a rotor disk configured to be rotatable; and a plurality of turbine blades installed on the rotor disk, wherein each of the turbine blades comprises: an airfoil having an airfoil tip, a leading edge, a trailing edge, and a pressure side and a suction side extending from the leading edge to the trailing edge and defining an airfoil cavity therein; a squealer tip arranged at the airfoil tip and comprising a trailing edge tip portion disposed at the trailing edge of the airfoil and a pressure side rail and a suction side rail defining a squealer tip pocket at the airfoil tip; and at least one tip cooling hole disposed at the squealer tip pocket to provide cooling air from the airfoil cavity to the squealer tip pocket, wherein the trailing edge tip portion of the squealer tip comprises: an upper surface which is a radially outer surface of the trailing edge tip portion; a pressure side surface corresponding to the pressure side of the airfoil; a chamfer disposed between and obliquely formed by connecting the upper surface of the trailing edge tip portion and the pressure side surface of the trailing edge tip portion; and a groove extending from the squealer tip pocket to the chamfer to provide cooling air from the squealer tip pocket to the chamfer, wherein the chamfer has a concave shape at a groove-side of the chamfer; and wherein the chamfer has a planar or convex shape at a trailing-edge-side of the chamfer. 14. The turbine blade assembly according to 15. The turbine blade assembly according to 16. The turbine blade assembly according to 17. The turbine blade assembly according to wherein the trailing edge tip portion comprises a plurality of chamfer-cooling holes spaced apart from each other at regular intervals. 18. A gas turbine comprising:
a compressor configured to compress air introduced thereinto from an outside; a combustor configured to mix fuel with air compressed by the compressor for combustion; and a turbine including a plurality of turbine blades rotated by combustion gas produced by the combustor, wherein each of the turbine blades comprises: an airfoil having an airfoil tip, a leading edge, a trailing edge, and a pressure side and a suction side extending from the leading edge to the trailing edge and defining an airfoil cavity therein; a squealer tip arranged at the airfoil tip and comprising a trailing edge tip portion disposed at the trailing edge of the airfoil and a pressure side rail and a suction side rail defining a squealer tip pocket at the airfoil tip; and at least one tip cooling hole disposed at the squealer tip pocket to provide cooling air from the airfoil cavity to the squealer tip pocket, wherein the trailing edge tip portion of the squealer tip comprises: an upper surface which is a radially outer surface of the trailing edge tip portion; a pressure side surface corresponding to the pressure side of the airfoil; a chamfer disposed between and obliquely formed by connecting the upper surface of the trailing edge tip portion and the pressure side surface of the trailing edge tip portion; and a groove extending from the squealer tip pocket to the chamfer to provide cooling air from the squealer tip pocket to the chamfer, wherein the chamfer has a concave shape at a groove-side of the chamfer; and wherein the chamfer has a planar or convex shape at a trailing-edge-side of the chamfer.
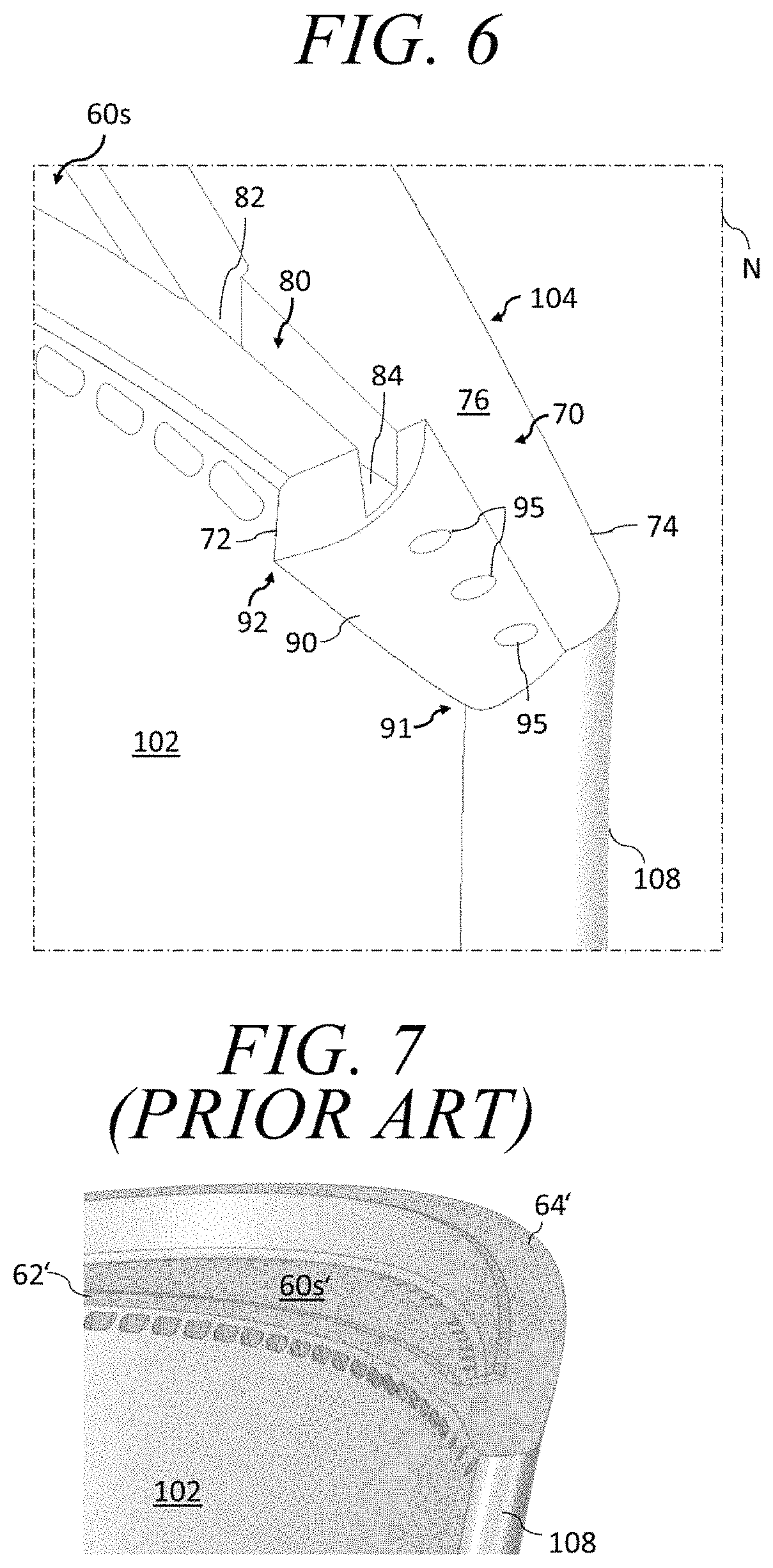
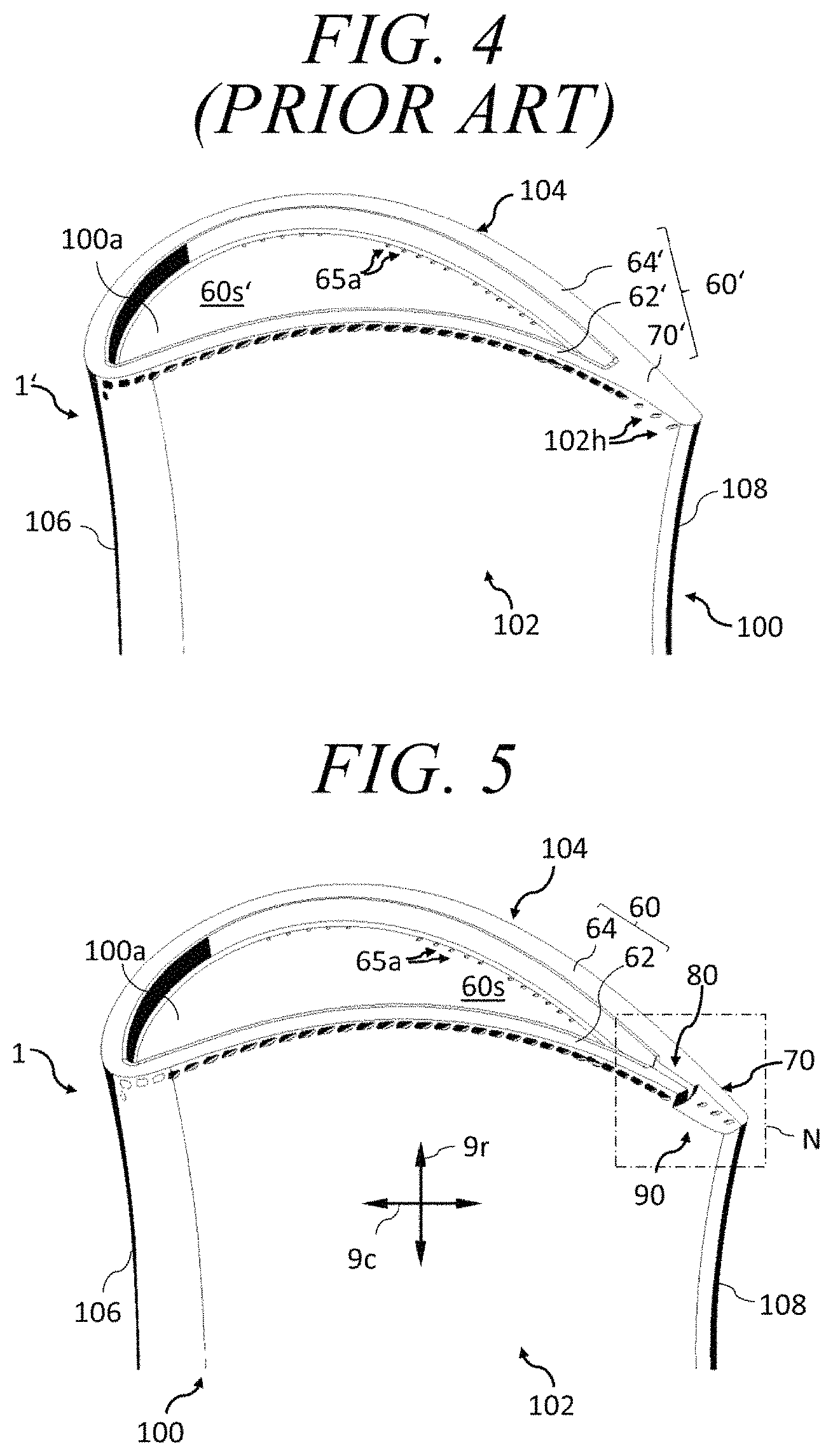
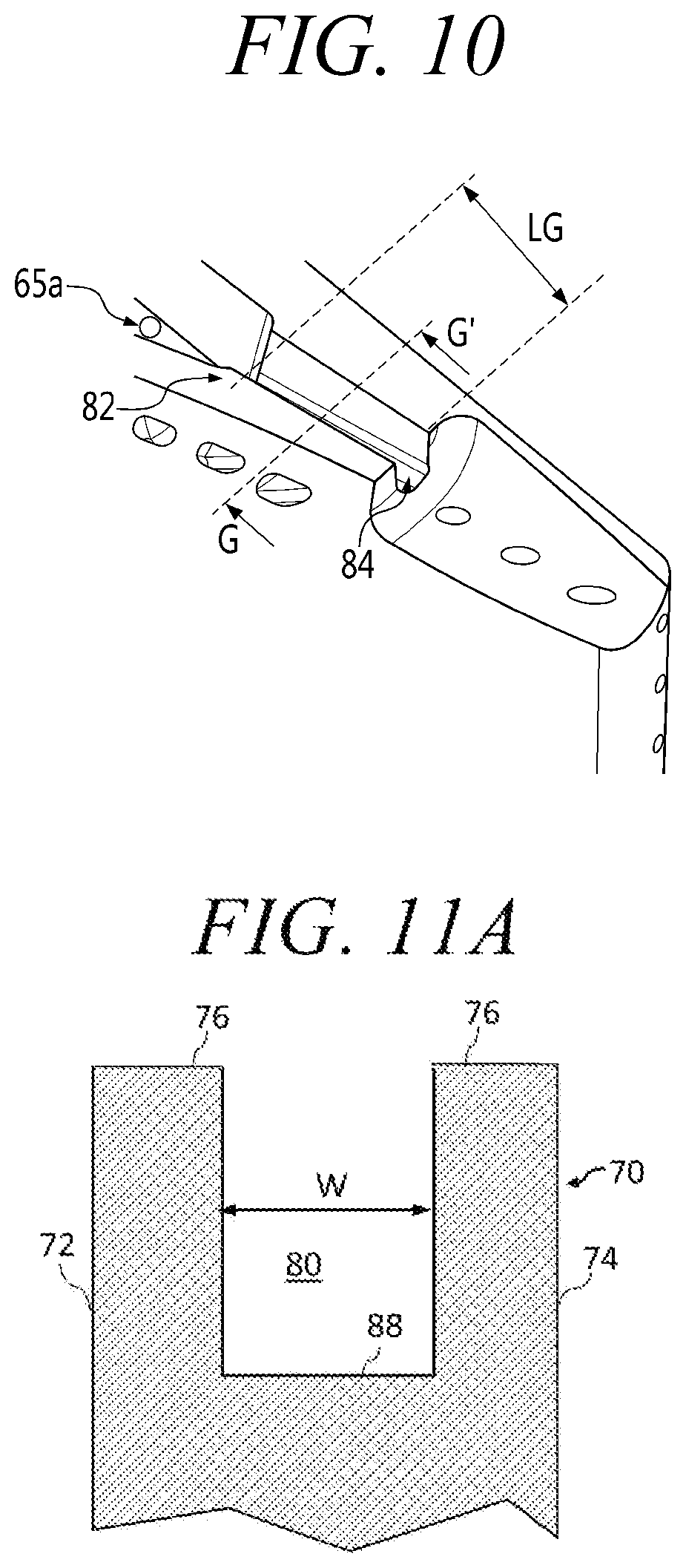
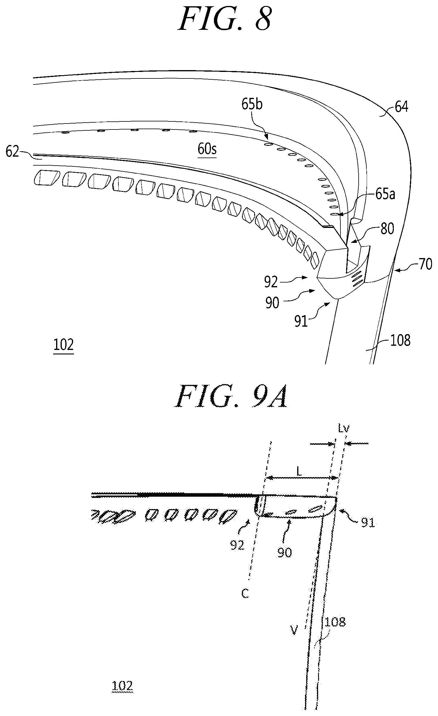
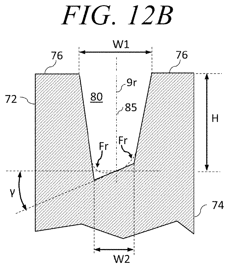
This application claims priority to European Patent Application No. 20 207 341.7, filed on Nov. 13, 2020, the disclosure of which is incorporated herein by reference in its entirety. Apparatuses and methods consistent with exemplary embodiments relate to gas turbines, and more particularly, to techniques for cooling a trailing edge tip of a gas turbine blade. A gas turbine is a power engine that mixes air compressed by a compressor with fuel for combustion and rotates a turbine with high-temperature gas produced by the combustion. The gas turbine is used to drive a generator, an aircraft, a ship, a train, and so forth. Referring to The airfoil tip 100 Therefore, it is desirable that the radial clearance between the airfoil tip 100 To keep the radial clearance small, and to protect the airfoil body from structural damage in case of accidental contact between the airfoil tip 100 The squealer tip 60′ has a shape of a rail and is positioned at and extending along a periphery of the airfoil tip 100 Because the squealer tip 60′ is immersed in hot combustion products (i.e., the hot gas), cooling of the squealer tip 60′ is particularly required at the trailing edge tip portion 70′. For example, cooling holes 102 Aspects of one or more exemplary embodiments provide a turbine blade for effectively cooling the trailing edge tip portion of the squealer tip of a gas turbine blade. Additional aspects will be set forth in part in the description which follows and, in part, will become apparent from the description, or may be learned by practice of the exemplary embodiments. According to an aspect of an exemplary embodiment, there is provided a turbine blade including: an airfoil having an airfoil tip, a leading edge, a trailing edge, and a pressure side and a suction side extending from the leading edge to the trailing edge and defining an airfoil cavity therein; a squealer tip arranged at the airfoil tip and including a trailing edge tip portion disposed at the trailing edge of the airfoil and a pressure side rail and a suction side rail meeting at the trailing edge tip portion and defining a squealer tip pocket at the airfoil tip; and at least one tip cooling hole disposed at the squealer tip pocket to provide cooling air from the airfoil cavity to the squealer tip pocket. The trailing edge tip portion of the squealer tip may include a chamfer disposed towards the pressure side of the airfoil and a groove extending from the squealer tip pocket to the chamfer to provide cooling air from the squealer tip pocket to the chamfer. The groove and the chamfer may extend in a longitudinal direction along a camber line of the airfoil. The chamfer may have a concave shape at the groove-side of the chamfer. The chamfer may have a planar or convex shape at a trailing-edge-side of the chamfer. A shape of the chamfer may be formed by gradually transitioning from a concave shape at the groove-side of the chamfer to a planar or convex shape at the trailing-edge-side of the chamfer. The trailing edge tip portion may include at least one chamfer-cooling hole disposed at the chamfer to provide cooling air from the airfoil cavity to the chamfer. The trailing edge tip portion may include a plurality of chamfer-cooling holes spaced apart from each other at regular intervals. An outlet of the groove may be spaced apart from the chamfer along a radially outward direction of the airfoil. The at least one tip cooling hole may include a first tip cooling hole disposed adjacent to the inlet of the groove. A length of the chamfer may be greater than or equal to 0.01 times a chord length of the airfoil and less than or equal to 0.2 times the chord length of the airfoil. Preferably, the length of the chamfer may be greater than or equal to 0.02 times the chord length of the airfoil and less than or equal to 0.15 times the chord length of the airfoil. The chamfer may be defined between a first position of the trailing edge tip portion corresponding to the trailing edge of the airfoil and a second position of the trailing edge tip portion corresponding to a distance equal to or less than 0.2 times the chord length of the airfoil from the first position measured along a chord of the airfoil. A width of the groove may decrease along a radially inward direction of the airfoil. A floor of the groove may be inclined downward towards the pressure side of the airfoil. A length of the groove may be greater than or equal to 0.01 times a chord length of the airfoil and less than or equal to 0.20 times the chord length of the airfoil. Preferably, the length of the groove may be greater than or equal to 0.02 times the chord length of the airfoil and less than or equal to 0.15 times the chord length of the airfoil. A length of the groove may be smaller than a length of the chamfer. According to an aspect of another exemplary embodiment, there is provided a turbine blade assembly including: a rotor disk configured to be rotatable and a plurality of turbine blades installed on the rotor disk. Each of the turbine blade may include: an airfoil having an airfoil tip, a leading edge, a trailing edge, and a pressure side and a suction side extending from the leading edge to the trailing edge and defining an airfoil cavity therein; a squealer tip arranged at the airfoil tip and comprising a trailing edge tip portion disposed at the trailing edge of the airfoil and a pressure side rail and a suction side rail meeting at the trailing edge tip portion and defining a squealer tip pocket at the airfoil tip; and at least one tip cooling hole disposed at the squealer tip pocket to provide cooling air from the airfoil cavity to the squealer tip pocket, wherein the trailing edge tip portion of the squealer tip may include: a chamfer disposed towards the pressure side of the airfoil; and a groove extending from the squealer tip pocket to the chamfer to provide cooling air from the squealer tip pocket to the chamfer. According to an aspect of another exemplary embodiment, there is provided a gas turbine including: a compressor configured to compress air introduced thereinto from an outside; a combustor configured to mix fuel with air compressed by the compressor for combustion; and a turbine including a plurality of turbine blades rotated by combustion gas produced by the combustor. Each of the turbine blade may include: an airfoil having an airfoil tip, a leading edge, a trailing edge, and a pressure side and a suction side extending from the leading edge to the trailing edge and defining an airfoil cavity therein; a squealer tip arranged at the airfoil tip and comprising a trailing edge tip portion disposed at the trailing edge of the airfoil and a pressure side rail and a suction side rail meeting at the trailing edge tip portion and defining a squealer tip pocket at the airfoil tip; and at least one tip cooling hole disposed at the squealer tip pocket to provide cooling air from the airfoil cavity to the squealer tip pocket, wherein the trailing edge tip portion of the squealer tip may include: a chamfer disposed towards the pressure side of the airfoil; and a groove extending from the squealer tip pocket to the chamfer to provide cooling air from the squealer tip pocket to the chamfer. The above and other aspects will become more apparent from the following description of the exemplary embodiments with reference to the accompanying drawings, in which: Various modifications and various embodiments will be described below in detail with reference to the accompanying drawings so that those skilled in the art can easily carry out the disclosure. It should be understood, however, that the various embodiments are not for limiting the scope of the disclosure to the specific embodiment, but they should be interpreted to include all modifications, equivalents, and alternatives of the embodiments included within the spirit and scope disclosed herein. The terminology used herein is for the purpose of describing specific embodiments only and is not intended to limit the scope of the disclosure. The singular expressions “a”, “an”, and “the” are intended to include the plural expressions as well unless the context clearly indicates otherwise. In the disclosure, terms such as “comprises”, “includes”, or “have/has” should be construed as designating that there are such features, integers, steps, operations, components, parts, and/or combinations thereof, not to exclude the presence or possibility of adding of one or more of other features, integers, steps, operations, components, parts, and/or combinations thereof. Hereinafter, exemplary embodiments will be described below in detail with reference to the accompanying drawings. It should be noted that like reference numerals refer to like parts throughout the various figures and exemplary embodiments. In certain embodiments, a detailed description of functions and configurations well known in the art may be omitted to avoid obscuring appreciation of the disclosure by a person of ordinary skill in the art. For the same reason, some components may be exaggerated, omitted, or schematically illustrated in the accompanying drawings. The compressor section 14 may suck air 24 through the air inlet 12, compress the air, and supply the compressed air to the combustion section 16. The combustion section 16 may include a burner plenum 26, one or more combustion chambers 28 and at least one burner 30 fixed to each combustion chamber 28. The combustion chambers 28 and the burners 30 may be located inside the burner plenum 26. The compressed air passing through the compressor section 14 may enter a diffuser 32 and exit the burner plenum 26, where a portion of the air may enter the burner 30 and mix with a gas or liquid fuel. The air/fuel mixture is burned and combustion gas 34 discharged from the combustion section 16 is supplied to the turbine section 18 via a transition duct 17. A plurality of combustors constituting the combustion section 16 may be arranged in a form of a shell in a housing. Each of the combustors may include the burner 30 having a fuel injection nozzle and the like, a combustor liner defining the combustion chamber 28, and the transition duct 17 serving as a connector between the combustion section 16 and the turbine section 18. The turbine section 18 may include a plurality of blade carrying disks 36 attached to the shaft 22. The combustion gas discharged from the combustion chamber 28 is supplied to the turbine section 18. The supplied combustion gas expands and applies impingement or reaction force to turbine blades 38 to generate rotational torque. That is, the supplied combustion gas drives the turbine blades 38 which in turn rotates the shaft 22. A portion of the rotational torque is transmitted to the compressor section 14, and remaining portion which is the excessive torque is used to drive a generator or the like. The compressor section 14 may be driven by some of power output from the turbine section 18. The compressor section 14 may include an axial series of vane stages 46 and rotor blade stages 48. The rotor blade stages 48 may include a rotor disc supporting an annular array of blades. The compressor section 14 may further include a casing 50 that surrounds the rotor stages and supports the vane stages 48. The vane stages 46 may include an annular array of radially extending compressor vanes mounted to the casing 50 in such a way that the compressor vanes form each stage. The compressor vanes guide the compressed air transferred from compressor blade disposed at a preceding stage, to compressor blade disposed at a following stage. In an exemplary embodiment, at least some of the compressor vanes may be mounted so as to be rotatable within a predetermined range, e.g., to adjust the inflow rate of air. The casing 50 may define a radially outer surface 52 of a passage 56 of the compressor section 14. A radially inner surface 54 of the passage 56 may be defined at least in part by a rotor drum 53 of the rotor which may be defined in part by the annular array of blades 48. The exemplary embodiment shows gas turbine having a single shaft connecting single/multi-stage compressor and single/one or more stage turbine, and it is understood that two or three shaft engines may be included in one or more other embodiments. The terms upstream and downstream refer to the flow direction of the airflow and/or working gas flow through the engine. The terms forward and rearward refer to the flow direction of hot gas through the engine. The terms axial, radial and circumferential are made with reference to the rotational axis 20 of the gas turbine 10. Referring to Referring to The airfoil 100 may have a base part 100 The pressure side 102, the suction side 104, the leading edge 106 and the trailing edge 108 define an airfoil cavity 100 The airfoil tip 100 The turbine blade 1 includes a squealer tip 60. The squealer tip 60 may be disposed at the airfoil tip 100 Referring to The squealer tip 60 may include a suction side rail 64 positioned at and extending along a periphery of the suction side 104 at the airfoil tip 100 The pressure side rail 62 and the suction side rail 64 meet at the trailing edge tip portion 70. The trailing edge tip portion 70 may be formed as a unitary rail which spans between the pressure side 102, the suction side 104 and the trailing edge 108. The trailing edge tip portion 70 does not extend to the leading edge 106 of the airfoil 100. The pressure side rail 62, the suction side rail 64, the trailing edge tip portion 70 and the airfoil tip 100 A plurality of airfoil tip cooling holes 65 An outlet of the airfoil tip cooling holes 65 The trailing edge tip portion 70 includes a chamfer 90 and a groove 80. The chamfer 90 is arranged towards the pressure side 102 of the airfoil 100. The groove 80 extends between the chamfer 90 and the squealer tip pocket 60 An inlet 82 of the groove 80 may be positioned at the squealer tip pocket 60 The trailing edge tip portion 70 may include a pressure-side surface 72 corresponding to the pressure side 102 of the airfoil 100, a suction-side surface 74 corresponding to the suction side 104 of the airfoil 100, a side surface facing the squealer tip pocket 60 Here, the chamfer 90 is disposed between the upper surface 76 and the pressure side surface 72 of the trailing edge tip portion 70 or between the upper surface 76 and the pressure side 102 of the airfoil 100. The groove 80 is formed as a flow channel for cooling air from the squealer tip pocket 60 The groove 80 may extend in a longitudinal direction along a camber line of the airfoil 100. That is, a shape of the groove 80 may be aligned with or corresponding to the camber line of the airfoil 100. The chamfer 90 may extend in the longitudinal direction along the camber line of the airfoil 100. That is, a shape of the chamfer 90 may be aligned with or corresponding to the camber line of the airfoil 100. However, it is understood that the shapes are not limited to examples described above and may be changed or vary according to one or more other exemplary embodiments. For example, the groove 80 may be disposed between the squealer tip pocket 60 As shown in The chamfer 90 may further include a second portion disposed adjacent to the groove 80. The second portion may be a position or portion of the chamfer 90 where the chamfer 90 starts at or adjacent the groove 80. The second portion may be referred to as a groove-side 92 of the chamfer 90. The groove-side 92 of the chamfer 90 faces the trailing-edge-side 91 of the chamfer 90 in the chordwise direction 9 Along the chordwise direction 9 Hereinafter, another exemplary embodiments regarding the shape of the chamfer 90 are described with reference to Referring to Referring to Alternatively, the chamfer may be planar in shape at the trailing-edge-side 91 of the chamfer 90. For example, entire chamfer 90, that is, from the groove-side 92 to the trailing-edge-side 91, may have a planar shape. Referring to Referring to The chamfer 90 may be defined between a first position of the trailing edge tip portion 70 and a second position of the trailing edge tip portion 70 of the squealer tip 60. The position at line V in The position at line C in Referring to In The width Q of the trailing edge tip portion 70 at the groove-side 92 may be greater than or equal to 0.02 times the chord length, and less than or equal to 0.1 times the chord length. For example, the width A of the chamfer 90, i.e., at the groove-side 92 or at the trailing-edge-side 91 of the chamfer 90 between the groove-side 92 and the trailing-edge-side 91 of the chamfer 90, may be greater than or equal to 0.2 times the width Q of trailing edge tip portion 70 at the groove-side 92. Here, a ratio (i.e., a ratio B/A) of the height/depth B and the width A of the chamfer 90, i.e., at the groove-side 92 or at the trailing-edge-side 91 of the chamfer 90 between the groove-side 92 and the trailing-edge-side 91 of the chamfer 90, may be greater than or equal to 0.5, and less than or equal to 2. The width A and/or height/depth B of the chamfer 90 may be constant, i.e., may be same from the groove-side 92 to the trailing-edge-side 91 of the chamfer 90. Here, the ratio B/A may be constant from the groove-side to the trailing-edge-side. For example, one or both of width W and height B may remain the same or vary, but the ratio B/A may be constant from the groove-side to the trailing-edge-side. In For example, the radius of the fillet portion 903 of the chamfer 90, i.e., radius rC at the groove-side 92 or radius rV at the trailing-edge-side 91 of the chamfer 90 between the groove-side 92 and the trailing-edge-side 91 of the chamfer 90, may be greater than or equal to 0.005 times the chord length of the airfoil 100, and preferably may be greater than or equal to 0.01 times the chord length of the airfoil 100. In For example, the angles αC and βC may be greater than or equal to 10° and less than or equal to 85°. Preferably, the angles αC and βC may be greater than or equal to 45° and less than or equal to 85°. In For example, the angles αV and βW may be greater than or equal to 5° and less than or equal to 85°. Preferably, the angles αV and βW may be greater than or equal 10° and less than or equal to 60°, more preferably the angles αV and βW may be greater than or equal 10° and less than or equal to 45°. Here, the angles α and β, i.e., at any position of the chamfer 90 between the groove-side 92 and the trailing-edge-side 91, may be equal to or less than the angle αC, βC at the groove-side 92 of the airfoil 100, and may be equal to or greater than the angle αV, βV at the trailing-edge-side 91 of the airfoil 100. As shown in The trailing edge tip portion 70 may include a plurality of chamfer-cooling holes 95 spaced apart from each other. The chamfer-cooling holes 95 may be arranged at equal intervals along the chordwise direction 9 Referring to Hereinafter, another exemplary embodiments regarding the shape of the groove 80 are described with reference to Referring to Referring to As shown in Alternatively, as shown in As shown in In A maximum width W1 of the groove 80, i.e., width W1 at the opening of the groove 80 formed at the upper surface 76, may be less than or equal to the maximum width A of the chamfer 90. The maximum width W1 of the groove 80 may be greater than or equal to 0.5 mm, and may be less than or equal to the maximum width A of the chamfer 90. A maximum depth/height H of the groove 80 may be less than or equal to the maximum depth/height B of the chamfer 90. The maximum depth/height H of the groove 80 may be greater than or equal to 0.5 mm, and may be less than or equal to the maximum depth/height B of the chamfer 90. The depth/height H of the groove 80 may be constant from the inlet 82 to the outlet 84 of the groove 80. If the floor 88 is inclined or the floor 88 is non-planar or curved, the depth/height H of the groove 80 may be a mean depth/height H of the groove 80. In The angle γ may be greater than or equal to 0° and less than or equal to 75°. The angle γ of the floor 88 of the groove 80 may be constant from the inlet 82 to the outlet 84 of the groove 80. The side walls and the floor 88 of the groove 80 may be filleted, i.e., may be connected by an arc-shaped edge as shown by dashed line Fr in A radius of the filleted part between the side walls and the floor 88 of the groove 80 may be greater than or equal to 0.1 mm and less than or equal to half of W2, i.e., a minimum width W2 of the groove 80 or a width W2 at the floor 88 of the groove 80. While one or more exemplary embodiments have been described with reference to the accompanying drawings, it will be apparent to those skilled in the art that various variations and modifications may be made by adding, changing, or removing components without departing from the spirit and scope of the disclosure as defined in the appended claims, and these variations and modifications fall within the spirit and scope of the disclosure as defined in the appended claims. Accordingly, the description of the exemplary embodiments should be construed in a descriptive sense only and not to limit the scope of the claims, and many alternatives, modifications, and variations will be apparent to those skilled in the art.CROSS-REFERENCE TO RELATED APPLICATION
FIELD
BACKGROUND
SUMMARY
BRIEF DESCRIPTION OF THE DRAWINGS
DETAILED DESCRIPTION