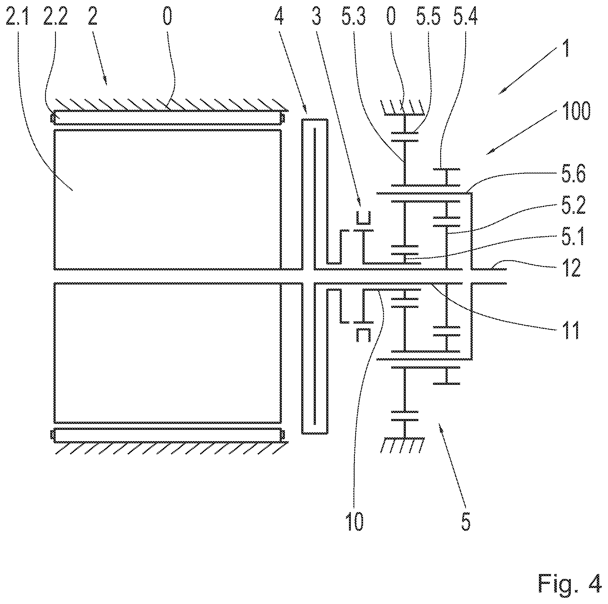
A transmission (1) for an electric drive of a vehicle includes a first input shaft (10), a second input shaft (11), an output shaft (12), two shift elements (3, 4) for connecting the transmission (1) to an electric machine of the electric drive, and a planetary gear set (5) configured as a stepped planetary gear set. A first sun gear (5.1) of the planetary gear set (5) is rotationally fixed to the first input shaft (10). A second sun gear (5.2) of the planetary gear set (5) is rotationally fixed to the second input shaft (11). A ring gear (5.5) of the planetary gear set (5) is fixed at a rotationally fixed component (0) of the transmission (1). A planet carrier (5.6) of the planetary gear set (5) is rotationally fixed to the output shaft (12). A first shift element (3) is configured for connecting the first input shaft (10) to the electric machine of the electric drive. A second shift element (4) is configured for connecting the second input shaft (11) to the electric machine of the electric drive.
1. An electric drive for a vehicle, comprising:
an electric machine (2); a transmission (1) comprising a first input shaft (10), a second input shaft (11), an output shaft (12), at least two shift elements (3, 4, 6, 7) for selectively connecting the transmission (1) to the electric machine (2), and a planetary gear set (5) configured as a stepped planetary gear set with planetary gears (5.3, 5.4) mounted at a planet carrier (5.6), the planetary gears (5.3, 5.4) having two different sized effective diameters, wherein a first sun gear (5.1) of the planetary gear set (5) is meshed with a larger effective diameter (5.3) of the planetary gears, wherein a second sun gear (5.2) of the planetary gear set (5) is meshed with a smaller effective diameter (5.4) of the planetary gears, wherein a ring gear (5.5) of the planetary gear set (5) is meshed with the larger effective diameter (5.3) of the planetary gears, wherein the first sun gear (5.1) of the planetary gear set (5) is rotationally fixed to the first input shaft (10), wherein the second sun gear (5.2) of the planetary gear set (5) is rotationally fixed to the second input shaft (11), wherein the ring gear (5.5) of the planetary gear set (5) is fixed at a rotationally fixed component (0) of the transmission (1), wherein the planet carrier (5.6) of the planetary gear set (5) is rotationally fixed to the output shaft (12), wherein a first shift element (3) of the at least two shift elements (3, 4, 6, 7) is configured for selectively connecting the first input shaft (10) to the electric machine of the electric drive, and wherein a second shift element (4) of the at least two shift elements (3, 4, 6, 7) is configured for selectively connecting the second input shaft (11) to the electric machine (2) of the electric drive. 2. The transmission of 3. The transmission of 4. The transmission of 5. The transmission of 6. The transmission of 7. The transmission of 8. The transmission of 9. The transmission of 10. The transmission of 11. The transmission of 12. The transmission of 13. The transmission of 14. An electric drive for a vehicle, comprising:
an electric machine (2); a transmission (1) comprising a first input shaft (10), a second input shaft (11), an output shaft (12), at least two shift elements (3, 4, 6, 7) for selectively connecting the transmission (1) to the electric machine (2), and a planetary gear set (5) configured as a stepped planetary gear set with planetary gears (5.3, 5.4) mounted at a planet carrier (5.6), the planetary gears (5.3, 5.4) having two different sized effective diameters, wherein a first sun gear (5.1) of the planetary gear set (5) is meshed with a larger effective diameter (5.3) of the planetary gears, wherein a second sun gear (5.2) of the planetary gear set (5) is meshed with a smaller effective diameter (5.4) of the planetary gears, wherein a ring gear (5.5) of the planetary gear set (5) is meshed with the larger effective diameter (5.3) of the planetary gears, wherein the first sun gear (5.1) of the planetary gear set (5) is rotationally fixed to the first input shaft (10), wherein the second sun gear (5.2) of the planetary gear set (5) is rotationally fixed to the second input shaft (11), wherein the planet carrier (5.6) of the planetary gear set (5) is rotationally fixed to the output shaft (12), wherein a first shift element (3) of the at least two shift elements (3, 4, 6, 7) is configured for selectively connecting the first input shaft (10) to the electric machine of the electric drive, and wherein a second shift element (4) of the at least two shift elements (3, 4, 6, 7) is configured for selectively connecting the second input shaft (11) to the electric machine (2) of the electric drive, and the ring gear (5.5) of the planetary gear set (5) is selectively fixable at a rotationally fixed component (0) of the transmission (1) by a fourth shift element (7) of the at least two shift elements (3, 4, 6, 7). 15. The transmission of a first gear ratio (E1) results by engaging the first shift element (3) and the fourth shift element (7); a second gear ratio (E2) results by engaging the second shift element (4) and the fourth shift element (7); and a third gear ratio (E3) results by engaging the first shift element (3) and the second shift element (4). 16. An electric drive for a vehicle, comprising:
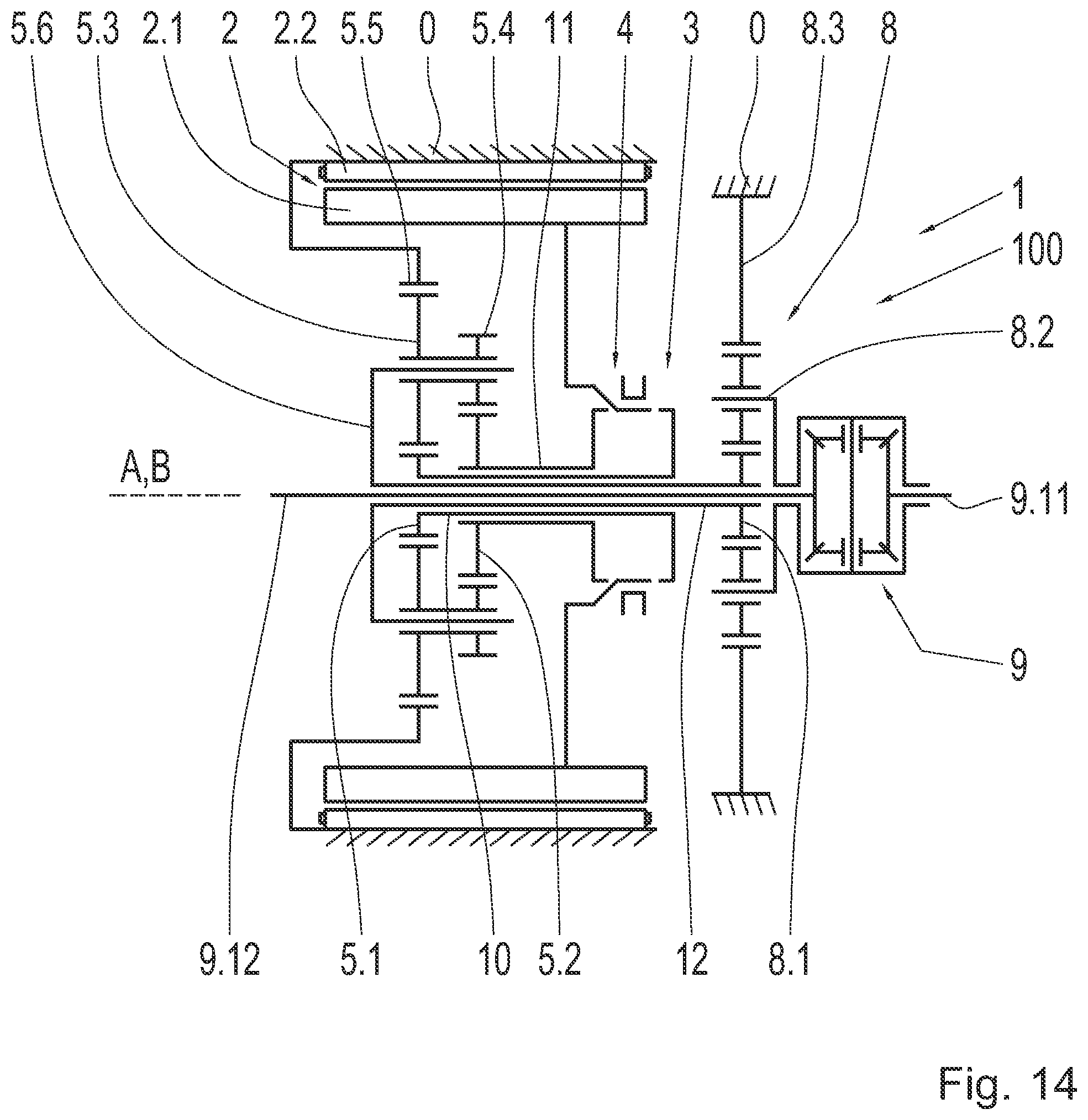
an electric machine (2); and a transmission (1) comprising a first input shaft (10), a second input shaft (11), an output shaft (12), at least two shift elements (3, 4, 6, 7) for selectively connecting the transmission (1) to the electric machine (2), and a first planetary gear set (5) configured as a stepped planetary gear set with planetary gears (5.3, 5.4) mounted at a planet carrier (5.6), the planetary gears (5.3, 5.4) having two different sized effective diameters, wherein a first sun gear (5.1) of the first planetary gear set (5) is meshed with a larger effective diameter (5.3) of the planetary gears, wherein a second sun gear (5.2) of the first planetary gear set (5) is meshed with a smaller effective diameter (5.4) of the planetary gears, wherein a ring gear (5.5) of the first planetary gear set (5) is meshed with the larger effective diameter (5.3) of the planetary gears, wherein the first sun gear (5.1) of the first planetary gear set (5) is rotationally fixed to the first input shaft (10), wherein the second sun gear (5.2) of the first planetary gear set (5) is rotationally fixed to the second input shaft (11), wherein the ring gear (5.5) of the first planetary gear set (5) is fixed at a rotationally fixed component (0) of the transmission (1), wherein the planet carrier (5.6) of the first planetary gear set (5) is rotationally fixed to the output shaft (12), wherein a first shift element (3) of the at least two shift elements (3, 4, 6, 7) is configured for selectively connecting the first input shaft (10) to the electric machine of the electric drive, wherein a second shift element (4) of the at least two shift elements (3, 4, 6, 7) is configured for selectively connecting the second input shaft (11) to the electric machine (2) of the electric drive, and wherein the electric machine (2) is connectable to the transmission (1) via the at least two shift elements (3, 4, 6, 7) in order to form gear steps. 17. A drive train (100) for a vehicle, comprising:
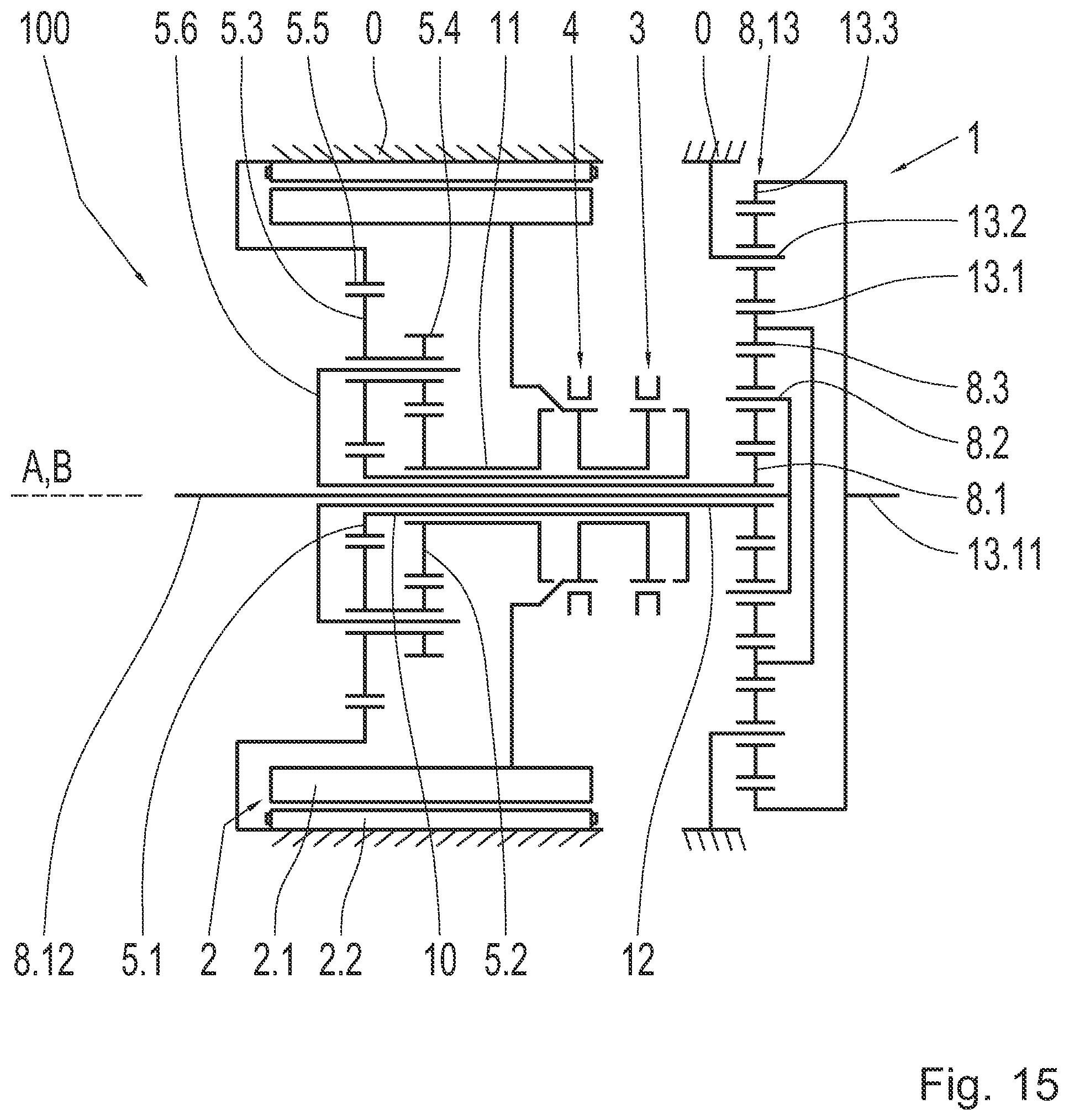
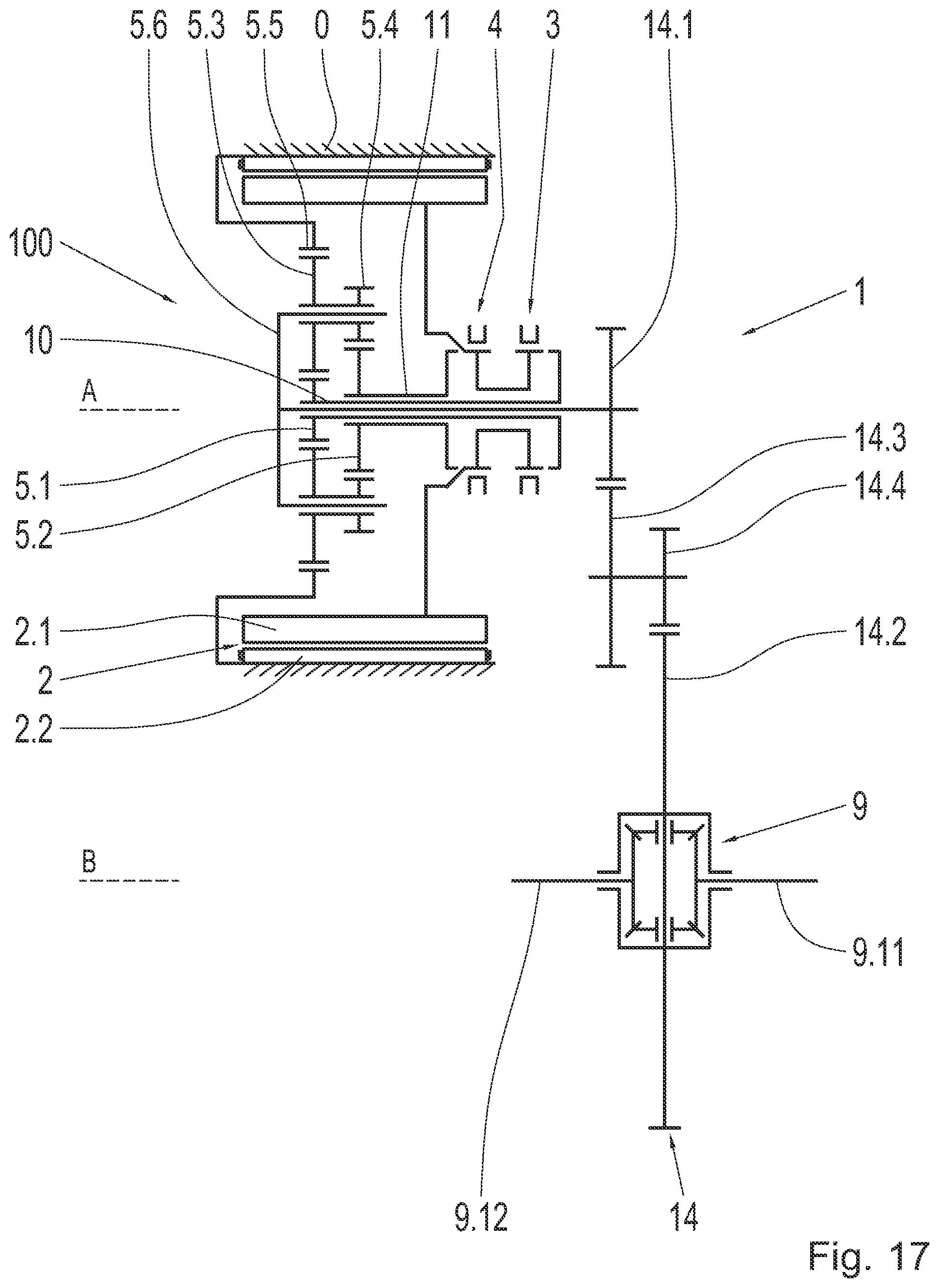
the electric drive of a differential connected to the output shaft (12) of the first planetary gear set (5). 18. The drive train of 19. The drive train of 20. The drive train of
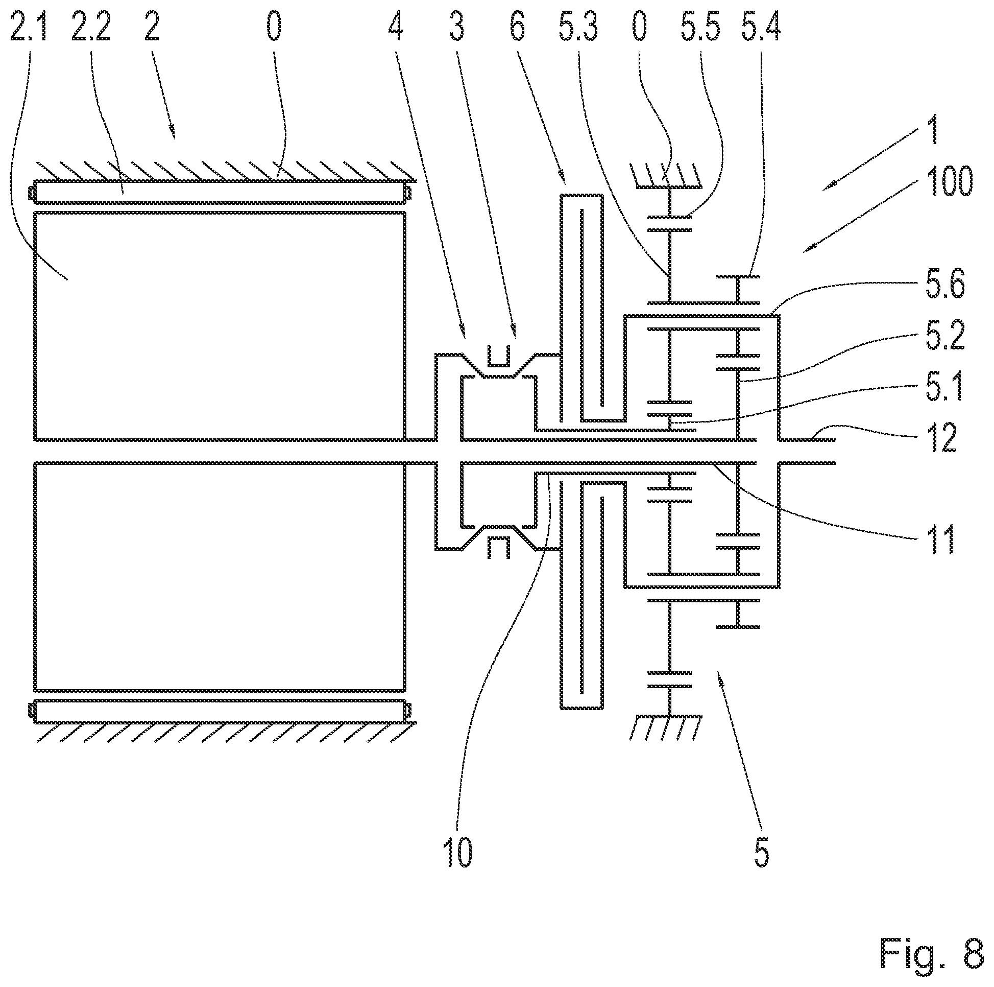
The present application is related and has right of priority to German Patent Application No. 102020211070.0 filed in the German Patent Office on Sep. 2, 2020, which is incorporated by reference in its entirety for all purposes. The invention relates generally to an electric drive for a drive train, and to a drive train. CN 108240432 A describes a vehicle drive with a planetary gear set designed as a stepped planetary gear set, wherein the drive motor can be optionally connected to the first sun gear or to the second sun gear via two clutches. The drive output takes place via the shared planet carrier of the two planetary gear sets. A ring gear is fixedly connected to the transmission housing. The document describes a 2-speed variant and a 3-speed variant, wherein the motor can be connected to the carrier via a third clutch. DE 10 2015 225 171 A1 describes a transmission arrangement for a vehicle, including a dual clutch, which can optionally connect a motor shaft to a first sun gear or to a second sun gear. The particular planetary gears are connected to each other as double planetary gears. The drive output takes place via the carrier, which is connected to the sun gear of a further planetary gear set. The drive output takes place, once again, via the carrier and forms the input of a differential. Example aspects of the present invention provide an alternative electric drive. According to example aspects of the invention, an electric drive is provided. The electric drive includes an electric machine and a transmission. The transmission includes a first input shaft, a second input shaft, an output shaft, and at least two shift elements for connecting the transmission to the electric machine. Moreover, the transmission includes a planetary gear set. The planetary gear set is designed as a stepped planetary gear set, the planetary gears of which, mounted at a planet carrier, have two different sized effective diameters. A first sun gear of the planetary gear set is in mesh with the larger effective diameter of the planetary gears. A second sun gear of the planetary gear set is in mesh with the smaller effective diameter of the planetary gears. A ring gear of the planetary gear set is in mesh with the larger effective diameter of the planetary gears. The first sun gear of the planetary gear set is rotationally fixed to the first input shaft. The second sun gear of the planetary gear set is rotationally fixed to the second input shaft. The ring gear of the planetary gear set is fixed at a rotationally fixed component of the electric drive. The planet carrier of the planetary gear set is rotationally fixed to the output shaft. A first shift element is designed for connecting the first input shaft to the electric machine of the electric drive. A second shift element is designed for connecting the second input shaft to the electric machine of the electric drive. A particular rotationally fixed connection of the rotatable components of the electric drive and/or of the transmission is preferably implemented, according to example aspects of the invention, via one or also multiple intermediate shaft(s), which can also be present as short intermediate pieces when the components are positioned in a spatially dense manner. Specifically, the components that are permanently rotationally fixed to each other can each be present either as individual components that are rotationally fixed to each other, or also as single pieces. In the second case mentioned above, the particular components and the optionally present shaft are then formed by one shared component, wherein this is implemented, in particular, when the particular components are situated spatially close to each other in the transmission. In the case of components of the electric drive and/or of the transmission that are rotationally fixed to each other only upon actuation of a particular shift element, a connection is also preferably implemented via one or also multiple intermediate shaft(s). A fixation takes place, in particular, by way of a rotationally fixed connection to a rotationally fixed component of the electric drive, which is preferably a permanently non-rotating component, preferably a housing of the transmission, a part of such a housing, or a component rotationally fixed thereto. Within the meaning of the invention, the connection of the rotor of the electric machine to the first input shaft or the second input shaft of the transmission is to be understood as a connection of such a type that a constant rotational-speed dependence prevails between the rotor of the electric machine and the corresponding input shaft. The individual shift elements can each be present as a force-locking shift element and as a form-locking shift element. Force-locking or friction-locking shift elements are, for example, lamellar shift elements, in particular in the form of multi-disk clutches. Form-locking shift elements are, for example, constant-mesh shift elements and conical shift elements in the form of dog clutches and cone clutches, respectively. The first shift element can be arranged, in particular, axially between the second shift element and the first sun gear. The electric drive allows for a drive output that is axially parallel or also coaxial to the input shafts. The electric drive can therefore be utilized, in particular, for a front-transverse drive train of a vehicle. The first input shaft can be arranged coaxially to the second input shaft. If, in the case of a coaxial arrangement of the input shafts, the first input shaft is designed to be hollow, it is preferred for an axially compact transmission and/or electric drive that the second input shaft is arranged within the first input shaft, which is designed to be hollow. The output shaft can be arranged coaxially to the first input shaft and the second input shaft. The electric drive allows for the shifting of two gears. In this way, in particular, a first gear can be formed by engaging the first shift element and a second gear can be formed by engaging the second shift element. Thus, in the first gear, the first shift element is engaged, whereas the second shift element is disengaged. The converse applies in the second gear. In the first gear, a ratio of i>1 preferably arises. Particularly preferably, the ratio in the first gear is i=4. In the second gear, a ratio of i>1 preferably arises. Particularly preferably, the ratio in the second gear is i=2. Therefore, a gear step of essentially 2.0 is preferably achieved between these two gears. The efficiencies of this preferred connection are very high. In the first gear, an efficiency of 98.5% can be achieved. In the second gear, an efficiency of 99% can be achieved. If the second shift element is designed, for example, as a multi-disk clutch, a traction powershift from the first gear into the second gear is possible. A traction powershift from the second gear into the first gear is also possible. The first shift element is preferably designed as a constant-mesh shift element, in order to allow for a transmission that is optimized with respect to cost and efficiency. The stepped planetary gear set is particularly advantageous in this transmission, since a ring gear can be completely dispensed with. By simultaneously engaging the first shift element and the second shift element, the planetary gear set and, thereby, the drive output is interlocked against the housing or in relation to the housing. This represents the function of a parking lock, which can thereby be saved as a separate component/assembly. If a planetary gear set is interlocked, the ratio is always one regardless of the number of teeth. In other words, the planetary gear set revolves as a block. In a further example embodiment of the invention, it is preferred that a third shift element is provided for connecting the output shaft to the electric machine of the electric drive. The third shift element, in the engaged condition, makes a third gear possible. In this third gear, the first shift element and the second shift element are disengaged. Due to the coupling of the drive output to the input, a direct gear having a ratio of i=1 is brought about. Therefore, a preferred gear step of essentially 2.0 results here as well. The efficiencies of this preferred connection are very high. In the first gear, an efficiency of 98.5% can be achieved. In the second gear, an efficiency of 99% can be achieved. In the third gear, an efficiency of 100% can be achieved. In an example modification of the invention, it is preferred that the ring gear is not permanently fixed at the housing, but rather is fixable at the rotationally fixed component by a fourth shift element. In this example modification, it is preferred that a first gear results by engaging the first shift element and the fourth shift element; and/or a second gear results by engaging the second shift element and the fourth shift element; and/or a third gear results by engaging the first shift element and the second shift element. In this example embodiment, the third shift element for producing the direct gear is dispensed with. The direct gear is now obtained by simultaneously engaging the first and second shift elements when the fourth shift element is disengaged. In each of the three gears, two of the three shift elements are engaged, which, in comparison to the above-described 3-speed variant, brings about considerably lower drag losses. Force-locking shift elements as well as form-locking shift elements can also be utilized in the two above-described 3-speed variants. It is preferred that the first, second, and fourth shift elements are each designed as a friction or force-locking shift element, since, as a result, the three gears are completely power shiftable. Alternatively, it is preferred that the first and second shift elements are each designed as a friction or force-locking shift element and the fourth shift element is designed as a form-locking shift element. This ensures that the gear shift from the first gear into the second gear and back is power shiftable in traction and overrun. The gear shift from the second gear into the third gear is power shiftable in the traction operation. In the upper speed range with a low electrical tractive force, however, this is secondary with respect to comfort and performance. In the direct gear, negligible drag losses arise due to the disengaged constant-mesh shift element, in contrast to the disengaged fourth powershift element of the above-described example embodiment. According to a second example aspect of the invention, a drive train for a vehicle is made available, the drive train encompassing the above-described electric drive and a differential device, which is connected to the output shaft of the first planetary gear set. A drive train is preferred when the differential device includes a bevel gear differential and a transmission gearing, wherein the transmission gearing is formed by a spur gear stage or by a planetary gear set. A drive train of this type yields an axially parallel drive output and is axially particularly compact. A drive train is preferred when the differential device includes a second planetary gear set and a third planetary gear set. A drive train of this type is also axially compact, wherein this drive train preferably has a coaxial drive output. A drive train is preferred when the differential device includes a bevel gear differential and a transmission gearing, wherein the transmission gearing is formed by a planetary gear set and the bevel gear differential is arranged radially within a rotor of the electric machine. This drive train is also axially particularly compact. Advantageous example embodiments of the invention, which are explained in the following, are represented in the drawings, in which: Reference will now be made to embodiments of the invention, one or more examples of which are shown in the drawings. Each embodiment is provided by way of explanation of the invention, and not as a limitation of the invention. For example, features illustrated or described as part of one embodiment can be combined with another embodiment to yield still another embodiment. It is intended that the present invention include these and other modifications and variations to the embodiments described herein. The drive train 100 according to The drive train 100 according to The drive train 100 according to Moreover, the transmission 1 includes a planetary gear set 5. The planetary gear set 5 is designed as a stepped planetary gear set, the planetary gears 5.3, 5.4 of which, mounted at a planet carrier 5.6, have two different sized effective diameters. A first sun gear 5.1 of the planetary gear set 5 is in mesh with the larger effective diameter 5.3 of the planetary gears. A second sun gear 5.2 of the planetary gear set 5 is in mesh with the smaller effective diameter 5.4 of the planetary gears. A ring gear 5.5 of the planetary gear set 5 is in mesh with the larger effective diameter 5.3. The first sun gear 5.1 of the planetary gear set 5 is rotationally fixed to the first input shaft 10. The second sun gear 5.2 of the planetary gear set 5 is rotationally fixed to the second input shaft 11. The ring gear 5.5 of the planetary gear set 5 is fixed at a rotationally fixed component 0 of the transmission 1. The planet carrier 5.6 of the planetary gear set 5 is rotationally fixed to the output shaft 12. A first shift element 3 is designed for connecting the first input shaft 10 to the electric machine of the electric drive. A second shift element 4 is designed for connecting the second input shaft 11 to the electric machine of the electric drive. The first input shaft 10 is designed to be hollow and is arranged coaxially to the second input shaft 11. The second input shaft 11 is arranged within the first input shaft 10, which is designed to be hollow. The output shaft 12 is arranged coaxially to the first input shaft 10 and the second input shaft 11. The first shift element 3 is arranged axially between the second shift element 4 and the first sun gear 5.1. The first shift element 3 is a dog clutch. If the first shift element 3 is actuated, the first input shaft 10 (and, therefore, the smaller sun gear 5.1 connected thereto) is connected to the electric machine 2, i.e., to the rotor 2.1. The second shift element 4 is a multi-disk clutch. If the second shift element 4 is actuated, the second input shaft 11 (and, therefore, the larger sun gear 5.2 connected thereto) is connected to the electric machine 2, i.e., to the rotor 2.1. The rotationally fixed component 0 is a transmission housing of the transmission 1. The electric machine 2 includes, in a way known, per se, a rotor 2.1 and a stator 2.2 fixed at the transmission housing 0. An electric first gear E1 is formed by engaging the first shift element 3 and an electric second gear E2 is formed by engaging the second shift element 4. Since the second shift element is a friction-locking shift element, a traction powershift from the first gear into the second gear, and vice versa, is possible. If both shift elements 3, 4 are engaged, the planetary gear set 5 and, thereby, the drive output 12 are interlocked against the housing 0. This represents the function of a parking lock, which can thereby be saved as a separate component/assembly in the drive. In the first gear E1 and the second gear E2, the ratio i is greater than one (1) in each case. In the first gear E1, the ratio i is four (i=4). In the second gear E2, the ratio i is two (i=2). The gear step between these two gears, therefore, is phi=2.0. The efficiency is designated as eta. It is 98.5% for the first gear E1. It is 99.0% for the second gear E2. The second shift element 4 and the third shift element 6 are disengaged during the first gear E1. The first shift element 3 and the third shift element 6 are disengaged during the second gear E2. The first shift element 3 and the second shift element 4 are disengaged during the third gear E3. In the first gear E1 and the second gear E2, the ratio i is greater than one (1) in each case. In the third gear E3, the ratio i is equal to one (1). In the first gear E1, the ratio i is four (i=4). In the second gear E2, the ratio i is two (i=2). The gear step between these two gears, therefore, is phi=2.0. The efficiency is designated as eta. It is 98.5% for the first gear E1. It is 99.0% for the second gear E2. It is 100% for the third gear E3. According to this example embodiment, the gear change from E1 to E2 is power shiftable as a traction upshift and a traction downshift. The gear change E2 to E3 is not power shiftable as a traction upshift or as a traction downshift, which plays a secondary role in many drive train configurations, however, since these gear changes are above one hundred and forty kilometers per hour (140 km/h) and take place at low absolute output torques. The shift elements 3 and 6 can also be represented as individual constant-mesh shift elements. The two shift elements 3, 6 can be simultaneously engaged in this case. As a result, the electric machine and, thereby, also the drive output (output shaft 12), are braked and/or interlocked against the housing 0 by the interlocked gear set 5. A parking lock function can be represented in this way. In addition, this example embodiment corresponds to the example embodiment according to According to this example embodiment, the gear change from the second gear E2 to the third gear E3 is power shiftable as a traction upshift and as a traction downshift. The first gear E1 can be represented, in particular, as a performance gear, which is why a comfortable powershift from the first gear E1 to the second gear E2 may be dispensed with. The typical operation is implemented via the second gear E2 and the third gear E3 with traction powershifts (similarly to the two-speed example variant according to The direct gear, which corresponds to the third gear, is now obtained by simultaneously engaging the shift elements 3 and 4 with the shift element 7 disengaged. The shift element 7 must be engaged in the first gear E1 and in the second gear E2. Therefore, two of the three shift elements are engaged in each of the three gears. This reduces the drag losses, and so this example embodiment is more efficient than the 3-speed example variant according to In the first gear E1 and the second gear E2, the ratio i is greater than one (1) in each case. In the third gear E3, the ratio i is equal to one (1). In the first gear E1, the ratio i is four (i=4). In the second gear E2, the ratio i is two (i=2). The gear step between these two gears, therefore, is phi=2.0. The efficiency is designated as eta. It is 98.5% for the first gear E1. It is 99.0% for the second gear E2. It is 100% for the third gear E3. The following The bevel gear differential 9 has two wheel-side output elements, which are designed as a first output gear 9.1 and a second output gear 9.2. The output gears 9.1, 9.2 each mesh with a differential element 9.3 designed as a spur gear. The differential elements 9.3 are mounted, rotatable about their own axes, in a differential cage 9.4. The first output gear 9.1 is rotationally fixed to a first output shaft 9.11 and the second output gear 9.2 is rotationally fixed to a second output shaft 9.12. The differential bevel gears 9.3, which operate between the cage 9.4 and the two output gears 9.1, 9.2, can transmit a turning motion from the cage 9.4 to the two output gears 9.1, 9.2 and provide a compensatory turning motion between the two output gears 9.1, 9.2. The planetary gear sets 5 and 8 are arranged axially next to each other. The bevel gear differential 9 is arranged radially within the rotor 2.1 of the electric machine 2, and so the transmission and the drive train are axially particularly short. The minus planetary gear set 8 includes a ring gear 8.3 fixed at the transmission housing 0, a planet carrier 8.2, and a sun gear 8.1. The planet carrier 8.2 is rotationally fixed to the cage 9.4. The sun gear 8.1 is rotationally fixed to the output shaft 12. The shafts 10, 11, 12 are each designed as a hollow shaft. The planet carrier 8.2 is guided through the hollow shafts 10, 11, 12. The planet carrier 8.2 is also designed to be hollow. The first output shaft 9.11 is guided through the planet carrier 8.2. Due to the minus planetary gear set 8, a high overall gear ratio can be formed, in particular 6<i<13.5. The shift elements 3, 4 can also both be designed as constant-mesh shift elements. If both shift elements 3, 4 are present as dogs, the shift elements 3, 4 are preferably combined to form a double shift element. The planetary gear set 8 includes a sun gear 8.1, a planet carrier 8.2, and a ring gear 8.3. The planetary gear set 13 includes a sun gear 13.1, a planet carrier 13.2, and a ring gear 13.3. Planetary gear sets 8 and 13 are arranged radially one above the other, wherein the planetary gear set 8 is arranged radially within. The ring gear 8.3 is rotationally fixed to the sun gear 13.1. The ring gear 8.3 and the sun gear 13.1 are designed as one piece according to this example embodiment. The planet carrier 13.2 is fixed. The sun gear 8.1 is connected to the output shaft 12. The ring gear 13.1 is connected to a first output shaft 13.11. The planet carrier 8.2 is connected to a second output shaft 8.12. The shafts 10, 11, 12 are each designed as a hollow shaft. The second output shaft 8.12 is guided through the planet carrier 8.2 and connected at one axial end to the planet carrier 8.2. In other words, an integrated differential, including planetary gear sets 8 and 13, is utilized in this example embodiment instead of the bevel gear differential 9 and the planetary gear set 8 from The shift elements 3 and 4 are each designed as a single constant-mesh shift element. The two shift elements 3, 4 can be simultaneously engaged, in order to brake and/or interlock the electric machine 2 and, thereby, also the output shaft 12 against the housing. In this way, a parking lock function can be represented. Instead of two single shift elements, the shift elements 3, 4 can also be designed as a double shift element. It is also conceivable to design the shift elements 3 and 4 as friction-locking shift elements. In addition, it is conceivable to design the shift element 3 as a form-locking, in particular, dog or cone clutch, and to design the shift element 4 as a friction-locking shift element, in particular a multi-disk clutch. Modifications and variations can be made to the embodiments illustrated or described herein without departing from the scope and spirit of the invention as set forth in the appended claims. In the claims, reference characters corresponding to elements recited in the detailed description and the drawings may be recited. Such reference characters are enclosed within parentheses and are provided as an aid for reference to example embodiments described in the detailed description and the drawings. Such reference characters are provided for convenience only and have no effect on the scope of the claims. In particular, such reference characters are not intended to limit the claims to the particular example embodiments described in the detailed description and the drawings.CROSS-REFERENCE TO RELATED APPLICATION
FIELD OF THE INVENTION
BACKGROUND
SUMMARY OF THE INVENTION
BRIEF DESCRIPTION OF THE DRAWINGS
DETAILED DESCRIPTION
LIST OF REFERENCE CHARACTERS