A method of forming a fuel cell system component includes dispensing an ink onto a substrate to form an ink layer, the ink containing a fuel cell system component powder, an aqueous carrier, and an emulsion comprising a water-insoluble binder and a water soluble co-solvent, and solidifying the ink layer to form the fuel cell system component.
1. A fuel cell system component ink, comprising:
a fuel cell system component powder, an aqueous carrier, and an emulsion comprising a water-insoluble binder and a water soluble co-solvent. 2. The ink of from about 50 wt % to about 90 wt % of the fuel cell system component powder, from about 5 wt % to about 21 wt % of the aqueous carrier; from about 0.2 wt % to about 10 wt % of the co-solvent; and from about 0.2 wt % to about 10 wt % of the water-insoluble binder emulsified in the co-solvent. 3. The ink of 4. The ink of 5. The ink of 6. The ink of 7. The ink of 8. The ink of 9. The ink of 10. The ink of from about 62 wt % to about 80 wt % of the fuel cell system component powder; from about 8 wt % to about 10 wt % of the aqueous carrier, from about 0.5 wt % to about 6 wt % of the water-insoluble binder; from about 0.5 wt % to about 8 wt % of a plasticizer, from about 0.5 wt % to about 6 wt % of a co-solvent configured to solubilize the binder in the carrier; and from about 0.5 wt % to about 6 wt % of a dispersant. 11. A method of forming a fuel cell system component, comprising:
dispensing an ink onto a substrate to form an ink layer, the ink comprising:
a fuel cell system component powder; an aqueous carrier; and an emulsion comprising a water-insoluble binder and a water soluble co-solvent; and solidifying the ink layer to form the fuel cell system component. 12. The method of the solidifying the ink layer comprises drying and sintering the ink layer, and the ink comprises, based on the total weight of each ink:
from about 50 wt % to about 90 wt % of the fuel cell system component powder, from about 5 wt % to about 21 wt % of the aqueous carrier; from about 0.2 wt % to about 10 wt % of the co-solvent; and from about 0.2 wt % to about 10 wt % of the water-insoluble binder emulsified in the co-solvent. 13. The method of 14. The method of 15. The method of 16. The method of 17. The method of 18. The method of 19. The method of 20. The method of from about 62 wt % to about 80 wt % of the fuel cell system component powder; from about 8 wt % to about 10 wt % of the aqueous carrier, from about 0.5 wt % to about 6 wt % of the water-insoluble binder; from about 0.5 wt % to about 8 wt % of a plasticizer, from about 0.5 wt % to about 6 wt % of a co-solvent configured to solubilize the binder in the carrier, and from about 0.5 wt % to about 6 wt % of a dispersant.
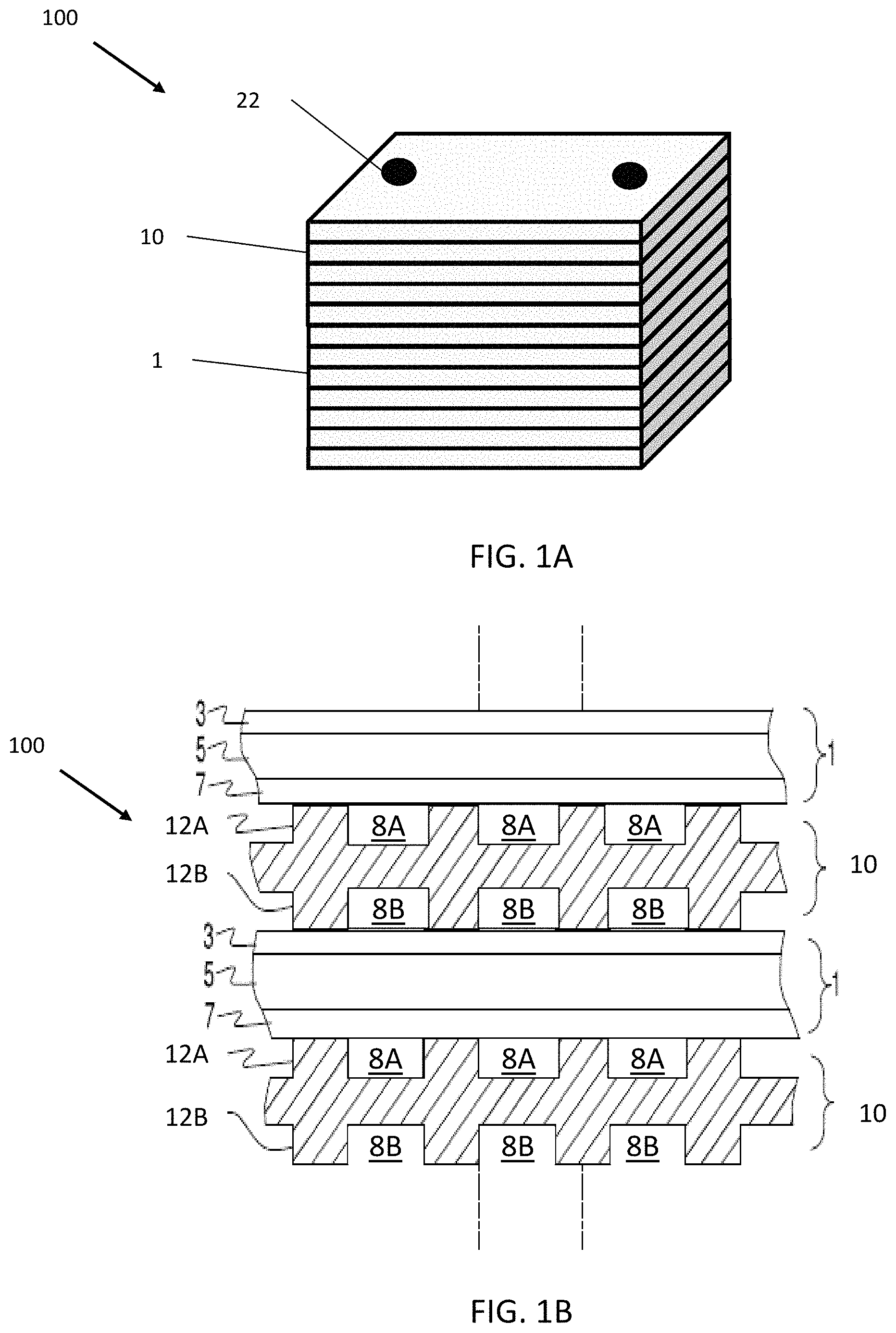
The present disclosure is directed generally to ink compositions and more specifically to ink compositions used to form fuel cell system components. Components of fuel cell systems may be formed by applying corresponding component inks. However, conventional component inks may utilize hazardous solvents and/or may become unstable over time. According to various embodiments, a fuel cell system component ink comprises a fuel cell system component powder, an aqueous carrier, and an emulsion comprising a water-insoluble binder and a water soluble co-solvent. According to various embodiments, a method of forming a fuel cell system component includes dispensing an ink onto a substrate to form an ink layer, the ink containing a fuel cell system component powder, an aqueous carrier, and an emulsion comprising a water-insoluble binder and a water soluble co-solvent, and solidifying the ink layer to form the fuel cell system component. The various embodiments will be described in detail with reference to the accompanying drawings. Wherever possible, the same reference numbers will be used throughout the drawings to refer to the same or like parts. References made to particular examples and implementations are for illustrative purposes, and are not intended to limit the scope of the invention or the claims. It will be understood that when an element or layer is referred to as being “on” or “connected to” another element or layer, it can be directly on or directly connected to the other element or layer, or intervening elements or layers may be present. In contrast, when an element is referred to as being “directly on” or “directly connected to” another element or layer, there are no intervening elements or layers present. It will be understood that for the purposes of this disclosure, “at least one of X, Y, and Z” can be construed as X only, Y only, Z only, or any combination of two or more items X, Y, and Z (e.g., XYZ, XYY, YZ, ZZ). Where a range of values is provided, it is understood that each intervening value, to the tenth of the unit of the lower limit unless the context clearly dictates otherwise, between the upper and lower limit of that range and any other stated or intervening value in that stated range is encompassed within the invention. The upper and lower limits of these smaller ranges may independently be included in the smaller ranges is also encompassed within the invention, subject to any specifically excluded limit in the stated range. Where the stated range includes one or both of the limits, ranges excluding either or both of those included limits are also included in the invention. It will also be understood that the term “about” may refer to a minor measurement errors of, for example, 5 to 10%. In addition, weight percentages (wt %) and atomic percentages (at %) as used herein respectively refer to a percent of total weight or a percent of a total number of atoms of a corresponding composition. Words such as “thereafter,” “then,” “next,” etc. are not necessarily intended to limit the order of the steps; these words may be used to guide the reader through the description of the methods. Further, any reference to claim elements in the singular, for example, using the articles “a,” “an” or “the” is not to be construed as limiting the element to the singular. The term “fuel cell stack,” as used herein, means a plurality of stacked fuel cells that can optionally share a common fuel inlet and exhaust passages or risers. The “fuel cell stack,” as used herein, includes a distinct electrical entity which contains two end plates which are connected directly to power conditioning equipment and the power (i.e., electricity) output of the stack or comprises a portion of a fuel cell column that contains terminal plates which provide electrical output. Various materials may be used for the cathode 3, electrolyte 5, and anode 7. For example, the anode 7 may comprise a cermet layer comprising a metal-containing phase and a ceramic phase. The metal-containing phase may include a metal catalyst, such as nickel (Ni), cobalt (Co), copper (Cu), alloys thereof, or the like, which operates as an electron conductor. The metal catalyst may be in a metallic state or may be in an oxide state. For example, the metal catalyst forms a metal oxide when it is in an oxidized state. Thus, the anode 7 may be annealed in a reducing atmosphere prior to operation of the fuel cell 1, to reduce the oxidized metal catalyst to a metallic state. The metal-containing phase may consist entirely of nickel in a reduced state. This nickel-containing phase may form nickel oxide when it is in an oxidized state. Thus, the anode 7 is preferably annealed in a reducing atmosphere prior to operation to reduce the nickel oxide to nickel. According to some embodiments, the metallic phase may include the metal catalyst and a dopant. For example, the metallic phase may be represented by Formula 1: [DxM1-x]yO. In Formula 1, D is a dopant (in any oxidation state) selected from magnesium (Mg), calcium (Ca), titanium (Ti), aluminum (Al), manganese (Mn), tungsten (W), niobium (Nb), chromium (Cr), iron (Fe), vanadium (V), praseodymium (Pr), cerium (Ce), zirconium (Zr) or the like, or any combination thereof. In some embodiments, D may be Ca, Mg, and/or Ti. M is a metal catalyst selected from nickel (Ni), cobalt (Co), copper (Cu), or alloys thereof. X may range from about 0.01 to about 0.1, and y may range from about 1 to about 2. In other embodiments, x may range from about 0.01 to about 0.04. For example, x may be about 0.02 and y may be either 1 or 2. Accordingly, the metallic phase may comprise from about 1 to about 10 atomic percent (“at %”) of the metal oxide dopant and about 99 to about 90 at % of the metal catalyst. For example, the metallic phase may comprise from about 2 to about 4 at % of the metal oxide dopant and about 98 to about 96 at % of the metal catalyst, as manufactured before being reduced. According to various embodiments, the anode 7 may include a metallic phase that includes NiO doped with MgO. For example, the metallic phase may include MgxNi1-xO, wherein x is within the ranges described above. After anode manufacture and before or during fuel cell operation, the metallic phase is reduced by being exposed to a reducing ambient (e.g., fuel) at an elevated temperature (e.g., at a temperature ranging from about 750-950° C.). The reduced metallic phase may be represented by the formula DxM1-x. The ceramic phase of the anode 7 may include, but is not limited to gadolinia-doped ceria (GDC), samaria-doped ceria (SDC), ytterbia-doped ceria (YDC), scandia-stabilized zirconia (SSZ), ytterbia-ceria-scandia-stabilized zirconia (YCSSZ), or the like. In the YCSSZ, scandia may be present in an amount equal to 9 to 11 mol %, such as 10 mol %, ceria may present in amount greater than 0 (e.g., at least 0.5 mol %) and equal to or less than 2.5 mol %, such as 1 mol %, and at least one of yttria and ytterbia may be present in an amount greater than 0 and equal to or less than 2.5 mol %, such as 1 mol %, as disclosed in U.S. Pat. No. 8,580,456, which is incorporated herein, by reference. Yttria stabilized zirconia (YSZ) may be excluded from the ceramic phase of the anode 7. The electrolyte 5 may comprise a stabilized zirconia, such as scandia-stabilized zirconia (SSZ), yttria-stabilized zirconia (YSZ), scandia-ceria-stabilized zirconia (SCSZ), scandia-ceria-yttria-stabilized zirconia (SCYSZ), or the like. Alternatively, the electrolyte 5 may comprise another ionically conductive material, such as a samaria-doped ceria (SDC), gadolinia-doped ceria (GDC), or yttria-doped ceria (YDC). The cathode 3 may comprise a layer of an electrically conductive material, such as an electrically conductive perovskite material, such as lanthanum strontium manganite (LSM). Other conductive perovskites, such as lanthanum strontium cobaltite (LSC), lanthanum strontium cobalt manganite (LSCM), lanthanum strontium cobalt ferrite (LSCF), lanthanum strontium ferrite (LSF). La0.85Sr0.15Cr0.9Ni0.1O3(LSCN), etc., or metals, such as Pt, may also be used. The cathode 3 may optionally contain a ceramic phase similar to the anode 7. The electrodes and the electrolyte may each comprise one or more sublayers of one or more of the above described materials. Thus, in some embodiments, the cathode 3 may comprise a mixture of the electrically conductive material and an ionically conductive material. For example, the cathode 3 may include from about 10 wt % to about 90 wt % of the electrically conductive material described above, (e.g., LSM, etc.) and from about 10 wt % to about 90 wt % of the ionically conductive material. Suitable ionically conductive materials include zirconia-based and/or ceria based materials. For example, the ionically conductive material may comprise scandia-stabilized zirconia (SSZ), ceria, and at least one of yttria and ytterbia. In some embodiments, the ionically conductive material may be represented by the formula: (ZrO2)1-w-x-z(Sc2O3)w(CeO2)x(Y2O3)a(Yb2O3)b, wherein 0.09≤w≤0.11, 0<x≤0.0125, a+b=z, and 0.0025≤z≤0.0125. In some embodiments, 0.009<x≤0.011 and 0.009≤z≤0.011, and optionally either a or b may equal to zero if the other one of a or b does not equal to zero. Furthermore, if desired, additional contact or current collector layers may be placed over the cathode 3 and anode 7, while additional interfacial layers, such as doped ceria interfacial layers, may be located between the electrodes 3, 7 and the electrolyte 5. For example, a Ni or nickel oxide anode contact layer and an LSM or LSCo cathode contact layer may be formed on the anode 7 and cathode 3 electrodes, respectively. Fuel cell stacks are frequently built from a multiplicity of fuel cells 1 in the form of planar elements, tubes, or other geometries. Although the fuel cell stack 100 in Each interconnect 10 electrically connects adjacent fuel cells 1 in the stack 100. In particular, an interconnect 10 may electrically connect the anode 7 of one fuel cell 1 to the cathode 3 of an adjacent fuel cell 1. Each interconnect 10 includes fuel-side ribs 12A that at least partially define fuel channels 8A and air-side ribs 12B that at least partially define oxidant (e.g., air) channels 8B. The interconnect 10 may operate as a gas-fuel separator that separates a fuel, such as a hydrocarbon fuel, flowing to the fuel electrode (i.e. anode 7) of one cell in the stack from oxidant, such as air, flowing to the air electrode (i.e. cathode 3) of an adjacent cell in the stack. At either end of the stack 100, there may be an air end plate or fuel end plate (not shown) for providing air or fuel, respectively, to the end electrode. Each interconnect 10 may be made of or may contain electrically conductive material, such as a metal alloy (e.g., chromium-iron alloy) which has a similar coefficient of thermal expansion to that of the solid oxide electrolyte in the cells (e.g., a difference of 0-10%). For example, the interconnects 10 may comprise a metal (e.g., a chromium-iron alloy, such as 4-6 weight percent iron (e.g., 5 wt % iron), optionally 1 or less weight percent yttrium and balance chromium alloy), and may electrically connect the anode or fuel-side of one fuel cell 1 to the cathode or air-side of an adjacent fuel cell 1. An electrically conductive contact layer, such as a nickel contact layer, may be provided between anodes 7 and each interconnect 10. Another optional electrically conductive contact layer may be provided between the cathodes 3 and each interconnect 10. Referring to The fuel holes 22A, 22B may extend through the electrolyte 5 and may be arranged to overlap with the fuel holes 22A, 22B of the interconnects 10, when assembled in the fuel cell stack 100. The cathode 3 may be printed on the electrolyte 5 so as not to overlap with the ring seals 20 and the peripheral seals 24 when assembled in the fuel cell stack 100. The anode 7 may have a similar shape as the cathode 3. The anode 7 may be disposed so as not to overlap with the frame seal 26, when assembled in the stack 100. In other words, the cathode 3 and the anode 7 may be recessed from the edges of the electrolyte 5, such that corresponding edge regions of the electrolyte 5 may directly contact the corresponding seals 20, 24, 26. The corrosion barrier layer 50 reduces or prevents the interaction of the components of the LSM and/or MCO coating with the silica based glass seals 20 and/or prevents the interaction of manganese contaminated silica based glass seals 20 with the electrolyte 5 of the fuel cell 1. Specifically, a barrier layer which preferably lacks any Mn and/or Co (or at least contains less than 5 at % of Mn and/or Co) prevents Mn and/or Co diffusion from the metal oxide layer into the glass seal and/or prevents the Mn and/or Co containing mobile phase diffusion from the glass seal to the electrolyte. The corrosion barrier layer 50 may comprise a glass ceramic material described in U.S. Pat. No. 9,583,771 B2, issued Feb. 28, 2017 and incorporated herein by reference in its entirety. The corrosion barrier layer 50 may comprise a glass ceramic layer formed from a substantially glass barrier precursor layer containing at least 90 wt. % glass (e.g., 90-100 wt. % glass, such as around 99 to 100 wt. % amorphous glass and 0 to 1 wt. % crystalline phase) applied to a surface of interconnects in the SOFC stack. In one embodiment, the glass barrier precursor layer contains at least 90 wt. % glass and comprises: 45-55 wt. % silica (SiO2); 5-10 wt. % potassium oxide (K2O); 2-5 wt. % calcium oxide (CaO); 2-5 wt. % barium oxide (BaO); 0-1 wt. % boron trioxide (B2O3); 15-25 wt. % alumina (Al2O3); and 20-30 wt. % zirconia (ZrO2) on an oxide weight basis. In one preferred embodiment, the glass barrier precursor layer comprises: 44.6 wt. % silica; 6.3 wt. % potassium oxide; 2.4 wt. % calcium oxide; 2.4 wt. % barium oxide; 19.1 wt. % alumina; 0.1 wt. % boron trioxide; and 25.1 wt. % zirconia on an oxide weight basis. Fuel Cell System Component Inks In various embodiments, the fuel cell system component inks may be used to form various components of a fuel cell system, such as a solid oxide fuel cell stack 100. For example, the fuel cell system component inks may be used to form fuel cell 1 cathodes 3, anodes 7, fuel-side and/or air-side seals 20, 24, 26, strengthening layers 40, corrosion barrier layers 50, other fuel cell system dielectric layers, or the like. The fuel cell system component inks may be deposited on a substrate, such as a fuel cell 1 or interconnect 10, using any suitable deposition method. For example, the fuel cell system component inks may be configured to be deposited by screen printing, inkjet printing, dip coating, spray coating, or the like. The fuel cell system component inks may include a fuel cell system component powder, an aqueous carrier, and a water-insoluble binder in an emulsion. The emulsion may comprise the water-insoluble binder dissolved in a water soluble co-solvent. The water-insoluble binder may comprise a cellulosic binder, such as ethyl cellulose. The water soluble co-solvent may comprise any solvent that is sufficiently soluble in water, such as terpineol. In contrast, conventional inks that include aqueous carriers typically include binders that are water-soluble. However, the conventional ink formulations incorporating water-soluble binders are more sensitive to humidity shifts than the emulsion binder compositions of the embodiments of the present disclosure. By maintaining an emulsion of the water-insoluble binder in a co-solvent in the aqueous medium (i.e., in a water solvent), the embodiment fuel cell system component inks retain robustness when encountering humidity changes and retain the benefits of an aqueous-based system, such as environmental compliance, safety, etc. The fuel cell system component inks described herein may include a component powder and an emulsion comprising water-insoluble binder in a water soluble co-solvent in a in an aqueous carrier. The aqueous carrier may comprise water as the primary solvent, and one or more binders, dispersants, plasticizers, and/or anti-abrasion components. In some embodiments, the fuel cell system component ink may optionally comprise an additive selected from, dispersants, thickening agents, deflocculants, anti-settling agents, anti-foaming agents, anti-microbial agents, emollients, surfactants, lubricants, or any combination thereof. The component powder may comprise an electrically conductive material, an ionically conductive material, a corrosion barrier material, a seal material, a strengthening material, and/or a dielectric material (e.g., dielectric barrier material). According to various embodiments of the present disclosure, an amount of component powder included in the fuel cell system component ink may vary depending on the particle size of the component powder and an associated surface area. For example, the fuel cell system component ink may include from about 50 wt % to about 90 wt %, such as from about 58 wt % to about 85 wt %, or from about 62 wt % to about 80 wt %, component powder. In various embodiments, the fuel cell system component ink may include from about 5 wt % to about 21 wt %, such as from about 7 wt % to about 19 wt %, or from about 8 wt % to about 18 wt % aqueous carrier. For example, the aqueous carrier may include distilled or deionized water. In various embodiments, the fuel cell system component ink may include from about 0.2 wt % to about 10 wt %, such as from about 0.4 to about 8 wt %, or from about 0.5 to about 6 wt %, water-insoluble binder. The binder may include any suitable water-insoluble binder or binder mixture. For example, suitable binders may include cellulosic binders, such as ethyl cellulose binders, or acrylic resin binders, such as thermoplastic high molecular weight n-butyl methacrylate polymers (e.g., Elvacite 2044), high molecular weight iso-butyl methacrylate polymers (e.g., Elvacite 2045), methyl methacrylate copolymers (e.g., Elvacite 2669), or any combinations thereof. The fuel cell system component ink may include from about 0.2 wt % to about 12 wt %, such as from about 0.3 wt % to about 10 wt %, including from about 0.5 wt % to about 8 wt %, plasticizer. The plasticizer may include any suitable plasticizer or plasticizer mixture. For example, usable plasticizers include phthalates, such as benzyl butyl phthalate (BBP) or dibutyl phthalate (DBP), diols such as polyethylene glycol (PEG), or the like, or any combinations thereof. In some embodiments, the plasticizer may have a MW ranging from about 100 to about 5,000 g/mol, such as from about 200 to about 4,000 g/mol. In preferred embodiments, the plasticizer may be PEG-400, which may have a molar mass of 380-420 g/mol. In some embodiments, the fuel cell system component ink may include from about 0.2 wt % to about 10 wt %, such as from about 0.4 to about 8 wt %, or from about 0.5 to about 6 wt %, dispersant. The dispersant may include any suitable water-insoluble dispersant or dispersant mixture. For example, suitable dispersants include polymeric alkoxylate dispersants, ionic polymeric dispersants, or the like. For example, particular dispersants include polymeric and monomeric dispersants, which may be cationic or anionic and may be used alone or in combination. For example, suitable dispersants include Hypermer KD2, KD4, KD15, and KD21 dispersants available from Croda Advanced Materials, and Solsperse 24000 and 26000 dispersants available from Lubrizol Corp, for example. In some embodiments, the fuel cell system component ink may include from about 0.2 wt % to about 10 wt %, such as from about 0.4 to about 8 wt %, or from about 0.5 to about 6 wt %, co-solvent. The co-solvent may include any suitable water soluble co-solvent or co-solvent mixture suitable for solubilizing the binder. For example, suitable co-solvents may include terpineol, toluene, ester alcohol (such as Texanol ester alcohol available from the Eastman Co.), or the like. In various embodiments, the fuel cell system component ink may include from about 62 wt % to about 80 wt % component powder, from about 8 wt % to about 18 wt % water, from about 0.5 wt % to about 8 wt % plasticizer, from about 0.5 wt % to about 6 wt % binder, from about 0.5 wt % to about 6 wt % co-solvent, and from about 0.5 wt % to about 6 wt % dispersant. According to various embodiments of the present disclosure, the fuel cell system component ink may be formulated as a cathode ink configured to form a fuel cell cathode. In particular, the component powder of the cathode ink may be a cathode powder that may include an electrically conducive ceramic material, an ionically conductive ceramic material, or a combination thereof. For example, suitable electronically conductive ceramic materials include LSM, LSCM, LSCF, LSC, LSF, LSCN, or the like, and suitable ionically conductive ceramic materials include YSZ, SSZ, SDC, GDC, or the like. The cathode powder may be dispersed in a carrier as described above. For example, the cathode ink may include water and a plasticizer, binder, co-solvent, and dispersant, as described above, in amounts as described above. According to various embodiments of the present disclosure, the fuel cell system component ink may be formulated as an anode ink configured to form a fuel cell anode. In particular, the component powder of the anode ink may be an anode powder that may include an electrically conductive metal oxide, and ionically conductive ceramic material, or a combination thereof. For example, the anode powder may comprise NiO/SDC, NiO/GDC, NiO/SSZ, or the like. The anode powder may be dispersed in a carrier as described above. For example, the anode ink may include water and a plasticizer, binder, co-solvent, and dispersant, as described above, in amounts as described above. According to various embodiments of the present disclosure, the fuel cell system component ink may be configured as a seal ink configured to form fuel cell seals. In particular, the component powder of the seal ink may be a seal powder including a glass material, a glass-ceramic material, or a combination thereof. For example, suitable seal powders include silicate-based glass materials, zircon-based materials, mica-based materials, or the like. The seal powder may be dispersed in a carrier as described above. For example, the seal ink may include water and a plasticizer, binder, co-solvent, and dispersant, as described above, in amounts as described above. According to various embodiments of the present disclosure, the fuel cell system component ink may be formulated as an auxiliary layer ink configured to form auxiliary fuel cell layers, such as corrosion barrier layers, strengthening layers, dielectric layers, etc. In particular, the component powder of the auxiliary layer ink may be an auxiliary layer powder that may include inert ceramic materials, such as alumina, zirconia, zircon, feldspar, silicate glass, or the like. For example, the component powder may be stabilized zirconia and/or alumina to form the strengthening layers 40 on the electrolyte 5 of the fuel cells 1. Alternatively, the component powder may be glass or glass-ceramic precursor powder described above to form the corrosion barrier layers 50 over the metal oxide coating 11 on the air side of the interconnects 10. The auxiliary layer powder may be dispersed in a carrier as described above. For example, the auxiliary layer ink may include water and a plasticizer, binder, co-solvent, and dispersant, as described above, in amounts as described above. Fuel Cell System Component Manufacturing Various embodiments of the present disclosure provide methods of manufacturing fuel cell system components by depositing fuel cell system component inks on a substrate. The fuel cell system component inks may be deposited on a substrate using any suitable method, such as by screen printing, inkjet printing, dip coating, spraying, or the like. For example, fuel cell system component inks may be used to form fuel cell cathodes, anodes, seals, barrier layers, strengthening layers, dielectric layers, corrosion barrier layers, or the like, and may be referred to herein according to the component formed therefrom. The deposited fuel cell system component ink may be dried in a low-temperature process to make the make the deposited layer more stable and/or abrasion resistant. For example, the deposited ink may be dried at a temperature of from about 80° C. to about 300° C., such as about 120° C. to about 280° C. The dried ink layer may then be sintered in a reducing or oxidizing atmosphere, in order to densify the layer. For example, the fuel cell 1 of After deposition, the cathode and anode inks may be dried in a low temperature process to solidify the inks and form the anode 7 on the first side of the substrate and to form the cathode 3 on the second side of the electrolyte 5. In particular, the drying may the make the deposited ink layers more stable and/or abrasion resistant. For example, the cathode and anode inks may be dried at a temperature of from about 80° C. to about 300° C., such as about 120° C. to about 280° C., to solidify the cathode 3 and the anode 7. In some embodiments, one of the cathode or anode ink may be deposited and dried, and then the other of the cathode or anode ink may be deposited and dried. In other embodiments, the anode and cathodes may both be deposited and then dried in a single step. In some embodiments, the cathode 3 and anode 7 may then be separately sintered in a controlled environment, such as in a reducing environment. However, in other embodiments, the cathode 3 and anode 7 may be simultaneously sintered in a single step. Referring to The seals 20, 24, 26 may then be sintered at a temperature above the glass transition temperature of the seal material. For example, fuel cells 1 and interconnects 10 may be assembled together into a fuel cell stack 100, before or after sintering the cathodes and anodes. The stack 100 may be heated to sinter at least the seals 20, 24, 26, if the anodes and cathodes were previously sintered, or to collectively sinter the seals 20, 24, 26, the cathodes 3, and the anodes 7, in a single step. For example, the sintering may include subjecting the stack 100 to a reducing environment and temperatures ranging from about 700° C. to about 1100° C. In some embodiments, the method includes stacking one or more of the fuel cells between the interconnects to form a fuel cell stack, after the drying of the cathodes, anodes, and seals. The stack may then be heated to sinter the cathodes, anodes, and the seals in a single step. In other embodiments, the cathodes and/or anodes may be sintered before the assembly of the stack, and the heating may include sintering of the seals. Although the foregoing refers to particular preferred embodiments, it will be understood that the invention is not so limited. It will occur to those of ordinary skill in the art that various modifications may be made to the disclosed embodiments and that such modifications are intended to be within the scope of the invention. All of the publications, patent applications and patents cited herein are incorporated herein by reference in their entirety.BACKGROUND
SUMMARY
BRIEF DESCRIPTION OF THE DRAWINGS
DETAILED DESCRIPTION