The present disclosure provides for a kit-less pick and place handler which conducts thermal testing of at least one device. An exemplary handler includes a thermal soak plate, a first prime mover, a second prime mover, a test site actuator, and a test contactor. The thermal soak plate can receive devices and maintain an accurate position of the devices using a friction between the thermal soak plate and the device. The test contactor can electrically contact the device. The first prime mover can place the device on the thermal soak plate. The second prime mover can carry the device to the test contactor, hold the device during thermal testing, and move the device from the test contactor. The test site actuator can exert force on the second prime mover during thermal testing.
1. A test handler system for conducting thermal testing of a device, comprising:
a thermal soak plate positioned to receive the device and maintain an accurate position of the device; a thermal de-soak positioned to receive the device and maintain an accurate position of the device; a test site; a first prime mover for removing the device from a tray to place the device directly in contact with the thermal soak plate and for removing the device from the thermal de-soak plate to place the device back in the tray; and a second prime mover for removing the device from the thermal soak plate, moving the device to the test site, and moving the device from the test site to be directly in contact with the thermal de-soak plate. 2. The test handler system of 3. The test handler of 4. The test handler of 5. The test handler of 6. The test handler of 7. The test handler of 8. The test handler system of 9. The test handler system of 10. The test handler system of 11. The test handler system of 12. The test handler system of 13. The test handler system of 14. The test handler system of 15. The test handler system of 16. The test handler system of wherein the test handler system is configured to separate the device according to its corresponding bin category and transport the tray into a corresponding one of the plurality of tray separators. 17. The test handler system of 18. The test handler system of
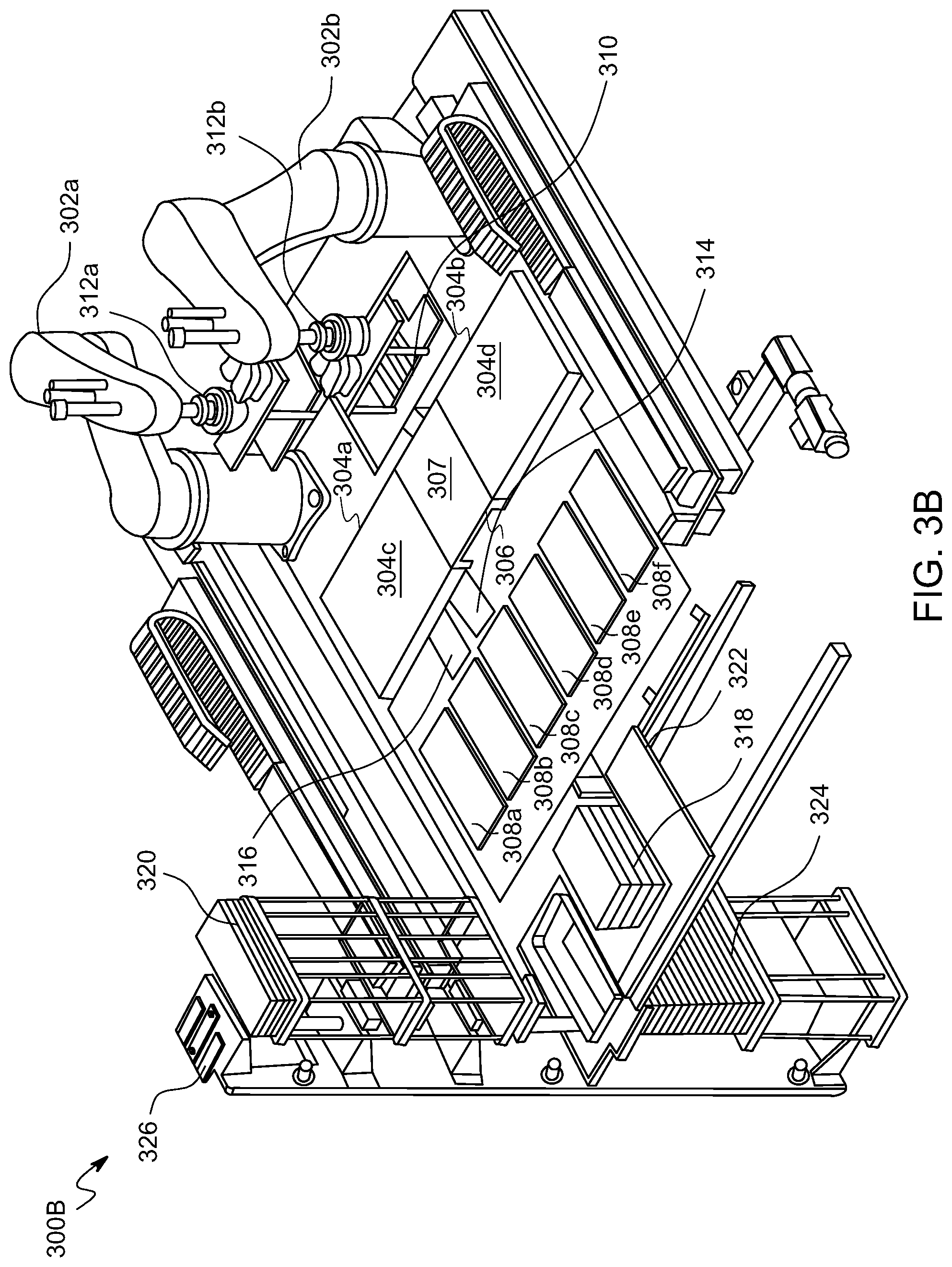
This application is a U.S. National Stage Entry of International Application No. PCT/US2018/066582, filed Dec. 19, 2018, entitled “KIT-LESS PICK AND PLACE HANDLER,” which claims priority under 35 U.S.C. § 119 to U.S. Provisional Application No. 62/607,748, entitled “TURRET BASED PICK AND PLACE HANDLER,” and filed on Dec. 19, 2017. The contents of each of which are hereby incorporated by reference in their entirety. The present disclosure relates to a kit-less pick and place handler. Integrated Circuits (ICs) require quality and performance verification prior to shipment from the manufacturer. ICs are required to perform in extreme temperature environments and must be tested under those conditions in order to verify proper functionality. A test handler's purpose is to present thermally conditioned ICs at the proper test temperature to a contactor, which is capable of electrically connecting the IC to a tester. The IC handler receives binning information from the tester and uses this information to properly sort the ICs into the proper binning/category after test. The IC test handler is required to move ICs to and from transportation media (i.e. joint electron device engineering council (JEDEC) trays). JEDEC trays have common external dimensions and contain pockets for ICs for which the quantity, matrix and X, Y spacing (pitch) vary according to the IC size. Prior to testing, the ICs must be placed correctly so that the electrical contact points of each IC touch the contacting surface. Typically, this requires individual alignment of the IC with respect to the X, Y, and theta position of the contactor's electrical contact points. This operation of picking up the IC from the tray and placing it down is referred to as PnP, or Pick and Place. To facilitate PnP operations, conventional IC test handlers typically rely on trays and soak plates with pockets, slots, or other pre-defined positions for the ICs. However, the use of such trays and thermal soak plates is not only costly (as custom thermal soak plates and mechanical alignment plates are required for each type of IC), but also still requires many mechanical alignment operations to be performed. At the same time, throughput (units processed per hour (UPH)) requirements for conventional IC test handlers are constantly increasing. However, attempts to increase the UPH are generally limited by the time required to thermally condition ICs to the proper temperature, the time required to place each IC individually for a corrected X, Y, theta position, and the time required after each PnP operation to correct any accuracy issues. The various examples of the present disclosure are directed towards a test handler system for conducting thermal testing of at least one device. The test handler system can include a kit-less device handling system, a first prime mover, a second prime mover, a test contactor, and a test site actuator. The kit-less device handling system can include a thermal soak plate configured to receive the device and to maintain an accurate position of the device. The test contactor can electrically contact the device. The first prime mover can place the device on the thermal soak plate. The second prime mover can carry the device to the test contactor, hold the device during thermal testing, and move the device from the test contactor. The test site actuator can exert force on the second prime mover during thermal testing. In some examples, the device can be an integrated circuit. In some examples, test handler system can conduct thermal testing for a plurality of devices. In some examples, there can be more than one second prime mover. In some examples, the first prime mover can include a gantry and an XYZ head. The XYZ head can include one or more pick and place heads. Each of the pick and place heads can include a vacuum tip under a constant or variable (intermittent) vacuum for picking up the device. Each of the pick and place heads can also include a removing element for separating the vacuum tip from the device to place the device. The removing element can be a stripper assay or an ejector. In some examples, each of the one or more pick and place heads can be connected to the same vacuum source. In other examples, each of the one or more pick and place heads can be connected to different vacuum sources. In some examples, the XYZ head can rotate the device before and/or after testing in a unitary pick and place motion. The XYZ head can also make a theta correction to the device before and after testing. In some examples, the theta correction can occur during the pick and place movement. In some examples, the gantry and the test handler head can transfer the device between a thermal soak plate and a JEDEC tray. In some examples, a tray frame can hold the JEDEC tray and bias the JEDEC tray to an unwarped configuration. In some examples, the thermal soak plate can include a surface for maintaining a position of the device without mechanical structures. For example, the thermal soak plate can include a tacky surface for maintaining a position of the device based on a friction between the device and the thermal soak plate. In some examples, the test handler system can visually verify the location of the device through the use of a camera. The camera can be used prior to placement of the device on the soak plate. In some examples, the test handler system can further include a plurality of tray separators, where each tray separator is associated with a bin. The test handler system can separate each device into a bin and transport the binned device into a corresponding tray separator. In some examples, the plurality of tray separators can separate a plurality of trays. Separating the plurality of trays can occur based on whether each tray holds tested devices, untested devices, or no devices. In some examples, the present disclosure can provide for a heat transfer system for the thermal soak plate. The heat transfer system can use pressurized helium as a heat transfer medium to heat and cool the devices. In some examples, the heat transfer system can use pressurized gas or liquid as a heat transfer medium to heat and cool the devices. In some examples, the test handler system can learn a location of pick and place points in the test handler system based on at least one of fiducials or image recognition. Pick and place points can include locations where the first and second prime movers pick up and place the device (or the plurality of devices). The above summary is not intended to represent each embodiment or every aspect of the present disclosure. Rather, the foregoing summary merely provides an example of some of the novel aspects and features set forth herein. The above features and advantages, and other features and advantages of the present disclosure, will be readily apparent from the following detailed description of representative embodiments and modes for carrying out the present invention, when taken in connection with the accompanying drawings and the appended claims. The accompanying drawings exemplify the embodiments of the present invention and, together with the description, serve to explain and illustrate principles of the invention. The drawings are intended to illustrate major features of the exemplary embodiments in a diagrammatic manner. The drawings are not intended to depict every feature of actual embodiments nor relative dimensions of the depicted elements, and are not drawn to scale. The present invention is described with reference to the attached figures, where like reference numerals are used throughout the figures to designate similar or equivalent elements. The figures are not drawn to scale, and are provided merely to illustrate the instant invention. Several aspects of the invention are described below with reference to example applications for illustration. It should be understood that numerous specific details, relationships, and methods are set forth to provide a full understanding of the invention. One having ordinary skill in the relevant art, however, will readily recognize that the invention can be practiced without one or more of the specific details, or with other methods. In other instances, well-known structures or operations are not shown in detail to avoid obscuring the invention. The present invention is not limited by the illustrated ordering of acts or events, as some acts may occur in different orders and/or concurrently with other acts or events. Furthermore, not all illustrated acts or events are required to implement a methodology in accordance with the present invention. The present disclosure provides for a kit-less pick and place handler which can conduct thermal testing of a plurality of devices. An exemplary handler can include a thermal soak plate, a first prime mover, a second prime mover, a test site actuator, and a test site. The thermal soak plate can receive devices and maintain an accurate position of the devices due to a friction between the thermal soak plate and the devices. Therefore, no mechanical separation is needed between the devices, allowing devices of different sizes to be tested on the same thermal soak plate or even at the same time. The first prime mover can place the devices on the thermal soak plate. The second prime mover can move the devices to and from the thermal test site, where the devices can be thermally tested. Therefore, the present disclosure provides a kit-less pick and place handler which maintains a position and orientation of the devices during testing with a higher accuracy and while requiring fewer device corrections than conventional designs. Such a design minimizes movement of the devices during thermal testing so that devices are handled by the system in only three instances, while conventional handlers require far more frequent touching and moving of the devices. Additional features and embodiments of an exemplary kit-less pick and place handler are discussed herein. System 100B provides for all of the device movements 151, 152, 153, 154, 155, 156, and 157 by a series of mechanism movements 161, 162, 163, 164, 165, and 166. For example, system 100B loads the trays at movement 161; operates the right side X/Y mover track and the soak plate test site shuttles at movement 162; operates the test site upper shuttle at 163; operates the test site lower shuttle at 164; operates the left side X/Y mover track and the soak plate test site shuttles at movement 165; and unloads the trays at movement 166. Therefore, Each movement and touch can change a position or orientation of the device, and in some cases, dislodge the devices altogether (discussed further with respect to In general, devices are placed in the JEDEC tray 220 with a known pin one location. The devices are then transferred to the thermal soak plate 230 by the test handler head 210. In some cases, the pitch between the thermal soak plate 230 and the JEDEC 220 tray can vary. As a result, X/Y movements (for example by the x-pitch motor 250 or the y-pitch motor 248) are required to position the devices correctly in the thermal soak plate 230. Moreover, the devices' pin one location may need to be rotated between the tray 220 and the test site position to match the contactor's electrical interconnect orientation. This was accomplished by the z-motor 244. Finally, conventional thermal soak plates 230, similar to the JEDEC trays 220, typically hold the devices “loose,” or unsecured on a flat plate or in a pocket. As a result, even if accurately placed in the thermal soak plate 230, a downstream alignment for testing is almost always required, even with the thermal soak plates 230 providing a gross alignment. The test handler head 210 can have a pitch change capability. A conventional model might have eight PnP tips split into two rows as shown in the figure, where each PnP tip has a separate Z-actuator 252 and vacuum 240. Each vacuum 240 can include a vacuum generator for device adhesion, a vacuum switch for device adhesion confirmation, and a vacuum ejector for device blow off. Additionally, a theta actuator might be required for each PnP tip for device rotation. These additional parts in the PnP head increase complexity, weight, cost, conversion time, and placement errors. Although not all conventional pick and place systems, handler heads, and soak plates are exactly as provided in System 300A in A kit-less pick and place handler, according to In a further description of movement 404, the second prime mover 302 Therefore, the present disclosure provides a handler which can efficiently move devices through thermal testing with only three ‘touches’ or stops. This presents a substantial advantage over conventional handlers which have much more complicated movements and more frequent touching of the devices (for example, conventional handlers such as handler 100 Additionally, the present disclosure can provide the use of cameras (e.g. test site camera 310, prime mover cameras 312 In an exemplary vision alignment strategy, the handler camera 314 and the gantry camera 390 can be located with respect to each other by imaging both cameras 314 and 390 with a first reticle 316. This can create a base reference coordinate system. The gantry camera 390 can then locate the soak plates 304 Therefore, an exemplary vision alignment process in a system such as systems 300A, 300B, 300C, and 300D can correct X, Y, and Theta positions of the devices directly before entering the test site 380. Conventional systems have loose devices during all movements before entering the test site and then require extremely quick corrections due to timing requirements of the test site and the handler system as a whole. The efficiency of the handlers of the present disclosure allow corrections to occur without a timing requirement. This vision alignment process reduces alignment needs by performing a good initial alignment using the kit-less soak plates 304 Moreover, since the system is two-sided with two soak plates 304 The exemplary test handler illustrated in As would be readily understood by someone skilled in the art, various modifications are contemplated by the present disclosure. For example, although six trays 308 In this example, roll cam 504 can operate to change the pitch of heads 506 in the x-axis of a handler (for example handler 300A, 300B, 300C, or 300D of In some examples of the present disclosure, the XYZ head 500 can have the theta position changed with a rotary mechanism 507. In another example, the theta rotation can occur via a linear actuator or motor which simultaneously changes the theta position of all devices picked up by heads 506 on the XYZ head 500. In some examples of the present disclosure, XYZ head 500 can include an X/Y pitch change with a complex mechanism on the XYZ head 500 so that a theta correction would be done at a later time, perhaps even just prior to test. Another alternate method can include operating all pick and place heads 506 by a prime mover (e.g. prime mover 302 In some examples, XYZ head 500 can be a turret. Systems 600A and 600B can reduce the time needed to sense a device and decrease the bulk of hardware and tubing/wires that needs to be moved by a X/Y Gantry (e.g. gantry 330 of In one example, a vacuum is always on and the devices 612 are stripped off the PNP tip 604 while the vacuum is on. Each PNP tip's 604 z-position of the stripper assay 610 is learned as a “DOWNfinal” value, as shown in position 620. The “DOWNfinal” value is the learned move that the tip must move to pick and place the device 612. During operation, the low mass stripper assay 610 contacts the device 612 first to gauge a relative z-position of the device 612. A z-move can then be completed using the learned “DOWNfinal” values. In some examples of Kit-Less Device Handling Methodology An important feature of the various embodiments of the present disclosure is the use of kit-less handling. As noted above, conventional test handling systems utilize thermal soak plates (e.g. plate 230 of The various embodiments of the present disclosure provide for kit-less components, as shown by an exemplary soak and de-soak plate 700 in Soak plates 702 Soak plates 702 The kit-less tacky soak plates 702 Thermal soak plates 702 However, other means of holding devices in place are contemplated for the various embodiments. For example, in other embodiments, a soak plate can be porous or have a large number of holes in a vacuum plate. The vacuum can then be used to hold the devices in place. An exemplary embodiment of this method could be a perforated metal where a vacuum is drawn to hold the device in place. Another exemplary embodiment could be a powered metal that is porous and allows a vacuum to be drawn to hold the device in place. In another exemplary embodiment, a pocket that holds different sized devices based on the funnel or steps that are machined in the pocket. This machined pocket would be able to precisely locate the device. The soak and de-soak plate 700 allows maintaining accurate positions of the devices without any errors caused by clearances or device movement. In certain embodiments, this can be accomplished by using thermal soak plates 700 that have a surface material with sufficient tackiness. The tackiness can temporarily fix the devices placed by a PnP head, and prevent further device movement before reaching the test site. That is, pockets are neither required nor desired. As noted above, machined “change kit” specific components, like the machined pocketed thermal soak plate, add to the cost and lead time for new device kits on a system. In contrast, the proposed tacky surface of the soak and de-soak plate 700 is kit-less and universal. Therefore, any matrix placed by a PnP head to match a test site pattern can be provided for and, more importantly, the positions of the devices in that matrix can be maintained throughout the testing process. The versatility of the kit-less platen eliminates changeover that was customarily necessary to handle new or differently-sized devices. Additionally, by ensuring the device is precisely located during thermal soak, this limits the number of device handoffs in the test handler, and improves device placement accuracy at the test site. Use of Tray Frames by Tray Module A tray module (e.g. module 326 of In some embodiments, tray frames 800A can be used with JEDEC trays (e.g. trays 308 Moreover, the tray frame 800A simplifies the positioning of the tray without requiring air driven or mechanical position assistance. The tray frame 800A also eliminates the need for sensors to detect the presence or absence of the tray. The tray frame 800A can be used to allow identically configured load and unload positions in the handler. The tray frame 800A will also add mass to the tray to improve stability during the trays movement to allow for handling lighter devices. In some embodiments, tray separators can be used. The tray separator 800B can be independently sensed in a tray module (for example, tray module 326 of Tray separators can therefore help automate the loading and unloading of trays into a handler system (e.g. system 300A, 300B, 300C, or 300D of In an alternate embodiment, a system might hold a stack of trays, and build or decrement the stack one tray at a time. Once a tray is filled, an empty tray could be placed on top of it. Alternatively, once a tray is emptied, it could be removed, exposing a new device tray to be emptied. This type of system, however, would not allow for the dynamic reassignment of input positions and bin categories. Another embodiment of the system might use manual tray positions that are loaded with a single tray, and need to be serviced more frequently. Other systems might use a combination of stacked trays and manual tray positions. These systems often use mechanical positioning actuators to register the top most trays to a reference position, and use sensors to sense the presence or absence of a tray. Any device misplacements tend to sway the stack of trays, and canter them as the stack is built. Furthermore, these systems hold significantly smaller stacks of trays at the input, and require servicing by an operator at an increased frequency. Thermal ATC It is also contemplated that, in some embodiments, an improved heating cooling system can be provided. A fluid can be used to heat and cool the device during soak and test. Conventional systems have used a nonconductive circulating fluid to add or remove heat from the device. These fluids have had specific thermal restrictions based on the freezing and boiling point of the fluid. No single fluid could be used to accomplish active thermal control at both the cold and hot end of the spectrum. The same fluid must operate at −80° C. or colder and up to 200° C. in some embodiments. In the various embodiments of the present disclosure, a pressurized gas or fluid can circulate in the handler 902 to both heat and cool devices. For such pressurized gases or fluids, the pressure can be selected so as to adjust their freezing and boiling points and therefore provide the range of temperature required for testing. Any single non-conductive or conductive fluid or gas could be used across the full temperature range of −80° C. or colder to 200° C. without incurring viscosity or boiling problems. However, a non-conductive fluid or gas has the advantage that it is less likely to damage devices in the event of a leak. Fluids which can be significantly colder during a cold test allow for a larger temperature difference from the actual test temperature. If the fluid or gas is colder than the desired test temperature, a pulsed heater can be used to warm the head to the exact test temperature. This allows for the device to dissipate more power during testing. Other embodiments of the invention can use a Peltier Device or an inert fluid to heat or cool the device, while pulsing a heater to warm the head to the correct temperature. These systems have a restricted thermal performance. Additionally, some systems might use air as the heating and cooling method; these systems can be operated either with or without a heat sink attached to the device. In certain embodiments of the present disclosure, the handler could use helium as its heat transfer medium. Helium does not have a high viscosity at cold temperatures nor does it boil at hot temperatures. This means that helium can work at and beyond the required temperatures for testing, unlike methoxy-nonafluorobutane (C4F9OCH2) and other fluids commonly used for heating devices in conventional testing systems. The helium could be pressurized in an enclosed thermal loop 912 within the handler 902 around the test site 904 and the soak plate 906. The helium can then be circulated and recirculated through the internal heat exchanger 908. The internal heat exchanger 908 can be connected to the external heat exchanger 910 which controls the temperature of the internal thermal loop 912. The external heat exchanger can be any of a refrigerated chiller, an LN2 chiller, a finned fan, a peltier device, or a thermal forcer. Alternative Implementations Integrated circuits (ICs) are sometimes tested for long periods of time in a lab or small lot production environment before, during, and after the time that they go into full volume production. Conventional testing had to occur by hand, through manually inserting one or more devices into a contactor, and using a thermal stream or similar device to bring the devices to temperature prior to and during the test of the device. A person had to manually make the product transfers. This can be very inefficient as tests can be lengthy, and tests cannot occur if a person is handling other tasks. Furthermore, devices are subject to damage due to the mechanical handling that is involved. Other conventional methods required a large automated test handler; this is a poor use of the system and highly inefficient because a large handler is designed for larger jobs. Additionally, labs often do not have access to full production test systems. Therefore, Systems 1000A of Systems 1000A of Therefore, a system, as provided for by In some examples of Thermal testing can be accomplished in several other ways, including (1) a thermal head, (2) a conventional head with a heater, or (3) a liquid cooling or heating head. The thermal head can allow for both vacuum and air impingement via a fan or pressurized air from the temperature forcer to pick up and control the temperature of the device. The liquid cooling or heating head as described in Like the implementation of As noted above, the implementation of Improved Method of Vision Alignment As noted above, the handler operates using a vision alignment strategy. Vision alignment, according to the various embodiments, requires a camera and proper lighting to capture the proper features on the devices and their locations relative to a known reference point. Balls, pads, leads, mechanical features, or fiducials on the device are usually used for this purpose. The positional error is calculated relative to an X, Y and theta reference position. These error values are added to or subtracted from the nominal or theoretical position when placing. However, the PnP heads only have an X axis and Y axis. To accomplish the theta error correction, the PnP tip could utilize a theta rotator actuator at the Z actuator position, or the Z rotation could be supplied by the pick head itself. An alternate method is to use the theta error, and add or subtract it from the turret rotation for that device's placement. An additional error must be added to the X axis and Y axis position to account for the theta error position. No additional mechanisms or sensors are required for this functionality. This vision alignment would provide a method for aligning devices and/or inspecting them prior to the soak process and carrying that alignment accuracy through the test site. By aligning/inspecting the device much earlier in the handling process, and using kit-less hardware, multiple pick and place occurrences can be eliminated. Additionally, the vision alignment process is then outside of the critical motion path to the test site, and can avoid stringent timing requirements as in conventional systems. By aligning/inspecting the device prior to thermal conditioning, the cameras are not subject to a hot/cold environment, and do not have to be used through a window. A single upward looking camera can be used for imaging the device before and after test. The device can then be realigned or re-inspected after test, if necessary, prior to placement back in the tray. A smaller number of cameras is required to accomplish the task of doing vision alignment and inspection. By aligning or inspecting the device prior to test and controlling the location of the device all the way through test, no mechanical contactor alignment fixtures are required and the number of mechanical axis of motion is significantly reduced. As an example, if there are 2 x- and y-motion axis per contact site and there are 32 contact sites, 64 axis of motion would be required for testing 32 devices in parallel. If the x-motion axis and y-motion axis cannot generate a theta rotation, then an additional 32 axes would be required for a total of 96 axis of motion in order to test 32 devices in parallel. In an alternate method, more than one upward and downward cameras can be used to accomplish vision alignment, and can be located just prior to inserting the device into the test site. This location would often require a mechanical alignment fixture at or near the contactor. Example Computer System The system bus 1110 may be any of several types of bus structures including a memory bus or memory controller, a peripheral bus, and a local bus using any of a variety of bus architectures. A basic input/output (BIOS) stored in ROM 1140 or the like, may provide the basic routine that helps to transfer information between elements within the computing device 1100, such as during start-up. The computing device 1100 further includes storage devices 1160 such as a hard disk drive, a magnetic disk drive, an optical disk drive, tape drive or the like. The storage device 1160 can include software modules MOD1 1162, MOD2 1164, MOD3 1166 for controlling the processor 1120. Other hardware or software modules are contemplated. The storage device 1160 is connected to the system bus 1110 by a drive interface. The drives and the associated computer-readable storage media provide nonvolatile storage of computer readable instructions, data structures, program modules and other data for the computing device 1100. In one aspect, a hardware module that performs a particular function includes the software component stored in a non-transitory computer-readable medium in connection with the necessary hardware components, such as the processor 1120, bus 1110, output device 1170, and so forth, to carry out the function. The basic components are known to those of skill in the art and appropriate variations are contemplated depending on the type of device, such as whether the device 1100 is a small, handheld computing device, a desktop computer, or a computer server. Although the exemplary embodiment described herein employs a hard disk as storage device 1160, it should be appreciated by those skilled in the art that other types of computer-readable media which can store data that are accessible by a computer, such as magnetic cassettes, flash memory cards, digital versatile disks, cartridges, random access memories (RAMs) 1150, read only memory (ROM) 1140, a cable or wireless signal containing a bit stream and the like, may also be used in the exemplary operating environment. Non-transitory computer-readable storage media expressly exclude media such as energy, carrier signals, electromagnetic waves, and signals per se. However, non-transitory computer-readable storage media do include computer-readable storage media that store data only for short periods of time and/or only in the presence of power (e.g., register memory, processor cache, and Random Access Memory (RAM) devices). To enable user interaction with the computing device 1100, an input device 1190 represents any number of input mechanisms, such as a microphone for speech, a touch-sensitive screen for gesture or graphical input, keyboard, mouse, motion input, speech and so forth. An output device 1170 can also be one or more of a number of output mechanisms known to those of skill in the art. In some instances, multimodal systems enable a user to provide multiple types of input to communicate with the computing device 1100. The communications interface 1180 generally governs and manages the user input and system output. There is no restriction on operating on any particular hardware arrangement and therefore the basic features here may easily be substituted for improved hardware or firmware arrangements as they are developed. For clarity of explanation, the illustrative system embodiment is presented as including individual functional blocks including functional blocks labeled as a “processor” or processor 1120. The functions these blocks represent may be provided through the use of either shared or dedicated hardware, including, but not limited to, hardware capable of executing software and hardware, such as a processor 1120, that is purpose-built to operate as an equivalent to software executing on a general purpose processor. For example, the functions of one or more processors presented in The logical operations of the various embodiments are implemented as: (1) a sequence of computer implemented steps, operations, or procedures running on a programmable circuit within a general use computer, (2) a sequence of computer implemented steps, operations, or procedures running on a specific-use programmable circuit; and/or (3) interconnected machine modules or program engines within the programmable circuits. The system 1100 shown in While various examples of the present invention have been described above, it should be understood that they have been presented by way of example only, and not limitation. Numerous changes to the disclosed examples can be made in accordance with the disclosure herein without departing from the spirit or scope of the invention. Thus, the breadth and scope of the present invention should not be limited by any of the above described examples. Rather, the scope of the invention should be defined in accordance with the following claims and their equivalents. Although the invention has been illustrated and described with respect to one or more implementations, equivalent alterations and modifications will occur to others skilled in the art upon the reading and understanding of this specification and the annexed drawings. In addition, while a particular feature of the invention may have been disclosed with respect to only one of several implementations, such feature may be combined with one or more other features of the other implementations as may be desired and advantageous for any given or particular application. The terminology used herein is for the purpose of describing particular examples only and is not intended to be limiting of the invention. As used herein, the singular forms “a,” “an,” and “the” are intended to include the plural forms as well, unless the context clearly indicates otherwise. Furthermore, to the extent that the terms “including,” “includes,” “having,” “has,” “with,” or variants thereof, are used in either the detailed description and/or the claims, such terms are intended to be inclusive in a manner similar to the term “comprising.” Unless otherwise defined, all terms (including technical and scientific terms) used herein have the same meaning as commonly understood by one of ordinary skill in the art to which this invention belongs. Furthermore, terms, such as those defined in commonly used dictionaries, should be interpreted as having a meaning that is consistent with their meaning in the context of the relevant art, and will not be interpreted in an idealized or overly formal sense unless expressly so defined herein.CROSS REFERENCE TO RELATED APPLICATIONS
FIELD
BACKGROUND
SUMMARY
BRIEF DESCRIPTION OF THE DRAWINGS
DETAILED DESCRIPTION