A locker bank and kiosk system that provide storage for multi-featured portable locker boxes, wherein each portable locker box includes a global position system receiver for location monitoring as well as other features. Using an app that is running on a mobile device or the kiosk, the user can identify an available or vacant locker, reserve the locker, open the locker and retrieve the portable locker box and store other items within the locker in the locker bank.
1. A system to provide securement of valuables in public locations, the system comprising:
a locker bank of one or more lockers, the locker bank comprising:
a communications/controller subsystem; and a solar based battery charging system; and each locker of the one or more lockers comprising:
a display; a locker communications/control subsystem that is communicatively coupled to the locker bank communications/control system; a door; a lock; and an access handle; a kiosk comprising:
a display screen; an input device; a kiosk communications/control subsystem that is communicatively coupled to the locker bank communications control system, the kiosk being configured to:
provide a user interface for a user to register with the system; identify a PIN code for the user; enable the user to select a particular locker from the locker bank; and program the locker bank communications/control system to recognize the PIN code to gain access to the particular locker, wherein one or more of the one or more lockers includes a portable locker box within an interior of the locker, each portable locker box comprising: a container defining at least one interior compartment and an access panel that can transition between a closed state thereby preventing access to the interior compartment and an open state thereby granting access to the interior compartment; a controller mounted within the interior of the container and comprising a processing unit, memory and an interface component communicatively coupled to each other; a global positioning system (“GPS”) receiver mounted within the interior of the container and communicatively coupled to the controller, wherein the GPS receiver can provide a current location of the apparatus to the controller; a display mounted on the exterior of the container and communicatively coupled to the controller; a user interface mounted on the exterior of the container and communicatively coupled to the controller, the user interface configured to receive a PIN and control input from a user; a lock motor, communicatively coupled to the controller and configured to actuate a locking mechanism to a first state to secure the access panel in a closed position and to a second state to allow the access panel to be opened; a charging port for charging a mobile device; and a communication module associated with the container and communicatively coupled to the controller, the communication module including a wireless transceiver for communicating the current status of a locking mechanism and the current location to external devices. 2. The system of 3. The system of 4. The system of 5. A system to provide securement of valuables in public locations, the system comprising:
a locker bank of one or more lockers, the locker bank comprising:
a communications/controller sub system; and a solar based battery charging system; and each locker of the one or more lockers comprising:
a display; a locker communications/control subsystem that is communicatively coupled to the locker bank communications/control system; a door; a lock; and an access handle; a kiosk comprising:
a display screen; an input device; a kiosk communications/control subsystem that is communicatively coupled to the locker bank communications control system, the kiosk being configured to:
provide a user interface for a user to register with the system; identify a PIN code for the user; enable the user to select a particular locker from the locker bank; and program the locker bank communications/control system to recognize the PIN code to gain access to the particular locker, further comprising an insignia on an external surface of the locker door, wherein the insignia can be scanned by a mobile device to facilitate opening the locker door. 6. The system of 7. The system of 8. The system of
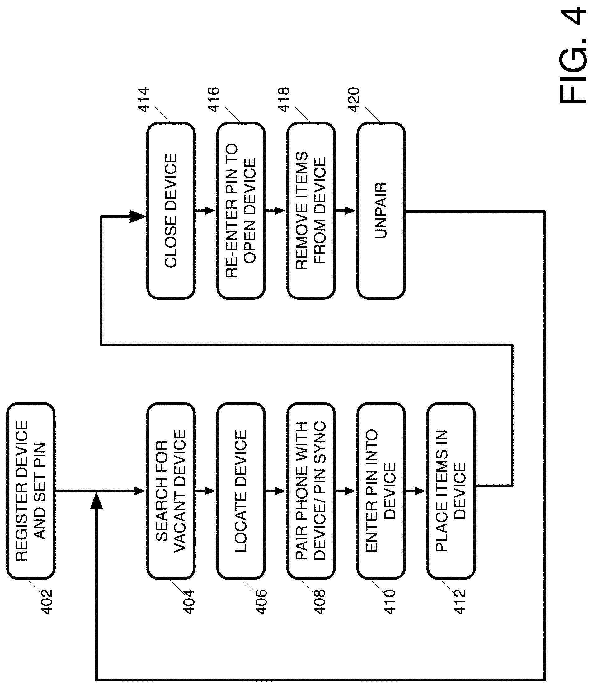
Just imagine that you have returned to your lounge chair and shade umbrella after meandering down the beach with your kids collecting sea shells. You notice your spouse is not yet back from the bar with the drinks so you sit down to check your texts for a moment. You reach into the bag, but no phone. You dig deeper and then reach for your pocket and realize that your phone and your wallet are missing. You think that surely your spouse has them, so you sit back and wait. As your spouse finally approaches with arms full of beverages and a look of angst on her face, you are greeted with “why the heck did not you answer your phone, I needed help carrying all this and I called you several times”. At this point your little trip to the beach begins to unravel in front of you as you slowly realize that your spouse did not have your phone or your wallet, and now you are frantically searching for what else may be missing and asking others around you if they saw anyone steal your belongings. Similar scenes like this happen all over the world—on beaches, in parks, at sporting events, concerts, theme parks, etc. Many such locations have publicly available or pay-per use locker box banks that a person can use or rent to keep their items safe. However, generally these locker box banks are not conveniently located to where the person will be (i.e. lounging in a chair on the beach) and so, the user has to trudge back and forth between the locker box bank and his or her current location to retrieve items (i.e. to look at his or her phone to check for messages, grab an ID and cash to purchase a drink, etc.). Further, thieves know where the locker box banks are located, and it makes them more of a target. There is a need in the art for a lock box or safe that is portable, self-service and publicly accessible. An embodiment of the present invention is directed towards a locker system that includes a plurality of ports for housing a plurality of multi-featured lock boxes. Each of the multi-featured lock boxes include a global position system receiver for location monitoring as well as other features. Using an app that is running on a mobile device, a user can register and select an access PIN, search for vacant lock boxes, navigate to or locate a vacant lock box and enable use of the lock box by pairing the user's mobile device with the lock box. Once paired and enabled, the app is synchronized with the paired lock box and the user selected PIN is loaded into the lock box to be used for opening (and in some embodiments locking) the lock box. The user can enter the PIN to open the lock box, place items within the lock box, then close and lock the lock box. When the user is done with the lock box, the user can open the lock box by entering the PIN, remove his or her belongings, close the lock box and unpair using the user's mobile device. The lock boxes may be dispersed, such as sitting at their last used location or they may be stored in a locker bank. For locker stored lock boxes, the user can approach a locker bank that houses one more lock boxes or the user can utilize the app to find a locker bank. The user can utilize the app to register with a vacant locker stored lock box or the user can approach a kiosk to register with a vacant lock box. Once registered, the locker door housing the lock box may automatically open or, the user can enter the PIN after approaching the locker bank to open the locker door. Further, the locker bank may identify that the user is proximate to the locker by detecting the user's phone, using facial recognition or the like, and then automatically open the locker door or provide some indicia to identify the locker. The user can then remove the lock box and utilize it as described above, as well as store other items within the locker. Other aspects and features of the lock box and the system using the lock box are described in further detail in the following description and figures. The present invention, as well as features and aspects thereof, is directed towards providing a mobile lock box or safe, and more particularly, a weather tolerant totable lock box that be made publicly accessible to consumers at a variety of locations or venues, such as the beach, concerts, sporting events and parks as a few non-limiting examples. The controller can include a general computing platform 200 illustrated as including a processor/memory device 202/204 that may be integrated with each other or, communicatively connected over a bus or similar interface 206. The processor 202 can be a variety of processor types including microprocessors, micro-controllers, programmable arrays, custom IC's etc., and may also include single or multiple processors with or without accelerators or the like. The memory element of 204 may include a variety of structures, including but not limited to RAM, ROM, magnetic media, optical media, bubble memory, FLASH memory, EPROM, EEPROM, etc. The processor 202, or other components in the controller may also provide components such as a real-time clock, analog to digital convertors, digital to analog convertors, etc. The processor 202 is also illustrated as optionally interfacing to a variety of elements including a control interface 212, a display adapter 208, an audio adapter 210, and network/device interface 214. The control interface 212 can be used to provide an interface to external controls or elements, such as sensors, actuators, GPS receiver, SPDT relays, the PSTN, BLUETOOTH transceivers, WIFI transceivers, a cellular network, pressure actuators, step motors, a keyboard, a mouse, a pin pad, an audio activated device, as well as a variety of the many other available input and output devices or, another computer or processing device or the like. The display adapter 208 can be used to drive a variety of alert elements 216, such as display devices including an LED display, LCD display, one or more LEDs or other display devices. The audio adapter 210 may interface to and drive a speaker, or another alert element 218, such as a speaker or speaker system, buzzer, bell, etc. The audio adapter 210 may also interface to an input element, such as a microphone 226. The optional network/interface 214 may interface to a network 220 which may be any type of network including, but not limited to the Internet, a global network, a wide area network, a local area network, a wired network, a wireless network or any other network type including hybrids. Through the network 220, or even directly, the controller 200 can interface to other devices or computing platforms such as one or more servers 222 and/or third-party systems 224. A battery or power source provides power for the controller 600. The power source may include an internal or external battery, a low voltage input, a 110 v input, a solar panel input, etc. The controller board 300 is also illustrated as interfacing to a power source 340. The power source 340 can be used to power the controller board 300, charge an internal battery 342 or both. The power source 340 can be any of a variety of sources, such as a 110 v AC current, a 110 v conversion to 5 v, etc. The power source 340 may be an external battery, a solar cell or solar panel, as a few non-limiting examples. The controller board 300 is also illustrated as interfacing to a device charger 350. The device charger 350 may include a variety of interfaces, such as a USB port that phone charging cables can be connected to or a wireless phone charger that can be embedded in a top or side panel of the lock box 100 as a few non-limiting examples. The controller board 300 is also illustrated as interfacing to a lock box app 360. The lock box app 360 may be a downloadable app available from the APP STORE or GOOGLE APP STORE, etc. Once the user downloads the lock box app to the user's mobile device and initiates the app for the first time, the lock box app 360 may register the user. The registration process may include entering the user's name, contact information, age verification, credit card or other payment information and other user preferences such as a default PIN, notification selections, access permissions for various elements of the mobile device (i.e., location information, camera function, etc.). It should be appreciated that in some embodiments, a simple remote device may be rented by a user that does not own or have a mobile device. The remote device may come preloaded with the lock box app. The controller board 300 also includes a communication module 370. The communication module 370 is used to send out signals regarding the status and location of the lock box 100 and to receive control and commands from a remote system. This aspect or feature is described in greater detail in the description of The various embodiments of the lock box 100 may include many different features, aspects and functions. The lock box app 360 can obtain the location of the lock boxes by detecting signals that are transmitted by the lock box or, by accessing a master server that maintains and keeps track of the locations of each of the lock boxes. Returning to In some embodiments, when the lock box 100 is vacant, it may be in an unlocked state. However, preferably the lock box 100 is in a locked state until the user pairs with the lock box 100. During the pairing process the PIN information entered during the registration process 402 is synchronized 408 with the lock box 100 (i.e., the lock box app 360 communicates with the controller 300 within the lock box 100 to transmit the PIN which is then stored within memory 304 or protected memory of the lock box 100). Once the synchronization is completed, the user can then enter the PIN into the lock box 100 device to gain access to the interior of the lock box 100. It should be appreciated that selection of the PIN may be done on the fly rather than during registration in some embodiments. For instance, if the user is not utilizing the lock box app 360, in some embodiments, the user can simply enter a PIN in accordance with provided instructions (such as a card or sticker attached to the lock box 100). If the user is utilizing the lock box app 360, the lock box app 360 can prompt the user to enter a PIN either by typing it into the mobile device or through the user interface of the lock box 100. If the user types the PIN into the mobile device, the lock box app 360 will interface with the lock box 100 and program the PIN into the lock box. This can be accomplished using a wireless connection such as BLUETOOTH, cellular data or any other wireless communication technique. In some embodiments, the lock box app 360 may have a previously assigned PIN that the user has selected when registering the app and the lock box app may automatically program the PIN into the lock box after or during pairing the lock box 100 and mobile device. In yet other embodiments, the lock box app 360 may gain access to the PIN that the user utilizes to unlock his or her mobile device and automatically program the lock box with that PIN. Once the PIN is utilized to gain access to the lock box 100 (regardless of the technique for selecting the PIN), the user can place items 412 into the lock box 100. At this point, the user can close 414 the access panel 112 to the lock box 100. Upon detecting that the access panel 112 is closed, the lock box 100 and/or the lock box app 360 can cause the processing unit 302 to activate the door lock motor 334 through the interface component and cause the door lock to transition from an unlocked state to a locked state. It should be appreciated that the access panel 112 and the lock box 100 may include a sensor to detect when the access panel 112 is in the opened or closed state. Those skilled in the art will be aware of such sensors that can be utilized for this purpose. At this point, processing unit 302 can activate the door lock motor 334 through the interface component and cause the door lock to transition from a locked state to an unlocked state. The door lock motor 334 drives a locking mechanism that is used to prevent the access panel from being opened while engaged. Those skilled in the art will be familiar with a wide variety of locking mechanisms including pins that can be vertically and/or horizontally slid into apertures or receiving element of the panel or from the panel into apertures of the container, as non-limiting examples. When the user wishes to gain access to the interior of the lock box 100, the user can simply re-enter the PIN 416. Once the PIN is re-entered, the processing unit 302 can activate the door lock motor 334 through the interface component and cause the door lock to transition from the locked state to the unlocked state. Again, the user may enter the PIN using the interface on the lock box 100 or the mobile device if the user did not place the mobile device into the lock box 100. Once the access panel is unlocked and opened, the user can remove 418 some or all of his or her belongings 114 from the lock box 100. If the user is done with the lock box 100, the user can unpair the user's mobile device and the lock box 420. The user can unpair 420 the mobile device and the lock box through the lock box app 360. The time that the mobile phone initially pairs with the lock box 100 and then unpairs can thus recorded by the lock box app 360 and can be provided to a back-end billing system for determining how much to charge the user in a time rental scenario and/or for tracking purposes to determine the level of utilization of lock boxes 100 for a particular demographic to help facilitate redistribution of the lock boxes 100 to maximize or increase utilization. In the illustrated environment, the lock boxes 100A-D can engage in bi-directional communication with a mobile station 610. The mobile station 610 is then connected through a network, such as a telecommunications network or the public switched telephone network (“PSTN”) 630 to a master server 600. A mobile device 620 is also communicatively coupled to the master server 600, the mobile station 610 and optionally, each of the lock boxes 100A-D through the telecommunications network 630. Although only one mobile device 620 is illustrated, it will be appreciated that the environment would support multiple mobile devices. In operation, each of the lock boxes 100A-D would be provisioned by a communications service provider and registered with the master server 600. As a non-limiting example, the registration process may include causing a lock box 100 to initiate communication with the master server 600 through the mobile station 610 and the telecommunications network 630. For instance, the lock box 100 may place a call or send an SMS message to a phone number associated with the master server 600. The communication to the master server 600 may include a unique ID assigned to the lock box 100, a status of the lock box (such as locked, unlocked, opened, closed, reserved, battery power level, location, etc.). Once registered, the master server 600 can enable the lock box 100 for operation. It should be understood that the registration may also be initiated by the master server 600 in some embodiments. In such an embodiment, the master server 600 can initiate communication with a particular lock box of the lock boxes 100A-D using a phone number assigned to a particular lock box. In either case, it should be appreciated that the master server 600 and the lock boxes 100A-D can initiate, receive and engage in bi-directional communication with each other. In some embodiments, only uni-directional communication may be used. The master server 600 can maintain a list and status of each of the lock boxes 100A-D and to which operator or owner the lock box 100 is assigned. In addition, the master server 600 can send an announcement message to one or more of the lock boxes 100. Upon receipt of an announcement message from the master server 600, the controller 300 within a lock box 100 can display the announcement or sound the announcement over the speaker or both. For instance, the master server 600 can send a message to alert users that severe weather is approaching, or that all lock boxes need to be returned to central distribution, or that a particular lock box needs to be recharged, or that a lock box alarm is being sounded indicating that one of the lock boxes in the vicinity is being moved so the other users can look for the culprit, etc. The mobile device 620, running a lock box app 360, may initiate communication with the master server 600, such as requesting a lock box locator function to identify the location of one or more lock boxes in the vicinity of the mobile device 620. Having described the general operation of an exemplary embodiment of the lock box 100, additional features and functionality can be better understood. It should be appreciated that any particular embodiment of the lock box may include each of the previously described features or may omit one or more of the previously described features. Likewise, any particular embodiment may also include or omit any of the additional features and functions that are described in the next sections. System Manager App—It should be appreciated that as users access and use the lock boxes 100, that the lock boxes 100 may be spread out over a geographical area. If the lock box operator (which may include an owner, a franchisee, etc.) wishes to collect the lock boxes 100 at the end of a period of time (such as the end of the day), locate the lock boxes 100, verify operation of the lock boxes 100, determine the current state of the lock boxes 100, sound an alarm for the lock box 100, etc., the owner may require capabilities that are not included in the lock box app 360. Thus, the owner may have access to a system manager app, which could be a stand-alone downloadable app or, may be implemented as additional features within the standard lock box app 360 that can only be accessed or are enabled only for an owner. In the latter example, a special login or access code may be used to access the additional capabilities. For instance, the lock box app 360 only presents the location of vacant lock boxes 100 to a normal user. However, the owner may want to know the location of all of his or her lock boxes 100 regardless as to if the boxes 100 are vacant or occupied. The system manager app can thus present the location and the state of each of the owners' lock boxes. In addition, a geographical region may include lock boxes that belong to different owners. The lock box app 360 may display all of the local and available lock boxes, whereas the owner may only want to see the location of his or her lock boxes. As such, the system manager app may include a filter that only displays lock boxes that belong to the owner. This can be accomplished in several manners, including assigning a unique ID code to each lock box 100 and having the unique ID's associated with a particular owner. In addition, the master server 600 may keep track of all of the lock boxes that have been deployed or put into commerce and the system manager app may access the master server to obtain information about the lock boxes that are assigned or associated with that particular owner. Geo-fencing and Alarm—Exemplary lock boxes 100 may be equipped with a GPS receiver 330 to identify the current location of the lock box 100. Because the lock boxes 100 are mobile, it is advantageous to determine if a lock box 100 is being moved (such as being accidentally taken by another use or actually being stolen. Each lock box 100 may include the definition of a geographic zone or geo-fence in which the lock box 100 is allowed to reside. Thus, the controller 300 can identify a current location and store that as an anchor point. For example, the anchor point can be set at the time that the mobile device 620 is paired with the lock box 100, when the lock box 100 is closed and locked or some other triggering event. If the lock box 100 is moved, the controller 300 can identify the current location and determine if it is the same or different as the anchor point. If the current location is different from the anchor point, then the controller 300 knows that the lock box 100 has been moved or is being moved. If the lock box 100 is being transported near or across the boundary of this geo-fence, the lock box 100 can sound an alarm. The intelligence for the geo-fence may reside completely within the lock box 100 or may be implemented within the master server 600. It should be appreciated that a vacant lock box 100 may have a wider geo-fence area than a lock box 100 that is in use (i.e., is safe keeping a user's valuables). As such, one geo-fence definition may apply if the lock box 100 is vacant and another geo-fence definition may apply if the lock box 100 is in use. A threshold or multiple thresholds may be defined regarding the alarming for a lock box 100. For instance, a warning threshold may be set to sound an alarm if the lock box 100 is moved from the anchor point to a location exceeding the warning threshold. As an example, crossing the warning threshold may cause the lock box to pronounce a warning message such as “you have moved the lock box too far, if you continue authorities will be notified”. An alarm threshold may be set to be higher than the warning threshold. If the alarm threshold is exceeded, the lock box 100 may automatically send an alarm to the master server and/or sound a loud, highly noticeable alarm sound designed to draw attention and/or cause messages or alarms to be sent to other lock boxes 100 within the vicinity so that other users can be on the lookout. This may also include an audible message such as “this lock box is being stolen, return it immediately to the previous location”. It should be appreciated that the lock box 100 and/or the master server 600 may also initiate a communication with law enforcement that a lock box 100 is being stolen and provide continuous location updates of the lock box 100. It should also be appreciated that rather than an audible alarm, the lock box 100 may sound a silent alarm by notifying the master server, owner or authorities. Advantageously, this feature in an exemplary lock box 100 would not put a potential thief on notice that he or she was being pursued. The GPS elements should account for GPS drift. In addition, the lock box 100 may be enabled to sound an alert or alarm under other conditions, such as the lock box 100 is tipped over or is being overcome by environmental elements, needs charging, needs to be returned, etc. Other Alarm/Safety Features. Strobe Alarm. The lock box 100 may also include an external strobe light that can be used to indicate an alarm condition. As such, if an alarm condition is triggered, in addition to, or in lieu of an audible alarm, the strobe light can be used to indicate that the box is being stolen. This feature may also be useful for identifying the location of the lock box 100 for a user seeking a vacant lock box or for authorities or owners to track down a thief. Open Box Alarm. If the lock box 100 is opened and remains open, this may be a condition that needs to invoke an alarm. For instance, if the user puts his or her valuables into the lock box 100 but forgets to close the lock box 100 or does not close the access panel 112 all the way, the lock box 100 can alert the user by sounding an alarm or reciting a message such as “don't forget to close and lock the access panel”. This feature can be implemented with a threshold time and once the time is crossed (such as 5 minutes) then the lock box 100 can sound the alarm or alert. Automatic door shutting. In addition to a motor used to lock and unlock the access panel 112, embodiments may include an automatic door opener and/or closer. For instance, if the lock box 100 remains open for a threshold period of time, the controller 300 may actuate the door closer to automatically close and lock the lock box 100. In addition, after a user enters the PIN, the controller 300 may actuate the door opener to automatically open the access panel 112. Safety Light. Some embodiments may also include a safety light that can be activated to help the user find his or her lock box 100 or to help the user navigate back to the central distribution center if the user stays out after dark. The light can also be used to indicate if the lock box 100 is open or closed. If the lock box 100 is open, the light is illuminated and if the lock box 100 is closed, the light is turned off. Some embodiments may include colored LEDs such that one color may indicate the lock box 100 is opened and another color indicate that the lock box 100 is closed. In addition, an internal light may illuminate when the lock box 100 is open to facilitate seeing the contents. Security Camera. Some embodiments of the lock box 100 may include one or more external cameras to allow the master server 600 to monitor the location and activity surrounding the lock box 100. In addition, the camera can snap a photo each time a lock box 100 is registered, opened, locked or moved beyond a threshold location. Location Tracker. Embodiments of the lock box 100 can maintain a history of where and when and how long the lock box 100 was in a particular location. This information may be stored within the memory of the lock box 100 and extracted, and/or it can be transmitted to the master server 600. Refrigerator and/or Cooler. In some embodiments, the lock box 100 may be constructed from an insulating material to help keep items within the lock box 100 at their current temperature. For instance, the lock box 100 may retard temperature changes of cold items or hot items that are placed within the lock box 100. In addition, the lock box 100 may include a cold compartment and a hot compartment so that the lock box 100 can house both cold drinks and warm food items. Other embodiments may include compartments for beverages and/or food items and/or valuables to hold them all separately. In other embodiments, the lock box 100 may include a heating element and/or a cooling element. Such embodiments would require a more powerful source of power and so, they may need a larger solar panel or to be plugged into a 110 v AC outlet. Mobile Device Emulator. In some embodiments of the lock box 100, the lock box 100 may interface to a mobile device 620 that is placed within the lock box 100 and emulate the user interface of the mobile device 620 similar to a wired or wireless docking station. In such embodiments, the operation of a mobile device 620 within the lock box 100 can be completely or partially controlled using the user interface on the exterior of the lock box 100. In such embodiments, a user can place and receive calls and texts from the user's mobile device 620 by utilizing the user interface, the speaker and the microphone of the lock box and the lock box would control the operation of the mobile device. In some embodiments, the display on the lock box 100 may be configured to be the same look and feel as the display on the mobile device 620 including touch screen, etc. SIRI/ALEXA or APPLE/GOOGLE HOME Equipped. In some embodiments, SIRI/ALEXA or APPLE/GOOGLE home capabilities may be built into the lock box 100. Advantageously, such embodiments would allow further control of the lock box 100 as well as the mobile device 620 that may be stored therein. Forgotten PIN. It happens, a user will eventually forget what his or her PIN is and thus will not be able to access the contents of the lock box 100. Some embodiments may allow the user to interact with the master server 600 to recover a lost PIN. For instance, the user profile may include one or more challenge questions, similar to password recovery, that allows the user to interact directly with the lock box 100 or the master server 600 to recover from a forgotten PIN. In some embodiments, once the challenge questions are correctly answered, the lock box can be opened. Content Detection. In some embodiments, sensor can be utilized to detect if a lock box 100 has contents within it or if it is empty. This can be useful if a user fails to unpair with the lock box 100. Thus, if the lock box 100 is locked and listed as reserved for an extended period of time but, no items are within the lock box 100, the lock box can automatically reset or reset under master server 600 control to a vacant state. The sensor may include optical sensors, cameras, weight sensors, etc. as a few non-limiting examples. While the afore-described embodiments have focused on lock boxes that are geographically dispersed, it should be appreciated that in some embodiments, the lock boxes may be stored in locker banks that may be located in a centralized area or a location easily accessible to patrons in the area. For instance, at a public beach, the locker bank may be located near a wash room or changing room, bathrooms, vendor site or at a location on the beach. The locker bank may also include a kiosk that users can utilize to register for and check out a lock box. The locker bank may be modular, such that lockers can easily be added or removed to accommodate various use patterns for that location. In the illustrated embodiment, the locker bank 1610 includes one or more solar panels 1616(A-C) (collectively 1616) for receiving solar energy and converting it to charge a battery or battery bank 1618. As illustrated, the solar panels 1616A and 1616C are in a different orientation than solar panel 1616B to receive solar exposure at different times of day. In some embodiments, the solar panels 1616 may be manually adjustable, electronically adjustable or automatically adjust based on the time of day or location of the sun. Further, some embodiments may utilize a direct power source, such as an AC outlet as the primary power source and utilize the solar converted energy and battery stored charge for times when the AC power source is not available. The locker bank 1610 also includes a communications system and a control system 1620, including an antenna 1621. The communications system and control system 1620 include a transceiver for receiving and transmitting signals through antenna 1621 as well as logic circuits for controlling the state of the lockers, and providing feedback on individual locker door displays (best illustrated in Returning to The user can access the locker by approaching the locker bank and entering the PIN code on the user's mobile device 1906. In some embodiments the user may just be notified of the locker bank and, when the user approaches the locker bank, the locker bank can detect the user's phone in proximity and then use the displays on the lockers to indicate which lockers the user can select. The user can select a particular locker by either scanning a QR code, bar code or the like on the locker door, actuating a button on the locker door, or selecting the locker using the mobile app. At this point, the locker door may open providing access to the user. For instance, if the user scans a QR code on the locker door using the mobile app, the mobile app can communication with the master server 600 (which could be located in the kiosk 1610 or the locker bank 1610, and the master server 600 can cause the lock 1718 on the locker to automatically open. In some embodiments, if the user selects a locker from the kiosk 1650, the master server 600 may automatically open the locker door so that as the user approaches the locker bank, the user can identify his or her locker by noticing the open door. Further or alternatively, the user's name or ID can be displayed on the display device of the locker door. As the user approaches the locker bank 1610, the display can begin to flash, sound an alarm or use some other mechanism to attract the user's attention. Once the user accesses the locker, the user can then pair their device with the lock box. It should be appreciated that this process could also be conducted at the kiosk 1650 and by using the kiosk. Further, it should be appreciated that the user may actually pair with the lock box prior to opening the locker. During the pairing process the PIN information entered during the registration process 1902 is synchronized 1908 with the lock box 100 (i.e., the lock box app 360 or the kiosk 1650 communicates with the controller 300 within the lock box 100 to transmit the PIN which is then stored within memory 304 or protected memory of the lock box 100). Further, the pairing process may also include pairing with the locker as well by communicating through the controller 1620. Once the synchronization is completed, the user can then enter the PIN into the lock box 100 device, to gain access to the interior of the lock box 100, to lock the locker 1614 and/or to gain access to the interior of the locker. It should be appreciated that selection of the PIN may be done on the fly rather than during registration in some embodiments. For instance, if the user is not utilizing the lock box app 360, in some embodiments, the user can simply enter a PIN in accordance with provided instructions (such as a card or sticker attached to the lock box 100 or the locker bank 1610). If the user is utilizing the lock box app 360, the lock box app 360 can prompt the user to enter a PIN 1910 either by typing it into the mobile device or through the user interface of the lock box 100. If the user types the PIN into the mobile device, the lock box app 360 will interface with the lock box 100 and program the PIN into the lock box and also interface to the locker bank 1610 and/or locker 1614 and program the PIN into the controller 1620 for the selected or reserved locker. This can be accomplished using a wireless connection such as BLUETOOTH, cellular data or any other wireless communication technique. In some embodiments, the lock box app 360 may have a previously assigned PIN that the user has selected when registering the app and the lock box app may automatically program the PIN into the lock box 100 after or during pairing the lock box 100 and mobile device and into the locker bank 1610 after or during pairing the locker 1614 and mobile device, or by the kiosk. In yet other embodiments, the lock box app 360 may gain access to the PIN that the user utilizes to unlock his or her mobile device and automatically program the lock box 100 and locker 1614 with that PIN. Once the PIN is utilized to gain access to the lock box 100 and/or the locker 1614 (regardless of the technique for selecting the PIN), the user can place items 1912 into the lock box 100 or locker 1614. At this point, the user can close 1914 the access panel 112 to the lock box 100 and either leave the lock box 100 within the locker 1614 or remove the lock box 100 to take to the beach or other location. Upon detecting that the access panel 112 is closed, the lock box 100 and/or the lock box app 360 can cause the processing unit 302 to activate the door lock motor 334 through the interface component and cause the door lock to transition from an unlocked state to a locked state. The user can then close door to the locker 1614. Upon detecting that the locker door is closed 1914, the controller 1620 and/or lock box app can cause the locker door lock to transition from unlocked state to a locked state. It should be appreciated that the access panel 112 and the lock box 100, as well as the locker 1614 or locker bank 1610 may include a sensor to detect when the access panel 112 or locker door respectively is in the opened or closed state. Those skilled in the art will be aware of such sensors that can be utilized for this purpose. At this point, processing unit 302 can activate the door lock motor 334 through the interface component and cause the door lock to transition from a locked state to an unlocked state. The door lock motor 334 drives a locking mechanism that is used to prevent the access panel from being opened while engaged. Further, controller 1620 can send signals to the locker locking element to lock the locker. Those skilled in the art will be familiar with a wide variety of locking mechanisms including pins that can be vertically and/or horizontally slid into apertures or receiving element of the panel or from the panel into apertures of the container, as non-limiting examples. When the user wishes to gain access to the interior of the lock box 100, the user can simply re-enter the PIN 1916. Once the PIN is re-entered, the processing unit 302 can activate the door lock motor 334 through the interface component and cause the door lock to transition from the locked state to the unlocked state. Again, the user may enter the PIN using the interface on the lock box 100 or the mobile device if the user did not place the mobile device into the lock box 100. Once the access panel is unlocked and opened, the user can remove 1918 some or all of his or her belongings 114 from the lock box 100. If the user is done with the lock box 100, the user can unpair the user's mobile device and the lock box 1920. The user can unpair the mobile device and the lock box through the lock box app 360. The time that the mobile phone initially pairs with the lock box 100 and then unpairs can thus recorded by the lock box app 360 and can be provided to a back-end billing system for determining how much to charge the user in a time rental scenario and/or for tracking purposes to determine the level of utilization of lock boxes 100 for a particular demographic to help facilitate redistribution of the lock boxes 100 to maximize or increase utilization. The user can then simply leave the lock box 100 where it is, or the user can return it to the locker 1614, such as when the user goes to retrieving items from the locker 1922. In some embodiments, the locker bank may simply be a docking station for the lock boxes. In such embodiments, rather than lockers with doors, the locker bank may simply be a bank of open cubbies for people to utilize. Further, if the battery power depletes on the locker box, it can sound a signal to request the user to return the lock box to the charging/docking station. The general construction of the lock box may include a construction that prevents obstructions, such as sand, from preventing the access panel from opening. For instance, a beveled edge may be used to encourage any debris to fall out of the path of the door edge. It is also anticipated that some embodiments of the lock box 100 may include hermetic seals to allow the lock box 100 to be complete submerged in a liquid or prevent damage during rainstorms or thunderstorms. The material chosen for the construction of the lock box 100 may be selected to prevent or retard corrosion due to salt or humidity. For instance, the interior and/or exterior of the lock box may be painted with an amortized paint or be constructed or covered with anodized plastic. Further, the locking mechanism and hinges of the access panel 112 may be configured such that they are not externally accessible, thereby preventing or retarding the ability to be tampered with. Further, sensors can be utilized to detect when the access panel 112 is being tampered with, such as vibration sensors, and to sound an alarm if the condition exists. The lock box 100 should be constructed to be light weight and easily transported. Preferred embodiments will be less than 15 pounds, while other embodiments may be heavier. The weight could be selected to allow the lock box to be easily transported but not so light that it can be blown over by the wind. Some embodiments may be constructed so that the lock boxes 100 can be stacked on top of each other. The electronics of the lock box 100 and locker bank 1610 should be housed within the interior of the lock box 100 or locker bank 1610 respectively, or behind an interior accessible panel to provide protection and prevent tampering. The electronics may also be constructed to be modular so that portions can be removed for repair or replacement, receive upgraded electronics/software, and features can be added by inserting additional or alternative plug and play components. In some embodiments, the features and operation of the lock box can be modified over the air or through a connection by downloading new software or configuration files. Similarly, the internal battery of the lock box should also be protected and should be accessible for removing so that the batteries can be replaced or charged externally. The locker bank can be constructed of a wide variety of materials including polyurethane or polyurethane coated material, or similar material to protect the locker bank from the elements. The material should be selected to be rugged enough to prevent easy break in such as cutting the door open with a knife. The locker bank may be fully modularized. This can be accomplished by utilizing a bus type system that connects to the main locker unit that houses the controller 1620, the batteries 1618 and the input from the solar panels 1616. Each modular component of the locker bank can then be connected to an adjacent modular component and thus be hooked into the bus system for power, control, etc. In some embodiments, the locker bank 1610 and/or kiosk 1650 may include one or more cameras to monitor activity around the locker bank 1610 and or kiosk. The cameras can provide live feed through the locker bank communications/control subsystem 1620 for local or online storage accessible over the Internet or a local area network. The camera feeds can be backed up to storage and archived for a period of time or perpetually. The cameras can be hidden or in the open. In some embodiments the cameras can be controlled by one or more motion detectors and only provide feeds when motion is detected or, the cameras can run continuously. Further, in some embodiments, the cameras may run continuously but only provide the feed for storage when motion is detected or plus and minus a period of time after detecting motion or locker activity, such as a locker being opened, closed, or access attempted. The camera subsystem may also be activated by the presence of sounds, or digital signal processing can be performed on detected sounds to recognize voices. The locker bank may also include an alarm subsystem to detect any tampering with the locker bank or individual lockers. Activity such as multiple failed access attempts, signal processed sounds that may resemble banking or prying of the locker doors, excessive motion such as tilting or jarring of the locker bank, etc. Once suspicious activity is detected, an audible alarm can be sounded or a silent alarm can be triggered to notify authorities or operators. In the description and claims of the present application, each of the verbs, “comprise”, “include” and “have”, and conjugates thereof, are used to indicate that the object or objects of the verb are not necessarily a complete listing of members, components, elements, or parts of the subject or subjects of the verb. In this application the words “unit” and “module” are used interchangeably. Anything designated as a unit or module may be a stand-alone unit or a specialized module. A unit or a module may be modular or have modular aspects allowing it to be easily removed and replaced with another similar unit or module. Each unit or module may be any one of, or any combination of, software, hardware, and/or firmware. The present invention has been described using detailed descriptions of embodiments thereof that are provided by way of example and are not intended to limit the scope of the invention. The described embodiments comprise different features, not all of which are required in all embodiments of the invention. Some embodiments of the present invention utilize only some of the features or possible combinations of the features. Variations of embodiments of the present invention that are described and embodiments of the present invention comprising different combinations of features noted in the described embodiments will occur to persons of the art. It will be appreciated by persons skilled in the art that the present invention is not limited by what has been particularly shown and described herein above. Rather the scope of the invention is defined by the claims that follow:BACKGROUND
BRIEF SUMMARY
BRIEF DESCRIPTION OF THE SEVERAL VIEWS OF THE DRAWING
DETAILED DESCRIPTION OF THE VARIOUS EMBODIMENTS