In a wastewater treatment system, a clarifier has a submerged effluent launder, with a sloped, submerged plate that allows clarified liquid to exit through submerged openings. The sloped surface tends to accumulate solids, which can lead to algae growth. Typical internal scum collection system equipment prevents any efficient way to clear the accumulated sludge off the launder surface because of interferences. As disclosed here, a scum discharge area or box is placed external to the clarifier in one embodiment. Scum is wiped from a vertical surface of the launder assembly, above the sloped launder surface, and swept over a scum beach at one position in the clarifier, to drop into a lower trough and the flow out through the clarifier wall to a drop out box or scum discharge area. This allows for a rake-attached, sweeping launder wiper to be moved with the clarifier's rake to remove the accumulation of sludge from the launder's submerged surface, without elaborate moving parts. The sludge is swept back to settle in the clarifier, improving effluent quality by preventing sludge from exiting along with clarified water. In another embodiment the scum discharge box is internal, as a low-profile vertically disposed channel against the inside clarifier wall, leading to an existing scum pipe through the clarifier wall.
1. A wastewater treatment clarifier having an effluent launder for withdrawal of effluent from the clarifier, comprising:
the clarifier being essentially circular and having a peripheral clarifier wall, and the launder being connected to the inside of the clarifier wall, the launder being at least partly submerged below the liquid level in the clarifier, the launder having inlet orifices submerged below the liquid level of the clarifier, the submerged launder comprising an inwardly/downwardly obliquely angled plate connected to the inside of the clarifier wall as an upper side of the launder, a shelf connected to the clarifier wall at a level below the connection of the obliquely angled plate to the wall to form a bottom of the launder, the obliquely angled plate being connected to an inward side of the shelf, and the obliquely angled plate having said inlet orifices to admit effluent water from the clarifier, the clarifier including a rake arm rotating about a center of the clarifier in a sweeping motion around the clarifier, a sweeping launder wiper having a wiper blade positioned against the obliquely angled plate and connected to the rake arm near an outer end of the rake arm so as to sweep the wiper blade along the obliquely angled plate through full circles of movement around the clarifier so as to sweep settled sludge off the obliquely angled plate so that the sludge drops to the bottom of the clarifier, a scum surface at the clarifier wall at a liquid surface level in the clarifier, above the obliquely angled plate of the launder and above the sweeping launder wiper, and scum removal equipment for removing scum from the scum surface and out of the clarifier without interfering with the movement of the sweeping launder wiper, the scum removal equipment including a scum drop out box secured at the clarifier wall, a scum wiper engaged against the scum surface and movable around the clarifier to sweep scum, and connected to the rake arm for movement with the rake arm, a generally flat, gently sloped scum ramp at one position in the circumference of the clarifier, adjacent to the inside of the clarifier wall and to the scum drop out box and sloped upwardly in the direction of movement of the scum wiper, a generally horizontal scum sweeper connected to the scum wiper to sweep scum up the scum ramp, and including a scum drop channel adjacent to an upper end of the scum ramp, and connected to the scum drop out box for receiving scum swept from the scum surface, so that wiped, swept scum drops into the drop channel and exits to the scum drop out box. 2. The wastewater treatment clarifier of 3. The wastewater treatment clarifier of 4. The wastewater treatment clarifier of 5. The wastewater treatment clarifier of 6. The wastewater treatment clarifier of 7. The wastewater treatment clarifier of 8. A wastewater treatment clarifier having an effluent launder for withdrawal of effluent from the clarifier, comprising:
the clarifier being essentially circular and having a peripheral clarifier wall, and the launder being connected to the inside of the clarifier wall, the launder being at least partly submerged below the liquid level in the clarifier, the clarifier including a rake arm rotating about a center of the clarifier in a sweeping motion around the clarifier, a scum surface at the clarifier wall at a liquid surface level in the clarifier, above the launder, and scum removal equipment for removing scum from the scum surface and out of the clarifier without interfering with the movement of the sweeping launder wiper, the scum removal equipment including a discharge pipe or conduit extending out through the clarifier wall at a position below the effluent launder, and an internal scum drop out box positioned adjacent to the scum surface and extending down the inside of the clarifier wall to a connection with the scum discharge conduit, and including a scum wiper engaged against the scum surface and movable around the clarifier to sweep scum and connected to the rake arm for movement with the rake arm, a generally flat, gently sloped scum ramp at one position in the circumference of the clarifier, adjacent to the inside of the clarifier wall and to the internal scum drop out box and sloped upwardly in the direction of movement of the scum wiper, a generally horizontal scum sweeper connected to the scum wiper to sweep scum up the scum ramp, and a scum drop channel connected to the internal scum drop out box and adjacent to an upper end of the scum ramp for receiving scum swept from the scum surface and from the scum ramp, so that wiped scum drops into the drop channel, drops down through the internal scum drop out box and is discharged by the scum discharge pipe. 9. The wastewater treatment clarifier of 10. The wastewater treatment clarifier of 11. The wastewater treatment clarifier of 12. A wastewater treatment clarifier having an effluent launder for withdrawal of effluent from the clarifier, comprising:
the clarifier being essentially circular and having a peripheral clarifier wall, and the launder being connected to the inside of the clarifier wall, the launder being at least partly submerged below the liquid level in the clarifier, the launder having inlet orifices submerged below the liquid level of the clarifier, the submerged launder comprising an inwardly/downwardly obliquely angled plate connected to the inside of the clarifier wall as an upper side of the launder, a shelf connected to the clarifier wall at a level below the connection of the obliquely angled plate to the wall to form a bottom of the launder, the obliquely angled plate being connected to an inward side of the shelf, and the obliquely angled plate having said inlet orifices to admit effluent water from the clarifier, the clarifier including a rake arm rotating about a center of the clarifier in a sweeping motion around the clarifier, a sweeping launder wiper having a wiper blade positioned against the obliquely angled plate and connected to the rake arm near an outer end of the rake arm so as to sweep the wiper blade along the obliquely angled plate through full circles of movement around the clarifier so as to sweep settled sludge off the obliquely angled plate so that the sludge drops to the bottom of the clarifier, a scum surface at the clarifier wall at a liquid surface level in the clarifier, above the obliquely angled plate of the launder and above the sweeping launder wiper, and scum removal equipment for removing scum from the scum surface and out of the clarifier without interfering with the movement of the sweeping launder wiper, the sweeping launder wiper blade including a flexible outer section at an outer end of the wiper blade which has a bendable, flexible, rubbery wiper element retained by spring steel bands at an upper end of the wiper element, the spring steel bands tending to return the flexible outer section toward a straight configuration while allowing bending to accommodate any interfering structures as well as imperfections in the shape of the clarifier wall to allow for differences in the distance of the clarifier wall from the sweeping launder wiper as the wiper travels around the clarifier. 13. A wastewater treatment clarifier having an effluent launder for withdrawal of effluent from the clarifier, comprising:
the clarifier having a peripheral clarifier wall, and the launder being connected to the inside of the clarifier wall, the launder being at least partly submerged below the liquid level in the clarifier, the clarifier including a rake arm rotating about a center of the clarifier in a sweeping motion around the clarifier, a scum surface at the clarifier wall at a liquid surface level in the clarifier, above the launder, and scum removal equipment for removing scum from the scum surface and out of the clarifier, the scum removal equipment including a scum drop out box secured at the clarifier wall, a scum wiper engaged against the scum surface and movable around the clarifier to sweep scum and connected to the rake arm for movement with the rake arm, a generally flat, gently sloped scum ramp at one position in the circumference of the clarifier, adjacent to the inside of the clarifier wall and to the scum drop out box, a generally horizontal scum sweeper connected to the scum wiper to sweep scum up the scum ramp, and including a scum drop channel connected to the scum drop out box and adjacent to an upper end of the scum ramp, for receiving scum swept from the scum surface, so that wiped, swept scum drops into the scum drop channel and exits to the scum drop out box. 14. The wastewater treatment clarifier of 15. The wastewater treatment clarifier of 16. The wastewater treatment clarifier of 17. The wastewater treatment clarifier of
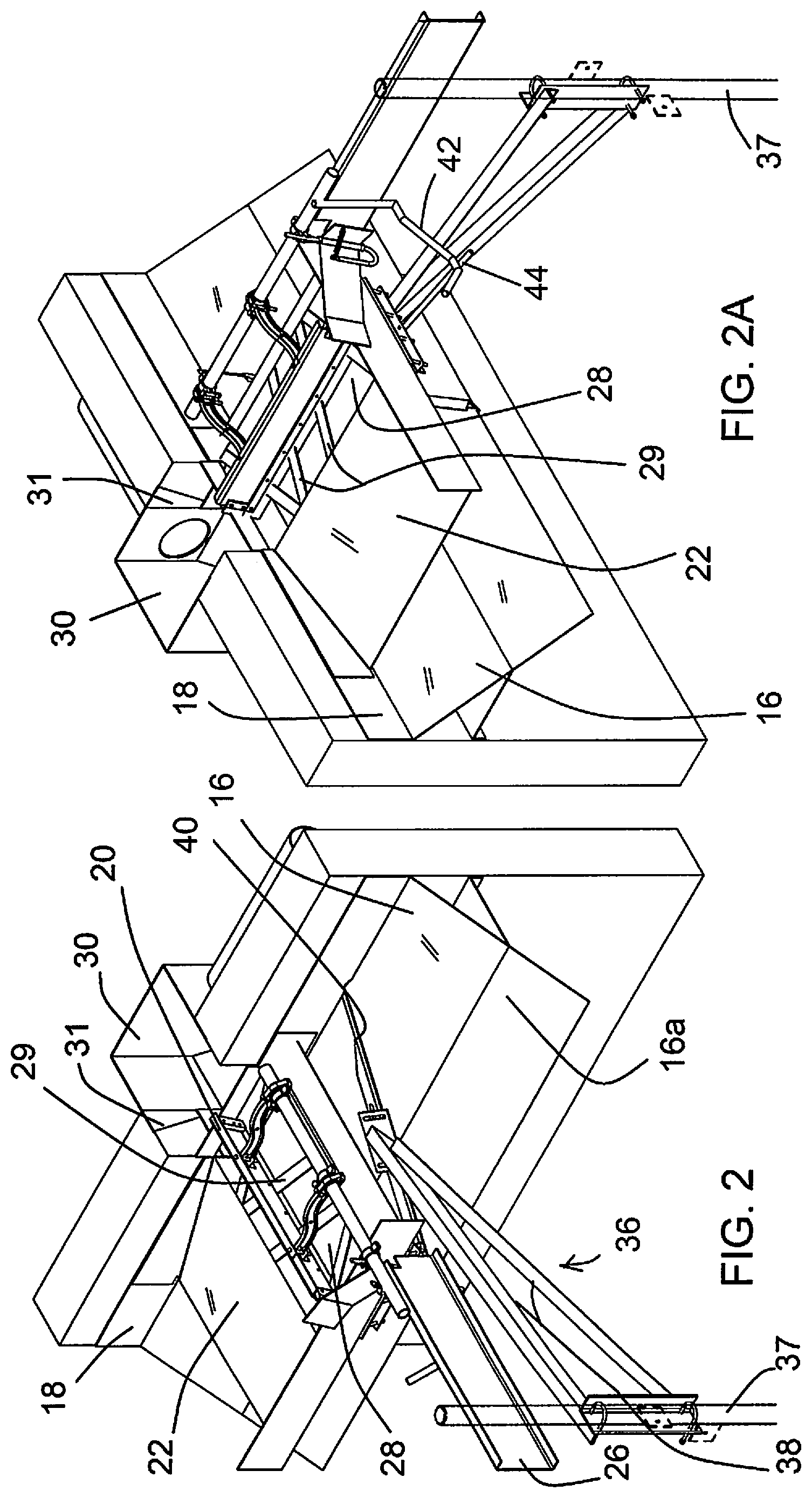
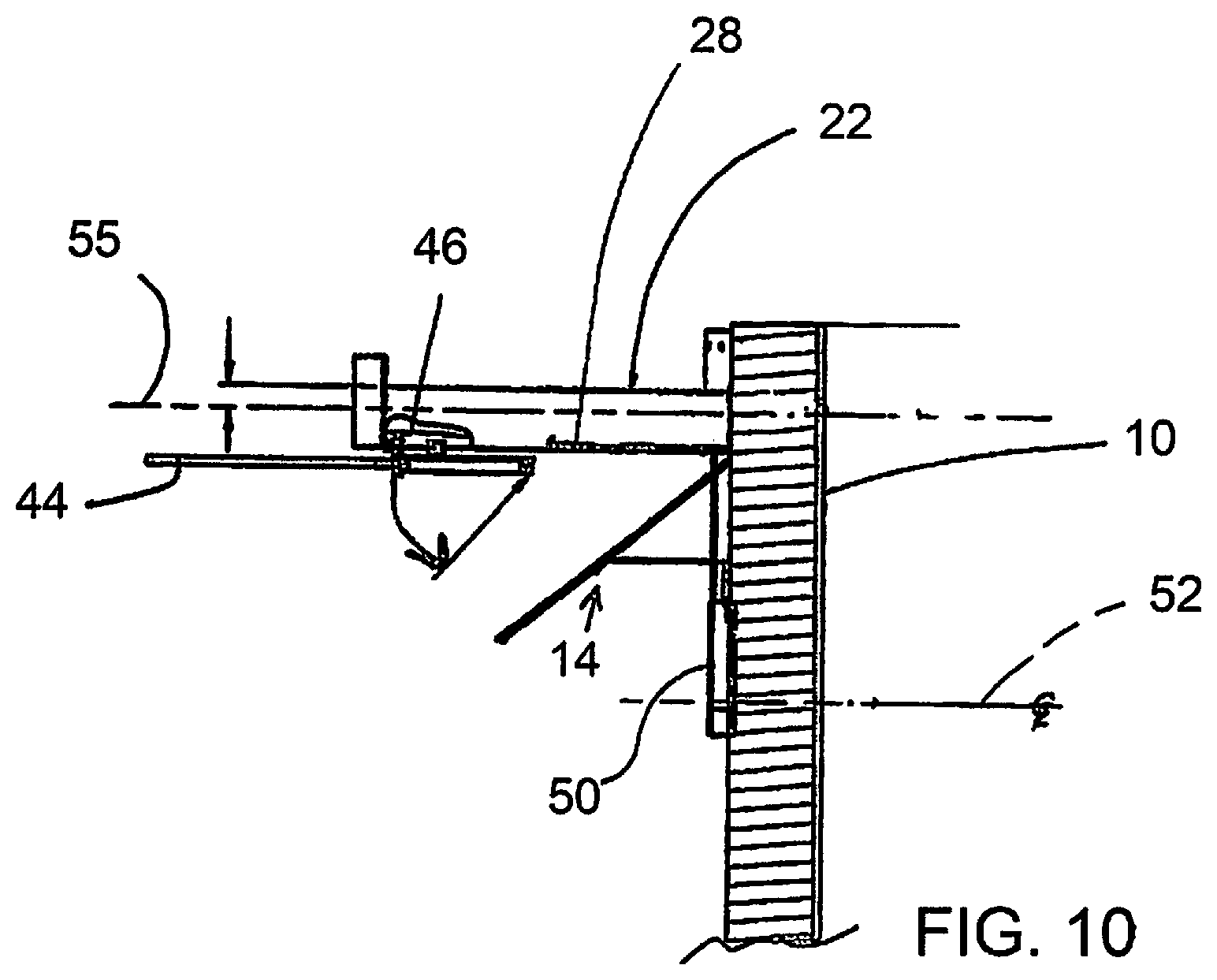
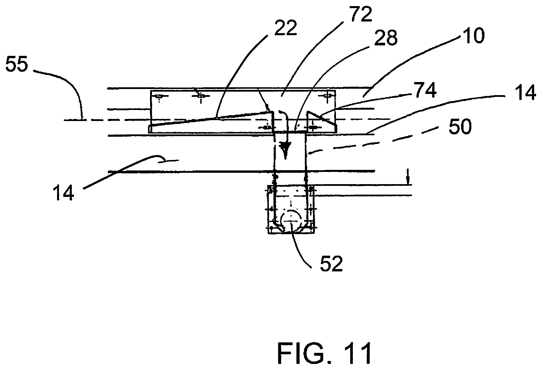
This invention claims benefit of provisional application Ser. No. 62/717,655, filed Aug. 10, 2018, and 62/736,977, filed Sep. 26, 2018. This invention concerns wastewater treatment, and particularly the launder and scum management in a clarifier, on the liquid side of a treatment plant. In U.S. Pat. No. 9,919,244, an embodiment of a submerged effluent launder (SEL) is described, mounted on the internal wall of a clarifier and comprising an enclosure that receives liquid effluent of the clarifier, through submerged openings in a downwardly/inwardly sloping top plate. A scum surface is provided by a vertical upper wall of the structure, at the upper end of the sloped plate. At the lower end of the sloped plate extends a density current baffle, which can be an overhanging extension of the sloped plate. As in any launder with an adjacent density current baffle, there is a tendency for a small portion of the circulating sludge in the clarifier to escape and bypass the density current baffle, moving up and potentially being discharged with clarified liquid. In the case of the SEL with the sloped top plate, much of the bypassed solids settles onto the surface of the sloped plate. This can cause a problem of algae growth, and also, the solids settled onto the upper launder surface could potentially be removed, to allow a better clarifier effluent. If a scum box or collection trough is located within the clarifier at a selected location adjacent to the scum surface, as is typical in clarifiers, no practical and efficient way to clean the sloped launder surface is available. The scum collection trough or box and associated piping and supports will interfere. To overcome this, a complex system of moving parts would be required, such as counterweights or a spring system. These moving parts can become hung up on traditional scum box designs and can damage rake arms, cage and drive, which can be costly. There is a need for a scum removal arrangement and method that will allow efficient cleaning of the sloped launder surface in such a submerged effluent launder (SEL), without requiring an added system of moving parts. This invention provides a solution to the problem described above, for a clarifier with a submerged effluent launder having a sloped, submerged upper plate that allows clarified liquid to exit through submerged openings. With the invention, the scum drop out box or discharge device can be placed external to the clarifier, removing not only the scum box but also piping and supports from inside the clarifier. Scum is wiped from a vertical surface of the launder assembly, above the sloped launder surface, at the liquid surface level, and swept into a flat, cantilevered, low-profile, gently sloped scum ramp at one position in the circumference of the clarifier. The scum drops into a drop channel and flows out through a break in the clarifier wall to the external scum discharge area. This allows for a rake-attached, sweeping launder wiper to be moved with the clarifier's rake to remove the accumulation of sludge from the launder's submerged surface without requiring further moving parts. The sludge is swept back to settle in the clarifier, as a second phase of settling. Clarifier effluent quality is improved, and sludge is substantially prevented from exiting along with the clarified water. Also, maintaining the upper panel, i.e. the sloped surface, clean minimizes or prevents algae growth. With the system of the invention, no external supports are needed, since the external scum drop out box preferably is connected directly to the outside of the clarifier wall, without interconnection piping. In another embodiment of the invention, the scum drop out box is not positioned externally on the clarifier wall, but rather it extends down the interior wall, in a configuration to allow a very low profile against the clarifier wall. The scum ramp or trough described above is essentially the same, but the scum collected in the scum drop channel drops into the low-profile scum drop out box extending down the internal clarifier wall, to a position where it is open to an existing scum pipe that extends horizontally out through the wall. That scum pipe was previously a part of a typical internal scum box with internal piping and supports, but has been cut off at the interior surface of the wall. This embodiment requires that the low profile, vertically oriented scum drop out box pass vertically down through the SEL. The scum is contained within the scum box and isolated from the interior of the SEL, the pass-through opening in the SEL being sealed at interfaces. This second embodiment avoids the need to cut a notch or break out the clarifier wall, at or near the top. The rake-attached, sweeping launder wiper is permitted to pass by the vertical, low-profile scum box, since the steel mounting for the rubber wiper blade does not extend to a point of interference with the scum box. The rubber wiper extends out a greater length, and its flexibility allows it to deflect and pass by when it contacts the scum box. These and other objects, advantages and features of the invention will be apparent from the following description of a preferred embodiment, considered along with the accompanying drawings. In the drawings, A submerged effluent launder (SEL) is shown, as a fragmented section, at 14 in this preferred embodiment. This is essentially as in an embodiment of U.S. Pat. No. 9,919,244, a generally triangular cross-sectional shape with an upper side which is a sloped, submerged plate 16 which has submerged effluent holes (not shown) through which clarified liquid enters the launder for discharge from the clarifier. A scum accumulating surface is at 18, a vertical surface at the top of the sloped plate 16, preferably an upper extension integral with the plate 16. The scum is wiped from the scum surface 18 by a skimmer or wiper blade 20 (essentially a squeegee) that has wipers on the end contacting the scum surface 18 as well as along its bottom. The end wiper brings scum to a flat, sloped trough or ramp shown at 22 that acts as a scum beach. When the skimmer 20, which advances around the clarifier wall by connection to a rake arm (24, see The external drop out box and the shallow, low-profile trough 22 leave a clear path below for an SEL plate wiping system of the invention. This path around the circumference of the clarifier wall is used by SEL wiping equipment 36 to clean the SEL's sloped surface 16, sweeping along this path along with the scum skimmer 20, both attached to the rake arm. A structural member indicated at 37 extends up from the rake arm to support both the plate cleaner and the scum skimmer. A preferred form of SEL plate wiping device is illustrated as a structural triangle 38, at the outer end of which is connected a squeegee-type wiper blade 40 (which could be a brush or other material) that may be angled as shown so that the wiped solids are wiped down along the plate 16, including a plate tail extension 16 Per the invention this arrangement does not interfere with the cleaning of the upper surface of the SEL by moving the wiper 40. The wiper is comprised of a stainless steel wiper holder 58 that, as shown in Another benefit of the flexible end part 62 is that most clarifier tanks are not perfectly circular or concentric, so that the sweeper could be, for example, one-half inch from the clarifier wall on one side of rotation, but up to five inches or so away from the wall at the opposite position 180° removed. A neoprene or other rubbery wiper element 64, particularly at the end part 62, will accommodate that variation, allowing for bend where the wall is closer and for travel over the scum box/conduit 50 on the internal side of the clarifier wall. Since the neoprene alone lacks the strength or rigidity to hold its shape, the bendable portion 62 includes a spring stainless steel support band or bands 66 that are secured to the upper end of the neoprene wiper or wipers 64. The spring stainless steel outer bands 66 add to the neoprene the strength to bounce back and always to be touching the wall, while also providing the flexibility in the outer part 62 to account for the scum box interference and any irregularities in the tank. The neoprene wipers 64 include slits or cuts as shown, to allow for better bend back and overlap. This is important to assure that when the sweeper runs over bolt heads it does not cause lifting of a large portion of the neoprene, which would cause some areas of the launder surface to be missed. In a preferred form of the sweeper, two layers of the neoprene or rubbery blade, with offset slits, are provided so as to cover more of the launder surface if some of the flexible neoprene pieces were to be spread apart. Further, the outer section 62 can include two or three layers of spring stainless steel bands, for example, one at each of the outer sides of the neoprene wipers and one between the neoprene pieces. The spring stainless steel bands act as washers for bolts or other fasteners 70 to protect the neoprene, and they also protect the neoprene from wear and tear from touching anchor bolts holding the submerged effluent launder in place, as well as the interference of the scum box/conduit 50. In addition, the multiple layers of spring stainless steel provide for only the minimum amount of bending required. By using multiple spring steel layers, the end section 62 is provided with the strength of a thicker piece of steel but with the give to bend as far as required. The arrangement described in the second embodiment allows for efficient scum removal without interfering with the operation of the SEL wiper, and without requiring that the clarifier wall be modified with a notch or hole for scum removal. In The scum swept down into the lower trough or drop channel 28 and down through the drop out box 50 is discharged through the scum exit pipe 52, as described above. The above described embodiments are illustrative of the manner in which the invention can be carried out. Other embodiments will be apparent to those skilled in the art and may be made without departing from the essence and spirit of the invention as defined in the following claims.BACKGROUND OF THE INVENTION
SUMMARY OF THE INVENTION
DESCRIPTION OF THE DRAWINGS
DESCRIPTION OF PREFERRED EMBODIMENTS