патент
№ US 0011302932
МПК H01M8/02

Bipolar plate for low pressure feed electrode operation

Авторы:
Bamdad Bahar Kyriacos Zachary William Parmelee
Все (4)
Правообладатель:
Все (2)
Номер заявки
15360905
Дата подачи заявки
23.11.2016
Опубликовано
12.04.2022
Страна
US
Как управлять
интеллектуальной собственностью
Реферат

[0000]

A bipolar plate having side ports is described for use with an electrochemical cell. A side port having a high aspect ratio will have an effect on the partial pressure of the reactant gasses and prevent high pressure drop of the working fluid transport to the electrodes. The membrane electrode assembly may have a high aspect ratio and the port opening may be on the long side of the bipolar plate. The electrochemical cell may be configured in an enclosure that is maintained at less than atmospheric pressure which further increases the need for low pressure drop fuel deliver to the electrodes, especially in electrochemical compressor applications.

[00000]

Формула изобретения

1. An electrochemical system, the electrochemical system comprising:

a) one or more electrochemical cells electrically connected to each other through a power supply; wherein each electrochemical cell comprises:

i) a membrane electrode assembly comprising:

a gas pervious anode on an anode side of the membrane electrode assembly;

wherein the anode has an anode length and an anode width;

a gas pervious cathode on a cathode side of the membrane electrode assembly, and

an electrolytic membrane disposed between and in intimate electrical contact with the cathode and the anode to pass a working fluid therethrough,

b) a bipolar plate coupled to the anode and having a length and a width and a plurality of port openings along the length for delivery of said working fluid to the gas pervious anode,

wherein at least a portion of the working fluid is transferred across the membrane electrode assembly;

said heat transfer system comprising:

said working fluid, wherein said working fluid comprises:

a polar solvent that primarily acts as a condensable refrigerant; and

hydrogen that primarily acts as an electrochemically-active component,

a hermetically sealed housing that defines an enclosure and comprises:

a first thermally conductive wall; and

a second thermally conductive wall;

wherein the first and second thermally conductive walls are an integral part of the heat transfer system;

a first heat transfer device comprising a condenser that transfers heat from the working fluid through the first thermally conductive wall to a first heat reservoir and is configured in thermal communication with said first thermally conductive wall;

a second heat transfer device comprising an evaporator that transfers heat from a second heat reservoir through the second thermally conductive wall to the working fluid and is configured in thermal communication with said second thermally conductive wall; and

the one or more electrochemical cells forming an electrochemical compressor configured within said enclosure and between said first and second heat transfer devices and including:

an inlet fluidly coupled to the evaporator to receive the working fluid;

an outlet fluidly coupled to the condenser and wherein the polar solvent is transported with the hydrogen across the electrolytic membrane.

2. The electrochemical system of claim 1, wherein the bipolar plate has a length and a width and an aspect ratio of said length to said width of at least 2.0.

3. The electrochemical system of claim 1, wherein the anode has an aspect ratio of the anode length to the anode width of at least 2.0.

4. The electrochemical system of claim 1, wherein the port openings along the length of the bipolar plate are at least 50% of the anode length.

5. The electrochemical system of claim 1, wherein the port openings along the length of the bipolar plate are at least 70% of the anode length.

6. The electrochemical stem of claim 1, wherein a pressure on the anode side is less than atmospheric pressure.

7. The electrochemical system of claim 6, wherein a pressure on the cathode side is less than atmospheric pressure.

8. The electrochemical system of claim 6, wherein the enclosure pressure is less than atmospheric pressure.

9. The electrochemical system of claim 7, wherein the enclosure pressure is less than atmospheric pressure.

10. The electrochemical system of claim 7, wherein the enclosure is a hermetically sealed enclosure.

11. The electrochemical system of claim 1, wherein the working fluid comprises water.

12. The electrochemical system of claim 1, wherein the working fluid comprises an electrochemically active component and wherein said electrochemically active component comprises hydrogen.

13. The electrochemical system of claim 1, wherein the membrane electrode assembly is configured between said bipolar plate coupled to the anode and a bipolar plate coupled to the cathode.

14. The electrochemical system of claim 1, wherein the bipolar plate comprises a conductive coating.

15. The electrochemical system of claim 14, wherein the conductive coating comprises a metal conductive coating.

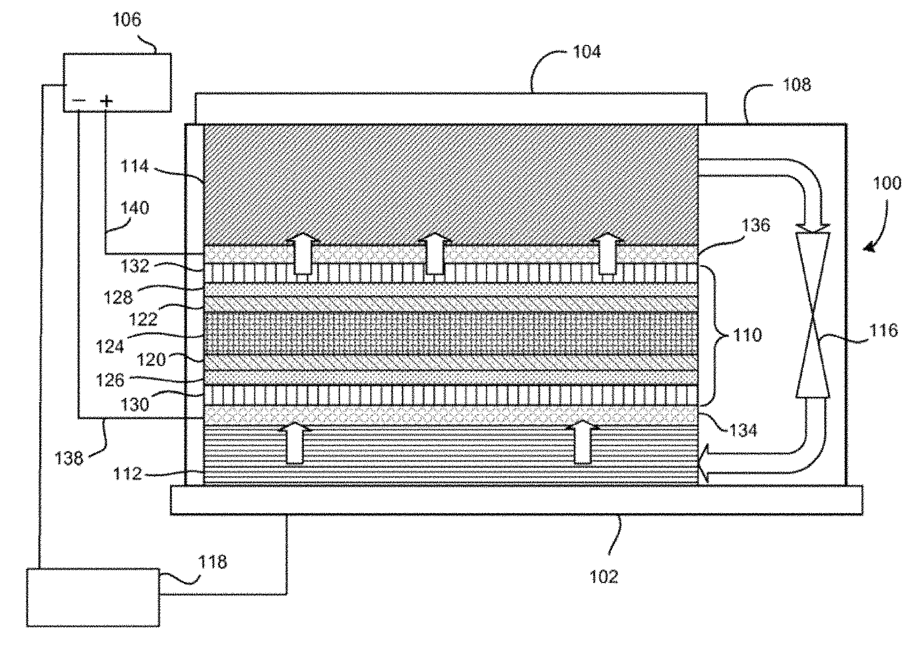
16. The electrochemical sys of claim 15, wherein the metal conductive coating comprises gold.

17. The electrochemical system of claim 1, wherein the electrolytic membrane comprises a composite ion exchange membrane.

18. The electrochemical system of claim 1, further comprising: an expansion valve between the condenser and the evaporator that reduces pressure of the working fluid, wherein the electrochemical compressor is between the condenser and the evaporator.

19. The electrochemical system of claim 1, wherein the polar solvent comprises methanol.

Описание

CROSS REFERENCE TO RELATED APPLICATIONS

[0001]

The application is a continuation of U.S. application Ser. No. 15/289,220 filed on Oct. 10, 2016 and entitled Electrochemical Heat Transfer System, which is a continuation of U.S. application Ser. No. 13/029,006 filed on Feb. 16, 2011 entitled Electrochemical Heat Transfer System, which is a continuation-in-part of U.S. application Ser. No. 12/771,620, filed on Apr. 30, 2010 and entitled “Self-Contained Electrochemical Heat Transfer System”, now issued as U.S. Pat. No. 8,627,671 issued on Jan. 14, 2014, which claims the benefit of U.S. application No. 61/215,131 filed on May 1, 2009, and U.S. application Ser. No. 13/029,006 claims priority to U.S. provisional application No. 61/305,410, filed on Feb. 17, 2010 and entitled “Electrochemical Heat Pump System for Cooling Electronic Components,” and to U.S. application No. 61/347,428, filed May 23, 2010 and entitled “Compact Cooling Systems Using Electrochemical Compression,” all of which are incorporated herein by reference in their entirety, this application also claims the benefit of priority to U.S. provisional application No. 62/258,947, filed on Nov. 23, 2015 and entitled BiPolar Plate For Low Pressure Feed Electrode Operation; the entirety of all applications is hereby incorporated by reference herein.

BACKGROUND OF THE INVENTION

Field of the Invention

[0002]

The invention is directed to bipolar plates having side entry ports that affect the partial pressure of reactant gasses within an electrochemical cell.

Background

[0003]

There is a critical need to build electrochemical cells with high density in relation to their performance, e.g. high power density. Such as the ratio between power output, Watts, to the weight of materials used and/or the volume of the complete device. In order to do this, packaging cell components efficiently is key. In devices such as fuel cells, individual cells are divided by plates that serve to distribute fuel and provide electrical contact from cell to cell. It is typical that these cells have dual polarity wherein feed gases to the anode are on one side and a cathode in on the other, and have port opening to provide fuels for the anode and cathode. These port opening are provided for distribution along gas diffusion electrodes for cell operation. In an exemplary fuel cell, there may be hydrogen pressure on the anode side of the plate and air pumped on the cathode side of the plate to provide oxygen for the reaction.

[0004]

In some fuel cells, a working fluid may comprise a liquid that can produce high resistance to flow into and out of the cell. This pressure drop can reduce the performance of the fuel cell or electrochemical pump because of the lack of available fuel at the anode and/or the cathode. In some electrochemical systems, such as fuel cells and electrochemical pumps, the electrochemical cell and system, or portion thereof may be operated below atmospheric pressure, or in a vacuum relative to atmospheric or ambient pressures and pressure drop of the working fluid into and out of the electrochemical cell can be very detrimental to performance through a limitation of available fuel.

[0005]

Conventional electrochemical fuel cells convert fuel and oxidant, generally both in the form of gaseous streams, into electrical energy and a reaction product. A common type of electrochemical fuel cell for reacting hydrogen and oxygen comprises a polymeric ion (proton) transfer membrane, with fuel and air being passed over respective sides of the membrane. Protons (i.e. hydrogen ions) are conducted through the membrane, balanced by electrons conducted through a circuit connecting the anode and cathode of the fuel cell. To increase the available voltage, a stack may be formed comprising a number of such membranes arranged with separate anode and cathode fluid flow paths. Such a stack is typically in the form of a block comprising numerous individual fuel cell plates held together by end plates at either end of the stack

[0006]

The function of both heat transfer systems such as refrigeration cycles and heat pumps is to remove heat from a heat source or reservoir at low temperature and to reject the heat to a heat sink or reservoir at high temperature. While many thermodynamic effects have been exploited in the development of heat pumps and refrigeration cycles, the most popular today is the vapor compression approach. This approach is sometimes called mechanical refrigeration because a mechanical compressor is used in the cycle.

[0007]

Mechanical compressors account for approximately 30% of a household's energy requirements and thus consume a substantial portion of most utilities' base load power. Any improvement in efficiency related to compressor performance can have significant benefits in terms of energy savings and thus have significant positive environmental impact. In addition, there are increasing thermal management problems in electronic circuits, which require smaller heat pumping devices with greater thermal management capabilities.

[0008]

Vapor compression refrigeration cycles generally contain five important components. The first is a mechanical compressor that is used to pressurize a gaseous working fluid. After proceeding through the compressor, the hot pressurized working fluid is condensed in a condenser. The latent heat of vaporization of the working fluid is given up to a high temperature reservoir often called the sink. The liquefied working fluid is then expanded at substantially constant enthalpy in a thermal expansion valve or orifice. The cooled liquid working fluid is then passed through an evaporator. In the evaporator, the working fluid absorbs its latent heat of vaporization from a low temperature reservoir often called a source. The last element in the vapor compression refrigeration cycle is the working fluid itself.

[0009]

In conventional vapor compression cycles, the working fluid selection is based on the properties of the fluid and the temperatures of the heat source and sink. The factors in the selection include the specific heat of the working fluid, its latent heat of vaporization, its specific volume and its safety. The selection of the working fluid affects the coefficient of performance of the cycle.

SUMMARY OF THE INVENTION

[0010]

The invention is directed to an electrochemical cell that comprises a bipolar plate having side entry ports that reduces the pressure drop of working fluid that is delivered to one of the electrodes of the electrochemical cell, such as the anode. The side ports or port openings extend a high percentage of the length of the electrode that it is delivering fuel or working fluid to. For example, the electrode may have a length of 10 cm and the port openings may extend at least 4 cm along the length, or side of the bipolar plate, or 40% of the electrode length. It may be desirable that the port opening extend at least about 50% or more, at least about 60% or more, at least about 80% of more, at least about 90% or more of the length of the electrode or the entire length of the electrode, wherein it is completely open to the electrode. In addition, the bipolar plates and/or a membrane electrode assembly or electrode thereof, may have an aspect ratio of length to width of at least about 2 or more, at least about 3 or more, at least about 4 or more, at least about 5 or more, and any range between and including the aspect ratios provided. This high aspect ratio further reduces pressure drop of working fluid to the electrode.

[0011]

In electrochemical system, such as electrochemical pumps, a working fluid that is a liquid may be used. Transport of liquids through small and tortuous flow fields can create too much pressure drop and therefore limit the performance of the system. Side ported bipolar plates having a high percentage of open area along the length of the anode and anode having a high length to width ratio can significantly reduce this pressure drop issue. Some electrochemical systems may be contained within an enclosure and the enclosure may be kept at a sub-atmospheric pressure or under vacuum. This may prevent any hydrogen or reactive components of the working fluid from escaping the system. In these system, the pressure drop through flow fields can be an even greater issue. The pressure on the anode side and/or the pressure on the cathode side may be below atmospheric pressure. The pressure of an enclosure for retaining an electrochemical cell may be maintained at full vacuum, or any pressure between full vacuum and atmospheric pressure, for example.

[0012]

In addition, an exemplary bipolar may comprise a conductive coating, such as a deposited metal or metal coating. The metal coating may comprise a highly conductive material such as gold, silver or platinum, or palladium, for example.

[0013]

The invention is directed to a bipolar plate having side entry ports. According to a first aspect of the Invention, there is provided a bipolar plate for a fuel cell, the bipolar plate comprising: an anode sheet defining an anode surface; a cathode sheet defining a cathode surface; a cavity between the anode sheet and the cathode sheet; and one or more openings in the cathode sheet extending between the cathode surface and the cavity; wherein the cavity is configured to receive coolant/oxidant for cooling the anode and cathode sheets and also provide at least a portion of the coolant/oxidant to the exterior of the cathode sheet through the one or more openings.

[0014]

A similar design approach could be utilized in the construction of other electrochemical energy conversion devices, such as electrochemical compressors.

[0015]

In one conception of an electrochemical compressor, protons are pumped across an ion exchange membrane under an electric field carrying water molecules with them. This leads to an increase of water molecules entering a defined cathode space and therefore an increase in water vapor pressure on the cathode versus the anode. This ‘water compression’ method is used for refrigeration cycles—wherein water is used as a refrigerant. Electrochemical cells can be designed in the same way that fuel cells using bipolar plates to divide cells and provide electrical connectivity, to maximize packaging density.

[0016]

However, one of the problems in water compression in electrochemical compressors is that for the refrigeration cycle to work, the vapor pressure of water on the anode must be sub ambient.

[0017]

One strategy employed in the construction of ECC's has been to NOT use bipolar plates at all, and create a massively open anode plate for current collection. Thus, low pressure anode gases have plenty of paths and space to penetrate the gas diffusion media and engage in the electrochemical reaction. This is termed a “Back Ported” system. A performance curve for this system is provided below.

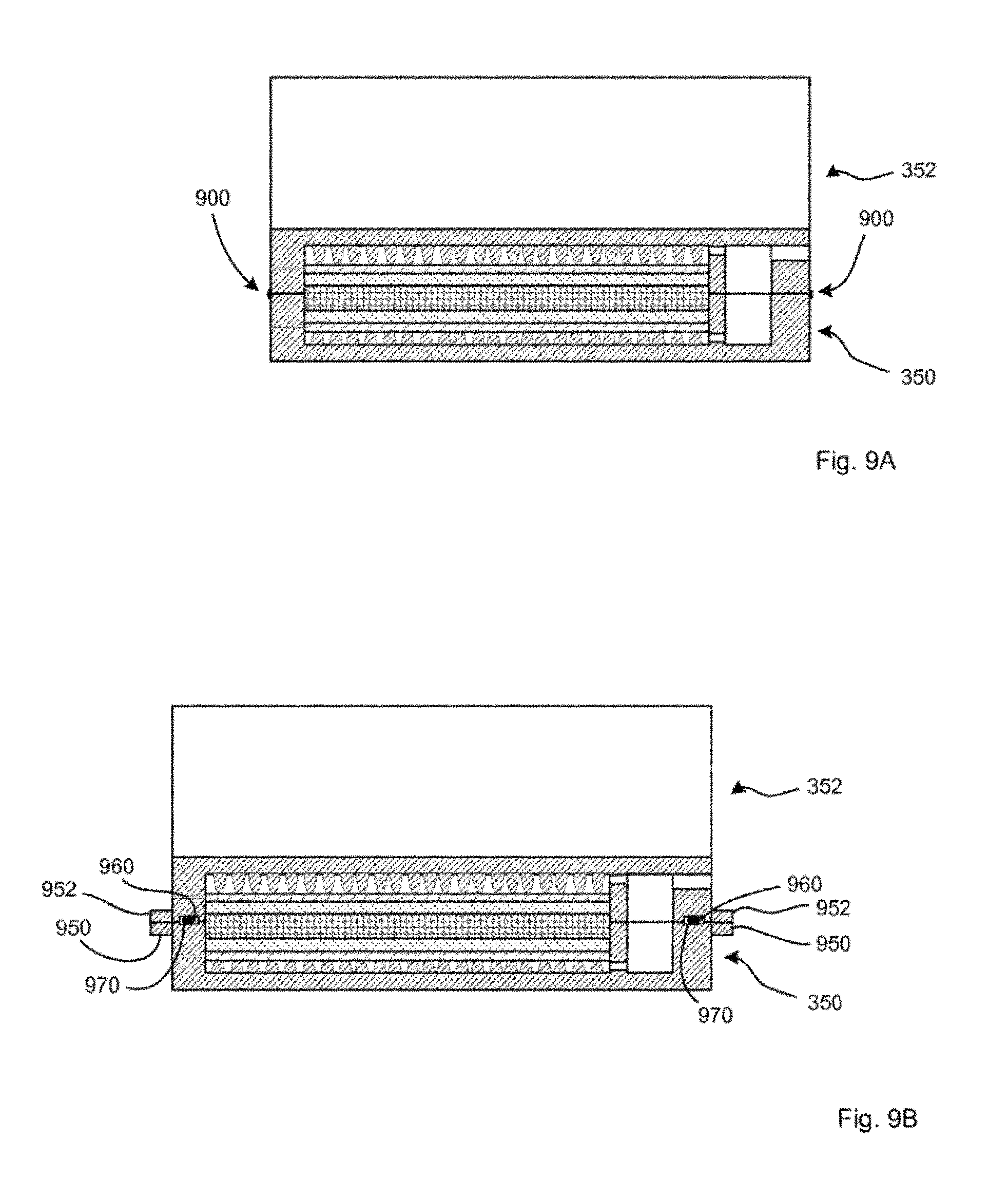
[0018]

In some general aspects, a system includes a working fluid and an electrochemical compressor. The working fluid includes a polar solvent that primarily acts as a condensable refrigerant and hydrogen that primarily acts as an electrochemically-active component. The electrochemical compressor includes an inlet fluidly coupled to an evaporator to receive the working fluid; an outlet fluidly coupled to a condenser; and one or more electrochemical cells electrically connected to each other through a power supply. Each electrochemical cell includes a gas pervious anode, a gas pervious cathode, and an electrolytic membrane disposed between and in intimate electrical contact with the cathode and the anode to pass the working fluid.

[0019]

Implementations can include one or more of the following features. For example, the electrolytic membrane can include a solid electrolyte. The working fluid can also include water. The polar solvent and the water can be a coexisting fluid that is transported with the hydrogen across the electrolytic membrane.

[0020]

The system can also include a condenser that transfers heat from a first heat reservoir to the working fluid, an evaporator that transfers heat from the working fluid to a second heat reservoir, and an expansion valve between the condenser and the evaporator that reduces pressure of the working fluid. The electrochemical compressor can be between the condenser and the evaporator.

[0021]

The polar solvent can include methanol. The mole fraction of hydrogen in the working fluid can be less than or equal to about 0.10 and the mole fraction of polar solvent in the working fluid can be between about 0.55-0.75. The mole fraction of hydrogen in the working fluid can be less than or equal to about 0.05 by mass and the mole fraction of polar solvent in the working fluid can be between about 0.60-0.80.

[0022]

In another general aspect, heat is transferred using a working fluid that is circulated through and contained within a closed loop by increasing a pressure of at least hydrogen of the working fluid by oxidizing the hydrogen at an anode, conducting the oxidized hydrogen across an electrolyte, and reducing the hydrogen at a cathode; and propelling a mixture of a polar solvent and water with the hydrogen across the anode, electrolyte, and cathode.

[0023]

Implementations can include one or more of the following features. For example, heat can be transferred by conveying heat from a first heat reservoir at a relatively low temperature to a second heat reservoir at relatively high temperature by circulating the working fluid through the closed loop that is thermally coupled to the first heat reservoir at a first portion and is thermally coupled to the second heat reservoir at a second portion. The heat can be conveyed by transferring heat from at least the polar solvent of the working fluid at the second loop portion to the second heat reservoir including liquefying at least some of the polar solvent of the working fluid; reducing a pressure of the at least partially liquefied working fluid by expanding the working fluid at a substantially constant enthalpy; and transferring heat from the first heat reservoir to at least the polar solvent of the working fluid at the first loop portion including vaporizing at least some of the polar solvent of the working fluid.

[0024]

In another general aspect, a heat transfer system conveys heat from a first heat reservoir at a relatively low temperature to a second heat reservoir at a relatively high temperature, the heat transfer system defining a closed loop that contains a working fluid, and at least part of the working fluid being circulated through the closed loop. The heat transfer system includes a working fluid that includes a polar solvent that primarily acts as a condensable refrigerant; and hydrogen that primarily acts as an electrochemically-active component; an evaporator that transfers heat from the first heat reservoir to the working fluid; a condenser that transfers heat from the working fluid to the second heat reservoir; an expansion valve between the evaporator and the condenser that reduces pressure of the working fluid; and an electrochemical compressor between the evaporator and the compressor. The electrochemical compressor includes one or more electrochemical cells electrically connected to each other through a power supply, each electrochemical cell comprising a gas pervious anode, a gas pervious cathode, and an electrolytic membrane disposed between and in intimate electrical contact with the cathode and the anode through which the working fluid is passed.

[0025]

Implementations can include one or more of the following features. For example, the heat transfer system can also include a control system that is connected to a power supply of the electrochemical compressor and to at least one sensor that senses a temperature associated with the first heat reservoir.

[0026]

The first heat reservoir can be an ambient environment within building at a relatively low temperature and the second heat reservoir can be an ambient environment external to the building and at a relatively high temperature.

[0027]

The first heat reservoir can be an ambient environment internal to an air duct of a building and the second heat reservoir can be an ambient environment external to the air duct of the building.

[0028]

The first heat reservoir can be a component of an integrated electronic circuit and the second heat reservoir can be an ambient environment around the integrated electronic circuit.

[0029]

The first heat reservoir can be a component of laser and the second heat reservoir can be an ambient environment around the laser.

[0030]

The first heat reservoir can be an ambient environment internal to a sealed cooler and the second heat reservoir can be an ambient environment external to the sealed cooler.

[0031]

The first heat reservoir can be an ambient environment internal to a food storage container and the second heat reservoir can be an ambient environment external to the food storage container.

[0032]

The first heat reservoir can be an ambient environment internal to a pharmaceutical storage container and the second heat reservoir can be an ambient environment external to the pharmaceutical storage container.

[0033]

The first heat reservoir can be an ambient environment internal to a sealed portable cooler and the second heat reservoir can be an ambient environment external to the sealed portable cooler.

[0034]

The first heat reservoir can be an ambient environment internal to an air duct of a vehicle and the second heat reservoir can be an ambient environment external to the vehicle air duct.

[0035]

The summary of the invention is provided as a general introduction to some of the embodiments of the invention, and is not intended to be limiting. Additional example embodiments including variations and alternative configurations of the invention are provided herein.

BRIEF DESCRIPTION OF THE DRAWINGS

[0036]

The accompanying drawings are included to provide a further understanding of the invention and are incorporated in and constitute a part of this specification, illustrate embodiments of the invention, and together with the description serve to explain the principles of the invention.

[0037]

FIG. 1 is a block diagram of a self-contained heat transfer system that defines a closed loop that contains a working fluid and includes an electrochemical compressor.

[0038]

FIG. 2 is a perspective view of the self-contained heat transfer system of FIG. 1.

[0039]

FIG. 3 is an aligned cross-sectional view of an exemplary self-contained heat transfer system based on the design of FIGS. 1 and 2.

[0040]

FIG. 4 is a side view of the heat transfer system of FIG. 3.

[0041]

FIG. 5A is a plan view of a first portion of a housing of the heat transfer system of FIGS. 3 and 4.

[0042]

FIG. 5B is an aligned side cross-sectional view taken along 5B-5B of the first portion of the housing of FIG. 5A.

[0043]

FIG. 6A is a plan view of a second portion of the housing of the heat transfer system of FIGS. 3 and 4.

[0044]

FIG. 6B is a side view of the second portion of the housing.

[0045]

FIG. 6C is an aligned cross-sectional view taken along 6C-6C of the second portion of the housing of FIG. 6A.

[0046]

FIG. 7 is a flow chart of a procedure for manufacturing the heat transfer system of FIGS. 3-6C.

[0047]

FIGS. 8-11 are cross-sectional views of the housing portions and internal components that demonstrate steps of the manufacturing procedure of FIG. 7.

[0048]

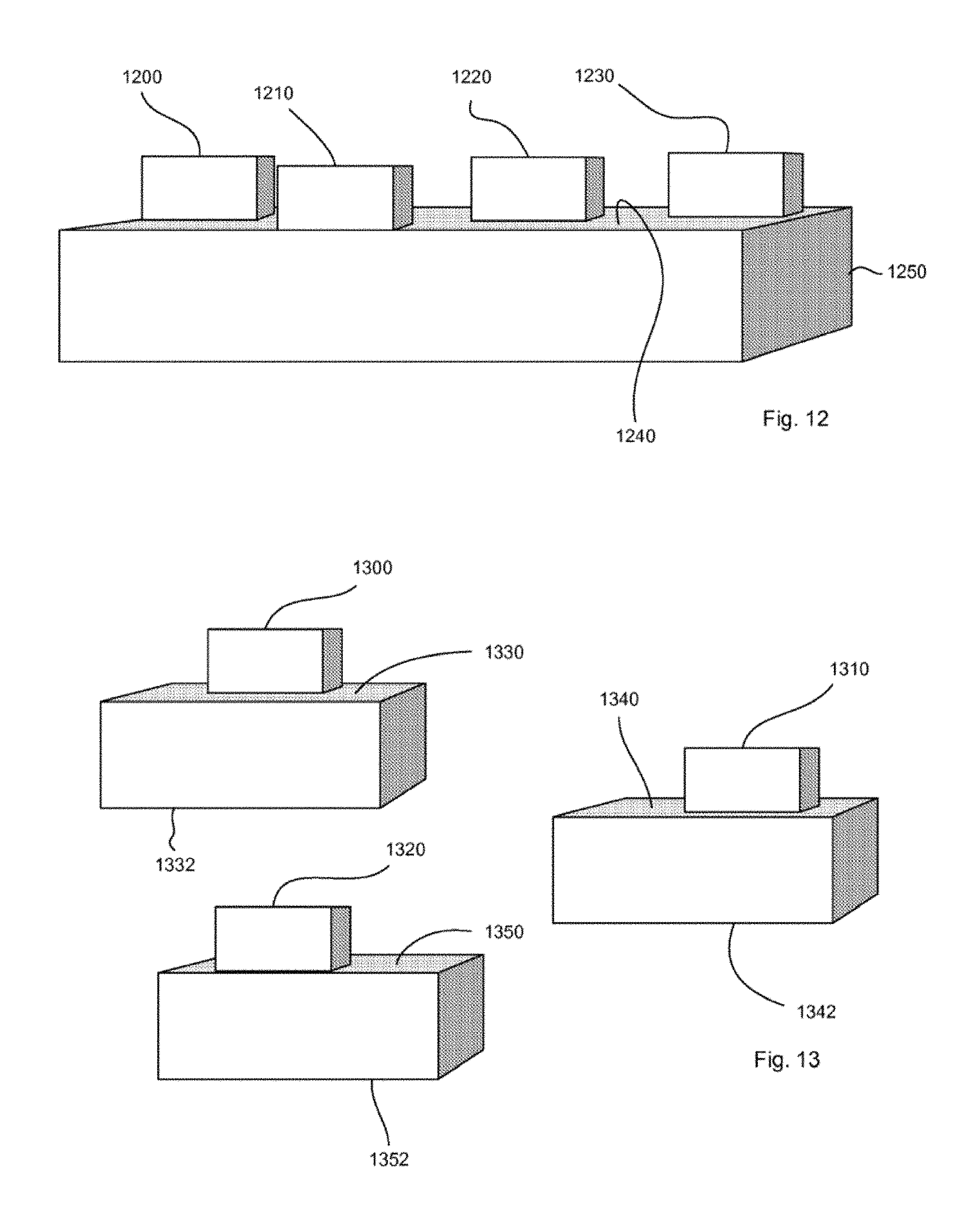
FIG. 12 is a perspective view of a plurality of self-contained heat transfer systems combined for use at distinct locations on a single device to be cooled.

[0049]

FIG. 13 is a perspective view of a plurality of self-contained heat transfer systems, each system at a location on a respective device to be cooled.

[0050]

FIG. 14 is a perspective view of an annularly-shaped self-contained heat transfer system for cooling a cylindrically-shaped device.

[0051]

FIG. 15 is a perspective view of a plurality of annularly-shaped self-contained heat transfer systems for cooling at distinct locations of a single cylindrically-shaped device.

[0052]

FIGS. 16-18 are electrical block diagrams of exemplary configurations of the power supply with a plurality of heat transfer systems.

[0053]

FIGS. 19-21 are perspective views showing the application of the heat transfer systems of FIGS. 1-18.

[0054]

FIG. 22 is a side view of an electrochemical cell having five bipolar plates stacked between a housing.

[0055]

FIG. 23 is an anode side view of an exemplary bipolar plate having port opening.

[0056]

FIG. 24 in a cathode side view of an exemplary bipolar plate having an exhaust port.

DETAILED DESCRIPTION OF THE ILLUSTRATED EMBODIMENTS

[0057]

Corresponding reference characters indicate corresponding parts throughout the several views of the figures. The figures represent an illustration of some of the embodiments of the present invention and are not to be construed as limiting the scope of the invention in any manner. Further, the figures are not necessarily to scale, some features may be exaggerated to show details of particular components. Therefore, specific structural and functional details disclosed herein are not to be interpreted as limiting, but merely as a representative basis for teaching one skilled in the art to variously employ the present invention.

[0058]

As used herein, the terms “comprises,” “comprising,” “includes,” “including,” “has,” “having” or any other variation thereof, are intended to cover a non-exclusive inclusion. For example, a process, method, article, or apparatus that comprises a list of elements is not necessarily limited to only those elements but may include other elements not expressly listed or inherent to such process, method, article, or apparatus. Also, use of “a” or “an” are employed to describe elements and components described herein. This is done merely for convenience and to give a general sense of the scope of the invention. This description should be read to include one or at least one and the singular also includes the plural unless it is obvious that it is meant otherwise.

[0059]

Certain exemplary embodiments of the present invention are described herein and are illustrated in the accompanying figures. The embodiments described are only for purposes of illustrating the present invention and should not be interpreted as limiting the scope of the invention. Other embodiments of the invention, and certain modifications, combinations and improvements of the described embodiments, will occur to those skilled in the art and all such alternate embodiments, combinations, modifications, improvements are within the scope of the present invention.

[0060]

Referring to FIG. 1, an exemplary electrochemical heat transfer system 100 is used to convey heat from a first heat reservoir 102 at a relatively low temperature to a second heat reservoir 104 at a relatively high temperature. The heat transfer system 100 can be considered to be self-contained since it constitutes a complete and independent unit in and of itself including all necessary components to function as a heat transfer system with merely a connection to a power supply 106. The power supply 106 can be a source of direct current electric power such as a battery or a rectifier or any other electric source capable of delivering direct current.

[0061]

The heat transfer system 100 is designed in some implementations within a hermetically-sealed housing 108 having an internal enclosure that is impervious to fluids outside the housing 108. The heat transfer system 100 is sized proportionally to a required cooling capacity and the size and shape of the system 100 is also be determined by the size and shape of the first heat reservoir. The heat transfer system 100 defines within its internal enclosure a closed loop that contains a working fluid (which is represented by the block arrows in FIG. 1).

[0062]

The heat transfer system 100 is an electrochemical system in that it includes an electrochemical compressor 110 within its internal enclosure. The electrochemical compressor 110 lacks moving parts and receives all of its energy from the power supply 106.

[0063]

The heat transfer system 100 includes a first heat transfer device 112 that transfers heat from the first heat reservoir 102 (which is any heat source or object to be cooled) to the working fluid, a second heat transfer device 114 that transfers heat from the working fluid to the second heat reservoir 104 (which is a heat sink), and an expansion space 116 fluidly linking the first and second heat transfer devices. The first heat transfer device 112 includes an evaporator that acts as a heat exchanger that places the working fluid in a heat exchange relationship with the first heat reservoir 102. The second heat transfer device 114 includes a condenser that acts as a heat exchanger that places the working fluid in a heat exchange relationship with the second heat reservoir 104.

[0064]

To enable the heat transfer, the first heat transfer device 112 has an exposed surface that is configured to be in thermal communication with the first heat reservoir 102 and the second heat transfer device 114 has an exposed surface that is configured to be in thermal communication with the second heat reservoir 104. The exposed surface of either or both of the heat transfer devices 112, 114 can be an exposed surface of the housing 108; in such a design, the wall of the housing 108 with the exposed surface is a thermally-conductive wall that would be considered a part of the respective heat transfer device so that the housing wall is an integral part of the heat transfer. The heat transfer devices 112, 114 can also include portions that are within the enclosure, so that they extend from exposed surface inward toward the compressor 110.

[0065]

The expansion space 116 is an orifice or opening that controls the amount of working fluid flow. The expansion space 116 can include a temperature sensing bulb filled with a similar gas as in the working fluid that causes a valve to open against the spring pressure in the valve body as the temperature on the bulb increases. As the temperature in the first heat transfer device 112 decreases, so does the pressure in the bulb and therefore on the spring causing the valve to close.

[0066]

The power supply 106 is controlled by a control system 118, which is connected to at least one sensor that measures or estimates a temperature of the first heat reservoir 102. In this way, the control system 118 provides closed-loop control of the operation of the power supply 106 and therefore the amount of cooling provided by the system 100 based on the temperature of the first heat reservoir 102. The control system 118 can also be connected to a sensor that measures or estimates an operating pressure of the compressor 110.

[0067]

The working fluid contained within the closed loop of the heat transfer system 100 includes at least a first component, the primary purpose of which is to be electrochemically active and therefore take part in the electrochemical process within the compressor 110 and at least a second component, the primary purpose of which is to act as a condensable refrigerant and therefore perform a heat transfer function in the closed loop. The first component (the electrochemically-active component) could also provide, as a secondary purpose, a heat transfer function in the closed loop. Thus, the electrochemically-active component could also undergo a transformation as it is transferred between the first heat transfer device 112 and the second heat transfer device 114, such transformation can include a phase change, though a phase change is not necessary to fulfill the heat transfer function. Additionally, the second component (the condensable refrigerant) could also provide, as a secondary purpose, an electrochemical function within the compressor 110.

[0068]

One particularly suitable first component is hydrogen. While hydrogen is being used primarily as the electrochemically active component of the working fluid, hydrogen also possesses useful heat transfer properties. Hydrogen's low density, high specific heat, and thermal conductivity make it an acceptable coolant. Thus, the presence of hydrogen gas within the working fluid enhances the performance of the condensable refrigerant; and provides thermal exchange opportunities at points away from thermally conductive surfaces of the fluid conduits and the heat transfer devices. Suitable second components include, for example, polar fluids such as methanol, ethanol, butanol, or propenol, which also can serve as a secondary purpose an electrochemical function.

[0069]

Additionally, the working fluid can include a third component such as water to hydrate an ion exchange membrane within the compressor 110 (as discussed below). Water can be considered a contaminant of some standard refrigerants, and it can negatively impact heat exchange performance of the refrigerant. Thus, water as a component of the working fluid can be reduced for example, to a minimal amount that is needed to provide enough hydration to one or more components of the compressor 110.

[0070]

In some implementations, the first component (which is electrochemically active) includes hydrogen (H.sub.2) and the second component (which is a condensable refrigerant) includes methanol. In this implementation, all components would be able to pass through the compressor 110, though some may not engage fully in electrochemical activity. The relative proportions of hydrogen and methanol are governed by the desired relative efficiency of the electrochemical compressor 110 and the system 100. The quantity of any water maintained in the working fluid is governed by the thickness of membranes employed in the compressor 110, the equivalent weight (acidity) of the ion exchange media employed in the compressor 110, and the amount of hydrogen in the system 100. Thinner membranes of higher equivalent weight (that is, lower acidity) employed in systems with lower proton capability require less water. In general, the working fluid includes less than 50% of water by mass, but can include less than 20% of water by mass, less than 10% of water by mass, or less than 1% of water by mass, depending on the application.

[0071]

In one particular implementation, the working fluid is made of less than or equal to about 0.10 mole fraction of hydrogen, between about 0.55-0.75 mole fraction of polar solvent (such as methanol), and between about 0.15-0.45 mole fraction of water. In other implementations, the working fluid is made of less than or equal to about 0.05 mole fraction of hydrogen, between about 0.50-0.70 mole fraction of polar solvent (such as methanol), and between about 0.25-0.50 mole fraction of water. The selection of the relative amounts of the components of the working fluid can be adjusted. In general, the system 100 needs enough hydrogen to pump the methanol through the system 100 and enough water to keep the electrolyte of the compressor 110 wet, but other than these two requirements, the percentage of hydrogen and water within the working fluid can be kept as low as possible.

[0072]

In particular, the coefficient of performance (COP) for the heat transfer system 100 increases as the relative amount of hydrogen in the working fluid is reduced. For example, for a working fluid that is composed of 0.038 mole fraction of hydrogen, 0.76 mole fraction of methanol, and 0.20 mole fraction of water, a compressor 110 operating at a pressure of about 2 bar and a temperature of about 161 C, an input power of 1.13 kW applied to the compressor 110, and an output power of 10.31 kW, the COP can reach 9.0. The COP is also impacted by the operating pressure of the compressor 110; so that by reducing the input power to the compressor 110 and therefore reducing the operating pressure of the compressor, the COP of the system 100 increases.

[0073]

Hydrogen as the electrochemically active component is a thermal fluid with higher thermal conductivity than other gases. Additionally, hydrogen has a root-mean-square (RMS) velocity that is 4-6 times that of typical refrigerants at room temperature. Because of these two features, hydrogen can readily transfer energy to other components of the working fluid such as the methanol and water. Moreover, hydrogen gas has a much lower viscosity than other refrigerants and provides for highly efficient gas compression.

[0074]

The choice of the refrigerant depends on the exact application under consideration and other external regulatory factors. Care should be taken in the selection of the refrigerant to ensure that the refrigerant does not degrade the electrochemical performance of the system or poison the electrocatalyst employed in the compressor 110.

[0075]

Generally, the refrigerant used in the working fluid should have good thermodynamic properties, be noncorrosive, stable, and safe. The desired thermodynamic properties are at a boiling point somewhat below the target temperature, a high heat of vaporization, a moderate density in liquid form, a relatively high density in gaseous form, and a high critical temperature. Since boiling point and gas density are affected by pressure, refrigerants can be made more suitable for a particular application by choice of operating pressure. The refrigerant can be electrochemically active, in which case it could take part in electrochemical compression.

[0076]

The electrochemical compressor 110 is a device that raises the pressure of at least one component of the working fluid by an electrochemical process. Accordingly, at least one component of the working fluid must be electrochemically active. In particular, the electrochemically active component (the first component) must be ionizable. For example, the electrochemically active component is oxidized at a gas pervious anode 120 of the compressor 110 and is reduced at a gas pervious cathode 122 of the compressor 110.

[0077]

In the implementation of FIG. 1, the compressor 110 includes only one exemplary cell. However, the electrochemical compressor 110 can include a plurality of electrochemical cells, as shown in FIGS. 3A-C of U.S. application Ser. No. 12/626,416, filed Nov. 25, 2009 and entitled “Electrochemical Compressor and Refrigeration System,” which is incorporated herein by reference in its entirety. In some implementations, the electrochemical compressor 110 is an annular stack of electrochemical cells electrically connected in series such as, for example, the cells generally described in U.S. Pat. No. 2,913,511 (Grubb); in U.S. Pat. No. 3,432,355 (Neidrach); and in U.S. Pat. No. 3,489,670 (Maget).

[0078]

The compressor 110 includes an electrolyte 124 that serves to conduct the ionic species (EC.sup.+) from the anode 120 to the cathode 122. The electrolyte 124 can be an impermeable solid ion exchange membrane having a porous microstructure and an ion exchange material impregnated through the membrane such that the electrolyte 124 can withstand an appreciable pressure gradient between its anode and cathode sides. The examples provided here employ impermeable ion exchange membranes, and the electrochemically active component of the working fluid is remixed with the working fluid after compression and thus the pressure of the working fluid is elevated prior to the condensation phase of the refrigeration process. However, a permeable ion exchange membrane is also feasible with the working fluid traversing in a unidirectional and sequential path through electrode assemblies with increasing pressure. The active components of the working fluid dissolve into the ion exchange media of the ion exchange membrane and the gas in the working fluid traverses through the ion exchange membrane.

[0079]

As another example, the electrolyte 124 can be made of a solid electrolyte, for example, a gel, that is, any solid, jelly-like material that can have properties ranging from soft and weak to hard and tough and being defined as a substantially dilute crosslinked system that exhibits no flow when in the steady-state. The solid electrolyte can be made very thin, for example, it can have a thickness of less than 0.2 mm, to provide additional strength to the gel. Alternatively, the solid electrolyte can have a thickness of less than 0.2 mm if it is reinforced with one or more reinforcing layers like a polytetrafluoroethylene (PTFE) membrane (having a thickness of about 0.04 mm or less) depending on the application and the ion exchange media of the electrolyte.

[0080]

Each of the anode 120 and the cathode 122 can be an electrocatalyst such as platinum or palladium or any other suitable candidate catalyst. The electrolyte 124 can be a solid polymer electrolyte such as Nafion (trademark for an ion exchange membrane manufactured by the I. E. DuPont DeNemours Company) or GoreSelect (trademark for a composite ion exchange membrane manufactured by W.L. Gore & Associates Inc.). The catalysts (that is, the anode 120 and the cathode 122) are intimately bonded to each side of the electrolyte 124. The anode 120 includes an anode gas space (a gas diffusion media) 126 and the cathode 122 includes a cathode gas space (a gas diffusion media) 128. The electrodes (the anode 120 and the cathode 122) of the compressor 110 can be considered as the electrocatalytic structure that is bonded to the solid electrolyte 124. The combination of the electrolyte 124 (which can be an ion exchange membrane) and the electrodes (the anode 120 and the cathode 122) is referred to as a membrane electrode assembly or MEA.

[0081]

Adjacent the anode gas space 126 is an anode current collector 130 and adjacent the cathode gas space 128 is a cathode current collector 132. The anode collector 130 and the cathode collector 132 are electrically driven by the power supply 106 through respective meshes 134, 136. The anode collector 130 and the cathode collector 132 are porous, electronically conductive structures that can be woven metal screens (also available from Tech Etch) or woven carbon cloth or pressed carbon fiber or variations thereof. The pores in the current collectors 130, 132 serve to facilitate the flow of gases within the gas spaces 126, 128 adjacent to the respective electrodes 120, 122.

[0082]

As mentioned, outer surfaces of the collectors 130, 132 can be electrically connected to and pressed against respective meshes 134, 136, which are electrically connected to respective outputs 138, 140 of the power supply 106. If the meshes 134, 136 are not used, then the outputs 138, 140 would be directly connected to the collectors 130, 132. The meshes 134, 136 are electrically conductive structures having pores that are generally larger than the pores of the collectors 130, 132. The meshes can be woven metal screens, woven carbon cloth, or pressed carbon fiber. The meshes 134, 136 also provide structural support to the compressor 110.

[0083]

Additionally, subassemblies of components of the electrochemical compressor or cells (if the compressor includes a plurality of cells) can be commercially obtained from manufacturers such as W.L. Gore & Associates Inc. under the PRIMEA trademark or Ion Power Inc. Commercially available assemblies are designed for oxygen reduction on one electrode and therefore the electrodes (the anode 120 and cathode 122) may need to be modified for hydrogen reduction.

[0084]

Hydrogen reduction at the cathode 122 actually requires lower loadings of precious metal catalysts and also is feasible with alternative lower cost catalysts such as palladium. Thus, the eventual production costs of assemblies employed in the system 100 are substantially lower than typical fuel cell components.

[0085]

As mentioned above, the control system 118 is coupled to one or more temperature sensors placed near the first heat reservoir 102 to monitor or measure the temperature of first heat reservoir 102. Additionally, the control system 118 sends a signal to the power supply 106 to control an amount of power to drive the electrochemical compressor 110 based at least in part on the feedback obtained from the temperature sensors. The control system 118 can be a general system including sub-components that perform distinct steps.

[0086]

The control system 118 can include one or more of digital electronic circuitry, computer hardware, firmware, and software. The control system 118 can also include appropriate input and output devices, a computer processor, and a computer program product tangibly embodied in a machine-readable storage device for execution by a programmable processor. A procedure embodying these techniques may be performed by a programmable processor executing a program of instructions to perform desired functions by operating on input data and generating appropriate output. Generally, a processor receives instructions and data from a read-only memory and/or a random access memory. Storage devices suitable for tangibly embodying computer program instructions and data include all forms of non-volatile memory, including, by way of example, semiconductor memory devices, such as EPROM, EEPROM, and flash memory devices; magnetic disks such as internal hard disks and removable disks; magneto-optical disks; and CD-ROM disks. Any of the foregoing may be supplemented by, or incorporated in, specially-designed ASICs (application-specific integrated circuits).

[0087]

The control system 118 receives information from the one or more temperature sensors and controls operation of a procedure that can either maintain the heat source or the heat sink at a relatively constant temperature condition. Additionally, controlling the operation of the electrochemical compressor 110 consists of turning its current on or off through the power supply 106. Alternatively, the voltage applied to the electrochemical compressor 110 can be set to be in proportion to the heat source fluid temperature or the heat sink fluid temperature (if fluids are used in the heat source or heat sinks) In some applications, such as electric cars without internal combustion engines, there may be an advantage in operating the vehicle air conditioning system electrically and driving each wheel independently without a central motor (required to drive the air conditioning system).

[0088]

Referring also to FIG. 2, the hermetically-sealed housing 108 is designed with two portions 250, 252, each portion 250, 252 including one or more walls including at least one thermally-conductive wall. The portions 250, 252 are each designed with an internal opening or cavity to receive the compressor 110 and the respective meshes 134, 136, as shown below in the exemplary system shown in FIG. 3. The two portions 250, 252 are sized and shaped to mate with each other at an interface 254. At least one of the portions 250, 252 includes an opening 256 through which the working fluid is initially inserted into the enclosure.

[0089]

The closed loop is formed such that the working fluid passes through the expansion space 116, then through a cavity in the first heat transfer device 112 (which is within the first housing portion 250), through the electrochemical compressor 110, then through a cavity in the second heat transfer device 114 (which is within the second housing portion 252), and back to the expansion space 116. Heat is transferred using the working fluid as it is circulated through and contained within the closed loop of the heat transfer system 100.

[0090]

Low pressure (that is, unpressurized) working fluid (which can be a mixture of hydrogen, methanol, and water) enters the compressor 110 after it exits the expansion space 116.

[0091]

If the working fluid includes a condensable refrigerant that does not engage in electrochemical activity, then the electrochemically active component(s) (such as hydrogen and water) is dissociated from the condensable refrigerant. In this case, the electrochemically active component(s) dissolve into the ion exchange media while the condensable refrigerant is diverted along a path separate from the electrochemical path through the membrane electrode assembly.

[0092]

In any case, the electrochemically active component(s) is pumped across the membrane electrode assembly of the compressor 110. In particular, electrons are stripped from the component(s) at the anode collector 130, and the ions are transported across the anode 120, the electrolyte 124, and toward the cathode 122 due to the electrical potential applied across the collectors 130, 132 from the power supply 106. Next, the ions are recombined with the electrons at the cathode collector 132 to reform the gas at a higher pressure.

[0093]

Thus, the electrochemical compressor 110 raises the pressure of the working fluid and delivers the higher pressure working fluid to the second heat transfer device 114, where the condensable refrigerant is precipitated by heat exchange with the sink fluid. The working fluid is then reduced in pressure in the expansion space 116. Subsequently, the low pressure working fluid is delivered to the first heat transfer device 112 where the condensed phase of the working fluid is boiled by heat exchange with the source fluid. The effluent working fluid within the first heat transfer device 112 may be partially in the gas phase and partially in the liquid phase when it is returned to the electrochemical compressor 110. In the process, heat energy is transported from the first heat transfer device 112 (the evaporator) to the second heat transfer device 114 (the condenser) and consequently, from the heat source at a relatively lower temperature to the heat sink at relatively higher temperature.

[0094]

In particular, if the electrochemically-active component is hydrogen and the condensable refrigerant is methanol and water is included as a third component of the working fluid, then electrons are stripped from the hydrogen at the anode collector 130, and the remaining ions (protons) are transported across the anode 120, the electrolyte 124, and toward the cathode 122. The protons from the hydrogen act like a propellant that mixes with the methanol and water to drag or pull the methanol and water across the electrolyte 124 and toward the cathode 122, and the protons are recombined with electrons at the cathode collector 132 to reform hydrogen gas at a higher pressure and at a relatively warmer temperature.

[0095]

Concurrently, the control system 118 controls the amount of electrical potential applied to the current collectors 130, 132 of the compressor 110, and therefore also controlling the amount of heat energy transported from the evaporator to the condenser. The control system 118 receives information from the one or more sensors at the heat reservoir 102 or at the heat reservoir 104 indicating physical characteristics at key locations. The control system 118 analyzes the information and determines whether physical properties of the heat transfer system 100 need to be adjusted based on the analyzed information. For example, the control system 118 can determine that a current applied to the compressor 110 (and therefore the current applied to the electrode collectors 130, 132) needs to be adjusted. As another example, the control system 118 can determine that a flow rate of one or more of the heat sink fluid and the heat source fluid that transport heat from and to the devices 112, 114 needs to be adjusted. If the control system 118 determines that a physical property of the system 100 should be adjusted, then the control system 118 sends a signal to the component that is affected to adjust the particular property. For example, the control system 118 can send a signal to the power supply 106 to adjust the amount of current applied to the current collectors 130, 132 in the compressor 110. Otherwise, the control system 118 continues to receive information from the one or more sensors.

[0096]

Referring to FIGS. 3 and 4, an exemplary heat transfer system 300 is designed with the features of the system 100 in that the system 300 is a self-contained electrochemical heat transfer system formed between and from first and second housing portions 350, 352. The first and second housing portions 350, 352 can be made of any thermally conductive material such as aluminum, zinc, gold, alloys of metals, or thermally-conductive polymers. The first and second housing portions 350, 352 receive an electrochemical compressor 310 sandwiched between a first heat transfer device 312 and a second heat transfer device 314. For simplicity, the electrochemical compressor 310 is shown in block form in FIG. 3; however, the compressor 310 includes all of the components that make up the compressor 110 shown in FIG. 1 and described above. The first and second heat transfer devices 312, 314 are respectively housed in and incorporated in the first and second housing portions 350, 352, which are joined along an interface 354. The second housing portion 352 also includes an opening 356 that is sealed with a suitable sealant such as epoxy after working fluid is introduced into the cavity formed between the portions 350, 352.

[0097]

Referring also to FIGS. 5A and 58, the first housing portion 350 includes an opening 500 for receiving the output 338 from the power supply 106. The first housing portion 350 also includes an opening 316A that is one half of the expansion space, the other half formed from an opening 316B (shown in FIGS. 3, 6A, and 6C) within the second housing portion 352. The opening 316A is aligned with the opening 316B when the housing portions 350, 352 are pressed together, as shown in FIG. 3.

[0098]

The first housing portion 350 also includes one or more channels 504 that fluidly connect the opening 316A with a cavity 508 that is sized and shaped to receive the mesh 334, the working fluid, and at least part of the electrochemical compressor 310. The first housing portion 350 includes a thermally-conductive wall 512 that defines a surface 518 that is exposed to the first heat reservoir. The thermally-conductive wall 512 is an integral part of a first heat transfer device 312. The thermally-conductive wall 512 of the first heat transfer device 312 also includes an inner surface having protrusions 520 (only one of which is labeled in each of FIGS. 5A and 5B for simplicity) that are separated by gaps or spaces 522 (only one of which is labeled in each of FIGS. 5A and 58B for simplicity) through which the working fluid flows. The mesh 334 makes physical contact with the protrusions 520 when the housing portions 350, 352 are pressed together. Much of the working fluid likely vaporizes within the spaces 522 since the spaces 522 are the areas/regions that place the working fluid the closest in distance to the first heat reservoir.

[0099]

Referring also to FIGS. 6A-6C, the second housing portion 352 includes an opening 600 for receiving the output 340 from the power supply 106. The second housing portion 352 also includes the opening 316B that is one half of the expansion space. The opening 316B aligns with the opening 316A when the housing portions 350, 352 are pressed together, as shown in FIG. 3.

[0100]

The second housing portion 352 also includes one or more channels 604 that fluidly connect the opening 316B with a cavity 608 that is sized and shaped to receive the mesh 336, the working fluid, and at least part of the electrochemical compressor 310. The second housing portion 352 includes an opening 656 through which the working fluid is initially inserted into the enclosure; the opening 656 is a through opening that extends from an exterior of the portion 352 to the opening 316B.

[0101]

The second housing portion 352 includes a thermally-conductive wall 612 that defines a surface 618 that is exposed to the second heat reservoir. The wall 612 can be shaped, as shown in FIGS. 4 and 68, with fins to increase the area of the surface 618 exposed to the second heat reservoir. The thermally-conductive wall 612 is an integral part of a second heat transfer device 314. The thermally-conductive wall 612 of the second heat transfer device 314 also includes an inner surface having protrusions 620 (only one of which is labeled in each of FIGS. 6A and 6C for simplicity) that are separated by gaps or spaces 622 (only one of which is labeled in each of FIGS. 6A and 6C for simplicity) through which the working fluid flows. The mesh 336 makes physical contact with the protrusions 620 when the housing portions 350, 352 are pressed together. Much of the condensable portion of the working fluid likely condenses within the spaces 622 since the spaces 622 are the areas/regions that place the working fluid the closest in distance to the second heat reservoir.

[0102]

Referring to FIG. 7, a procedure 700 is performed to manufacture the self-contained heat transfer system 300. Initially the first housing portion 350 is prepared (step 710) and the second housing portion 352 is prepared (step 720). Each of the housing portions 350, 352 can be prepared by any suitable method, such as, for example, die casting each of the housing portions 350, 352. In die casting, molten metal is forced under high pressure into mold cavities (which are machined into dies) and then permitted to cool before being removed. The die casting method is especially suited in this application since a large quantity of small to medium sized parts may be needed with good detail, a fine surface quality, and dimensional consistency. In other implementations, the housing portions 350, 352 are machined from blanks into the appropriate geometries. For example, the cavities 508, 608 and the openings 316A, B can be machined into respective blanks. In some implementations, it is possible to use both methods of die casting and machining to form the housing portions 350, 352.

[0103]

The shapes of the housing portions 350, 352 are determined based in part on the heat transfer application and the geometries of the heat reservoirs. For example, if the first heat reservoir has a planar shape (such as shown in FIGS. 12 and 13), then the housing portions 350, 352 would have planar shapes. As another example, if the first heat reservoir has a cylindrical shape (such as shown in FIGS. 14 and 15), then the housing portions 350, 352 would have annular shapes.

[0104]

Next, the electrochemical compressor 310 is inserted between the first and second housing portions 350, 352 (step 730) and the housing portions 350, 352 are combined or pressed together with the compressor 310 positioned partly within each of the cavities 508, 608 (step 740), as shown in FIG. 8. After the housing portions 350, 352 are pressed together (step 740), the housing portions 350, 352 are hermetically sealed at the interface 354 (step 750).

[0105]

In some implementations, as shown in FIG. 9A, the housing portions 350, 352 are soldered or welded 900 around the perimeter of the interface 354 to provide the hermitic seal. In this implementation, it is also possible to subsequently saturate the interface 354 after it has been soldered or welded 900 with a suitable adhesive such as epoxy. In other implementations, as shown in FIG. 98, the housing portions 350, 352 are joined at aligned flanges 950, 952 using suitable connectors (such as bolts and nuts, not shown) and the hermetic seal is provided along an O-ring or a gasket 960 provided in a groove 970 around one or more of the housing portions 350, 352.

[0106]

Next, the working fluid is inserted into the cavity or enclosure formed within the housing portions 350, 352 (step 760). For example, as shown in FIG. 10, the working fluid 1000 is inserted through the opening 356. After the enclosure is filled with the working fluid (step 760), the remaining openings of the housing portions 350, 352 are hermetically sealed (step 770). For example, as shown in FIG. 11, the openings 500, 600 are sealed with a suitable adhesive 1100 such as epoxy or solder, and the opening 356 is sealed with a suitable adhesive 1110 such as epoxy.

[0107]

The heat transfer systems described herein offer a system that integrates all of the components required to implement heat transfer, such as the electrochemical compressor, a gas mixing device at an output of the compressor (which is needed for a multi-component working fluid having a component that bypasses the compressor), a power connection, and heat transfer devices into a single housing to provide small working devices. Such small working devices are therefore inherently modular and self contained. These systems can be made for a wider range of heat transfer applications, for example, for both small and large heat transfer applications. Systems employed in a heat transfer application can be of different sizes and there is no limitation to how many can be used in a particular application.

[0108]

In general, in operation of the system 100, the working fluid, which is a cool liquid mixture of the methanol and water and the hydrogen gas, circulates in internal engineered channels (that is, the gaps or spaces 522) between the first heat reservoir 102 (which is the item to be cooled) and the compressor 110 and the working fluid absorbs the heat from the reservoir 102. Above the engineered channels, the electrochemical compressor 110 absorbs the working fluid, including the liquid mixture of the methanol and the water and the hydrogen gas, and transports the working fluid to the other side, pressuring the working fluid. The pressure of the hydrogen exiting the compressor 110 is above atmospheric pressure. Next, the slightly pressurized working fluids from the compressor 110 release energy to the second heat reservoir 104 (which can be the ambient environment) at the second heat transfer device 114 (which in the example shown above is a high surface-area heat exchanger). The slightly pressurized working fluids (which is a mixture of the methanol and water fluid and the hydrogen gas) that exits the second heat transfer device 114 is conveyed through the expansion space 116, which can be an orifice, where it expands and cools down.

[0109]

For example, as shown in FIGS. 12-15, the heat transfer systems can be combined to provide the specific cooling or heating requirements depending on the geometry of the device(s) to be cooled. Thus, in FIG. 12, each heat transfer system 1200, 1210, 1220, 1230 is placed at a distinct location on a surface 1240 of a device 1250 to be cooled and because the device to be cooled is planar, the heat transfer systems are planar. In FIG. 13, each planar heat transfer system 1300, 1310, 1320 is placed on surfaces 1330, 1340, 1350 at respective distinct devices 1332, 1342, 1352 that is part of a master system that has a planar shape. In FIG. 14, a single annular heat transfer system 1400 is in thermal communication with a surface 1410 of a cylindrically-shaped device 1420 to cool the cylindrically-shaped device 1420. While in FIG. 15, three annular heat transfer systems 1500, 1510, 1520 are placed in thermally communication at distinct locations on a surface 1530 of a cylindrically-shaped device 1540 to be cooled.

[0110]

Any of the devices to be cooled shown in FIGS. 12-15 could be components of an integrated electronic circuit or of a laser such as a laser diode. In these cases, the first heat reservoir would be the component itself and the second heat reservoir would be an ambient environment around the component.

[0111]

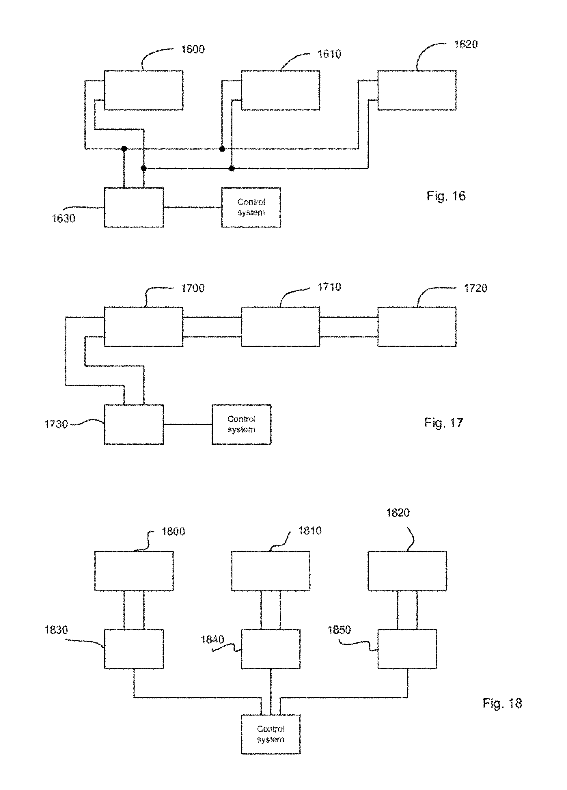
The heat transfer systems can be operated together or separately for specific applications requirements. In some implementations, as shown in FIG. 16, a plurality of heat transfer systems 1600, 1610, 1620 is connected in parallel with a power supply 1630. In other implementations, as shown in FIG. 17, a plurality of heat transfer systems 1700, 1710, 1720 is connected in series with a power supply 1730. In yet other implementations, as shown in FIG. 18, each heat transfer system 1800, 1810, 1820 is connected to a respective power supply 1830, 1840, 1850. Each of the power supplies 1630, 1730, 1830, 1840, 1850 can be controlled by a control system such as the control system 118 shown in FIG. 1.

[0112]

The energy efficiency of the self-contained heat transfer system described herein depends on the available electrode (anode and cathode) surface area, and the applied current density and operating voltage of the electrochemical compressor.

[0113]

The self-contained heat transfer systems are able to be integrated because the electrochemical compressor used is reduced in size when compared with prior compressors used in heat transfer applications. If a heat transfer application requires more significant size reductions, the electrode surfaces (the surfaces of the anodes and cathodes) can be reduced even more, the applied current densities and voltages can be increased, and a smaller compressor can be employed. This would result in an almost order of magnitude reduction in size and weight for the heat transfer system compared to conventional mechanical systems.

[0114]

Since cooling capacity is linked to applied current and voltage, one advantage of the self-contained heat transfer system is that it can modulate from low capacity (that is, low current density at a specific voltage) to a high capacity relatively easily. A heat transfer system designed to operate at high capacities actually becomes more efficient at lower utilizations, while, the exact opposite is true for mechanical systems. Similarly, in a modular configuration, power can be provided to some of the self-contained heat transfer systems (or units), and not others to, for example maintain lower levels of cooling capability.

[0115]

This feature would allow, for example, refrigerators and other devices to split their cooling capabilities (and even compartment temperatures) without sacrificing system efficiency. For example, a vegetable rack of a refrigerator could be kept at a different temperature than the top rack for liquids. Thus, a control system would operate at two levels; individual units can be controlled, as well as a whole body of units can be controlled for optimum cooling effect for a specific application.

[0116]

In some applications, such as in electric cars, individual areas of the vehicle can be kept at different temperatures (such as a driver area versus passenger areas) with controls provided to specific seating areas.

[0117]

As discussed above, controlling the operation of an electrochemical compressor within the self-contained heat transfer system consists of turning its current on or off. Alternatively, one can schedule the voltage applied to the electrochemical compressor in proportion to the source or the sink fluid temperature.

[0118]

In some implementations, the heat transfer system includes, though does not necessarily require, one or more one-way valves at the output of the electrochemical compressor. The one-way valve can be any mechanical device, such as a check valve, that normally allows fluid (liquid or gas) to flow through it in only one direction (the direction of the arrows). The valves ensure proper delivery of the components of the working fluid that exit the electrochemical compressor into the rest of the heat transfer system by reducing or avoiding back-pressure into the electrochemical compressor, and therefore ensure unidirectional flow of the fluids (which include gases).

[0119]

In other implementations, hydrogen can be used in a multi-component working fluid that also includes a condensable refrigerant such as a polar fluid that bypasses electrochemical compression. In this case, the hydrogen would be compressed by the compressor 110 to a much higher pressure than the final working fluid pressure, and would then mix with the lower pressure component of the working fluid (the one that bypasses the compressor 110). The exact pressure requirements for the hydrogen stream depends on the volume of condensable component being pressurized in relation to the volume of hydrogen, the desired final pressure requirements of the mixed stream, and the targeted energy efficiency. In some implementations, check valves can be employed to make sure the gas flows are maintained in the intended directions and that no back flow is allowed towards the compressor 110.

[0120]

Referring to FIG. 19, in one implementation, one or more heat transfer systems 1900 are set up to provide cooling to a building through an opening 1905 such as a window of the building. In this implementation, each system 1900 is arranged so that the thermally-conductive wall 1980 of the first housing portion of the system 1900 makes thermal contact with the first heat reservoir 1902, which, in this implementation, is an ambient environment within the building. Additionally, the thermally-conductive wall 1990 of the second housing portion of each system 1900 makes thermal contact with the second heat reservoir 1904, which in this implementation, is an ambient environment external to the building.

[0121]

One or more power supplies 1906 are electrically connected to each of the electrochemical compressors within each system 1900 and one or more control systems 1918 are configured to receive information from sensors that sense a temperature of the ambient environment 1902 or that sense other characteristics of the system 1900 and to send signals to the power supplies 1906 based on the received information.

[0122]

Referring to FIG. 20, in another implementation, one or more heat transfer systems 2000 are set up to provide cooling to a building or to a vehicle by cooling the air that travels through air ducts 2005 within the building or the vehicle. In this implementation, each system 2000 is arranged so that the thermally-conductive wall 2080 of the first housing portion of the system 2000 makes thermal contact with the first heat reservoir 2002, which, in this implementation, is an ambient environment internal to the air duct 2005. Additionally, the thermally-conductive wall 2090 of the second housing portion of the system 2000 makes thermal contact with the second heat reservoir 2004, which, in this implementation, is an ambient environment external to the air duct 2005. One or more power supplies 2006 are electrically connected to each of the electrochemical compressors within each system 2000 and one or more control systems 2018 are configured to receive information from sensors that sense a temperature of the ambient environment 2002 or that sense other characteristics of the system 2000 and to send signals to the power supplies 2006 based on the received information.

[0123]

Referring to FIG. 21, in another implementation, one or more heat transfer systems 2100 are set up to provide cooling to an inside of a container 2105 such as a sealed cooler, a food storage container, a pharmaceutical storage container, or a sealed portable cooler. In this implementation, each system 2100 is arranged so that the thermally-conductive wall 2180 of the first housing portion makes thermal contact with the first heat reservoir 2102, which, in this implementation, is an ambient environment internal to the container 2105. Additionally, the thermally-conductive wall 2190 of the second housing portion of the system 2100 makes thermal contact with the second heat reservoir 2104, which in this implementation, is an ambient environment external to the container 2105. One or more power supplies 2106 are electrically connected to each of the electrochemical compressors within each system 2100 and one or more control systems 2118 are configured to receive information from sensors that sense a temperature of the ambient environment internal to the container 2105 or that sense other characteristics of the system 2100 and to send signals to the power supplies 2106 based on the received information.

[0124]

Referring now to FIGS. 22-24, an exemplary electrochemical cell 10 has five bipolar plates 20 stacked between a housing. The electrochemical cell 10 is configured in an enclosure 71 that may be at a pressure below atmospheric pressure, or under vacuum. This may be done to prevent the release of components of the working fluid into the ambient environment, such as hydrogen, for example. Each bipolar plate has an anode side 24 and a cathode side 25, as shown in FIGS. 23 and 24, and port openings 49 along the length of the bipolar plate, or along the side 29, versus the end 28 of the bipolar plate, that lead to the anode side 24 for delivery of working fluid to the anode. The bipolar plates have a length 22 and a width 21. The aspect ratio of the bipolar plates, or length to width, is more than three. The anode side 24 has a plurality of port openings 48 that extend into and over the anode 40 of a membrane electrode assembly, MEA, 12. The port openings 41 extend about 35% or more of the length 42 of the anode of the MEA. The anode flow channels 48 extend across the bipolar plate from a first side to a second side. This high percentage of opening into the anode reduce inlet pressure. The width of the anode 43 is also less than half of the length of the anode 42. The cathode side of the bipolar plate 25 has flow channels 58 that lead to an exhaust port 59. The width of the cathode 53 is also less than half of the length of the cathode 52. The pressure drop through the bipolar plate on the anode side, or the difference between Pi to Po, may be kept relatively low due to the high percentage of the port openings along the anode length. The anode length 42 is the length of the active area of the anode, or where reactions occur.

[0125]

In one embodiment of this invention, side ports are established in molded carbon/graphite plates that have an aspect ratio defined by width to the height of the individual ports.

[0126]

In a second embodiment of this invention, side entry ports are established using metallic plates. Such plates may be produced either by coining (stamping method) or by embossing two thin metal plates and welding two flow patterns (for anode and cathode).

[0127]

In a third embodiment, ports are placed at one end of the stack assembly or subassembly, and gases are fed into individual chambers using wide width channels, and in effect side entry is replaced by simple porting at one of the assembly.

[0128]

In another embodiment of this invention, in addition to improving bipolar plate design, two or more membrane cell assemblies are positioned back to back between bipolar plates.

[0129]

In another embodiment of this invention, the cells are placed within a hermetically sealed canister. The cells are open, top and bottom, for entry and exit of anode reactants i.e. are not dead headed like fuel cells, and do not have to be actively purged. Thus, the cells are simpler and do not have to carry accessories more typically associated with fuel cells such as fans, and purging systems.

[0130]

In a further embodiment, no external fan or device is used to push reactants into the cell infrastructure

[0131]

It will be apparent to those skilled in the art that various modifications, combinations and variations can be made in the present invention without departing from the spirit or scope of the invention. Specific embodiments, features and elements described herein may be modified, and/or combined in any suitable manner. Thus, it is intended that the present invention cover the modifications, combinations and variations of this invention provided they come within the scope of the appended claims and their equivalents.

Как компенсировать расходы
на инновационную разработку
Похожие патенты