патент
№ US 0010985404
МПК H01M6/04

Electrolyte for lithium secondary battery, and lithium secondary battery comprising electrolyte

Авторы:
Pavel Shatunov Olga Tsay Aeran Kim
Все (24)
Правообладатель:
Все (3)
Номер заявки
16655123
Дата подачи заявки
16.10.2019
Опубликовано
20.04.2021
Страна
US
Дата приоритета
15.12.2025
Номер приоритета
Страна приоритета
Как управлять
интеллектуальной собственностью
Чертежи 
8
Реферат

[0000]

The present invention relates to an electrolyte for a lithium secondary battery, and a lithium secondary battery including the electrolyte. The electrolyte includes a non-aqueous organic solvent; a lithium salt; a first additive including a compound represented by Chemical Formula 1; and a second additive including LiN(CxF2x+1SO2)(CyF2y+1SO2), wherein 0≤x≤20 and 0≤y≤20:

[0000]


wherein, in Chemical Formula 1, A is a substituted or unsubstituted aliphatic chain or (—C2H4—O—C2H4-)n, and n is an integer from 1 to 10.

[00000]

Формула изобретения

1. An electrolyte for a lithium secondary battery, comprising:

a non-aqueous organic solvent;

a lithium salt;

a first additive comprising a compound represented by Chemical Formula 1; and

a second additive comprising LiN(CxF2x+1SO2)(CyF2y+1SO2), wherein 0≤x≤20 and 0≤y≤20:

and

wherein, in Chemical Formula 1, A is a substituted or unsubstituted aliphatic chain or (—C2H4—O—C2H4-)n, and n is an integer from 1 to 10.

2. The electrolyte of claim 1, wherein in Chemical Formula 1, A is a C2 to C20 hydrocarbon chain or (—C2H4—O—C2H4-)n, and n is an integer from 1 to 5.

3. The electrolyte of claim 1, wherein the compound represented by Chemical Formula 1 is a compound represented by Chemical Formula 1-1:

4. The electrolyte of claim 1, wherein the second additive comprises LiN(FSO2)2, Li(CF3SO2)2N, LiN(CxF2x+1SO2)(CyF2y+1SO2), or a combination thereof, and wherein 2≤x≤20 and 2≤y≤20.

5. The electrolyte of claim 1, wherein the first additive is 0.1 wt % to 5 wt % in amount based on a total amount of the electrolyte.

6. The electrolyte of claim 5, wherein the first additive is 0.25 wt % to 2 wt % in amount based on the total amount of the electrolyte.

7. The electrolyte of claim 1, wherein the second additive is 0.1 wt % to 5 wt % in amount based on a total amount of the electrolyte.

8. The electrolyte of claim 7, wherein the second additive is 0.5 wt % to 2 wt % in amount based on the total amount of the electrolyte.

9. The electrolyte of claim 1, wherein a total amount of the first additive and the second additive is 0.5 wt % to 6 wt % based on a total amount of the electrolyte.

10. The electrolyte of claim 1, wherein the electrolyte further comprises a third additive selected from fluoroethylene carbonate, vinylethylene carbonate, vinylene carbonate, succinonitrile, hexane tricyanide, lithium tetrafluoroborate, propane sultone, and a combination thereof.

11. The electrolyte of claim 10, wherein the third additive is 0.1 wt % to 20 wt % in amount based on a total amount of the electrolyte.

12. The electrolyte of claim 1, wherein the lithium salt is selected from LiPF6, LiSbF6, LiAsF6, LiN(SO2C2F5)2, LiC4F9SO3, LiClO4, LiAlO2, LiAlCl4, LiCl, LiI, LiB(C2O4)2, LiBOB, LiDFOP, LiDFOB, and LiPO2F2.

13. A lithium secondary battery, comprising:

a positive electrode comprising a positive active material;

a negative electrode comprising a negative active material; and

the electrolyte of claim 1.

14. A lithium secondary battery additive, comprising:

a first additive comprising a compound represented by Chemical Formula 1; and

a second additive comprising LiN(CxF2x+1SO2)(CyF2y+1SO2), wherein 0≤x≤20 and 0≤y≤20:

and

wherein, in Chemical Formula 1, A is a substituted or unsubstituted aliphatic chain or (—C2H4—O—C2H4-)n, and n is an integer ranging from 1 to 10.

15. A method of manufacturing the lithium secondary battery additive of claim 14, the method comprising:

providing the first additive comprising the compound represented by Chemical Formula 1; and

providing the second additive comprising LiN(CxF2x+1SO2)(CyF2y+1SO2), wherein 0≤x≤20 and 0≤y≤20 with the first additive.

Описание

CROSS-REFERENCE TO RELATED APPLICATION(S)

[0001]

This application is a continuation-in-part of U.S. patent application Ser. No. 16/335,240, filed on Mar. 20, 2019, which is a National Phase Patent Application of International Patent Application Number PCT/KR2017/009934, filed on Sep. 11, 2017, which claims priority of Korean Patent Application No. 10-2016-0126806, filed on Sep. 30, 2016. The entire contents of all of which are incorporated herein by reference.

TECHNICAL FIELD

[0002]

This disclosure relates to an electrolyte for a lithium secondary battery and a lithium secondary battery including the same.

BACKGROUND ART

[0003]

A portable information device such as a cell phone, a laptop, smart phone, and the like or an electric vehicle has used a lithium secondary battery having high energy density and easy portability as a driving power source.

[0004]

In general, a lithium secondary battery is manufactured by using materials capable of reversibly intercalating and deintercalating lithium ions as a positive active material and a negative active material and filling an electrolyte between the positive electrode and the negative electrode.

[0005]

Lithium-transition metal oxides are used as the positive active material of the lithium secondary battery, various types of carbon-based materials are used as the negative active material, and lithium salts dissolved in the non-aqueous organic solvent are used as an electrolyte.

[0006]

In particular, as a lithium secondary battery exhibits battery characteristics by complex reactions such as those between a positive electrode and an electrolyte, a negative electrode and an electrolyte, and the like, the use of a suitable electrolyte is one of important parameters for improving the performance of a lithium secondary battery.

DETAILED DESCRIPTION OF THE INVENTION

Technical Problem

[0007]

Embodiments provide an electrolyte capable of improving characteristics of a lithium secondary battery and a lithium secondary battery including the same.

Technical Solution

[0008]

In one aspect, the present disclosure provides an electrolyte for a lithium secondary battery including a non-aqueous organic solvent, a lithium salt, a first additive including a compound represented by Chemical Formula 1, and a second additive including LiN(CxF2x+1SO2)(CyF2y+1SO2), wherein 0≤x≤20, and 0≤y≤20.

[0009]

[0010]

In Chemical Formula 1, A is a substituted or unsubstituted aliphatic chain or (—C2H4—O—C2H4-)n, and n is an integer from 1 to 10.

[0011]

In another aspect, the present disclosure provides a lithium secondary battery including a positive electrode including a positive active material, a negative electrode including a negative active material, and the electrolyte with the positive electrode and the negative electrode.

Advantageous Effects

[0012]

According to the embodiments, the gas generation and resistance increase characteristics during storage at high temperatures of a lithium secondary battery may be improved (e.g., gas generation and resistance increase during storage at high temperatures may be reduced).

DESCRIPTION OF THE DRAWINGS

[0013]

FIG. 1 is a perspective view of a lithium secondary battery according to an embodiment of the present disclosure.

[0014]

FIG. 2 shows CV characteristic evaluation results of Example 1.

[0015]

FIG. 3 shows CV characteristic evaluation results of Comparative Example 1.

[0016]

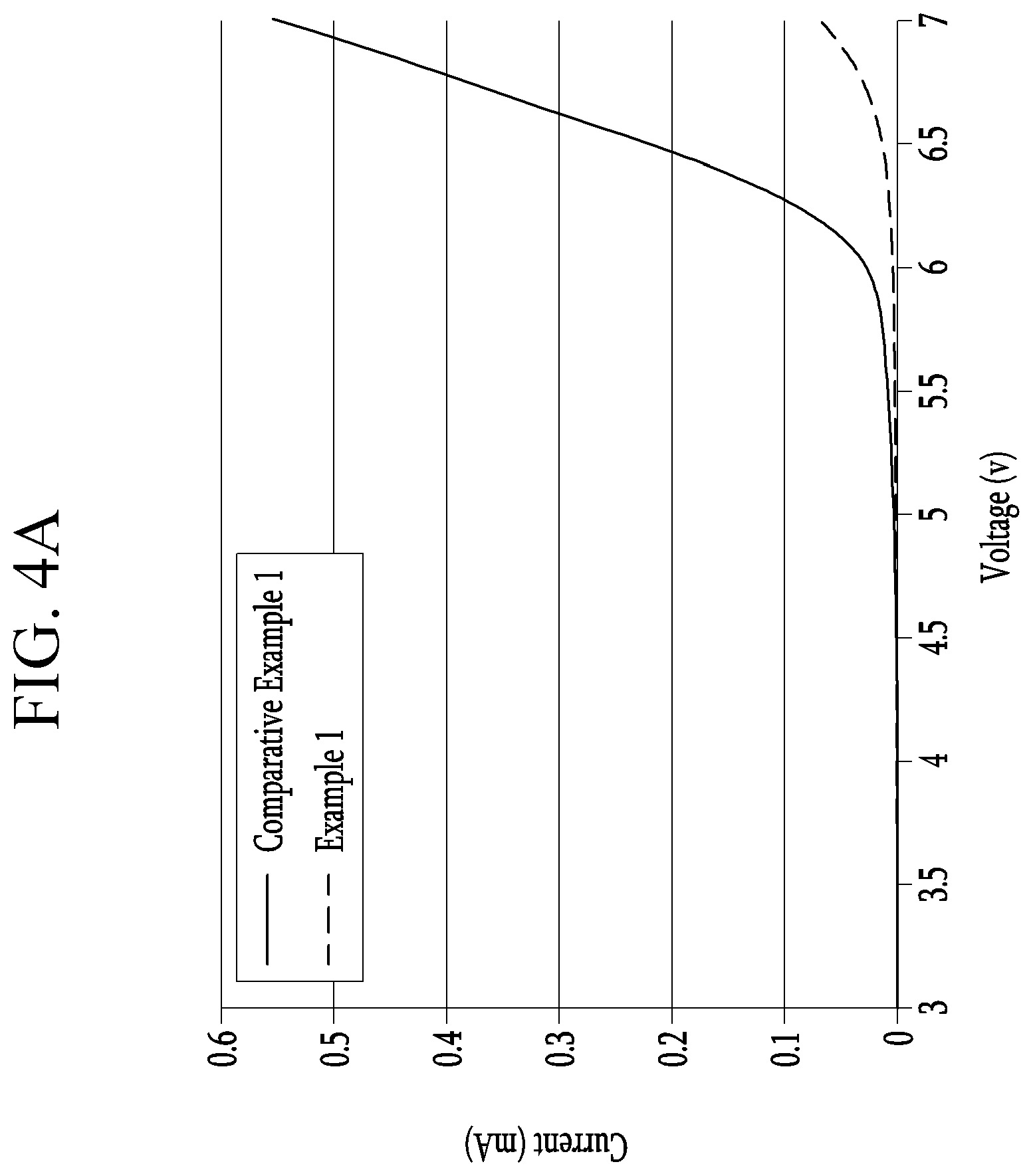
FIG. 4A shows LSV evaluation results of Example 1 and Comparative Example 1.

[0017]

FIG. 4B is an enlarged view showing a y-axis scale of FIG. 4A.

[0018]

FIG. 5 shows the results of measurement of cycle characteristics for Example 2 and Comparative Example 2.

[0019]

FIG. 6 shows the amounts of the generated gases at high-temperature storage of the lithium secondary battery cell for Examples 6 to 9 and Comparative Examples 3 to 9.

[0020]

FIG. 7 shows the results of DC-IR when the lithium secondary battery cell for Examples 6 to 9, Comparative Examples 3 to 9, and Reference Example 1 were allowed to stand at a high temperature.

MODE FOR INVENTION

[0021]

Hereinafter, the present disclosure will be described more fully hereinafter with reference to the accompanying drawings, in which exemplary embodiments of the invention are shown. However, this disclosure may be embodied in many different forms and is not construed as limited to the example embodiments set forth herein.

[0022]

In order to clearly illustrate the present invention, parts that are not related to the description are omitted, and the same or similar components are denoted by the same reference numerals throughout the specification.

[0023]

Sizes and thicknesses of components in the drawings are arbitrarily expressed for convenience of description and, thus, the present invention is not limited by the drawings.

[0024]

In addition, unless explicitly described to the contrary, the word “comprise” and variations such as “comprises” or “comprising,” will be understood to imply the inclusion of stated elements but not the exclusion of any other elements.

[0025]

An electrolyte for a lithium secondary battery according to one embodiment includes a non-aqueous organic solvent, a lithium salt, a first additive including a compound represented by Chemical Formula 1, and a second additive including LiN(CxF2x+1SO2)(CyF2y+1SO2), wherein 1≤x≤20 and 0≤y≤20.

[0026]

[0027]

In Chemical Formula 1, A is a substituted or unsubstituted aliphatic chain or (—C2H4—O—C2H4-)n, and n is an integer from 1 to 10.

[0028]

An electrolyte of a lithium secondary battery may be generally an organic solvent in which a lithium salt is dissolved. In particular, non-aqueous organic solvents having a high ionic conductivity and dielectric constant and a low viscosity may be used.

[0029]

In lithium secondary battery using a carbonate-based solvent of such a non-aqueous organic solvent, an irreversible side reaction may occur between the electrolyte and the positive electrode, and between the electrolyte and the negative electrode at a high temperature and a high pressure.

[0030]

The decomposition products produced by such a side reaction form a thick passivation film which acts as a resistance on the surface of the electrode and decrease a cycle life and capacity of the lithium secondary battery. Also, due to the decomposition of a carbonate-based organic solvent, gas is generated inside the battery which causes a swelling phenomenon and it may lead to battery explosion.

[0031]

The electrolyte according to one embodiment prevents the swelling phenomenon of a lithium secondary battery and has excellent stability and cycle-life characteristics, and includes the compound represented by Chemical Formula 1 as a first additive and LiN(CxF2x+1SO2)(CyF2y+1SO2) as a second additive, wherein 0≤x≤20 and 0≤y≤20.

[0032]

That is, the electrolyte for a lithium secondary battery according to the present disclosure comprises a non-aqueous organic solvent, a lithium salt, and an additive (e.g., a first additive) including a compound represented by Chemical Formula 1.

[0033]

[0034]

In Chemical Formula 1, A is a substituted or unsubstituted aliphatic chain or (—C2H4—O—C2H4-)n, and n is an integer from 1 to 10.

[0035]

In Chemical Formula 1, A may be a C2 to C20 hydrocarbon chain or (—C2H4—O—C2H4-)n, and n may be an integer from 1 to 5.

[0036]

In addition, the compound represented by Chemical Formula 1 may be a compound represented by Chemical Formula 1-1.

[0037]

[0038]

In one embodiment, the second additive may be LiN(FSO2)2, Li(CF3SO2)2N, LiN(CxF2x+1SO2)(CyF2y+1SO2), or a combination thereof, wherein 2≤x≤20, and 2≤y≤20.

[0039]

When the electrolyte including an additive including the compound represented by Chemical Formula 1 is applied to a lithium secondary battery, the cycle-life characteristics of the lithium secondary battery may be improved and the generation of gas at a high temperature may be greatly reduced.

[0040]

The compound represented by Chemical Formula 1 includes a difluorophosphite (—OPF2) group having excellent electrochemical reactivity at both terminals.

[0041]

During the initial charge of a lithium secondary battery, lithium ions, which are released from the lithium-transition metal oxide, i.e., the positive electrode are transported into a carbon electrode which is a negative electrode and intercalated thereinto. Because of its high reactivity, lithium reacts with the carbon electrode to produce Li2CO3, LiO, LiOH, etc., thereby forming a thin film on the surface of the negative electrode. This thin film is referred to as a solid electrolyte interface (SEI) film. The SEI thin film formed during the initial charge prevents the reaction between lithium ions and carbon negative electrode or other materials during charge and discharge. In addition, it also acts as an ion tunnel, allowing the passage of only lithium ions. The ion tunnel prevents disintegration of the structure of the carbon negative electrode, which is caused by co-intercalation of organic solvents of the electrolyte, having a high molecular weight along with solvated lithium ions into the carbon negative electrode. Once the SEI thin film is formed, lithium ions do not react again with the carbon negative electrode or other materials, such that the amount of lithium ions is reversibly maintained. Therefore, in order to improve the high-temperature cycle characteristics and the low-temperature output of the lithium secondary battery, a rigid SEI thin film must be always formed on the negative electrode of the lithium secondary battery.

[0042]

However, when the additive including the compound represented by Chemical Formula 1 is included like (e.g., as in) the electrolyte for a lithium secondary battery according to the present disclosure, a rigid SEI film having good ion conductivity is formed on the surface of the negative electrode, and thereby it is possible to suppress a decomposition of the surface of the negative electrode during high temperature cycle operation and to prevent an oxidation reaction of the electrolyte solution.

[0043]

When the compound represented by Chemical Formula 1 is decomposed, a difluorophosphite (—OPF2) group and an ethylene dioxide fragment may be formed.

[0044]

The difluorophosphite (—OPF2) group may form a donor-acceptor bond with transition metal oxide that is exposed on the surface of the positive active material due to excellent electrochemical reactivity and thus a protective layer in a form of a composite may be formed.

[0045]

In addition, the difluorophosphite (—OPF2) adhered to the transition metal oxide at the initial charge of the lithium secondary battery may be oxidized to a plurality of fluorophosphates, and thus more stable inactive layer having excellent ion conductivity may be formed on a positive electrode. Therefore, it is possible to prevent other components of the electrolyte from being oxidation-decomposed, and as a result, the cycle-life performance of the lithium secondary battery may be improved and a swelling phenomenon may be prevented from occurring.

[0046]

Further, the compound represented by Chemical Formula 1 and its oxide participate in the electrochemical reaction with the components of the SEI thin film to make the SEI thin film more rigid and to improve stability of other components included in the electrolyte by oxidative decomposition.

[0047]

In addition, the compound represented by Chemical Formula 1 forms a composite with LiPF6and thus undesirable side reactions may be prevented from occurring, and it is possible to improve cycle-life characteristics of the lithium secondary battery and to prevent the generation of gas in the lithium secondary battery, thereby significantly reducing an occurrence rate of defects due to a swelling phenomenon.

[0048]

Furthermore, the electrolyte according to one embodiment also includes the second additive. When the electrolyte including the second additive is used in the lithium secondary battery, the rigid SEI thin film, particularly, the rigid SEI thin film at high temperatures, may be formed on the negative electrode, so that the SEI thin film is not broken and is well maintained during the charge and discharge at high temperatures, thereby protecting the surface of the negative electrode and effectively preventing or reducing the side reaction between the negative electrode and the electrolyte. In addition, the second additive may stabilize lithium salts (for example, LiPF6, included in the electrolyte), and inhibit or reduce the formation of HF due to the decomposition of the lithium salts, so that the elution of metals from the positive active material (caused by HF attacking (e.g., reacting with) the positive active material) may be prevented or reduced, thereby effectively preventing or reducing the gas generation due to the elution of the metals.

[0049]

When the above effects are illustrated in more detail, the lone pair (e.g., electrons) of N atoms included in the second additive stabilize the anions of the lithium salt, for example, PF5, thereby inhibiting the side reaction of the electrolyte at high temperatures, and SO2may form the inorganic thin film which is rigid at high temperatures, thereby improving effects from the thin film during storage at high temperatures.

[0050]

As described above, the use of both the first and second additives is desirable because it may effectively prevent or reduce the gas generation and the resistance increase during storage at high temperatures, compared to only using one of the first and second additives.

[0051]

On the other hand, the first additive including the compound represented by Chemical Formula 1 may be included in an amount of 0.1 wt % to 5 wt % based on a total amount of the electrolyte for a lithium secondary battery. More specifically, the amount of the compound represented by Chemical Formula 1 may be 0.25 wt % to 2 wt %. When the amount of the first additive satisfies the above ranges, a resistance increase may be prevented and thus a lithium secondary battery having improved cycle-life characteristics may be realized.

[0052]

The second additive may be included in an amount of 0.1 wt % to 5 wt % based on a total amount of the electrolyte for a lithium secondary battery. For example, the amount of the second additive may be 0.5 wt % to 2 wt %. When the amount of the second additive satisfies the above ranges, a resistance increase and gas generation may be further effectively prevented. If the second additive is used at more than 5 wt %, a current collector may be corroded.

[0053]

In one embodiment, the sum of the first additive and the second additive, i.e., the total amount, may be 0.5 wt % to 6 wt % based on a total amount of the electrolyte for a lithium secondary battery. When the total amount of the first additive and the second additive is within the above range, the initial resistance increase may be further effectively prevented, and the effects for preventing the gas generation and the resistance increase during storage at high temperatures may be further improved.

[0054]

The additive for a lithium secondary battery of this disclosure may further include a third additive. The third additive may be, for example, at least one selected from the group consisting of fluoroethylene carbonate, vinylethylene carbonate, vinylene carbonate, succinonitrile, hexane tricyanide, lithium tetrafluoroborate, and propane sultone, but is not limited thereto.

[0055]

Herein, an amount of the third additive may be 0.1 wt % to 20 wt % based on a total amount of the electrolyte for a lithium secondary battery. More specifically, the amount of the third additive may be 0.1 wt % to 15 wt %. When the amount of the third additive satisfies the above ranges, battery resistance may be effectively suppressed and a lithium secondary battery having cycle-life characteristics may be realized.

[0056]

On the other hand, the non-aqueous organic solvent serves as a medium for transporting ions taking part in the electrochemical reaction of a lithium secondary battery.

[0057]

The non-aqueous organic solvent may include a carbonate-based, ester-based, ether-based, ketone-based, alcohol-based, or aprotic solvent.

[0058]

The carbonate-based solvent may include dimethyl carbonate (DMC), diethyl carbonate (DEC), dipropyl carbonate (DPC), methylpropyl carbonate (MPC), ethylpropyl carbonate (EPC), methylethyl carbonate (MEC), ethylene carbonate (EC), propylene carbonate (PC), butylene carbonate (BC), and/or the like. The ester-based solvent may include methyl acetate, ethyl acetate, n-propyl acetate, dimethylacetate, methylpropionate, ethyl propionate, propyl propionate, γ-butyrolactone, decanolide, valerolactone, mevalonolactone, caprolactone, and/or the like.

[0059]

The ether-based solvent may include dibutyl ether, tetraglyme, diglyme, dimethoxyethane, 2-methyltetrahydrofuran, tetrahydrofuran, and/or the like and the ketone-based solvent may include cyclohexanone, and/or the like.

[0060]

The alcohol-based solvent may include ethanol, isopropyl alcohol, and/or the like, and the aprotic solvent may include nitriles such as T-CN (wherein T is a hydrocarbon group having a C2 to C20 linear, branched, or cyclic structure and may include a double bond, an aromatic ring, or an ether bond), and/or the like, dioxolanes such as 1,3-dioxolane, and/or the like, sulfolanes, and/or the like.

[0061]

The non-aqueous organic solvent may be used alone or in a mixture.

[0062]

When the organic solvent is used in a mixture, the mixture ratio may be controlled in accordance with a desirable battery performance.

[0063]

The carbonate-based solvent is prepared by mixing a cyclic carbonate and a linear carbonate. When the cyclic carbonate and linear carbonate are mixed together in a volume ratio of 1:1 to 1:9, an electrolyte performance may be improved.

[0064]

The non-aqueous organic solvent may further include an aromatic hydrocarbon-based organic solvent in addition to the carbonate-based solvent. Herein, the carbonate-based solvent and the aromatic hydrocarbon-based organic solvent may be mixed in a volume ratio of 1:1 to 30:1.

[0065]

The aromatic hydrocarbon-based organic solvent may be an aromatic hydrocarbon-based compound of Chemical Formula 2.

[0066]

[0067]

In Chemical Formula 2, R1to R6are the same or different and are each independently selected from the group consisting of hydrogen, halogen, C1 to C10 alkyl group, haloalkyl group, and a combination thereof.

[0068]

Specific examples of the aromatic hydrocarbon-based organic solvent may be selected from benzene, fluorobenzene, 1,2-difluorobenzene, 1,3-difluorobenzene, 1,4-difluorobenzene, 1,2,3-trifluorobenzene, 1,2,4-trifluorobenzene, chlorobenzene, 1,2-dichlorobenzene, 1,3-dichlorobenzene, 1,4-dichlorobenzene, 1,2,3-trichlorobenzene, 1,2,4-trichlorobenzene, iodobenzene, 1,2-diiodobenzene, 1,3-diiodobenzene, 1,4-diiodobenzene, 1,2,3-triiodobenzene, 1,2,4-triiodobenzene, toluene, fluorotoluene, 2,3-difluorotoluene, 2,4-difluorotoluene, 2,5-difluorotoluene, 2,3,4-trifluorotoluene, 2,3,5-trifluorotoluene, chlorotoluene, 2,3-dichlorotoluene, 2,4-dichlorotoluene, 2,5-dichlorotoluene, 2,3,4-trichlorotoluene, 2,3,5-trichlorotoluene, iodotoluene, 2,3-diiodotoluene, 2,4-diiodotoluene, 2,5-diiodotoluene, 2,3,4-triiodotoluene, 2,3,5-triiodotoluene, xylene, and a combination thereof.

[0069]

The electrolyte of a lithium secondary battery may further include an ethylene carbonate-based compound represented by Chemical Formula 3 in order to improve cycle life of a battery.

[0070]

[0071]

In Chemical Formula 3, R7and R8are each independently selected from hydrogen, a halogen, a cyano group (CN), a nitro group (NO2), and a fluorinated C1 to C5 alkyl group, provided that at least one of R7and R8is selected from a halogen, a cyano group (CN), a nitro group (NO2), and a fluorinated C1 to C5 alkyl group, and R7and R8are not simultaneously hydrogen.

[0072]

Examples of the ethylene carbonate-based compound may be difluoro ethylenecarbonate, chloroethylene carbonate, dichloroethylene carbonate, bromoethylene carbonate, dibromoethylene carbonate, nitroethylene carbonate, cyanoethylene carbonate, fluoroethylene carbonate, and the like. The amount of the additive for improving cycle life may be used within an appropriate range.

[0073]

The lithium salt dissolved in the non-aqueous solvent supplies lithium ions in a battery, enables a basic operation of a lithium secondary battery, and improves transportation of the lithium ions between positive and negative electrodes. Examples of the lithium salt include at least one supporting salt selected from LiPF6, LiSbF6, LiAsF6, LiN(SO3C2F5)2, LiC4F9SO3, LiClO4, LiAlO2, LiAlCl4, LiCl, LiI, LiB(C2O4)2(lithium bis(oxalato) borate, LiBOB), LiDFOP (lithium difluoro bis(oxalato)phosphate), LiDFOB (lithium difluoro(oxalato) borate), and LiPO2F2(lithium difluorophosphate). The lithium salt may be used in a concentration from 0.1 M to 2.0 M. When the lithium salt is included at the above concentration range, an electrolyte may have excellent performance and lithium ion mobility due to optimal electrolyte conductivity and viscosity.

[0074]

Hereinafter, a lithium secondary battery according to another embodiment of the present disclosure is described.

[0075]

FIG. 1 is a schematic view showing a structure of a lithium secondary battery according to an embodiment of this disclosure.

[0076]

Referring to FIG. 1, a lithium secondary battery 100 according to an embodiment may include an electrode assembly 40 and a case 50 in which the electrode assembly 40 is contained.

[0077]

The electrode assembly 40 includes a positive electrode 10 including a positive active material, a negative electrode 20 including a negative active material, and a separator 30 disposed between the positive electrode 10 and the negative electrode 20. The positive electrode 10, the negative electrode 20, and the separator 30 may be impregnated in the aforementioned electrolyte solution (not shown) according to the present disclosure.

[0078]

The positive electrode 10 includes a current collector and a positive active material layer disposed on the current collector and including a positive active material.

[0079]

In the positive active material layer, the positive active material may include a compound (lithiated intercalation compound) being capable of intercalating and deintercallating lithium and specifically at least one composite oxide of lithium and a metal of cobalt, manganese, nickel, and a combination thereof may be used. Specific examples thereof may be a compound represented by one of the following chemical formulae. LiaA1-bXbD2(0.90≤a≤1.8, 0≤b≤0.5); LiaA1-bXbO2-cDc(0.90≤a≤1.8, 0≤b≤0.5, 0≤c≤0.05); LiaE1-bXbO2-cDc(0.90≤a≤1.8, 0≤b≤0.5, 0≤c≤0.05); LiaE2-bXbO4-cDc(0.90≤a≤1.8, 0≤b≤0.5, 0≤c≤0.05); LiaNi1-b-cCobXbDa(0.90≤a≤1.8, 0≤b≤0.5, 0≤c≤0.5, 0<α≤2); LiaNi1-b-cCobXbO2-αTα(0.90≤a≤1.8, 0≤b≤0.5, 0≤c≤0.05, 0<α<2); LiaNi1-b-cCobXbO2-αT2(0.90≤a≤1.8, 0≤b≤0.5, 0≤c≤0.05, 0<α<2); LiaNi1-b-cMnbXbDα(0.90≤a≤1.8, 0≤b≤0.5, 0≤c≤0.05, 0<α<2); LiaNi1-b-cMnbXcO2-αTa(0.90≤a≤1.8, 0≤b≤0.5, 0≤c≤0.05, 0<α<2); LiaNi1-b-cMnbXcO2-αT2(0.90≤a≤1.8, 0≤b≤0.5, 0≤c≤0.05, 0<α<2); LiaNibEcGdO2(0.90≤a≤1.8, 0≤b≤0.9, 0≤c≤0.5, 0.001≤d≤0.1); LiaNibCocMndGeO2(0.90≤a≤1.8, 0≤b≤0.9, 0≤c≤0.5, 0≤d≤0.5, 0.001≤e≤0.1); LiaNiGbO2(0.90≤a≤1.8, 0.001≤b≤0.1); LiaCoGbO2(0.90≤a≤1.8, 0.001≤b≤0.1); LiaMn1-bGbO2(0.90≤a≤1.8, 0.001≤b≤0.1); LiaMn2GbO4(0.90≤a≤1.8, 0.001≤b≤0.1); LiaMn1-gGgPO4(0.90≤a≤1.8, 0≤g≤0.5); QO2; QS2; LiQS2; V2O5; LiV2O5; LiZO2; LiNiVO4; Li(3-f)J2(PO4)3(0≤f≤2); Li(3-f)Fe2(PO4)3(0≤f≤2); and LiaFePO4(0.90≤a≤1.8).

[0080]

In the chemical formulae, A is selected from Ni, Co, Mn, and a combination thereof; X is selected from Al, Ni, Co, Mn, Cr, Fe, Mg, Sr, V, a rare earth element, and a combination thereof; D is selected from O, F, S, P, and a combination thereof; E is selected from Co, Mn, and a combination thereof; T is selected from F, S, P, and a combination thereof; G is selected from Al, Cr, Mn, Fe, Mg, La, Ce, Sr, V, and a combination thereof; Q is selected from Ti, Mo, Mn, and a combination thereof; Z is selected from Cr, V, Fe, Sc, Y, and a combination thereof; and J is selected from V, Cr, Mn, Co, Ni, Cu, and a combination thereof.

[0081]

Particularly, the positive active material of this disclosure preferably includes cobalt. When the positive active material includes cobalt, the additive including the compound represented by Chemical Formula 1 included in the electrolyte of a lithium secondary battery may be adsorbed on the cobalt to form a thin film thereon.

[0082]

More specifically, the positive active material may include a lithium metal oxide represented by Chemical Formula 4.
Lip(NixCoyMez)O2  [Chemical Formula 4]

[0083]

In Chemical Formula 4, 0.9≤p≤1.1, 0.5≤x≤0.98, 0<y≤0.3, 0<z≤0.3, x+y+z=1, and Me is at least one of Al, Mn, Mg, Ti, and Zr.

[0084]

More specifically, in Chemical Formula 4, x may be in the range of 0.7≤x≤0.98.

[0085]

The lithium metal oxide may have a coating layer on the surface, or may be mixed with another lithium metal oxide having a coating layer. The coating layer may include at least one coating element compound selected from an oxide of a coating element, a hydroxide of a coating element, an oxyhydroxide of a coating element, an oxycarbonate of a coating element, and a hydroxy carbonate of a coating element. The compound for the coating layer may be amorphous or crystalline. The coating element included in the coating layer may include Mg, Al, Co, K, Na, Ca, Si, Ti, V, Sn, Ge, Ga, B, As, Zr, or a mixture thereof. The coating layer may be disposed by a method having no adverse influence on properties of a positive active material by using these elements in the compound, (e.g., the method may include any coating method (e.g., spray coating, dipping, etc.)), but is not illustrated in more detail since it is well-known to those skilled in the related field.

[0086]

In the positive electrode, the positive active material may be included in an amount of 90 wt % to 98 wt % based on a total weight of the positive active material layer.

[0087]

In an embodiment, the positive active material layer may include a binder and a conductive material. Herein, the binder and the conductive material may be included in an amount of 1 wt % to 5 wt %, respectively, based on the total amount of the positive active material layer.

[0088]

The binder serves to adhere the positive active material particles with one another and to adhere the positive active material to a current collector and examples thereof may be polyvinyl alcohol, carboxylmethyl cellulose, hydroxypropyl cellulose, diacetyl cellulose, polyvinylchloride, carboxylated polyvinylchloride, polyvinylfluoride, an ethylene oxide-containing polymer, polyvinylpyrrolidone, polyurethane, polytetrafluoroethylene, polyvinylidene fluoride, polyethylene, polypropylene, a styrene-butadiene rubber, an acrylated styrene-butadiene rubber, an epoxy resin, nylon, and the like, but are not limited thereto.

[0089]

The conductive material is included to provide conductivity to the electrode and any electrically conductive material may be used as a conductive material unless it causes a chemical change. Examples of the conductive material may include a carbon-based material such as natural graphite, artificial graphite, carbon black, acetylene black, ketjen black, carbon fiber, and the like; a metal-based material of a metal powder or a metal fiber including copper, nickel, aluminum, silver, and the like; a conductive polymer such as a polyphenylene derivative; or a mixture thereof.

[0090]

The current collector may be an aluminum foil, a nickel foil, or a combination thereof, but is not limited thereto.

[0091]

The negative electrode 20 includes a current collector and a negative active material layer disposed on the current collector and including a negative active material.

[0092]

The negative active material may include a material that reversibly intercalates/deintercalates lithium ions, a lithium metal, a lithium metal alloy, a material capable of doping/dedoping lithium, or a transition metal oxide.

[0093]

The material that reversibly intercalates/deintercalates lithium ions may include for example, a carbon material, and i.e., the carbon material which may be a generally-used carbon-based negative active material in a lithium secondary battery. Examples of the carbon-based negative active material may include crystalline carbon, amorphous carbon, or mixtures thereof. The crystalline carbon may be unspecified shaped, or sheet, flake, spherical, or fiber shaped natural graphite or artificial graphite. The amorphous carbon may be a soft carbon, a hard carbon, a mesophase pitch carbonization product, fired coke, and/or the like.

[0094]

The lithium metal alloy includes an alloy of lithium and at least one additional metal selected from Na, K, Rb, Cs, Fr, Be, Mg, Ca, Sr, Si, Sb, Pb, In, Zn, Ba, Ra, Ge, Al, and Sn.

[0095]

The material being capable of doping/dedoping lithium may be Si, SiOx(0<x<2), a Si-Q alloy (wherein Q is an element selected from an alkali metal, an alkaline-earth metal, a Group 13 element, a Group 14 element, a Group 15 element, a Group 16 element, a transition metal, a rare earth element, and a combination thereof, and not Si), a Si-carbon composite, Sn, SnO2, Sn—R (wherein R is an element selected from an alkali metal, an alkaline-earth metal, a Group 13 element, a Group 14 element, a Group 15 element, a Group 16 element, a transition metal, a rare earth element, and a combination thereof, and not Sn), a Sn-carbon composite, and the like. At least one of these materials may be mixed with SiO2. The elements Q and R may be selected from Mg, Ca, Sr, Ba, Ra, Sc, Y, Ti, Zr, Hf, Rf, V, Nb, Ta, Db, Cr, Mo, W, Sg, Tc, Re, Bh, Fe, Pb, Ru, Os, Hs, Rh, Ir, Pd, Pt, Cu, Ag, Au, Zn, Cd, B, Al, Ga, Sn, In, Ge, P, As, Sb, Bi, S, Se, Te, Po, and a combination thereof.

[0096]

The transition metal oxide may include lithium titanium oxide.

[0097]

The negative active material layer includes a negative active material and a binder, and optionally a conductive material.

[0098]

In the negative active material layer, the negative active material may be included in an amount of 95 wt % to 99 wt % based on the total weight of the negative active material layer. In the negative active material layer, a content of the binder may be 1 wt % to 5 wt % based on a total weight of the negative active material layer. When the negative active material layer includes a conductive material, the negative active material layer includes 90 wt % to 98 wt % of the negative active material, 1 wt % to 5 wt % of the binder, and 1 wt % to 5 wt % of the conductive material.

[0099]

The binder improves binding properties of negative active material particles with one another and with a current collector. The binder may use a non-water-soluble binder, a water-soluble binder, or a combination thereof.

[0100]

The non-water-soluble binder may be polyvinylchloride, carboxylated polyvinylchloride, polyvinylfluoride, an ethylene oxide-containing polymer, polyvinylpyrrolidone, polyurethane, polytetrafluoroethylene, polyvinylidene fluoride, polyethylene, polypropylene, polyamideimide, polyimide, or a combination thereof.

[0101]

The water-soluble binder may be a styrene-butadiene rubber, an acrylated styrene-butadiene rubber, polyvinyl alcohol, sodium polyacrylate, a copolymer of propylene and a C2 to C8 olefin, a copolymer of (meth)acrylic acid and (meth)acrylic acid alkyl ester, or a combination thereof.

[0102]

When the water-soluble binder is used as a negative electrode binder, a cellulose-based compound may be further used to provide viscosity as a thickener. The cellulose-based compound includes one or more of carboxymethyl cellulose, hydroxypropylmethyl cellulose, methyl cellulose, or alkali metal salts thereof. The alkali metals may be Na, K, or Li. The thickener may be included in an amount of 0.1 parts by weight to 3 parts by weight based on 100 parts by weight of the negative active material.

[0103]

The conductive material is included to provide electrode conductivity, and any electrically conductive material may be used as a conductive material unless it causes a chemical change. Examples of the conductive material include a carbon-based material such as natural graphite, artificial graphite, carbon black, acetylene black, ketjen black, denka black, a carbon fiber, and the like; a metal-based material of a metal powder or a metal fiber including copper, nickel, aluminum silver, and the like; a conductive polymer such as a polyphenylene derivative; or a mixture thereof.

[0104]

The current collector may include one selected from a copper foil, a nickel foil, a stainless steel foil, a titanium foil, a nickel foam, a copper foam, a polymer substrate coated with a conductive metal, and a combination thereof.

[0105]

The positive active material layer and the negative active material layer are formed by mixing an active material, a binder and optionally a conductive material in a solvent to prepare an active material composition, and coating the active material composition on a current collector. The formation method of the active material layer is well known, and thus is not described in detail in the present disclosure. The solvent includes N-methylpyrrolidone and the like, but is not limited thereto. When a water-soluble binder is used in the negative active material layer, a solvent used for preparing the negative active material composition may be water.

[0106]

The separator 30 may include polyethylene, polypropylene, polyvinylidene fluoride, and multi-layers thereof such as a polyethylene/polypropylene double-layered separator, a polyethylene/polypropylene/polyethylene triple-layered separator, or a polypropylene/polyethylene/polypropylene triple-layered separator.

[0107]

Hereinafter, the disclosure (e.g., the subject matters of the disclosure) will be specifically examined (e.g., illustrated) through Examples.

Example 1

[0108]

(1) Positive Electrode and Negative Electrode

[0109]

97.3 wt % of LiCoO2as a positive active material, 1.4 wt % of polyvinylidene fluoride as a binder, and 1.3 wt % of ketjen black as a conductive material were mixed and then, dispersed in N-methylpyrrolidone to prepare positive active material slurry. The positive active material slurry was coated on an aluminum foil and then, dried and compressed to manufacture a positive electrode.

[0110]

98 wt % of graphite as a negative active material, 1 wt % of polyvinylidene fluoride as a binder, and 1 wt % of ketjen black as a conductive material were mixed and then, dispersed in N-methylpyrrolidone to prepare a negative active material layer composition, and the negative active material layer composition was coated on a copper foil and dried to manufacture a negative electrode.

[0111]

(2) Preparation of Electrolyte

[0112]

0.95 M LiPF6was added to a mixed solution of ethylene carbonate (EC):diethyl carbonate (DEC):ethylpropionate (EP) mixed in a volume ratio of 30:50:20 to prepare a non-aqueous mixed solution.

[0113]

1.0 wt % of a compound represented by Chemical Formula 1-1 based on an amount of the non-aqueous mixed solution was added thereto to manufacture an electrolyte for a lithium secondary battery.

[0114]

[0115]

(3) Manufacture of Lithium Secondary Battery Cell

[0116]

The positive and negative electrodes manufactured according to the (1) and the electrolyte prepared according to the (2) were used to manufacture a half-cell.

Example 2

[0117]

(1) Manufacture of Positive Electrode and Negative Electrode

[0118]

A positive electrode and a negative electrode were manufactured in the same method as Example 1.

[0119]

(2) Manufacture of Electrolyte

[0120]

0.95 M LiPF6was added to a first mixed solution of ethylene carbonate (EC):ethylmethyl carbonate (EMC):ethylpropionate (EP):γ-butyrolactone (GBL) used in a volume ratio of 27:50:20:3 to prepare a second mixed solution.

[0121]

6 wt % of fluoroethylene carbonate (FEC), 0.5 wt % of vinylethylene carbonate (VEC), 0.2 wt % of lithium tetrafluoroborate (LiBF4), 5 wt % of succinonitrile (SN), 2 wt % of hexane tri-cyanide (HTCN), and 0.5 wt % of a compound represented by Chemical Formula 1-1 based on an amount of the second mixed solution were added thereto to prepare an electrolyte for a lithium secondary battery.

[0122]

[0123]

(3) Manufacture of Lithium Secondary Battery Cell

[0124]

A prismatic lithium secondary battery was manufactured by housing the positive and negative electrodes and a polypropylene separator in a container and injecting the prepared electrolyte thereinto.

Example 3

[0125]

A lithium secondary battery cell was manufactured according to the same method as Example 2 except that 0.25 wt % of the compound represented by Chemical Formula 1-1 was added to prepare an electrolyte.

Example 4

[0126]

A lithium secondary battery cell was manufactured according to the same method as Example 2 except that 1 wt % of the compound represented by

[0127]

Chemical Formula 1-1 was added to prepare an electrolyte.

Example 5

[0128]

A lithium secondary battery cell was manufactured according to the same method as Example 2 except that 2 wt % of the compound represented by Chemical Formula 1-1 was added to prepare an electrolyte.

Comparative Example 1

[0129]

(1) Manufacture of Positive Electrode and Negative Electrode

[0130]

A positive electrode and a negative electrode were manufactured according to the same method as Example 1.

[0131]

(2) Manufacture of Electrolyte

[0132]

0.95 M LiPF6was added to a mixed solution of ethylene carbonate (EC):diethyl carbonate (DEC):ethylpropionate (EP) used in a volume ratio of 30:50:20 to prepare a non-aqueous mixed solution.

[0133]

(3) Manufacture of Lithium Secondary Battery Cell

[0134]

A prismatic lithium secondary battery cell was manufactured by housing the positive and negative electrodes manufactured in the above (1) and the electrolyte prepared in the above (2).

Comparative Example 2

[0135]

(1) Manufacture of Positive Electrode and Negative Electrode

[0136]

A positive electrode and a negative electrode were manufactured according to the same method as Example 1.

[0137]

(2) Manufacture of Electrolyte

[0138]

An electrolyte for a lithium secondary battery cell was manufactured according to the same method as Example 2 except that the compound represented by Chemical Formula 1-1 was not added thereto.

[0139]

(3) Manufacture of Lithium Secondary Battery Cell

[0140]

A lithium secondary battery cell was manufactured according to the same method as Example 2.

Experimental Example 1—CV Characteristics Evaluation

[0141]

Cyclic voltammetry (CV) characteristics of the half-cells according to Example 1 and Comparative Example 1 were evaluated. The result of Example 1 is shown in FIG. 2, and the result of Comparative Example 1 is shown in FIG. 3.

[0142]

In FIGS. 2 and 3, 1, 3, and 5 denote the number of cycles.

[0143]

Referring to FIGS. 2 and 3, currents were largely increased during both of intercalation/deintercalation of lithium in FIG. 2 compared with FIG. 3. Accordingly, when the lithium secondary battery cell including the electrolyte using additives including the compound represented by Chemical Formula 1-1 according to Example 1 was compared with the lithium secondary battery cell according to Comparative Example 1, lithium ions were relatively more easily intercalated/deintercalated.

Experimental Example 2—Evaluation of LSV Characteristics

[0144]

The electrolytes of Example 1 and Comparative Example 1 were evaluated regarding oxidation electrode decomposition at 25° C. using a linear sweep voltammetry (LSV) method. In this evaluation, a three-electrode electrochemical cell using a Pt electrode as a working electrode, a counter electrode, and Li as a reference electrode was used. Herein, a scan was performed in a range of 3.0 V to 7.0 V at a rate of 1 mV/sec, and the results are shown in FIGS. 4A and 4B. FIG. 4A shows LSV evaluation results of Example 1 and Comparative Example 1, and FIG. 4B is an enlarged view showing a y-axis scale of FIG. 4A.

[0145]

Referring to FIGS. 4A and 4B, the electrolyte including additives including the compound represented by Chemical Formula 1-1 according to Example 1 exhibited an onset potential increase at a higher voltage compared with the electrolyte according to Comparative Example 1. Accordingly, when the additive of Chemical Formula 1-1 was added, oxidation resistance of an electrolyte was increased.

Experimental Example 3—Thickness Increase Rate

[0146]

The lithium secondary battery cells according to Example 2 and Comparative Example 2 were constant current charged at current density of 1 C until a voltage reached 4.45 V. After measuring thicknesses of the cells after the charge, their thickness variation ratios (%) were measured every seven day, while stored at 60° C. for 28 days. The thickness variation ratios measured at the 28thday were shown in Table 1.

[0147]

Example 214.3
Example 322.9
Example 49.0
Example 511
Comparative23.8
Example 2

[0148]

Referring to Table 1 and FIG. 5, the lithium secondary battery cells using the electrolyte including the additive of the present invention according to example embodiments exhibited a significantly reduced thickness compared with the lithium secondary battery cells not including the additive according to Comparative Example.

Experimental Example 4—Cycle Characteristics

[0149]

The lithium secondary battery cells according to Example 2 and Comparative Example 2 were constant current charged at current density of 1 C at 45° C. until a voltage reached 4.45 V. Subsequently, the lithium secondary battery cells were allowed to stand for 10 minutes and then, discharged at constant current of 1 C, until the voltage reached 3 V, and this charge and discharge as one cycle was 250 times repeated. The results are shown in FIG. 5.

[0150]

Referring to FIG. 5, the lithium secondary battery cells according to Examples exhibited excellent high temperature cycle-life characteristics compared with the lithium secondary battery cell according to Comparative Example.

Example 6

[0151]

(1) Positive Electrode and Negative Electrode

[0152]

97.3 wt % of LiNi0.88Co0.015Al0.015O2as a positive active material, 1.4 wt % of polyvinylidene fluoride as a binder, and 1.3 wt % of ketjen black as a conductive material were mixed and then dispersed in N-methylpyrrolidone to prepare a positive active material slurry. The positive active material slurry was coated on an aluminum foil and then dried and compressed to manufacture a positive electrode.

[0153]

98 wt % of graphite as a negative active material, 1 wt % of styrene butadiene rubber as a binder, and 1 wt % of carboxymethyl cellulose as an agent for increasing viscosity were mixed and then dispersed in distilled water to prepare a negative active material slurry. The negative active material slurry was coated on a copper foil, and dried and compressed to manufacture a negative electrode.

[0154]

(2) Preparation of Electrolyte

[0155]

1.15 M LiPF6was added to a mixed solution of ethylene carbonate (EC):ethyl methyl carbonate (EMC):dimethyl carbonate (DMC) mixed in a volume ratio of 20:40:40 to prepare a non-aqueous mixed solution.

[0156]

1 wt % of a compound represented by Chemical Formula 1-1 as a first additive and 1 wt % of LiN(FSO2)2(lithium bis(fluorosulfonyl)imide, LiFSI) as a second additive based on 100 wt % of the non-aqueous mixed solution was added thereto to manufacture an electrolyte for a lithium secondary battery.

[0157]

[0158]

(3) Manufacture of Pouch-type Lithium Secondary Battery Cell

[0159]

The positive and negative electrodes manufactured according to the (1), the electrolyte prepared according to the (2), and a polypropylene separator were used to manufacture a pouch-type lithium secondary battery cell.

Example 7

[0160]

A pouch-type lithium secondary battery cell was manufactured according to the same method as Example 6, except that 2 wt % of LiN(FSO2)2(lithium bis(fluorosulfonyl)imide, LiFSI) as a second additive was added to prepare an electrolyte.

Example 8

[0161]

A pouch-type lithium secondary battery cell was manufactured according to the same method as Example 6, except that 1 wt % of Li(CF3SO2)2N (LiTFSI) as a second additive was added to prepare an electrolyte, instead of using 1 wt % of LiN(FSO2)2(lithium bis(fluorosulfonyl)imide, LiFSI) as a second additive.

Example 9

[0162]

A pouch-type lithium secondary battery cell was manufactured according to the same method as Example 8, except that 2 wt % of Li(CF3SO2)2N (LiTFSI) as a second additive was added to prepare an electrolyte.

Comparative Example 3

[0163]

(1) Manufacture of Positive Electrode and Negative Electrode

[0164]

A positive electrode and a negative electrode were manufactured according to the same method as Example 6.

[0165]

(2) Manufacture of Electrolyte

[0166]

1.15 M LiPF6was added to a mixed solution of ethylene carbonate (EC):ethyl methyl carbonate (EMC):dimethyl carbonate (DMC) mixed in a volume ratio of 20:40:40 to prepare an electrolyte for a lithium secondary battery.

[0167]

(3) Manufacture of Lithium Secondary Battery Cell

[0168]

The positive and negative electrodes manufactured according to the (1), the electrolyte prepared according to the (2), and a polypropylene separator were used to manufacture a lithium secondary battery cell.

Comparative Example 4

[0169]

(1) Manufacture of Positive Electrode and Negative Electrode

[0170]

A positive electrode and a negative electrode were manufactured according to the same method as Example 6.

[0171]

(2) Manufacture of Electrolyte

[0172]

1.15 M LiPF6was added to a mixed solution of ethylene carbonate (EC):ethyl methyl carbonate (EMC):dimethyl carbonate (DMC) mixed in a volume ratio of 20:40:40 to prepare a non-aqueous mixed solution.

[0173]

1 wt % of a compound represented by Chemical Formula 1-1 based on 100 wt % of the non-aqueous mixed solution was added thereto to manufacture an electrolyte for a lithium secondary battery.

[0174]

(3) Manufacture of Lithium Secondary Battery Cell

[0175]

The positive and negative electrodes manufactured according to the (1), the electrolyte prepared according to the (2), and a polypropylene separator were used to manufacture a pouch-type lithium secondary battery cell.

Comparative Example 5

[0176]

(1) Manufacture of Positive Electrode and Negative Electrode

[0177]

A positive electrode and a negative electrode were manufactured according to the same method as Example 6.

[0178]

(2) Manufacture of Electrolyte

[0179]

1.15 M LiPF6was added to a mixed solution of ethylene carbonate (EC):ethyl methyl carbonate (EMC):dimethyl carbonate (DMC) mixed in a volume ratio of 20:40:40 to prepare a non-aqueous mixed solution.

[0180]

1 wt % of LiN(FSO2)2(lithium bis(fluorosulfonyl)imide, LiFSI) based on 100 wt % of the non-aqueous mixed solution was added thereto to manufacture an electrolyte for a lithium secondary battery.

[0181]

(3) Manufacture of Lithium Secondary Battery Cell

[0182]

The positive and negative electrodes manufactured according to the (1), the electrolyte prepared according to the (2), and a polypropylene separator were used to manufacture a pouch-type lithium secondary battery cell.

Comparative Example 6

[0183]

A pouch-type lithium secondary battery cell was manufactured according to the same method as Example 6, except that 0.05 wt % of LiN(FSO2)2(lithium bis(fluorosulfonyl)imide, LiFSI) as a second additive was added to prepare an electrolyte.

Comparative Example 7

[0184]

A pouch-type lithium secondary battery cell was manufactured according to the same method as Example 6, except that 5.5 wt % of LiN(FSO2)2(lithium bis(fluorosulfonyl)imide, LiFSI) as a second additive was added to prepare an electrolyte.

Comparative Example 8

[0185]

A pouch-type lithium secondary battery cell was manufactured according to the same method as Example 6, except that 0.05 wt % of a compound represented by Chemical Formula 1-1 was added to prepare an electrolyte.

Comparative Example 9

[0186]

A pouch-type lithium secondary battery cell was manufactured according to the same method as Example 6, except that 5.5 wt % of a compound represented by Chemical Formula 1-1 was added to prepare an electrolyte.

Reference Example 1

[0187]

A pouch-type lithium secondary battery cell was manufactured according to the same method as Example 6, except that 1.5 wt % of a compound represented by Chemical Formula 1-1 and 0.5 wt % of LiN(FSO2)2(lithium bis(fluorosulfonyl)imide, LiFSI) were added to prepare an electrolyte.

Experimental Example 5—Amount of the Generated Gas

[0188]

The lithium secondary battery cells according to Examples 6 to 9 and Comparative Examples 3 to 9 were each charged to SOC100 (charged to be 100% of charge capacity based on 100% of the entire battery charge capacity, i.e., fully charged) and 4.3 V at ⅓ C, and the charged battery cells were stored at 60° C. for 7 days and the amounts of the generated gases were measured. The results for Examples 6 to 9, and Comparative Examples 3 to 9 are shown in FIG. 6, and the total amounts of the generated gases after storing for 7 days are shown in Table 2.

[0189]

Comparative000.060
Example 3
Comparative100.042
Example 4
Comparative0LiFSI 10.049
Example 5
Comparative1LiFSI 0.050.043
Example 6
Comparative1LiFSI 5.50.065
Example 7
Comparative0.05LiFSI 10.048
Example 8
Comparative5.5LiFSI 10.062
Example 9
Example 61LiFSI 10.038
Example 71LiFSI 20.035
Example 81LiTFSI 10.039
Example 91LiTFSI 20.037

[0190]

As shown in Table 2, the lithium battery cells including both the first additive and the second additive according to Examples 6 to 9 exhibit a surprisingly low amount of generated gas, compared to the lithium battery cells including only one of the first additive and the second additive according to Comparative Examples 4 and 5.

[0191]

Even if the lithium battery cells included both the first additive and the second additive, when the amounts were respectively less than 0.1 wt % (Comparative Examples 8 and 6) and more than 5 wt % (Comparative Examples 9 and 7), the amount of generated gas was increased, compared to Examples 6 to 9.

[0192]

From the results, it can be clearly shown that the gas generation during charging and discharging may be effectively prevented or reduced when the electrolyte includes both the first additive and the second additive at amounts of 0.1 to 5 wt %, respectively.

Experimental Example 6—DC-IR (Direct Current Internal Resistance)

[0193]

The lithium secondary battery cells according to Examples 6 to 9 and Comparative Examples 3 to 9 were each charged to SOC100 (charged to be 100% of charge capacity based on 100% of the entire battery charge capacity, i.e., fully charged) to 4.3 V at ⅓ C, and the resistances for the charged battery cells were measured. Thereafter, for each of the charged battery cells, DC internal resistance (DC-IR) was evaluated by measuring a voltage drop (V) while a current flowed at 1 C for 1 second under an SOC50 condition (charged to be 50% of charge capacity based on 100% of the entire (e.g., full) battery charge capacity). The ratio of the increased resistance percentage after storing it relative to before storing at 60° C. was calculated. The results are shown in Table 3, and the results for Examples 6 to 9, Comparative Examples 3 to 9, and Reference Example 1 are shown in FIG. 7

[0194]

Comparative0034.0
Example 3
Comparative1026.1
Example 4
Comparative0LiFSI 130.6
Example 5
Comparative1LiFSI 0.0526.2
Example 6
Comparative1LiFSI 5.537.0
Example 7
Comparative0.05LiFSI 131.1
Example 8
Comparative5.5LiFSI 139.6
Example 9
Reference1.5LiFSI 538.4
Example 1
Example 61LiFSI 124.0
Example 71LiFSI 220.5
Example 81LiTFSI 124.6
Example 91LiTFSI 221.4

[0195]

As shown in Table 3, the lithium battery cells including both the first additive and the second additive according to Examples 6 to 9 exhibit a remarkably low increase rate of resistance during storage at high temperatures, compared to the lithium battery cells including only one of the first additive and the second additive according to Comparative Examples 4 and 5.

[0196]

Even if the lithium battery cells include both the first additive and the second additive, when the amounts were respectively less than 0.1 wt % (Comparative Examples 8 and 6) or more than 5 wt % (Comparative Examples 9 and 7), the increased rate of resistance was higher than those according to Examples 6 to 9.

[0197]

From the results, it can be seen that the battery storage characteristics at high temperatures may be surprisingly improved when the first additive and the second additive are both used in the electrolyte. In particularly, the use of the first additive and the second additive at an amount of 0.5 wt % to 5 wt %, respectively, and with the total amount of 0.5 wt % to 6 wt % allows further improvements of the desired effects.

[0198]

While this invention has been described in connection with what is presently considered to be practical example embodiments, it is to be understood that the invention is not limited to the disclosed embodiments, and on the contrary, it is intended to cover various modifications and equivalent arrangements included within the spirit and scope of the appended claims and equivalents thereof.

DESCRIPTION OF SYMBOLS

[0000]

    • 100: secondary battery
    • 10: positive electrode
    • 20: negative electrode
    • 30: separator
    • 50: case

Как компенсировать расходы
на инновационную разработку
Похожие патенты