A laminate comprising a near infrared (NIR) absorbing interlayer is disclosed. The interlayer includes a NIR-absorbing substance dispersed or dissolved in a polymer matrix and may further include a thermochromic material or system. The interlayer is bonded between first and second sheets of plastic or glass. The first and second sheets may further be bent, strengthened sheets of glass.
1. A light transmitting laminate comprising:
a first sheet of glass or plastic; a second sheet of glass or plastic; and an interlayer bonding the first sheet and the second sheet to one another; wherein the interlayer has a three-layer structure comprising: a first polymer layer formed from a composition comprising a polymer and one or more NIR-absorbing materials, wherein the one or more NIR-absorbing materials are dispersed in the polymer and/or dissolved in the polymer; a second polymer layer formed from a composition comprising a polymer and one or more of: a NIR-absorbing material, a thermochromic material, a UV absorber, and a color suppressing agent, wherein the NIR-absorbing material is dispersed in the polymer and/or dissolved in the polymer; and a separator or barrier polymer layer positioned between the first polymer layer and the second polymer layer. 2. The laminate of 3. The laminate of 4. The laminate of 5. The laminate of the polymer of the first polymer layer is selected from polyvinylbutyral, poly(vinyl butyral-co-vinyl alcohol-co-vinyl acetate), silicone, ethylenevinylacetate, thermoplastic polyurethanes and ionomeric polymers; and the polymer of the second polymer layer is selected from polyvinylbutyral, poly(vinyl butyral-co-vinyl alcohol-co-vinyl acetate), silicone, ethylenevinylacetate, thermoplastic polyurethanes and ionomeric polymers. 6. The laminate of the one or more NIR-absorbing materials of the first polymer layer is selected from tungsten oxide, doped tungsten oxides, tungsten bronzes, cesium tungsten bronze, cesium tungsten oxides and combinations thereof. 7. The laminate of 8. The laminate of the one or more NIR-absorbing materials of the first polymer layer comprises a tetrahalometalate and/or the NIR-absorbing material of the second polymer layer comprises a tetrahalometalate. 9. The laminate of 10. The laminate of 11. The laminate of 12. The laminate of 13. The laminate of 14. The laminate of 15. The laminate of 16. A light transmitting laminate comprising:
a first sheet of plastic or glass; a second sheet of plastic or glass; and an interlayer bonding the first sheet and the second sheet to one another; wherein the interlayer is: (A) a single layer structure comprising a first polymer layer formed from a composition comprising a polymer and NIR-absorbing materials, wherein the NIR-absorbing materials are dispersed in the polymer and/or dissolved in the polymer; (B) a two layer structure comprising said first polymer layer and a second polymer layer which acts as a UV barrier and/or acts in concert with said first polymer layer to form an acoustic interlayer; or (C) a three layer structure comprising said first polymer layer positioned between a second polymer layer and a third polymer layer which act as UV barriers and/or act in concert with said first polymer layer to form an acoustic interlayer; wherein the second polymer layer and the third polymer layer are the same or different; wherein the NIR-absorbing materials of the first polymer layer comprise a tetrahalometalate and a material selected from tungsten oxide, doped tungsten oxides, tungsten bronzes, cesium tungsten oxide, cesium tungsten bronze and combinations thereof. 17. The laminate of 18. The laminate of 19. The laminate of 20. The laminate of 21. The laminate of 22. A light transmitting laminate comprising:
a sheet of plastic or glass; a first polymer layer, which is a sheet or film containing a NIR absorbing material or a multilayer film that reflects NIR light; and an interlayer bonding the sheet and the polymer layer to one another; wherein the interlayer comprises a polymer layer formed from a composition comprising a polymer and a NIR-absorbing material, wherein the NIR-absorbing material is dispersed in the polymer and/or dissolved in the polymer, and wherein the NIR-absorbing material comprises a tetrahalometalate. 23. The laminate of 24. The laminate of 25. The laminate of 26. The laminate of 27. The laminate of
This application is a continuation of U.S. patent application Ser. No. 14/699,756, filed Apr. 29, 2015, which in turn claims priority to U.S. Provisional Patent Application No. 61/985,713, filed Apr. 29, 2014, titled ABSORBING SOLAR CONTROL INTERLAYERS, the entirety of which is hereby incorporated by reference herein. The invention relates to interlayer films and sheets and laminates containing such interlayer films and sheets. In particular, the invention relates to interlayer films and sheets including near infrared-absorbing materials. Of the sun's energy that reaches the earth's surface, about 3% is ultraviolet radiation, (UV), about 47% is visible radiation, and about 50% is infrared radiation (which is mainly near infrared (NIR) radiation). In many applications where people are looking through a transparent layer, there is a desire to maintain adequate visible light transmission while minimizing both the UV transmission for its damaging effects and the NIR transmission for its potentially excessive heat load effects. This is the case in many window applications for buildings and motor vehicles. One aspect of the invention is an interlayer comprising a NIR-absorbing material and one or more than one of the following: a texture provided by embossing; a texture provided by melt fracture; the interlayer produced by extrusion with a twin screw extrusion line which includes a gear pump after the extruder; a polymer selected from polyvinylbutyral, poly(vinyl butyral-co-vinyl alcohol-co-vinyl acetate) silicone, ethylenevinylacetate, thermoplastic polyurethanes, and ionomeric polymers like poly(ethylene-co-methacrylic acid) layers which often incorporate ions such as lithium, sodium or zinc; a plasticizer in the interlayer; a color suppression additive in the interlayer; a light stabilizer material in the interlayer; a thermal stabilizer material in the interlayer; a thermochromic material in the interlayer; a LETC thermochromic system in the interlayer; a LETC thermochromic system insensitive to oxygen in the interlayer; multiple thermochromic layers separated by a separator layer; a separator layer which is comprised of multiple layers of alternating refractive index; a plastic film including multiple layers of alternating index of refraction (see U.S. application Ser. No. 13/771,285, the entirety of which is hereby incorporated by reference herein) in contact with the interlayer; and the combination of iodide and an anti-yellowing agent in the interlayer; adhesion promoting agents or adhesion inhibiting agents in the interlayer; low water or moisture content in the interlayer; low haze in the interlayer; high visible light transmission with low solar energy transmission in the interlayer; sound deadening or acoustic properties in the interlayer; surfactants, dispersants, nanoparticle with surface treatments and/or synergists in the interlayer; careful gauge control of the interlayer or a high level of durability with regard to UV exposure for the interlayer. One aspect of the invention is an interlayer including a NIR-absorbing material wherein the NIR absorbing material includes one or more than one of the following: NIR-absorbing nanoparticles; nanoparticles of cesium tungsten bronze or cesium tungsten oxide; nanoparticles of alkali metal (e.g., lithium or sodium) doped tungsten trioxide; NIR absorbing nanoparticles of indium oxide, tin oxide, indium tin oxide, antimony oxide, antimony tin oxide, antimony indium oxide, zinc oxide, cadmium oxide, aluminum doped zinc oxide, fluorine doped zinc oxide or fluorine doped tin oxide; NIR-absorbing material(s) that are dispersed in the interlayer; NIR-absorbing material(s) that are soluble in the interlayer; a tetrahalometalate NIR absorber; a combination of NIR-absorbing material(s) that are soluble in the interlayer and NIR-absorbing material(s) that are dispersed in the interlayer; a combination of NIR-absorbing material(s) that are soluble in the interlayer and NIR-absorbing nanoparticles; a combination of tetrahalometalate and nanoparticle NIR absorbers; NIR absorbing dyes; or NIR-absorbing that are an anthraisoquinoline, a naphthalocyanine dye or porphyradins dyes. One aspect of the invention is laminate with an interlayer with any aspect of the invention included above and one or more than one of the following: rigid plastic sheets; strengthened glass; glass strengthened by mild heat strengthening, heat strengthening, tempering and chemical strengthening; glass with a low linear thermal expansion; bent glass; glass bent as matched pairs; low emissivity (low-e) coating; a hard coat low-e coating; a soft coat low-e coating; an antireflecting coating; a self-cleaning coating; or an edge seal around the perimeter of the laminate to protect the interlayer. One aspect of the invention is a window with a laminate with any aspect of the invention included above and one or more than one of the following: variable visible light transmission; variable solar heat gain; a high ratio of visible light transmission to low total solar transmission; increased sunlight responsiveness for thermochromic activity; useful at a sunroof; useful as a windshield; useful as a variable transmission thermochromic monopane; useful a pane of a double or triple pane window; use as a building window; or useful a motor vehicle window. In one aspect, a thermochromic, near infrared (NIR) absorbing interlayer is disclosed. The interlayer includes a NIR-absorbing substance dispersed or dissolved in a polymer matrix and a thermochromic material or system. The interlayer has an internal visible light transmission above 50% and an internal solar energy transmission below 55% when the interlayer is at 15° C. and an internal visible light transmission below 20% and an internal solar energy transmission below 20% when the interlayer is at 75° C. The internal haze of the interlayer is below 3.5%. In one aspect, a laminate is disclosed. The laminate includes an interlayer including an NIR-absorbing substance dispersed or dissolved in a polymer matrix, a first sheet of plastic or glass, and a second sheet of plastic or glass. The interlayer is bonded between the first sheet and the second sheet. At least one of the first sheet and the second sheet is coated with a low-e coating. The laminate has a visible light transmission above 70% and a total solar transmission below 35%. In one aspect a laminate is disclosed. The laminate includes an interlayer including an NIR-absorbing substance dispersed or dissolved in a polymer matrix and a thermochromic material or system, a first sheet of heat strengthened glass, and a second sheet of heat strengthened glass. The interlayer is bonded between the first sheet and the second sheet. Other aspects of the invention will be apparent to those skilled in the art based on the discussion and disclosures herein. While the definition of light might be restricted by some to the visible electromagnetic radiation that can be seen, in this disclosure, the word “light” as used in this disclosure includes the UV electromagnetic radiation and the NIR electromagnetic radiation of the sun that reaches the earth's surface as well as the visible portion, except as otherwise specified. UV light may be blocked by selective absorbers of the UV wavelengths of radiation in at least one layer within a window structure. Selective UV absorbers include certain metal oxides, metal-organic compounds, and organic UV absorbers. Organic UV absorbers often serve a dual purpose as UV stabilizers for polymeric films and layers. The NIR light may be absorbed by selective absorbers of NIR, but relatively few materials absorb significantly in the NIR range without absorbing significant visible light as well. For the invention described herein, NIR-absorbing materials and substances refer to materials and substances that absorb substantially more NIR than visible light. Some useful selective NIR-absorbing materials include certain organic and metal-organic dyes such as Lumogen IR® 765 or 788 from BASF of Ludwigshafen, Germany or Epolight 5810® available from Epolin of Newark, N.J., that may be incorporated into polymeric films and layers. Lumogen 765 is an anthraisoquinoline dye, Epolight 5810 is a naphthalocyanine dye, and Yamamoto D13-037 and D13-016 are porphyradins dyes available from Yamamoto Chemicals, Inc., of Tokyo, Japan. These organic and metal-organic dyes often have limited stability when exposed to sunlight but generally have the advantage that they can dissolve in polymer and plastic layers and thereby provide haze free or very low haze layers. Selective NIR absorbers also include certain metal oxides such as cerium oxide which may be incorporated into the composition of a glass substrate, as in the case of Azuria® glass from PPG or Evergreen® glass from Pilkington. Selective NIR absorbers also include certain metal oxide thin films on a substrate such as glass or plastic. Selective NIR absorbers also include nanoparticles of certain inorganic materials which may be dispersed in a polymer matrix. NIR-absorbing nanoparticles of particular interest include indium oxide, tin oxide, indium tin oxide, antimony oxide, antimony tin oxide, antimony indium oxide, zinc oxide, cadmium oxide, aluminum doped zinc oxide, fluorine doped zinc oxide, fluorine doped tin oxide, tungsten oxide, doped tungsten oxides, tungsten bronzes including those of alkali or alkaline earth metals, lanthanum hexaboride and combinations of these materials in the composition of the nanoparticles themselves. Also, a substrate or matrix may contain any possible mixture of two or more than two of any of the NIR-absorbing material types described herein. Nanoparticles are of particular interest when they are small enough and dispersed well enough to minimize light scattering. Yet they may have absorption characteristics that are at least similar to or improved on as compared to the bulk material of which the nanoparticle is formed. Dispersing nanoparticles and/or combinations of NIR-absorbing materials which are dispersed and/or dissolved in a polymeric or plastic layer provides a cost effective way to provide NIR absorption in a window, as compared to providing layers of absorbing materials as a coating on glass or on a plastic substrate. As used herein, the term “dispersion” refers to a matrix including particulates that are not dissolved therein, and the term “solution” refers to a matrix including substances that are dissolved therein. Nanoparticles which are not dissolved may be uniformly and permanently dispersed in a matrix, especially a highly viscous or solid matrix like a polymer or plastic layer. A highly viscous or solid matrix like a polymer or plastic layer may act as a solvent and dissolve certain other substances. We disclose herein a number of novel and sunlight-durable combinations of dispersed and dissolved NIR-absorbing materials and substances. The use of nanoparticles as NIR absorbers is disclosed in U.S. Pat. No. 2,952,575 “Near Infrared Spectrum Filter Media,” to Donald H. Baltzer, assigned to Monsanto Chemical Company of St. Louis, Mo., the entirety of which is hereby incorporated by reference herein. This patent discloses near infrared shielding dispersions of sodium-tungstate particles, preferably in the 40-200 “millimicron” size range dispersed in polyvinyl butyral resin. Also disclosing nanoparticles as NIR absorbers are U.S. Pat. No. 7,655,301 “Laminated Structure for Shielding Against Solar Radiation,” to Takeshi Chonan and Kenji Adachi, assigned to Sumitomo Metal Mining Co., Ltd., the entirety of which is hereby incorporated by reference herein, and U.S. Pat. No. 8,083,847 “Fine Particle Dispersion of Infrared-shielding Material, Infrared-shielding Body, and Production Method of Fine Particles of Infrared-shielding Material and Fine Particles of Infrared-shielding Material” to Hiromitsu Takeda and Kenji Adachi, assigned to Sumitomo Metal Mining Co., Ltd., the entirety of which is hereby incorporated by reference herein. Preferred nanoparticles are cesium tungsten bronze (CTB) nanoparticles, available from Nanophase Technologies Corporation of Romeoville, Ill. Also preferred are similar materials known as cesium tungsten oxides (CWO) available from Sumitomo Metals and Mining of Tokyo, Japan. These CTB and CWO nanoparticles have a particularly large NIR absorbance relative to their small visible light absorbance. Also, when properly dispersed in polymer layers or films, these nanoparticle dispersions have low levels of light scattering or haze. For films that are about 0.75 millimeters thick, the preferred loadings of CTB or CWO nanoparticles are between 0.005 and 0.5 weight %. In general, a loading level that is independent of thickness is between about 10 and about 100 milligrams of CTB or CWO nanoparticles per square foot of film, interlayer, laminate, or window pane. Commonly used polymer substrates, interlayers, or matrices into which nanoparticles and other NIR absorbers may be dispersed and/or dissolved include poly(vinyl butyral) (PVB), silicone, ethylenevinylacetate (EVA), thermoplastic polyurethanes (TPUs), and ionomeric polymers like poly(ethylene-co-methacrylic acid) layers which often incorporate ions such as lithium, sodium, or zinc. We have demonstrated that large NIR absorbance, low visible light absorbance, and low levels of haze may be obtained with CTB or CWO nanoparticles dispersed in a variety of these polymer substrates, interlayers, or matrices. To minimize haze and maximize NIR absorption with nanoparticles, the desired NIR-absorbing nanoparticles are highly dispersed and as much as possible they are monodispersed by breaking up agglomerates. Also, the nanoparticles are preferably uniformly dispersed and distributed throughout the matrix provided by the polymer and any additives that make up the plastic film or sheet. To achieve this, the nanoparticles typically have surface treatments. In addition, additives like surfactants, dispersants, and synergists may be chosen as are suitable for each specific matrix or polymer system into which the nanoparticles are incorporated. The dispersions and distributions may be achieved with high speed or high shear blenders and various attrition methods known in the art. For films and sheets that contain plasticizers, it is preferable to first disperse and distribute the nanoparticles in the plasticizer or other material that can be added to the polymer system, and then disperse and distribute this nanoparticle-plasticizer dispersion in the polymer, for example by liquid injection of the nanoparticle-plasticizer dispersion into the polymer stream of a twin screw extruder. The twin screw extruder is highly effective in dispersing and distributing the nanoparticle-plasticizer dispersion throughout the polymer system. The extrudate with the dispersed nanoparticles preferably passes through a gear pump after exiting the twin screw extruder so consistent pressure is provided to the die in which the film or sheet is formed and exits through the die lips. We have discovered that when a polymer material containing virtually any type of NIR materials with substantial NIR absorption is used to laminate sheets of glass together, and that laminate is exposed to direct sunlight, it is preferred that that the glass be strengthened or that the glass have a low linear thermal expansion coefficient (for example between about 4×10−6/K and about 1×10−7/K). This is important so that when the laminate is exposed to and heated by sunlight it will not easily break, as would be the case for annealed glass, especially annealed soda lime glass. Any of the glass types used in the laminates of the invention may be strengthened or toughened by a heat treatment process that results in a mild increase in surface compressive stress or a large increase in surface compressive stress like heat strengthening or fully tempering the glass. Alternatively, the glass may be chemically strengthened. Substrates for laminates like low thermal expansion glass or toughened glass may be provided, for example, by various types of borosilicate, aluminosilicate, or boroaluminosilicate glass, including untreated or chemically strengthened aluminosilicate glasses, various alkali-boroaluminosilicate glasses, or various alkali-aluminosilicate glasses. Automobile windshields are not normally heat-strengthened or tempered other than the small amount of strengthening that may occur as part of the bending process. Surface compressive stress in typical windshield glass is in the neighborhood of 400 pounds per square inch, (psi). For windshields or other motor vehicle windows that are laminated with an interlayer loaded with NIR-absorbing materials, we have discovered that it is preferred that the glass be intentionally strengthened. In general, glass is considered fully tempered if its surface compressive stress is above 10,000 psi, and it is considered heat-strengthened if its surface compressive stress is in the range of about 3,500 to 7,500 psi. However, windshields are often produced with thin glass where it is difficult to achieve surface compressive stress in this range. Mildly heat-strengthened glass prepared by heat treating or strengthening to the lower surface compressive stress levels that may be achieved with thinner glass can still be effective in minimizing thermally induced glass breakage that occurs when thinner glass sheets are laminated together with the NIR-absorbing interlayers disclosed herein and then exposed to sunlight. This is especially important for solar control motor vehicle windshields and windows with thin glass and NIR-absorbing interlayers. As used herein, “mildly heat-strengthened glass” as heat treated glass with a surface compressive stress in the range of about 1,000 to 3,500 psi. This glass may be effective in minimizing glass breakage due to thermal stress, for example due to sunlight exposure of a laminate with the interlayers disclosed herein. In addition, careful edge treatment of the glass may help prevent thermal breakage. Preferred edge treatment processes include mechanical grinding, mechanical polishing, laser cutting, and/or flame polishing or flame annealing prior to strengthening. When the interlayer of a laminate includes NIR-absorbing materials and the laminate is heated by exposure to sunlight, there is often a desire to reject that heat to the outside of a vehicle or building. This heat rejection is aided by the presence of a hard coat low-e coating on the interior side of the laminate if the laminate is used in a monolithic window pane applications, or by a hard coat or a soft coat low-e coating if the laminate is part of an insulated glass unit (also known as a double pane or thermal pane window glass unit). Preferred hard coat low-e coatings include fluorine doped tin, fluorine doped zinc oxide, tin doped indium oxide (ITO), or aluminum doped zinc oxide. Preferred soft coat low-e coatings include thin layers of silver metal and silver metal alloys antireflected with thin layers of high index of refraction materials or dielectric materials like metal oxide, nitrides, and carbides. An advantageous combination is provided by two sheets of heat-strengthened glass (surface compressive stress of about 3,500 to 7,500 psi), or mildly heat strengthened glass (surface compressive stress of about 1,000 to 3,500 psi), or a heat-strengthened sheet of glass and a mildly heat-strengthened sheet of glass, where the sheets are laminated together with an interlayer containing NIR-absorbing materials like CTB or CWO nanoparticles (or one or more other types of dispersed and/or dissolved NIR-absorbing substances or materials), and where at least one of the sheets of glass having been coated with a low-e coating. This combination shows particular advantage when the low-e coating is on the interior or inboard-most surface of the laminate, in which case this combination provides excellent solar control by absorbing NIR and radiating a majority of the heat as long wavelength IR to the outside of a vehicle or building, with much less chance of glass breakage due to heating, especially breakage from localized heating of the laminate by sunlight exposure. For a motor vehicle windshield, advantageous combinations include two sheets of heat-strengthened glass, two sheets of mildly heat-strengthened glass, or two sheets glass which are edge treated and optionally strengthened, where the sheets are laminated together with an interlayer containing NIR-absorbing materials like CTB or CWO nanoparticles (or one or more other types of nanoparticles and/or other NIR absorbers), and where the inboard sheet of glass has a hard coat low-e coating on its interior surface. Alternately, the inboard sheet of glass may have an anti-lacerative film applied to the interior surface, and the anti-lacerative film may optionally be coated with a low-e coating or a hard coat layer on the interior side of the anti-lacerative film. In this case, the low-e coating may serve the additional function as the hard coat or abrasion-resistant coating. Some motor vehicle windshields and even some other motor vehicle windows have a requirement for at least some minimum visible light transmission level. Thus, another advantageous combination is to provide antireflecting coatings on the outside surfaces of one or both surfaces of the laminate to increase transmission by decreasing reflection losses of the laminate. For example, an antireflective coating or set of coatings may be provided on the outside surface or surfaces, and a low-e coating may be provided on an inside surface. Alternatively the antireflective coating or set of coatings may be provided on an outside surface and an anti-lacerative layer with an optional low-e may be provided on the inside of the laminate. Alternatively the antireflective coating or set of coatings may be provided on both an outside and an inside surface. The exterior surface of the glass itself, or the exterior layer of the antireflective coating or set of coatings, may comprise a thin layer (such as certain forms of titanium dioxide), which provides a self-cleaning effect. In any case where an antireflective coating or set of coatings is used, the interlayer may include additional NIR-absorbing materials for increased solar control as compared to a laminate without antireflective coatings, while still meeting certain minimum visible light transmission requirements. U.S. Pat. Nos. 6,084,702 and 6,446,402, the entireties of which are hereby incorporated by reference herein, disclose the advantages of using thermochromic layers between sheets of bent glass as compared to other variable transmission technologies (such as electrochromic or suspended particle-based devices), for making dynamic, solar control windows with bent glass. However, we have discovered that a significant advantage is achieved with solar control interlayer and laminates with NIR absorbers in the interlayer and solar control interlayers and laminates that combine NIR absorbers with thermochromic materials or systems and/or acoustic or sound deadening character, when the bent glass that is mildly heat-strengthened, heat-strengthened, tempered, has a low thermal expansion coefficient, is specially edge treated and/or is chemically strengthened. This advantage is further extended when the laminate includes a hard coat low-e coating or stack of coatings on one or both of the exterior surfaces and when the two sheets of glass used to make the laminate are matched, to a large extent, in overall curvature or amount of bending or the radius curvature of the bent pairs of glass to be laminated together. Bending uncoated glass is different from bending low-e coated glass because heat is reflected from the low-e coated side and the heat is emitted differently. Thus, extra care must be taken to match the bending of an uncoated sheet of glass to the bending of a coated sheet of glass or coated sheets of glass, one of which has a low-e coating on what becomes the convex side and the other of which has a low-e coating on what becomes the concave side. In order to make successful laminates, we have discovered that the sheets of glass must mate together reasonably well when the two sheets of glass are nested together. When the two pieces of glass are nested together and there should be no more than a 3 mm gap between any of the mating surfaces prior to lamination in order to dramatically improve the chances that the laminate will be stable with regard to delamination or bubble formation. Delamination and/or bubble formation are significant challenges for laminates wherein the interlayer includes NIR-absorbing materials and/or thermochromic materials and systems, as these laminates become warm when exposed to sunlight, especially on warm days. The surface texture of the interlayer has also been found to be an important factor for good de-airing between the interlayer and the bent glass to minimize trapped air that could give rise to bubble formation when the laminate is warmed by sunlight. Preferred surface texture for the interlayer for bent glass laminates of the invention is provided by melt fracture or by embossing the interlayer with surface roughness of between about 5 microns to about 150 microns. More preferably it is between about 10 microns to about 80 microns. We have also found that the moisture content of the interlayer used in making these laminates is of significant concern when there are NIR-absorbing materials and/or thermochromic materials and systems present in the interlayer. Drying of the interlayer may be provided by method and constructions disclosed in U.S. Ser. No. 12/816,635 METHOD AND CONSTRUCTIONS FOR MOISTURE SENSITIVE LAYERS AND STRUCTURES HAVING REDUCED MOISTURE CONTENT IN MOISTURE SENSITIVE LAYERS, the entirety of which is hereby incorporated by reference herein. To avoid bubble formation in these laminates with an NIR-absorbing interlayer when the laminates are used as solar control windows, the interlayer should have a maximum water or moisture content between about 0.05% and about 1% by weight of water compared to the total weight of the interlayer. Most plastic or polymer films or sheets, including those including CTB or CWO nanoparticles and combinations of nanoparticles with other NIR-absorbing materials are subject to some environmental degradation. Thus stabilization of plastic or polymer films or sheets including interlayers by preventing or minimizing degradation due to heat and/or light induced reactions of materials is desirable. The best approach to achieving stability is to use substances or materials that are inherently high in stability. Also effective is to provide barriers and seals against the ingress of substances or radiation that contribute to degradation, especially oxygen, water and/or ultraviolet light. Another important approach is to provide additives which minimize, or mitigate the impact of degradation processes via competitive light absorption, sequestering degradation products and/or inhibiting further degradation. The plastic or polymer films or sheets which contain NIR-absorbing materials like CTB or CWO nanoparticles (or one or more other types of nanoparticles and/or other NIR absorbers) may also contain various stabilizers and additives. These additives include stabilizers such as UV absorbers, UV stabilizers, hindered amine light stabilizers, antioxidants, thermal stabilizers, adhesion promoting agents, and/or adhesion inhibiting agents, and the like. The UV absorbers and light stabilizers may include hydroxyphenylbenzotriazoles, hydroxyphenyltriazines, hydroxybenzophenones cyanoacrylates, and/or hindered amines. The plastic or polymer films or sheets may also contain plasticizers, coloring agents, color suppressing agents, and/or a variety of other additives known in the art of polymer films and interlayers. These additives are used in amounts in which they are effective. Typically this means about 0.1 to about 3.0 weight % for each additive. Important stabilizers that may be added to the plastic or polymer films or sheets including interlayers are antioxidants and heat stabilizers. Preferred are free radical inhibitors such as the hindered phenols. Some useful antioxidants, thermal stabilizers, and anti-yellowing agents include 2,6-di-tert-butyl-4-methylphenol (BHT), Irganox® 245, Irganox® 1010, Irganox® 1035, Irganox® 1076, Irganox® 3114, Irganox® 5057, and Anox® IC-14, and a variety of hydroquinones like 2,5-di-t-butyl,1,4-hydroquinone. The Irganox® materials are available from BASF, and the Anox® material is available from Addivant of Danbury, Conn. These stabilizers are typically added in amount of from 0.01% to 3% by weight of the interlayer. Photodegradation, especially from short wavelength light (i.e., UV in the range of 280 to 400 nanometers and short wavelength visible light in the range of 400 to 500 nanometers) in the plastic or polymer films or sheets or due to short wavelength light absorption by the NIR-absorbing material, may be minimized or eliminated by adding short wavelength absorbing additives to the polymer of interest. These additives are sometime called “UV absorbers” and may be divided into two groups. The first group includes materials which simply absorb short wavelength light. Examples of this group are ethyl-2-cyano-3,3-diphenylacrylate and (2-ethylhexyl)-3,3-diphenylacrylate, available from BASF as Uvinul® 3035 and Uvinul® 3039, respectively. The second group involves absorbers of short wavelength light which also function as stabilizers against the propagation of degradation initiated by light exposure. Examples of materials of this group are hydroxybenzophenones, hydroxyphenylbenzotriazoles, and hydroxyphenyltriazines. Examples of these materials are sold under the trade names: Tinuvin® P, Tinuvin® 213, Tinuvin® 234, Tinuvin® 326, Tinuvin® 327, Tinuvin® 328, Tinuvin® 400, Tinuvin® 405, Tinuvin® 479, and Tinuvin® 1600. These materials are available from BASF. Also useful are nickel salt stabilizers such as dialkyldithiocarbamates which are good UV absorbers, though they may give a slight yellow hue to polymer films. Also effective in helping to stabilize NIR-absorbing interlayer systems are light stabilizers that themselves are not very effective at absorbing short wavelength light. Preferred materials of this type are hindered amine light stabilizers (HALS). Useful HALS include Tinuvin® 144, Tinuvin® 123, Tinuvin® 765, and Tinuvin® 770, which are available from BASF. Synergistic combinations of several types of light and thermal stabilizers are particularly effective in stabilizing interlayers with NIR-absorbing materials. Any or all of the above stabilizers or combination of stabilizers may be added to any of the NIR-absorbing plastic or polymer films including any of the interlayers of the present invention. In addition, the plastic or polymer films or laminates comprising these interlayers may be edge sealed to prevent delamination and/or ingress of substances like water and oxygen. Eliminating or minimizing moisture and oxygen often helps to inhibit many of the thermal and photodegradation pathways or modes, thus improving thermal and photo stability of the interlayers. When certain nanoparticles, such as CTB or CTO nanoparticles, are used as the NIR absorber, there may be some color appearance to the interlayer and/or the laminate which contains the interlayer. This color often gives the laminate a slight blue appearance. We have found that this color may be suppressed or made to appear closer to neutral by the addition of certain visible light absorbing agents directly to the interlayer, without adversely impacting the performance or durability of the interlayer. A preferred color neutralizing agent is Keyplast Red 2G, present in amounts between about 0.0005 and about 0.01 weight %. Testing was conducted to evaluate color suppression of PVB interlayers including CTB nanoparticles. Five interlayer films were prepared by extrusion. The interlayers had the following compositions:
Accordingly, Samples 1-3 were comparative formulations without a color suppressing agent and Samples 4-5 were color suppressed. A laminate was made with each interlayer using two sheets of 3 millimeter thick, clear soda lime glass. The laminate sample numbers in Table 1, below, correlate to the interlayer formulations above. Color suppression was successful in reducing a* values and hence the c* value to give a more neutral color appearance to the laminate made with these interlayers. A preferred method of preparing the NIR-absorbing plastic or polymer films including interlayers is by an extrusion cast method. A particularly preferred method of extrusion is a high shear process using a twin screw extruder to highly disperse and distribute the nanoparticle NIR absorber in the interlayer material and to provide layers with uniform light absorption properties and with uniform and minimal levels of haze. The twin screw extruder is preferably connected to a gear pump to provide uniform pressure to the extrusion die to help achieve uniform gauge to the resulting interlayer. A transverse direction variation in gauge of less than about ±5% of the average thickness and machine direction variation in gauge of less than about ±7% of the average thickness has been achieved with interlayer containing NIR-absorbing particles with the twin screw method. Although generally more expensive, highly controlled gauge and uniformity of absorbance may also be achieved with NIR-absorbing interlayers prepared by solvent casting. For less demanding applications, NIR-absorbing plastic or polymer films of the invention, including interlayers, may also be produced by extrusion with a single screw extruder. It is preferred that interlayers comprising the NIR-absorbing materials have a surface texture to aid in de-airing between the glass and the interlayer during the lamination process. This texture may be provided by embossing or by melt fracture of the interlayer surface just prior to or as the layer exits the die of an extruder, or by a post-embossing process if the layer is produced by solvent cast. An interlayer may have a smooth side and texture on another side if it is to be bonded to other films, sheets, or interlayers in an encapsulation or pre-lamination process to make bi-layer, tri-layer, or multi-layer stacks. Interlayer texture or surface roughness (Rz) may be determined directly with a profilometer, such as a Pocket Surf PS1 from Mahr Federal Inc., Providence, R.I. The Rzvalue for surface roughness of the interlayer surface to be adhered to the glass may be between about 5 microns to about 150 microns. More preferably it is between about 10 microns to about 80 microns. A preferred interlayer for incorporating the NIR-absorbing materials is an acoustic or sound deadening interlayer. NIR-absorbing nanoparticles are readily dispersed in low molecular weight polymers or high molecular weight polymers such as PVB. Multilayer acoustic interlayers are prepared by combining stiffer or higher molecular weight with less stiff, lower molecular weight polymeric layers. These multilayer interlayers with NIR-absorbing materials in one or more than one of the layers of an acoustic interlayer are particularly efficient in dampening acoustic energy in the 80 hertz to 8,000 hertz frequency range. As used herein, an interlayer is an “acoustic interlayer” if the sound transmission of the laminate with the acoustic interlayer is decreased by at least 2 decibels as compared to a laminate with the same thickness and base polymer of a non-acoustic interlayer. This has particular advantage with windows for heavy equipment vehicles, which normally have monopane windows, as there is often a lot of heat load from the sun and a lot of noise. An interlayer with NIR-absorbing materials may be used in combination with glass that has a hard coat low-e coating on the interior surface of the window pane. This combination, in conjunction with the extra sound deadening character of an acoustic interlayer, provides an outstanding solution to both noise and heat load problems, simultaneously. When the interlayer is made up of multiple layers, an advantageous condition is realized in which the NIR-absorbing materials are placed in one layer, and where another layer between the sun and the layer with NIR-absorbing materials contains UV absorbers which act as a barrier to prevent or minimize the amount of UV reaching the NIR-absorbing materials. If there is adequate UV absorption in the layer closer to the sun, this configuration prevents the UV from degrading the NIR-absorbing materials and/or prevents the UV that would otherwise be absorbed in the NIR-absorbing materials from facilitating the degradation of other components of the plastic or polymer films. The barrier may also protect other components of the other layers of the interlayer from potentially detrimental UV exposure. U.S. Pat. Nos. 6,084,702 and 6,446,402, the entireties of which are hereby incorporated by reference herein, disclose the use of visible and/or NIR-absorbing materials as static and/or residual light energy absorbing materials combined with or associated with thermochromic, (TC), layers to enhance the sunlight responsiveness of the thermochromic layers. Patent publication WO 2008087077 A1, the entirety of which is hereby incorporated by reference herein, discloses the use of NIR-absorbing nanoparticles for enhancing the sunlight responsiveness of TC layers. Patent publication US 20130215490 A1, the entirety of which is hereby incorporated by reference herein, discloses light absorbing materials which generate heat when exposed to light and in which a temperature rise above a threshold temperature causes a phase transformation in TC materials like VO2nanoparticles. However, we have discovered an advantageous combination of NIR-absorbing nanoparticles and ligand exchange thermochromic (LETC) materials and systems. LETC materials, systems, devices and applications are described in detail in U.S. Pat. Nos. 7,525,717; 7,538,931; 7,542,196; 7,817,328; 8,018,639; 8,154,788; 8,182,718; 8,431,045 and 8,623,243. The entire contents of these patents are hereby incorporated by reference. U.S. Pat. Nos. 7,525,717; 7,538,931; 7,542,196; 8,018,639; 8,182,718; 8,431,045 disclose a system with sunlight responsiveness enhanced by a NIR absorber combined with a TC system as described in the following quote from these disclosures: “the nearly temperature independent absorbance of CoI42−is largely in the NIR and causes the system to warm on sunlight exposure. The sun exposure induced temperature rise causes an increase in the concentration of NiI42−and a decrease in visible light transmission. Any other thermochromic layer in contact with a layer containing this system would also increase in temperature and broad visible light attenuation is possible just from direct sunlight exposure.” The goal of combining NIR-absorbing materials with thermochromic materials for many window applications is to maximize visible light transmission of the window when there is little or no direct sunlight on the window, to minimize solar energy transmission when there is direct sunlight without losing too much desirable daylighting, and to do so with excellent durability throughout the lifetime of the window and with minimal haze in the window unit at all times. This invention takes the concept of combining NIR-absorbing materials with thermochromic materials and systems to a whole new level. We have discovered combinations in which the interlayer has an internal visible light transmission (Tvis) above 50% and a total solar transmission (Tsol) below 55% when the interlayer is at 15° C., and an internal Tvisbelow 25% and a total Tsolbelow 25% when the interlayer is at 75° C., while at same time the internal haze of the interlayer is below 3.5% all of the time. The internal visible light transmission (Tvis) of the interlayer is calculated by measuring the light transmission spectrum of a laminate at the temperature of interest. The laminate for determining internal transmission of the interlayer may be made by placing the interlayer between two sheets of 3 millimeter thick, clear, soda-lime glass and applying heat and pressure until the surface texture of the interlayer is no longer observed. The wavelength range for the spectral measurements includes from about 380 to about 780 nm. The light transmission and reflectance of the glass used to make the laminate is also measured in the same wavelength range. These spectra are used to calculate the percentage of visible light transmitted or reflected according to National Fenestration Rating Council (NFRC) 300-2014. The Tvisof the interlayer is defined as the result of the following calculation. The visible light reflectance of the laminate is approximated as the value 0.0415+(laminate visible transmittance*0.0415). This calculation is a close approximation for the correction of the transmission losses due to the reflections from the air-glass interfaces of the laminate and the light absorbed by the glass itself and is used as defined herein to give a value for internal transmission. Thus, for a laminate composed of two pieces of 3 mm clear soda lime glass with a Tvisfor the laminate of 55.00% calculated from the measured spectral transmission, the application of the correction factor ((0.903+0.083)*(0.903+0.083)*(1−(0.0415+0.55*0.0415))=0.9097 which would yield an internal transmission of the interlayer of 60.46% (i.e. 55%/0.9097) where the transmission and reflectance values are typical values for clear glass from the International Glazing Database. The internal solar energy transmission (Tsol) of the interlayer is calculated by measuring the transmission spectrum of a laminate at the temperature of interest. The laminate for these spectral measurements may be made by placing the interlayer between two sheets of 3 millimeter thick, clear, soda-lime glass and applying heat and pressure until the surface texture of the interlayer is no longer observed. The wavelength range of the transmission spectrum includes the range from 300 to 2500 nm. The transmission and reflection spectra of the glass used to make the laminate are also measured in the same wavelength range. These spectra are then used to calculate the percentage of solar energy transmitted or reflected according to NFRC 300-2014 for the laminate and the sheets of glass. The internal Tsolof the interlayer is defined as the result of the following calculation. This calculation is a close approximation for the correction of the transmission losses due to the reflections from the air-glass interfaces of the laminate and the light absorbed by the glass itself and is used as defined herein to give a value for internal solar transmission. Thus, for a laminate composed of two pieces of 3 mm clear soda lime glass and an interlayer with a calculated Tsol of 37.40%, the application of the correction factor ((0.854+0.077)*(0.854+0.077)*(1−(0.0385+0.374*0.0385))=0.8209 would yield an internal Tsol of the interlayer of 45.56% (i.e. 37.4%/0.8209) where the transmission and reflectance values are typical values for clear glass from the International Glazing Database. Internal haze of the interlayer is calculated by measuring the haze of a laminate made as just described and subtracting 0.5 percentage points to compensate for other sources of haze in the laminate, such as the two glass layers. Thus a laminate with a measured haze of 4% would result in a 3.5% internal haze for the interlayer. In some embodiments of the invention, laminates made with 3 millimeter thick, clear, soda lime glass with an interlayer including NIR-absorbing material and thermochromic material have a Tvisabove 50% and a Tsolbelow 46% when the interlayer is at 25° C. In some embodiments, the disclosed laminates have a Tvisabove 45% and a Tsolbelow 35% when the interlayer is at 25° C. In some embodiments, the disclosed laminates have a Tvisbelow 25% and a Tsolis below 20% when the interlayer is at 65° C., while at same time the internal haze of the interlayer is below 3.5% at all temperatures and transmissions. We have discovered an oxygen insensitive thermochromic interlayer with NIR-absorbing materials which has a Tvisabove 45% and a Tsolbelow 25% at 25° C., and a Tvisbelow 25% and Tsolbelow 20% at 65 C. An interlayer temperature of 15° C. is common when the ambient outdoor temperature is in the vicinity of 15° C. and there is little or no direct sunlight on the window that includes these interlayers. An interlayer temperature of 65° C. is often observed on days and at times when there is significant direct sunlight on a window including a thermochromic tinting interlayer, especially an interlayer that includes a NIR-absorbing material or a combination of NIR-absorbing materials. The window and interlayer get this hot in direct sun because much of the direct sunlight which would otherwise have been transmitted through the window is instead being absorbed by these highly efficient, dynamic interlayers, solar control laminates, and windows. An unexpected challenge arises when attempting to minimize haze in a polymer matrix that includes thermochromic materials. The thermochromic materials and systems and associated additives present a unique matrix requiring specific surfactant(s), dispersant(s), and synergist(s) to achieve high NIR absorbance, minimal visible light absorbance, and also minimal light scattering or haze. Suitable surface treatments for particles are provided by amines and amide surface modifying agents such as alkyl-4-dimethylaminobenzoates and stearyl stearamide. Dispersants and synergists such as the hyperdispersants, for example Solsperse from Lubrizol of Wickliffe, Ohio, are useful for minimizing haze and optimizing desired high NIR absorbance and low visible light absorbance. Of particular interest is U.S. Pat. No. 7,525,717 entitled “Multi-layer Ligand Exchange Thermochromic Systems,” the entirety of which is hereby incorporated by reference herein, which discloses multilayer TC films and separators for multilayer TC systems. As used herein, the term “interlayer” may be a single film, sheet, or layer or alternately a series of two or more films, sheets, or layers including separator layers between various other layers. An advantage is realized when a UV-absorbing TC layer without NIR-absorbing materials is placed between the sun and a TC layer comprising NIR-absorbing materials. In addition to providing an exceptional barrier to UV light, as the TC layer without NIR-absorbing materials is warmed by sunlight, it tints and also blocks energetic visible light that would otherwise contribute to degradation processes in the NIR-absorbing materials and/or the layer containing them. This is particularly advantageous when the tinting of the TC layer(s) without NIR-absorbing materials results in absorbance of short wavelength visible light in the range of about 400 nm to 500 nm, as photons with these wavelengths are the most energetic wavelengths of visible light. U.S. Pat. No. 7,525,717 also discloses the use of separators between TC layers in a multilayer system. A similar advantage is realized when the separator or a coating on the separator between two TC layers includes dispersed NIR-absorbing nanoparticles, dissolved NIR-absorbing materials, or combinations of dispersed particles and dissolved materials. An example of NIR absorbing materials coated on a layer that may be used as a separator is provided by Air Blue 80 available from Llumar. Here, the TC layer materials have no, or at most minimal, interaction with the NIR-absorbing nanoparticles and/or materials, and thus the NIR-absorbing nanoparticles and/or materials will not act by themselves or in concert with materials in the TC layers to cause degradation processes. Also, the absorption of NIR light in the separator is particularly effective in rapidly heating the TC layers with which the separator is in contact. A separator which is a good UV absorber provides an additional advantage, especially if the TC layer closer to the sun does not already provide this feature. Thus, a preferred separator for a multilayer TC system combines NIR absorption and UV absorption for enhanced stability and performance. Another previously unforeseen advantage is that using NIR-absorbing materials in the separator often provides enhanced separator or barrier characteristics. In the case where the NIR-absorbing materials are impermeable nanoparticles, the separator is even more effective in preventing materials from one TC layer from diffusing through the separator into another TC layer, and vice versa. The impermeable nanoparticles introduce a tortuous path for diffusion, and thus effectively increase the diffusion path length for materials that might otherwise diffuse more quickly through the separator and thereby decrease the useful life of the TC system. This is particularly of interest for multilayer TC systems used in energy saving windows, where the useful life might be 20 to 30 years. While it is preferable to locate the NIR-absorbing materials in layers further from the sun (i.e., positioned such that UV and short wavelength visible light are effectively absorbed before reaching the layer(s) containing the NIR-absorbing materials to minimize degradation), remarkably, we have discovered that some TC layers which include NIR-absorbing materials that may be exposed to sunlight without a barrier for UV or short wavelength visible light and still exhibit acceptable durability. This discovery is illustrated in the durability results and discussion of The interlayers, films, or sheets of the invention are often used in laminates, but they may also be used as a retrofit product in the form of a sheet or film that to be adhered to an existing window pane. It is preferable, but not always necessary, that the glass of the window pane be strengthened, tempered, or heat treated to prevent breakage upon exposure to sunlight. The sheets or films may be directly adhered to glass or may be part of a multilayer film structure in which other films play a role as substrate for abrasion resistant hard coat layers, low emissivity layers, spall resistance, and/or structural shatter resistance. The NIR-absorbing materials may be contained in a sheet or film such as an acrylic, polycarbonate, or polyethylene terephthalate (PET) sheet or film, or the NIR-absorbing materials may be contained in an adhesive/interlayer that is used to bond sheets or films like an acrylic, polycarbonate, or PET sheets or films to an existing window pane. The adhesive/interlayer may also contain thermochromic materials. It has been discovered that a particularly effective solar control product may be provided by NIR-absorbing materials in a sheet or film or in an adhesive/interlayer for bonding the sheet or film to glass in combination with LETC materials and systems. In particular, LETC materials and systems that comprise nickel ions and bromide ions or cobalt ions in combination with bromide ions or ligands that coordinate to cobalt through oxygen are especially effective in this type of application. These LETC materials and systems have little or no oxygen sensitivity, and when combined with the NIR-absorbing materials disclosed herein, provide excellent solar control. This combination substantially blocks the NIR portion of the spectrum and provides variable visible light attenuation due to the thermochromic materials, especially due to the sunlight responsiveness of the combination of NIR absorbers and thermochromic materials. These TC materials and systems avoid the oxygen sensitivity of iodide-based thermochromic materials and systems. Thus, this combination may be used in applications where the layer(s) containing the thermochromic materials are not laminated between two sheets of glass. In general, glass provides a much better barrier to oxygen than plastic sheets or films, so oxygen sensitivity of the thermochromic material is less of a concern for glass-based laminate applications. While certain nanoparticles are good absorbers of the NIR light from the sun that reaches the earth surface, few are known which provide a sharp cutoff in the far red wavelengths of visible light and/or the infrared wavelengths nearest the visible region. The wavelength of particular interest are between 650 nm and 850 nm and particularly between 700 nm and 800 nm. We have discovered a class of remarkable absorbers, certain tetrahalometalates, that provide this sharp cutoff for the NIR region nearest to the visible. These tetrahalometalates not only absorb strongly in the nearest NIR region to visible, but also, in some cases, provide excellent UV absorbing properties. These tetrahalometalate sharp cutoff absorbers may also absorb some of the longest wavelengths of visible red light without a large impact on the total visible light transmission or the overall color of a film or set of films that include the absorbers. Even if there is a small amount of color, which in some cases might be objectionable, we have discovered special color suppression systems that are effective in giving a gray or neutral color appearance even in these specific circumstances. Remarkably, it has been discovered that tetrahalometalate NIR absorbers may be dissolved in some polymer materials, are thermally stable enough to be incorporated in the interlayers disclosed herein during the extrusion process, and exhibit good durability when exposed to sunlight. Tetrahalometalates useful herein may be metalates of a transition metal ion with ions of bromide, chloride, or iodine. Preferably, they are metalates of nickel or cobalt with bromide, chloride, or iodine. The tetrahalometalates of particular interest are tetrabromonickelate (NiBr42−), tetrabromocobaltate (CoBr42−), and tetraiodocobaltate (CoI42−). These tetrahalometalates may be used in amounts of about 0.1 gram to 10 grams per square foot of interlayer. We have discovered that obtaining an interlayer with a tetrahalonickelate or a tetrahalocobaltate as a NIR absorber with minimal visible light absorption requires coordination of a number of criteria at once. First, the salt of the tetrahalometalate must be largely soluble in the interlayer polymer at some useful concentration level, i.e., a concentration that is able to provide the desired NIR absorption. The choice of interlayer polymer and the cation associated with the tetrahalometalate are important considerations in this regard. Preferred interlayer materials are PVB, TPU, ionomers like poly(ethylene-co-methacrylic acid), and EVA. Of these, PVB is most preferred. For the cation, tetra-alkyl-ammonium, tetra-aryl-ammonium, tetra-aralkyl-ammonium, tetra-alkyl-phosphonium, tetra-aryl-phosphonium, tetra-aralkyl-phosphonium, and alkali metal cations are preferred. Of these, tetra-alkyl-ammonium cations are most preferred. Second, the metal, nickel, and/or cobalt must be largely coordinated by four halide ions. Simply dissolving a salt like tetrabutylammonium tetrabromonickelate (TBA)2NiBr4in a polymer or liquid solvent is not sufficient, as almost always, significant dissociation of halide ion from the metal ion is observed with these metal ions. When some of the halide ions are displaced, the spectrum of the metal complexes shifts to shorter wavelengths, which results in more visible light absorption. In order to shift the equilibrium so that most of the nickel and/or cobalt ions are largely surrounded by four halides, excess halide ion generally needs to be present. It is preferred that the ratio of halide ion to transition metal ion be greater than four, and more preferably greater than six. Third, the combination must be chemically stable and especially photochemically stable with respect to sunlight exposure over long periods of time. We have discovered that the UV absorption of NiBr42−, and tetraiodocobaltate or CoI42−can be especially effective in stabilizing interlayers with nanoparticles like CTB, CWO, or other tungstates or tungsten bronze particles. Particularly preferred interlayers contain NiBr42−or CoI42−in a layer with NIR-absorbing nanoparticles including CTB and/or CWO. The tetrahalometalates of nickel and cobalt combine particularly well with multilayer alternating refractive index (MLARI) film, especially those know as Ultra Clear Solar Films (UCSF), available from 3M of St. Paul, Minn. The UCSF films reflect NIR at longer wavelengths, but transmit essentially all of the wavelengths typically absorbed by tetrahalometalates of nickel and cobalt. The combinations disclosed herein allow the blockage of more of the NIR energy of the sun than is possible with either the UCSF or the tetrahalometalates alone. See All of the NIR-absorbing nanoparticles, soluble NIR-absorbing materials and/or NIR-absorbing tetrahalometalates and combinations thereof may be advantageously combined with acoustic PVB. U.S. Pat. No. 7,968,186 discloses “Glass laminates comprising acoustic interlayers and solar control films,” the entirety of which is hereby incorporated by reference herein. Acoustic PVB often consists of a layer of soft or less stiff PVB, which optionally includes lower in molecular weight and/or higher plasticizer content PVB sandwiched between two layers of stiff PVB which optionally comprise higher in molecular weight and/or lower plasticizer PVB. The PVB layers may be separated from each other by the separator such as those described in U.S. Pat. No. 7,525,717 entitled “Multi-layer Ligand Exchange Thermochromic Systems” or particularly advantageously by a UCSF film. UCSF films provide excellent separator properties based on their multilayer nature and provide selective NIR reflection which makes UCSF films particularly well suited for use in NIR attenuating acoustic interlayers where there are varying amounts of plasticizer present in the PVB layers. The UCSF separator keeps the plasticizer from diffusing or migrating from a low plasticizer layer to a high plasticizer layer. Sound traveling through a laminate with layers of alternating stiffness provides enhanced sound reduction or attenuation. The NIR-absorbing PVBs of the present invention are added to stiff and/or soft PVB layers and they are stacked together for acoustic interlayer applications with or without separator(s). Even PVB with no plasticizer or very low plasticizer with or without NIR-absorbing nanoparticles and/or tetrahalometalates may be used as one or more of the stiff layers of the acoustic PVB and provide a stiffness and sound reduction capability not previously realized in acoustic PVBs. A combination of nanoparticles and tetrahalometalates NIR absorbers allows one to achieve a very high ratio of visible light transmission, Tvis, to solar energy transmission, Tsol. A high ratio defined by Tvisdivided by Tsolis desirable in many window applications where there is a desire for good visibility by an occupant looking through the window and at the same time there is a desire to minimize the heat load from the sun that is experienced by the occupant through the window. Thus, the Tvisinvolved is based on human eye sensitivity to the visible wavelengths and the Tsolis the total solar energy transmitted of all the wavelengths of solar radiation reaching the earth's surface. It is preferred that the Tvisbe determined by using the measured visible spectrum to calculate the percentage via NFRC 300-2014. Standard Weather-Ometer® exposure is exposure at in an Atlas Electric Weather-Ometer® at a black panel temperature of 85° C. and an irradiance of 0.55 watts/square meter at 340 nm. The inventions are described and further illustrated by the figures and structures and discussion below. All Tvisand Tsolcalculations reported below were performed using the method outlined in NFRC 300-2014. Haze measurements were made with a Shimadzu UV3101 with a standard integrating sphere attachment. Referring now to the figures, By the procedure given herein, the internal values for the laminate were calculated to be as shown below in Table 3: According to http://efficientwindows.org/shgc.php the Solar Heat Gain Coefficient, (SHGC), is defined as “the fraction of incident solar radiation admitted through a window, both directly transmitted and absorbed and subsequently released inward. SHGC is expressed as a number between 0 and 1. The lower a window's solar heat gain coefficient, the less solar heat it transmits.” Table 4 below shows the Tvis, Tsoland SHGC for some comparison laminates and some laminates of the invention which include some of the interlayers of the invention. In each case the glass used in the laminates may be strengthened by any means, have low thermal expansion and/or be edged treated. Interlayer “NIR PVB” is interlayer with a transmission spectrum similar to The following procedure was used to obtain the optical properties for these glazing configurations. UV/Vis/NIR spectral data for a laminate was recorded using a Shimadzu UV3101. The data were imported into Optics 5.1, available from Lawrence Berkeley National Laboratory of Berkeley, Calif., (LBNL). The Optics 5.1 package was used to extract the spectral data for the interlayer and calculate spectral data for the laminate configurations listed in Table 4 using the procedures outlined in the Therm 6.3/Window 6.3 NFRC Simulation Manual (July 2013) from LBNL. The spectral data for these laminates were imported into LBNL's Window 6.3.74, which was used to calculate the values provided in Table 4. The SHGC of monopane laminates which include combinations of thermochromic systems and NIR absorbing materials or substances reported in Table 4 start low and go even lower when the thermochromic interlayer is heated by, for example, exposure to direct sunlight. The sunlight responsiveness the thermochromic interlayer has also been dramatically enhanced so they darken faster and darken more when exposed to sun than laminates without the NIR absorbers. These are remarkably low SHGC values for monopane window units exhibiting dynamic tinting. The dynamic tinting allows for high Tvisvalues in the absence of heat by direct sunlight and low Tvisvalues which gives the low SHGC value when the laminate is heated by direct sunlight. Often, laminated glass is produced by using two panes of annealed glass with an interlayer including silicone, PVB, EVA, TPU, or ionomeric polymers. We have found that interlayers comprising NIR-absorbing materials, particularly CTB or CWO nanoparticles are not well suited for use with annealed glass. These annealed glass laminates containing nanoparticle-loaded interlayers have a propensity to crack or break when they are heated, especially when heated non-uniformly by sunlight exposure. Substituting heat-treated glass for the annealed glass in the laminates results in laminates that are very resistant to heat-induced cracking or breaking, as illustrated in the example described below to compare the durability of a laminate prepared using annealed glass to a laminate prepared using heat-strengthened glass. A NIR-absorbing PVB interlayer was prepared by extrusion through a 6 inch slot die utilizing a C. W. Brabender (Hackensack, N.J.) Intellitorque 7150 conical twin screw extruder. The composition of the interlayer was as follows: 0.06 weight % CTB in 220 parts tri(ethylene glycol) bis(2-ethylhexanoate) and 450 parts PVB resin. The extruded interlayer was about 400 microns thick. Three laminates (Laminates 1, 2, and 3) were prepared, where Laminates 1 and 2 included annealed glass, and Laminate 3 included sheets of heat strengthened glass with a surface compressive stress between 3,500 and 7,000 psi. The laminates were prepared by laying two sheets of the interlayer side by side on 12 inch by 12 inch sheets of glass and processing in a vacuum bag lamination process with a maximum processing temperature of 140° C. Laminates 1 and 2 were each prepared with two 12 inch by 12 inch sheets of 3 millimeter annealed, clear, soda lime glass, and Laminate 3 was prepared with two 12 inch by 12 inch sheets of 3 millimeter thick heat-strengthened, clear, soda lime glass. Each of Laminates 1, 2, and 3 was placed 5 inches from a 700 W halogen lamp equipped with a 5 millimeter thick soda lime glass filter. The amount of time required for the laminates to crack or break under these conditions was recorded. Also, the temperature of the laminate at the end of each trial was recorded. For Laminate 1, one sheet of glass in the laminate cracked after an exposure of 6.7 minutes, and the second sheet of glass cracked after 7.0 min total exposure time. The temperature of sample 1 after 7.00 min exposure was 115° C. For Laminate 2, both sheets of glass cracked after 8.6 min exposure. The temperature of sample 2 after 8.6 min exposure was 125° C. Laminate 3 was exposed for 80 min without any cracks or breaks developing. The temperature of the Laminate 3 after 80 minutes of exposure was 182° C. Although the invention is shown and described with respect to certain embodiments, it should be clear that modifications will occur to those skilled in the art upon reading and understanding the specification, and the present invention includes all such modifications.CROSS-REFERENCE TO RELATED APPLICATIONS
TECHNICAL FIELD
BACKGROUND
SUMMARY
BRIEF DESCRIPTION OF THE DRAWINGS
DETAILED DESCRIPTION
Sample 1 745 −5.6 2.5 6.1 89.0 Comparative Sample 2 768 −7.0 1.9 7.3 87.4 Comparative Sample 3 455 −5.5 2.1 5.9 88.7 Comparative Sample 4 649 −2.0 3.7 4.2 88.6 Suppressed Sample 5 708 −0.7 3.5 3.6 87.7 Suppressed
where
A=Tviscalculated for the laminate
B=Tvisof the first glass layer+visible light reflectance of the first glass layer
C=Tvisof the second glass layer+visible light reflectance of the second glass layer
D=1−the visible light reflectance of the laminate
where
A=Tsolcalculated for the laminate
B=Tsolof the first glass layer+solar energy reflectance of the first glass layer
C=Tsolof the second glass layer+solar energy reflectance of the second glass layer
D=1−the solar energy reflectance of the laminate
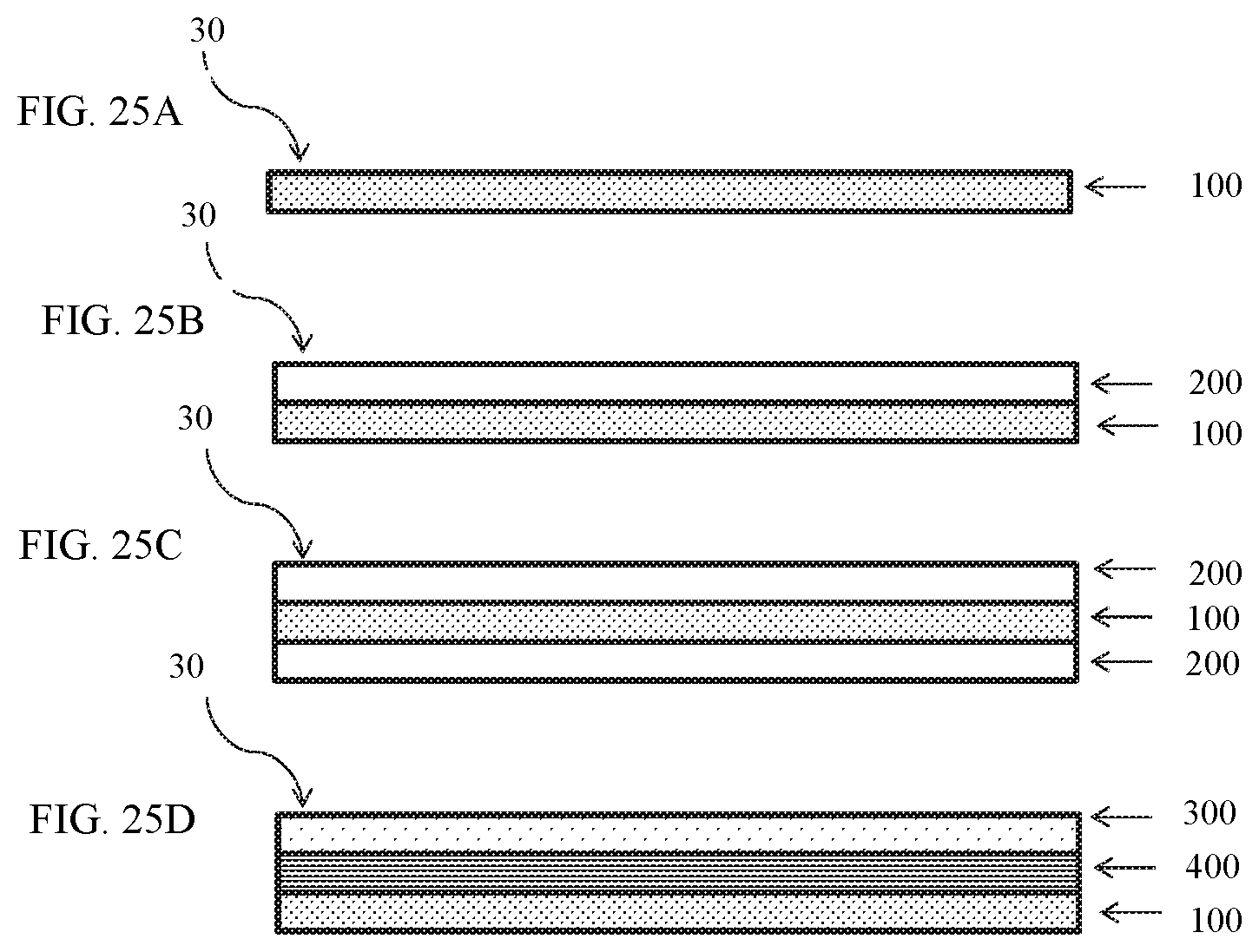
Tvis 65% 63% 57% 32% 10% 2% Tsol 41% 40% 37% 27% 15% 10% Tvis 70% 68% 61% 34% 10% 2% Tsol 46% 45% 42% 30% 17% 11% 10 sheet of glass or plastic 20 gas space 30 interlayer of the present invention 40 edge seal 50 spacer for gas space 60 low emissivity coating 70 laminate of the present invention 80 hard coat low emissivity coating 90 antireflective layer or self-cleaning layer or combination thereof 95 flexible plastic sheet or film 100 polymer layer 1 200 polymer layer 2 300 polymer layer 3 400 polymer layer 4 3 mm Clear Glass/PVB/3 mm Clear 88% 72% 0.79 Glass 3 mm Clear Glass/NIR PVB/3 mm 76% 37% 0.55 Clear Glass 3 mm Clear Glass/NIR PVB/3 mm 73% 35% 0.47 Clear with Hard Coat Low-e 3 mm Clear Glass/TC with NIR 62% to 36% to 0.48 to Nanoparticles/3 mm Clear Glass 9% 13% 0.30 with Hard Coat Low-e 3 mm Gray Glass/TC with NIR 52% to 30% to 0.43 to Nanoparticles/3 mm Clear Glass 8% 10% 0.28 with Hard Coat Low-e 3 mm Clear Glass/TC with 55% to 23% to 0.38 to Combination of NIR Absorbers/ 8% 7% 0.26 3 mm Clear Glass with Hard Coat Low-e