Disclosed are embodiments for running an application on a local processor when the application is dependent on pages not locally present but contained in a remote host. The system is informed that the pages on which the application depends are locally present. While running, the application encounters a cache miss and a cache line satisfying the miss from the remote host is obtained and provided to the application. Alternatively, the page containing the cache line satisfying the miss is obtained and the portion of the page not including the cache line is stored locally while the cache line is provided to the application. The cache miss is discovered by monitoring coherence events on a coherence interconnect connected to the local processor. In some embodiments, the cache misses are tracked and provide a way to predict a set of pages to be pre-fetched in anticipation of the next cache misses.
1. A method for running, on a local host, an application dependent on remote memory of a remote host, comprising:
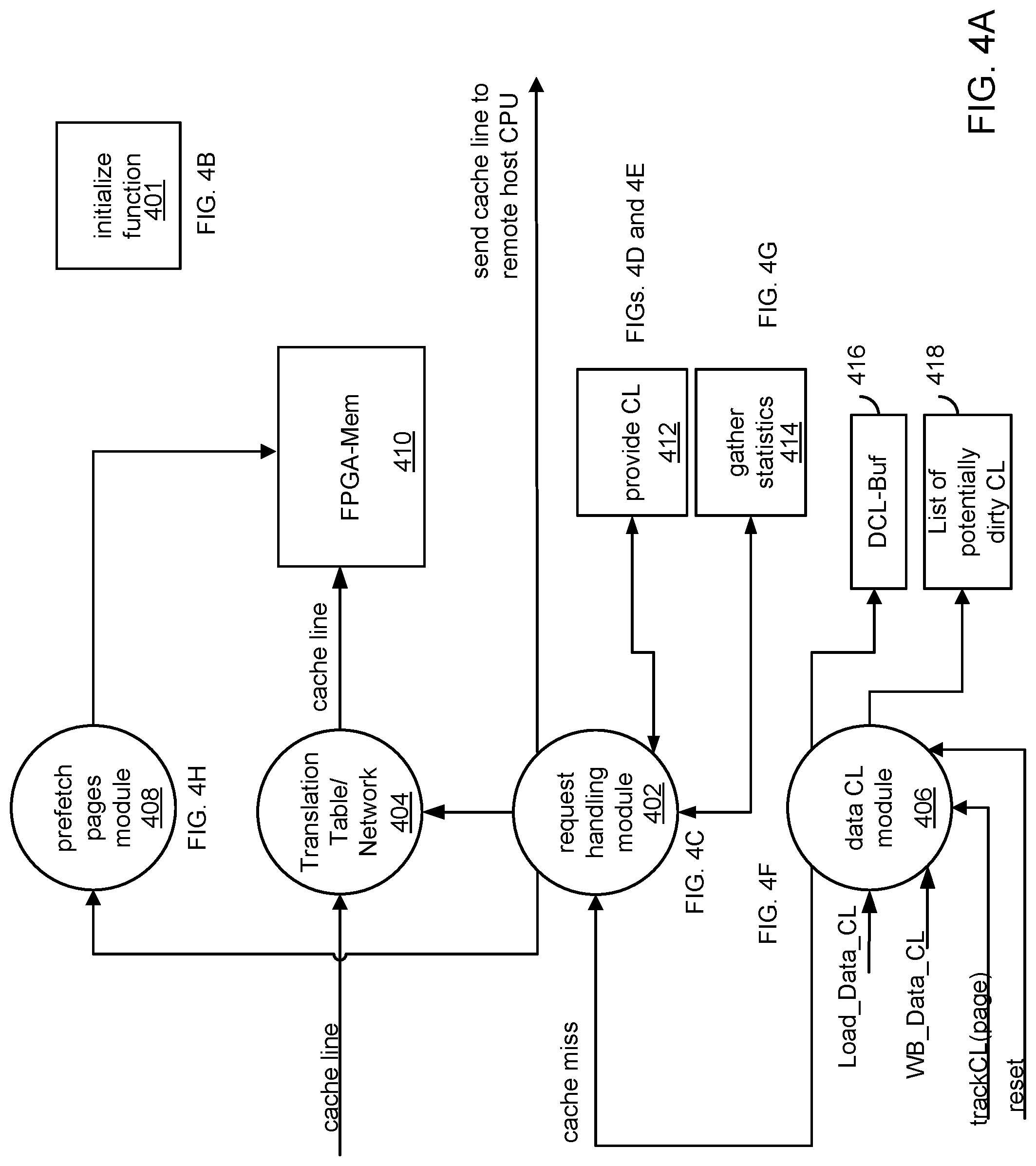
indicating to the running application that pages of the running application are all present in local memory of the local host when at least one page of the running application is not present in the local memory so that memory accesses by the running application cause cache misses instead of page faults; receiving a notice of a cache miss caused by the running application running on the local host; obtaining a cache line satisfying the cache miss from the remote host responsible for the remote memory containing the cache line using a translation table and a network connection to the remote host; copying the obtained cache line into the local memory; and providing the obtained cache line to the running application. 2. The method of determining for a page in the remote memory containing the obtained cache line, a remaining portion of the page not containing the obtained cache line; and providing the remaining portion of the page to the local memory concurrently with providing the obtained cache line to the running application. 3. The method of 4. The method of monitoring cache coherence events caused by the running application; and providing the notice based on the monitored cache coherence events. 5. The method of 6. The method of 7. The method of gathering cache miss statistics to aid in pre-fetching of pages from the remote host; and predicting a set of pages to be accessed based on the cache miss statistics. 8. The method of pre-fetching the set of pages from the remote host; and copying the set of pages into the local memory. 9. A device for assisting an application dependent on remote memory of a remote host to run on a local host, the device comprising:
a first circuit configured to:
receive a notice of a cache miss caused by the application running on the local host, wherein cache misses occur due to page tables of the running application being programmed to indicate that all pages of the running application are present in a local memory of the local host when at least one page of the running application is not present in the local memory so that memory accesses by the running application cause cache misses instead of page faults; obtain a cache line satisfying the cache miss from the remote host responsible for remote memory containing the cache line using a translation table and a network connection to the remote host; copy the obtained cache line into the local memory; and provide the obtained cache line to the running application; and a second circuit configured to:
monitor cache coherence events caused by the running application; and provide the notice of the cache miss to the first circuit. 10. The device of determine for a page in the remote memory containing the obtained cache line, a remaining portion of the page not containing the obtained cache line; and provide the remaining portion of the page to the local memory concurrently with providing the obtained cache line to the running application. 11. The device of gather cache miss statistics to aid in pre-fetching of pages from the source host; and predict a set of pages to be accessed based on the cache miss statistics. 12. The device of pre-fetch the set of pages from the remote host; and copy the set of pages into the local memory. 13. A computer system comprising:
a CPU residing in a first CPU socket of the system; a first memory coupled to the CPU, the CPU running a hypervisor and an application residing in the first memory; a device residing in a second CPU socket of the system; a second memory coupled to the device; wherein the hypervisor is configured to indicate to the system that pages of the running application are all present in the second memory when at least one page of the running application is not present in the second memory so that memory accesses by the running application cause cache misses instead of page faults; and wherein the device is configured to:
receive a notice of a cache miss caused by the running application; obtain a cache line satisfying the cache miss from a remote host responsible for a remote memory containing the cache line using a translation table and a network connection to the remote host; copy the obtained cache line into the second memory; and provide the obtained cache line to the running application. 14. The system of determine for a page containing the obtained cache line, a remaining portion of the page not containing the obtained cache line; and provide the remaining portion of the page to the second memory concurrently with providing the obtained cache line to the running application. 15. The system of 16. The system of monitor cache coherence events caused by the running application; and provide the notice based on the monitored cache coherence events. 17. The system of 18. The system of 19. The system of gather cache miss statistics to aid in pre-fetching of pages from the remote host; and predict a set of pages to be accessed based on the cache miss statistics. 20. The system of pre-fetch the set of pages from the remote host; and copy the set of pages into the second memory.
This application is related to: U.S. application Ser. No. 16/048,180, filed on Jul. 27, 2018, which application is incorporated by reference in its entirety into the present application, U.S. application Ser. No. 16/048,182, filed on Jul. 27, 2018, U.S. application Ser. No. 16/048,178, filed on Jul. 27, 2018, and U.S. application Ser. No. 16/048,183, filed on Jul. 27, 2018. In a case in which an application is run, but its pages are not present on the host running the application, the application incurs page faults and the needed pages are obtained from a remote host. The pages faults are expensive to process and the time to obtain the needed page while the application is waiting to run can be excessive. It is desirable to improve the efficiency of a running application which depends on pages not locally present. An embodiment is a method for running an application dependent on remote memory. The method includes indicating to the application that pages of the running application are all present in the local memory so that memory accesses by the running application cause cache misses instead of page faults, receiving notice of a cache miss caused by the application running locally, obtaining a cache line satisfying the cache miss from a host responsible for the remote memory containing the cache line using a translation table and a network connection to the responsible host, copying the obtained cache line into the local memory, and providing the cache line to the running application. Further embodiments include a device configured to carry out one or more aspects of the above method and a computer system configured to carry out one or more aspects of the above method. FIB. 4C depicts a flow chart of an embodiment of the request handling module. A virtualization software layer, referred to herein after as hypervisor 111, is installed on top of hardware platform 102. Hypervisor 111 makes possible the concurrent instantiation and execution of one or more VMs 1181-118N. The interaction of a VM 118 with hypervisor 111 is facilitated by the virtual machine monitors (VMMs) 134. Each VMM 1341-134N is assigned to and monitors a corresponding VM 1181-118N. In one embodiment, hypervisor 111 may be a hypervisor implemented as a commercial product in VMware's vSphere® virtualization product, available from VMware Inc. of Palo Alto, Calif. In an alternative embodiment, hypervisor 111 runs on top of a host operating system which itself runs on hardware platform 102. In such an embodiment, hypervisor 111 operates above an abstraction level provided by the host operating system. After instantiation, each VM 1181-118N encapsulates a physical computing machine platform that is executed under the control of hypervisor 111. Virtual devices of a VM 118 are embodied in the virtual hardware platform 120, which is comprised of, but not limited to, one or more virtual CPUs (vCPUs) 1221-122N, a virtual random access memory (vRAM) 124, a virtual network interface adapter (vNIC) 126, and virtual storage (vStorage) 128. Virtual hardware platform 120 supports the installation of a guest operating system (guest OS) 130, which is capable of executing applications 132. Examples of a guest OS 130 include any of the well-known commodity operating systems, such as the Microsoft Windows® operating system, the Linux® operating system, and the like. It should be recognized that the various terms, layers, and categorizations used to describe the components in In one embodiment, the CPU 104 has a cache (not shown in Cif ports 208, 212, mentioned above, support a coherence protocol, which is designed to maintain cache coherence in a system with many processors each having its own cache. With FPGA 112 residing in one socket 202 Cache coherence on coherence interconnect 114 is maintained according to a standard protocol, such as modified, exclusive, shared, invalid (MESI) protocol or modified, exclusive, shared, invalid, forwarded (MESIF) protocol. In these protocols, cache lines marked invalid signify that the cache line has invalid data and must be brought into the cache from memory accessible by the cache. Cache lines marked exclusive, shared and forwarded (in the MESIF protocol) all signify that the cache line has valid data, but the cache line is clean (not modified), so the cache line can be discarded without writing the cache line back the data to memory. A cache line marked as modified signifies one that holds a modified or dirty cache line, and must be written back to memory before the cache line is discarded from the cache. To enforce the cache coherence protocol requires a cache protocol agent for each cache connected to a coherence interconnect. Each cache protocol agent can initiate and respond to transactions on the coherence interconnect by sending and receiving messages on the interconnect. In the present embodiments, CPU 104 has cache protocol agent 209 and FPGA 112 has cache protocol agent 220. When a CPU accesses a cache line that is not in its cache, at any level of the cache hierarchy, cache protocol agent 209 of CPU 104 requests the cache line. Thus, cache protocol agent 209 in the CPU issues a load cache line transaction on coherence interconnect 114. This can be ‘Load Shared’ for sharing the cache line, or ‘Load Exclusive’ for cache lines that will be modified. A cache line that is loaded as ‘Exclusive’ is considered potentially dirty, because it is not certain the cache line will be modified. When the cache line gets evicted from the CPU hardware caches, if it is modified, it must be written back to the memory from which it originated. The operation of writing the cache line back is present on coherence interconnect 114 as a writeback transaction and can be monitored for tracking dirty cache lines. In the case of a writeback transaction, the cache line is actually dirty, rather than potentially dirty. To confirm whether a cache line is dirty or not, a cache protocol agent, such as agent 220 in FPGA 112, can snoop the cache line in accordance with the coherence interconnect protocol. This causes a writeback transaction to be triggered, if the cache line is dirty. Messages corresponding to cache coherence events involved in the various embodiments described below include ‘Load_Data_CL’ and ‘WB_Data_CL’. The ‘Load_Data_CL’ message occurs when a cache line (CL) is loaded as exclusive into a processor cache. A ‘WB_Data_CL’ message occurs when a processor writes back a cache line into memory because the cache line is dirty and is being evicted from the cache. Additionally, a ‘WB_Data_CL’ message can occur when a processor executes a store instruction, which bypasses the caches in the cache hierarchy. Such a store instruction is recognized by cache protocol agent 220 of FPGA 112. The messages are asynchronous messages to and from the appropriate independently operating modules and functions in the descriptions herein. More particularly, a step, ‘Send(msg to dest)’, is an asynchronous non-blocking transmission of a message, msg, to a destination, dest, and a step, ‘Received(msg)’, is a predicate, which if true is interpreted as signaling that a message, msg, has been received. If false, no message has been received, and the function or module is blocked waiting for a message to arrive. However, the function or module can configure the predicate so that by testing the predicate, the function or module can avoid being blocked. Embodiments described herein are not limited by any specific form or method of sending or receiving messages. The remote memory operation has improved efficiency because no page faults are involved and traffic needed to handle cache misses is reduced to that of obtaining cache lines, In addition, pages are predicted and obtained in the background based on the cache misses, thereby reducing latency for servicing a cache miss. Certain embodiments as described above involve a hardware abstraction layer on top of a host computer. The hardware abstraction layer allows multiple contexts to share the hardware resource. In one embodiment, these contexts are isolated from each other, each having at least a user application running therein. The hardware abstraction layer thus provides benefits of resource isolation and allocation among the contexts. In the foregoing embodiments, virtual machines are used as an example for the contexts and hypervisors as an example for the hardware abstraction layer. As described above, each virtual machine includes a guest operating system in which at least one application runs. It should be noted that these embodiments may also apply to other examples of contexts, such as containers not including a guest operating system, referred to herein as “OS-less containers” (see, e.g., www.docker.com). OS-less containers implement operating system—level virtualization, wherein an abstraction layer is provided on top of the kernel of an operating system on a host computer. The abstraction layer supports multiple OS-less containers each including an application and its dependencies. Each OS-less container runs as an isolated process in user space on the host operating system and shares the kernel with other containers. The OS-less container relies on the kernel's functionality to make use of resource isolation (CPU, memory, block I/O, network, etc.) and separate namespaces and to completely isolate the application's view of the operating environments. By using OS-less containers, resources can be isolated, services restricted, and processes provisioned to have a private view of the operating system with their own process ID space, file system structure, and network interfaces. Multiple containers can share the same kernel, but each container can be constrained to only use a defined amount of resources such as CPU, memory and I/O. Certain embodiments may be implemented in a host computer without a hardware abstraction layer or an OS-less container. For example, certain embodiments may be implemented in a host computer running a Linux® or Windows® operating system. The various embodiments described herein may be practiced with other computer system configurations including hand-held devices, microprocessor systems, microprocessor-based or programmable consumer electronics, minicomputers, mainframe computers, and the like. One or more embodiments of the present invention may be implemented as one or more computer programs or as one or more computer program modules embodied in one or more computer readable media. The term computer readable medium refers to any data storage device that can store data which can thereafter be input to a computer system. Computer readable media may be based on any existing or subsequently developed technology for embodying computer programs in a manner that enables them to be read by a computer. Examples of a computer readable medium include a hard drive, network attached storage (NAS), read-only memory, random-access memory (e.g., a flash memory device), a CD (Compact Discs)—CD-ROM, a CD-R, or a CD-RW, a DVD (Digital Versatile Disc), a magnetic tape, and other optical and non-optical data storage devices. The computer readable medium can also be distributed over a network coupled computer system so that the computer readable code is stored and executed in a distributed fashion. Although one or more embodiments of the present invention have been described in some detail for clarity of understanding, it will be apparent that certain changes and modifications may be made within the scope of the claims. Accordingly, the described embodiments are to be considered as illustrative and not restrictive, and the scope of the claims is not to be limited to details given herein, but may be modified within the scope and equivalents of the claims. In the claims, elements and/or steps do not imply any particular order of operation, unless explicitly stated in the claims. Plural instances may be provided for components, operations or structures described herein as a single instance. Finally, boundaries between various components, operations and data stores are somewhat arbitrary, and particular operations are illustrated in the context of specific illustrative configurations. Other allocations of functionality are envisioned and may fall within the scope of the invention(s). In general, structures and functionality presented as separate components in exemplary configurations may be implemented as a combined structure or component. Similarly, structures and functionality presented as a single component may be implemented as separate components. These and other variations, modifications, additions, and improvements may fall within the scope of the appended claim(s).CROSS-REFERENCE TO RELATED APPLICATIONS
BACKGROUND
SUMMARY
BRIEF DESCRIPTION OF THE DRAWINGS
DETAILED DESCRIPTION