Systems and methods are described for coordinating transmissions in distributed wireless systems via user clustering. For example, a method according to one embodiment of the invention comprises: measuring link quality between a target user and a plurality of distributed-input distributed-output (DIDO) distributed antennas of base transceiver stations (BTSs); using the link quality measurements to define a user cluster; measuring channel state information (CSI) between each user and each DIDO antenna within a defined user cluster; and precoding data transmissions between each DIDO antenna and each user within the user cluster based on the measured CSI.
1. A method implemented within a multiuser (MU) multiple antenna system (MU-MAS) comprising:
measuring the quality of the wireless links between one or a plurality of users and a plurality distributed wireless transceiver stations within a coverage area; using the link quality measurements to select one or a plurality of subsets of wireless transceiver stations for one or the plurality of users; measuring channel state information (CSI) between one or the plurality of users and each respective subset of wireless transceiver stations and using the CSI for precoding data transmissions in a way that the link for one or the plurality of users is interference-free; adjusting the selection of the wireless transceiver stations within one or the plurality of subsets as the users move within the coverage area and adaptively recomputing CSI and precoding data transmissions. 2. The method as in 3. The method as in 4. The method as in 5. The method as in 6. The method as in 7. A multiuser (MU) multiple antenna system (MU-MAS) comprising:
a plurality of users; a plurality of distributed wireless transceiver stations communicatively coupled with the plurality of users through a plurality of wireless links; a plurality of processing units communicatively coupled with the wireless transceiver stations through a network; wherein the processing units measure the quality of the wireless links between one or a plurality of users and a plurality distributed wireless transceiver stations within a coverage area; use the link quality measurements to select one or a plurality of subsets of wireless transceiver stations for one or the plurality of users; measure channel state information (CSI) between one or the plurality of users and each respective subset of wireless transceiver stations and use the CSI for precoding data transmissions in a way that the link for one or the plurality of users is interference-free; adjust the selection of the wireless transceiver stations within one or the plurality of subsets as the users move within the coverage area and adaptively recompute CSI and precoding data transmissions. 8. The system as in 9. The system as in 10. The system as in 11. The system as in 12. The system as in 13. A method implemented within a multiuser (MU) multiple antenna system (MU-MAS) comprising:
selecting one or a plurality of subsets of distributed wireless transceiver stations wherein the wireless transceiver stations from different subsets operate at different carrier frequencies; assigning a plurality of users to each subset of wireless transceiver stations; measuring channel state information (CSI) between one or the plurality of users and each respective subset of wireless transceiver stations; and using the CSI for precoding data transmissions in a way that the link for one or the plurality of users is interference-free. 14. A multiuser (MU) multiple antenna system (MU-MAS) comprising:
a plurality of users; a plurality of distributed wireless transceiver stations communicatively coupled with the plurality of users through a plurality of wireless links; a plurality of processing units communicatively coupled with the wireless transceiver stations through a network; wherein the processing units select one or a plurality of subsets of distributed wireless transceiver stations and the wireless transceiver stations from different subsets operate at different carrier frequencies; and wherein the processing units assign a plurality of users to each subset of wireless transceiver stations; measure channel state information (CSI) between one or the plurality of users and each respective subset of wireless transceiver stations; and use the CSI for precoding data transmissions in a way that the link for one or the plurality of users is interference-free. 15. A multiuser (MU) multiple antenna system (MU-MAS) comprising:
a plurality of users; a plurality of distributed wireless transceiver stations communicatively coupled with the plurality of users through a plurality of wireless links; a plurality of processing units communicatively coupled with the wireless transceiver stations through a network; wherein one or the plurality of processing units selects one or a plurality of subsets of wireless transceiver stations and computes a plurality of precoded waveforms sent between the processing units and the subsets of wireless transceiver stations via the network; and wherein the precoded waveforms are sent over the wireless links to create a plurality of interference-free data links for the users.
This application is a continuation and claims the benefit of co-pending U.S. application Ser. No. 15/181,383, filed Jun. 13, 2016, which is a continuation of U.S. application Ser. No. 14/023,302, filed Sep. 10, 2013, entitled, “Systems And Methods To Coordinate Transmissions In Distributed Wireless Systems Via User Clustering” which is a continuation and claims the benefit of co-pending U.S. application Ser. No. 12/917,257, filed Nov. 1, 2010, entitled “Systems And Methods To Coordinate Transmissions In Distributed Wireless Systems Via User Clustering”, now U.S. Issued U.S. Pat. No. 8,542,763, Issued on Sep. 24, 2013. This application is also a continuation-in-part of the following co-pending U.S. patent applications:
Prior art multi-user wireless systems may include only a single base station or several base stations. A single WiFi base station (e.g., utilizing 2.4 GHz 802.11b, g or n protocols) attached to a broadband wired Internet connection in an area where there are no other WiFi access points (e.g. a WiFi access point attached to DSL within a rural home) is an example of a relatively simple multi-user wireless system that is a single base station that is shared by one or more users that are within its transmission range. If a user is in the same room as the wireless access point, the user will typically experience a high-speed link with few transmission disruptions (e.g. there may be packet loss from 2.4 GHz interferers, like microwave ovens, but not from spectrum sharing with other WiFi devices), If a user is a medium distance away or with a few obstructions in the path between the user and WiFi access point, the user will likely experience a medium-speed link. If a user is approaching the edge of the range of the WiFi access point, the user will likely experience a low-speed link, and may be subject to periodic drop-outs if changes to the channel result in the signal SNR dropping below usable levels. And, finally, if the user is beyond the range of the WiFi base station, the user will have no link at all. When multiple users access the WiFi base station simultaneously, then the available data throughput is shared among them. Different users will typically place different throughput demands on a WiFi base station at a given time, but at times when the aggregate throughput demands exceed the available throughput from the WiFi base station to the users, then some or all users will receive less data throughput than they are seeking. In an extreme situation where a WiFi access point is shared among a very large number of users, throughput to each user can slow down to a crawl, and worse, data throughput to each user may arrive in short bursts separated by long periods of no data throughput at all, during which time other users are served. This “choppy” data delivery may impair certain applications, like media streaming. Adding additional WiFi base stations in situations with a large number of users will only help up to a point. Within the 2.4 GHz ISM band in the U.S., there are 3 non-interfering channels that can be used for WiFi, and if 3 WiFi base stations in the same coverage area are configured to each use a different non-interfering channel, then the aggregate throughput of the coverage area among multiple users will be increased up to a factor of 3. But, beyond that, adding more WiFi base stations in the same coverage area will not increase aggregate throughput, since they will start sharing the same available spectrum among them, effectually utilizing time-division multiplexed access (TDMA) by “taking turns” using the spectrum. This situation is often seen in coverage areas with high population density, such as within multi-dwelling units. For example, a user in a large apartment building with a WiFi adapter may well experience very poor throughput due to dozens of other interfering WiFi networks (e.g. in other apartments) serving other users that are in the same coverage area, even if the user's access point is in the same room as the client device accessing the base station. Although the link quality is likely good in that situation, the user would be receiving interference from neighbor WiFi adapters operating in the same frequency band, reducing the effective throughput to the user. Current multiuser wireless systems, including both unlicensed spectrum, such as WiFi, and licensed spectrum, suffer from several limitations. These include coverage area, downlink (DL) data rate and uplink (UL) data rate. Key goals of next generation wireless systems, such as WiMAX and LTE, are to improve coverage area and DL and UL data rate via multiple-input multiple-output (MIMO) technology. MIMO employs multiple antennas at transmit and receive sides of wireless links to improve link quality (resulting in wider coverage) or data rate (by creating multiple non-interfering spatial channels to every user). If enough data rate is available for every user (note, the terms “user” and “client” are used herein interchangeably), however, it may be desirable to exploit channel spatial diversity to create non-interfering channels to multiple users (rather than single user), according to multiuser MIMO (MU-MIMO) techniques. See, e.g., the following references:
For example, in MIMO 4×4 systems (i.e., four transmit and four receive antennas), 10 MHz bandwidth, 16-QAM modulation and forward error correction (FEC) coding with rate 3/4 (yielding spectral efficiency of 3 bps/Hz), the ideal peak data rate achievable at the physical layer for every user is 4×30 Mbps=120 Mbps, which is much higher than required to deliver high definition video content (which may only require ˜10 Mbps). In MU-MIMO systems with four transmit antennas, four users and single antenna per user, in ideal scenarios (i.e., independent identically distributed, i.i.d., channels) downlink data rate may be shared across the four users and channel spatial diversity may be exploited to create four parallel 30 Mbps data links to the users. Different MU-MIMO schemes have been proposed as part of the LTE standard as described, for example, in 3GPP, “Multiple Input Multiple Output in UTRA”, 3GPP TR 25.876 V7.0.0, March 2007; 3GPP, “Base Physical channels and modulation”, TS 36.211, V8.7.0, May 2009; and 3GPP, “Multiplexing and channel coding”, TS 36.212, V8.7.0, May 2009. However, these schemes can provide only up to 2× improvement in DL data rate with four transmit antennas. Practical implementations of MU-MIMO techniques in standard and proprietary cellular systems by companies like ArrayComm (see, e.g., ArrayComm, “Field-proven results”, http://www.arraycomm.com/serve.php?page=proof) have yielded up to a ˜3× increase (with four transmit antennas) in DL data rate via space division multiple access (SDMA). A key limitation of MU-MIMO schemes in cellular networks is lack of spatial diversity at the transmit side. Spatial diversity is a function of antenna spacing and multipath angular spread in the wireless links. In cellular systems employing MU-MIMO techniques, transmit antennas at a base station are typically clustered together and placed only one or two wavelengths apart due to limited real estate on antenna support structures (referred to herein as “towers,” whether physically tall or not) and due to limitations on where towers may be located. Moreover, multipath angular spread is low since cell towers are typically placed high up (10 meters or more) above obstacles to yield wider coverage. Other practical issues with cellular system deployment include excessive cost and limited availability of locations for cellular antenna locations (e.g. due to municipal restrictions on antenna placement, cost of real-estate, physical obstructions, etc.) and the cost and/or availability of network connectivity to the transmitters (referred to herein as “backhaul”). Further, cellular systems often have difficulty reaching clients located deeply in buildings due to losses from walls, ceilings, floors, furniture and other impediments. Indeed, the entire concept of a cellular structure for wide-area network wireless presupposes a rather rigid placement of cellular towers, an alternation of frequencies between adjacent cells, and frequently sectorization, so as to avoid interference among transmitters (either base stations or users) that are using the same frequency. As a result, a given sector of a given cell ends up being a shared block of DL and UL spectrum among all of the users in the cell sector, which is then shared among these users primarily in only the time domain. For example, cellular systems based on Time Division Multiple Access (TDMA) and Code Division Multiple Access (CDMA) both share spectrum among users in the time domain. By overlaying such cellular systems with sectorization, perhaps a 2-3× spatial domain benefit can be achieved. And, then by overlaying such cellular systems with a MU-MIMO system, such as those described previously, perhaps another 2-3× space-time domain benefit can be achieved. But, given that the cells and sectors of the cellular system are typically in fixed locations, often dictated by where towers can be placed, even such limited benefits are difficult to exploit if user density (or data rate demands) at a given time does not match up well with tower/sector placement. A cellular smart phone user often experiences the consequence of this today where the user may be talking on the phone or downloading a web page without any trouble at all, and then after driving (or even walking) to a new location will suddenly see the voice quality drop or the web page slow to a crawl, or even lose the connection entirely. But, on a different day, the user may have the exact opposite occur in each location. What the user is probably experiencing, assuming the environmental conditions are the same, is the fact that user density (or data rate demands) is highly variable, but the available total spectrum (and thereby total data rate, using prior art techniques) to be shared among users at a given location is largely fixed. Further, prior art cellular systems rely upon using different frequencies in different adjacent cells, typically 3 different frequencies. For a given amount of spectrum, this reduces the available data rate by 3×. So, in summary, prior art cellular systems may lose perhaps 3× in spectrum utilization due to cellularization, and may improve spectrum utilization by perhaps 3× through sectorization and perhaps 3× more through MU-MIMO techniques, resulting in a net 3*3/3=3× potential spectrum utilization. Then, that bandwidth is typically divided up among users in the time domain, based upon what sector of what cell the users fall into at a given time. There are even further inefficiencies that result due to the fact that a given user's data rate demands are typically independent of the user's location, but the available data rate varies depending on the link quality between the user and the base station. For example, a user further from a cellular base station will typically have less available data rate than a user closer to a base station. Since the data rate is typically shared among all of the users in a given cellular sector, the result of this is that all users are impacted by high data rate demands from distant users with poor link quality (e.g. on the edge of a cell) since such users will still demand the same amount of data rate, yet they will be consuming more of the shared spectrum to get it. Other proposed spectrum sharing systems, such as that used by WiFi (e.g., 802.11b, g, and n) and those proposed by the White Spaces Coalition, share spectrum very inefficiently since simultaneous transmissions by base stations within range of a user result in interference, and as such, the systems utilize collision avoidance and sharing protocols. These spectrum sharing protocols are within the time domain, and so, when there are a large number of interfering base stations and users, no matter how efficient each base station itself is in spectrum utilization, collectively the base stations are limited to time domain sharing of the spectrum among each other. Other prior art spectrum sharing systems similarly rely upon similar methods to mitigate interference among base stations (be they cellular base stations with antennas on towers or small scale base stations, such as WiFi Access Points (APs)). These methods include limiting transmission power from the base station so as to limit the range of interference, beamforming (via synthetic or physical means) to narrow the area of interference, time-domain multiplexing of spectrum and/or MU-MIMO techniques with multiple clustered antennas on the user device, the base station or both. And, in the case of advanced cellular networks in place or planned today, frequently many of these techniques are used at once. But, what is apparent by the fact that even advanced cellular systems can achieve only about a 3× increase in spectrum utilization compared to a single user utilizing the spectrum is that all of these techniques have done little to increase the aggregate data rate among shared users for a given area of coverage. In particular, as a given coverage area scales in terms of users, it becomes increasingly difficult to scale the available data rate within a given amount of spectrum to keep pace with the growth of users. For example, with cellular systems, to increase the aggregate data rate within a given area, typically the cells are subdivided into smaller cells (often called nano-cells or femto-cells). Such small cells can become extremely expensive given the limitations on where towers can be placed, and the requirement that towers must be placed in a fairly structured pattern so as to provide coverage with a minimum of “dead zones”, yet avoid interference between nearby cells using the same frequencies. Essentially, the coverage area must be mapped out, the available locations for placing towers or base stations must be identified, and then given these constraints, the designers of the cellular system must make do with the best they can. And, of course, if user data rate demands grow over time, then the designers of the cellular system must yet again remap the coverage area, try to find locations for towers or base stations, and once again work within the constraints of the circumstances. And, very often, there simply is no good solution, resulting in dead zones or inadequate aggregate data rate capacity in a coverage area. In other words, the rigid physical placement requirements of a cellular system to avoid interference among towers or base stations utilizing the same frequency results in significant difficulties and constraints in cellular system design, and often is unable to meet user data rate and coverage requirements. So-called prior art “cooperative” and “cognitive” radio systems seek to increase the spectral utilization in a given area by using intelligent algorithms within radios such that they can minimize interference among each other and/or such that they can potentially “listen” for other spectrum use so as to wait until the channel is clear. Such systems are proposed for use particularly in unlicensed spectrum in an effort to increase the spectrum utilization of such spectrum. A mobile ad hoc network (MANET) (see http://en.wikipedia.org/wiki/Mobile_ad_hoc_network) is an example of a cooperative self-configuring network intended to provide peer-to-peer communications, and could be used to establish communication among radios without cellular infrastructure, and with sufficiently low-power communications, can potentially mitigate interference among simultaneous transmissions that are out of range of each other. A vast number of routing protocols have been proposed and implemented for MANET systems (see http://en.wikipedia.org/wiki/List_of_ad-hoc_routing_protocols for a list of dozens of routing protocols in a wide range of classes), but a common theme among them is they are all techniques for routing (e.g. repeating) transmissions in such a way to minimize transmitter interference within the available spectrum, towards the goal of particular efficiency or reliability paradigms. All of the prior art multi-user wireless systems seek to improve spectrum utilization within a given coverage area by utilizing techniques to allow for simultaneous spectrum utilization among base stations and multiple users. Notably, in all of these cases, the techniques utilized for simultaneous spectrum utilization among base stations and multiple users achieve the simultaneous spectrum use by multiple users by mitigating interference among the waveforms to the multiple users. For example, in the case of 3 base stations each using a different frequency to transmit to one of 3 users, there interference is mitigated because the 3 transmissions are at 3 different frequencies. In the case of sectorization from a base station to 3 different users, each 180 degrees apart relative to the base station, interference is mitigated because the beamforming prevents the 3 transmissions from overlapping at any user. When such techniques are augmented with MU-MIMO, and, for example, each base station has 4 antennas, then this has the potential to increase downlink throughput by a factor of 4, by creating four non-interfering spatial channels to the users in given coverage area. But it is still the case that some technique must be utilized to mitigate the interference among multiple simultaneous transmissions to multiple users in different coverage areas. And, as previously discussed, such prior art techniques (e.g. cellularization, sectorization) not only typically suffer from increasing the cost of the multi-user wireless system and/or the flexibility of deployment, but they typically run into physical or practical limitations of aggregate throughput in a given coverage area. For example, in a cellular system, there may not be enough available locations to install more base stations to create smaller cells. And, in an MU-MIMO system, given the clustered antenna spacing at each base station location, the limited spatial diversity results in asymptotically diminishing returns in throughput as more antennas are added to the base station. And further, in the case of multi-user wireless systems where the user location and density is unpredictable, it results in unpredictable (with frequently abrupt changes) in throughput, which is inconvenient to the user and renders some applications (e.g. the delivery of services requiring predictable throughput) impractical or of low quality. Thus, prior art multi-user wireless systems still leave much to be desired in terms of their ability to provide predictable and/or high-quality services to users. Despite the extraordinary sophistication and complexity that has been developed for prior art multi-user wireless systems over time, there exist common themes: transmissions are distributed among different base stations (or ad hoc transceivers) and are structured and/or controlled so as to avoid the RF waveform transmissions from the different base stations and/or different ad hoc transceivers from interfering with each other at the receiver of a given user. Or, to put it another way, it is taken as a given that if a user happens to receive transmissions from more than one base station or ad hoc transceiver at the same time, the interference from the multiple simultaneous transmissions will result in a reduction of the SNR and/or bandwidth of the signal to the user which, if severe enough, will result in loss of all or some of the potential data (or analog information) that would otherwise have been received by the user. Thus, in a multiuser wireless system, it is necessary to utilize one or more spectrum sharing approaches or another to avoid or mitigate such interference to users from multiple base stations or ad hoc transceivers transmitting at the same frequency at the same time. There are a vast number of prior art approaches to avoiding such interference, including controlling base stations' physical locations (e.g. cellularization), limiting power output of base stations and/or ad hoc transceivers (e.g. limiting transmit range), beamforming/sectorization, and time domain multiplexing. In short, all of these spectrum sharing systems seek to address the limitation of multiuser wireless systems that when multiple base stations and/or ad hoc transceivers transmitting simultaneously at the same frequency are received by the same user, the resulting interference reduces or destroys the data throughput to the affected user. If a large percentage, or all, of the users in the multi-user wireless system are subject to interference from multiple base stations and/or ad hoc transceivers (e.g. in the event of the malfunction of a component of a multi-user wireless system), then it can result in a situation where the aggregate throughput of the multi-user wireless system is dramatically reduced, or even rendered non-functional. Prior art multi-user wireless systems add complexity and introduce limitations to wireless networks and frequently result in a situation where a given user's experience (e.g. available bandwidth, latency, predictability, reliability) is impacted by the utilization of the spectrum by other users in the area. Given the increasing demands for aggregate bandwidth within wireless spectrum shared by multiple users, and the increasing growth of applications that can rely upon multi-user wireless network reliability, predictability and low latency for a given user, it is apparent that prior art multi-user wireless technology suffers from many limitations. Indeed, with the limited availability of spectrum suitable for particular types of wireless communications (e.g. at wavelengths that are efficient in penetrating building walls), it may be the case that prior art wireless techniques will be insufficient to meet the increasing demands for bandwidth that is reliable, predictable and low-latency. Prior art related to the current invention describes beamforming systems and methods for null-steering in multiuser scenarios. Beamforming was originally conceived to maximize received signal-to-noise ratio (SNR) by dynamically adjusting phase and/or amplitude of the signals (i.e., beamforming weights) fed to the antennas of the array, thereby focusing energy toward the user's direction. In multiuser scenarios, beamforming can be used to suppress interfering sources and maximize signal-to-interference-plus-noise ratio (SINR). For example, when beamforming is used at the receiver of a wireless link, the weights are computed to create nulls in the direction of the interfering sources. When beamforming is used at the transmitter in multiuser downlink scenarios, the weights are calculated to pre-cancel inter-user interference and maximize the SINR to every user. Alternative techniques for multiuser systems, such as BD precoding, compute the precoding weights to maximize throughput in the downlink broadcast channel. The co-pending applications, which are incorporated herein by reference, describe the foregoing techniques (see co-pending applications for specific citations). A better understanding of the present invention can be obtained from the following detailed description in conjunction with the drawings, in which: One solution to overcome many of the above prior art limitations is an embodiment of Distributed-Input Distributed-Output (DIDO) technology. DIDO technology is described in the following patents and patent applications, all of which are assigned the assignee of the present patent and are incorporated by reference. These patents and applications are sometimes referred to collectively herein as the “related patents and applications”:
To reduce the size and complexity of the present patent application, the disclosure of some of the related patents and applications is not explicitly set forth below. Please see the related patents and applications for a full detailed description of the disclosure. Note that section I below (Disclosure From Related application Ser. No. 12/802,988) utilizes its own set of endnotes which refer to prior art references and prior applications assigned to the assignee of the present application. The endnote citations are listed at the end of section I (just prior to the heading for Section II). Citations in Section II uses may have numerical designations for its citations which overlap with those used in Section I even through these numerical designations identify different references (listed at the end of Section II). Thus, references identified by a particular numerical designation may be identified within the section in which the numerical designation is used. 1. Methods to Remove Inter-Cluster Interference Described below are wireless radio frequency (RF) communication systems and methods employing a plurality of distributed transmitting antennas to create locations in space with zero RF energy. When M transmit antennas are employed, it is possible to create up to (M−1) points of zero RF energy in predefined locations. In one embodiment of the invention, the points of zero RF energy are wireless devices and the transmit antennas are aware of the channel state information (CSI) between the transmitters and the receivers. In one embodiment, the CSI is computed at the receivers and fed back to the transmitters. In another embodiment, the CSI is computed at the transmitter via training from the receivers, assuming channel reciprocity is exploited. The transmitters may utilize the CSI to determine the interfering signals to be simultaneously transmitted. In one embodiment, block diagonalization (BD) precoding is employed at the transmit antennas to generate points of zero RF energy. The system and methods described herein differ from the conventional receive/transmit beamforming techniques described above. In fact, receive beamforming computes the weights to suppress interference at the receive side (via null-steering), whereas some embodiments of the invention described herein apply weights at the transmit side to create interference patters that result in one or multiple locations in space with “zero RF energy.” Unlike conventional transmit beamforming or BD precoding designed to maximize signal quality (or SINR) to every user or downlink throughput, respectively, the systems and methods described herein minimize signal quality under certain conditions and/or from certain transmitters, thereby creating points of zero RF energy at the client devices (sometimes referred to herein as “users”). Moreover, in the context of distributed-input distributed-output (DIDO) systems (described in our related patents and applications), transmit antennas distributed in space provide higher degrees of freedom (i.e., higher channel spatial diversity) that can be exploited to create multiple points of zero RF energy and/or maximum SINR to different users. For example, with M transmit antennas it is possible to create up to (M−1) points of RF energy. By contrast, practical beamforming or BD multiuser systems are typically designed with closely spaced antennas at the transmit side that limit the number of simultaneous users that can be serviced over the wireless link, for any number of transmit antennas M. Consider a system with M transmit antennas and K users, with K<M. We assume the transmitter is aware of the CSI (H∈CK×M) between the M transmit antennas and K users. For simplicity, every user is assumed to be equipped with single antenna, but the same method can be extended to multiple receive antennas per user. The precoding weights (w∈CM×1) that create zero RF energy at the K users' locations are computed to satisfy the following condition
where nk∈C1×1 is the additive white Gaussian noise (AWGN) at the kth user. In one embodiment, singular value decomposition (SVD) of the channel matrix H is computed and the precoding weight w is defined as the right singular vector corresponding to the null subspace (identified by zero singular value) of H. In another embodiment, the wireless system is a DIDO system and points of zero RF energy are created to pre-cancel interference to the clients between different DIDO coverage areas. In U.S. application Ser. No. 12/630,627, a DIDO system is described which includes: DIDO clients DIDO distributed antennas DIDO base transceiver stations (BTS) DIDO base station network (BSN) Every BTS is connected via the BSN to multiple distributed antennas that provide service to given coverage area called DIDO cluster. In the present patent application we describe a system and method for removing interference between adjacent DIDO clusters. As illustrated in In one embodiment, neighboring clusters operate at different frequencies according to frequency division multiple access (FDMA) techniques similar to conventional cellular systems. For example, with frequency reuse factor of 3, the same carrier frequency is reused every third DIDO cluster as illustrated in In another embodiment, neighbor clusters operate in the same frequency band, but at different time slots according to time division multiple access (TDMA) technique. For example, as illustrated in In one embodiment, all neighboring clusters transmit at the same time in the same frequency band and use spatial processing across clusters to avoid interference. In this embodiment, the multi-cluster DIDO system: (i) uses conventional DIDO precoding within the main cluster to transmit simultaneous non-interfering data streams within the same frequency band to multiple clients (such as described in the related patents and applications, including U.S. Pat. Nos. 7,599,420; 7,633,994; 7,636,381; and application Ser. No. 12/143,503); (ii) uses DIDO precoding with interference cancellation in the neighbor clusters to avoid interference to the clients lying in the interfering zones 8010 in In practical systems, the performance of DIDO precoding may be affected by different factors such as: channel estimation error or Doppler effects (yielding obsolete channel state information at the DIDO distributed antennas); intermodulation distortion (IMD) in multicarrier DIDO systems; time or frequency offsets. As a result of these effects, it may be impractical to achieve points of zero RF energy. However, as long as the RF energy at the target client from the interfering clusters is negligible compared to the RF energy from the main cluster, the link performance at the target client is unaffected by the interference. For example, let us assume the client requires 20 dB signal-to-noise ratio (SNR) to demodulate 4-QAM constellations using forward error correction (FEC) coding to achieve target bit error rate (BER) of 10−6. If the RF energy at the target client received from the interfering cluster is 20 dB below the RF energy received from the main cluster, the interference is negligible and the client can demodulate data successfully within the predefined BER target. Thus, the term “zero RF energy” as used herein does not necessarily mean that the RF energy from interfering RF signals is zero. Rather, it means that the RF energy is sufficiently low relative to the RF energy of the desired RF signal such that the desired RF signal may be received at the receiver. Moreover, while certain desirable thresholds for interfering RF energy relative to desired RF energy are described, the underlying principles of the invention are not limited to any particular threshold values. There are different types of interfering zones 8010 as shown in The received signal at target client k in any interfering zone 410A, B in To simplify the notation and without loss of generality, we assume all clients are equipped with N receive antennas and there are M DIDO distributed antennas in every DIDO cluster, with M≥(N·U) and M≥(N·Ic), ∀c=1, . . . , C. If M is larger than the total number of receive antennas in the cluster, the extra transmit antennas are used to pre-cancel interference to the target clients in the interfering zone or to improve link robustness to the clients within the same cluster via diversity schemes described in the related patents and applications, including U.S. Pat. Nos. 7,599,420; 7,633,994; 7,636,381; and application Ser. No. 12/143,503. The DIDO precoding weights are computed to pre-cancel inter-client interference within the same DIDO cluster. For example, block diagonalization (BD) precoding described in the related patents and applications, including U.S. Pat. Nos. 7,599,420; 7,633,994; 7,636,381; and application Ser. No. 12/143,503 and [7] can be used to remove inter-client interference, such that the following condition is satisfied in the main cluster
We begin by evaluating the performance of the proposed method in terms of symbol error rate (SER) as a function of the signal-to-noise ratio (SNR). Without loss of generality, we define the following signal model assuming single antenna per client and reformulate (1) as
The results in Next, we evaluate the performance of the above method as a function of the target client's location with respect to the interfering zone. We consider one simple scenario where a target client 8401 moves from the main DIDO cluster 802 to the interfering cluster 803, as depicted in The analysis hereafter is based on the following simplified signal model that extends (7) to account for pathloss One embodiment of a method for IDCI precoding is shown in Hereafter, we describe different handoff methods for clients that move across DIDO clusters populated by distributed antennas that are located in separate areas or that provide different kinds of services (i.e., low- or high-mobility services). a. Handoff Between Adjacent DIDO Clusters In one embodiment, the IDCI-precoder to remove inter-cluster interference described above is used as a baseline for handoff methods in DIDO systems. Conventional handoff in cellular systems is conceived for clients to switch seamlessly across cells served by different base stations. In DIDO systems, handoff allows clients to move from one cluster to another without loss of connection. To illustrate one embodiment of a handoff strategy for DIDO systems, we consider again the example in From the plots in One embodiment of the handoff strategy is as follows.
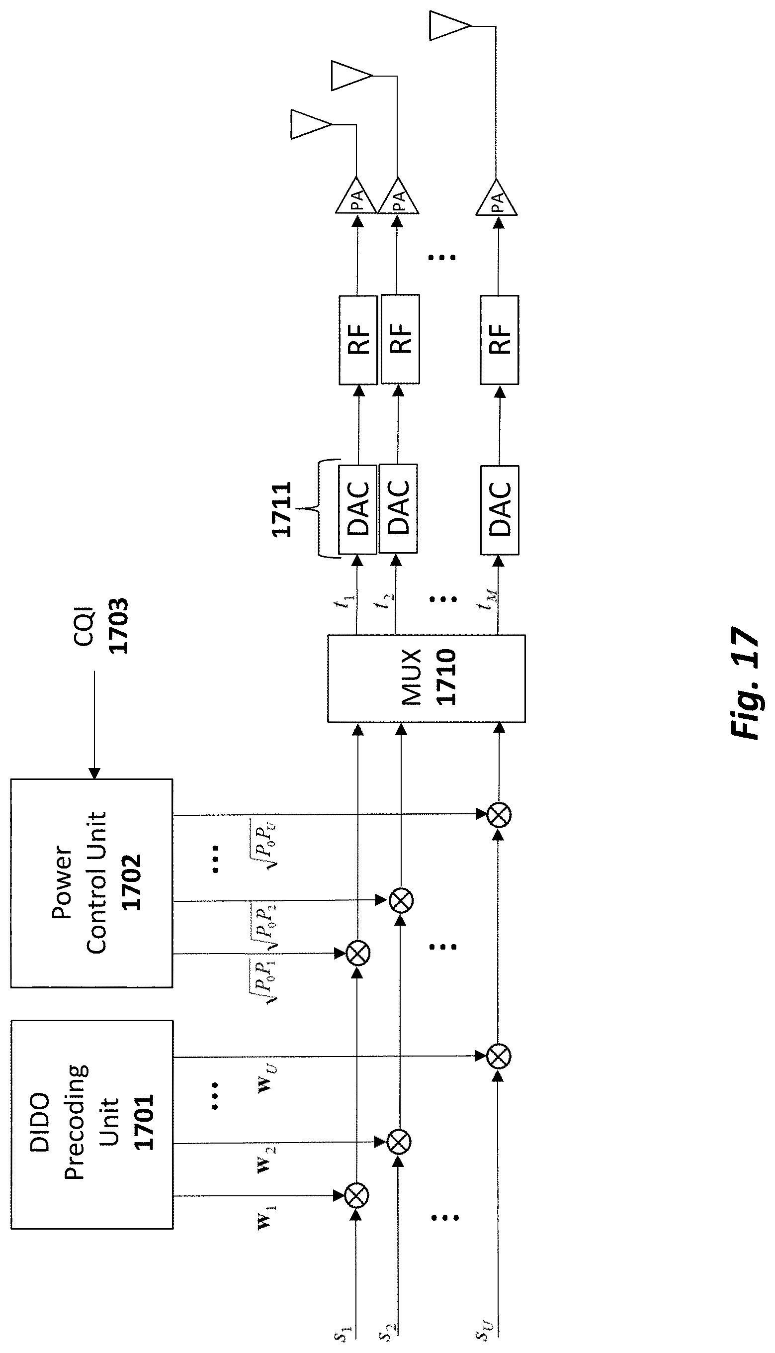
The method described above computes the SINR or SIR estimates for different schemes in real time and uses them to select the optimal scheme. In one embodiment, the handoff algorithm is designed based on the finite-state machine illustrated in In presence of shadowing effects, the signal quality or SIR may fluctuate around the thresholds as shown in One embodiment of the invention employs a hysteresis loop to cope with state switching effects. For example, when switching between “C1-DIDO,C2-IDCI” 9302 and “C1-IDCI,C2-DIDO” 9303 states in In a different embodiment, the threshold SINRT2 is adjusted to avoid repetitive switching between the first and second (or third and fourth) states of the finite-state machine in In one embodiment, depending on the variance of shadowing expected over the wireless link, the SINR threshold is dynamically adjusted within the range [SINRT2, SINRT2+A2]. The variance of the log-normal distribution can be estimated from the variance of the received signal strength (or RSSI) as the client moves from its current cluster to the neighbor cluster. The methods above assume the client triggers the handoff strategy. In one embodiment, the handoff decision is deferred to the DIDO BTSs, assuming communication across multiple BTSs is enabled. For simplicity, the methods above are derived assuming no FEC coding and 4-QAM. More generally, the SINR or SIR thresholds are derived for different modulation coding schemes (MCSs) and the handoff strategy is designed in combination with link adaptation (see, e.g., U.S. Pat. No. 7,636,381) to optimize downlink data rate to each client in the interfering zone. b. Handoff Between Low- and High-Doppler DIDO Networks DIDO systems employ closed-loop transmission schemes to precode data streams over the downlink channel. Closed-loop schemes are inherently constrained by latency over the feedback channel. In practical DIDO systems, computational time can be reduced by transceivers with high processing power and it is expected that most of the latency is introduced by the DIDO BSN, when delivering CSI and baseband precoded data from the BTS to the distributed antennas. The BSN can be comprised of various network technologies including, but not limited to, digital subscriber lines (DSL), cable modems, fiber rings, T1 lines, hybrid fiber coaxial (HFC) networks, and/or fixed wireless (e.g., WiFi). Dedicated fiber typically has very large bandwidth and low latency, potentially less than a millisecond in local region, but it is less widely deployed than DSL and cable modems. Today, DSL and cable modem connections typically have between 10-25 ms in last-mile latency in the United States, but they are very widely deployed. The maximum latency over the BSN determines the maximum Doppler frequency that can be tolerated over the DIDO wireless link without performance degradation of DIDO precoding. For example, in [1] we showed that at the carrier frequency of 400 MHz, networks with latency of about 10 msec (i.e., DSL) can tolerate clients' velocity up to 8 mph (running speed), whereas networks with 1 msec latency (i.e., fiber ring) can support speed up to 70 mph (i.e., freeway traffic). We define two or multiple DIDO sub-networks depending on the maximum Doppler frequency that can be tolerated over the BSN. For example, a BSN with high-latency DSL connections between the DIDO BTS and distributed antennas can only deliver low mobility or fixed-wireless services (i.e., low-Doppler network), whereas a low-latency BSN over a low-latency fiber ring can tolerate high mobility (i.e., high-Doppler network). We observe that the majority of broadband users are not moving when they use broadband, and further, most are unlikely to be located near areas with many high speed objects moving by (e.g., next to a highway) since such locations are typically less desirable places to live or operate an office. However, there are broadband users who will be using broadband at high speeds (e.g., while in a car driving on the highway) or will be near high speed objects (e.g., in a store located near a highway). To address these two differing user Doppler scenarios, in one embodiment, a low-Doppler DIDO network consists of a typically larger number of DIDO antennas with relatively low power (i.e., 1 W to 100 W, for indoor or rooftop installation) spread across a wide area, whereas a high-Doppler network consists of a typically lower number of DIDO antennas with high power transmission (i.e., 100 W for rooftop or tower installation). The low-Doppler DIDO network serves the typically larger number of low-Doppler users and can do so at typically lower connectivity cost using inexpensive high-latency broadband connections, such as DSL and cable modems. The high-Doppler DIDO network serves the typically fewer number of high-Doppler users and can do so at typically higher connectivity cost using more expensive low-latency broadband connections, such as fiber. To avoid interference across different types of DIDO networks (e.g. low-Doppler and high-Doppler), different multiple access techniques can be employed such as: time division multiple access (TDMA), frequency division multiple access (FDMA), or code division multiple access (CDMA). Hereafter, we propose methods to assign clients to different types of DIDO networks and enable handoff between them. The network selection is based on the type of mobility of each client. The client's velocity (v) is proportional to the maximum Doppler shift according to the following equation [6] In one embodiment, the Doppler shift of every client is calculated via blind estimation techniques. For example, the Doppler shift can be estimated by sending RF energy to the client and analyzing the reflected signal, similar to Doppler radar systems. In another embodiment, one or multiple DIDO antennas send training signals to the client. Based on those training signals, the client estimates the Doppler shift using techniques such as counting the zero-crossing rate of the channel gain, or performing spectrum analysis. We observe that for fixed velocity v and client's trajectory, the angular velocity v sin 0 in (11) may depend on the relative distance of the client from every DIDO antenna. For example, DIDO antennas in the proximity of a moving client yield larger angular velocity and Doppler shift than faraway antennas. In one embodiment, the Doppler velocity is estimated from multiple DIDO antennas at different distances from the client and the average, weighted average or standard deviation is used as an indicator for the client's mobility. Based on the estimated Doppler indicator, the DIDO BTS decides whether to assign the client to low- or high-Doppler networks. The Doppler indicator is periodically monitored for all clients and sent back to the BTS. When one or multiple clients change their Doppler velocity (i.e., client riding in the bus versus client walking or sitting), those clients are dynamically re-assigned to different DIDO network that can tolerate their level of mobility. Although the Doppler of low-velocity clients can be affected by being in the vicinity of high-velocity objects (e.g. near a highway), the Doppler is typically far less than the Doppler of clients that are in motion themselves. As such, in one embodiment, the velocity of the client is estimated (e.g. by using a means such as monitoring the clients position using GPS), and if the velocity is low, the client is assigned to a low-Doppler network, and if the velocity if high, the client is assigned to a high-Doppler network. Methods for Power Control and Antenna Grouping The block diagram of DIDO systems with power control is depicted in The power control unit measures the CQI for all clients. In one embodiment, the CQI is the average SNR or RSSI. The CQI varies for different clients depending on pathloss or shadowing. Our power control method adjusts the transmit power scaling factors Pk for different clients and multiplies them by the precoded data streams generated for different clients. Note that one or multiple data streams may be generated for every client, depending on the number of clients' receive antennas. To evaluate the performance of the proposed method, we defined the following signal model based on (5), including pathloss and power control parameters
The Federal Communications Commission (FCC) (and other international regulatory agencies) defines constraints on the maximum power that can be transmitted from wireless devices to limit the exposure of human body to electromagnetic (EM) radiation. There are two types of limits [2]: i) “occupational/controlled” limit, where people are made fully aware of the radio frequency (RF) source via fences, warnings or labels; ii) “general population/uncontrolled” limit where there is no control over the exposure. Different emission levels are defined for different types of wireless devices. In general, DIDO distributed antennas used for indoor/outdoor applications qualify for the FCC category of “mobile” devices, defined as [2]: “transmitting devices designed to be used in other than fixed locations that would normally be used with radiating structures maintained 20 cm or more from the body of the user or nearby persons.” The EM emission of “mobile” devices is measured in terms of maximum permissible exposure (MPE), expressed in mW/cm2. Less restrictive power emission constraints are defined for transmitters installed on rooftops or buildings, away from the “general population”. For these “rooftop transmitters” the FCC defines a looser emission limit of 1000 W, measured in terms of effective radiated power (ERP). Based on the above FCC constraints, in one embodiment we define two types of DIDO distributed antennas for practical systems:
Note that LP transmitters with DSL or cable modem connectivity are good candidates for low-Doppler DIDO networks (as described in the previous section), since their clients are mostly fixed or have low mobility. HP transmitters with commercial fiber connectivity can tolerate higher client's mobility and can be used in high-Doppler DIDO networks. To gain practical intuition on the performance of DIDO systems with different types of LP/HP transmitters, we consider the practical case of DIDO antenna installation in downtown Palo Alto, Calif. Based on the DIDO antenna distributions in Next, we defined algorithms to control power transmission of LP stations such that higher power is allowed at any given time, thereby increasing the throughput over the downlink channel of DIDO systems in Based on this analysis, we define adaptive power control methods to increase instantaneous per-antenna transmit power, while maintaining average power per DIDO antenna below MPE limits. We consider DIDO systems with more transmit antennas than active clients. This is a reasonable assumption given that DIDO antennas can be conceived as inexpensive wireless devices (similar to WiFi access points) and can be placed anywhere there is DSL, cable modem, optical fiber, or other Internet connectivity. The framework of DIDO systems with adaptive per-antenna power control is depicted in In one embodiment, Ng DIDO antenna groups are defined. Every group contains at least as many DIDO antennas as the number of active clients (K). At any given time, only one group has Na>K active DIDO antennas transmitting to the clients at larger power level (So) than MPE limit ( Assuming Round-Robin power allocation, from (14) we derive the average transmit power for every DIDO antenna as To gain some intuition on the performance of the proposed method, consider 400 DIDO distributed antennas in a given coverage area and 400 clients subscribing to a wireless Internet service offered over DIDO systems. It is unlikely that every Internet connection will be fully utilized all the time. Let us assume that 10% of the clients will be actively using the wireless Internet connection at any given time. Then, 400 DIDO antennas can be divided in Ng=10 groups of Na=40 antennas each, every group serving K=40 active clients at any given time with duty factor DF=0.1. The SNR gain resulting from this transmission scheme is GdB=10 log10(1/DF)=10 dB, provided by 10 dB additional transmit power from all DIDO antennas. We observe, however, that the average per-antenna transmit power is constant and is within the MPE limit. Note that our power control may have lower complexity than conventional eigenmode selection methods. In fact, the antenna ID of every group can be pre-computed and shared among DIDO antennas and clients via lookup tables, such that only K channel estimates are required at any given time. For eigenmode selection, (K+2) channel estimates are computed and additional computational processing is required to select the eigenmode that minimizes the SER at any given time for all clients. Next, we describe another method involving DIDO antenna grouping to reduce CSI feedback overhead in some special scenarios. The matrices A in In all three scenarios above, the BD precoding dynamically adjusts the precoding weights to account for different power levels over the wireless links between DIDO antennas and clients. It is convenient, however, to identify multiple groups within the DIDO cluster and operate DIDO precoding only within each group. Our proposed grouping method yields the following advantages:
In one embodiment of the invention, different multiple access techniques are defined for the DIDO uplink channel. These techniques can be used to feedback the CSI or transmit data streams from the clients to the DIDO antennas over the uplink. Hereafter, we refer to feedback CSI and data streams as uplink streams.
In one embodiment of the invention, the clients are wireless devices that transmit at much lower power than the DIDO antennas. In this case, the DIDO BTS defines client sub-groups based on the uplink SNR information, such that interference across sub-groups is minimized. Within every sub-group, the above multiple access techniques are employed to create orthogonal channels in time, frequency, space or code domains thereby avoiding uplink interference across different clients. In another embodiment, the uplink multiple access techniques described above are used in combination with antenna grouping methods presented in the previous section to define different client groups within the DIDO cluster. System and Method for Link Adaptation in DIDO Multicarrier Systems Link adaptation methods for DIDO systems exploiting time, frequency and space selectivity of wireless channels were defined in U.S. Pat. No. 7,636,381. Described below are embodiments of the invention for link adaptation in multicarrier (OFDM) DIDO systems that exploit time/frequency selectivity of wireless channels. We simulate Rayleigh fading channels according to the exponentially decaying power delay profile (PDP) or Saleh-Valenzuela model in [9]. For simplicity, we assume single-cluster channel with multipath PDP defined as
Next, we study the performance of DIDO precoding in frequency selective channels. We compute the DIDO precoding weights via BD, assuming the signal model in (1) that satisfies the condition in (2). We reformulate the DIDO receive signal model in (5), with the condition in (2), as
where Hex=HkWk is the effective channel matrix for user k. For DIDO 2×2, with a single antenna per client, the effective channel matrix reduces to one value with a frequency response shown in We begin by evaluating the performance of different MCSs in AWGN and Rayleigh fading SISO channels. For simplicity, we assume no FEC coding, but the following LA methods can be extended to systems that include FEC. The key idea of the proposed LA method for DIDO systems is to use low MCS orders when the channel undergoes deep fades in the time domain or frequency domain (depicted in The general framework of the LA methods is depicted in System and Method for DIDO Precoding Interpolation in Multicarrier Systems The computational complexity of DIDO systems is mostly localized at the centralized processor or BTS. The most computationally expensive operation is the calculation of the precoding weights for all clients from their CSI. When BD precoding is employed, the BTS has to carry out as many singular value decomposition (SVD) operations as the number of clients in the system. One way to reduce complexity is through parallelized processing, where the SVD is computed on a separate processor for every client. In multicarrier DIDO systems, each subcarrier undergoes flat-fading channel and the SVD is carried out for every client over every subcarrier. Clearly the complexity of the system increases linearly with the number of subcarriers. For example, in OFDM systems with 1 MHz signal bandwidth, the cyclic prefix (L0) must have at least eight channel taps (i.e., duration of 8 microseconds) to avoid intersymbol interference in outdoor urban macrocell environments with large delay spread [3]. The size (NFFT) of the fast Fourier transform (FFT) used to generate the OFDM symbols is typically set to multiple of L0 to reduce loss of data rate. If NFFT=64, the effective spectral efficiency of the system is limited by a factor NFFT/(NFFT+L0)=89%. Larger values of NFFT yield higher spectral efficiency at the expense of higher computational complexity at the DIDO precoder. One way to reduce computational complexity at the DIDO precoder is to carry out the SVD operation over a subset of tones (that we call pilot tones) and derive the precoding weights for the remaining tones via interpolation. Weight interpolation is one source of error that results in inter-client interference. In one embodiment, optimal weight interpolation techniques are employed to reduce inter-client interference, yielding improved error rate performance and lower computational complexity in multicarrier systems. In DIDO systems with M transmit antennas, U clients and N receive antennas per clients, the condition for the precoding weights of the kth client (Wk) that guarantees zero interference to the other clients u is derived from (2) as
In one embodiment of the invention, the objective function of the weight interpolation method is defined as The objective function in (25) is defined for one OFDM tone. In another embodiment of the invention, the objective function is defined as linear combination of the Frobenius norm in (25) of the matrices for all the OFDM tones to be interpolated. In another embodiment, the OFDM spectrum is divided into subsets of tones and the optimal solution is given by The weight interpolation matrix Wk(θk) in (25) is expressed as a function of a set of parameters θk. Once the optimal set is determined according to (26) or (27), the optimal weight matrix is computed. In one embodiment of the invention, the weight interpolation matrix of given OFDM tone n is defined as linear combination of the weight matrices of the pilot tones. One example of weight interpolation function for beamforming systems with single client was defined in [11]. In DIDO multi-client systems we write the weight interpolation matrix as
We observe that one key difference of the system and method in [11] against the one proposed in this patent application is the objective function. In particular, the systems in [11] assumes multiple transmit antennas and single client, so the related method is designed to maximize the product of the precoding weight by the channel to maximize the receive SNR for the client. This method, however, does not work in multi-client scenarios, since it yields inter-client interference due to interpolation error. By contrast, our method is designed to minimize inter-client interference thereby improving error rate performance to all clients. One way to implement the weight interpolation method is via exhaustive search over the feasible set Θk in (26). To reduce the complexity of the search, we quantize the feasible set into P values uniformly in the range [0,2π]. In another embodiment of the invention, weight interpolation functions other than those in (28) are used. For example, linear prediction autoregressive models [12] can be used to interpolate the weights across different OFDM tones, based on estimates of the channel frequency correlation. [15] R. G. Vaughan, “On optimum combining at the mobile,” Described below are wireless radio frequency (RF) communication systems and methods employing a plurality of distributed transmitting antennas operating cooperatively to create wireless links to given users, while suppressing interference to other users. Coordination across different transmitting antennas is enabled via user-clustering. The user cluster is a subset of transmitting antennas whose signal can be reliably detected by given user (i.e., received signal strength above noise or interference level). Every user in the system defines its own user-cluster. The waveforms sent by the transmitting antennas within the same user-cluster coherently combine to create RF energy at the target user's location and points of zero RF interference at the location of any other user reachable by those antennas. Consider a system with M transmit antennas within one user-cluster and K users reachable by those M antennas, with K≤M. We assume the transmitters are aware of the CSI (H∈CK×M) between the M transmit antennas and K users. For simplicity, every user is assumed to be equipped with a single antenna, but the same method can be extended to multiple receive antennas per user. Consider the channel matrix H obtained by combining the channel vectors (hk∈C1×M) from the M transmit antennas to the K users as The precoding weights (wk∈CM×1) that create RF energy to user k and zero RF energy to all other K−1 users are computed to satisfy the following condition
In one embodiment, the wireless system is a DIDO system and user clustering is employed to create a wireless communication link to the target user, while pre-cancelling interference to any other user reachable by the antennas lying within the user-cluster. In U.S. application Ser. No. 12/630,627, a DIDO system is described which includes:
For example, the BTSs are local hubs connected to other BTSs and to the DIDO distributed antennas via the BSN. The BSN can be comprised of various network technologies including, but not limited to, digital subscriber lines (DSL), ADSL, VDSL [6], cable modems, fiber rings, T1 lines, hybrid fiber coaxial (HFC) networks, and/or fixed wireless (e.g., WiFi). All BTSs within the same super-cluster share information about DIDO precoding via the BSN such that the round-trip latency is within the DIDO precoding loop. In We proposed similar method in [5], where points of zero RF energy were created to remove interference in the overlapping regions between DIDO clusters. Extra antennas were required to transmit signal to the clients within the DIDO cluster while suppressing inter-cluster interference. One embodiment of a method proposed in the present application does not attempt to remove inter-DIDO-cluster interference; rather it assumes the cluster is bound to the client (i.e., user-cluster) and guarantees that no interference (or negligible interference) is generated to any other client in that neighborhood. One idea associated with the proposed method is that users far enough from the user-cluster are not affected by radiation from the transmit antennas, due to large pathloss. Users close or within the user-cluster receive interference-free signal due to precoding. Moreover, additional transmit antennas can be added to the user-cluster (as shown in One embodiment of a method employing user clustering consists of the following steps:
Another example is depicted in Yet another example is shown in In one embodiment, singular value decomposition (SVD) of the effective channel matrix {tilde over (H)}k is computed and the precoding weight wk for user k is defined as the right singular vector corresponding to the null subspace of {tilde over (H)}k. Alternatively, if M>K and the SVD decomposes the effective channel matrix as {tilde over (H)}k=VkΣkUkH, the DIDO precoding weight for user k is given by
From basic linear algebra considerations, we observe that the right singular vector in the null subspace of the matrix {tilde over (H)} is equal to the eigenvetor of C corresponding to the zero eigenvalue
where the vector (ui) at the first iteration is a random vector. Given that the eigenvalue (λ) of the null subspace is known (i.e., zero) the inverse power method requires only one iteration to converge, thereby reducing computational complexity. Then, we write the precoding weight vector as
The DIDO precoding calculation requires one matrix inversion. There are several numerical solutions to reduce the complexity of matrix inversions such as the Strassen's algorithm [1] or the Coppersmith-Winograd's algorithm [2, 3]. Since C is Hermitian matrix by definition, an alternative solution is to decompose C in its real and imaginary components and compute matrix inversion of a real matrix, according to the method in [4, Section 11.4]. Another feature of the proposed method and system is its reconfigurability. As the client moves across different DIDO clusters as in The method proposed herein works within the super-cluster in It should be noted that the terms “user” and “client” are used interchangeably herein. Embodiments of the invention may include various steps as set forth above. The steps may be embodied in machine-executable instructions which cause a general-purpose or special-purpose processor to perform certain steps. For example, the various components within the Base Stations/APs and Client Devices described above may be implemented as software executed on a general purpose or special purpose processor. To avoid obscuring the pertinent aspects of the invention, various well known personal computer components such as computer memory, hard drive, input devices, etc., have been left out of the figures. Alternatively, in one embodiment, the various functional modules illustrated herein and the associated steps may be performed by specific hardware components that contain hardwired logic for performing the steps, such as an application-specific integrated circuit (“ASIC”) or by any combination of programmed computer components and custom hardware components. In one embodiment, certain modules such as the Coding, Modulation and Signal Processing Logic 903 described above may be implemented on a programmable digital signal processor (“DSP”) (or group of DSPs) such as a DSP using a Texas Instruments' TMS320x architecture (e.g., a TMS320C6000, TMS320C5000, . . . etc). The DSP in this embodiment may be embedded within an add-on card to a personal computer such as, for example, a PCI card. Of course, a variety of different DSP architectures may be used while still complying with the underlying principles of the invention. Elements of the present invention may also be provided as a machine-readable medium for storing the machine-executable instructions. The machine-readable medium may include, but is not limited to, flash memory, optical disks, CD-ROMs, DVD ROMs, RAMs, EPROMs, EEPROMs, magnetic or optical cards, propagation media or other type of machine-readable media suitable for storing electronic instructions. For example, the present invention may be downloaded as a computer program which may be transferred from a remote computer (e.g., a server) to a requesting computer (e.g., a client) by way of data signals embodied in a carrier wave or other propagation medium via a communication link (e.g., a modem or network connection). Throughout the foregoing description, for the purposes of explanation, numerous specific details were set forth in order to provide a thorough understanding of the present system and method. It will be apparent, however, to one skilled in the art that the system and method may be practiced without some of these specific details. Accordingly, the scope and spirit of the present invention should be judged in terms of the claims which follow. Moreover, throughout the foregoing description, numerous publications were cited to provide a more thorough understanding of the present invention. All of these cited references are incorporated into the present application by reference.CROSS REFERENCE TO RELATED APPLICATIONS
BACKGROUND
BRIEF DESCRIPTION OF THE DRAWINGS
DETAILED DESCRIPTION
I. DISCLOSURE FROM RELATED APPLICATION SER. NO. 12/802,988
where k=1, . . . , K, with K being the number of clients in the interfering zone 8010A, B, U is the number of clients in the main DIDO cluster, C is the number of interfering DIDO clusters 412-413 and Ic is the number of clients in the interfering cluster c. Moreover, rk∈CN×M is the vector containing the receive data streams at client k, assuming M transmit DIDO antennas and N receive antennas at the client devices; sk∈CN×1 is the vector of transmit data streams to client k in the main DIDO cluster; su∈CN×1 is the vector of transmit data streams to client u in the main DIDO cluster; sc,i∈CN×1 is the vector of transmit data streams to client i in the cth interfering DIDO cluster; nk∈CN×1 is the vector of additive white Gaussian noise (AWGN) at the N receive antennas of client k; Hk∈CN×M is the DIDO channel matrix from the M transmit DIDO antennas to the N receive antennas at client k in the main DIDO cluster; Hc,k∈CN×M is the DIDO channel matrix from the M transmit DIDO antennas to the N receive antennas t client kin the cth interfering DIDO cluster; Wk∈CM×N is the matrix of DIDO precoding weights to client k in the main DIDO cluster; Wk∈CM×N is the matrix of DIDO precoding weights to client u in the main DIDO cluster; Wc,i∈CM×N is the matrix of DIDO precoding weights to client i in the cth interfering DIDO cluster.
The precoding weight matrices in the neighbor DIDO clusters are designed such that the following condition is satisfied
To compute the precoding matrices Wc,i, the downlink channel from the M transmit antennas to the Ic clients in the interfering cluster as well as to client k in the interfering zone is estimated and the precoding matrix is computed by the DIDO BTS in the interfering cluster. If BD method is used to compute the precoding matrices in the interfering clusters, the following effective channel matrix is built to compute the weights to the ith client in the neighbor clusters
where {tilde over (H)}c,i is the matrix obtained from the channel matrix Hc∈C(N·I
Substituting conditions (2) and (3) into (1), we obtain the received data streams for target client k, where intra-cluster and inter-cluster interference is removed
The precoding weights Wc,i in (1) computed in the neighbor clusters are designed to transmit precoded data streams to all clients in those clusters, while pre-cancelling interference to the target client in the interfering zone. The target client receives precoded data only from its main cluster. In a different embodiment, the same data stream is sent to the target client from both main and neighbor clusters to obtain diversity gain. In this case, the signal model in (5) is expressed as
where Wc,k is the DIDO precoding matrix from the DIDO transmitters in the cth cluster to the target client k in the interfering zone. Note that the method in (6) requires time synchronization across neighboring clusters, which may be complex to achieve in large systems, but nonetheless, is quite feasible if the diversity gain benefit justifies the cost of implementation.
where INR is the interference-to-noise ratio defined as INR=SNR/SIR and SIR is the signal-to-interference ratio.
where the signal-to-interference (SIR) is derived as SIR=((1−D)/D)4. In modeling the IDCI, we consider three scenarios: i) ideal case with no IDCI; ii) IDCI pre-cancelled via BD precoding in the interfering cluster to satisfy condition (3); iii) with IDCI, not pre-cancelled by the neighbor cluster.
Methods for Handoff
where fd is the maximum Doppler shift, λ is the wavelength corresponding to the carrier frequency and θ is the angle between the vector indicating the direction transmitter-client and the velocity vector.
where k=1, . . . , U, U is the number of clients, SNR=Po/No, with Po being the average transmit power, No the noise power and αk the pathloss/shadowing coefficient. To model pathloss/shadowing, we use the following simplified model
where a=4 is the pathloss exponent and we assume the pathloss increases with the clients' index (i.e., clients are located at increasing distance from the DIDO antennas).
where TMPE=Σn=1N tn is the MPE averaging time, tn is the period of time of exposure to radiation with power density Sn. For “controlled” exposure the average time is 6 minutes, whereas for “uncontrolled” exposure it is increased up to 30 minutes. Then, any power source is allowed to transmit at larger power levels than the MPE limits, as long as the average power density in (14) satisfies the FCC limit over 30 minute average for “uncontrolled” exposure.
where to is the period of time over which the antenna group is active and TMPE=30 min is the average time defined by the FCC guidelines [2]. The ratio in (15) is the duty factor (DF) of the groups, defined such that the average transmit power from every DIDO antenna satisfies the MPE limit (
The SNR gain (in dB) obtained in DIDO systems with power control and antenna grouping is expressed as a function of the duty factor as
We observe the gain in (17) is achieved at the expense of GdB additional transmit power across all DIDO antennas.
In general, the total transmit power from all Na of all Ng groups is defined as
where the Pij is the average per-antenna transmit power given by
and Sij(t) is the power spectral density for the ith transmit antenna within the jth group. In one embodiment, the power spectral density in (19) is designed for every antenna to optimize error rate or throughput performance.
where H is the channel estimation matrix available at the DIDO BTS.
Multiple Access Techniques for the DIDO Uplink Channel
where n=0, . . . , L−1, is the index of the channel tap, L is the number of channel taps and β=1/σDS is the PDP exponent that is an indicator of the channel coherence bandwidth, inverse proportional to the channel delay spread (σDS). Low values of β yield frequency-flat channels, whereas high values of β produce frequency selective channels. The PDP in (21) is normalized such that the total average power for all L channel taps is unitary
where Hu are the channel matrices corresponding to the other DIDO clients in the system.
where θk is the set of parameters to be optimized for user k, Ŵk(θk) is the weight interpolation matrix and ∥⋅∥F denotes the Frobenius norm of a matrix. The optimization problem is formulated as
where Θk is the feasible set of the optimization problem and θk,opt is the optimal solution.
where n is the OFDM tone index and A is the subset of tones.
where 0≤l≤(L0−1), L0 is the number of pilot tones and cn=(n−1)/N0, with N0=NFFT/L0. The weight matrix in (28) is then normalized such that ∥Ŵk∥F=√{square root over (NM)} to guarantee unitary power transmission from every antenna. If N=1 (single receive antenna per client), the matrix in (28) becomes a vector that is normalized with respect to its norm. In one embodiment of the invention, the pilot tones are chosen uniformly within the range of the OFDM tones. In another embodiment, the pilot tones are adaptively chosen based on the CSI to minimize the interpolation error.
REFERENCES
II. DISCLOSURE OF THE PRESENT APPLICATION
where {tilde over (H)}k is the effective channel matrix of user k obtained by removing the k-th row of matrix H and 0K×1 is the vector with all zero entries
where the effective channel matrix is decomposed as {tilde over (H)}=VΣUH, according to the SVD. Then, one alternative to computing the SVD of {tilde over (H)}K is to calculate the eigenvalue decomposition of C. There are several methods to compute eigenvalue decomposition such as the power method. Since we are only interested to the eigenvector corresponding to the null subspace of C, we use the inverse power method described by the iteration
REFERENCES