A minimally invasive skin treatment system includes a platform having a recessed area on its bottom and one or more injection ports orthogonal to its top, each injection port including a through-hole to the recessed area. The system includes an injection device including a needle slidably disposed in a selective port such that the needle passes into the recessed area and percutaneously through a dermis disposed within the recessed area. A nozzle is configured to discharge a fluid at a high pressure in a direction orthogonal to an axis of the needle and parallel to the top of the platform to cut create a plane of dissection within the subcutaneous tissue.
1. A device for dissection of tissue, comprising:
a platform having a top surface, a bottom surface, and a downwardly extending wall about a perimeter of the platform,
wherein the bottom surface and the downwardly extending wall about the perimeter of the platform collectively form a recessed area in which a tissue to be dissected may be positioned; the recessed area being operatively connected to a suction mechanism,
wherein the suction mechanism is configured to supply a suction force to the recessed area to allow the tissue to be dissected to be positioned against the bottom surface; one or more ports positioned on top of the platform, each of the one or more ports positioned about a corresponding entry hole passing into the recessed area, wherein each of the one or more ports comprises a portion that is raised above the top surface of the platform that defines a corresponding well within a selected port and that limits an insertion depth of a needle or other cutting tool; and the needle or other cutting tool comprising a base and an upper body,
wherein the needle or other cutting tool is configured to be removably secured to the platform, wherein an outer perimeter of the base fits within an inner perimeter of a selected well, wherein the upper body of the needle or other cutting tool is fluidically connected to a solution supply tubing, and wherein the solution supply tubing is configured to deliver a solution to a lumen portion of the needle or other cutting tool, wherein the needle or other cutting tool is configured to allow at least a portion of the needle or other cutting tool to be inserted into a selected port such that a distal end of the needle or other cutting tool passes through the corresponding entry hole into the recessed area, through a dermis and into a subcutaneous region of the tissue to be dissected positioned in contact with the bottom surface to a depth within the subcutaneous region, wherein a lower portion of the upper body is configured to contact a portion of the corresponding well that is raised above the top surface of the platform when the distal end of the needle or other cutting tool is at the depth within the subcutaneous region, and wherein the needle or other cutting tool dissects the tissue to be dissected in a plane below a surface of the tissue to be dissected in contact with the bottom surface. 2. The device of 3. A device of a vacuum fitting operably connected to the top surface of the platform and in fluid communication with the recessed area; and a vacuum pump in fluid communication with the vacuum fitting. 4. The device of 5. A device for dissection of tissue, comprising:
a platform having a top surface, a bottom surface, and a downwardly extending wall about a perimeter of the platform,
wherein the bottom surface and the downwardly extending wall about the perimeter of the platform collectively form a recessed area in which a tissue to be dissected may be positioned; the recessed area being operatively connected to a suction mechanism configured to supply a suction force to the recessed area to position the tissue to be dissected against the bottom surface; one or more ports positioned on the platform, each of the one or more ports positioned about a corresponding entry hole in communication with the recessed area, wherein each of the one or more ports comprises a well; and a needle or other cutting tool comprising a base, an upper body, and a swivel fitting positioned in the upper body,
wherein the swivel fitting comprises an upper and lower section, wherein the upper and lower sections are configured to rotate independently from one another, thereby allowing rotation of the needle or other cutting tool, wherein the needle or other cutting tool is configured to be removably secured to the platform, wherein the needle or other cutting tool is configured to allow a portion of the needle or other cutting tool to be inserted into a selected port to pass a distal end of the needle or other cutting tool through the corresponding entry hole into the recessed area and into a subcutaneous region of the tissue to be dissected positioned in contact with the bottom surface to a depth a depth below a surface of the tissue to be dissected in contact with the bottom surface, and wherein each well comprises a raised portion that extends above the top surface of the platform and interacts with a rim on the upper body of the needle or other cutting tool and limits the insertion depth of the needle or other cutting tool. 6. The device of a needle comprising a distal end, the distal end having one or more nozzles, wherein the one or more nozzles are configured to discharge a solution in a direction substantially parallel to the top surface of the platform, wherein the one or more nozzles are configured to increase a kinetic energy of the solution discharged by the device through the needle. 7. The device of 8. The device of 9. The device of 10. The device of 11. The device of
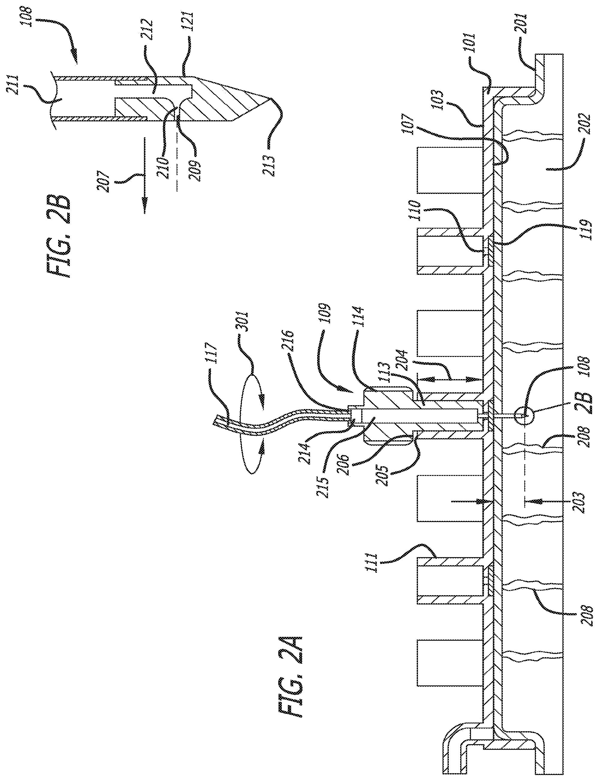
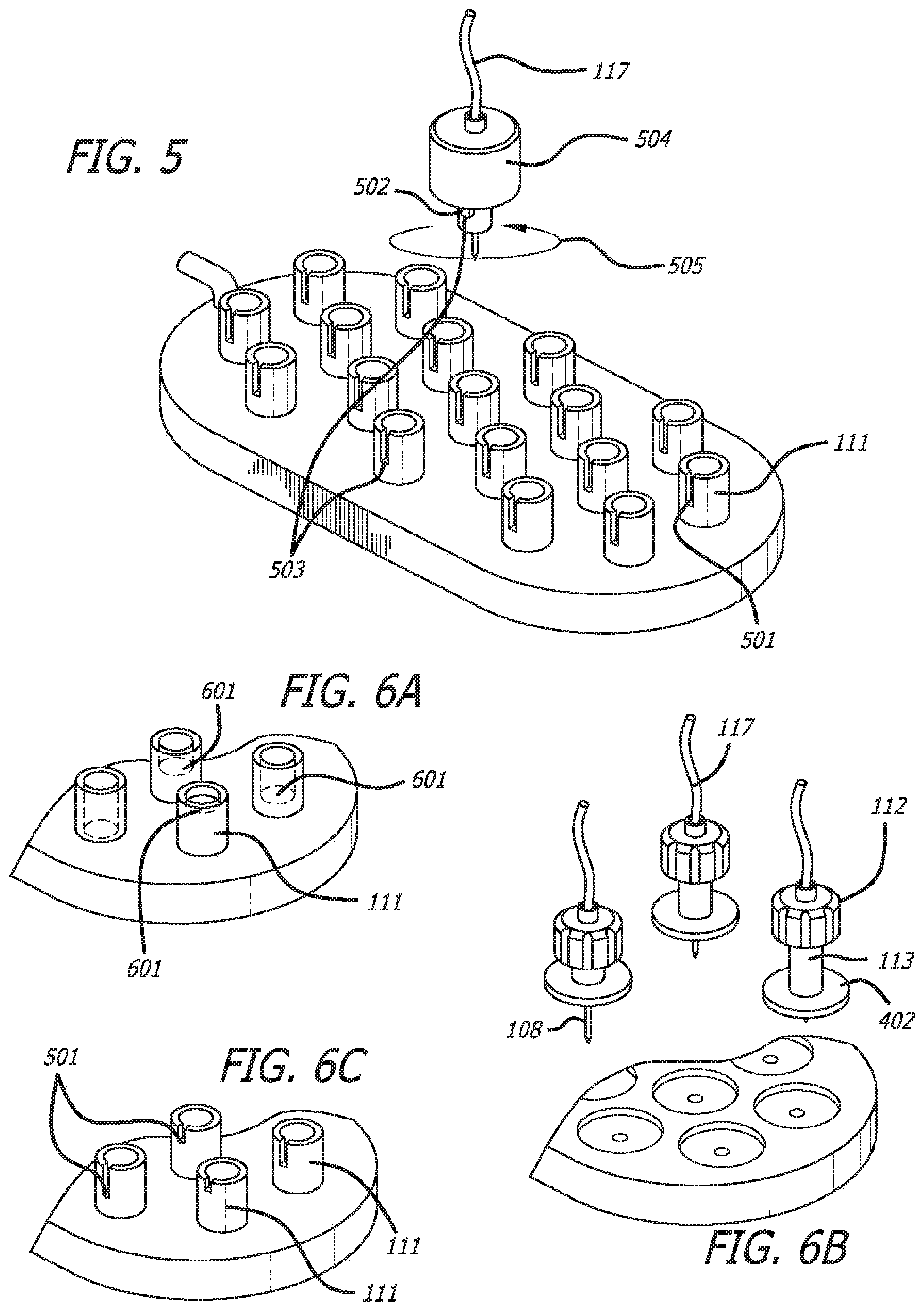
This application is a continuation of co-pending U.S. patent application Ser. No. 12/787,377, filed May 25, 2010, the entire contents of which is incorporated by reference herein. The present invention relates to surgical tools and implantable devices which modify subdermal structures for decreasing the appearance of cellulite. Most aesthetic issues for which patients seek treatment from physicians today are “more than skin deep.” For instance, gynoid lipodystrophy is a localized disorder of the subcutaneous tissue which leads to an alteration in the topography of the cutaneous surface (skin), or a dimpling effect. It is thought to be caused by increased fluid retention and/or proliferation of adipose tissue in certain subdermal regions, but known to be structure related. This condition, commonly known as cellulite, affects over 90% of post-pubescent women, and some men. Cellulite commonly appears on the hips, buttocks and legs, but is not necessarily caused by being overweight, as is a common perception. Cellulite is formed in the subcutaneous level of tissue, in the subdermal fat layer below the epidermis and dermis layers. In this region, fat cells are arranged in chambers surrounded by bands of connective tissue called septae. Cellulite is in part due to the parallel orientation of these fibrous septae structures. The fibrous structures being oriented in a parallel fashion (and perpendicular to the skin) is unique to women, whereas men typically have more random orientation of fibrous structures. This difference in fibrous structure may be in part or wholly responsible for the fact that men do not exhibit widespread cellulite in comparison to women. As the fat cells held within the perimeters defined by these fibrous septae expand they stretch the septae and surrounding connective tissue. Furthermore, adipocyte expansion from weight gain may also stretch the septae. Eventually this connective tissue contracts and hardens (scleroses) holding the skin at a non-flexible length, while the chambers between the septae continue to expand with weight gain, or water gain. This results in areas of the skin being held down while other sections bulge outward, resulting in the lumpy, ‘orange peel’ or ‘cottage cheese’ appearance on the skin surface. Even though obesity is not considered to be a root cause of cellulite, it can certainly worsen the dimpled appearance of a cellulitic region due to the increased number of fat cells in the region. Over the years, a variety of approaches for treatment of skin irregularities such as cellulite and removal of unwanted adipose tissue have been proposed. For example, methods and devices that provide mechanical massage to the affected area, through either a combination of suction and massage or suction, massage and application of energy, in addition to application of various topical agents are currently available. Developed in the 1950's, mesotherapy is an injection of various treatment solutions through the skin that has been widely used in Europe for conditions ranging from sports injuries to chronic pain, to cosmetic procedures to treat wrinkles and cellulite. This treatment consists of the injection or transfer of various agents through the skin to provide increased circulation and the potential for fat oxidation, such as aminophylline, hyaluronic acid, Novocain, plant extracts and other vitamins. Another treatment entitled Acthyderm (Turnwood International, Ontario, Canada) employs a roller system that electroporates the stratum corneum to open small channels in the dermis, followed by the application of various mesotherapy agents, such as vitamins, antifibrotics, lypolitics, anti-inflammatories and the like. Various other approaches employing dermatologic creams, lotions, vitamins and herbal supplements have also been proposed to treat cellulite. Private spas and salons offer cellulite massage treatments that include body scrubs, pressure point massage, essential oils, and herbal products using extracts from plant species such as seaweed, horsetail and Massage techniques were tried as early as the 1930's as a method to increase lymphatic drainage and improve the appearance of cellulite. Mechanical massage devices, or Pressotherapy, have also been developed such as the “Endermologie” device (LPG Systems, France), the “Synergie” device (Dynatronics, Salt Lake City, Utah) and the “Silklight” device (Lumenis, Tel Aviv, Israel), all utilizing subdermal massage via vacuum and mechanical rollers. Other approaches have included a variety of energy sources, such as Cynosure's “TriActive” device (Cynosure, Westford, Mass.) utilizing a pulsed semiconductor laser in addition to mechanical massage, and the “Cellulux” device (Palomar Medical, Burlington, Mass.) which emits infrared light through a cooled chiller to target subcutaneous adipose tissue. The “VelaSmooth” system (Syneron, Inc., Yokneam Illit, Israel) employs bipolar radiofrequency energy in conjunction with suction massage to increase metabolism in adipose tissue, and the “Thermacool” device (Thermage, Inc., Hayward, Calif.) utilizes radiofrequency energy to shrink the subdermal fibrous septae to treat wrinkles and other skin defects. Other energy-based therapies such as electrolipophoresis, using several pairs of needles to apply a low frequency interstitial electromagnetic field to aid circulatory drainage have also been developed. Similarly, non-invasive ultrasound is used in the “Dermosonic” device (Symedex Medical, Minneapolis, Minn.) to promote increased fat reabsorption and drainage of retained fluids and toxins. Methods and devices using ultrasound to disrupt subcutaneous tissues directly has been described in the known art. Such techniques may utilize a high intensity ultrasound wave that is focused on a tissue within the body, thereby causing a localized destruction or injury to cells. The focusing of the high intensity ultrasound may be achieved utilizing, for example, a concave transducer or am acoustic lens. Use of high intensity focused ultrasound to disrupt fat, sometimes in combination with removal of the fat by liposuction, has been described in the known prior art. Such use of high intensity focused ultrasound is distinguished from low acoustic pressure, therapeutic ultrasound. Recently, it is has also become possible to exploit ultrasound waves for the purpose of disrupting tissue and tissue ablation without heating tissue to a level of tissue disruption. One such device is disclosed in U.S. Publication No. 2007/0055179 to Deem et al., incorporated herein by reference, which includes a method of infiltrating exogenous microbubbles into the target tissue, followed by applying low acoustic pressure ultrasound to the infiltrated tissue to cavitate the bubbles and destroy the target tissue without direct thermal injury to the dermis. Although low acoustic pressure ultrasound may somewhat heat tissue, the tissue is not heated sufficiently to cause direct tissue disruption or to enhance the ablation, and thus significantly reduces the risk of thermal damage to the dermis and associated structures (nerves, hair follicles, blood vessels). Liposonix (Bothell, Wash.) and Ultrashape (Tel Aviv, Israel) employ the use of focused ultrasound to destroy adipose tissue noninvasively. In addition, cryogenic cooling has been proposed for destroying adipose tissue. Certain other techniques known as liposuction, tumescent liposuction, lypolysis and the like, target adipose tissue in the subdermal and deep fat regions of the body. These techniques may include also removing the fat cells once they are disrupted, or leaving them to be resorbed by the body's immune/lymphatic system. Liposuction is the most commonly performed cosmetic surgical procedure. Traditional liposuction includes the use of a surgical cannula placed at the site of the fat to be removed, and then the use of an infusion of fluids and mechanical motion of the cannula to break up the fatty tissue, and suction to “vacuum” the disrupted fatty tissue directly out of the patient. A variation on the traditional liposuction technique known as tumescent liposuction was introduced in 1985 and is currently considered by some to be the standard of care in the United States. It involves the infusion of tumescent fluids to the targeted region prior to mechanical disruption and removal by the suction cannula. The fluids may help to ease the pain of the mechanical disruption in some patients, while also swelling the tissues to make them more susceptible to mechanical removal. Various combinations of fluids may be employed in the tumescent solution including a local anesthetic such as lidocaine, a vasoconstrictive agent such as epinephrine, saline, potassium and the like. The benefits of such an approach are detailed in the articles, “Laboratory and Histopathologic Comparative Study of Internal Ultrasound-Assisted Lipoplasty and Tumescent Lipoplasty” Plastic and Reconstructive Surgery, September 15, (2002) 110:4, 11581164, and “When One Liter Does Not Equal 1000 Milliliters: Implications for the Tumescent Technique” Dermatol. Surg. (2000) 26:1024-1028, the contents of which are expressly incorporated herein by reference in their entirety. Traditional fat extraction techniques such as liposuction, target deep fat and larger regions of the anatomy and can sometimes worsen the appearance of cellulite. The subdermal fat pockets remain and are accentuated by the loss of underlying bulk (deep fat) in the region. Many times liposuction is performed and patients still seek therapy for remaining skin irregularities, such as cellulite. The tools used in these procedures often have cutting edges and are intended to dissect the subcutaneous tissue and fibrous septae. Representative of such conventional tools is the “Toledo” cannula, pictured in Toledo L S, Mauas R, Complications of Body Sculpture: Prevention and Treatment. Clin Plastic Surg. 2006:33; 1-11. There are physicians who target the more shallow subdermal fat pockets with liposuction, but at a higher risk of directly creating surface irregularities rather than treating them. Liposuction is not considered a viable treatment for cellulite for these reasons. Another issue that must be factored in with liposuction is the amount of drugs infused with the tumescent solution. With large volume liposuctions, the Lidocaine infusion (for pain) can get up as high as 50 mg/kg, well above the intravascular toxicity limit of 7 mg/kg. The reason why liposuction patients can tolerate such a large volume of lidocaine is that the lidocaine is injected subcutaneously, is highly diluted, and is absorbed slowly over time. Thus, the actual systemic level of lidocaine is lower. However, in some cases lidocaine can spill over into the circulation and has resulted in patient mortality. For this reason, physicians monitor the Lidocaine does closely and often limit the area or treatment as a result. More recently, energy sources have been added to the cannula to assist in the break-up and liquefication of the fat which in turn improves the ease of use. The “Lysonix” system (Mentor Corporation, Santa Barbara, Calif.) and “Vaser” system (Sound Surgical, Louisville, Colo.) utilize an ultrasonic transducer within the suction cannula to assist in tissue disruption (by cavitation of the tissue at the targeted site). Laser assisted cannula are offered by several companies including “Smartlipo” (Cynosure, Westford, Mass.), “Slimlipo” (Palomar Medical, Burlington, Mass.), and “Smoothlipo” (Eleme Medical, Merrimack, N.H.). Subcutaneous dissection without fat aspiration is another approach to the treatment of skin irregularities such as scarring and dimpling. A technique called “subcision” was described by Orentreich in 1995. See Orentreich D S, Orentreich N. Subcutaneous incisionless surgery for the correction of depressed scars and wrinkles. Dermatological Surgery 1995 June; 21 (6): 543-9 This technique involves the insertion of a relatively large gauge needle subdermally in the region of dimpling or scarring, and then mechanically manipulating the needle below the skin to break up the fibrous septae in the subdermal region. In at least one known method of subcision, a solution containing an anesthetic (Lidocaine) and vasoconstrictor is injected into the targeted region and allowed to take effect. An 18-gauge needle is then inserted 10-20 mm below the cutaneous surface. The needle is then pulled back and directed parallel to the epidermis to create a dissection plane beneath the skin to essentially tear through, or “free up” the tightened septae causing the dimpling or scarring. Pressure is then applied to control bleeding acutely, and then by the use of compressive clothing following the procedure. While clinically effective in some patients, pain, bruising, bleeding and scarring can result. Other cutting implements include the aforementioned Toledo cannula, and several string or wire based cutting methods including the “Surgiwire” (Coapt Systems, Palo Alto, Calif.) and “ReleaseWire” (MicroAire, Charlottesville, Va.). Cutting or relieving of the fibrous septae in the subdermal region by current subcision methods, is labor intensive, time consuming and techniques are highly variable. Significant physician time must be devoted to the procedure and there are technical limits as well as anesthetic limits to the size of a treatable area. There is a lack of clinical proof of that the techniques work for most patients and that the effects are lasting. For these reasons, and because of the potential side effects and extended time required for healing, subcision and liposuction have largely been abandoned as a treatment for cellulite in the United States. In light of the foregoing, it would be desirable to provide a device and method for treating skin irregularities such as cellulite and to provide a sustained aesthetic result to a body region, such as the face, neck, arms, legs, thighs, buttocks, breasts, stomach and other targeted regions. It would also be desirable to provide device and method for treating skin irregularities that enhance prior techniques and make them less time intensive, more controlled, minimally invasive, and subject the patient to fewer side effects. The present invention adds a minimally invasive device and method for skin treatment by providing a controlled and less traumatic means for subcutaneous dissection and cutting of the fibrous septae in the subdermal fat or in the layer between the subdermal fat layers and the dermis, responsible for the appearance of cellulite. The device and method also provides an even level of cutting, parallel to the surface of the skin and with adequate skin traction, without further puncture or cutting of the skin. In addition to treating cellulite, this device and method may be used to treat hyperhidrosis, acne or other scars, and wrinkles. This treatment may also be used in conjunction with known methods of removing fat, skin tightening, or dermal thickening. A system for minimally invasive skin treatment is disclosed. In some aspects, the system includes a platform having a perimeter elevation and a top which cooperatively define a recessed area with an inner side of the perimeter elevation and top defining an apposition surface facing into the recessed area. An injection port is provided and positioned about an entry hole through the top of the platform. The system further includes an injection device having a needle. The injection device is configured to be slidably disposed in the injection port such that a distal end of the needle passes through the entry hole into the recessed area and is also removably secured perpendicular to the platform, and configured to discharge a fluid in a direction orthogonal to an axis of the needle and parallel to the top of the platform. In some aspects, the distal end of the needle has a nozzle flush with a side of the needle. In some aspects the injection port is a cylinder; however, the port can be square, ovoid, rectangular, triangular, a polygon, or other shape without deviation from the scope of the invention. In some aspects, the injection device may have a base and an upper body, and wherein an outer perimeter of the base snuggly fits within an inner perimeter of the selected injection port. In some aspects, the outer perimeter of the base of the injection device is smaller than an outer perimeter of the upper body of the injection device. In these aspects, the injection port is preferably raised above the top of the platform such that a bottom rim of the upper body rests flush upon a top rim of the injection port when the injection device is fully inserted into the injection port. The top rim of the injection port, in some aspects, may have a notch and the injection device has a keyed protrusion located proximal an interface between the base and the upper body of the injection device. To that end, the keyed protrusion fits within the notch when the bottom rim of the upper body is flush upon the top rim of the injection port, such that the injection device is prevented from rotating relative to the platform. In other aspects, the injection port is a recessed bore in the top of the platform about the entry hole, and the injection device includes a disk having a shallow boss on a bottom of the disk, wherein the shallow boss is configured to snuggly fit within the recessed bore such that a bottom of an outer perimeter of the disk rests upon the top surface about the injection port when the injection device is disposed in to the injection port. In some aspects, the system may also include a mechanism for automatically rotating the needle. In some aspects, multiple injection ports are provided on the platform, and each of the injection ports are positioned about a corresponding entry hole through the top of the platform. Further aspects of the system may include a vacuum fitting operably connected to one of the top of the platform and the perimeter elevation of the platform and in fluid communication with the recessed area, and a vacuum pump in fluid communication with the vacuum fitting, wherein the vacuum pump is configured to supply a suction force to the recessed area to pull a tissue snugly and securely against the apposition surface when the recessed area is placed over the tissue. In these aspects, each of the multiple injection ports may be sealed to maintain an applied vacuum. In some aspects, this is accomplished by covering each of the ports with an elastomeric septum, the elastomeric septum being configured to be pierced by the needle and to substantially self-seal when the needle is removed such as to substantially prevent a vacuum leakage from the recessed area when the suction force is supplied. The system may also include a rigid pressure canister including a source of a solution and a supply exit port, wherein the canister is filled with a pressurized gas and the source of the solution is in fluid communication with the injection device and the needle. The source of the solution may be a flexible bag inside the rigid pressure canister, the flexible bag being at least partially filled with a solution, and wherein the solution is in fluid isolation from the pressurized gas. The system may yet further include a high-pressure syringe having a syringe pump, wherein the syringe is in fluid connection with the needle, and wherein the syringe is configured to inject a solution through the needle when the syringe pump is actuated. In certain aspects of the system the nozzle is configured to increase a kinetic energy of a solution injected by the injection device through the needle. In some aspects, the syringe may include a passage at its distal end, the passage being configured to increase a kinetic energy of the solution when it is injected by the injection device. In some aspects, the nozzle may be a convergent nozzle, and wherein a throat of the nozzle converges toward the side of the needle. In some aspects, the interior of the needle may narrow near the distal end of the needle and downstream of the throat of the nozzle. In one aspect, the needle may have a hollow channel interfacing with the nozzle but terminating above a hardened and sharpened tip for piercing the skin. In some aspects, the injection device may include a handpiece, and wherein the injection device is configured to be rotated relative to the platform and moved vertically along an axis of the injection port to control a depth of the nozzle relative to the apposition surface. The injection device may also include a swivel fitting for rotatably and fluidically coupling a tubing to the injection device such that the injection device can be rotated relative to the tubing. A method for minimally invasive skin treatment is also disclosed. The method preferably includes the steps of (1) positioning a platform having a recessed area over a dermis, the platform having an injection port and an entry hole through a top of the platform; (2) applying a force to the platform to move a portion of the dermis into the recessed area to substantially fill the recessed area, such that the portion of the dermis is in contact with an inner surface of the platform and a subcutaneous tissue is disposed in the recessed area; (3) providing an injection device having a needle; (4) inserting a distal end of the needle through the injection port and through the entry hole such that a portion of the injection device is slidably disposed in the injection port and the injection device is secured perpendicular to the platform and the distal end of the needle is percutaneously inserted through the dermis and into the subcutaneous tissue; and (5) discharging at a pressure between 20 and 150 Bar a fluid through a nozzle in a side of the distal end of the needle and inside the subcutaneous tissue, the discharge being substantially parallel to the top of the platform. In some aspects, the method may further include (5) removing the distal end of the needle from the injection port and the first subcutaneous tissue, (6) inserting a distal end of the needle through a second proximal injection port such that the injection device is secured perpendicular to the platform and the distal end of the needle is percutaneously inserted through the dermis and into the second subcutaneous tissue, and (7) discharging at a pressure between 20 and 150 Bar a fluid through a nozzle in a side of the distal end of the needle and inside the second subcutaneous tissue, the discharge being substantially parallel to the top of the platform. In some aspects, discharging the fluid includes rotating the nozzle to cut fibrous septae in a substantially circular direction in the first and second subcutaneous tissue. In further aspects, the first and second subcutaneous tissue are cut at different depths below the dermis. In further aspects the method may include piercing an elastomeric septum covering the entry hole with the distal end of the needle. In some aspects the distal end of the needle is positioned such that the nozzle is maintained in the subcutaneous tissue at a selected depth, the depth selected from between 1 mm and 15 mm below the portion of the dermis in contact with the inner surface of the platform. In such aspects, the method may also include rotating the injection device to rotate the distal end of the needle while maintaining the depth of the nozzle in the subcutaneous tissue and an orthogonal positioning of the injection device relative to the platform. In a yet further aspect, the pressure is set above 50 Bar. A further system for minimally invasive skin treatment is also disclosed. In this aspect, the system includes a recessed platform having a perimeter elevation and a top which cooperatively define a recessed area. An inner side of the perimeter elevation and the top define an apposition surface facing into the recessed area. Also included is a vacuum fitting operably connected to one of the top of the platform and the perimeter elevation of the platform and in fluid communication with the recessed area, and a vacuum pump in fluid communication with the vacuum fitting. The vacuum pump is preferably configured to supply a suction force to the recessed area to pull a tissue snugly and securely against the apposition surface when the recessed area is placed over the tissue. Multiple injection ports are provided on the platform and raised above the top of the platform, each injection port positioned about an entry hole through the top of the platform. Additionally, the system includes an injection device having a needle and a needle housing, the housing including an upper body and a base, the upper body including a handpiece and having a larger diameter than the base, the base being configured to be slidably disposed in a selected injection port such that a portion of the needle passes through a corresponding entry hole and the injection device is removably secured perpendicular to the platform in a manner such that a bottom rim of the upper body rests flush upon a top rim of the selected injection port when the injection device is fully inserted into the injection port. A distal end of the needle preferably has a nozzle flush with a side of the needle and is configured to discharge a fluid at a pressure between 20 and 150 Bar in a direction orthogonal to an axis of the needle and parallel to the top of the platform, and each of the multiple injection ports are preferably covered by an elastomeric septum, wherein the elastomeric septum is configured to be pierced by the needle and to substantially self-seal when the needle is removed such as to substantially prevent a vacuum leakage from the recessed area when the suction force is supplied. As depicted by Platform 101 may include one or more through-holes 110. As depicted by Injection device 109 includes needle 108 and a needle housing 112. In the depicted embodiment, needle housing 112 includes a base 113 and an upper body 114. Upper body 114 may further include grips 115 that make up a handpiece for manual control or positioning of device 109. The outer perimeter of base 113 is sized slightly smaller than the inner perimeter of a selected injection port 111 so that injection device may be slidably inserted into injection port 111. In the depicted embodiment, injection port 111 is a cylinder fixed to top 103 of platform 101, however, as shown by other embodiments herein, injection port 111 can be any number of configurations that meet the purpose of providing support to injection device 109 and needle 108. In the depicted embodiment, injection port 111 is substantially circular in shape, however, injection port 111 can also be any shape, such as a square, rectangle, triangle, polygon, ovoid. Moreover, the depicted embodiment is configured for multiple ports 111, however, some embodiments may only include a single port. In some embodiments, injection device 111 may further include a connector 116 for connecting to a solution-supply tubing 117 to provide a fluidic connection to needle 108 for injection of a solution. In some embodiments, a vacuum (suction) is used to enhance the capture of tissue within recessed area 104 and against apposition surface 107. A vacuum port 118 is provided on platform 101 and in fluid connection with one or more suction holes 119 disposed within inner surface 105. A vacuum pump 120 may be connected to port 118 to provide a suction to recessed area 104. In those embodiments including a vacuum to move a dermis into recessed area 104 and against apposition surface 107 a membrane formed of a flexible and resilient material may also be applied to apposition surface 107, and across through-holes 110 to minimize vacuum leakage there through. In the depicted embodiment, each through-hole 110 has its own individual membrane 121. Disposed about each through-hole 110 is an inner indentation 122 in inner surface 105 of platform 101. Each indentation 122 is larger than through-hole 110 and provides a recessed space for insertion of an individual membrane 121. The intent is that each membrane would be flush with the skin-side surface of the vacuum platform 101. When injection device 109 is inserted into injection port 111 and needle 108 passes through hole 110, a distal end 123 of needle 108 pierces through membrane 121 and is inserted into recessed area 104. The membrane is preferably snugly secured in indentation 122 and sufficiently resilient to seal around (self-sealing) needle 108 as it pierces therethrough. The membrane may be formed of silicone or other similar material. In some embodiments needle 108 is configured to increase a kinetic energy of the solution when it is injected by the injection device. Injection device 109 is used to inject a solution in a direction 207 away from needle 108 and at a high pressure parallel to the surface of the dermis, and at depth 203, to cut fibrous septae 208 located in a treatment area located in the subcutaneous tissue 202. It has been determined that a pressure of between 20 and 60 Bar will sustain a fluid-jet with sufficient cutting power to cut 8 mm into subcutaneous tissue in one single pass or rotation of the needle. Deeper cuts can be achieved by repeated application on the same cut. Fluid-jet dissection can also lead to a fluid uptake of the cut tissue. Morphologically all the vessels, lying in the cut are undamaged if the pressure doesn't exceed 40 Bar pressure range. It has been found, in some embodiments, that setting the pressure to above 50 Bar ensures that the fibrous septae 208 located in the treatment area is cut. In some embodiments, for example, the pressure is set above 50 Bar. In some embodiments, the pressure is set between 50 and 60 Bar. Needle 108 includes a nozzle 209 on a side of the distal end 213 of the needle. Preferably, nozzle 208 is configured to increase a kinetic energy of a solution injected by the injection device through the needle. In some embodiments, such as that depicted by Laser can also be used to cut fibrous septae. Laser cutting is dependent on the wavelength chosen, because the opto-thermal process becomes safe and efficient when a wavelength is chosen that is close to the absorption coefficient of the tissue to be cut (tissues, selectively absorb light of a particular color). Commonly used Laser wavelengths—for surgery etc—are 10.6 micro m (Carbon dioxide laser); 2.1 micro m (laser diode), 700-840 nm (laser diode). As found by Misbah H. Khan et al., In one embodiment, the cutting is performed by laser rather than fluid-jet. In this embodiment, the laser is a multi-wavelength device—one wavelength could one that is most absorbed by water and commonly used (980 nm, 810, 10.6 micro-m). In further embodiments, the wavelength can be customized for fat melting (940 nm) or connective tissue structural destruction (for collagen, i.e., between 6 and 7 micro m). The kind of waveguide (articulation arm, fibre or hollow) will generally depend on the type of laser source. For use in this embodiment, however, a ‘fibre’ waveguide is used (i.e., replacing nozzle 209), and is generalized enough to be compatible with many wavelengths of laser. Focused laser can be achieved both by waveguide design and by using a lens at the end of the fibre. Focused laser can be used for cutting, while defocused laser can be used for coagulation only purposes. Depth of penetration is dependent on the wavelength selected and the minimum beam spot size. The beam spot size depends on the diameter of the fibre and the wavelength. In general, decreasing the wavelength, decreases the spot size & smaller the spot size, the smaller the depth of penetration. The power/intensity of the laser used is about between 20 and 40 W to cut fibrous septae. Platform 101 is first placed over dermis 201. A portion of the dermis is then moved into recessed area 104 by a vacuum or manual pressure on top 103 of platform 101 ( When needle housing 112 is rotated 301, the diameter of circular cut 302 is controlled by various parameters, including the geometry of the exit nozzle 209, the speed of rotation, and the pressure of the fluid supply. In one embodiment, the pressure is set relatively low at 20 to 40 Bar to infuse a solution into the treatment area. In further embodiments, the pressure is set relatively high so as to (e.g., between 40 and 60 Bar) to displace and/or sever fibrous septae. In some embodiments, the spacing between platform through-holes 110 is chosen in conjunction with the cutting diameter of the fluid jet, so as to achieve the desired coverage efficiency. The system may also be configured such that treatment depths at adjacent sites are not identical, so as to prevent interconnecting the cut regions. Turning to In a yet further embodiment of platform 101, depicted by The device allows for three-dimensional control of treatment solution delivery and dissection of subcutaneous tissues, not realized by present art. The platform typically controls a depth of between 4 mm and 20 mm below the surface of skin; however, a depth less than 4 mm or greater than 20 mm is contemplated. The cutting depth in a lateral direction 207 is controlled by various parameters, including the pressure of the fluid-jet at nozzle 209. The lateral cutting depth is measured orthogonally from the cutting tool, extending laterally between 4 mm and 25 mm. As the injection device is rotated, the pressure and other parameters may be varied to achieve different depths in lateral direction 207. Thus, the shape of the planar cut 302 in tissue 202 can vary. In some embodiments, the cut will be generally linear. In other embodiments, the cut may be ovoid. A circular cut 302 is depicted, however, with control and precision by the user of the injection device, it is conceived that substantially any shape may be achieved. It is generally recognized that a large treatment site heals more slowly than a series of smaller treatment sites. Moreover, the larger the treatment site the greater the risk of skin necrosis and uneven healing, from which fibrosis may result. Turning to According to one embodiment of the invention the treatment sites are not continuous, meaning that there is no single continuous lesion. Each port 111 creates a different treatment site 302 as an island surrounded by tissue 202 which has not been treated (the fibrous septae have not been severed). After the tissue within a treatment site is treated, the injection device 109 is repositioned on an adjacent injection port 111 having a well 601 of a different depth. In some embodiments, the lateral cutting depth parameters are configured such that adjacent treatment sites 302 have zero spacing or overlap. In this manner, a site is treated and the process is repeated on the remaining desired sites at different depths, so that the resulting overall treatment is performed in a checkerboard fashion. A relatively large treatment area can thus be divided into a plurality of smaller treatment sites. Treatment at different depths (measured perpendicularly from the dermis) allows zero spacing (or overlapping) between adjacent sites, without creating a continuous lesion. As a result, the extent of untreated tissue can be greatly diminished, while minimizing the risks associated with large treatment sites. Thus, from a top view of platform 101 (e.g., The interspersing of treatment sites at different treatment depths is believed to accommodate rapid healing. More specifically, the interspersing of treatment sites at different treatment depths allows for closer spacing between treatment sites while accommodating for a more rapid healing response time of the injured tissue. A physician may also choose to vary the treatment depth based on the severity of the condition or specific body area. As depicted by In yet further embodiments, as depicted by The forgoing description for the preferred embodiments of the invention has been presented for the purposes of illustration and description. It is not intended to be exhaustive or to limit the invention to the precise form disclosed. Many modifications and variations are possible in light of the above teaching. It is intended that the scope of the invention not be limited by this detailed description, but by the claims and the equivalents to the claims appended hereto. Although the present invention has been described in detail with regard to the preferred embodiments and drawings thereof, it should be apparent to those of ordinary skill in the art that various adaptations and modifications of the present invention may be accomplished without departing from the spirit and the scope of the invention. Accordingly, it is to be understood that the detailed description and the accompanying drawings as set forth hereinabove are not intended to limit the breadth of the present invention.CROSS-REFERENCES TO RELATED APPLICATIONS
FIELD OF THE INVENTION
BACKGROUND
SUMMARY OF THE INVENTION
BRIEF DESCRIPTION OF THE DRAWINGS
DETAILED DESCRIPTION OF THE PREFERRED EMBODIMENTS