A stackable pancake satellite that is configured so that a plurality of the satellites can be stacked within a payload fairing of a launch vehicle. Each satellite includes sections that are folded or rotated together prior to launch, and unfolded or rotated away from each other when deployed. A first section is a satellite body having a first side that acts as a thermal radiator and a second side opposite the first side that includes an antenna. A second section includes one or more solar panels attached adjacent to the first side of the satellite body. A third section includes a splash plate reflector attached adjacent to the second side of the satellite body that reflects signals between Earth and the antenna. When deployed, the solar panels are pointed towards the Sun and the splash plate reflector directs the signals between the Earth and the antenna.
1. A stacked satellite system, comprising:
a plurality of satellites configured for being stacked within a payload fairing of a launch vehicle; each of the plurality of satellites includes a plurality of sections that are hingedly attached to each other, wherein the plurality of sections are folded or rotated together prior to launch, and the plurality of sections are unfolded or rotated away from each other when deployed upon reaching orbit; a first one of the plurality of sections is a satellite body having a first side that acts as a thermal radiator and a second side opposite the first side that includes at least one antenna; a second one of the plurality of sections includes at least one solar panel attached adjacent to the first side of the satellite body, wherein light from the Sun is converted to electricity by the at least one solar panel; and a third one of the plurality of sections includes at least one splash plate reflector attached adjacent to the second side of the satellite body, wherein radio frequency signals between Earth and the at least one antenna are reflected by the at least one splash plate reflector; when deployed, the at least one solar panel is rotated away from the first side of the satellite body, so that the at least one solar panel is pointed towards the Sun, and the at least one splash plate reflector is rotated away from the second side of the satellite body to direct the signals between the Earth and the at least one antenna. 2. The system of 3. The system of 4. The system of 5. The system of a polygonal closeout member covers the first side of the satellite body of each satellite surrounding the cavity; and the first side of the satellite body of each satellite that acts as the thermal radiator and the at least one solar panel of each satellite are disposed within the hollow region, and the at least one solar panel of each satellite comprises a plurality of foldable solar arrays that, when folded, are enclosed within the hollow region. 6. The system of 7. The system of 8. The system of 9. The system of 10. The system of 11. The system of 12. The system of 13. The system of 14. The system of 15. The system of 16. A method for launching a stacked satellite system, comprising:
stacking a plurality of satellites within a payload fairing of a launch vehicle, wherein:
each of the plurality of satellites includes a plurality of sections that are hingedly attached to each other, wherein the plurality of sections are folded or rotated together prior to launch, and the plurality of sections are unfolded or rotated away from each other when deployed upon reaching orbit; a first one of the plurality of sections is a satellite body having a first side that acts as a thermal radiator and a second side opposite the first side that includes at least one antenna; a second one of the plurality of sections includes at least one solar panel attached adjacent to the first side of the satellite body, wherein light from the Sun is converted to electricity by the at least one solar panel; and a third one of the plurality of sections includes at least one splash plate reflector attached adjacent to the second side of the satellite body, wherein radio frequency signals between Earth and the at least one antenna are reflected by the at least one splash plate reflector; launching the plurality of satellites into orbit using the launch vehicle; and serially dispensing each oldie plurality of satellites from the payload fairing of the launch vehicle upon reaching orbit, such that, when each of the plurality of satellites is deployed, the second one of the plurality of sections is rotated away from the first side of the satellite body so that the at least one solar panel is pointed towards the Sun, and the third one of the plurality of sections is rotated away from the second side of the satellite body so that the at least one splash plate reflector directs the radio frequency signals between Earth and the at least one antenna. 17. The method of 18. The method of 19. The method of 20. The method of a polygonal closeout member covers the first side of the satellite body of each satellite surrounding the cavity; and the first side of the satellite body of each satellite that acts as the thermal radiator and the at least one solar panel of each satellite are disposed within the hollow region, and the at least one solar panel of each satellite comprises a plurality of foldable solar arrays that, when folded, are enclosed within the hollow region. 21. The method of 22. The method of 23. The method of 24. The method of 25. A method for fabricating a satellite that is configured for being stacked with one or more other satellites within a payload fairing of a launch vehicle, comprising:
fabricating a plurality of sections that are hingedly attached to each other, wherein the plurality of sections are folded or rotated together prior to launch, and the plurality of sections are unfolded or rotated away from each other when deployed upon reaching orbit, wherein: a first one of the plurality of sections is a satellite body having a first side that acts as a thermal radiator and a second side opposite the first side that includes at least one antenna; a second one of the plurality of sections includes at least one solar panel attached adjacent to the first side of the satellite body, wherein light from the Sun is converted to electricity by the at least one solar panel; and a third one of the plurality of sections includes at least one splash plate reflector attached adjacent to the second side of the satellite body, wherein radio frequency signals between Earth and the at least one antenna are reflected by the at least one splash plate reflector; such that, when deployed, the at least one solar panel is rotated away from the first side of the satellite body, so that the at least one solar panel is pointed towards the Sun, and the at least one splash plate reflector is rotated away from the second side of the satellite body to direct the signals between the Earth and the at least one antenna.
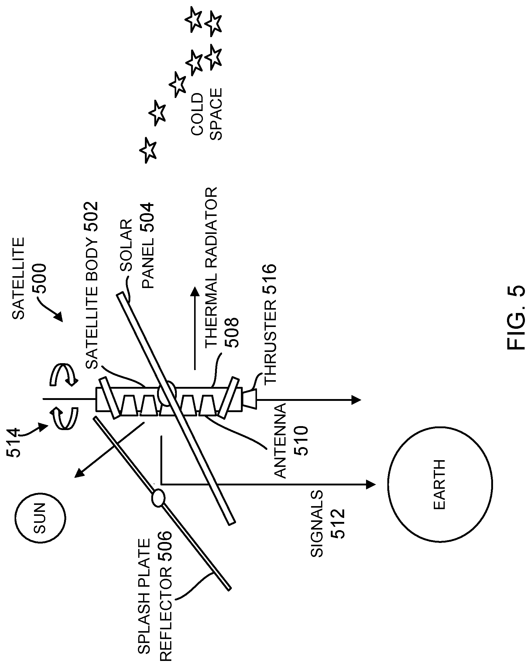
This application claims the benefit under 35 U.S.C Section 119(e) of the following commonly-assigned application: U.S. Provisional Application Ser. No. 62/347,751, filed on Jun. 9, 2016, by Greg Busche, entitled “STACKABLE PANCAKE SATELLITE”; which application is incorporated by reference herein. The present invention relates to satellites, and in particular, to a stackable pancake satellite. Satellites and other spacecraft are used for a number of different purposes, including communication, navigation, observation and research. However, launching satellites into space is expensive. There are many factors that contribute to the high cost of launching satellites. Moreover, these factors constrain satellite design decisions. Two of the most fundamental constraints on satellite design decisions are the number of satellites supported by a launch vehicle, and the geometry of a payload fairing for the launch vehicle, which sets limits on the geometry of the satellites. Consequently, it is desirable if the satellite design supports storing more than one satellite on the launch vehicle. It is also desirable to have a satellite design that optimizes the geometry of the satellites for use within the geometry of the payload fairing. What is needed, then, are improved designs for satellites. The present invention satisfies this need. To overcome the limitations in the prior art described above, and to overcome other limitations that will become apparent upon reading and understanding the present specification, the present invention discloses a stacked satellite system, a method for launching the stacked satellite system, and a method for fabricating a satellite for use in the stacked satellite system. The stacked satellite system comprises a plurality of satellites configured for being stacked within a payload fairing of a launch vehicle. The satellites are disposed within the payload fairing of the launch vehicle in a stacked column configuration prior to launch. The plurality of satellites comprises at least one top satellite disposed vertically on top of at least one bottom satellite within the payload fairing of the launch vehicle, wherein a structure bears launch loads for both the top and bottom satellites. The satellites are passively dispensed from the payload fairing of the launch vehicle upon reaching orbit. Each of the satellites includes a plurality of sections that are hingedly attached to each other, wherein the sections are folded or rotated together prior to launch, and unfolded or rotated away from each other when deployed upon reaching orbit. A periphery outline of the sections when folded together is oval, elliptical, round or polygonal in shape. The sections, when folded together, maintain a substantially flat profile. A first one of the sections is a satellite body having a first side that acts as a thermal radiator and a second side opposite the first side that includes at least one antenna, which in one embodiment comprises a multi-beam antenna. The first one of the sections also includes bus and payload units mounted on or with the thermal radiator. A second one of the sections includes at least one solar panel, and possibly two or more solar panels, attached adjacent to the first side of the satellite body, wherein light from the Sun is converted to electricity by the solar panel. In one embodiment, the solar panel comprises a multi-segmented array that is configured to be at least partially folded onto itself. A third one of the sections includes at least one splash plate reflector attached adjacent to the second side of the satellite body, wherein radio frequency signals between Earth and the antenna of the satellite are reflected by the splash plate reflector. The satellite body has a cavity on the first side and a hollow region on the second side, such that, when folded together, the solar panels are folded and stowed within the hollow region, the antenna is disposed within the cavity, and the splash plate reflector is stored adjacent to the antenna in the cavity. In one embodiment, the thermal radiator and the solar panel are disposed within the hollow region, and the solar panel comprises a plurality of foldable solar arrays that, when folded, are enclosed within the hollow region. In another embodiment, the solar panel includes a plurality of panel elements having substantially the same shape, and the plurality of panel elements are each folded upon each other to fit within the hollow region. When deployed, the solar panel is rotated away from the first side of the satellite body, so that the solar panel is pointed towards the Sun, and the splash plate reflector is rotated away from the second side of the satellite body to direct the signals between the Earth and the antenna. One or more mechanisms are employed to keep the solar panel pointed at the Sun, the splash plate reflector pointed at the Earth, and the thermal radiator pointed into space. The method for launching a stacked satellite system comprises stacking a plurality of satellites within a payload fairing of a launch vehicle, wherein each of the satellites is configured as described above, launching the plurality of satellites into orbit using the launch vehicle, and serially dispensing each of the plurality of satellites from the payload fairing of the launch vehicle upon reaching orbit. In one embodiment, the satellites are passively dispensed from the payload fairing of the launch vehicle upon reaching orbit. Orbit phasing is maintained with at least one thruster located on the satellite body by rotating the satellite body so that a desired thrust angle for the thruster is achieved, firing the thruster, and then restoring the satellite body to its original position after firing the thruster. Referring now to the drawings in which like terminology and reference numbers represent corresponding parts throughout: In the following description of the preferred embodiment, reference is made to the accompanying drawings which form a part hereof, and in which is shown by way of illustration a specific embodiment in which the invention may be practiced. It is to be understood that other embodiments may be utilized and structural changes may be made without departing from the scope of the present invention. A stackable pancake satellite is comprised of a plurality of sections that are folded or rotated together into a flat configuration for launch, and are unfolded or rotated away from each other when deployed in orbit. The sections include a satellite body with a thermal radiator and an antenna, a solar cell panel, and a splash plate reflector for signals transmitted and received by the antenna. When folded into the flat configuration, a plurality of the satellites are stacked within a payload fairing of a launch vehicle. A first one of the sections 102 of the satellite 100 is a satellite body 102 having a first (top) flat side that acts as a thermal radiator 108 and a second (bottom) side opposite the first side that includes at least one antenna 110. The first section 102 may also include bus and payload units 107 mounted on or with the thermal radiator 108. The antenna may comprise a multi-beam antenna 110 or a phased array antenna 110 that include service and feeder-link arrays (not shown). A second one of the sections 104 of the satellite 100 includes at least one solar panel 104 attached adjacent to the first side of the satellite body 102 with a sun-active surface of the solar panel 104 pointing away from the satellite body 102 and towards the Sun, wherein light from the Sun is converted to electricity by one or more solar cells of the solar panel 104. A third one of the sections 106 of the satellite 100 includes at least one splash plate reflector 106 attached adjacent to the second side of the satellite body 102, wherein radio frequency (RF) signals 112 between Earth and the antenna 110 are reflected by the splash plate reflector 106. When deployed, the solar panel 104 is rotated away from the first (top) side of the satellite body 102, so that the solar panel 104 is pointed towards the Sun, and the splash plate reflector 106 is rotated away from the second (bottom) side of the satellite body 102 to direct the signals 112 between the Earth and the antenna 110. The terms top/bottom, up/down, and left/right used herein are relative terms that describe the relative position of the described elements. It is understood the satellite 100 may be at any orientation in space relative to an observer so that these terms may assume correspondingly different values. One or more mechanisms may be employed to keep the solar panel 104 pointed at the Sun, the splash plate reflector 106 pointed at Earth, and the thermal radiator 108 pointed into cold space. Preferably, all of this occurs while the satellite 100 follows a circular track on orbit to keep the signals 112 pointed at the Earth. In one embodiment, each of the solar panels 404 Also shown is a thruster 410 attached to an exterior panel of the satellite body 402. In one embodiment, the satellite 400 may use “all electric propulsion” with one thruster 410 or any number of independent thrusters 410. Both the solar panel 504 and splash plate reflector 506 are shown deployed. When deployed, the solar panel 504 is rotated away from the satellite body 502, so that the solar panel 504 is pointed towards the Sun. Similarly, when deployed, the splash plate reflector 506 is rotated away from the satellite body 502 to direct the signals 512 between the Earth and the antenna 510. The arrows 514 at the top of the satellite body 502 indicate a yaw orientation about a center (nadir) axis of the satellite body 502 to keep the solar panel 504 pointed at the Sun (i.e., normal to the Sun on both axes), the splash plate reflector 506 pointed at Earth, and the thermal radiator 508 pointed away from the Sun into cold space. In addition, at least one thruster 516 is attached to one end of the satellite body 502, or another suitable location on the satellite body 502, to maintain orbit phasing. In one embodiment, the thruster 516 is a single fixed thruster, although multiple smaller thrusters with an identical thrust direction are used in other embodiments. Orbit phasing is maintained by periodically rotating the satellite body 502 (e.g. with reaction wheels) so that a desired thrust angle for the thruster 516 is achieved, firing the thruster 516, and then restoring the satellite body 502 to its original position after firing the thruster 516. This process can be performed during orbit maintenance windows when there is no traffic demand (e.g., when a LEO satellite 500 is over the ocean and/or another satellite in a constellation can absorb extra capacity temporarily). Satellite Fabrication Embodiments of the disclosure may be described in the context of a satellite or spacecraft fabricating method 700 as shown in As illustrated in Each of the processes of method 700 may be performed or carried out by a system integrator, a third party, and/or an operator (e.g., a customer). For the purposes of this description, a system integrator may include without limitation any number of spacecraft manufacturers and major-system subcontractors; a third party may include without limitation any number of venders, subcontractors, and suppliers; and an operator may be a satellite company, military entity, service organization, and so on. As shown in Benefits A number of benefits are derived from the stackable pancake satellite. Moreover, these benefits address DFMAT (Design for Manufacturing, Assembly, and Test) issues concerning the stackable pancake satellite. For example, some of those benefits include:
A number of basic problems are solved by of the stackable pancake satellite. For example, the stackable pancake satellite packages the maximum number of spacecraft into a fairing in the simplest manner (i.e. minimizing the number of deployments, folds, thermal interfaces, eliminating the need for heat pipes, etc.) to provide the lowest cost and highest reliability. This is especially true when the performance of the spacecraft is driven by the area of three critical elements: the area of the payload aperture, the area of the thermal radiator for waste heat dissipation, and the area of the solar panels for power generation. While propulsion is an important issue, it is not as significant as these three critical elements. The stackable pancake satellite configuration is enabled in part by a very modest propulsion system allowing the depth (e.g. height in the stack) of the spacecraft to be small. This is mostly due to a modest acceleration requirement. The stackable pancake satellite configuration is enhanced by the chosen configuration of small, electrically powered thrusters, but could have been realized with other thruster technologies including traditional chemical thrusters. The particular thruster technology was chosen for mass savings, using what should be a more readily produced thruster in high volume, and for ease of manufacturing at final integration. Other configurations may not be packaged as efficiently in the fairing and/or wind up with complex deployments to achieve the desired areas; hence, the virtue of the pancake satellite configuration. Throughout the development, optimization for low earth orbit (LEO), with altitudes from ˜500 kilometers (km) to ˜1500 km, was a central focus. However, the stackable pancake satellite may be inserted into all inclinations from virtually any launch site and using any launch vehicle throughout. Alternatives The description of the different embodiments set forth above has been presented for purposes of illustration and description, and is not intended to be exhaustive or limited to the embodiments in the form disclosed. Many modifications and variations will be apparent to those of ordinary skill in the art. It is intended that the scope of the invention be limited not by this detailed description, but rather by the claims appended hereto.CROSS REFERENCE TO RELATED APPLICATION
BACKGROUND INFORMATION
1. Field
2. Description of the Related Art
SUMMARY
DRAWINGS
DETAILED DESCRIPTION
Overview
Technical Details