A bearing liner allows a bearing to be mounted to a bearing housing even where the coefficients of thermal expansion of the bearing and the housing are different. The bearing liner includes a body portion and a mounting portion. The body portion has a cylindrical substrate that extends about a longitudinal axis of the bearing. The mounting portion includes mounting tabs that extend from the body portion of the liner. The mounting tabs allow the liner to be fixed to the housing and to the bearing. The mounting tabs are configured to flex relative to the body portion of the liner so as to allow for thermal expansion and contraction of the housing relative to the bearing while still securing the bearing to the housing.
1. A bearing liner comprising:
a body portion having a cylindrical substrate that extends about a longitudinal axis, the cylindrical substrate having an inner surface and an outer surface, and the cylindrical substrate extending between first and second sides thereof; a first mounting tab comprising a first arm portion extending from the body portion to a first mounting portion; and a second mounting tab comprising a second arm portion extending from the body portion to a second mounting portion, wherein a center line of the body portion, based on a longitudinal end view of the body portion, is orthogonal to the longitudinal axis and extends through the first and second mounting portions, wherein the first and second arm portions comprise arcuate members extending in an arc from an attachment location on a side of the center line to the first mounting portion and the second mounting portion, respectively, the attachment locations of each arm portion being located on a same side of the center line of the body portion, and wherein at least one of the first and second mounting tabs can flex relative to the body portion so as to allow for thermally-induced movement of the first and second mounting portions relative to the body portion. 2. The bearing liner of 3. The bearing liner of 4. The bearing liner of 5. The bearing liner of 6. A bearing assembly comprising:
a bearing housing defining a bore; a bearing configured to allow for rotation about a longitudinal axis, the bearing being supported by the bearing housing; and a bearing liner supported by the bearing housing, the bearing liner comprising:
a body portion having a cylindrical substrate that extends between the bearing housing and the bearing, the cylindrical substrate having an inner surface and an outer surface, and the cylindrical substrate extending between first and second sides thereof; a first mounting tab comprising a first arm portion extending from the body portion to a first mounting portion; and a second mounting tab comprising a second arm portion extending from the body portion to a second mounting portion, wherein a center line of the body portion, based on a longitudinal end view of the body portion, is orthogonal to the longitudinal axis and extends through the first and second mounting portions, wherein the first and second arm portions comprise arcuate members extending in an arc from an attachment location on a side of the center line to the first mounting portion and the second mounting portion, respectively, the attachment locations of each arm portion being located on a same side of the center line of the body portion, and wherein at least one of the first and second mounting tabs can flex relative to the body portion so as to allow for thermal expansion and contraction of the bearing housing relative to the bearing liner. 7. The bearing assembly of 8. The bearing assembly of 9. The bearing assembly of 10. The bearing assembly of 11. An aircraft comprising:
a rotor assembly comprising a rotor shaft; and a transmission for driving the rotor shaft, the transmission comprising a bearing assembly, the bearing assembly comprising:
a bearing housing defining a bore; a bearing configured to allow for rotation about a longitudinal axis, the bearing being supported by the bearing housing; and a bearing liner supported by the bearing housing, the bearing liner comprising:
a body portion having a cylindrical substrate that extends between the bearing housing and the bearing, the cylindrical substrate having an inner surface and an outer surface, and the cylindrical substrate extending between first and second sides thereof; a first mounting tab comprising a first arm portion extending from the body portion to a first mounting portion; and a second mounting tab comprising a second arm portion extending from the body portion to a second mounting portion, wherein a center line of the body portion, based on a longitudinal end view of the body portion, is orthogonal to the longitudinal axis and extends through the first and second mounting portions, wherein the first and second arm portions comprise arcuate members extending in an arc from an attachment location on a side of the center line to the first mounting portion and the second mounting portion, respectively, the attachment locations of each arm portion being located on a same side of the center line of the body portion, and wherein at least one of the first and second mounting tabs can flex relative to the body portion so as to allow for thermal expansion and contraction of the bearing housing relative to the bearing liner. 12. The aircraft of 13. The aircraft of 14. The aircraft of
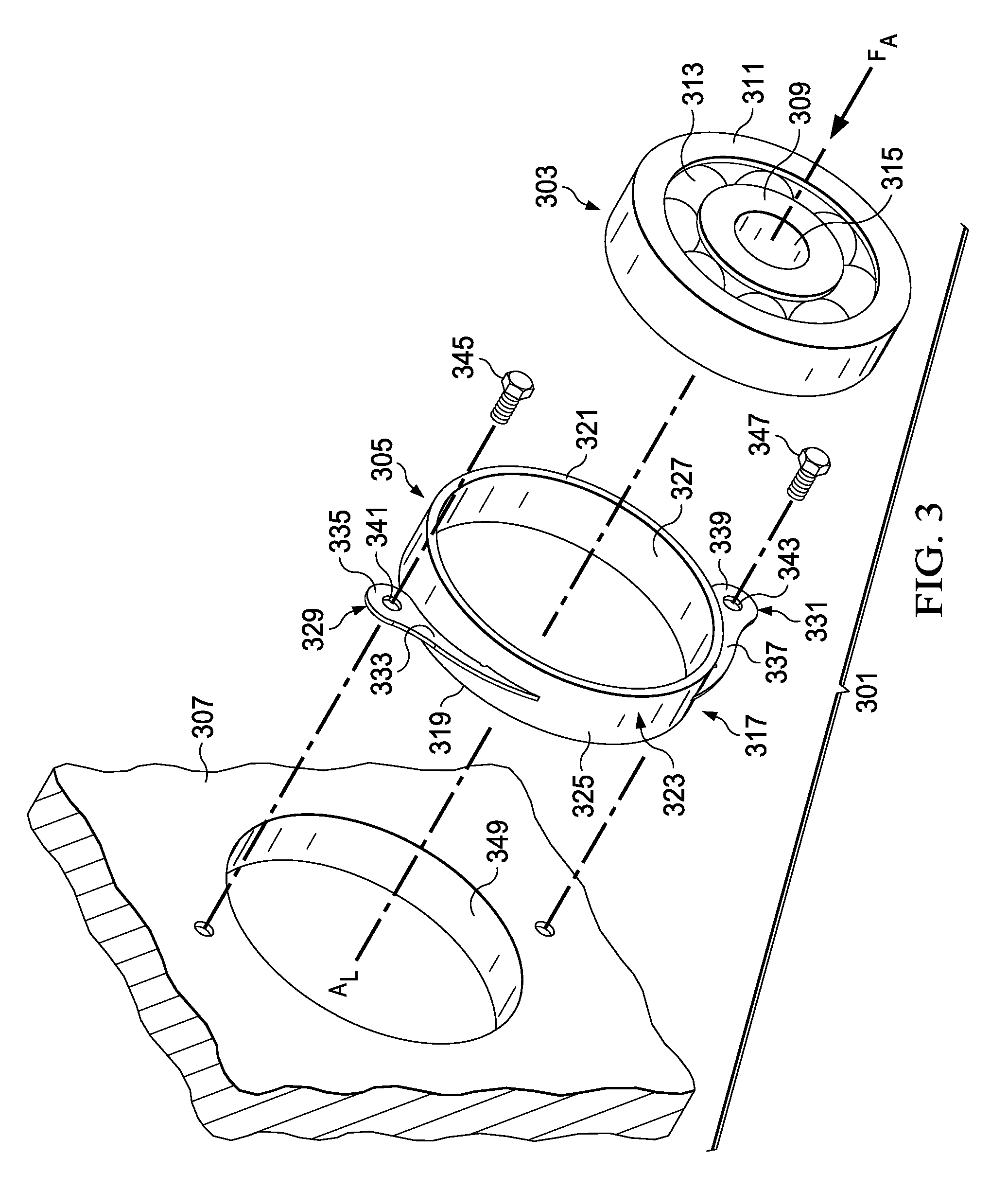
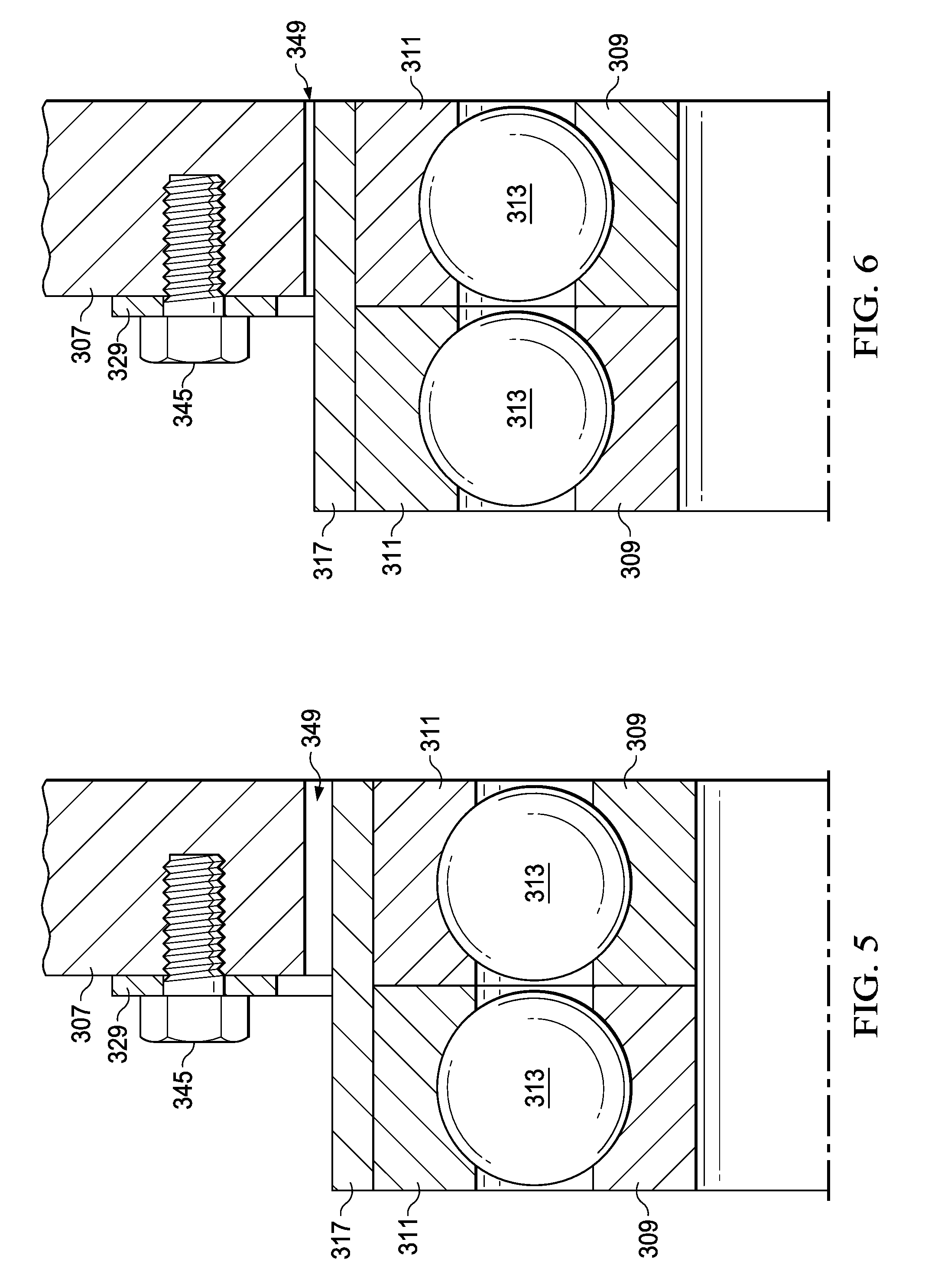
This disclosure generally relates to bearing liners, and more specifically relates to bearing liners that are capable of accommodating differential thermal expansion in bearings and housings, including bearings used in aircraft transmission systems. A bearing liner is disclosed as comprising a body portion having a cylindrical substrate that extends about a longitudinal axis, the cylindrical substrate having an inner surface and an outer surface, and the cylindrical substrate extending between first and second sides thereof. The bearing liner further comprises a first mounting tab extending from the body portion, the first mounting tab including a first mounting portion and a second mounting tab extending from the body portion, the second mounting tab including a second mounting portion. A center line of the body portion that is orthogonal to the longitudinal axis extends through the first and second mounting portions on opposite sides of the body portion. The first and second mounting tabs extend from a same side of the center line of the body portion. At least one of the first and second mounting tabs is configured to arcuately flex relative to the body portion so as to allow for thermally-induced movement of the first and second mounting portions relative to the body portion. Embodiments are illustrated by way of example in the accompanying figures, in which like reference numbers indicate similar parts, and in which: As shown in The transmission 201 also includes a plurality of bearing liners for serving as a wear-resisting layer between the various bearings and their respective support housings. For example, as shown in The various bearings in the transmission 201 can comprise fully or partially ceramic bearings, for example formed of silicon nitride (Si3N4). In order to accommodate ceramic bearings, the transmission 201 preferably includes apparatus for detecting ceramic debris. Also, many ceramic materials, such as silicon nitride, have a relatively low coefficient of thermal expansion. For example, silicon nitride has a coefficient of thermal expansion that is about ⅓ that of steel and about ⅙ that of aluminum. This presents a difficulty in accommodating ceramic components in bearing assemblies when used in an apparatus formed of metal such as steel or aluminum. For example, it is difficult to incorporate a ceramic bearing race into an aluminum case without having either unacceptably high case stresses at low temperatures or unacceptably high radial clearing to properly position the bearing at operating temperature. Thus, in order to overcome this difficulty, the present disclosure includes a bearing liner configured to allow a ceramic bearing to be used in combination with metal housings and other components. Referring next to The bearing liner 305 is preferably formed of a material, for example invar, with a thermal expansion rate similar to that of the bearing material. The bearing liner 305 includes a cylindrical body portion 317, a first mounting tab 329, and a second mounting tab 331. The body portion 317 includes a first side 319, a second side 321, and a cylindrical substrate 323 extending therebetween. The cylindrical substrate 323 includes an outer surface 325 and an inner surface 327 opposite the outer surface 325. The first mounting tab 329 and the second mounting tab 331 together constitute an embodiment of a mounting portion of the bearing liner 305. The mounting tabs 329 and 331 allow the bearing liner 305 to be fixed to the bearing housing 307. While two mounting tabs are shown, alternatively embodiments can include additional mounting tabs or only a single mounting tab. Also, while mounting tabs are shown as having arcuate shapes, alternative embodiments can include various other shapes for the mounting tabs. In the illustrated embodiment, the first mounting tab 329 and the second mounting tab 331 both extend from the body portion 317 of the bearing liner 305. In the illustrated embodiment, the first mounting tab 329 and second mounting tab 331 both extend from the outer surface 325 of the body portion 317. Preferably, the first mounting tab 329 and second mounting tab 331 both extend from respective locations on the outer surface 325 of the body portion 317 that are substantially centered between the first side 319 and the second side 321 of the body portion 317. Alternatively, one or both of the first and second mounting tabs 329 and 331 can extend from the second side 321 of the body portion 317. The first mounting tab 329 includes a first arm portion 333 and a first mounting portion 335. The first arm portion 333 extends between the first mounting portion 335 and the body portion 317 of the bearing liner 305. Similarly, the second mounting tab 331 includes a second arm portion 337 and a second mounting portion 339. The second arm portion 337 extends between the second mounting portion 339 and the body portion 317 of the bearing liner 305. The first and second mounting tabs 329 and 331 are substantially flat and each have upper and lower surfaces that are substantially orthogonal to the outer and inner surfaces 325 and 327 of the cylindrical body portion 317. As shown in The center line C bisects the bearing liner 305 so as to define two semi-circular halves of the body portion 317 of the bearing liner 305. In the illustrated embodiment, the first mounting tab 329 and second mounting tab 331 both extend in opposite directions from the same half of the body portion 317 defined by the center line C in The bearing liner 305 is configured to be attached to the bearing housing 307 using hardware 345 and 347 such that the cylindrical body portion 317 extends at least partially through a cylindrical bore 349 defined by the bearing housing 307. However, as discussed above, thermal expansion and contraction of the bearing housing 307 does not match thermal expansion and contraction of the bearing 303 because of the use of a ceramic bearing 305 with a metallic bearing housing 307. Therefore, the mounting tabs 329 and 331 in combination with mounting hardware, such as screws or bolts 345 and 347, allow the bearing liner 305 to remain fixed to the bearing housing 307 even while a gap exists between the bore 349 of the bearing housing 307 and the cylindrical body portion 317 of the bearing liner 305. In As described above, the first mounting tab 329 and second mounting tab 331 both extend from respective locations on the outer surface 325 of the body portion 317 that are substantially centered between the first side 319 and the second side 321 of the body portion 317. In embodiments such as shown in Referring again to The bearing liner 305 disclosed herein minimizes compression of the bearing 305 as the bore 349 of the bearing housing 307 contracts at cold temperatures. The bearing liner 305 also maintains the position of the bearing 305 relative to the bearing housing 307 and maintains the fit of the bearing 305 in the bore 349 at high operating temperatures. The bearing liner 305 isolates the housing 307 from high temperatures by reduced expansion that creates an air gap between the bearing housing 307 and the bearing 303, which reduces thermal conductivity therebetween. Finally, the bearing liner 305 provides stiff support in the radial load direction and compliant support in other directions. While various embodiments in accordance with the principles disclosed herein have been described above, it should be understood that they have been presented by way of example only, and are not limiting. Thus, the breadth and scope of the claims should not be limited by any of the above-described exemplary embodiments, but should be defined only in accordance with the claims and their equivalents issuing from this disclosure. Furthermore, the above advantages and features are provided in described embodiments, but shall not limit the application of such issued claims to processes and structures accomplishing any or all of the above advantages. Also, the phrases “at least one of A, B, and C” and “A and/or B and/or C” should each be interpreted to include only A, only B, only C, or any combination of A, B, and C.TECHNICAL FIELD
SUMMARY
BRIEF DESCRIPTION OF THE DRAWINGS
DETAILED DESCRIPTION