Conductive thick-film paste is useful in forming front-side contact of a solar cell or other semiconductor devices. Unlike conventional conductive frit pastes, a conductive paste according to the present invention does not include frit particles, and contains silver particles, nano-sized inorganic additives and an organic solvent. The conductive paste according to the present invention provides better etching ability through the anti-reflecting coating on the semiconductor substrate than conventional conductive frit pastes.
1. A method of making a solar cell apparatus, the method comprising:
providing a semiconductor device comprising a semiconductor layer and an anti-reflection coating over the semiconductor layer; preparing a composition that does not comprise glass frit but comprises silver particles, a binder, a solvent, and nano-sized particles consisting essentially of one or more materials selected from the group consisting of Te, Ti, Li, B, Si, Na, K, Cs, Al, Mg, Ca, Sr, Ba, V, Zr, Mo, Mn, Ag, Zn, Ga, Ge, In, Sn, Sb, Bi, P, Cu, No, Cr, Fe, Co, Ce, Y, Rb, As, In, Se, Cd, Ni, Nb, Bi2O3, PbO, TeO2, TiO2, B2O3, SiO2, K2O, Al2O3, MgO, CaO, LiO2, MoO3, Mn2O3, Ag2O, AgO, P2O5, CuO, NiO, Cr2O3, ZrO2, ZnO, Sb2O3, CoO, GeO2, In2O3, V2O5, Na2O, Ga2O, BaO, Fe2O3, FeO, Fe3O4, Cs2O, SrO, SnO2, Co2O3, HfO2, Ta2O5, and CeO2, wherein at least part of the nano-sized particles are nano-sized etchant particles, wherein preparing the composition comprises neither sintering the one or more materials nor grinding subsequent to sintering to provide the nano-sized etchant particles, wherein the silver particles are in an amount of 80-99.5% by dry weight in the composition; printing lines with the composition over the anti-reflection coating; and sintering an intermediate product comprising the semiconductor device and the printed lines, which causes forming a bulk silver layer over the anti-reflection coating and also forming conductive paths between the semiconductor layer and the bulk silver through the anti-reflection coating. 2. The method of 3. The method of 4. The method of 5. The method of 6. The method of 7. The method of 8. The method of 9. The method of 10. The method of 11. The method of 12. The method of wherein the conductive paths comprise fusion material particles, wherein at least part of the fusion material particles directly contact the bulk silver layer and at least part of the fusion material particle directly contact the underlying semiconductor layer, such that the printed lines provide conductive paths between the semiconductor layer and the bulk silver layer, wherein the fusion material particles are particles of a fusion material comprising silicon and silver. 13. The method of 14. The method of 15. The method of
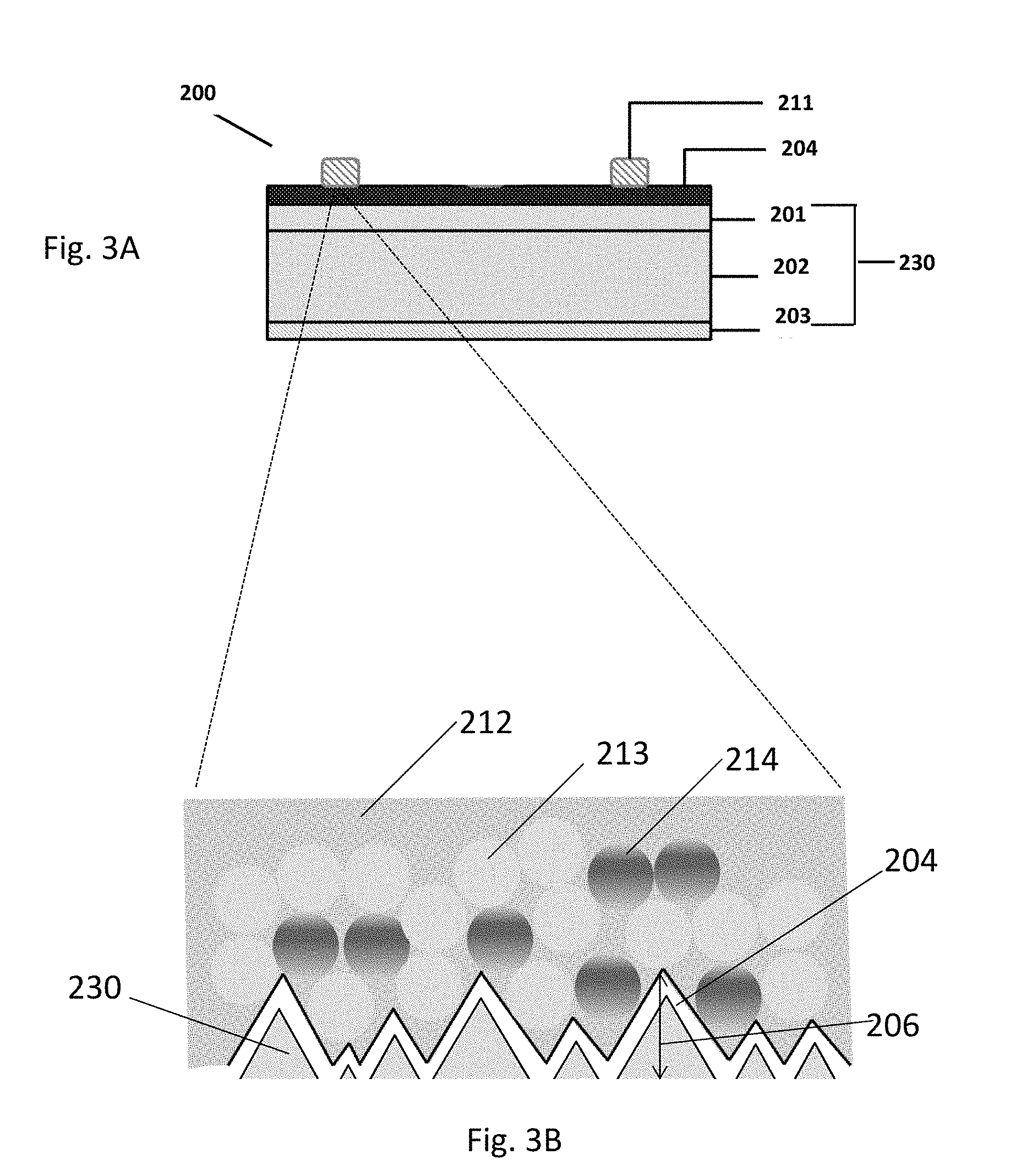
The present disclosure relates to solar cell technology, and more particularly, relates to a thick-film conductive paste for formation of the front-side contact of a solar cell. Crystalline Silicon (c-Si) solar cells are the most common form of the photovoltaic energy generation, dominating the market with over the 90% market share. Much research and development is being done to increase energy conversion efficiencies. One of major targets of such research and development is to improve the conductivity of front contacts. One aspect of the invention provides a method of making a solar cell apparatus. The method comprises: providing a semiconductor device comprising a semiconductor layer with a semiconductor surface that carries characteristics of machine-cutting; forming an anti-reflection coating over the semiconductor surface such that the anti-reflection coating generally follows a contour of the semiconductor surface; printing lines over the anti-refection coating with a composition that does not comprise glass frit but comprises silver particles, nano-sized etchant particles, a binder and a solvent, wherein the nano-sized etchant particles are suspending free of other particles of the composition, wherein the silver particles are in an amount of 80-99.5% by dry weight in the composition; and sintering an intermediate produce comprising the semiconductor device and the printed lines, which forms a bulk silver layer over the semiconductor device and also forms conductive paths between the semiconductor layer and the bulk silver, wherein the conductive paths comprise fusion material particles that directly contact the underlying semiconductor layer through openings formed in the anti-reflection coating, wherein the fusion material particles are particles of a fusion material comprising silicon and silver but substantially free of silicon oxide. In the foregoing method, at least part of the fused material particles directly may contact the bulk silver layer such that the electrically conductive line provides conductive paths between the semiconductor layer and the bulk silver layer. Sintering may comprise heating the intermediate product to a temperature of 740-920° C. and cooling. Sintering may comprise heating the intermediate product to a temperature that does not exceed 900° C. Sintering may comprise heating the intermediate product to a temperature that does not exceed 850° C. Heating the intermediate product may cause the nano-sized etchant to etch the anti-reflection coating and create openings therethrough such that at least part of the fusion material particles contacts the underlying semiconductor layer. The method may further comprise preparing the composition, wherein preparing composition does not comprise mixing an etchant for etching the anti-reflection layer with another material or sintering to form a homogenized mixture. In the foregoing method, the composition does not comprise particles containing the nano-sized etchant and silicon oxide. The nano-sized etchant is not a composite material comprising silicon oxide. The silver particles may comprise nano-sized silver particles and micro-sized silver particles. The nano-sized etchant particles may have average diameter smaller than 200 nm. At least part of the fused material particles directly contact the bulk silver layer such that the electrically conductive line provide conductive paths between the semiconductor layer and the bulk silver layer. The solar cell apparatus may comprise a solar panel that comprises an array of solar cells provided with the semiconductor layer, wherein the electrically conductive line provides an electrode to at least one of the solar cells of the array. The electrically conductive line does not comprise a eutectic mixture comprising glass. The fused material particles are not surrounded or encapsulated by a glass material layer substantially containing silicon oxide. Another aspect of the invention provides a solar cell apparatus. The apparatus comprises a semiconductor layer comprising a semiconductor surface; an anti-reflection coating over the semiconductor layer; and an electrically conductive line formed over the anti-reflection coating, wherein the electrically conductive line comprises a bulk silver layer and fused material particles that directly contact the underlying semiconductor layer through openings formed in the anti-reflection coating, wherein the fusion material particles are particles of a fusion material comprising silicon and silver but substantially free of silicon oxide, wherein no glass layer is formed between the electrically conductive line and the semiconductor layer. In the foregoing apparatus, at least part of the fused material particles directly contact the bulk silver layer such that the electrically conductive line provide conductive paths between the semiconductor layer and the bulk silver layer. The apparatus may be a solar panel that comprises an array of solar cells provided with the semiconductor layer, wherein the electrically conductive line provides an electrode to at least one of the solar cells of the array. The electrically conductive line does not comprise a eutectic mixture comprising glass. In the foregoing apparatus, the semiconductor layer may comprise a surface that carries characteristics of machine-cutting, wherein the anti-reflection coating generally follows a contour of the semiconductor surface. The electrically conductive line comprises a surface facing the semiconductor layer that generally follows the contour of the semiconductor surface. At least part of the fused material particles are interposed between the semiconductor surface and the bulk silver layer. Substantially all of the fused material particles are interposed between the semiconductor surface and the bulk silver layer. In the foregoing apparatus, the semiconductor layer comprises a surface that comprises valleys and peaks, wherein the anti-reflection coating generally follows the valleys and peaks of the semiconductor surface. The electrically conductive line comprises counterpart peaks and valleys facing the peaks and valleys of the semiconductor surface. The fused material particles are distributed throughout over the peaks and valleys of the semiconductor surface rather than concentrated in valleys of the semiconductor surface. The fused material particles are not surrounded or encapsulated by a glass material comprising silicon oxide. The fused material particles are surrounded or encapsulated by clusters comprising inorganic. Features and advantages of the present invention will be apparent from the following detailed description of the invention, taken in conjunction with the accompanying drawings of which: Embodiments disclosed in this section or elsewhere in this specification relate to composition and methods of making a solar panel with solar cells, including silicon semiconductor layers and front-side electrodes. Embodiments will be described with reference to specific examples. However, the present invention is not limited to the specific embodiments or examples and may be practiced with or in other configurations. Crystalline Silicone Solar Cell Panel A typical crystalline silicon (c-Si) solar panel includes an array of solar cells. Fabricating Semiconductor Layer Referring to Non-Flat Top Surface of Semiconductor Layers Alternatively or in addition to machine-cut surface, the top surface of the semiconductor layer 130 may be texturized by processes such as etching. Accordingly, the semiconductor layer 130 has a non-flat, bumpy and texturized top surface. Anti-Reflection Coating (ARC) Layer Turning back to Making Front-Side Electrode Referring to Frit Particles In embodiments, the frit particles are made by mixing a glass frit containing silicon oxide with additives in powder. The mixture of glass frit and additives are heated to a temperature higher than its glass transition temperature of the glass frit and then cooled, which provides a mass containing glass and additives. In embodiments, the resulting mass is ground to produce the frit particles in powder. In embodiments, the frit particles have an average diameter between 0.5 μm and 1.5 μm. In embodiments, the additives include an etchant for the anti-reflection coating layer (e.g., PbO, TeO2, or Bi2O3). Further, in embodiments, the additives include an adhesion promotor such as ZnO or B2O3(for enhancing adhesion of silver electrodes to semiconductor layers) and silver nano-particles (for formation of silver clusters). Conductive Frit Paste In embodiments, the conductive frit pates for making the front-side electrode is produced by mixing the frit particles with micro-sized silver particles and an organic solvent. In dry weight (excluding the solvent), the frit particles compose from about 5% to 10% and the silver particles compose from about 90% to about 95%. In embodiments, the silver particles have a diameter raged from 0.5 μm to 10 μm. An average diameter of the silver particles may range between 1.5 μm and 2.5 μm. In embodiments, the organic solvent is chosen from terpineol, carbitol, hexyl carbitol, texanol or glycol ether. Intermediate Product after Printing Sintering After printing and drying the conductive frit paste, the intermediate product is subject to firing in a furnace to sinter the silver particles and frit particles. In embodiments, the temperature inside the furnace goes up to at least 800° C. As the temperature reaches its glass transition temperature (usually ranging from 450° C. to 550° C.), the frit particles 214 soften and begin disintegrated. The glass material including the etchants kept in the frit particles 214 begins to flow and fill cavities of the uneven and bumpy top surface 206 of the anti-reflective coating layer 204. The etchants contained in the frit particles 214 are released into the printed layer of conductive frit paste, and some etchants contact the underlying anti-reflection coating layer 204. The etchants form punctures and openings through the anti-reflection coating layer 204, and the underlying silicon layer 230 is exposed through the openings. The molten glass material also forms continuous glass layer over the anti-reflection coating layer. At the peak temperature (800° C. or higher), small silver-glass eutectic precipitates are formed from silver dissolved in the glass layer at the openings where the anti-reflective coating layer 204 is etched off. Cooling After firing, the sintered product is cooled down, e.g., to the room temperature. During the cooling, silver dissolved in the glass layer will form small silver clusters over the anti-reflection coating layer. Referring to Resulting Front-Side Electrode Indirect Electrical Connections As discussed above, the front-side electrode delivers electric current from silicon layer 430 to an outside circuit. Therefore, there must be a conductive path from the silicon layer 430 to the bulk silver 420 which is connected to the outside circuit. As in Transmission Electronic Microscope (TEM) Image Inefficient Etching of Frit Particles In addition to presence of the insulating glass layer, etching of the anti-reflective layer may not be as desirable. The conduction paths are via openings etched through only the anti-reflection coating layer. As discussed above, the etchant is included in frit particles and released therefrom during the sintering. However, as shown in Alternative Conductive Paste Composition without Frit One aspect of the present invention provides another conductive paste that can penetrate through the anti-reflection coating layer more efficiently, and effectively provide more direct contact with the silicon layer. In embodiments, the conductive paste does not include glass frit at all or substantially free of glass frit. In embodiments, the conductive paste does not include silicon oxide at all or substantially free of silicon oxide. Another aspect of the invention provides a method of making a conductive wiring in solar cell array using a conductive paste. Also, another aspect of the invention provides a solar cell fabricated using such a conductive paste. Conductive Pasted without Frit In embodiments, the conductive paste without frit includes silver particles and nano-sized inorganic additives. In embodiments, the conductive paste includes no silcon oxide or glass frit material. In embodiments, the conductive paste may include a little silicon oxide or glass frit material. In embodiments, the conductive paste is substantially free of glass frit. Here, substantially free means that the conductive paste contains, in dry weight, no glass frit material or less than 1%, less than 2%, less than 3%, less than 4% or less than 5%, Silver Particles in Conductive Paste without Frit Silver particles may make up most of the conductive paste composition. In some embodiments, conductive silver paste composition includes silver in an amount of 70, 75, 80, 82, 84, 86, 88, 90, 92, 94, 96, 98% in dry weight. Silver is contained in a range formed by any two numbers listed in the immediately preceding sentence. The size of silver particles may vary and it may range from nanometers to micrometers. In some embodiments, the average size of silver particles may range from 0.5 μm to 10 μm. In some embodiments, the average size of silver particles may be smaller than 5 μm. In some embodiments, silver particles may contain silver alloys, salts or compounds such as silver oxide (Ag2O), silver salts such as AgCl, AgNO3, AgOOCCH3 (silver acetate), AgOOCF3 (silver trifluoroacetate), or silver orthophosphate, Ag3PO4, etc. In some embodiments, silver may be replaced by other metals having suitable chemical and physical properties, such as copper, gold, platinum, nickel or their mixtures. Organic Carrier in Conductive Paste without Frit In some embodiments, the content of the organic carrier within the conductive paste may range from 5% to 15% by weight. The organic carrier may contain an organic solvent and a binder. For example, organic solvent may be one or more selected from the group consisting of terpineol, ester alcohol, texanol, kerosene, dibutylphthalate, butyl carbitol, butyl carbitol acetate and hexylene glycol. For example, the binder may be one or more selected from the group consisting of ethyl cellulose, ethylhydroxyethyl cellulose, wood rosin, mixtures of ethyl cellulose and phenolic resins, polymethacrylates of lower alcohols, and the monobutyl ether of ethylene glycol monoacetate. Any other suitable organic carriers may be used. Nano-Sized Inorganic Additives in Conductive Paste without Frit As discussed above, the conductive paste composition includes nano-sized inorganic additives. In embodiments, the nano-sized inorganic additives include an etchant for anti-reflection coating layer, exists as a free particle, unlike etchants for the conductive frit paste where etchants and additives are trapped in frit particles and cannot be released until frit particles are softened. Since inorganic additives are added in the discrete form, the composition of the conductive paste without frit particles is more adjustable than conductive frit pastes where composition of inorganic additives is restricted by the formulation of frit particles. In some embodiments, the amount of nano-sized inorganic additives may range from 0.5% to 10% by dry weight. In some embodiments, the nano-sized inorganic additives can be in an amorphous or glass structure, or a partial amorphous/partial crystalline structure, or a crystalline structure. In the nano-sized inorganic additives, Nano-Sized Inorganic Additives In embodiments, nano-sized additives are one or more of (a) an etchant to promote etching SiNxanti-reflection coating layer (e.g. Pb, PbO, Bi, or Bi2O3) which may compose 30-80 wt % of the total inorganic additives; (b) a Silver-Silicon ohmic contact formation promotor (e.g. Ti, TiO2, Ni, NiO, Cr, Cr2O3, Mg, or MgO) which may compose 5-30 wt % of the total inorganic additives, and (c) a silver-silicon bonding adhesion promotor (e.g. Al, Al2O3, Zn, ZnO, Pb, PbO, B, B2O3, Bi, or Bi2O3) which may compose 5-30 wt % of the total inorganic additives. Compositions of Nano-Sized Inorganic Additives A single element or compound in the nano-sized inorganic additives may serve more than one role. In certain embodiments, the composition of nano-sized inorganic additives includes 50-75% PbO, 10-30% Bi2O3, 5-15% Al2O3, 0.1-7% TiO2, 0.1-7% MgO, 1-15% ZnO and 1-15% B2O3by weight. In some embodiments, the inorganic additives may include one or more elements selected from Pb, Te, Ti, Li, B, Si, Na, K, Cs, Al, Mg, Ca, Sr, Ba, V, Zr, Mo, Mn, Ag, Zn, Ga, Ge, In, Sn, Sb, Bi, P, Cu, No, Cr, Fe, Co, Ce, Y, Rb, As, In, Se, Cd, and Nb. In some embodiments, the inorganic additives include one or more oxide groups selected from PbO, TeO2, TiO2, B2O3, SiO2, K2O, Al2O3, Bi2O3, MgO, CaO, LiO2, MoO3, Mn2O3, Ag2O, AgO, P2O5, CuO, NiO, Cr2O3, ZrO2, ZnO, Sb2O3, CoO, GeO2, In2O3, V2O5, Na2O, Ga2O, BaO, Fe2O3, FeO, Fe3O4, Cs2O, SrO, SnO2, Co2O3, HfO2, Ta2O5, and CeO2. Additives as Free Particles Preparation of nano-sized inorganic particles may be much simpler than preparation of frit particles. Nano-sized inorganic particles may be commercially available, or can be easily prepared from larger-sized particles to provide desired size which will be discussed in detail below. On the other hand, as discussed above, the preparation of glass frits involves several steps, such as mixing, sintering and grinding. In embodiments, no sintering of the additives with frit is performed to form a homogeneous mixture, and also no grinding of the mixture is performed to form a particle containing frit and additives. Because of fewer required processes, the conductive paste of the present invention without frit particles may be more efficient to produce. Size of Nano-Sized Inorganic Additives The size of the nano-sized additives may vary, but the average size of all the additives may be all in the nanometer size range. In some embodiments, the average size of all the additives is smaller than 200 nm. Since the size of nano-sized inorganic additives, including etchant, is much smaller than frit particles (˜1 μm), the nano-sized etchant will have better access to the anti-reflection coating layer, and thus will show better etching efficiency. Printing As discussed in relation with Intermediate Product after Printing After printing and drying the conductive paste, the intermediate product includes silicon layer, anti-reflection coating layer and the printed conductive paste. Sintering After drying the conductive paste, the intermediate product is subject to firing in a furnace to sinter the silver particles 601 and nano-sized inorganic additives. Before sintering, nano-sized inorganic additives generally homogenously distribute in the paste. As the temperature rises with firing, components of the conductive paste may move within its application layer. Referring to Etching of Anti-Reflection Coating When the temperature reaches the melting temperature of the nano-sized etchant, etchant particles on the surface of the anti-reflection coating layer melt and start to remove the anti-reflection coating layer. In some embodiments, the melting temperature may range from 450° C. to 650° C. The localized etching may first occur in the normal direction to the anti-reflection coating layer, and then in the lateral direction. Where anti-reflection coating layer is etched, localized silver-silicon direct contacts may form between the silicon layer 630 and silver particles 601. At or passing the peak temperature Tp, silver and silicon may form a fused material or fused state at the localized direct contacts between silver and silicon. In some embodiments, the peak temperature Tpmay range from 740° C. to 920° C. Cooling After firing, the sintered product is cooled down to the room temperature. In the process of cooling, the melted materials solidify and conductive paths are formed through silicon-silver direct contacts and silver-silver direct contacts. Resulting Front-Side Electrode Direct Electrical Connections More Uniform Distribution of Conductive Lines As discussed above, because of the freely suspending nano-sized etchant, the etching of the anti-reflection coatings layer will occur more uniformly along the area where the conductive paste was printed. Since the silicon/silver fused material will be formed where the top surface of the silicon semiconductor layers is exposed from anti-reflection coating layer, more uniform etching will result more uniform distribution of conduction path. As a result, the front-side electrode will show better electrical conductivity with the silicon layers. Comparison of Sintering Between Conductive Paste with and without Frit The present invention is illustrated by, but is not limited to, the following examples. Conductive Paste Preparation The conductive paste is prepared with the following procedure. The ethyl cellulose (binder) and terpineol are mixed for form an organic carrier. The Ag powder and nano-additive particles are added to the organic carrier to mix further to form a conductive paste. The materials to be used to form the conductive paste and amounts of each material are shown below. The conductive paste is applied by screen printing onto a SiNxanti-reflection coating layer covering a silicon wafer as a semiconductor layer. The applying pattern of the conductive paste is line shape of 40 μm wide. Subsequently, the applied conductive paste on the silicon semiconductor layer is dried for 5 minutes and fired at the set peak temperature of 800° C. for 25 minutes in a furnace to form an electrode. After firing for 25 minutes, the sintered product is cooled down to 150° C. in 5 minutes and then to room temperature. Resulting Front-Side ElectrodeBACKGROUND
Field
Description of Related Art
SUMMARY
BRIEF DESCRIPTION OF THE DRAWINGS
DETAILED DESCRIPTION OF EMBODIMENTS
EXAMPLES
Ag Particles 85* Organic Carrier 12* Nano-sized Inorganic Additives (overall) 3* PbO 60** Bi2O3 15** Al2O3 6** TiO2 3** MgO 3** ZnO 6** B2O3 6** *based on the weight of the conductive paste **based on the total-weight of the nano-sized inorganic additives
Formation of Front-Side Electrode