A system and method are described for adjusting communication with a first distributed-input-distributed-output (DIDO) client. For example, a method according to one embodiment comprises: sending RF energy to the DIDO client from one or more antennas of a DIDO network; estimating a current velocity of the DIDO client; and assigning the client to a particular DIDO network based on the estimated velocity of the client.
1. A machine-implemented method within a plurality of multiuser (MU) multiple antenna system (MU-MAS) networks, each with different network characteristics relative to a user device velocity, for adjusting communication between a plurality of distributed antennas or wireless transceiver devices distributed throughout a cell or coverage area and a plurality of client devices, the method comprising:
sending radio frequency (RF) energy between the plurality of distributed antennas and the plurality of client devices: creating a plurality of simultaneous non-interfering data streams within the same frequency band between the distributed antennas and the client devices via precoding; estimating a current velocity of a first client device of the plurality of client devices; and assigning the first client device to a first network of the plurality of MU-MAS networks having first network characteristics based on the estimated velocity of the first client device, the plurality of MU-MAS networks including at least a second network having second network characteristics. 2. The method as in 3. The method as in 4. The method as in 5. The method as in 6. The method as in 7. The method as in 8. The method as in 9. The method as in 10. The method as in 11. The method as in 12. The method as in 13. A system comprising:
a plurality of multiuser (MU) multiple antenna system (MU-MAS) networks, each with different network characteristics relative to a user device velocity; for adjusting communication between a plurality of distributed antennas or wireless transceiver devices distributed throughout a cell or coverage area and a plurality of client devices; radio frequency (RF) transmitters of the MU-MAS networks to send radio frequency (RF) energy between the plurality of distributed antennas and the plurality of client devices; logic to create a plurality of simultaneous non-interfering data streams within the same frequency band between the distributed antennas and the client devices via precoding; at least one client device of the plurality of client devices or one or more distributed antennas of the MU-MAS networks configured to perform operations to estimate a current velocity of a first client device; and the first client device to be assigned to a particular one of the plurality of MU-MAS networks having first network characteristics based on the estimated velocity of the first client device, the plurality of MU-MAS networks including at least a second network having second network characteristics. 14. The system as in 15. The system as in 16. The system as in 17. The system as in 18. The system as in 19. The system as in 20. The system as in 21. The system as in 22. The system as in 23. The system as in 24. The system as in
This application is a continuation-in-part of the following co-pending U.S. Patent Applications: U.S. application Ser. No. 12/630,627, filed Dec. 3, 2009, entitled “System and Method For Distributed Antenna Wireless Communications” U.S. application Ser. No. 12/143,503, filed Jun. 20, 2008 entitled “System and Method For Distributed Input-Distributed Output Wireless Communications”; U.S. application Ser. No. 11/894,394, filed Aug. 20, 2007 entitled, “System and Method for Distributed Input Distributed Output Wireless Communications”; U.S. application Ser. No. 11/894,362, filed Aug. 20, 2007 entitled, “System and method for Distributed Input-Distributed Wireless Communications”; U.S. application Ser. No. 11/894,540, filed Aug. 20, 2007 entitled “System and Method For Distributed Input-Distributed Output Wireless Communications” U.S. application Ser. No. 11/256,478, filed Oct. 21, 2005 entitled “System and Method For Spatial-Multiplexed Tropospheric Scatter Communications”; U.S. application Ser. No. 10/817,731, filed Apr. 2, 2004 entitled “System and Method For Enhancing Near Vertical Incidence Skywave (“NVIS”) Communication Using Space-Time Coding. Prior art multi-user wireless systems may include only a single base station or several base stations. A single WiFi base station (e.g., utilizing 2.4 GHz 802.11b, g or n protocols) attached to a broadband wired Internet connection in an area where there are no other WiFi access points (e.g. a WiFi access point attached to DSL within a rural home) is an example of a relatively simple multi-user wireless system that is a single base station that is shared by one or more users that are within its transmission range. If a user is in the same room as the wireless access point, the user will typically experience a high-speed link with few transmission disruptions (e.g. there may be packet loss from 2.4 GHz interferers, like microwave ovens, but not from spectrum sharing with other WiFi devices), If a user is a medium distance away or with a few obstructions in the path between the user and WiFi access point, the user will likely experience a medium-speed link. If a user is approaching the edge of the range of the WiFi access point, the user will likely experience a low-speed link, and may be subject to periodic drop-outs if changes to the channel result in the signal SNR dropping below usable levels. And, finally, if the user is beyond the range of the WiFi base station, the user will have no link at all. When multiple users access the WiFi base station simultaneously, then the available data throughput is shared among them. Different users will typically place different throughput demands on a WiFi base station at a given time, but at times when the aggregate throughput demands exceed the available throughput from the WiFi base station to the users, then some or all users will receive less data throughput than they are seeking. In an extreme situation where a WiFi access point is shared among a very large number of users, throughput to each user can slow down to a crawl, and worse, data throughput to each user may arrive in short bursts separated by long periods of no data throughput at all, during which time other users are served. This “choppy” data delivery may impair certain applications, like media streaming. Adding additional WiFi base stations in situations with a large number of users will only help up to a point. Within the 2.4 GHz ISM band in the U.S., there are 3 non-interfering channels that can be used for WiFi, and if 3 WiFi base stations in the same coverage area are configured to each use a different non-interfering channel, then the aggregate throughput of the coverage area among multiple users will be increased up to a factor of 3. But, beyond that, adding more WiFi base stations in the same coverage area will not increase aggregate throughput, since they will start sharing the same available spectrum among them, effectually utilizing time-division multiplexed access (TDMA) by “taking turns” using the spectrum. This situation is often seen in coverage areas with high population density, such as within multi-dwelling units. For example, a user in a large apartment building with a WiFi adapter may well experience very poor throughput due to dozens of other interfering WiFi networks (e.g. in other apartments) serving other users that are in the same coverage area, even if the user's access point is in the same room as the client device accessing the base station. Although the link quality is likely good in that situation, the user would be receiving interference from neighbor WiFi adapters operating in the same frequency band, reducing the effective throughput to the user. Current multiuser wireless systems, including both unlicensed spectrum, such as WiFi, and licensed spectrum, suffer from several limitations. These include coverage area, downlink (DL) data rate and uplink (UL) data rate. Key goals of next generation wireless systems, such as WiMAX and LTE, are to improve coverage area and DL and UL data rate via multiple-input multiple-output (MIMO) technology. MIMO employs multiple antennas at transmit and receive sides of wireless links to improve link quality (resulting in wider coverage) or data rate (by creating multiple non-interfering spatial channels to every user). If enough data rate is available for every user (note, the terms “user” and “client” are used herein interchangeably), however, it may be desirable to exploit channel spatial diversity to create non-interfering channels to multiple users (rather than single user), according to multiuser MIMO (MU-MIMO) techniques. See, e.g., the following references:
For example, in MIMO 4×4 systems (i.e., four transmit and four receive antennas), 10 MHz bandwidth, 16-QAM modulation and forward error correction (FEC) coding with rate ¾ (yielding spectral efficiency of 3 bps/Hz), the ideal peak data rate achievable at the physical layer for every user is 4×30 Mbps=120 Mbps, which is much higher than required to deliver high definition video content (which may only require ˜10 Mbps). In MU-MIMO systems with four transmit antennas, four users and single antenna per user, in ideal scenarios (i.e., independent identically distributed, i.i.d., channels) downlink data rate may be shared across the four users and channel spatial diversity may be exploited to create four parallel 30 Mbps data links to the users. Different MU-MIMO schemes have been proposed as part of the LTE standard as described, for example, in 3GPP, “Multiple Input Multiple Output in UTRA”, 3GPP TR 25.876 V7.0.0, March 2007; 3GPP, “Base Physical channels and modulation”, TS 36.211, V8.7.0, May 2009; and 3GPP, “Multiplexing and channel coding”, TS 36.212, V8.7.0, May 2009. However, these schemes can provide only up to 2× improvement in DL data rate with four transmit antennas. Practical implementations of MU-MIMO techniques in standard and proprietary cellular systems by companies like ArrayComm (see, e.g., ArrayComm, “Field-proven results”, http://www.arraycomm.com/serve.php?page=proof) have yielded up to a ˜3× increase (with four transmit antennas) in DL data rate via space division multiple access (SDMA). A key limitation of MU-MIMO schemes in cellular networks is lack of spatial diversity at the transmit side. Spatial diversity is a function of antenna spacing and multipath angular spread in the wireless links. In cellular systems employing MU-MIMO techniques, transmit antennas at a base station are typically clustered together and placed only one or two wavelengths apart due to limited real estate on antenna support structures (referred to herein as “towers,” whether physically tall or not) and due to limitations on where towers may be located. Moreover, multipath angular spread is low since cell towers are typically placed high up (10 meters or more) above obstacles to yield wider coverage. Other practical issues with cellular system deployment include excessive cost and limited availability of locations for cellular antenna locations (e.g. due to municipal restrictions on antenna placement, cost of real-estate, physical obstructions, etc.) and the cost and/or availability of network connectivity to the transmitters (referred to herein as “backhaul”). Further, cellular systems often have difficulty reaching clients located deeply in buildings due to losses from walls, ceilings, floors, furniture and other impediments. Indeed, the entire concept of a cellular structure for wide-area network wireless presupposes a rather rigid placement of cellular towers, an alternation of frequencies between adjacent cells, and frequently sectorization, so as to avoid interference among transmitters (either base stations or users) that are using the same frequency. As a result, a given sector of a given cell ends up being a shared block of DL and UL spectrum among all of the users in the cell sector, which is then shared among these users primarily in only the time domain. For example, cellular systems based on Time Division Multiple Access (TDMA) and Code Division Multiple Access (CDMA) both share spectrum among users in the time domain. By overlaying such cellular systems with sectorization, perhaps a 2-3× spatial domain benefit can be achieved. And, then by overlaying such cellular systems with a MU-MIMO system, such as those described previously, perhaps another 2-3× space-time domain benefit can be achieved. But, given that the cells and sectors of the cellular system are typically in fixed locations, often dictated by where towers can be placed, even such limited benefits are difficult to exploit if user density (or data rate demands) at a given time does not match up well with tower/sector placement. A cellular smart phone user often experiences the consequence of this today where the user may be talking on the phone or downloading a web page without any trouble at all, and then after driving (or even walking) to a new location will suddenly see the voice quality drop or the web page slow to a crawl, or even lose the connection entirely. But, on a different day, the user may have the exact opposite occur in each location. What the user is probably experiencing, assuming the environmental conditions are the same, is the fact that user density (or data rate demands) is highly variable, but the available total spectrum (and thereby total data rate, using prior art techniques) to be shared among users at a given location is largely fixed. Further, prior art cellular systems rely upon using different frequencies in different adjacent cells, typically 3 different frequencies. For a given amount of spectrum, this reduces the available data rate by 3×. So, in summary, prior art cellular systems may lose perhaps 3× in spectrum utilization due to cellularization, and may improve spectrum utilization by perhaps 3× through sectorization and perhaps 3× more through MU-MIMO techniques, resulting in a net 3*3/3=3× potential spectrum utilization. Then, that bandwidth is typically divided up among users in the time domain, based upon what sector of what cell the users fall into at a given time. There are even further inefficiencies that result due to the fact that a given user's data rate demands are typically independent of the user's location, but the available data rate varies depending on the link quality between the user and the base station. For example, a user further from a cellular base station will typically have less available data rate than a user closer to a base station. Since the data rate is typically shared among all of the users in a given cellular sector, the result of this is that all users are impacted by high data rate demands from distant users with poor link quality (e.g. on the edge of a cell) since such users will still demand the same amount of data rate, yet they will be consuming more of the shared spectrum to get it. Other proposed spectrum sharing systems, such as that used by WiFi (e.g., 802.11b, g, and n) and those proposed by the White Spaces Coalition, share spectrum very inefficiently since simultaneous transmissions by base stations within range of a user result in interference, and as such, the systems utilize collision avoidance and sharing protocols. These spectrum sharing protocols are within the time domain, and so, when there are a large number of interfering base stations and users, no matter how efficient each base station itself is in spectrum utilization, collectively the base stations are limited to time domain sharing of the spectrum among each other. Other prior art spectrum sharing systems similarly rely upon similar methods to mitigate interference among base stations (be they cellular base stations with antennas on towers or small scale base stations, such as WiFi Access Points (APs)). These methods include limiting transmission power from the base station so as to limit the range of interference, beamforming (via synthetic or physical means) to narrow the area of interference, time-domain multiplexing of spectrum and/or MU-MIMO techniques with multiple clustered antennas on the user device, the base station or both. And, in the case of advanced cellular networks in place or planned today, frequently many of these techniques are used at once. But, what is apparent by the fact that even advanced cellular systems can achieve only about a 3× increase in spectrum utilization compared to a single user utilizing the spectrum is that all of these techniques have done little to increase the aggregate data rate among shared users for a given area of coverage. In particular, as a given coverage area scales in terms of users, it becomes increasingly difficult to scale the available data rate within a given amount of spectrum to keep pace with the growth of users. For example, with cellular systems, to increase the aggregate data rate within a given area, typically the cells are subdivided into smaller cells (often called nano-cells or femto-cells). Such small cells can become extremely expensive given the limitations on where towers can be placed, and the requirement that towers must be placed in a fairly structured pattern so as to provide coverage with a minimum of “dead zones”, yet avoid interference between nearby cells using the same frequencies. Essentially, the coverage area must be mapped out, the available locations for placing towers or base stations must be identified, and then given these constraints, the designers of the cellular system must make do with the best they can. And, of course, if user data rate demands grow over time, then the designers of the cellular system must yet again remap the coverage area, try to find locations for towers or base stations, and once again work within the constraints of the circumstances. And, very often, there simply is no good solution, resulting in dead zones or inadequate aggregate data rate capacity in a coverage area. In other words, the rigid physical placement requirements of a cellular system to avoid interference among towers or base stations utilizing the same frequency results in significant difficulties and constraints in cellular system design, and often is unable to meet user data rate and coverage requirements. So-called prior art “cooperative” and “cognitive” radio systems seek to increase the spectral utilization in a given area by using intelligent algorithms within radios such that they can minimize interference among each other and/or such that they can potentially “listen” for other spectrum use so as to wait until the channel is clear. Such systems are proposed for use particularly in unlicensed spectrum in an effort to increase the spectrum utilization of such spectrum. A mobile ad hoc network (MANET) (see http://en.wikipedia.org/wiki/Mobile_ad_hoc_network) is an example of a cooperative self-configuring network intended to provide peer-to-peer communications, and could be used to establish communication among radios without cellular infrastructure, and with sufficiently low-power communications, can potentially mitigate interference among simultaneous transmissions that are out of range of each other. A vast number of routing protocols have been proposed and implemented for MANET systems (see http://en.wikipedia.org/wiki/List_of_ad-hoc_routing_protocols for a list of dozens of routing protocols in a wide range of classes), but a common theme among them is they are all techniques for routing (e.g. repeating) transmissions in such a way to minimize transmitter interference within the available spectrum, towards the goal of particular efficiency or reliability paradigms. All of the prior art multi-user wireless systems seek to improve spectrum utilization within a given coverage area by utilizing techniques to allow for simultaneous spectrum utilization among base stations and multiple users. Notably, in all of these cases, the techniques utilized for simultaneous spectrum utilization among base stations and multiple users achieve the simultaneous spectrum use by multiple users by mitigating interference among the waveforms to the multiple users. For example, in the case of 3 base stations each using a different frequency to transmit to one of 3 users, there interference is mitigated because the 3 transmissions are at 3 different frequencies. In the case of sectorization from a base station to 3 different users, each 180 degrees apart relative to the base station, interference is mitigated because the beamforming prevents the 3 transmissions from overlapping at any user. When such techniques are augmented with MU-MIMO, and, for example, each base station has 4 antennas, then this has the potential to increase downlink throughput by a factor of 4, by creating four non-interfering spatial channels to the users in given coverage area. But it is still the case that some technique must be utilized to mitigate the interference among multiple simultaneous transmissions to multiple users in different coverage areas. And, as previously discussed, such prior art techniques (e.g. cellularization, sectorization) not only typically suffer from increasing the cost of the multi-user wireless system and/or the flexibility of deployment, but they typically run into physical or practical limitations of aggregate throughput in a given coverage area. For example, in a cellular system, there may not be enough available locations to install more base stations to create smaller cells. And, in an MU-MIMO system, given the clustered antenna spacing at each base station location, the limited spatial diversity results in asymptotically diminishing returns in throughput as more antennas are added to the base station. And further, in the case of multi-user wireless systems where the user location and density is unpredictable, it results in unpredictable (with frequently abrupt changes) in throughput, which is inconvenient to the user and renders some applications (e.g. the delivery of services requiring predictable throughput) impractical or of low quality. Thus, prior art multi-user wireless systems still leave much to be desired in terms of their ability to provide predictable and/or high-quality services to users. Despite the extraordinary sophistication and complexity that has been developed for prior art multi-user wireless systems over time, there exist common themes: transmissions are distributed among different base stations (or ad hoc transceivers) and are structured and/or controlled so as to avoid the RF waveform transmissions from the different base stations and/or different ad hoc transceivers from interfering with each other at the receiver of a given user. Or, to put it another way, it is taken as a given that if a user happens to receive transmissions from more than one base station or ad hoc transceiver at the same time, the interference from the multiple simultaneous transmissions will result in a reduction of the SNR and/or bandwidth of the signal to the user which, if severe enough, will result in loss of all or some of the potential data (or analog information) that would otherwise have been received by the user. Thus, in a multiuser wireless system, it is necessary to utilize one or more spectrum sharing approaches or another to avoid or mitigate such interference to users from multiple base stations or ad hoc transceivers transmitting at the same frequency at the same time. There are a vast number of prior art approaches to avoiding such interference, including controlling base stations' physical locations (e.g. cellularization), limiting power output of base stations and/or ad hoc transceivers (e.g. limiting transmit range), beamforming/sectorization, and time domain multiplexing. In short, all of these spectrum sharing systems seek to address the limitation of multiuser wireless systems that when multiple base stations and/or ad hoc transceivers transmitting simultaneously at the same frequency are received by the same user, the resulting interference reduces or destroys the data throughput to the affected user. If a large percentage, or all, of the users in the multi-user wireless system are subject to interference from multiple base stations and/or ad hoc transceivers (e.g. in the event of the malfunction of a component of a multi-user wireless system), then it can result in a situation where the aggregate throughput of the multi-user wireless system is dramatically reduced, or even rendered non-functional. Prior art multi-user wireless systems add complexity and introduce limitations to wireless networks and frequently result in a situation where a given user's experience (e.g. available bandwidth, latency, predictability, reliability) is impacted by the utilization of the spectrum by other users in the area. Given the increasing demands for aggregate bandwidth within wireless spectrum shared by multiple users, and the increasing growth of applications that can rely upon multi-user wireless network reliability, predictability and low latency for a given user, it is apparent that prior art multi-user wireless technology suffers from many limitations. Indeed, with the limited availability of spectrum suitable for particular types of wireless communications (e.g. at wavelengths that are efficient in penetrating building walls), it may be the case that prior art wireless techniques will be insufficient to meet the increasing demands for bandwidth that is reliable, predictable and low-latency. Prior art related to the current invention describes beamforming systems and methods for null-steering in multiuser scenarios. Beamforming was originally conceived to maximize received signal-to-noise ratio (SNR) by dynamically adjusting phase and/or amplitude of the signals (i.e., beamforming weights) fed to the antennas of the array, thereby focusing energy toward the user's direction [14-20]. In multiuser scanarios, beamforming can be used to suppress interfering sources and maximize signal-to-interference-plus-noise ratio (SINR) [21-23]. For example, when beamforming is used at the receiver of a wireless link, the weights are computed to create nulls in the direction of the interfering sources [15]. When beamforming is used at the transmitter in multiuser downlink scenarios, the weights are calculated to pre-cancel inter-user interfence and maximize the SINR to every user [21-23]. Alternative techniques for multiuser systems, such as BD precoding [24-25], compute the precoding weights to maximize throughput in the downlink broadcast channel. The patent or application file contains at least one drawing executed in color. Copies of this patent or patent publication with color drawing(s) will be provided by the U.S. Patent and Trademark Office upon request and payment of the necessary fee. A better understanding of the present invention can be obtained from the following detailed description in conjunction with the drawings, in which: One solution to overcome many of the above prior art limitations is an embodiment of Distributed-Input Distributed-Output (DIDO) technology. DIDO technology is described in the following patents and patent applications, all of which are assigned the assignee of the present patent and are incorporated by reference. These patents and applications are sometimes referred to collectively herein as the “related patents and applications”: U.S. application Ser. No. 12/630,627, filed Dec. 2, 2009, entitled “System and Method For Distributed Antenna Wireless Communications” U.S. Pat. No. 7,599,420, filed Aug. 20, 2007, issued Oct. 6, 2009, entitled “System and Method for Distributed Input Distributed Output Wireless Communication”; U.S. Pat. No. 7,633,994, filed Aug. 20, 2007, issued Dec. 15, 2009, entitled “System and Method for Distributed Input Distributed Output Wireless Communication”; U.S. Pat. No. 7,636,381, filed Aug. 20, 2007, issued Dec. 22, 2009, entitled “System and Method for Distributed Input Distributed Output Wireless Communication”; U.S. application Ser. No. 12/143,503, filed Jun. 20, 2008 entitled, “System and Method For Distributed Input-Distributed Output Wireless Communications”; U.S. application Ser. No. 11/256,478, filed Oct. 21, 2005 entitled “System and Method For Spatial-Multiplexed Tropospheric Scatter Communications”; U.S. Pat. No. 7,418,053, filed Jul. 30, 2004, issued Aug. 26, 2008, entitled “System and Method for Distributed Input Distributed Output Wireless Communication”; U.S. application Ser. No. 10/817,731, filed Apr. 2, 2004 entitled “System and Method For Enhancing Near Vertical Incidence Skywave (“NVIS”) Communication Using Space-Time Coding. For organization purposes, the present detailed description is separated into the following sections: I. Disclosure of the Present Application which includes new matter introduced in the present application and includes II. Disclosure From Certain Related Applications which includes matter previously disclosed in certain related applications and which includes III. Disclosure From U.S. application Ser. No. 12/630,627 which includes new matter introduced in the most recent related application in this series (having Ser. No. 12/630,627) and which includes Note that section I (Disclosure of the Present Application) utilizes its own set of endnotes which refer to prior art references and prior applications assigned to the assignee of the present application. The endnote citations are listed at the end of section I (just prior to the heading for Section II). Citations in Sections II and III may have numerical designations which overlap with those used in Section I even through these numerical designations identify different references (which are identified within each respective section). Thus, references identified by a particular numerical designation may be identified within the section in which the numerical designation is used. 1. Methods to Remove Inter-Cluster Interference Described below are wireless radio frequency (RF) communication systems and methods employing a plurality of distributed transmitting antennas to create locations in space with zero RF energy. When M transmit antennas are employed, it is possible to create up to (M−1) points of zero RF energy in predefined locations. In one embodiment of the invention, the points of zero RF energy are wireless devices and the transmit antennas are aware of the channel state information (CSI) between the transmitters and the receivers. In one embodiment, the CSI is computed at the receivers and fed back to the transmitters. In another embodiment, the CSI is computed at the transmitter via training from the receivers, assuming channel reciprocity is exploited. The transmitters may utilize the CSI to determine the interfering signals to be simultaneously transmitted. In one embodiment, block diagonalization (BD) precoding is employed at the transmit antennas to generate points of zero RF energy. The system and methods described herein differ from the conventional receive/transmit beamforming techniques described above. In fact, receive beamforming computes the weights to suppress interference at the receive side (via null-steering), whereas some embodiments of the invention described herein apply weights at the transmit side to create interference patters that result in one or multiple locations in space with “zero RF energy.” Unlike conventional transmit beamforming or BD precoding designed to maximize signal quality (or SINR) to every user or downlink throughput, respectively, the systems and methods described herein minimize signal quality under certain conditions and/or from certain transmitters, thereby creating points of zero RF energy at the client devices (sometimes referred to herein as “users”). Moreover, in the context of distributed-input distributed-output (DIDO) systems (described in our related patents and applications), transmit antennas distributed in space provide higher degrees of freedom (i.e., higher channel spatial diversity) that can be exploited to create multiple points of zero RF energy and/or maximum SINR to different users. For example, with M transmit antennas it is possible to create up to (M−1) points of RF energy. By contrast, practical beamforming or BD multiuser systems are typically designed with closely spaced antennas at the transmit side that limit the number of simultaneous users that can be serviced over the wireless link, for any number of transmit antennas M. Consider a system with M transmit antennas and K users, with K<M. We assume the transmitter is aware of the CSI (Hε⊂K×M) between the M transmit antennas and K users. For simplicity, every user is assumed to be equipped with single antenna, but the same method can be extended to multiple receive antennas per user. The precoding weights (wε⊂M×1) that create zero RF energy at the K users' locations are computed to satisfy the following condition
In another embodiment, the wireless system is a DIDO system and points of zero RF energy are created to pre-cancel interference to the clients between different DIDO coverage areas. In U.S. application Ser. No. 12/630,627, a DIDO system is described which includes:
In one embodiment, neighboring clusters operate at different frequencies according to frequency division multiple access (FDMA) techniques similar to conventional cellular systems. For example, with frequency reuse factor of 3, the same carrier frequency is reused every third DIDO cluster as illustrated in In another embodiment, neighbor clusters operate in the same frequency band, but at different time slots according to time division multiple access (TDMA) technique. For example, as illustrated in In one embodiment, all neighboring clusters transmit at the same time in the same frequency band and use spatial processing across clusters to avoid interference. In this embodiment, the multi-cluster DIDO system: (i) uses conventional DIDO precoding within the main cluster to transmit simultaneous non-interfering data streams within the same frequency band to multiple clients (such as described in the related patents and applications, including U.S. Pat. Nos. 7,599,420; 7,633,994; 7,636,381; and application Ser. No. 12/143,503); (ii) uses DIDO precoding with interference cancellation in the neighbor clusters to avoid interference to the clients lying in the interfering zones 8010 in In practical systems, the performance of DIDO precoding may be affected by different factors such as: channel estimation error or Doppler effects (yielding obsolete channel state information at the DIDO distributed antennas); intermodulation distortion (IMD) in multicarrier DIDO systems; time or frequency offsets. As a result of these effects, it may be impractical to achieve points of zero RF energy. However, as long as the RF energy at the target client from the interfering clusters is negligible compared to the RF energy from the main cluster, the link performance at the target client is unaffected by the interference. For example, let us assume the client requires 20 dB signal-to-noise ratio (SNR) to demodulate 4-QAM constellations using forward error correction (FEC) coding to achieve target bit error rate (BER) of 10−6. If the RF energy at the target client received from the interfering cluster is 20 dB below the RF energy received from the main cluster, the interference is negligible and the client can demodulate data successfully within the predefined BER target. Thus, the term “zero RF energy” as used herein does not necessarily mean that the RF energy from interfering RF signals is zero. Rather, it means that the RF energy is sufficiently low relative to the RF energy of the desired RF signal such that the desired RF signal may be received at the receiver. Moreover, while certain desirable thresholds for interfering RF energy relative to desired RF energy are described, the underlying principles of the invention are not limited to any particular threshold values. There are different types of interfering zones 8010 as shown in The received signal at target client k in any interfering zone 8010A, B in To simplify the notation and without loss of generality, we assume all clients are equipped with N receive antennas and there are M DIDO distributed antennas in every DIDO cluster, with M≧(N·U) and M≧(N·Ic), ∀c=1, . . . , C. If M is larger than the total number of receive antennas in the cluster, the extra transmit antennas are used to pre-cancel interference to the target clients in the interfering zone or to improve link robustness to the clients within the same cluster via diversity schemes described in the related patents and applications, including U.S. Pat. Nos. 7,599,420; 7,633,994; 7,636,381; and application Ser. No. 12/143,503. The DIDO precoding weights are computed to pre-cancel inter-client interference within the same DIDO cluster. For example, block diagonalization (BD) precoding described in the related patents and applications, including U.S. Pat. Nos. 7,599,420; 7,633,994; 7,636,381; and application Ser. No. 12/143,503 and [7] can be used to remove inter-client interference, such that the following condition is satisfied in the main cluster
We begin by evaluating the performance of the proposed method in terms of symbol error rate (SER) as a function of the signal-to-noise ratio (SNR). Without loss of generality, we define the following signal model assuming single antenna per client and reformulate (1) as
The results in Next, we evaluate the performance of the above method as a function of the target client's location with respect to the interfering zone. We consider one simple scenario where a target client 8401 moves from the main DIDO cluster 8402 to the interfering cluster 8403, as depicted in The analysis hereafter is based on the following simplified signal model that extends (7) to account for pathloss One embodiment of a method for IDCI precoding is shown in Hereafter, we describe different handoff methods for clients that move across DIDO clusters populated by distributed antennas that are located in separate areas or that provide different kinds of services (i.e., low- or high-mobility services). a. Handoff Between Adjacent DIDO Clusters In one embodiment, the IDCI-precoder to remove inter-cluster interference described above is used as a baseline for handoff methods in DIDO systems. Conventional handoff in cellular systems is conceived for clients to switch seamlessly across cells served by different base stations. In DIDO systems, handoff allows clients to move from one cluster to another without loss of connection. To illustrate one embodiment of a handoff strategy for DIDO systems, we consider again the example in From the plots in One embodiment of the handoff strategy is as follows.
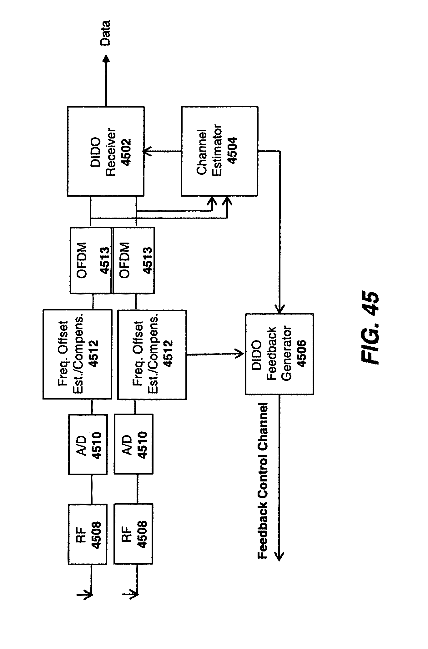
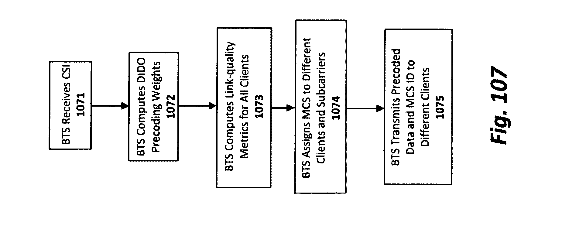
The method described above computes the SINR or SIR estimates for different schemes in real time and uses them to select the optimal scheme. In one embodiment, the handoff algorithm is designed based on the finite-state machine illustrated in In presence of shadowing effects, the signal quality or SIR may fluctuate around the thresholds as shown in One embodiment of the invention employs a hysteresis loop to cope with state switching effects. For example, when switching between “C1-DIDO,C2-IDCI” 9302 and “C1-IDCI,C2-DIDO” 9303 states in In a different embodiment, the threshold SINRT2is adjusted to avoid repetitive switching between the first and second (or third and fourth) states of the finite-state machine in In one embodiment, depending on the variance of shadowing expected over the wireless link, the SINR threshold is dynamically adjusted within the range [SINRT2, SINRT2+A2]. The variance of the log-normal distribution can be estimated from the variance of the received signal strength (or RSSI) as the client moves from its current cluster to the neighbor cluster. The methods above assume the client triggers the handoff strategy. In one embodiment, the handoff decision is deferred to the DIDO BTSs, assuming communication across multiple BTSs is enabled. For simplicity, the methods above are derived assuming no FEC coding and 4-QAM. More generally, the SINR or SIR thresholds are derived for different modulation coding schemes (MCSs) and the handoff strategy is designed in combination with link adaptation (see, e.g., U.S. Pat. No. 7,636,381) to optimize downlink data rate to each client in the interfering zone. b. Handoff Between Low- and High-Doppler DIDO Networks DIDO systems employ closed-loop transmission schemes to precode data streams over the downlink channel. Closed-loop schemes are inherently constrained by latency over the feedback channel. In practical DIDO systems, computational time can be reduced by transceivers with high processing power and it is expected that most of the latency is introduced by the DIDO BSN, when delivering CSI and baseband precoded data from the BTS to the distributed antennas. The BSN can be comprised of various network technologies including, but not limited to, digital subscriber lines (DSL), cable modems, fiber rings, T1 lines, hybrid fiber coaxial (HFC) networks, and/or fixed wireless (e.g., WiFi). Dedicated fiber typically has very large bandwidth and low latency, potentially less than a millisecond in local region, but it is less widely deployed than DSL and cable modems. Today, DSL and cable modem connections typically have between 10-25 ms in last-mile latency in the United States, but they are very widely deployed. The maximum latency over the BSN determines the maximum Doppler frequency that can be tolerated over the DIDO wireless link without performance degradation of DIDO precoding. For example, in [1] we showed that at the carrier frequency of 400 MHz, networks with latency of about 10 msec (i.e., DSL) can tolerate clients' velocity up to 8 mph (running speed), whereas networks with 1 msec latency (i.e., fiber ring) can support speed up to 70 mph (i.e., freeway traffic). We define two or multiple DIDO sub-networks depending on the maximum Doppler frequency that can be tolerated over the BSN. For example, a BSN with high-latency DSL connections between the DIDO BTS and distributed antennas can only deliver low mobility or fixed-wireless services (i.e., low-Doppler network), whereas a low-latency BSN over a low-latency fiber ring can tolerate high mobility (i.e., high-Doppler network). We observe that the majority of broadband users are not moving when they use broadband, and further, most are unlikely to be located near areas with many high speed objects moving by (e.g., next to a highway) since such locations are typically less desirable places to live or operate an office. However, there are broadband users who will be using broadband at high speeds (e.g., while in a car driving on the highway) or will be near high speed objects (e.g., in a store located near a highway). To address these two differing user Doppler scenarios, in one embodiment, a low-Doppler DIDO network consists of a typically larger number of DIDO antennas with relatively low power (i.e., 1 W to 100 W, for indoor or rooftop installation) spread across a wide area, whereas a high-Doppler network consists of a typically lower number of DIDO antennas with high power transmission (i.e., 100 W for rooftop or tower installation). The low-Doppler DIDO network serves the typically larger number of low-Doppler users and can do so at typically lower connectivity cost using inexpensive high-latency broadband connections, such as DSL and cable modems. The high-Doppler DIDO network serves the typically fewer number of high-Doppler users and can do so at typically higher connectivity cost using more expensive low-latency broadband connections, such as fiber. To avoid interference across different types of DIDO networks (e.g. low-Doppler and high-Doppler), different multiple access techniques can be employed such as: time division multiple access (TDMA), frequency division multiple access (FDMA), or code division multiple access (CDMA). Hereafter, we propose methods to assign clients to different types of DIDO networks and enable handoff between them. The network selection is based on the type of mobility of each client. The client's velocity (v) is proportional to the maximum Doppler shift according to the following equation [6] In one embodiment, the Doppler shift of every client is calculated via blind estimation techniques. For example, the Doppler shift can be estimated by sending RF energy to the client and analyzing the reflected signal, similar to Doppler radar systems. In another embodiment, one or multiple DIDO antennas send training signals to the client. Based on those training signals, the client estimates the Doppler shift using techniques such as counting the zero-crossing rate of the channel gain, or performing spectrum analysis. We observe that for fixed velocity v and client's trajectory, the angular velocity v sin θ in (11) may depend on the relative distance of the client from every DIDO antenna. For example, DIDO antennas in the proximity of a moving client yield larger angular velocity and Doppler shift than faraway antennas. In one embodiment, the Doppler velocity is estimated from multiple DIDO antennas at different distances from the client and the average, weighted average or standard deviation is used as an indicator for the client's mobility. Based on the estimated Doppler indicator, the DIDO BTS decides whether to assign the client to low- or high-Doppler networks. The Doppler indicator is periodically monitored for all clients and sent back to the BTS. When one or multiple clients change their Doppler velocity (i.e., client riding in the bus versus client walking or sitting), those clients are dynamically re-assigned to different DIDO network that can tolerate their level of mobility. Although the Doppler of low-velocity clients can be affected by being in the vicinity of high-velocity objects (e.g. near a highway), the Doppler is typically far less than the Doppler of clients that are in motion themselves. As such, in one embodiment, the velocity of the client is estimated (e.g. by using a means such as monitoring the clients position using GPS), and if the velocity is low, the client is assigned to a low-Doppler network, and if the velocity if high, the client is assigned to a high-Doppler network. Methods for Power Control and Antenna Grouping The block diagram of DIDO systems with power control is depicted in The power control unit measures the CQI for all clients. In one embodiment, the CQI is the average SNR or RSSI. The CQI varies for different clients depending on pathloss or shadowing. Our power control method adjusts the transmit power scaling factors Pkfor different clients and multiplies them by the precoded data streams generated for different clients. Note that one or multiple data streams may be generated for every client, depending on the number of clients' receive antennas. To evaluate the performance of the proposed method, we defined the following signal model based on (5), including pathloss and power control parameters
The Federal Communications Commission (FCC) (and other international regulatory agencies) defines constraints on the maximum power that can be transmitted from wireless devices to limit the exposure of human body to electromagnetic (EM) radiation. There are two types of limits [2]: i) “occupational/controlled” limit, where people are made fully aware of the radio frequency (RF) source via fences, warnings or labels; ii) “general population/uncontrolled” limit where there is no control over the exposure. Different emission levels are defined for different types of wireless devices. In general, DIDO distributed antennas used for indoor/outdoor applications qualify for the FCC category of “mobile” devices, defined as [2]: “transmitting devices designed to be used in other than fixed locations that would normally be used with radiating structures maintained 20 cm or more from the body of the user or nearby persons.” The EM emission of “mobile” devices is measured in terms of maximum permissible exposure (MPE), expressed in mW/cm2. Less restrictive power emission constraints are defined for transmitters installed on rooftops or buildings, away from the “general population”. For these “rooftop transmitters” the FCC defines a looser emission limit of 1000 W, measured in terms of effective radiated power (ERP). Based on the above FCC constraints, in one embodiment we define two types of DIDO distributed antennas for practical systems:
Note that LP transmitters with DSL or cable modem connectivity are good candidates for low-Doppler DIDO networks (as described in the previous section), since their clients are mostly fixed or have low mobility. HP transmitters with commercial fiber connectivity can tolerate higher client's mobility and can be used in high-Doppler DIDO networks. To gain practical intuition on the performance of DIDO systems with different types of LP/HP transmitters, we consider the practical case of DIDO antenna installation in downtown Palo Alto, Calif. Based on the DIDO antenna distributions in Next, we defined algorithms to control power transmission of LP stations such that higher power is allowed at any given time, thereby increasing the throughput over the downlink channel of DIDO systems in Based on this analysis, we define adaptive power control methods to increase instantaneous per-antenna transmit power, while maintaining average power per DIDO antenna below MPE limits. We consider DIDO systems with more transmit antennas than active clients. This is a reasonable assumption given that DIDO antennas can be conceived as inexpensive wireless devices (similar to WiFi access points) and can be placed anywhere there is DSL, cable modem, optical fiber, or other Internet connectivity. The framework of DIDO systems with adaptive per-antenna power control is depicted in In one embodiment, NgDIDO antenna groups are defined. Every group contains at least as many DIDO antennas as the number of active clients (K). At any given time, only one group has Na>K active DIDO antennas transmitting to the clients at larger power level (So) than MPE limit ( Assuming Round-Robin power allocation, from (14) we derive the average transmit power for every DIDO antenna as To gain some intuition on the performance of the proposed method, consider 400 DIDO distributed antennas in a given coverage area and 400 clients subscribing to a wireless Internet service offered over DIDO systems. It is unlikely that every Internet connection will be fully utilized all the time. Let us assume that 10% of the clients will be actively using the wireless Internet connection at any given time. Then, 400 DIDO antennas can be divided in Ng=10 groups of Na=40 antennas each, every group serving K=40 active clients at any given time with duty factor DF=0.1. The SNR gain resulting from this transmission scheme is GdB=10 log10(1/DF)=10 dB, provided by 10 dB additional transmit power from all DIDO antennas. We observe, however, that the average per-antenna transmit power is constant and is within the MPE limit. Note that our power control may have lower complexity than conventional eigenmode selection methods. In fact, the antenna ID of every group can be pre-computed and shared among DIDO antennas and clients via lookup tables, such that only K channel estimates are required at any given time. For eigenmode selection, (K+2) channel estimates are computed and additional computational processing is required to select the eigenmode that minimizes the SER at any given time for all clients. Next, we describe another method involving DIDO antenna grouping to reduce CSI feedback overhead in some special scenarios. The matrices A in In all three scenarios above, the BD precoding dynamically adjusts the precoding weights to account for different power levels over the wireless links between DIDO antennas and clients. It is convenient, however, to identify multiple groups within the DIDO cluster and operate DIDO precoding only within each group. Our proposed grouping method yields the following advantages:
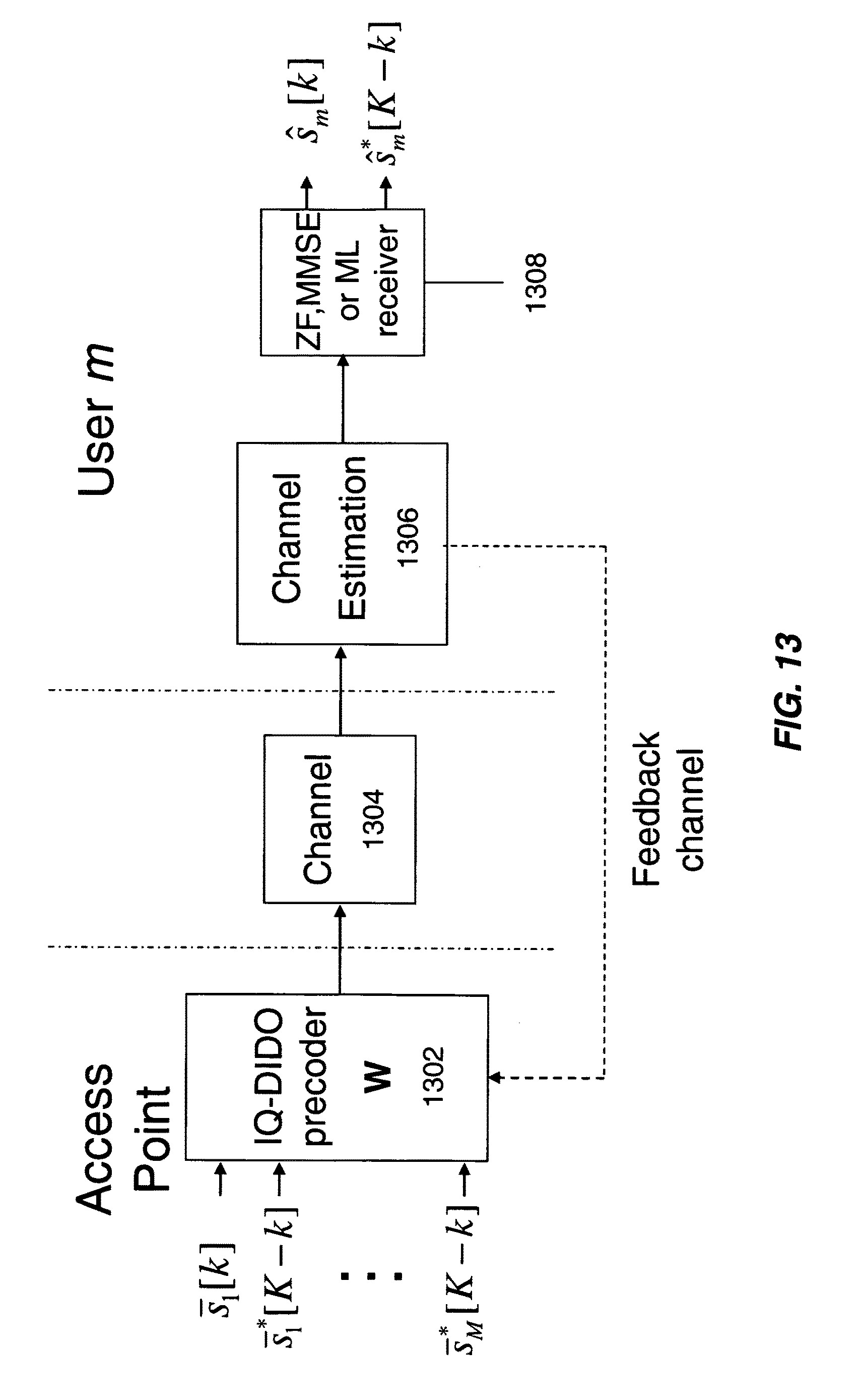
In one embodiment of the invention, different multiple access techniques are defined for the DIDO uplink channel. These techniques can be used to feedback the CSI or transmit data streams from the clients to the DIDO antennas over the uplink. Hereafter, we refer to feedback CSI and data streams as uplink streams.
In one embodiment of the invention, the clients are wireless devices that transmit at much lower power than the DIDO antennas. In this case, the DIDO BTS defines client sub-groups based on the uplink SNR information, such that interference across sub-groups is minimized. Within every sub-group, the above multiple access techniques are employed to create orthogonal channels in time, frequency, space or code domains thereby avoiding uplink interference across different clients. In another embodiment, the uplink multiple access techniques described above are used in combination with antenna grouping methods presented in the previous section to define different client groups within the DIDO cluster. System and Method for Link Adaptation in DIDO Multicarrier Systems Link adaptation methods for DIDO systems exploiting time, frequency and space selectivity of wireless channels were defined in U.S. Pat. No. 7,636,381. Described below are embodiments of the invention for link adaptation in multicarrier (OFDM) DIDO systems that exploit time/frequency selectivity of wireless channels. We simulate Rayleigh fading channels according to the exponentially decaying power delay profile (PDP) or Saleh-Valenzuela model in [9]. For simplicity, we assume single-cluster channel with multipath PDP defined as
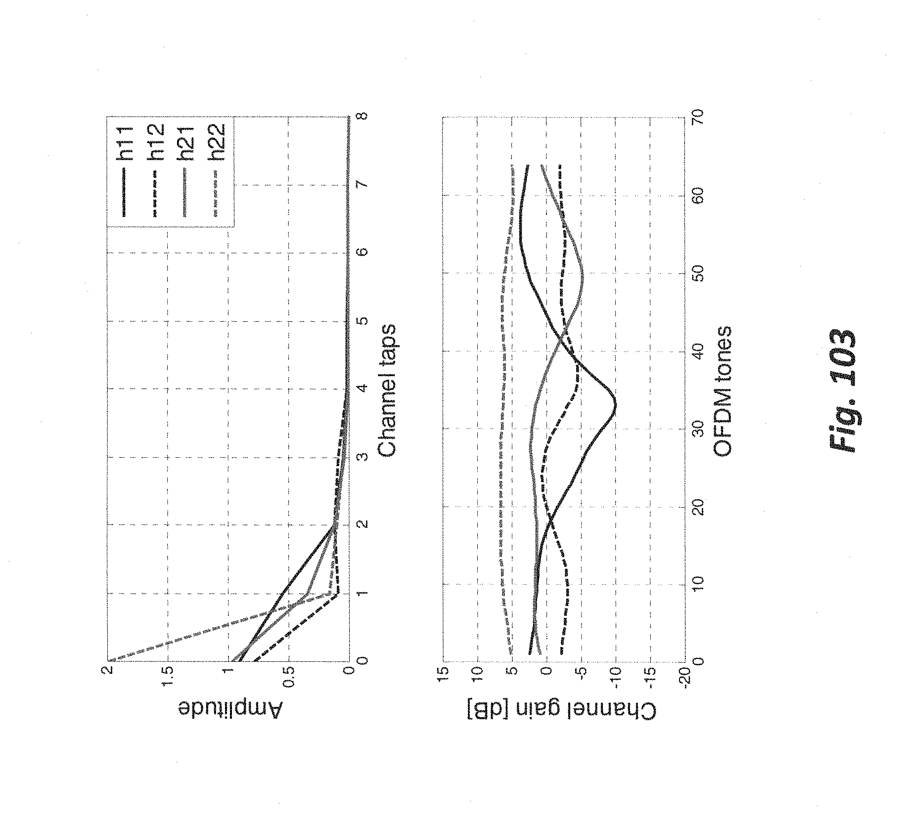
Next, we study the performance of DIDO precoding in frequency selective channels. We compute the DIDO precoding weights via BD, assuming the signal model in (1) that satisfies the condition in (2). We reformulate the DIDO receive signal model in (5), with the condition in (2), as
where Hek=HkWkis the effective channel matrix for user k. For DIDO 2×2, with a single antenna per client, the effective channel matrix reduces to one value with a frequency response shown in We begin by evaluating the performance of different MCSs in AWGN and Rayleigh fading SISO channels. For simplicity, we assume no FEC coding, but the following LA methods can be extended to systems that include FEC. The key idea of the proposed LA method for DIDO systems is to use low MCS orders when the channel undergoes deep fades in the time domain or frequency domain (depicted in The general framework of the LA methods is depicted in System and Method for DIDO Precoding Interpolation in Multicarrier Systems The computational complexity of DIDO systems is mostly localized at the centralized processor or BTS. The most computationally expensive operation is the calculation of the precoding weights for all clients from their CSI. When BD precoding is employed, the BTS has to carry out as many singular value decomposition (SVD) operations as the number of clients in the system. One way to reduce complexity is through parallelized processing, where the SVD is computed on a separate processor for every client. In multicarrier DIDO systems, each subcarrier undergoes flat-fading channel and the SVD is carried out for every client over every subcarrier. Clearly the complexity of the system increases linearly with the number of subcarriers. For example, in OFDM systems with 1 MHz signal bandwidth, the cyclic prefix (L0) must have at least eight channel taps (i.e., duration of 8 microseconds) to avoid intersymbol interference in outdoor urban macrocell environments with large delay spread [3]. The size (NFFT) of the fast Fourier transform (FFT) used to generate the OFDM symbols is typically set to multiple of L0to reduce loss of data rate. If NFFT=64, the effective spectral efficiency of the system is limited by a factor NFFT/(NFFT+L0)=89%. Larger values of NFFTyield higher spectral efficiency at the expense of higher computational complexity at the DIDO precoder. One way to reduce computational complexity at the DIDO precoder is to carry out the SVD operation over a subset of tones (that we call pilot tones) and derive the precoding weights for the remaining tones via interpolation. Weight interpolation is one source of error that results in inter-client interference. In one embodiment, optimal weight interpolation techniques are employed to reduce inter-client interference, yielding improved error rate performance and lower computational complexity in multicarrier systems. In DIDO systems with M transmit antennas, U clients and N receive antennas per clients, the condition for the precoding weights of the kthclient (Wk) that guarantees zero interference to the other clients u is derived from (2) as
In one embodiment of the invention, the objective function of the weight interpolation method is defined as The objective function in (25) is defined for one OFDM tone. In another embodiment of the invention, the objective function is defined as linear combination of the Frobenius norm in (25) of the matrices for all the OFDM tones to be interpolated. In another embodiment, the OFDM spectrum is divided into subsets of tones and the optimal solution is given by
The weight interpolation matrix Wk(θk) in (25) is expressed as a function of a set of parameters θk. Once the optimal set is determined according to (26) or (27), the optimal weight matrix is computed. In one embodiment of the invention, the weight interpolation matrix of given OFDM tone n is defined as linear combination of the weight matrices of the pilot tones. One example of weight interpolation function for beamforming systems with single client was defined in [11]. In DIDO multi-client systems we write the weight interpolation matrix as
We observe that one key difference of the system and method in [11] against the one proposed in this patent application is the objective function. In particular, the systems in [11] assumes multiple transmit antennas and single client, so the related method is designed to maximize the product of the precoding weight by the channel to maximize the receive SNR for the client. This method, however, does not work in multi-client scenarios, since it yields inter-client interference due to interpolation error. By contrast, our method is designed to minimize inter-client interference thereby improving error rate performance to all clients. One way to implement the weight interpolation method is via exhaustive search over the feasible set Θkin (26). To reduce the complexity of the search, we quantize the feasible set into P values uniformly in the range [0,2π]. In another embodiment of the invention, weight interpolation functions other than those in (28) are used. For example, linear prediction autoregressive models [12] can be used to interpolate the weights across different OFDM tones, based on estimates of the channel frequency correlation. Before data is transmitted in the MIMO system of The signal processing subsystem 107 stores the channel characterization received by each receiving antenna 105 and corresponding receiver 106. After all three transmit antennas 104 have completed their training signal transmissions, then the signal processing subsystem 107 will have stored three channel characterizations for each of three receiving antennas 105, resulting in a 3×3 matrix 108, designated as the channel characterization matrix, “H.” Each individual matrix element is the channel characterization (which is typically a vector, as described above) of the training signal transmission of transmit antenna 104 At this point, the signal processing subsystem 107 inverts the matrix H 108, to produce H−1, and awaits transmission of actual data from transmit antennas 104. Note that various prior art MIMO techniques described in available literature, can be utilized to ensure that the H matrix 108 can be inverted. In operation, a payload of data to be transmitted is presented to the data Input subsystem 100. It is then divided up into three parts by splitter 101 prior to being presented to coding and modulation subsystem 102. For example, if the payload is the ASCII bits for “abcdef,” it might be divided up into three sub-payloads of ASCII bits for “ad,” “be,” and “cf” by Splitter 101. Then, each of these sub-payloads is presented individually to the coding and modulation subsystem 102. Each of the sub-payloads is individually coded by using a coding system suitable for both statistical independence of each signal and error correction capability. These include, but are not limited to Reed-Solomon coding, Viterbi coding, and Turbo Codes. Finally, each of the three coded sub-payloads is modulated using an appropriate modulation scheme for the channel. Examples of modulation schemes are differential phase shift key (“DPSK”) modulation, 64-QAM modulation and OFDM. It should be noted here that the diversity gains provided by MIMO allow for higher-order modulation constellations that would otherwise be feasible in a SISO (Single Input-Single Output) system utilizing the same channel. Each coded and modulated signal is then transmitted through its own antenna 104 following D/A conversion by a D/A conversion unit (not shown) and RF generation by each transmitter 103. Assuming that adequate spatial diversity exists amongst the transmit and receive antennas, each of the receiving antennas 105 will receive a different combination of the three transmitted signals from antennas 104. Each signal is received and converted down to baseband by each RF receiver 106, and digitized by an A/D converter (not shown). If ynis the signal received by the nth receive antenna 105, and xnis the signal transmitted by nth transmit antenna 104, and N is noise, this can be described by the following three equations:
Given that this is a system of three equations with three unknowns, it is a matter of linear algebra for the signal processing subsystem 107 to derive x1, x2, and x3(assuming that N is at a low enough level to permit decoding of the signals):
Once the three transmitted signals xnare thus derived, they are then demodulated, decoded, and error-corrected by signal processing subsystem 107 to recover the three bit streams that were originally separated out by splitter 101. These bit streams are combined in combiner unit 108, and output as a single data stream from the data output 109. Assuming the robustness of the system is able to overcome the noise impairments, the data output 109 will produce the same bit stream that was introduced to the data Input 100. Although the prior art system just described is generally practical up to four antennas, and perhaps up to as many as 10, for the reasons described in the Background section of this disclosure, it becomes impractical with large numbers of antennas (e.g. 25, 100, or 1000). Typically, such a prior art system is two-way, and the return path is implemented exactly the same way, but in reverse, with each side of the communications channels having both transmit and receive subsystems. Certain details associated with the Base Station 200 and Client Devices 203-207 set forth above are for the purpose of illustration only and are not required for complying with the underlying principles of the invention. For example, the Base Station may be connected to a variety of different types of wide area networks via WAN interface 201 including application-specific wide area networks such as those used for digital video distribution. Similarly, the Client Devices may be any variety of wireless data processing and/or communication devices including, but not limited to cellular phones, personal digital assistants (“PDAs”), receivers, and wireless cameras. In one embodiment, the Base Station's n Antennas 202 are separated spatially such that each is transmitting and receiving signals which are not spatially correlated, just as if the Base Station was a prior art MIMO transceiver. As described in the Background, experiments have been done where antennas placed within λ/6 (i.e. ⅙ wavelength) apart successfully achieve an increase in throughput from MIMO, but generally speaking, the further apart these Base Station antennas are placed, the better the system performance, and λ/2 is a desirable minimum. Of course, the underlying principles of the invention are not limited to any particular separation between antennas. Note that a single Base Station 200 may very well have its antennas located very far apart. For example, in the HF spectrum, the antennas may be 10 meters apart or more (e.g., in an NVIS implementation mentioned above). If 100 such antennas are used, the Base Station's antenna array could well occupy several square kilometers. In addition to spatial diversity techniques, one embodiment of the invention polarizes the signal in order to increase the effective throughput of the system. Increasing channel capacity through polarization is a well known technique which has been employed by satellite television providers for years. Using polarization, it is possible to have multiple (e.g., three) Base Station or users' antennas very close to each other, and still be not spatially correlated. Although conventional RF systems usually will only benefit from the diversity of two dimensions (e.g. x and y) of polarization, the architecture described herein may further benefit from the diversity of three dimensions of polarization (x, y and z). In addition to space and polarization diversity, one embodiment of the invention employs antennas with near-orthogonal radiation patterns to improve link performance via pattern diversity. Pattern diversity can improve the capacity and error-rate performance of MIMO systems and its benefits over other antenna diversity techniques have been shown in the following papers:
Using pattern diversity, it is possible to have multiple Base Station or users' antennas very close to each other, and still be not spatially correlated. As such, the signal that each Client Device receives is processed independently from the other two received signals in its Coding, Modulation, Signal Processing subsystem 311. Thus, in contrast to a Multiple-Input (i.e. antennas 105) Multiple-Output (i.e. antennas 104) “MIMO” system, Note that this application uses different terminology than previous applications, so as to better conform with academic and industry practices. In previously cited co-pending application, SYSTEM AND METHOD FOR ENHANCING NEAR VERTICAL INCIDENCE SKYWAVE (“NVIS”) COMMUNICATION USING SPACE-TIME CODING, Ser. No. 10/817,731, Filed Apr. 2, 2004, and application Ser. No. 10/902,978 filed Jul. 30, 2004 for which this is application is a continuation-in-part, the meaning of “Input” and “Output” (in the context of SIMO, MISO, DIMO and MIDO) is reversed from how the terms are used in this application. In the prior applications, “Input” referred to the wireless signals as they are input to the receiving antennas (e.g. antennas 309 in The MIDO architecture shown in An example of how a MIDO transmission from the Base Station 300 to the Client Devices 306-308 can be accomplished is illustrated in In one embodiment of the invention, before a MIDO transmission begins, the channel is characterized. As with a MIMO system, a training signal is transmitted (in the embodiment herein described), one-by-one, by each of the antennas 405. Each Client Device 406-408 receives a training signal through its antenna 409 and converts the training signal to baseband by Transceiver 410. An A/D converter (not shown) converts the signal to digital where is it processed by each Coding, Modulation, and Signal Processing subsystem 411. Signal characterization logic 320 then characterizes the resulting signal (e.g., identifying phase and amplitude distortions as described above) and stores the characterization in memory. This characterization process is similar to that of prior art MIMO systems, with a notable difference being that the each client device only computes the characterization vector for its one antenna, rather than for n antennas. For example, the Coding Modulation and Signal Processing subsystem 420 of client device 406 is initialized with a known pattern of the training signal (either at the time of manufacturing, by receiving it in a transmitted message, or through another initialization process). When antenna 405 transmits the training signal with this known pattern, Coding Modulation and Signal Processing subsystem 420 uses correlation methods to find the strongest received pattern of the training signal, it stores the phase and amplitude offset, then it subtracts this pattern from the received signal. Next, it finds then second strongest received pattern that correlates to the training signal, it stores the phase and amplitude offset, then it subtracts this second strongest pattern from the received signal. This process continues until either some fixed number of phase and amplitude offsets are stored (e.g. eight), or a detectable training signal pattern drops below a given noise floor. This vector of phase/amplitude offsets becomes element H11of the vector 413. Simultaneously, Coding Modulation and Signal Processing subsystems for Client Devices 407 and 408 implement the produce their vector elements H21and H31. The memory in which the characterization is stored may be a non-volatile memory such as a Flash memory or a hard drive and/or a volatile memory such as a random access memory (e.g., SDRAM, RDAM). Moreover, different Client Devices may concurrently employ different types of memories to store the characterization information (e.g., PDA's may use Flash memory whereas notebook computers may use a hard drive). The underlying principles of the invention are not limited to any particular type of storage mechanism on the various Client Devices or the Base Station. As mentioned above, depending on the scheme employed, since each Client Device 406-408 has only one antenna, each only stores a 1×3 row 413-415 of the H matrix. As indicated in Although all three antennas 505 are shown receiving the signal in As the Coding, Modulation and Signal Processing subsystem 503 of Base Station 500 receives the 1×3 row 513-515, from each Client Device 507-508, it stores it in a 3×3H matrix 516. As with the Client Devices, the Base Station may employ various different storage technologies including, but not limited to non-volatile mass storage memories (e.g., hard drives) and/or volatile memories (e.g., SDRAM) to store the matrix 516. One embodiment of a MIDO transmission from a Base Station 600 to Client Devices 606-608 will now be described with reference to The three bit streams, u1-u3, shown in Before explaining how the bit streams are received by the Client Devices 606-608, the operations performed by the precoding module 630 will be described. Similar to the MIMO example from However, unlike the MIMO example of Thus, unlike MIMO, where each x, is calculated at the receiver after the signals have been transformed by the channel, the embodiments of the invention described herein solve for each viat the transmitter before the signals have been transformed by the channel. Each antenna 609 receives uialready separated from the other un−1bit streams intended for the other antennas 609. Each Transceiver 610 converts each received signal to baseband, where it is digitized by an A/D converter (now shown), and each Coding, Modulation and Signal Processing subsystem 611, demodulates and decodes the xibit stream intended for it, and sends its bit stream to a Data Interface 612 to be used by the Client Device (e.g., by an application on the client device). The embodiments of the invention described herein may be implemented using a variety of different coding and modulation schemes. For example, in an OFDM implementation, where the frequency spectrum is separated into a plurality of sub-bands, the techniques described herein may be employed to characterize each individual sub-band. As mentioned above, however, the underlying principles of the invention are not limited to any particular modulation scheme. If the Client Devices 606-608 are portable data processing devices such as PDAs, notebook computers, and/or wireless telephones the channel characterization may change frequently as the Client Devices may move from one location to another. As such, in one embodiment of the invention, the channel characterization matrix 616 at the Base Station is continually updated. In one embodiment, the Base Station 600 periodically (e.g., every 250 milliseconds) sends out a new training signal to each Client Device, and each Client Device continually transmits its channel characterization vector back to the Base Station 600 to ensure that the channel characterization remains accurate (e.g. if the environment changes so as to affect the channel or if a Client Device moves). In one embodiment, the training signal is interleaved within the actual data signal sent to each client device. Typically, the training signals are much lower throughput than the data signals, so this would have little impact on the overall throughput of the system. Accordingly, in this embodiment, the channel characterization matrix 616 may be updated continuously as the Base Station actively communicates with each Client Device, thereby maintaining an accurate channel characterization as the Client Devices move from one location to the next or if the environment changes so as to affect the channel. One embodiment of the invention illustrated in As mentioned above, each signal's characterization may include many factors including, for example, phase and amplitude relative to a reference internal to the receiver, an absolute reference, a relative reference, characteristic noise, or other factors. For example, in a quadrature amplitude modulation (“QAM”)-modulated signal the characterization might be a vector of the phase and amplitude offsets of several multipath images of the signal. As another example, in an orthogonal frequency division multiplexing (“OFDM”)-modulated signal, it might be a vector of the phase and amplitude offsets of several or all of the individual sub-signals in the OFDM spectrum. The training signal may be generated by each Client Device's coding and modulation subsystem 711, converted to analog by a D/A converter (not shown), and then converted from baseband to RF by each Client Device's transmitter 709. In one embodiment, in order to ensure that the training signals are synchronized, Client Devices only transmit training signals when requested by the Base Station (e.g., in a round robin manner). In addition, training signals may be interleaved within or transmitted concurrently with the actual data signal sent from each client device. Thus, even if the Client Devices 706-708 are mobile, the training signals may be continuously transmitted and analyzed by the upstream channel characterization logic 741, thereby ensuring that the channel characterization matrix 741 remains up-to-date. The total channel capacity supported by the foregoing embodiments of the invention may be defined as min (N, M) where M is the number of Client Devices and N is the number of Base Station antennas. That is, the capacity is limited by the number of antennas on either the Base Station side or the Client side. As such, one embodiment of the invention employs synchronization techniques to ensure that no more than min (N, M) antennas are transmitting/receiving at a given time. In a typical scenario, the number of antennas 705 on the Base Station 700 will be less than the number of Client Devices 706-708. An exemplary scenario is illustrated in In one embodiment, in addition to standard data communications, the Base Station may employ the foregoing techniques to transmit training signals to each of the Client Devices and receive training signals and signal characterization data from each of the Client Devices. In one embodiment, certain Client Devices or groups of client devices may be allocated different levels of throughput. For example, Client Devices may be prioritized such that relatively higher priority Client Devices may be guaranteed more communication cycles (i.e., more throughput) than relatively lower priority client devices. The “priority” of a Client Device may be selected based on a number of variables including, for example, the designated level of a user's subscription to the wireless service (e.g., user's may be willing to pay more for additional throughput) and/or the type of data being communicated to/from the Client Device (e.g., real-time communication such as telephony audio and video may take priority over non-real time communication such as email). In one embodiment of the Base Station dynamically allocates throughput based on the Current Load required by each Client Device. For example, if Client Device 804 is streaming live video and the other devices 805-808 are performing non-real time functions such as email, then the Base Station 800 may allocate relatively more throughput to this client 804. It should be noted, however, that the underlying principles of the invention are not limited to any particular throughput allocation technique. As illustrated in Alternatively, in one embodiment, the Base Station 900 communicates with both Client Devices 907 and 908 concurrently, but multiplexes the communication channel using known channel multiplexing techniques. For example, the Base Station may employ time division multiplexing (“TDM”), frequency division multiplexing (“FDM”) or code division multiple access (“CDMA”) techniques to divide the single, spatially-correlated signal between Client Devices 907 and 908. Although each Client Device described above is equipped with a single antenna, the underlying principles of the invention may be employed using Client Devices with multiple antennas to increase throughput. For example, when used on the wireless systems described above, a client with 2 antennas will realize a 2× increase in throughput, a client with 3 antennas will realize a 3× increase in throughput, and so on (i.e., assuming that the spatial and angular separation between the antennas is sufficient). The Base Station may apply the same general rules when cycling through Client Devices with multiple antennas. For example, it may treat each antenna as a separate client and allocate throughput to that “client” as it would any other client (e.g., ensuring that each client is provided with an adequate or equivalent period of communication). As mentioned above, one embodiment of the invention employs the MIDO and/or MIMO signal transmission techniques described above to increase the signal-to-noise ratio and throughput within a Near Vertical Incidence Skywave (“NVIS”) system. Referring to The NVIS antennas serving a given station may be physically very far apart from each other. Given the long wavelengths below 10 MHz and the long distance traveled for the signals (as much as 300 miles round trip), physical separation of the antennas by 100s of yards, and even miles, can provide advantages in diversity. In such situations, the individual antenna signals may be brought back to a centralized location to be processed using conventional wired or wireless communications systems. Alternatively, each antenna can have a local facility to process its signals, then use conventional wired or wireless communications systems to communicate the data back to a centralized location. In one embodiment of the invention, NVIS Station 1001 has a broadband link 1015 to the Internet 1010 (or other wide area network), thereby providing the client devices 1003 with remote, high speed, wireless network access. In one embodiment, the Base Station and/or users may exploit polarization/pattern diversity techniques described above to reduce the array size and/or users' distance while providing diversity and increased throughput. As an example, in MIDO systems with HF transmissions, the users may be in the same location and yet their signals be uncorrelated because of polarization/pattern diversity. In particular, by using pattern diversity, one user may be communicating to the Base Station via groundwave whereas the other user via NVIS. One embodiment of the invention employs a system and method to compensate for in-phase and quadrature (I/Q) imbalance in distributed-input distributed-output (DIDO) systems with orthogonal frequency division multiplexing (OFDM). Briefly, according to this embodiment, user devices estimate the channel and feedback this information to the Base Station; the Base Station computes the precoding matrix to cancel inter-carrier and inter-user interference caused by I/Q imbalance; and parallel data streams are transmitted to multiple user devices via DIDO precoding; the user devices demodulate data via zero-forcing (ZF), minimum mean-square error (MMSE) or maximum likelihood (ML) receiver to suppress residual interference. As described in detail below, some of the significant features of this embodiment of the invention include, but are not limited to: Precoding to cancel inter-carrier interference (ICI) from mirror tones (due to I/Q mismatch) in OFDM systems; Precoding to cancel inter-user interference and ICI (due to I/Q mismatch) in DIDO-OFDM systems; Techniques to cancel ICI (due to I/Q mismatch) via ZF receiver in DIDO-OFDM systems employing block diagonalization (BD) precoder; Techniques to cancel inter-user interference and ICI (due to I/Q mismatch) via precoding (at the transmitter) and a ZF or MMSE filter (at the receiver) in DIDO-OFDM systems; Techniques to cancel inter-user interference and ICI (due to I/Q mismatch) via pre-coding (at the transmitter) and a nonlinear detector like a maximum likelihood (ML) detector (at the receiver) in DIDO-OFDM systems; The use of pre-coding based on channel state information to cancel inter-carrier interference (ICI) from mirror tones (due to I/Q mismatch) in OFDM systems; The use of pre-coding based on channel state information to cancel inter-carrier interference (ICI) from mirror tones (due to I/Q mismatch) in DIDO-OFDM systems; The use of an I/Q mismatch aware DIDO precoder at the station and an IQ-aware DIDO receiver at the user terminal; The use of an I/Q mismatch aware DIDO precoder at the station, an I/Q aware DIDO receiver at the user terminal, and an I/Q aware channel estimator; The use of an I/Q mismatch aware DIDO precoder at the station, an I/Q aware DIDO receiver at the user terminal, an I/Q aware channel estimator, and an I/Q aware DIDO feedback generator that sends channel state information from the user terminal to the station; The use of an I/Q mismatch-aware DIDO precoder at the station and an I/Q aware DIDO configurator that uses I/Q channel information to perform functions including user selection, adaptive coding and modulation, space-time-frequency mapping, or precoder selection; The use of an I/Q aware DIDO receiver that cancels ICI (due to I/Q mismatch) via ZF receiver in DIDO-OFDM systems employing block diagonalization (BD) precoder; The use of an I/Q aware DIDO receiver that cancels ICI (due to I/Q mismatch) via pre-coding (at the transmitter) and a nonlinear detector like a maximum likelihood detector (at the receiver) in DIDO-OFDM systems; and The use of an I/Q aware DIDO receiver that cancels ICI (due to I/Q mismatch) via ZF or MMSE filter in DIDO-OFDM systems. The transmit and receive signals of typical wireless communication systems consist of in-phase and quadrature (I/Q) components. In practical systems, the inphase and quadrature components may be distorted due to imperfections in the mixing and baseband operations. These distortions manifest as I/Q phase, gain and delay mismatch. Phase imbalance is caused by the sine and cosine in the modulator/demodulator not being perfectly orthogonal. Gain imbalance is caused by different amplifications between the inphase and quadrature components. There may be an additional distortion, called delay imbalance, due to difference in delays between the I- and Q-rails in the analog circuitry. In orthogonal frequency division multiplexing (OFDM) systems, I/Q imbalance causes inter-carrier interference (ICI) from the mirror tones. This effect has been studied in the literature and methods to compensate for I/Q mismatch in single-input single-output SISO-OFDM systems have been proposed in M. D. Benedetto and P. Mandarini, “Analysis of the effect of the I/Q baseband filter mismatch in an OFDM modem,” Wireless personal communications, pp. 175-186, 2000; S. Schuchert and R. Hasholzner, “A novel I/Q imbalance compensation scheme for the reception of OFDM signals,” IEEE Transaction on Consumer Electronics, August 2001; M. Valkama, M. Renfors, and V. Koivunen, “Advanced methods for I/Q imbalance compensation in communication receivers,” IEEE Trans. Sig. Proc., October 2001; R. Rao and B. Daneshrad, “Analysis of I/Q mismatch and a cancellation scheme for OFDM systems,” IST Mobile Communication Summit, June 2004; A. Tarighat, R. Bagheri, and A. H. Sayed, “Compensation schemes and performance analysis of IQ imbalances in OFDM receivers,” Signal Processing, IEEE Transactions on [see also Acoustics, Speech, and Signal Processing, IEEE Transactions on], vol. 53, pp. 3257-3268, August 2005. An extension of this work to multiple-input multiple-output MIMO-OFDM systems was presented in R. Rao and B. Daneshrad, “I/Q mismatch cancellation for MIMO OFDM systems,” in Personal, Indoor and Mobile Radio Communications, 2004; PIMRC 2004. 15th IEEE International Symposium on, vol. 4, 2004, pp. 2710-2714. R. M. Rao, W. Zhu, S. Lang, C. Oberli, D. Browne, J. Bhatia, J. F. Frigon, J. Wang, P; Gupta, H. Lee, D. N. Liu, S. G. Wong, M. Fitz, B. Daneshrad, and O. Takeshita, “Multi-antenna testbeds for research and education in wireless communications,” IEEE Communications Magazine, vol. 42, no. 12, pp. 72-81, December 2004; S. Lang, M. R. Rao, and B. Daneshrad, “Design and development of a 5.25 GHz software defined wireless OFDM communication platform,” IEEE Communications Magazine, vol. 42, no. 6, pp. 6-12, June 2004, for spatial multiplexing (SM) and in A. Tarighat and A. H. Sayed, “MIMO OFDM receivers for systems with IQ imbalances,” IEEE Trans. Sig. Proc., vol. 53, pp. 3583-3596, September 2005, for orthogonal space-time block codes (OSTBC). Unfortunately, there is currently no literature on how to correct for I/Q gain and phase imbalance errors in a distributed-input distributed-output (DIDO) communication system. The embodiments of the invention described below provide a solution to these problems. DIDO systems consist of one Base Station with distributed antennas that transmits parallel data streams (via pre-coding) to multiple users to enhance downlink throughput, while exploiting the same wireless resources (i.e., same slot duration and frequency band) as conventional SISO systems. A detailed description of DIDO systems was presented in S. G. Perlman and T. Cotter, “System and Method for Distributed Input-Distributed Output Wireless Communications,” Ser. No. 10/902,978, filed Jul. 30, 2004 (“Prior Application”), which is assigned to the assignee of the present application and which is incorporated herein by reference. There are many ways to implement DIDO precoders. One solution is block diagonalization (BD) described in Q. H. Spencer, A. L. Swindlehurst, and M. Haardt, “Zero forcing methods for downlink spatial multiplexing in multiuser MIMO channels,” IEEE Trans. Sig. Proc., vol. 52, pp. 461-471, February 2004. K. K. Wong, R. D. Murch, and K. B. Letaief, “A joint channel diagonalization for multiuser MIMO antenna systems,” IEEE Trans. Wireless Comm., vol. 2, pp. 773-786, July 2003; L. U. Choi and R. D. Murch, “A transmit preprocessing technique for multiuser MIMO systems using a decomposition approach,” IEEE Trans. Wireless Comm., vol. 3, pp. 20-24, January 2004; Z. Shen, J. G. Andrews, R. W. Heath, and B. L. Evans, “Low complexity user selection algorithms for multiuser MIMO systems with block diagonalization,” accepted for publication in IEEE Trans. Sig. Proc., September 2005; Z. Shen, R. Chen, J. G. Andrews, R. W. Heath, and B. L. Evans, “Sum capacity of multiuser MIMO broadcast channels with block diagonalization,” submitted to IEEE Trans. Wireless Comm., October 2005; R. Chen, R. W. Heath, and J. G. Andrews, “Transmit selection diversity for unitary precoded multiuser spatial multiplexing systems with linear receivers,” accepted to IEEE Trans. on Signal Processing, 2005. The methods for I/Q compensation presented in this document assume BD precoder, but can be extended to any type of DIDO precoder. In DIDO-OFDM systems, I/Q mismatch causes two effects: ICI and inter-user interference. The former is due to interference from the mirror tones as in SISO-OFDM systems. The latter is due to the fact that I/Q mismatch destroys the orthogonality of the DIDO precoder yielding interference across users. Both of these types of interference can be cancelled at the transmitter and receiver through the methods described herein. Three methods for I/Q compensation in DIDO-OFDM systems are described and their performance is compared against systems with and without I/Q mismatch. Results are presented based both on simulations and practical measurements carried out with the DIDO-OFDM prototype. The present embodiments are an extension of the Prior Application. In particular, these embodiments relate to the following features of the Prior Application: The system as described in the prior application, where the I/Q rails are affected by gain and phase imbalance; The training signals employed for channel estimation are used to calculate the DIDO precoder with I/Q compensation at the transmitter; and The signal characterization data accounts for distortion due to I/Q imbalance and is used at the transmitter to compute the DIDO precoder according to the method proposed in this document. First, the mathematical model and framework of the invention will be described. Before presenting the solution, it is useful to explain the core mathematical concept. We explain it assuming I/Q gain and phase imbalance (phase delay is not included in the description but is dealt with automatically in the DIDO-OFDM version of the algorithm). To explain the basic idea, suppose that we want to multiply two complex numbers s=sI+jsQand h=hI+jhQand let x=h*s. We use the subscripts to denote inphase and quadrature components. Recall that
In matrix form this can be rewritten as Note the unitary transformation by the channel matrix (H). Now suppose that s is the transmitted symbol and h is the channel. The presence of I/Q gain and phase imbalance can be modeled by creating a non-unitary transformation as follows The trick is to recognize that it is possible to write Now, rewriting (A) Let us define Both of these matrices have a unitary structure thus can be equivalently represented by complex scalars as
Using all of these observations, we can put the effective equation back in a scalar form with two channels: the equivalent channel heand the conjugate channel hc. Then the effective transformation in (5) becomes
We refer to the first channel as the equivalent channel and the second channel as the conjugate channel. The equivalent channel is the one you would observe if there were no I/Q gain and phase imbalance. Using similar arguments, it can be shown that the input-output relationship of a discrete-time MIMO N×M system with I/Q gain and phase imbalance is (using the scalar equivalents to build their matrix counterparts) In DIDO-OFDM systems, the received signal in the frequency domain is represented. Recall from signals and systems that if
The second contribution in (1) is interference from the mirror tone. It can be dealt with by constructing the following stacked matrix system (note carefully the conjugates) Using this approach, an effective matrix is built to use for DIDO operation. For example, with DIDO 2×2 the input-output relationship (assuming each user has a single receive antenna) the first user device sees (in the absence of noise) There are several different embodiments of the DIDO precoder that can be used here depending on joint detection applied at the receiver. In one embodiment, block diagonalization (BD) is employed (see, e.g., Q. H. Spencer, A. L. Swindlehurst, and M. Haardt, “Zeroforcing methods for downlink spatial multiplexing in multiuser MIMO channels,” IEEE Trans. Sig. Proc., vol. 52, pp. 461-471, February 2004. K. K. Wong, R. D. Murch, and K. B. Letaief, “A joint channel diagonalization for multiuser MIMO antenna systems,” IEEE Trans. Wireless Comm., vol. 2, pp. 773-786, July 2003. L. U. Choi and R. D. Murch, “A transmit preprocessing technique for multiuser MIMO systems using a decomposition approach,” IEEE Trans. Wireless Comm., vol. 3, pp. 20-24, January 2004. Z. Shen, J. G. Andrews, R. W. Heath, and B. L. Evans, “Low complexity user selection algorithms for multiuser MIMO systems with block diagonalization,” accepted for publication in IEEE Trans. Sig. Proc., September 2005. Z. Shen, R. Chen, J. G. Andrews, R. W. Heath, and B. L. Evans, “Sum capacity of multiuser MIMO broadcast channels with block diagonalization,” submitted to IEEE Trans. Wireless Comm., October 2005, computed from the composite channel [He(m), Hc(m)] (rather than He(m)). So, the current DIDO system chooses the precoder such that It is also possible to design DIDO precoders that pre-cancel inter-user interference, without pre-cancelling ICI due to 10 imbalance. With this approach, the receiver (instead of the transmitter) compensates for the IQ imbalance by employing one of the receive filters described below. Then, the pre-coding design criterion in (4) can be modified as where At the receive side, to estimate the transmit symbol vector While the ZF filter is the easiest to understand, the receiver may apply any number of other filters known to those skilled in the art. One popular choice is the MMSE filter where
Note that Hw(1,2)and Hw(2,1)in (6) and (7) are assumed to have zero entries. This assumption holds only if the transmit precoder is able to cancel completely the inter-user interference as for the criterion in (4). Similarly, Hw(1,1)and Hw(2,2)are diagonal matrices only if the transmit precoder is able to cancel completely the inter-carrier interference (i.e., from the mirror tones). The following three embodiments may be employed to implement this I/Q compensation algorithm: Method 1—TX compensation: In this embodiment, the transmitter calculates the pre-coding matrix according to the criterion in (4). At the receiver, the user devices employ a “simplified” ZF receiver, where Hw(1,1)and Hw(2,2)are assumed to be diagonal matrices. Hence, equation (8) simplifies as Method 2—RX compensation: In this embodiment, the transmitter calculates the pre-coding matrix based on the conventional BD method described in R. Chen, R. W. Heath, and J. G. Andrews, “Transmit selection diversity for unitary precoded multiuser spatial multiplexing systems with linear receivers,” accepted to IEEE Trans. on Signal Processing, 2005, without canceling inter-carrier and inter-user interference as for the criterion in (4). With this method, the pre-coding matrix in (2) and (3) simplifies as At the receiver, the user devices employ a ZF filter as in (8). Note that this method does not pre-cancel the interference at the transmitter as in the method 1 above. Hence, it cancels the inter-carrier interference at the receiver, but it is not able to cancel the inter-user interference. Moreover, in method 2 the users only need to feedback the vector He(m)for the transmitter to compute the DIDO precoder, as opposed to method 1 that requires feedback of both He(m)and Hc(m). Therefore, method 2 is particularly suitable for DIDO systems with low rate feedback channels. On the other hand, method 2 requires slightly higher computational complexity at the user device to compute the ZF receiver in (8) rather than (11). Method 3—TX-RX compensation: In one embodiment, the two methods described above are combined. The transmitter calculates the pre-coding matrix as in (4) and the receivers estimate the transmit symbols according to (8). I/Q imbalance, whether phase imbalance, gain imbalance, or delay imbalance, creates a deleterious degradation in signal quality in wireless communication systems. For this reason, circuit hardware in the past was designed to have very low imbalance. As described above, however, it is possible to correct this problem using digital signal processing in the form of transmit pre-coding and/or a special receiver. One embodiment of the invention comprises a system with several new functional units, each of which is important for the implementation of I/Q correction in an OFDM communication system or a DIDO-OFDM communication system. One embodiment of the invention uses pre-coding based on channel state information to cancel inter-carrier interference (ICI) from mirror tones (due to I/Q mismatch) in an OFDM system. As illustrated in The user selector unit 1102 selects data associated with a plurality of users U1-UM, based on the feedback information obtained by the feedback unit 1112, and provides this information each of the plurality of coding modulation units 1104. Each coding modulation unit 1104 encodes and modulates the information bits of each user and send them to the mapping unit 1106. The mapping unit 1106 maps the input bits to complex symbols and sends the results to the DIDO IQ-aware precoding unit 1108. The DIDO IQ-aware precoding unit 1108 exploits the channel state information obtained by the feedback unit 1112 from the users to compute the DIDO IQ-aware precoding weights and precoding the input symbols obtained from the mapping units 1106. Each of the precoded data streams is sent by the DIDO IQ-aware precoding unit 1108 to the OFDM unit 1115 that computes the IFFT and adds the cyclic prefix. This information is sent to the D/A unit 1116 that operates the digital to analog conversion and send it to the RF unit 1114. The RF unit 1114 upconverts the baseband signal to intermediate/radio frequency and send it to the transmit antenna. The precoder operates on the regular and mirror tones together for the purpose of compensating for I/Q imbalance. Any number of precoder design criteria may be used including ZF, MMSE, or weighted MMSE design. In a preferred embodiment, the precoder completely removes the ICI due to I/Q mismatch thus resulting in the receiver not having to perform any additional compensation. In one embodiment, the precoder uses a block diagonalization criterion to completely cancel inter-user interference while not completely canceling the I/Q effects for each user, requiring additional receiver processing. In another embodiment, the precoder uses a zero-forcing criterion to completely cancel both inter-user interference and ICI due to I/Q imbalance. This embodiment can use a conventional DIDO-OFDM processor at the receiver. One embodiment of the invention uses pre-coding based on channel state information to cancel inter-carrier interference (ICI) from mirror tones (due to I/Q mismatch) in a DIDO-OFDM system and each user employs an IQ-aware DIDO receiver. As illustrated in The RF units 1208 receive signals transmitted from the DIDO transmitter units 1114 downconverts the signals to baseband and provide the downconverted signals to the A/D units 1210. The A/D units 1210 then convert the signal from analog to digital and send it to the OFDM units 1213. The OFDM units 1213 remove the cyclic prefix and operates the FFT to report the signal to the frequency domain. During the training period the OFDM units 1213 send the output to the IQ-aware channel estimate unit 1204 that computes the channel estimates in the frequency domain. Alternatively, the channel estimates can be computed in the time domain. During the data period the OFDM units 1213 send the output to the IQ-aware receiver unit 1202. The IQ-aware receiver unit 1202 computes the IQ receiver and demodulates/decodes the signal to obtain the data 1214. The IQ-aware channel estimate unit 1204 sends the channel estimates to the DIDO feedback generator unit 1206 that may quantize the channel estimates and send it back to the transmitter via the feedback control channel 1112. The receiver 1202 illustrated in In one embodiment, an IQ-aware channel estimator 1204 is used to determine the receiver coefficients to remove ICI. Consequently we claim a DIDO-OFDM system that uses pre-coding based on channel state information to cancel inter-carrier interference (ICI) from mirror tones (due to I/Q mismatch), an IQ-aware DIDO receiver, and an IQ-aware channel estimator. The channel estimator may use a conventional training signal or may use specially constructed training signals sent on the inphase and quadrature signals. Any number of estimation algorithms may be implemented including least squares, MMSE, or maximum likelihood. The IQ-aware channel estimator provides an input for the IQ-aware receiver. Channel state information can be provided to the station through channel reciprocity or through a feedback channel. One embodiment of the invention comprises a DIDO-OFDM system, with I/Q-aware precoder, with an I/Q-aware feedback channel for conveying channel state information from the user terminals to the station. The feedback channel may be a physical or logical control channel. It may be dedicated or shared, as in a random access channel. The feedback information may be generated using a DIDO feedback generator at the user terminal, which we also claim. The DIDO feedback generator takes as an input the output of the I/Q aware channel estimator. It may quantize the channel coefficients or may use any number of limited feedback algorithms known in the art. The allocation of users, modulation and coding rate, mapping to space-time-frequency code slots may change depending on the results of the DIDO feedback generator. Thus, one embodiment comprises an IQ-aware DIDO configurator that uses an IQ-aware channel estimate from one or more users to configure the DIDO IQ-aware precoder, choose the modulation rate, coding rate, subset of users allowed to transmit, and their mappings to space-time-frequency code slots. To evaluate the performance of the proposed compensation methods, three DIDO 2×2 systems will be compared: 1. With I/Q mismatch: transmit over all the tones (except DC and edge tones), without compensation for I/Q mismatch; 2. With I/Q compensation: transmit over all the tones and compensate for I/Q mismatch by using the “method 1” described above; 3. Ideal: transmit data only over the odd tones to avoid inter-user and inter-carrier (i.e., from the mirror tones) interference caused to I/Q mismatch. Hereafter, results obtained from measurements with the DIDO-OFDM prototype in real propagation scenarios are presented. Moreover, observe that the SER performance with I/Q compensation is very close to the ideal case. The 2 dB gap in TX power between these two cases is due to possible phase noise that yields additional interference between adjacent OFDM tones. Finally, the goodput curves 1502 show that it is possible to transmit twice as much data when the I/Q method is applied compared to the ideal case, since we use all the data tones rather than only the odd tones (as for the ideal case). Finally, the relative SER performance of the three methods described above is measured in different propagation conditions. For reference, also described is the SER performance in presence of I/Q mismatch. So far, different methods have been compared by considering only a limited set of propagation scenarios as in Thus, given the three novel methods to compensate for I/Q imbalance in DIDO-OFDM systems described above, Method 3 outperforms the other proposed compensation methods. In systems with low rate feedback channels, method 2 can be used to reduce the amount of feedback required for the DIDO precoder, at the expense of worse SER performance. Another embodiment of a system and method to enhance the performance of distributed-input distributed-output (DIDO) systems will now be described. This method dynamically allocates the wireless resources to different user devices, by tracking the changing channel conditions, to increase throughput while satisfying certain target error rate. The user devices estimate the channel quality and feedback it to the Base Station (BS); the Base Station processes the channel quality obtained from the user devices to select the best set of user devices, DIDO scheme, modulation/coding scheme (MCS) and array configuration for the next transmission; the Base Station transmits parallel data to multiple user devices via pre-coding and the signals are demodulated at the receiver. A system that efficiently allocates resources for a DIDO wireless link is also described. The system includes a DIDO Base Station with a DIDO configurator, which processes feedback received from the users to select the best set of users, DIDO scheme, modulation/coding scheme (MCS) and array configuration for the next transmission; a receiver in a DIDO system that measures the channel and other relevant parameters to generate a DIDO feedback signal; and a DIDO feedback control channel for conveying feedback information from users to the Base Station. As described in detail below, some of the significant features of this embodiment of the invention include, but are not limited to: Techniques to adaptively select number of users, DIDO transmission schemes (i.e., antenna selection or multiplexing), modulation/coding scheme (MCS) and array configurations based on the channel quality information, to minimize SER or maximize per-user or downlink spectral efficiency; Techniques to define sets of DIDO transmission modes as combinations of DIDO schemes and MCSs; Techniques to assign different DIDO modes to different time slots, OFDM tones and DIDO substreams, depending on the channel conditions; Techniques to dynamically assign different DIDO modes to different users based on their channel quality; Criteria to enable adaptive DIDO switching based on link quality metrics computed in the time, frequency and space domains; Criteria to enable adaptive DIDO switching based on lookup tables. A DIDO system with a DIDO configurator at the Base Station as in A DIDO system with a DIDO configurator at the Base Station and a DIDO feedback generator at each user device as in A DIDO system with a DIDO configurator at the Base Station, DIDO feedback generator, and a DIDO feedback control channel for conveying DIDO-specific configuration information from the users to the Base Station. In multiple-input multiple-output (MIMO) systems, diversity schemes such as orthogonal space-time block codes (OSTBC) (See V. Tarokh, H. Jafarkhani, and A. R. Calderbank, “Spacetime block codes from orthogonal designs,” IEEE Trans. Info. Th., vol. 45, pp. 1456-467, July 1999) or antenna selection (See R. W. Heath Jr., S. Sandhu, and A. J. Paulraj, “Antenna selection for spatial multiplexing systems with linear receivers,” IEEE Trans. Comm., vol. 5, pp. 142-144, April 2001) are conceived to combat channel fading, providing increased link robustness that translates in better coverage. On the other hand, spatial multiplexing (SM) enables transmission of multiple parallel data streams as a means to enhance systems throughput. See G. J. Foschini, G. D. Golden, R. A. Valenzuela, and P. W. Wolniansky, “Simplified processing for high spectral efficiency wireless communication employing multielement arrays,” IEEE Jour. Select. Areas in Comm., vol. 17, no. 11, pp. 1841-1852, November 1999. These benefits can be simultaneously achieved in MIMO systems, according to the theoretical diversity/multiplexing tradeoffs derived in L. Zheng and D. N. C. Tse, “Diversity and multiplexing: a fundamental tradeoff in multiple antenna channels,” IEEE Trans. Info. Th., vol. 49, no. 5, pp. 1073-1096, May 2003. One practical implementation is to adaptively switch between diversity and multiplexing transmission schemes, by tracking the changing channel conditions. A number of adaptive MIMO transmission techniques have been proposed thus far. The diversity/multiplexing switching method in R. W. Heath and A. J. Paulraj, “Switching between diversity and multiplexing in MIMO systems,” IEEE Trans. Comm., vol. 53, no. 6, pp. 962-968, June 2005, was designed to improve BER (Bit Error Rate) for fixed rate transmission, based on instantaneous channel quality information. Alternatively, statistical channel information can be employed to enable adaptation as in S. Catreux, V. Erceg, D. Gesbert, and R. W. Heath. Jr., “Adaptive modulation and MIMO coding for broadband wireless data networks,” IEEE Comm. Mag., vol. 2, pp. 108-115, June 2002 (“Catreux”), resulting in reduced feedback overhead and number of control messages. The adaptive transmission algorithm in Catreux was designed to enhance spectral efficiency for predefined target error rate in orthogonal frequency division multiplexing (OFDM) systems, based on channel time/frequency selectivity indicators. Similar low feedback adaptive approaches have been proposed for narrowband systems, exploiting the channel spatial selectivity to switch between diversity schemes and spatial multiplexing. See, e.g., A. Forenza, M. R. McKay, A. Pandharipande, R. W. Heath. Jr., and I. B. Collings, “Adaptive MIMO transmission for exploiting the capacity of spatially correlated channels,” accepted to the IEEE Trans. on Veh. Tech., March 2007; M. R. McKay, I. B. Collings, A. Forenza, and R. W. Heath. Jr., “Multiplexing/beamforming switching for coded MIMO in spatially correlated Rayleigh channels,” accepted to the IEEE Trans. on Veh. Tech., December 2007; A. Forenza, M. R. McKay, R. W. Heath. Jr., and I. B. Collings, “Switching between OSTBC and spatial multiplexing with linear receivers in spatially correlated MIMO channels,” Proc. IEEE Veh. Technol. Conf., vol. 3, pp. 1387-1391, May 2006; M. R. McKay, I. B. Collings, A. Forenza, and R. W. Heath Jr., “A throughput-based adaptive MIMO BICM approach for spatially correlated channels,” to appear in Proc. IEEE ICC, June 2006 In this document, we extend the scope of the work presented in various prior publications to DIDO-OFDM systems. See, e.g., R. W. Heath and A. J. Paulraj, “Switching between diversity and multiplexing in MIMO systems,” IEEE Trans. Comm., vol. 53, no. 6, pp. 962-968, June 2005. S. Catreux, V. Erceg, D. Gesbert, and R. W. Heath Jr., “Adaptive modulation and MIMO coding for broadband wireless data networks,” IEEE Comm. Mag., vol. 2, pp. 108-115, June 2002; A. Forenza, M. R. McKay, A. Pandharipande, R. W. Heath Jr., and I. B. Collings, “Adaptive MIMO transmission for exploiting the capacity of spatially correlated channels,” IEEE Trans. on Veh. Tech., vol. 56, n. 2, pp. 619-630, March 2007. M. R. McKay, I. B. Collings, A. Forenza, and R. W. Heath Jr., “Multiplexing/beamforming switching for coded MIMO in spatially correlated Rayleigh channels,” accepted to the IEEE Trans. on Veh. Tech., December 2007; A. Forenza, M. R. McKay, R. W. Heath Jr., and I. B. Collings, “Switching between OSTBC and spatial multiplexing with linear receivers in spatially correlated MIMO channels,” Proc. IEEE Veh. Technol. Conf., vol. 3, pp. 1387-1391, May 2006. M. R. McKay, I. B. Collings, A. Forenza, and R. W. Heath Jr., “A throughput-based adaptive MIMO BICM approach for spatially correlated channels,” to appear in Proc. IEEE ICC, June 2006. A novel adaptive DIDO transmission strategy is described herein that switches between different numbers of users, numbers of transmit antennas and transmission schemes based on channel quality information as a means to improve the system performance. Note that schemes that adaptively select the users in multiuser MIMO systems were already proposed in M. Sharif and B. Hassibi, “On the capacity of MIMO broadcast channel with partial side information,” IEEE Trans. Info. Th., vol. 51, p. 506522, February 2005; and W. Choi, A. Forenza, J. G. Andrews, and R. W. Heath Jr., “Opportunistic space division multiple access with beam selection,” to appear in IEEE Trans. on Communications. The opportunistic space division multiple access (OSDMA) schemes in these publications, however, are designed to maximize the sum capacity by exploiting multi-user diversity and they achieve only a fraction of the theoretical capacity of dirty paper codes, since the interference is not completely pre-canceled at the transmitter. In the DIDO transmission algorithm described herein block diagonalization is employed to pre-cancel inter-user interference. The proposed adaptive transmission strategy, however, can be applied to any DIDO system, independently on the type of pre-coding technique. The present patent application describes an extension of the embodiments of the invention described above and in the Prior Application, including, but not limited to the following additional features: 1. The training symbols of the Prior Application for channel estimation can be employed by the wireless client devices to evaluate the link-quality metrics in the adaptive DIDO scheme; 2. The base station receives signal characterization data from the client devices as described in the Prior Application. In the current embodiment, the signal characterization data is defined as link-quality metric used to enable adaptation; 3. The Prior Application describes a mechanism to select the number of transmit antennas and users as well as defines throughput allocation. Moreover, different levels of throughput can be dynamically assigned to different clients as in the Prior Application. The current embodiment of the invention defines novel criteria related to this selection and throughput allocation. The goal of the proposed adaptive DIDO technique is to enhance per-user or downlink spectral efficiency by dynamically allocating the wireless resource in time, frequency and space to different users in the system. The general adaptation criterion is to increase throughput while satisfying the target error rate. Depending on the propagation conditions, this adaptive algorithm can also be used to improve the link quality of the users (or coverage) via diversity schemes. The flowchart illustrated in The Base Station (BS) collects the channel state information (CSI) from all the users in 2102. From the received CSI, the BS computes the link quality metrics in time/frequency/space domains in 2104. These link quality metrics are used to select the users to be served in the next transmission as well as the transmission mode for each of the users in 2106. Note that the transmission modes consist of different combinations of modulation/coding and DIDO schemes. Finally, the BS transmits data to the users via DIDO precoding as in 2108. At 2102, the Base Station collects the channel state information (CSI) from all the user devices. The CSI is used by the Base Station to determine the instantaneous or statistical channel quality for all the user devices at 2104. In DIDO-OFDM systems the channel quality (or link quality metric) can be estimated in the time, frequency and space domains. Then, at 2106, the Base Station uses the link quality metric to determine the best subset of users and transmission mode for the current propagation conditions. A set of DIDO transmission modes is defined as combinations of DIDO schemes (i.e., antenna selection or multiplexing), modulation/coding schemes (MCSs) and array configuration. At 2108, data is transmitted to user devices using the selected number of users and transmission modes. In one embodiment, the mode selection is enabled by lookup tables (LUTs) pre-computed based on error rate performance of DIDO systems in different propagation environments. These LUTs map channel quality information into error rate performance. To construct the LUTs, the error rate performance of DIDO systems is evaluated in different propagation scenarios as a function of the SNR. From the error rate curves, it is possible to compute the minimum SNR required to achieve certain predefined target error rate. We define this SNR requirement as SNR threshold. Then, the SNR thresholds are evaluated in different propagation scenarios and for different DIDO transmission modes and stored in the LUTs. For example, the SER results in One embodiment of a system employing DIDO adaptation is illustrated in The user selector unit 1902 selects data associated with a plurality of users U1-UM, based on the feedback information obtained by the DIDO configurator 1910, and provides this information each of the plurality of coding modulation units 1904. Each coding modulation unit 1904 encodes and modulates the information bits of each user and sends them to the mapping unit 1906. The mapping unit 1906 maps the input bits to complex symbols and sends it to the precoding unit 1908. Both the coding modulation units 1904 and the mapping unit 1906 exploit the information obtained from the DIDO configurator unit 1910 to choose the type of modulation/coding scheme to employ for each user. This information is computed by the DIDO configurator unit 1910 by exploiting the channel quality information of each of the users as provided by the feedback unit 1912. The DIDO precoding unit 1908 exploits the information obtained by the DIDO configurator unit 1910 to compute the DIDO precoding weights and precoding the input symbols obtained from the mapping units 1906. Each of the precoded data streams are sent by the DIDO precoding unit 1908 to the OFDM unit 1915 that computes the IFFT and adds the cyclic prefix. This information is sent to the D/A unit 1916 that operates the digital to analog conversion and sends the resulting analog signal to the RF unit 1914. The RF unit 1914 upconverts the baseband signal to intermediate/radio frequency and send it to the transmit antenna. The RF units 2008 of each client device receive signals transmitted from the DIDO transmitter units 1914, downconverts the signals to baseband and provide the downconverted signals to the A/D units 2010. The A/D units 2010 then convert the signal from analog to digital and send it to the OFDM units 2013. The OFDM units 2013 remove the cyclic prefix and carries out the FFT to report the signal to the frequency domain. During the training period the OFDM units 2013 send the output to the channel estimate unit 2004 that computes the channel estimates in the frequency domain. Alternatively, the channel estimates can be computed in the time domain. During the data period the OFDM units 2013 send the output to the receiver unit 2002 which demodulates/decodes the signal to obtain the data 2014. The channel estimate unit 2004 sends the channel estimates to the DIDO feedback generator unit 2006 that may quantize the channel estimates and send it back to the transmitter via the feedback control channel 1912. The DIDO configurator 1910 may use information derived at the Base Station or, in a preferred embodiment, uses additionally the output of a DIDO Feedback Generator 2006 (see The DIDO Configurator 1910 may use information recovered from a DIDO Feedback Control Channel 1912. The DIDO Feedback Control Channel 1912 is a logical or physical control channel that is used to send the output of the DIDO Feedback Generator 2006 from the user to the Base Station. The control channel 1912 may be implemented in any number of ways known in the art and may be a logical or a physical control channel. As a physical channel it may comprise a dedicated time/frequency slot assigned to a user. It may also be a random access channel shared by all users. The control channel may be pre-assigned or it may be created by stealing bits in a predefined way from an existing control channel. In the following discussion, results obtained through measurements with the DIDO-OFDM prototype are described in real propagation environments. These results demonstrate the potential gains achievable in adaptive DIDO systems. The performance of different order DIDO systems is presented initially, demonstrating that it is possible to increase the number of antennas/user to achieve larger downlink throughput. The DIDO performance as a function of user device's location is then described, demonstrating the need for tracking the changing channel conditions. Finally, the performance of DIDO systems employing diversity techniques is described. i. Performance of Different Order DIDO Systems The performance of different DIDO systems is evaluated with increasing number of transmit antennas N=M, where M is the number of users. The performance of the following systems is compared: SISO, DIDO 2×2, DIDO 4×4, DIDO 6×6 and DIDO 8×8. DIDO N×M refers to DIDO with N transmit antennas at the BS and M users. Different antenna subsets are active in the 8-element transmit array, depending on the value of N chosen for different measurements. For each DIDO order (N) the subset of antennas that covers the largest real estate for the fixed size constraint of the 8-element array was chosen. This criterion is expected to enhance the spatial diversity for any given value of N. Based on the comments related to SISO with T1 and U1 (2301) DIDO 2×2 with T1,2 and U1,2 (2302) DIDO 4×4 with T1,2,3,4 and U1,2,3,4 (2303) DIDO 6×6 with T1,2,3,4,5,6 and U1,2,3,4,5,6 (2304) DIDO 8×8 with T1,2,3,4,5,6,7,8 and U1,2,3,4,5,6,7,8 (2305) To compare the relative performance of different order DIDO systems the target BER is fixed to 10−4(this value may vary depending on the system) that corresponds approximately to SER=10−2as shown in ii. Performance with Variable User Location The goal of this experiment is to evaluate the DIDO performance for different users' location, via simulations in spatially correlated channels. DIDO 2×2 systems are considered with 4QAM and an FEC rate of ½. User 1 is at a broadside direction from the transmit array, whereas user 2 changes locations from broadside to endfire directions as illustrated in iii. Preferred Scenario for DIDO 8×8 Note that, in i.i.d. (ideal) channels, there is ˜6 dB gap in TX power between the SE of DIDO 8×8 and DIDO 2×2. This gap is due to the fact that DIDO 8×8 splits the TX power across eight data streams, whereas DIDO 2×2 only between two streams. This result is shown via simulation in In spatially correlated channels, however, the TPT is a function of the characteristics of the propagation environment (e.g., array orientation, user location, angle spread). For example, Similarly to MIMO systems, the performance of DIDO systems degrades when the users are located at endfire directions from the TX array (due to lack of diversity). This effect has been observed through measurements with the current DIDO prototype. Hence, one way to show that DIDO 8×8 outperforms DIDO 2×2 is to place the users at endfire directions with respect to the DIDO 2×2 arrays. In this scenario, DIDO 8×8 outperforms DIDO 2×2 due to the higher diversity provided by the 8-antenna array. In this analysis, consider the following systems: System 1: DIDO 8×8 with 4-QAM (transmit 8 parallel data streams every time slot); System 2: DIDO 2×2 with 64-QAM (transmit to users X and Y every 4 time slots). For this system we consider four combinations of TX and RX antenna locations: a) T1,T2 U1,2 (endfire direction); b) T3,T4 U3,4 (endfire direction); c) T5,T6 U5,6 (˜30° from the endfire direction); d) T7,T8 U7,8 (NLOS (Non-Line of Sight)); System 3: DIDO 8×8 with 64-QAM; and System 4: MISO 8×1 with 64-QAM (transmit to user X every 8 time slots). For all these cases, an FEC rate of ¾ was used. The users' locations are depicted in In From these results, the following conclusions may be drawn: One channel scenario was identified for which DIDO 8×8 outperforms DIDO 2×2 (i.e., yields larger SE for lower TX power requirement); In this channel scenario, DIDO 8×8 yields larger per user SE and DL SE than DIDO 2×2 and MISO 8×1; and It is possible to further increase the performance of DIDO 8×8 by using higher order modulations (i.e., 64-QAM rather than 4-QAM) at the expense of larger TX power requirements (˜15 dB more). iv. DIDO with Antenna Selection Hereafter, we evaluate the benefit of the antenna selection algorithm described in R. Chen, R. W. Heath, and J. G. Andrews, “Transmit selection diversity for unitary precoded multiuser spatial multiplexing systems with linear receivers,” accepted to IEEE Trans. on Signal Processing, 2005. We present the results for one particular DIDO system with two users, 4-QAM and FEC rate of ½. The following systems are compared in DIDO 2×2 with T1,2 and U1,2; and DIDO 3×2 using antenna selection with T1,2,3 and U1,2. The transmit antenna's and user device locations are the same as in iv. SNR Thresholds for the LUTs In section [0171] we stated that the mode selection is enabled by LUTs. The LUTs can be pre-computed by evaluating the SNR thresholds to achieve certain predefined target error-rate performance for the DIDO transmission modes in different propagation environments. Hereafter, we provide the performance of DIDO systems with and without antenna selection and variable number of users that can be used as guidelines to construct the LUTs. While Hereafter, we show the performance of DIDO systems in spatially correlated channels. We simulate each user's channel through the COST-259 spatial channel model described in X. Zhuang, F. W. Vook, K. L. Baum, T. A. Thomas, and M. Cudak, “Channel models for link and system level simulations,” IEEE 802.16 Broadband Wireless Access Working Group, September 2004. We generate single-cluster for each user. As a case study, we assume NLOS channels, uniform linear array (ULA) at the transmitter, with element spacing of 0.5 lambda. For the case of 2-user system, we simulate the clusters with mean angles of arrival AOA1 and AOA2 for the first and second user, respectively. The AOAs are measured with respect to the broadside direction of the ULA. When more than two users are in the system, we generate the users' clusters with uniformly spaced mean AOAs in the range [−φm,φm], where we define Next, we compute the SNR thresholds, for target BER of 10−2in different correlation scenarios. Next, we study the performance of ASel transmission scheme in spatially correlated channels. We compute the SNR thresholds (assuming usual target BER of 10−2) as a function of the number of users in the system (M), for both BD and ASel transmission schemes. The SNR thresholds correspond to the average SNR, such that the total transmit power is constant for any M. We assume maximum separation between the mean AOAs of each user's cluster within the azimuth range [−φm,φm]=[−60°, 60°]. Then, the angular separation between users is Δφ=120°/(M−1). To reduce the values of the SNR thresholds and improve the performance of the DIDO system we apply ASel transmission scheme. We then compute the SNR thresholds for two more channel scenarios: AS=5° in Finally, we summarize the results presented so far for correlated channels. Described above is a novel adaptive transmission technique for DIDO systems. This method dynamically switches between DIDO transmission modes to different users to enhance throughput for fixed target error rate. The performance of different order DIDO systems was measured in different propagation conditions and it was observed that significant gains in throughput may be achieved by dynamically selecting the DIDO modes and number of users as a function of the propagation conditions. As previously described, wireless communication systems use carrier waves to convey information. These carrier waves are usually sinusoids that are amplitude and/or phase modulated in response to information to be transmitted. The nominal frequency of the sinusoid is known as the carrier frequency. To create this waveform, the transmitter synthesizes one or more sinusoids and uses upconversion to create a modulated signal riding on a sinusoid with the prescribed carrier frequency. This may be done through direct conversion where the signal is directly modulated on the carrier or through multiple upconversion stages. To process this waveform, the receiver must demodulate the received RF signal and effectively remove the modulating carrier. This requires that the receiver synthesize one or more sinusoidal signals to reverse the process of modulation at the transmitter, known as downconversion. Unfortunately, the sinusoidal signals generated at the transmitter and receiver are derived from different reference oscillators. No reference oscillator creates a perfect frequency reference; in practice there is always some deviation from the true frequency. In wireless communication systems, the differences in the outputs of the reference oscillators at the transmitter and receivers create the phenomena known as carrier frequency offset, or simply frequency offset, at the receiver. Essentially there is some residual modulation in the received signal (corresponding to the difference in the transmit and receive carriers), which occurs after downconversion. This creates distortion in the received signal resulting in higher bit error rates and lower throughput. There are different techniques for dealing with carrier frequency offset. Most approaches estimate the carrier frequency offset at the receiver and then apply a carrier frequency offset correction algorithm. The carrier frequency offset estimation algorithm may be blind using offset QAM (T. Fusco and M. Tanda, “Blind Frequency-offset Estimation for OFDM/OQAM Systems,” IEEE Transactions on Signal Processing, vol. 55, pp. 1828-1838, 2007); periodic properties (E. Serpedin, A. Chevreuil, G. B. Giannakis, and P. Loubaton, “Blind channel and carrier frequency offset estimation using periodic modulation precoders,” IEEE Transactions on Signal Processing, vol. 48, no. 8, pp. 2389-2405, August 2000); or the cyclic prefix in orthogonal frequency division multiplexing (OFDM) structure approaches (J. J. van de Beek, M. Sandell, and P. O. Borjesson, “ML estimation of time and frequency offset in OFDM systems,” IEEE Transactions on Signal Processing, vol. 45, no. 7, pp. 1800-1805, July 1997; U. Tureli, H. Liu, and M. D. Zoltowski, “OFDM blind carrier offset estimation: ESPRIT,” IEEE Trans. Commun., vol. 48, no. 9, pp. 1459-1461, September 2000; M. Luise, M. Marselli, and R. Reggiannini, “Low-complexity blind carrier frequency recovery for OFDM signals over frequency-selective radio channels,” IEEE Trans. Commun., vol. 50, no. 7, pp. 1182-1188, July 2002). Alternatively special training signals may be utilized including a repeated data symbol (P. H. Moose, “A technique for orthogonal frequency division multiplexing frequency offset correction,” IEEE Trans. Commun., vol. 42, no. 10, pp. 2908-2914, October 1994); two different symbols (T. M. Schmidl and D. C. Cox, “Robust frequency and timing synchronization for OFDM,” IEEE Trans. Commun., vol. 45, no. 12, pp. 1613-1621, December 1997); or periodically inserted known symbol sequences (M. Luise and R. Reggiannini, “Carrier frequency acquisition and tracking for OFDM systems,” IEEE Trans. Commun., vol. 44, no. 11, pp. 1590-1598, November 1996). The correction may occur in analog or in digital. The receiver can also use carrier frequency offset estimation to precorrect the transmitted signal to eliminate offset. Carrier frequency offset correction has been studied extensively for multicarrier and OFDM systems due to their sensitivity to frequency offset (J. J. van de Beek, M. Sandell, and P. O. Borjesson, “ML estimation of time and frequency offset in OFDM systems,” Signal Processing, IEEE Transactions on [see also Acoustics, Speech, and Signal Processing, IEEE Transactions on], vol. 45, no. 7, pp. 1800-1805, July 1997; U. Tureli, H. Liu, and M. D. Zoltowski, “OFDM blind carrier offset estimation: ESPRIT,” IEEE Trans. Commun., vol. 48, no. 9, pp. 1459-1461, September 2000; T. M. Schmidl and D. C. Cox, “Robust frequency and timing synchronization for OFDM,” IEEE Trans. Commun., vol. 45, no. 12, pp. 1613-1621, December 1997; M. Luise, M. Marselli, and R. Reggiannini, “Low-complexity blind carrier frequency recovery for OFDM signals over frequency-selective radio channels,” IEEE Trans. Commun., vol. 50, no. 7, pp. 1182-1188, July 2002). Frequency offset estimation and correction is an important issue for multi-antenna communication systems, or more generally MIMO (multiple input multiple output) systems. In MIMO systems where the transmit antennas are locked to one frequency reference and the receivers are locked to another frequency reference, there is a single offset between the transmitter and receiver. Several algorithms have been proposed to tackle this problem using training signals (K. Lee and J. Chun, “Frequency-offset estimation for MIMO and OFDM systems using orthogonal training sequences,” IEEE Trans. Veh. Technol., vol. 56, no. 1, pp. 146-156, January 2007; M. Ghogho and A. Swami, “Training design for multipath channel and frequency offset estimation in MIMO systems,” IEEE Transactions on Signal Processing, vol. 54, no. 10, pp. 3957-3965, October 2006, and adaptive tracking C. Oberli and B. Daneshrad, “Maximum likelihood tracking algorithms for MIMOOFDM,” in Communications, 2004 IEEE International Conference on, vol. 4, Jun. 20-24, 2004, pp. 2468-2472). A more severe problem is encountered in MIMO systems where the transmit antennas are not locked to the same frequency reference but the receive antennas are locked together. This happens practically in the uplink of a spatial division multiple access (SDMA) system, which can be viewed as a MIMO system where the different users correspond to different transmit antennas. In this case the compensation of frequency offset is much more complicated. Specifically, the frequency offset creates interference between the different transmitted MIMO streams. It can be corrected using complex joint estimation and equalization algorithms (A. Kannan, T. P. Krauss, and M. D. Zoltowski, “Separation of cochannel signals under imperfect timing and carrier synchronization,” IEEE Trans. Veh. Technol., vol. 50, no. 1, pp. 79-96, January 2001), and equalization followed by frequency offset estimation (T. Tang and R. W. Heath, “Joint frequency offset estimation and interference cancellation for MIMO-OFDM systems [mobile radio],” 2004. VTC2004-Fall. 2004 IEEE 60thVehicular Technology Conference, vol. 3, pp. 1553-1557, Sep. 26-29, 2004; X. Dai, “Carrier frequency offset estimation for OFDM/SDMA systems using consecutive pilots,” IEEE Proceedings-Communications, vol. 152, pp. 624-632, Oct. 7, 2005). Some work has dealt with the related problem of residual phase off-set and tracking error, where residual phase offsets are estimated and compensated after frequency offset estimation, but this work only consider the uplink of an SDMA OFDMA system (L. Haring, S. Bieder, and A. Czylwik, “Residual carrier and sampling frequency synchronization in multiuser OFDM systems,” 2006. VTC 2006-Spring. IEEE 63rd Vehicular Technology Conference, vol. 4, pp. 1937-1941, 2006). The most severe case in MIMO systems occurs when all transmit and receive antennas have different frequency references. The only available work on this topic only deals with asymptotic analysis of estimation error in flat fading channels (O. Besson and P. Stoica, “On parameter estimation of MIMO flat-fading channels with frequency offsets,” Signal Processing, IEEE Transactions on [see also Acoustics, Speech, and Signal Processing, IEEE Transactions on], vol. 51, no. 3, pp. 602-613, March 2003). A case that has not been significantly investigated occurs when the different transmit antennas of a MIMO system do not have the same frequency reference and the receive antennas process the signals independently. This happens in what is known as a distributed input distributed-output (DIDO) communication system, also called the MIMO broadcast channel in the literature. DIDO systems consist of one access point with distributed antennas that transmit parallel data streams (via precoding) to multiple users to enhance downlink throughput, while exploiting the same wireless resources (i.e., same slot duration and frequency band) as conventional SISO systems. Detailed description of DIDO systems was presented in, S. G. Perlman and T. Cotter, “System and method for distributed input-distributed output wireless communications,” United States Patent Application 20060023803, July 2004. There are many ways to implement DIDO precoders. One solution is block diagonalization (BD) described in, for example, Q. H. Spencer, A. L. Swindlehurst, and M. Haardt, “Zero-forcing methods for downlink spatial multiplexing in multiuser MIMO channels,” IEEE Trans. Sig. Proc., vol. 52, pp. 461-471, February 2004; K. K. Wong, R. D. Murch, and K. B. Letaief, “A joint-channel diagonalization for multiuser MIMO antenna systems,” IEEE Trans. Wireless Comm., vol. 2, pp. 773-786, July 2003; L. U. Choi and R. D. Murch, “A transmit preprocessing technique for multiuser MIMO systems using a decomposition approach,” IEEE Trans. Wireless Comm., vol. 3, pp. 20-24, January 2004; Z. Shen, J. G. Andrews, R. W. Heath, and B. L. Evans, “Low complexity user selection algorithms for multiuser MIMO systems with block diagonalization,” accepted for publication in IEEE Trans. Sig. Proc., September 2005; Z. Shen, R. Chen, J. G. Andrews, R. W. Heath, and B. L. Evans, “Sum capacity of multiuser MIMO broadcast channels with block diagonalization,” submitted to IEEE Trans. Wireless Comm., October 2005; R. Chen, R. W. Heath, and J. G. Andrews, “Transmit selection diversity for unitary precoded multiuser spatial multiplexing systems with linear receivers,” accepted to IEEE Trans. on Signal Processing, 2005. In DIDO systems, transmit precoding is used to separate data streams intended for different users. Carrier frequency offset causes several problems related to the system implementation when the transmit antenna radio frequency chains do not share the same frequency reference. When this happens, each antenna is effectively transmits at a slightly different carrier frequency. This destroys the integrity of the DIDO precoder resulting in each user experiencing extra interference. Proposed below are several solutions to this problem. In one embodiment of the solution, the DIDO transmit antennas share a frequency reference through a wired, optical, or wireless network. In another embodiment of the solution, one or more users estimate the frequency offset differences (the relative differences in the offsets between pairs of antennas) and send this information back to the transmitter. The transmitter then precorrects for the frequency offset and proceeds with the training and precoder estimation phase for DIDO. There is a problem with this embodiment when there are delays in the feedback channel. The reason is that there may be residual phase errors created by the correction process that are not accounted for in the subsequent channel estimation. To solve this problem, one additional embodiment uses a novel frequency offset and phase estimator that can correct this problem by estimating the delay. Results are presented based both on simulations and practical measurements carried out with a DIDO-OFDM prototype. The frequency and phase offset compensation method proposed in this document may be sensitive to estimation errors due to noise at the receiver. Hence, one additional embodiment proposes methods for time and frequency offset estimation that are robust also under low SNR conditions. There are different approaches for performing time and frequency offset estimation. Because of its sensitivity to synchronization errors, many of these approaches were proposed specifically for the OFDM waveform. The algorithms typically do not exploit the structure of the OFDM waveform thus they are generic enough for both single carrier and multicarrier waveforms. The algorithm described below is among a class of techniques that employ known reference symbols, e.g. training data, to aid in synchronization. Most of these methods are extensions of Moose's frequency offset estimator (see P. H. Moose, “A technique for orthogonal frequency division multiplexing frequency offset correction,” IEEE Trans. Commun., vol. 42, no. 10, pp. 2908-2914, October 1994.). Moose proposed to use two repeated training signals and derived the frequency offset using the phase difference between both received signals. Moose's method can only correct for the fractional frequency offset. An extension of the Moose method was proposed by Schmidl and Cox (T. M. Schmidl and D. C. Cox, “Robust frequency and timing synchronization for OFDM,” IEEE Trans. Commun., vol. 45, no. 12, pp. 1613-1621, December 1997.). Their key innovation was to use one periodic OFDM symbol along with an additional differentially encoded training symbol. The differential encoding in the second symbol enables integer offset correction. Coulson considered a similar setup as described in T. M. Schmidl and D. C. Cox, “Robust frequency and timing synchronization for OFDM,” IEEE Trans. Commun., vol. 45, no. 12, pp. 1613-1621, December 1997, and provided a detailed discussion of algorithms and analysis as described in A. J. Coulson, “Maximum likelihood synchronization for OFDM using a pilot symbol: analysis,” IEEE J. Select. Areas Commun., vol. 19, no. 12, pp. 2495-2503, December 2001; A. J. Coulson, “Maximum likelihood synchronization for OFDM using a pilot symbol: algorithms,” IEEE J. Select. Areas Commun., vol. 19, no. 12, pp. 2486-2494, December 2001. One main difference is that Coulson uses repeated maximum length sequences to provide good correlation properties. He also suggests using chirp signals because of their constant envelope properties in the time and frequency domains. Coulson considers several practical details but does not include integer estimation. Multiple repeated training signals were considered by Minn et. al. in H. Minn, V. K. Bhargava, and K. B. Letaief, “A robust timing and frequency synchronization for OFDM systems,” IEEE Trans. Wireless Commun., vol. 2, no. 4, pp. 822-839, July 2003, but the structure of the training was not optimized. Shi and Serpedin show that the training structure has some optimality form the perspective of frame synchronization (K. Shi and E. Serpedin, “Coarse frame and carrier synchronization of OFDM systems: a new metric and comparison,” IEEE Trans. Wireless Commun., vol. 3, no. 4, pp. 1271-1284, July 2004). One embodiment of the invention uses the Shi and Serpedin approach to perform frame synchronization and fractional frequency offset estimation. Many approaches in the literature focus on frame synchronization and fractional frequency offset correction. Integer offset correction is solved using an additional training symbol as in T. M. Schmidl and D. C. Cox, “Robust frequency and timing synchronization for OFDM,” IEEE Trans. Commun., vol. 45, no. 12, pp. 1613-1621, December 1997. For example, Morrelli et. al. derived an improved version of T. M. Schmidl and D. C. Cox, “Robust frequency and timing synchronization for OFDM,” IEEE Trans. Commun., vol. 45, no. 12, pp. 1613-1621, December 1997, in M. Morelli, A. N. D'Andrea, and U. Mengali, “Frequency ambiguity resolution in OFDM systems,” IEEE Commun. Lett., vol. 4, no. 4, pp. 134-136, April 2000. An alternative approach using a different preamble structure was suggested by Morelli and Mengali (M. Morelli and U. Mengali, “An improved frequency offset estimator for OFDM applications,” IEEE Commun. Lett., vol. 3, no. 3, pp. 75-77, March 1999). This approach uses the correlations between M repeated identical training symbols to increase the range of the fractional frequency offset estimator by a factor of M. This is the best linear unbiased estimator and accepts a large offset (with proper design) but does not provide good timing synchronization. System Description One embodiment of the invention uses pre-coding based on channel state information to cancel frequency and phase offsets in DIDO systems. See In one embodiment of the invention, each user employs a receiver equipped with frequency offset estimator/compensator. As illustrated in The RF units 4508 receive signals transmitted from the DIDO transmitter units, downconvert the signals to baseband and provide the downconverted signals to the A/D units 4510. The A/D units 4510 then convert the signal from analog to digital and send it to the frequency offset estimator/compensator units 4512. The frequency offset estimator/compensator units 4512 estimate the frequency offset and compensate for it, as described herein, and then send the compensated signal to the OFDM units 4513. The OFDM units 4513 remove the cyclic prefix and operate the Fast Fourier Transform (FFT) to report the signal to the frequency domain. During the training period the OFDM units 4513 send the output to the channel estimate unit 4504 that computes the channel estimates in the frequency domain. Alternatively, the channel estimates can be computed in the time domain. During the data period the OFDM units 4513 send the output to the DIDO receiver unit 4502 which demodulates/decodes the signal to obtain the data. The channel estimate unit 4504 sends the channel estimates to the DIDO feedback generator unit 4506 that may quantize the channel estimates and send them back to the transmitter via the feedback control channel, as illustrated. Description of One Embodiment of an Algorithm for a DIDO 2×2 Scenario Described below are embodiments of an algorithm for frequency/phase offset compensation in DIDO systems. The DIDO system model is initially described with and without frequency/phase offsets. For the sake of the simplicity, the particular implementation of a DIDO 2×2 system is provided. However, the underlying principles of the invention may also be implemented on higher order DIDO systems. DIDO System Model w/o Frequency and Phase Offset The received signals of DIDO 2×2 can be written for the first user as
In the presence of frequency and phase offset, the received signals are expressed as
For the time being, we use the following definitions:
A method according to one embodiment of the invention is illustrated in (a) Training Period for Frequency Offset Estimation (4701) During the first training period the base station sends one or more training sequences from each transmit antennas to one of the users (4701 The m-th user may employ any type of frequency offset estimator (i.e., convolution by the training sequences) and estimates the offsets Δωm1and Δωm2. Then, from these values the user computes the frequency offset between the two transmit antennas as
Note that p1and p2in (6) are designed to be orthogonal, so that the user can estimate Δωm1and Δωm2. Alternatively, in one embodiment, the same training sequence is used over two consecutive time slots and the user estimates the offset from there. Moreover, to improve the estimate of the offset in (7) the same computations described above can be done for all users of the DIDO systems (not just for the m-th user) and the final estimate may be the (weighted) average of the values obtained from all users. This solution, however, requires more computational time and amount of feedback. Finally, updates of the frequency offset estimation are needed only if the frequency offset varies over time. Hence, depending on the stability of the clocks at the transmitter, this step 4701 of the algorithm can be carried out on a long-term basis (i.e., not for every data transmission), resulting in reduction of feedback overhead.
For DIDO 2×2 systems, the signal received at the first user is given by
Note that the pre-compensation is applied only to the second antennas in this embodiment. Expanding (8) we obtain
At the receive side, the users compensate for the residual frequency offset by using the training sequences p1and p2. Then the users estimate via training the vector channels (4702 These channel in (12) or channel state information (CSI) is fed back to the base station (4702 The base station receives the channel state information (CSI) in (12) from the users and computes the precoding weights via block diagonalization (BD) (4703 After this transmit processing, the signal received at user 1 is given by Similarly, for user 2 we get
Finally, the users compute the residual frequency offset and the channel estimation to demodulate the data streams x1[t] and x2[t] (4703 Generalization to DIDO N×M In this section, the previously described techniques are generalized to DIDO systems with N transmit antennas and M users. i. Training Period for Frequency Offset Estimation During the first training period, the signal received by the m-th user as a result of the training sequences sent from the N antennas is given by After estimating the offsets Δωmn, ∀n=1, . . . , N, the m-th user computes the frequency offset between the first and the n-th transmit antenna as
ii. Training Period for Channel Estimation During the second training period, the base station first obtains the frequency offset feedback with the value in (19) from the m-th user or from the plurality of users. The value in (19) is used to pre-compensate for the frequency offset at the transmit side. Then, the base station sends training data to all the users for channel estimation. For DIDO N×M systems, the signal received at the m-th user is given by At the receive side, the users compensate for the residual frequency offset by using the training sequences pn. Then, each users m estimates via training the vector channel iii. DIDO Precoding with Pre-Compensation The base station receives the channel state information (CSI) in (12) from the users and computes the precoding weights via block diagonalization (BD), such that
After this transmit processing, the signal received at user i is given by Finally, the users compute the residual frequency offset and the channel estimation to demodulate the data streams xi[t]. Results Next, we evaluate the sensitivity of the proposed compensation method to frequency offset estimation errors and/or fluctuations of the offset in time. Hence, we re-write (14) as
f. Description of One Embodiment of an Algorithm for Time and Frequency Offset Estimation Hereafter, we describe additional embodiments to carry out time and frequency offset estimation (4701 └CP, B, B, −B, B, B, B, −B, B, −B, −B, B, −B, B, B, −B, B, ┘. By using this structure and letting Nt=4 Mtall the algorithms to be described can be employed without modification. Effectively we are repeating the training sequence. This is especially useful in cases where a suitable training signal may not be available. Consider the following received signal, after matched filtering and downsampling to the symbol rate: i. Coarse Frame Synchronization The purpose of coarse frame synchronization is to solve for the unknown frame offset Δ. Let us make the following definitions
ii. Fractional Frequency Offset Correction The fractional frequency offset correction follows the coarse frame synchronization block. Method 2—Improved fractional frequency offset correction: the fractional frequency offset is the solution to Note that the Methods 1 and 2 are an improvement to K. Shi and E. Serpedin, “Coarse frame and carrier synchronization of OFDM systems: a new metric and comparison,” IEEE Trans. Wireless Commun., vol. 3, no. 4, pp. 1271-1284, July 2004 that works better in frequency-selective channels. One specific innovation here is the use of both r and iii. Integer Frequency Offset Correction To correct for the integer frequency offset, it is necessary to write an equivalent system model for the received signal after fine frequency offset correction. Absorbing remaining timing errors into the channel, the received signal in the absence of noise has the following structure: iv. Results In this section we compare the performance of the different proposed estimators. First, in A simulation with a small frequency offset of fmax=2 Hz and no integer offset correction is illustrated in In the presence of multipath channels, the performance of frequency offset estimators generally degrades. Turning off the integer offset estimator, however, reveals quite good performance in Adaptive DIDO Transmission Scheme New systems and methods for adaptive DIDO systems are described below. These systems and methods are extensions to the patent applications entitled “System and Method for Distributed Input-Distributed Output Wireless Communications,” Ser. Nos. 11/894,394, 11/894,362, and 11/894,540, filed Aug. 20, 2007, of which the present application is a continuation-in-part. The content of these applications has been described above. The adaptive DIDO system and method described in the foregoing applications were designed to exploit instantaneous and/or statistical channel quality information. Described below are additional techniques to enable adaptation between different DIDO modes assuming instantaneous channel knowledge. The following prior art references will be discussed below within the context of the embodiments of the invention. Each reference will be identified by its corresponding bracketed number:
A fundamental concept associated with link adaptation (LA) is to adaptively adjust system parameters such as modulation order, FEC coding rate and/or transmission schemes to the changing channel conditions to improve throughput or error rate performance. These system parameters are often combined in sets of “transmission modes,” referred to herein as DIDO modes. One embodiment of a technique for LA is to measure the channel quality information and predict the best transmission mode based on certain performance criterion. The channel quality consists of statistical channel information, as in slow LA, or (instantaneous) CSI, as in fast LA. One embodiment of the system and method described herein is employed within the context of fast LA systems and the goal is to increase throughput for fixed predefined target error rate. One embodiment of a method for adaptive DIDO transmission is depicted in We first define an indicator of channel quality that is used to predict the performance of different DIDO modes and select the optimal one for given transmission. One example of channel quality indicator (CQI) is the mutual information (MI) of DIDO systems defined as [1,2] The MI in (1) measures the data rate per unit bandwidth that can be transmitted reliably over the DIDO link (i.e., error-free spectral efficiency). When the spectral efficiency (SE) of given DIDO mode is below the MI in (1) the error rate performance is arbitrarily small, whereas when the SE exceeds (1) the error rate approaches 100%. As an example, we plot the spectral efficiency of three DIDO modes as a function of the MI (1) in In Next, we define another CQI to reduce this variance. We first expand (1) as Finally, we compare the SER and SE performance as a function of SNR for different DIDO modes against the adaptive DIDO algorithm. Results are shown in The proposed method for fast LA in DIDO systems includes different types of adaptation criteria and CQIs. For example, a similar adaptive DIDO algorithm can be designed to minimize error rate performance for fixed rate transmission, similar to the approach described in [3] for MIMO systems. Moreover, different types of CQIs can be employed such as the minimum singular value of the composite channel matrix as The proposed method can be extended to multicarrier systems, such as orthogonal frequency division multiplexing (OFDM) systems. In multicarrier systems the MI in (1) and (2) is computed for each subcarrier and different MCSs are assigned to different subcarriers, thereby exploiting the frequency selectivity of wireless channels. This method, however, may result in large number of control information to share the CQI or DIDO mode number between transmitters and receivers. An alternative method is to group multiple subcarriers with similar channel quality and compute the average of (1) or (2) over each group of subcarrier. Then, different DIDO modes are assigned to different groups of subcarriers based on the criterion described above. DIDO systems are described in the related application U.S. Pat. No. 7,418,053, where multiple antennas of the same DIDO base station in Recent publications [32,33] analyzed theoretically the performance of cooperative base stations in the context of cellular systems. In practice, when those cooperative base stations are connected to one another via wireless, wired, or optical network (i.e., wide area network, WAN backbone, router) to share precoded data, control information and/or time/frequency synchronization information as described in U.S. Pat. No. 7,418,053, U.S. Pat. No. 7,599,420, U.S. application Ser. No. 11/894,362 and U.S. application Ser. No. 11/894,540 they function as multiple distributed antennas of a single DIDO base station as shown in A significant advantage of DIDO systems over prior art systems is that DIDO systems enable the distribution of multiple cooperative distributed antennas, all using the same frequency at the same time in the same wide coverage area, without significantly restricting the physical placement of the distributed antennas. In contrast to prior art multi-user systems, which avoid interference from multiple base transmitters at a given user receiver, the simultaneous RF waveform transmissions from multiple DIDO distributed antennas deliberately interfere with each other at each user's receiver. The interference is a precisely controlled constructive and destructive interference of RF waveforms incident upon each receiving antenna which, rather than impairing data reception, enhances data reception. It also achieves a valuable goal: it results in multiple simultaneous non-interfering channels to the users via space-time precoding techniques, increasing the aggregate throughput in a given coverage area, increasing the throughput to a given user, and significantly increasing the reliability and predictability of throughput to a given user. Thus, when using DIDO, multiple distributed antenna RF waveform transmission interference and user channel interference have an inverse relationship: multiple distributed antenna RF waveform interference results in simultaneous non-interfering user channels. With prior art multi-user systems, multiple base station (and/or ad hoc transceivers) RF waveform transmission interference and user channel interference have a direct relationship: multiple base station (and/or ad hoc transceivers) RF waveform interference results in simultaneous interfering user channels. So, what DIDO utilizes and relies upon to achieve performance far beyond prior art systems is exactly what is avoided by, and results in impairment of, prior art systems. And, because the number of non-interfering channels (and aggregate throughput) grows largely proportionately with the number of DIDO distributed antennas (unlike MU-MIMO systems, where the aggregate throughput asymptotically levels off as the number of cluster antennas at a base station is increased), the spectrum utilization of a given coverage area can be scaled as the number of users in an area scales, all without subdividing the coverage area by frequency or sector, and without requiring significant restrictions on the placement of DIDO distributed antennas. This results in enormous efficiencies in spectrum utilization and aggregate user downlink (DL) and uplink (UL) data rates, and enormous placement flexibility for either commercial or consumer base station installation. In this way, DIDO opens the door to a very large increase in multi-user wireless spectrum efficiency by specifically doing exactly what prior art systems had been meticulously designed to avoid doing. As illustrated in DIDO Clients 6110: wireless devices that estimate the channel state information (CSI), feedback the CSI to the transmitters and demodulate precoded data. Typically each user would have a DIDO client device. DIDO Distributed Antennas 6113: wireless devices interconnected via a network that transmit precoded data to all DIDO clients. A wide variety of network types can be used to interconnect the distributed antennas 6113 including, but not limited to, a local area network (LAN), a wire area network (WAN), the Internet, a commercial fiber optic loop, a wireless network, or any combination thereof. In one embodiment, to provide a simultaneous independent channel to each client, the number of DIDO distributed antennas is at least equal to the number of clients that are served via precoding, and thereby avoids sharing channels among clients. More DIDO distributed antennas than clients can be used to improve link reliability via transmit diversity techniques, or can be used in combination with multi-antenna clients to increase data rate and/or improve link reliability. Note that “distributed antenna”, as used herein, may not be merely an antenna, but refers to a device capable of transmitting and/or receiving through at least one antenna. For example, the device may incorporate the network interface to the DIDO BTS 6112 (described below) and a transceiver, as well as an antenna attached to the transceiver. The distributed antennas 6113 are the antennas that the DIDO BTS 6112, utilizes to implement the DIDO multi-user system. DIDO Base Transceiver Station (“BTS” or “base station”) 6112: computes the precoding weights based on the CSI obtained from all users in a DIDO system and sends precoded data to the DIDO distributed antennas. The BTS may be connected to the Internet, public switched telephone network (PSTN) or private networks to provide connectivity between users and such networks. For example, upon clients' requests to access web content, the CP fetches data through the Internet and transmits data to the clients via the DIDO distributed antennas. DIDO Base Station Network (BSN) 6111: One embodiment of DIDO technology enables precisely controlled cooperation among multiple DIDO distributed antennas spread over wide areas and interconnected by a network. In one embodiment, the network used to interconnect the DIDO distributed antennas is a metro fiber optic ring (preferably, with the DIDO distributed antennas connecting to the metro fiber optic ring at locations where it is convenient), characterized by relatively low latency and reasonably high throughput (e.g. throughput to each DIDO antenna comparable to the wireless throughput achievable from that DIDO antenna). The fiber optic ring is used to share control information and precoded data among different stations. Note that many other communication networks can be used instead of a metro fiber optic ring, including fiber optic networks in different topologies other than a ring, fiber-to-the-home (FFTH), Digital Subscriber Lines (DSL), cable modems, wireless links, data over power line, Ethernet, etc. The communication network interconnecting the DIDO distributed antennas may well be made up of a combination of different network technologies. For example, some DIDO distributed antennas may be connected to DSL, some to fiber, some to cable modems, some on Ethernet, etc. The network may be a private network, the Internet, or a combination. Thus, much like prior art consumer and commercial WiFi base stations are connected via a variety of network technologies, as is convenient at each location, so may be the DIDO distributed antennas. Whatever form this network takes, be it a uniform technology, or a variety of technologies, it is referred herein as the Base Station Network or “BSN.” In one embodiment of the BSN, there is an approximate 10-30 msec round trip time (RTT) latency between BTS and the DIDO distributed antennas, due to the packet switched nature of existing fiber or DSL networks. The variance of that latency (i.e., jitter) is of the order of milliseconds. If lower latency (i.e., <1 msec) and jitter is required for DIDO systems, the BSN may be designed with dedicated fiber links. Depending on the quality of service offered to different DIDO clients, a combination of low and high latency BSNs can be employed. Depending on the layout of the network interconnecting the DIDO distributed antennas 6113, one or multiple DIDO BTSs can be used in a given coverage area. We define a DIDO cell as the coverage area served by one DIDO BTS. One embodiment with circular topology is depicted in In one embodiment of the invention, the BSN 6111 is used to deliver precoded baseband data from the BTS 6112 to the DIDO distributed antennas 6113. As shown in In another embodiment of the invention, the BSN is used to carry modulated signals as illustrated in In another embodiment, existing cellular towers with antennas, transceivers, and backhaul connectivity are reconfigured such that the backhauls are connected to a DIDO BTS 6112. The backhaul connectivity becomes functionally equivalent to the BSN 6111. Then, as described previously, the cellular transceivers and antennas become functionally equivalent to the DIDO distributed antennas 6113. Depending on the transceivers and antennas installed in existing cellular phone towers, they may need to be reconfigured or replaced, so as to be able to operate in a DIDO configuration. For example, the transmitters may have been configured to transmit at a low power level so as to not cause interference with a nearby cell using the same frequency. With DIDO, there is no need to mitigate such waveform interference, and indeed, such waveform interference increases the spectrum utilization of the coverage area beyond that achievable in a prior art cellular configuration. In another embodiment, existing cellular towers are partially used for DIDO, as described in the preceding paragraph, and partially used as conventional cellular towers, so as to support compatibility with existing cellular devices. Such a combined system can be implemented in a number of different ways. In one embodiment, TDMA is used to alternate between DIDO use and conventional cellular use. So, at any given time, the cellular towers are used for only DIDO or for conventional cellular communications. Some key features and benefits of DIDO systems, compared to typical multi-user wireless systems, including cellular systems employing MU-MIMO techniques, are: Large spatial diversity: Because DIDO distributed antennas can be located anywhere within a coverage area, and work cooperatively without channel interference, this results in larger transmit antenna spacing and multipath angular spread. Thus, far more antennas can be used, while still maintaining spatial diversity. Unlike prior art commercial or consumer base stations, DIDO distributed antennas can be placed anywhere there is a reasonably fast Internet (or other network) connection, even if it is only a few feet from the ground, indoor or outdoor. Reduced coverage (e.g., due to lower transmit antenna height or physical obstacles) can be compensated by larger transmit power (e.g., 100 W rather than ˜200 mW as in typical cellular systems in urban areas or ˜250 mW in typical WiFi access points) because there is no concern (or far less concern than with prior art cellular systems) about higher-powered transmissions interfering with another cell or WiFi access point using the same frequency. Larger spatial diversity translates into a larger number of non-interfering channels that can be created to multiple users. Theoretically (e.g., due to large antenna spacing and angular spread), the number of spatial channels is equal to the number of transmit DIDO stations. That yields an n× improvement in aggregate DL data rate, where n is the number of DIDO stations. For example, whereas prior art cellular system might achieve a maximum of net 3× improvement in aggregate spectrum utilization, a DIDO system might achieve a 10×, 100× or even greater improvement in aggregate spectrum utilization. Uniform rate distribution: Since the DIDO distributed antennas can be dispersed throughout a wide area, far more users can be characterized by good signal-to-noise ratio (SNR) from one or more DIDO distributed antennas. Then, far more users can experience similar data rates, unlike cellular systems where cell-edge users suffer from poor link-budget and low data rate. Cost effective: DIDO distributed antennas can be designed as inexpensive devices with single antenna transceivers (similar to WiFi access points). Moreover, they do not require costly real estate or expensive installation as cell towers because of the ability to flexibly locate them within the coverage area. 2. Methods for Implementation and Deployment of DIDO Systems The following describes different embodiments of practical deployment of DIDO systems. a. Downlink Channel The general algorithm used in one embodiment to enable DIDO communications over wireless links is described as follows. CSI Computation: All DIDO clients compute the CSI from all DIDO distributed antenna transmitters based on training sequences received from DIDO distributed antennas as shown in Precoding Computation: the DIDO BTS 6112 computes the precoding weights from the CSI feedback from the entire DIDO cell. Precoded data are sent from the DIDO BTS 6112 to the DIDO distributed antennas in Precoded Data Transmission: the DIDO distributed antennas transmit precoded data to all clients over the wireless links. Demodulation: the DIDO clients demodulate the precoded data streams. In DIDO systems, the feedback loop in As discussed above, a low latency or high latency BSN can be used in DIDO systems depending on the available network. In one embodiment, the DIDO BTS 6112 switches among two or more types of BSN network infrastructure based on the each users' channel coherence time. For example, outdoor clients are typically characterized by more severe Doppler effects due to the potential of fast mobility of clients or objects within the channel (i.e., resulting in low channel coherence time). Indoor clients have generally fixed wireless or low mobility links (e.g., high channel coherence time). In one embodiment, DIDO distributed antennas connected to low latency BSN network infrastructure (e.g., dedicated fiber rings) are assigned to outdoor clients, whereas DIDO distributed antennas connected to high latency BSN network infrastructure (e.g., consumer Internet connections such as DSL or cable modems) are assigned to serve indoor clients. To avoid interference among transmissions to the different types of clients, indoor and outdoor clients can be multiplexed via TDMA, FDMA or CDMA schemes. Moreover, DIDO distributed antennas connected to low latency BSNs can also be used for delay-sensitive algorithms such as those used for client time and frequency synchronization. We observe that DIDO provides an inherently secure network when more than one DIDO distributed antenna is used to reach a user. In fact, the precoded streams from the BTS to the DIDO distributed antennas consist of linear combinations of data (for different clients) and DIDO precoding weights. Then, the data stream sent from the BTS to the BSN generally cannot be demodulated at the DIDO distributed antenna, since the DIDO distributed antenna is unaware of the precoding weights used by the BTS. Also, the precoding weights change over time as the complex gain of the wireless channels from DIDO distributed antenna-to-client varies (due to Doppler effects), adding an additional level of security. Moreover, the data stream intended to each client can be demodulated only at the client's location, where the precoded signals from all transmit DIDO distributed antennas recombine to provide user interference-free data. At any other location, demodulation of data intended to one particular user is not possible due to high levels of inter-user interference. b. Uplink Channel In the uplink (UL) channel, the clients send data (e.g., to request Web content to the DIDO BTS 6112 from the Internet), CSI and control information (e.g., time/frequency synchronization, channel quality information, modulation scheme, etc.). In one embodiment, there are two alternatives for the UL channel that may be used separately or in combination: i) clients communicate directly to the DIDO BTS 6112 via TDMA, FDMA or CDMA schemes; ii) clients communicate to multiple DIDO distributed antennas by creating spatial channels via MIMO techniques as in c. Time and Frequency Synchronization In one embodiment, the DIDO distributed antennas are synchronized in time and frequency. If RF-over-fiber is employed as in If the DIDO BSN 6111 is used to carry baseband waveforms as in i. Time and Frequency Synchronization Via GPSDO In one embodiment time/frequency synchronization is achieved by connecting the transmitter in radio transceiver 6330 to a GPS Disciplined Oscillators (GPSDO). A crystal clock with high frequency stability and low jitter (e.g., Oven-Controlled Crystal Oscillator, OCXO) is used in one embodiment. ii. Time and Frequency Synchronization Via Power Line Reference An alternate embodiment utilizes the 60 Hz (in the United States, 50 Hz in other regions) signal available over power lines as a common clock reference for all transmitters. Based on empirical measurements, the jitter of the 60 Hz reference signal (after low pass filtering) can be on the order of 100 nanoseconds. It would be necessary, however, to compensate for deterministic offsets due to variable propagation path length along the power lines at different locations. iii. Time and Frequency Synchronization with Free-Running Clocks An alternative embodiment is used to compensate the time and frequency offsets across different DIDO distributed antennas whose clocks are not synchronized to an external clock reference, but rather are free-running as described in the related U.S. Pat. No. 7,599,420 and in Coarse Time Synchronization: In one embodiment, all DIDO distributed antennas have free-running clocks as illustrated in In one embodiment, the time offset is computed from measurements by many users to average out the difference in propagation delay across users. For example, Fine Time Synchronization: Once the coarse time offset is removed, DIDO distributed antennas can keep running the algorithm periodically to improve the offset estimates. Moreover, the DIDO transmit stations are typically at fixed locations (e.g. transceiver DIDO distributed antennas connected to the DIDO BSN 6111). Hence the algorithm should converge after a period of time. The same algorithm is rerun every time one DIDO distributed antenna changes its location or a new DIDO distributed antenna is added to the DIDO BSN 6111. Frequency Offset Compensation: once the 1 PPS reference signals at all DIDO distributed antennas are synchronized, the DIDO distributed antennas send training to one or multiple users to estimate the relative frequency offset between stations. Then, the frequency offset compensation method described in the related U.S. Pat. No. 7,599,420 and d. Control Channel Via the BSN In one embodiment, the DIDO BSN 6111 is used for at least the following three purposes: CSI Feedback: The DIDO clients feedback the CSI wirelessly to the DIDO distributed antennas. If TDMA, FDMA or CDMA schemes are used for feedback, only one DIDO distributed antenna (the one with best SNR to all users) is selected to receive the CSI. If MIMO techniques are employed, all DIDO distributed antennas are used simultaneously to demodulate the CSI from all clients. Then the CSI is fed back from the DIDO distributed antennas to the DIDO BTS 6112 via the DIDO BSN 6111. Alternatively, the CSI can be fed back wirelessly directly from the clients (or the DIDO distributed antennas) to a DIDO BTS 6112 equipped with one antenna via TDMA or CDMA schemes. This second solution has the advantage of avoiding latency caused by the DIDO BSN 6111, but may not be achievable if the wireless link between each of the clients (or the DIDO distributed antennas) and the DIDO BTS 6112 is not of high enough SNR and reliability. To reduce the throughput requirement over the UL channel, the CSI may be quantized or any number of limited feedback algorithms known in the art can be applied [28-30]. Control Information: The DIDO BTS 6112 sends control information to the DIDO distributed antennas via the DIDO BSN 6111. Examples of control information are: transmit power for different DIDO distributed antennas (to enable power control algorithms); active DIDO distributed antenna IDs (to enable antenna selection algorithms); trigger signals for time synchronization and frequency offset values. Precoded data: the DIDO BTS 6112 sends precoded data to all DIDO distributed antennas via the DIDO BSN 6111. That precoded data is then sent from the DIDO distributed antennas synchronously to all clients over wireless links. a. UHF and Microwave Spectrum Allocation Different frequency bands are available in the United States as possible candidates for DIDO system deployment: (i) the unused television frequency band between 54-698 MHz (TV Channels 2-51 with 6 MHz channel bandwidth), recommended by the White Spaces Coalition to deliver high speed Internet services; (ii) the 734-746 MHz and 746-756 MHz planned to be used for future developments of LTE systems by AT&T and Verizon, respectively; (iii) the 2.5 GHz band for broadband radio service (BRS), consisting of 67.5 MHz of spectrum split in five channels for future deployment of WiMAX systems. b. Propagation Channel in UHF Spectrum We begin by computing the path loss of DIDO systems in urban environments at different frequencies allocated for White Spaces. We use the Hata-Okumura model described in [7], with transmit and receive antenna heights of 1.5 meter (e.g., indoor installation of the DIDO distributed antennas) and 100 W transmit power. To determine the range, we use −90 dBm target receive sensitivity of typical wireless devices. Some prior art multi-user systems proposed for White Spaces have similar interference avoidance protocols as WiFi, although at UHF frequencies. We compare DIDO UHF results against the path loss for WiFi systems with 250 mW transmit power. The range for WiFi extends only between 60 meters (indoor) and 200 meters (outdoor). Wider range achievable by DIDO systems is due to larger transmit power and lower carrier frequency (subject to generally lower attenuation from obstacles at UHF frequencies). But, we observe that WiFi systems were deliberately limited in power because large transmit power would create harmful interference to other users using WiFi systems (or other users in the 2.4 GHz ISM spectrum) because only one interfering access point can be transmitting at once, and by extending the range, increasingly more WiFi access points would interfere with one another. Contrarily, in DIDO systems inter-user interference is suppressed by multiple DIDO distributed antennas transmitting precoded data to the clients. Next, we summarize the parameters that characterize time, frequency and space selectivity in UHF channels. Time selectivity is caused by relative motion of transmitter and receiver that yields shift in the frequency domain of the received waveform, known as the Doppler effect. We model the Doppler spectrum according to the well known Jakes' model for rich scattering environments (e.g., urban areas), and compute the channel coherence time from the maximum Doppler shift according to [14]. As a rule of thumb, the channel complex gain can be considered constant over a period of time corresponding to one tenth of the channel coherence time (Δt=TC/10). In DIDO systems, Δt provides the constraint to the maximum delay that can be tolerated between estimation of the channel state information (CSI) and data transmission via DIDO precoding. For example, if the constraint is Δt=10 msec, the maximum speed that can be tolerated by DIDO systems is 4 mph at 700 MHz, 7 mph at 400 MHz, and 57 mph at 50 MHz. If a low latency network is used for the BSN and the DIDO BTS 6112 is in the vicinity of the DIDO distributed antennas (so as to minimize network transit delay), far less than 10 msec RTT can be achieved Δt. For example, if Δt=1 msec, at 400 MHz, DIDO can tolerate approximately highway speeds of 70 Mph. Frequency selectivity depends on the channel delay spread. Typical values of delay spread for indoor environments are below 300 nsec [8-10]. In urban and suburban areas the delay spread ranges between 1 and 10 usec [11,12]. In rural environments it is typically on the order of 10 to 30 usec [11-13]. Space selectivity depends on the channel angular spread and antenna spacing at transmit/receive side. In urban environments, the channel angular spread is typically large due to rich scattering effects. In rich scattering environments, it was shown that the minimum antenna spacing (either at transmitter or receiver sides) to guarantee good spatial selectivity is about one wavelength [15,16]. In c. Practical Implementation of DIDO Systems in Uhf Spectrum Based on the channel parameters and systems constraints described above, we provide one embodiment of DIDO system design in UHF spectrum as follows: Bandwidth: 5 to 10 MHz, depending on UHF spectrum availability. Carrier frequency: 400 MHz for best tradeoff between range/Doppler and antenna size/spacing. Modulation: orthogonal frequency division multiplexing (OFDM) is used to reduce receiver complexity and exploit channel frequency diversity (via interleaving) as in Packet Size: is limited by the latency over the DIDO BSN 6111 and Doppler effects. For example, the nominal RTT of one embodiment is 10 msec. Then, the time required to send precoded data from the DIDO BST 6112 to the DIDO distributed antennas is ˜5 msec (half RTT). Assuming maximum users' speed of 7 mph at 400 MHz as in CSI Estimation and Precodinq: With the system parameters above, training for CSI estimation is sent every 5 msec. The users estimate/feedback the CSI and ˜5 msec later they receive 5 msec of precoded data to demodulate. DIDO Distributed Antenna Placement Within the Coverage Area: Although DIDO distributed antennas can be placed on existing cell towers, as a practical matter, given limited real estate available at existing cell towers, there may be a limited number of antenna locations available. For example, if a maximum of four antennas were placed on each tower this might yield up to 3× increase in data rate as shown in [4] (due to lack of spatial diversity). In this configuration, latency across DIDO transmitters is negligible, since they are all placed on the same tower, but without additional spatial diversity, the gain in spectral utilization will be limited. In one embodiment, the DIDO distributed antennas are placed in random locations throughout the coverage area all connected to the DIDO BSN 6111. Unlike a the coverage area of given cell in a prior art cellular system, which is based on transmission range from the cell tower, the coverage area of a DIDO cell is based instead on the transmission range of each DIDO distributed antenna, which in accordance with the path loss model in one embodiment is approximately 1 Km. Thus, a user within 1 Km of at least one DIDO distributed antenna will receive service, and a user within range of several DIDO distributed antennas will get non-interfering service from the DIDO distributed antennas within range. Another application of DIDO technology is in the HF band. The key advantage of HF systems is extended coverage in the 1-30 MHz frequency band due to reflection off of the ionosphere. One example of propagation via the ionosphere is near-vertical incident skywave (NVIS) where signals sent towards the sky with high elevation angles from the horizon bounce off the ionosphere and return back to Earth. NVIS offers unprecedented coverage over conventional terrestrial wireless systems: NVIS links extend between 20 and 300 miles, whereas typical range of terrestrial systems is between 1 and 5 miles. Hereafter, we present the characteristics of NVIS links based on results obtained from the literature and our experimental data. Then we present a practical implementation of DIDO systems in NVIS links that were described in the related U.S. Pat. No. 7,418,053, U.S. Pat. No. 7,599,420, U.S. application Ser. No. 11/894,362, U.S. application Ser. No. 11/894,394 U.S. application Ser. No. 11/143,503 and U.S. application Ser. No. 11/894,540 and in a. HF Spectrum Allocation The HF band is divided into several subbands dedicated to different types of services. For example, the Maritime band is defined between 4 MHz and 4.438 MHz. According to the Federal Communications Commission (FCC) licensing database (i.e., universal licensing systems, “ULS”), there are 1,070 licenses authorized to operate in this Maritime band. There are 146 channels of 3 KHz bandwidth each, covering 0.438 MHz bandwidth. Most of the transceiver stations operating in the Maritime band are located along the coast of the US territory as depicted in Other portions of the HF spectrum are occupied by the Aeronautical band within [3.3,155] MHz and [3.4,3.5] MHz, and the Amateur radio bands defined in the ranges [1.8,2] MHz, [3.5,4] MHz, [5.3305,5.4035] MHz, [7,7.3] MHz, [10.10,10.15] MHz, [14,14.35] MHz, [18.068,18.168] MHz, [21,21.450] MHz, [24.89,24.99] MHz, [28,29.7] MHz. Our experimental measurements have shown that the Amateur radio band is mostly unutilized, particularly during daytime, allowing DIDO-NVIS links without causing harmful interference. Moreover, similarly to the Maritime band, coexistence of DIDO-NVIS systems with Amateur radio transceivers may be enabled by cognitive radio techniques. b. NVIS Propagation Channel We provide an overview of radio wave propagation through the ionosphere. Then we describe path loss, noise and time/frequency/space selectivity in typical NVIS channels. The ionosphere consists of ionized gas or plasma. The plasma behaves as an electromagnetic shield for radio waves propagating from Earth upwards that are refracted and reflected back to Earth as in Due to the absence of obstacles in NVIS links, the propagation loss is mostly due to free space path loss (i.e., Friis formula), without additional attenuation factors as in standard terrestrial wireless systems. Depending on the time of the day and incident angle to the ionosphere, propagating waveforms may suffer from additional 10-25 dB loss due to attenuation from the D layer (i.e., lowest layer of the ionosphere). Any wireless system is affected by thermal noise produced internally to radio receivers. In contrast to standard wireless systems, HF links are severely affected by other external noise sources such as: atmospheric noise, man-made noise and galactic noise. Man-made noise is due to environmental sources such as power lines, machinery, ignition systems, and is the main source of noise in the HF band. Its typical values range between −133 and −110 dBm/Hz depending on the environment (i.e., remote versus industrial). From our Doppler measurements, we observed typical channel coherence time in NVIS links is of the order of seconds, That is about 100 times larger than the Δt=10 msec constraint on the DIDO feedback loop over the DIDO BSN 6111. Hence, in DIDO-NVIS systems a long feedback delay over the DIDO BSN 6111 can be tolerated due to extremely high channel coherence time. Note that our measurements assumed fixed wireless links. In case of mobile stations, the channel coherence time is expected to be of the order of 2 sec in a very high speed scenario (i.e., vehicle or airplane moving at 200 mph) that is still orders of magnitude higher than the latency over the DIDO BSN 6111. Typical values of delay spreads in NVIS channels are around 2 ms corresponding, corresponding to the roundtrip propagation delay Earth-ionosphere (about 300 Km high). That value may be larger (˜5 msec) in presence of multilayer refractions in the ionosphere. The angular spread in NVIS links is typically very small (less than 1 degree, based on our measurements and simulations). Hence, large antenna spacing is required to obtain spatially selective channels and exploit spatial diversity via DIDO techniques. Strangeways' simulator points to around twenty wavelengths required for a long distance HF skywave link [34,35]. Some experimental results for HF skywave with a spacing of around 0.7 wavelengths indicated high correlation [36,37]. Similar results were obtained from our measurements in NVIS links. c. DIDO-NVIS Experimental Results We measured the performance of DIDO-NVIS systems with a practical testbed consisting of three DIDO distributed antennas 6113 for transmission and three DIDO clients 6110 for reception. The transmitters are located in the area of Austin, Tex., as depicted in The three transmitting distributed antennas are locked to the same GPSDO that provide time and frequency reference. The three receiving DIDO clients have free-running clocks and synchronization algorithms are implemented to compensate for time/frequency offsets. The carrier frequency is 3.9 MHz, bandwidth is 3.125 KHz and we use OFDM modulation with 4-QAM. Typical 4-QAM constellations demodulated at the three DIDO client locations are depicted in We compute the symbol error rate (SER) performance as a function of the per-user SNR (PU-SNR) over about 1000 channel realizations as in d. Practical Implementation of DIDO Systems in NVIS Links Similarly to the case study 1, we provide one embodiment of DIDO-NVIS system design as follows: Bandwidth: 1-3 MHz, depending on HF spectrum availability. Larger bandwidths are less practical, since they require more challenging broadband antenna designs. For example, 3 MHz bandwidth at 4 MHz carrier frequency corresponds to fractional antenna bandwidth of 75%. Carrier Frequency: The HF frequencies corresponding to the plasma critical frequency of the ionosphere are between 1 and 10 MHz. Radio waves at lower frequencies (˜1 MHz) are typically reflected by the ionosphere at nighttime, whereas higher frequencies (˜10 MHz) at daytime. The frequency of optimal transmission (FOT) at given time of the day varies with the SSN. In practical DIDO-NVIS systems, the carrier frequency can be adjusted throughout the day depending on the FOT provided by the ionospheric maps. Transmit Power: Based on the path loss results in Modulation: We assume OFDM modulation as in Packet Size: is limited by the minimum channel coherence time expected in NVIS links. The minimum coherence time is approximately 1 sec and the channel gain can be considered constant over one tenth of that duration (˜100 msec) in the worst case scenario. Then, the packet size is about five OFDM symbols. The packet size can be dynamically adjusted as the coherence time varies over time. CSI Estimation and Precodinq: With the system parameters above, training for CSI estimation is sent every ˜100 msec (or higher, when the coherence time increases). The users estimate/feedback the CSI and ˜5 msec later (i.e., latency over the BSN feedback loop) they receive 100 msec of precoded data to demodulate. DIDO Distributed Antenna Placement Within the Coverage Area: One practical solution to implement DIDO-NVIS systems is to place multiple DIDO distributed antennas along the circumference of a circular region of radius ˜100 miles as in The following references are referred to in the above detailed description, as indicated by the numbered brackets:
Embodiments of the invention may include various steps as set forth above. The steps may be embodied in machine-executable instructions which cause a general-purpose or special-purpose processor to perform certain steps. For example, the various components within the Base Stations/APs and Client Devices described above may be implemented as software executed on a general purpose or special purpose processor. To avoid obscuring the pertinent aspects of the invention, various well known personal computer components such as computer memory, hard drive, input devices, etc., have been left out of the figures. Alternatively, in one embodiment, the various functional modules illustrated herein and the associated steps may be performed by specific hardware components that contain hardwired logic for performing the steps, such as an application-specific integrated circuit (“ASIC”) or by any combination of programmed computer components and custom hardware components. In one embodiment, certain modules such as the Coding, Modulation and Signal Processing Logic 903 described above may be implemented on a programmable digital signal processor (“DSP”) (or group of DSPs) such as a DSP using a Texas Instruments' TMS320x architecture (e.g., a TMS320C6000, TMS320C5000, . . . etc). The DSP in this embodiment may be embedded within an add-on card to a personal computer such as, for example, a PCI card. Of course, a variety of different DSP architectures may be used while still complying with the underlying principles of the invention. Elements of the present invention may also be provided as a machine-readable medium for storing the machine-executable instructions. The machine-readable medium may include, but is not limited to, flash memory, optical disks, CD-ROMs, DVD ROMs, RAMs, EPROMs, EEPROMs, magnetic or optical cards, propagation media or other type of machine-readable media suitable for storing electronic instructions. For example, the present invention may be downloaded as a computer program which may be transferred from a remote computer (e.g., a server) to a requesting computer (e.g., a client) by way of data signals embodied in a carrier wave or other propagation medium via a communication link (e.g., a modem or network connection). Throughout the foregoing description, for the purposes of explanation, numerous specific details were set forth in order to provide a thorough understanding of the present system and method. It will be apparent, however, to one skilled in the art that the system and method may be practiced without some of these specific details. Accordingly, the scope and spirit of the present invention should be judged in terms of the claims which follow. Moreover, throughout the foregoing description, numerous publications were cited to provide a more thorough understanding of the present invention. All of these cited references are incorporated into the present application by reference.CROSS REFERENCE TO RELATED APPLICATIONS
BACKGROUND
BRIEF DESCRIPTION OF THE DRAWINGS
DETAILED DESCRIPTION
I. Disclosure of the Present Application
In one embodiment, singular value decomposition (SVD) of the channel matrix H is computed and the precoding weight w is defined as the right singular vector corresponding to the null subspace (identified by zero singular value) of H.
Every BTS is connected via the BSN to multiple distributed antennas that provide service to given coverage area called DIDO cluster. In the present patent application we describe a system and method for removing interference between adjacent DIDO clusters. As illustrated in
where k=1, . . . , K, with K being the number of clients in the interfering zone 8010A, B, U is the number of clients in the main DIDO cluster, C is the number of interfering DIDO clusters 8012-8013 and Icis the number of clients in the interfering cluster c. Moreover, rkε⊂N×Mis the vector containing the receive data streams at client k, assuming M transmit DIDO antennas and N receive antennas at the client devices; Skε⊂N×1is the vector of transmit data streams to client k in the main DIDO cluster; suε⊂N×1is the vector of transmit data streams to client u in the main DIDO cluster; sc,iε⊂N×1is the vector of transmit data streams to client i in the cthinterfering DIDO cluster; nkε⊂N×1is the vector of additive white Gaussian noise (AWGN) at the N receive antennas of client k; Hkε⊂N×Mis the DIDO channel matrix from the M transmit DIDO antennas to the N receive antennas at client k in the main DIDO cluster; Hc,kε⊂N×Mis the DIDO channel matrix from the M transmit DIDO antennas to the N receive antennas t client k in the cthinterfering DIDO cluster; Wkε⊂M×Nis the matrix of DIDO precoding weights to client k in the main DIDO cluster; Wkε⊂M×Nis the matrix of DIDO precoding weights to client u in the main DIDO cluster; Wc,iε⊂M×Nis the matrix of DIDO precoding weights to client i in the cthinterfering DIDO cluster.
The precoding weight matrices in the neighbor DIDO clusters are designed such that the following condition is satisfied
To compute the precoding matrices Wc,i, the downlink channel from the M transmit antennas to the Icclients in the interfering cluster as well as to client k in the interfering zone is estimated and the precoding matrix is computed by the DIDO BTS in the interfering cluster. If BD method is used to compute the precoding matrices in the interfering clusters, the following effective channel matrix is built to compute the weights to the ithclient in the neighbor clusters
where {tilde over (H)}c,iis the matrix obtained from the channel matrix Hcε⊂(N−I
The precoding weights Wc,iin (1) computed in the neighbor clusters are designed to transmit precoded data streams to all clients in those clusters, while pre-cancelling interference to the target client in the interfering zone. The target client receives precoded data only from its main cluster. In a different embodiment, the same data stream is sent to the target client from both main and neighbor clusters to obtain diversity gain. In this case, the signal model in (5) is expressed as
where Wc,kis the DIDO precoding matrix from the DIDO transmitters in the cthcluster to the target client k in the interfering zone. Note that the method in (6) requires time synchronization across neighboring clusters, which may be complex to achieve in large systems, but nonetheless, is quite feasible if the diversity gain benefit justifies the cost of implementation.
where INR is the interference-to-noise ratio defined as INR=SNR/SIR and SIR is the signal-to-interference ratio.
where the signal-to-interference (SIR) is derived as SIR=((1−D)/D)4. In modeling the IDCI, we consider three scenarios: i) ideal case with no IDCI; ii) IDCI pre-cancelled via BD precoding in the interfering cluster to satisfy condition (3); iii) with IDCI, not pre-cancelled by the neighbor cluster.
Methods for Handoff
where fdis the maximum Doppler shift, λ is the wavelength corresponding to the carrier frequency and θ is the angle between the vector indicating the direction transmitter-client and the velocity vector.
where k=1, . . . , U, U is the number of clients, SNR=Po/No, with Pobeing the average transmit power, Nothe noise power and αkthe pathloss/shadowing coefficient. To model pathloss/shadowing, we use the following simplified model
where a=4 is the pathloss exponent and we assume the pathloss increases with the clients' index (i.e., clients are located at increasing distance from the DIDO antennas).
where TMPE=Σn=1Ntnis the MPE averaging time, tnis the period of time of exposure to radiation with power density Sn. For “controlled” exposure the average time is 6 minutes, whereas for “uncontrolled” exposure it is increased up to 30 minutes. Then, any power source is allowed to transmit at larger power levels than the MPE limits, as long as the average power density in (14) satisfies the FCC limit over 30 minute average for “uncontrolled” exposure.
where tois the period of time over which the antenna group is active and TMPE=30 min is the average time defined by the FCC guidelines [2]. The ratio in (15) is the duty factor (DF) of the groups, defined such that the average transmit power from every DIDO antenna satisfies the MPE limit (MPE). The duty factor depends on the number of active clients, the number of groups and active antennas per-group, according to the following definition
The SNR gain (in dB) obtained in DIDO systems with power control and antenna grouping is expressed as a function of the duty factor as
We observe the gain in (17) is achieved at the expense of GdBadditional transmit power across all DIDO antennas.
In general, the total transmit power from all Naof all Nggroups is defined as
where the Pijis the average per-antenna transmit power given by
and Sij(t) is the power spectral density for the ithtransmit antenna within the jthgroup. In one embodiment, the power spectral density in (19) is designed for every antenna to optimize error rate or throughput performance.
where H is the channel estimation matrix available at the DIDO BTS.
Multiple Access Techniques for the DIDO Uplink Channel
where n=0, . . . , L−1, is the index of the channel tap, L is the number of channel taps and β=1/σDSis the PDP exponent that is an indicator of the channel coherence bandwidth, inverse proportional to the channel delay spread (σDS). Low values of β yield frequency-flat channels, whereas high values of β produce frequency selective channels. The PDP in (21) is normalized such that the total average power for all L channel taps is unitary
where Huare the channel matrices corresponding to the other DIDO clients in the system.
where θkis the set of parameters to be optimized for user k, Ŵk(θk) is the weight interpolation matrix and ∥·∥Fdenotes the Frobenius norm of a matrix. The optimization problem is formulated as
θk,opt=arg minθ
where Θkis the feasible set of the optimization problem and θk, optis the optimal solution.
θk,opt=arg minθ
where n is the OFDM tone index and A is the subset of tones.
where 0≦l≦(L0−1), L0is the number of pilot tones and cn=(REFERENCES
II. Disclosure from Certain Related Applications
SIMO = MISO MISO = SIMO DIMO = MIDO MIDO = DIMO ADDITIONAL EMBODIMENTS OF THE INVENTION
DIDO-OFDM Precoding with I/Q Imbalance
a. Background
b. Embodiments of the Invention
and
and
where t is the discrete time index, he, hcεCM×N, s=[s1, . . . , sN], x=[x1, . . . , xM] and L is the number of channel taps.
FFTK
With OFDM, the equivalent input-output relationship for a MIMO-OFDM system for subcarrier k is
where k=0, 1, . . . , K−1 is the OFDM subcarrier index, Heand Hcdenote the equivalent and conjugate channel matrices, respectively, defined as
where
while the second user observes
where He(m), Hc(m)εC1×2denote the m-th row of the matrices Heand Hc, respectively, and WεC4×4is the DIDO pre-coding matrix. From (2) and (3) it is observed that the received symbol
where αi,jare constants and Hw(i,j)εC2×2. This method is beneficial because using this precoder, it is possible to keep other aspects of the DIDO precoder the same as before, since the effects of I/Q gain and phase imbalance are completely cancelled at the transmitter.
and ρ is the signal-to-noise ratio. Alternatively, the receiver may perform a maximum likelihood symbol detection (or sphere decoder or iterative variation). For example, the first user might use the ML receiver and solve the following optimization
where S is the set of all possible vectors s and depends on the constellation size. The ML receiver gives better performance at the expense of requiring more complexity at the receiver. A similar set of equations applies for the second user.
II. Adaptive DIDO Transmission Scheme
a. Background
b. Embodiments of the Invention
with K being the number of users and Δφ is the angular separation between the users' mean AOAs. Note that the angular range [−φm,φm] is centered at the 0° angle, corresponding to the broadside direction of the ULA. Hereafter, we study the BER performance of DIDO systems as a function of the channel angle spread (AS) and angular separation between users, with BD and ASel transmission schemes and different numbers of users.
Pre-Compensation of Frequency and Phase Offset
a. Background
and for the second user as
where t is the discrete time index, hmnhand wmnare the channel and the DIDO precoding weights between the m-th user and n-th transmit antenna, respectively, and xmis the transmit signal to user m. Note that hmnand wmnare not a function of t since we assume the channel is constant over the period between training and data transmission.
and
where Tsis the symbol period, ωTn=2ΠfTnfor the n-th transmit antenna, ωUm=2ΠfUmfor the m-th user, and fTnand fUmare the actual carrier frequencies (affected by offset) for the n-th transmit antenna and m-th user, respectively. The values tmndenote random delays that cause phase offset over the channel hmn.
Δωmn=ωUm−ωTn (5)
to denote the frequency offset between the m-th user and the n-th transmit antenna.
where p1and p2are the training sequences transmitted from the first and second antennas, respectively.
ΔωT=Δωm2−Δωm1=ωT1−ωT2 (7)
Finally, the value in (7) is fed back to the base station (4701
and at the second user by
where {tilde over (t)}mn=tmn+Δt and Δt is random or known delay between the first and second transmissions of the base station. Moreover, p1and p2are the training sequences transmitted from the first and second antennas, respectively, for frequency offset and channel estimation.
and similarly for the second user
where θmn=−ΔωmnTs{tilde over (t)}mn.
where the vectors h1are defined in (12) and wm=[wm1,wm2]. Note that the invention presented in this disclosure can be applied to any other DIDO precoding method besides BD. The base station also pre-compensates for the frequency offset by employing the estimate in (7) and phase offset by estimating the delay (Δt0) between the second training transmission and the current transmission (4703
where γ1[t]=ejΔω
and expanding (16)
where γ2[t]=ejΔω
where pnis the training sequences transmitted from the n-th antenna.
ΔωT,1n=Δωmn−Δωm1=ωT1−ωTn. (19)
Finally, the values in (19) are fed back to the base station.
where θmn=−ΔωmnTs{tilde over (t)}mn,{tilde over (t)}mn=tmn+Δt and Δt is random or known delay between the first and second transmissions of the base station. Moreover, pnis the training sequence transmitted from the n-th antenna for frequency offset and channel estimation.
and feeds back to the base station that computes the DIDO precoder as described in the following subsection.
where the vectors hmare defined in (21) and wm=[wm1, wm2, . . . , wmN]. The base station also pre-compensates for the frequency offset by employing the estimate in (19) and phase offset by estimating the delay (Δto) between the second training transmission and the current transmission. Finally, the base station sends data to the users via the DIDO precoder.
Where γi[n]=ejΔω
where ε indicates the estimation error and/or variation of the frequency offset between training and data transmission. Note that the effect of ε is to destroy the orthogonality property in (13) such that the interference terms in (14) and (16) are not completely pre-canceled at the transmitter. As a results of that, the SER performance degrades for increasing values of ε.
Note that the structure of this training signal can be extended to other lengths but repeating the block structure. For example, to use 16 training signals we consider a structure such as:
where ε is the unknown discrete-time frequency offset, Δ is the unknown frame offset, h[l] are the unknown discrete-time channel coefficients, and v[n] is additive noise. To explain the key ideas in the following sections the presence of additive noise is ignored.
The proposed coarse frame synchronization algorithm is inspired from the algorithm in K. Shi and E. Serpedin, “Coarse frame and carrier synchronization of OFDM systems: a new metric and comparison,” IEEE Trans. Wireless Commun., vol. 3, no. 4, pp. 1271-1284, July 2004, derived from a maximum likelihood criterion.
Method 1—Improved coarse frame synchronization: the coarse frame synchronization estimator solves the following optimization
Let the corrected signal be defined as
The additional correction term is used to compensate for small initial taps in the channel and can be adjusted based on the application. This extra delay will be included henceforth in the channel.
This is known as a fractional frequency offset because the algorithm can only correct for offsets
This problem will be solved in the next section. Let the fine frequency offset corrected signal be defined as
for n=0, 1, . . . , 4Nt−1. The integer frequency offset is k while the unknown equivalent channel is g[l].
Method 3—Improved integer frequency offset correction: the integer frequency offset is the solution to
This gives the estimate of the total frequency offset as
Practically, Method 3 has rather high complexity. To reduce complexity the following observations can be made. First of all, the product SS(S*S)
Method 4—Low-complexity improved integer frequency offset correction: a low complexity integer frequency offset estimator solves
where K is the number of users, {tilde over (H)}k=HkTkis the equivalent channel transfer matrix, Hkis the channel matrix for the k-th user, Tkis the DIDO precoding matrix for the k-th user, γkis the per-user SNR and Nkis the number of parallel data streams sent to user k. We observe that the CQI in (1) depends on the SNR and the channel matrix.
where λk,iis the i-th singular value of the matrix {tilde over (H)}k. We observe that the per-user SER (which is a function of the post-processing SNR) depends on
and the system SER is upper bounded by the user with the smallest singular value
among all the users [2]. Then, we define the following CQI
is the total number of data streams sent to the users and H is the composite channel matrix obtained by stacking the channel matrices of all the users as
III. Disclosure from U.S. Application Ser. No. 12/630,627
Case Study 1: DIDO in UHF Spectrum
Case Study 2: DIDO in NVIS Links
REFERENCES