патент
№ US 0009628807
МПК H04N19/156

Chirp spread spectrum system and method

Авторы:
Terry Michael Schaffner
Правообладатель:
Все (3)
Номер заявки
15166826
Дата подачи заявки
27.05.2016
Опубликовано
18.04.2017
Страна
US
Дата приоритета
14.12.2025
Номер приоритета
Страна приоритета
Как управлять
интеллектуальной собственностью
Чертежи 
12
Реферат

A radio frequency receiver for receiving an interleaved single carrier chirp spread spectrum signal based on a chirp sequence includes: a demodulator configured to receive, demodulate, and digitize a modulated radio frequency (RF) signal to form a digital baseband signal; and a signal decoder configured to: despread the digital baseband signal by at least: buffering signal data into blocks of L samples; multiplying the blocks of data with a conjugate of the chirp sequence to form a result; and performing a Fast Fourier Transform (FFT) on the result; equalize data from the FFT to form N data values, where N is the number of subchannels; transform the N data values into N demodulation symbols via an N-point inverse Fourier transform; and decode the demodulation symbols to form codec symbols.

Формула изобретения

1. A radio frequency transmitter, comprising:

a modulation circuit configured to:

map a block of K information bits into a block of N transmit symbols, wherein N is greater than one;

transform the block of N transmit symbols to a block of N subcarriers in the frequency domain;

interleave the block of N subcarriers in the frequency domain into a block of L subcarriers;

transform the interleaved subcarriers into a block of time domain data of length L; and

multiply the block of time domain data by a chirp sequence of length L to form chirp spread time domain data for transmission, wherein each subcarrier transformed to the time domain is spread across the occupied bandwidth of the system using the same frequencies to effectively map each subcarrier to a chirp time offset.

2. The transmitter of claim 1, wherein the modulation circuit is configured to map the block of K information bits to a block of N transmit symbols through Quadrature phase-shift keying (QPSK).

3. The transmitter of claim 1, wherein the modulation circuit is configured to map the block of K information bits to a block of N transmit symbols through Binary phase-shift keying (BPSK).

4. The transmitter of claim 1, wherein the modulation circuit is configured to map the block of K information bits to a block of N transmit symbols through quadrature amplitude modulation (QAM).

5. A method of modulating data for transmission in a system, comprising:

mapping a block of K information bits to a block of N transmit symbols, wherein N is greater than one;

transforming the block of N transmit symbols to a block of N subcarriers in the frequency domain;

interleaving the block of N subcarriers in the frequency domain into a block of L subcarriers;

transforming the interleaved subcarriers into a block of time domain data of length L; and

multiplying the block of time domain data by a chirp sequence of length L to form chirp spread time domain data for transmission, wherein each subcarrier transformed to the time domain is spread across the occupied bandwidth of the system using the same frequencies to effectively map each subcarrier to a chirp time offset.

6. The method of modulating of claim 5, wherein mapping a block of K information bits to a block of N transmit symbols is performed through Quadrature phase-shift keying (QPSK).

7. The method of modulating of claim 5, wherein mapping a block of K information bits to a block of N transmit symbols is performed through Binary phase-shift keying (BPSK).

8. The method of modulating of claim 5, wherein mapping a block of K information bits to a block of N transmit symbols is performed through quadrature amplitude modulation (QAM).

9. A radio frequency communication system, comprising:

a radio frequency transmitter, wherein the radio frequency transmitter includes a modulation circuit and an RF modulator, wherein the radio frequency transmitter is configured to:

map a block of K information bits into a block of N transmit symbols, wherein N is greater than one;

transform the block of N transmit symbols to a block of N subcarriers in the frequency domain;

interleave the block of N subcarriers in the frequency domain into a block of L subcarriers;

transform the interleaved subcarriers into a block of time domain data of length L; and

multiply the block of time domain data by a chirp sequence of length L to form chirp spread time domain data for transmission, wherein each subcarrier transformed to the time domain is spread across the occupied bandwidth of the system using the same frequencies to effectively map each subcarrier to a chirp time offset; and

a radio frequency receiver, wherein the radio frequency receiver includes a demodulator and a signal decoder, wherein the radio frequency receiver is configured to:

receive, demodulate, and digitize a modulated radio frequency signal to form a digital baseband signal, and

recover a signal modulated using interleaved single carrier chirp spread spectrum modulation.

10. The system of claim 9, wherein the radio frequency transmitter is configured to map the block of K information bits to a block of N transmit symbols through Quadrature phase-shift keying (QPSK).

11. The system of claim 9, wherein the radio frequency transmitter is configured to map the block of K information bits to a block of N transmit symbols through Binary phase-shift keying (BPSK).

12. The system of claim 9, wherein the radio frequency transmitter is configured to map the block of K information bits to a block of N transmit symbols through quadrature amplitude modulation (QAM).

Описание

CROSS-REFERENCE TO RELATED APPLICATIONS

[0001]

The present application is a continuation application of U.S. patent application Ser. No. 14/731,226 (hereafter the '226 Application) entitled “CHIRP SPECTRUM SYSTEM AND METHOD”, filed Jun. 4, 2015 (currently pending), which is a continuation application of U.S. patent application Ser. No. 13/795,973 (hereafter the '973 Application) entitled “CHIRP SPREAD SPECTRUM SYSTEM AND METHOD”, filed on Mar. 12, 2013, now Issued U.S. Pat. No. 9,083,444. The '226 Application and '973 Application are both incorporated herein by reference in their entirety.

BACKGROUND

[0002]

In certain long range data communication and telemetry applications, the exchange of information occurs at a relatively lower data rate. In such applications, it can be advantageous to build a low to medium data rate system that possesses the characteristics of a widely variable data rate system, but with reduced power requirements.

[0003]

For an RF communication system the power amplifier (PA) is commonly the main contributor to the power consumption of the system. The Peak to Average Power Ratio (PAPR) of the transmit signal impacts the required linearity and peak transmit power specification of the PA. That is, PAPR drives average power. By lowering the PAPR of the transmit signal, the power consumption, cost, and heat dissipation of the PA can be reduced.

[0004]

There are many solutions for reducing PAPR. Some of these involve predicting peaks in the filtered transmit signal and reducing the peaks by modifying the pre-filtered transmit signal. These methods introduce distortion and are limited in the amount they reduce peak power.

[0005]

A different method for reducing PAPR is to construct a transmit signal waveform that naturally has a low peak to average ratio. For Orthogonal Frequency Division Multiplex modulation, a method for reducing the PAPR is to pre-code the transmit modulation symbols using a Fourier Transform. This technique, used in Long Term Evolution (LIE) 4G cellular systems, essentially gives the multi-carrier OFDM signal the characteristics of a much lower PAPR single carrier signal.

[0006]

Pre-coded OFDM or FDMA does not solve the problem since this type of modulation is designed for high rate (>1 bps/Hz) and is not extensible to lower data rates (<<1 bps/Hz) that operate at very low signal to noise ratios.

[0007]

A reduced power system and method for transmission of data at low data rates is needed.

SUMMARY

[0008]

A radio frequency receiver for receiving an interleaved single carrier chirp spread spectrum signal based on a chirp sequence includes: a demodulator configured to receive, demodulate, and digitize a modulated radio frequency (RF) signal to form a digital baseband signal; and a signal decoder configured to: despread the digital baseband signal by at least: buffering signal data into blocks of L samples; multiplying the blocks of data with a conjugate of the chirp sequence to form a result; and performing a Fast Fourier Transform (FFT) on the result; equalize data from the FFT to form N data values, where N is the number of subchannels; transform the N data values into N demodulation symbols via an N-point inverse Fourier transform; and decode the demodulation symbols to form codec symbols.

BRIEF DESCRIPTION OF THE FIGURES

[0009]

FIG. 1 shows a chirp-based communications system, consistent with an example embodiment of the invention.

[0010]

FIGS. 2A and 2B illustrate a transmitter, consistent with an example embodiment of the invention.

[0011]

FIG. 3 shows a method of interleaving symbols, consistent with an example embodiment of the invention.

[0012]

FIG. 4 shows a modulated signal, consistent with an example embodiment of the invention.

[0013]

FIGS. 5A and 5B illustrate a transmitter, consistent with an example embodiment of the invention.

[0014]

FIG. 6 shows a modulated signal, consistent with an example embodiment of the invention.

[0015]

FIGS. 7 and 8 illustrate transmitters, consistent with example embodiments of the invention.

[0016]

FIG. 9 illustrates a receiver, consistent with an example embodiment of the invention.

[0017]

FIG. 10 illustrates a Fast Fourier Transform and equalizer, consistent with an example embodiment of the invention.

[0018]

FIG. 11 illustrates a receiver, consistent with an example embodiment of the invention.

DETAILED DESCRIPTION

[0019]

In the following detailed description of example embodiments of the invention, reference is made to specific examples by way of drawings and illustrations. These examples are described in sufficient detail to enable those skilled in the art to practice the invention, and serve to illustrate how the invention may be applied to various purposes or embodiments. Other embodiments of the invention exist and are within the scope of the invention, and logical, mechanical, electrical, and other changes may be made without departing from the subject or scope of the present invention. Features or limitations of various embodiments of the invention described herein, however essential to the example embodiments in which they are incorporated, do not limit the invention as a whole, and any reference to the invention, its elements, operation, and application do not limit the invention as a whole but serve only to define these example embodiments. The following detailed description does not, therefore, limit the scope of the invention, which is defined only by the appended claims.

[0020]

As noted above, it can be advantageous in certain low data rate, long range data communication and telemetry applications, to build a low to medium data rate system. It can be particularly advantageous to build a low to medium data rate system that possesses the characteristics of a widely variable data rate system (i.e., high sensitivity, wideband frequency diversity, and a near constant transmit envelope), but with reduced power requirements.

[0021]

One such system is shown in FIG. 1. In FIG. 1, chirp spread spectrum transmission modulation system 100 includes a transmitter 102 and a receiver 104.

[0022]

In one embodiment, PAPR is reduced via a multi-channel chirp spread spectrum modulation method that produces a transmit signal with a low PAPR characteristic. In one such embodiment, system 100 is implemented as a point-to-point system using low cost radios.

[0023]

In one embodiment, as is shown in FIG. 2a, transmitter 102 is an interleaved single carrier chirp spread spectrum (Interleaved SC-CSS) transmitter that performs a pre-coding function at 112 based on a Discrete Fourier Transform (DFT) prior to sub-carrier mapping at 114. In the approach shown in FIG. 2a, the pre-coding function is an N point Discrete Fourier Transform (DFT). In the embodiment shown, this pre-coding function is added to the transmitter in order to reduce the Peak to Average Power Ratio (PAPR). When N is a power of 2 the DFT may be efficiently performed using a Fast Fourier Transform (FFT) algorithm.

[0024]

In the approach shown in FIG. 2a, a block of K information bits is mapped at 110 to a block of N transmit symbols. The symbols may be BPSK, QPSK, QAM, or any other known type of modulation. The block of symbols, represented as a matrix of complex-valued data, are transformed at 112 into the frequency domain via an N point DFT. The N frequency domain values are then mapped at 114 to the inputs of an L-point iFFT using an interleaved subcarrier mapping. This maps each coded symbol to an individual subcarrier. An L point iFFT then transforms the data to the time domain at 116.

[0025]

A representative interleaved subcarrier mapping is shown in FIG. 3. As can be seen in FIG. 3, in an interleaved subcarrier mapping consecutive subcarriers are distributed, or interleaved. In one example embodiment, every L/N subcarrier is used as shown in FIG. 3. For interleaved subcarrier mapping, the transmit symbol transformation may be mathematically represented more simply in the time domain. One such example is shown in FIG. 2b below.

[0026]

In one embodiment, as is shown in FIG. 2a, transmitter 102 implements interleaved single carrier chirp spread spectrum (Interleaved SC-CSS) modulation. In this approach, the block of time domain data produced at 116 is multiplied by a chirp sequence at 118. This multiplication spreads each subcarrier across the occupied bandwidth of the system. Each coded symbol is then effectively mapped to an orthogonal chirp time offset. The mapping is spaced sufficiently to allow for multipath reception at the receiver without introducing any inter-channel interference.

[0027]

The output from 118 is then serialized (via a parallel to serial converter at 120), up-sampled and low pass filtered at 122, and then converted to an analog signal by a digital to analog converter (DAC) at 124. The analog signal is then, at 126, converted to an RF signal, amplified, and routed to an antenna for transmission over the air.

[0028]

If not for the DFT pre-coding the PAPR of transmitter 102 would be high due to the fact that the transmit signal consists of the sum of multiple pseudo-random orthogonal symbols. With DFT pre-coding, however, the transmit signal characteristics are like that of a single carrier transmission, resulting in a pre-filtered signal having a constant envelope, or a PAPR value of one.

[0029]

The Interleaved SC-CSS transmitter 102 may be represented more simply in the time domain. This is shown in FIG. 2b. Representing the symbol transformation entirely in the time domain simplifies the processing. The block of N symbols are simply repeated L/N times at 127. At the receiver, the demodulator is able to recover the symbols by equalizing the signal in the frequency domain, similar to the uncoded FDMA case.

[0030]

An example chirp signal that can be used in the transmitter 102 of FIGS. 2a and 2b is shown in FIG. 4. FIG. 4 shows a plot of frequency versus time for two symbols using Interleaved SC-CSS modulation. In this figure only two channels are shown for clarity. Both channels, one labeled 130 and the other labeled 132, sweep the full bandwidth using the same discrete frequencies. In one example embodiment, 32 channels and 1024 discrete frequencies are used across the bandwidth F. Channels 130 and 132 are orthogonal due to the time offset between them. In addition, in some embodiments, the channels are separated sufficiently to prevent multipath from causing inter-channel interference.

[0031]

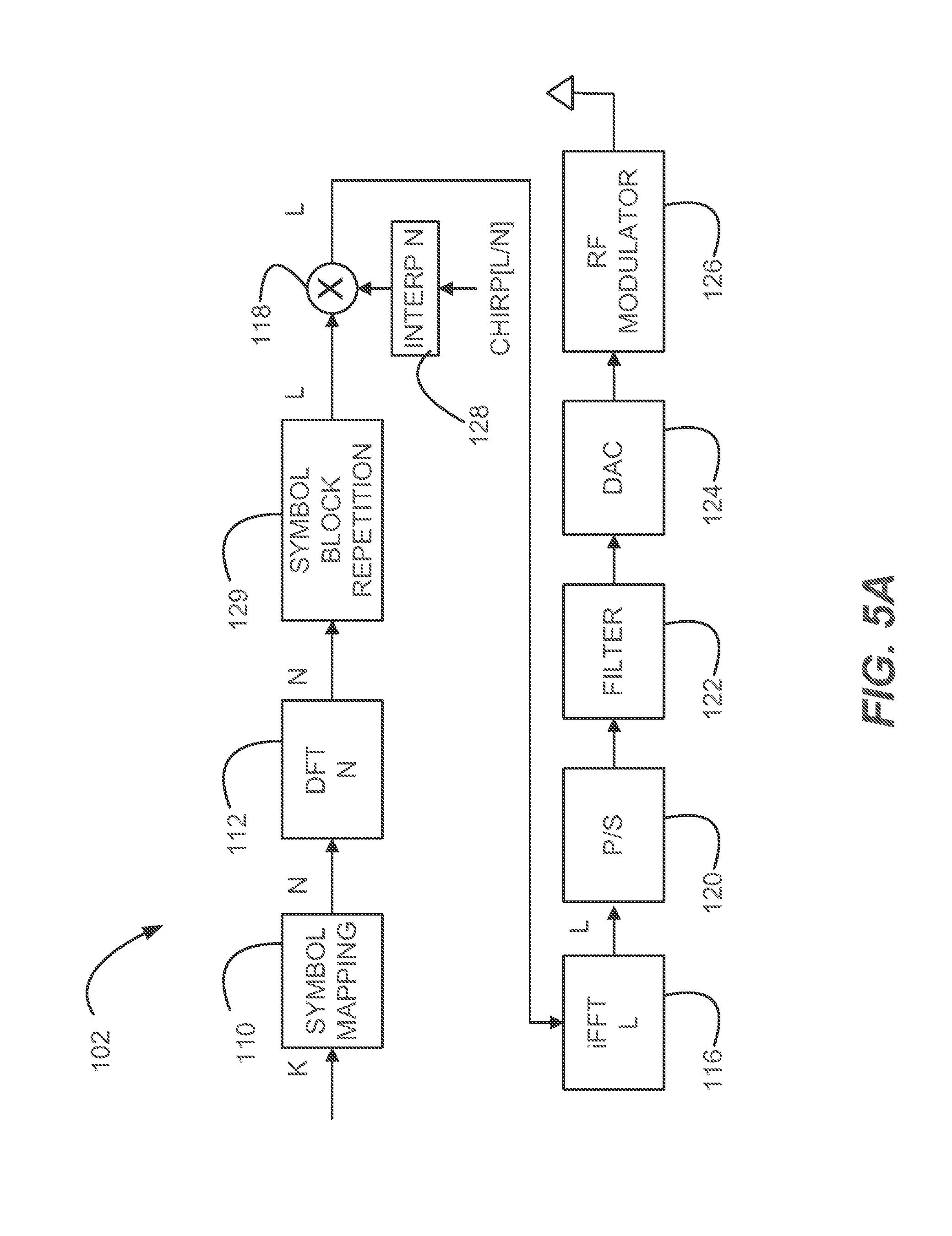
A disadvantage of the method of modulation of FIGS. 2a and 2b is that the number of symbols, N, per transmit block, L, is limited due to the risk of inter-channel interference. Therefore, this structure is best used for low data rates. To achieve higher data rates another type of chirp spreading is employed. One embodiment of a transmitter 102 using this alternate type of spreading and multiplexing is shown in FIGS. 5a and 5b.

[0032]

In this method the block of coded symbols is repeated and multiplied by an interpolated chirp sequence in the frequency domain. The chirp sequence length is equal to L/N, as is the number of block repetitions. Each coded symbol is therefore spread by a length L/N chirp sequence. Instead of spreading each coded symbol with the same chirp sequence, the chirp signal is interpolated at 128 by a factor of N to improve the PAPR of the time domain signal. This method results in a PAPR of unity for the pre-filtered transmit signal. With interleaved single carrier orthogonal chirp division multiplexing (Interleaved SC-OCDM), multipath will not cause inter-channel interference since each channel occupies a different set of frequencies. However, frequency offset error at the receiver will cause inter-channel interference (ICI). Accurate frequency estimation is therefore required for this method.. For lower data rates that operate at low signal to noise ratios, the Interleaved SC-CSS modulation is a better choice due to the inaccurate frequency offset estimates that may occur when receiving weak signals. For higher data rates the Interleaved SC-OCDM modulation is a better choice due to the reduced ICI.

[0033]

In the approach shown in FIG. 5a, a block of K information bits is mapped at 110 to a block of N transmit symbols. The symbols may be BPSK, QPSK, QAM, or any other known type of modulation. The block of symbols, represented as a matrix of complex-valued data, are transformed at 112 into the frequency domain via an N point DFT. The block of N symbols in the frequency domain are simply repeated L/N times at 129 and then spread at 118 using an interpolated chirp sequence. In the example shown, the chirp sequence length is equal to L/N. The chirp sequence is interpolated at 128.

[0034]

The L frequency domain values are then converted back into the time domain at 116 mapped at 114 to the inputs of an L-point iFFT using an interleaved subcarrier mapping. This maps each coded symbol to an individual subcarrier. An L point iFFT then transforms the data to the time domain at 116.

[0035]

The transmit symbol transformation may also be mathematically represented in the time domain as shown in FIG. 5b.

[0036]

FIG. 6 is a spectral plot of two symbols using Interleaved SC-OCDM modulation. The figure shows frequency versus time for two channels, one black/dark grey (152) the other medium gray/light grey (150), assuming a chirp length of 8 samples. The orthogonality of the two channels is due to the fact the channels operate on separate discrete frequencies.

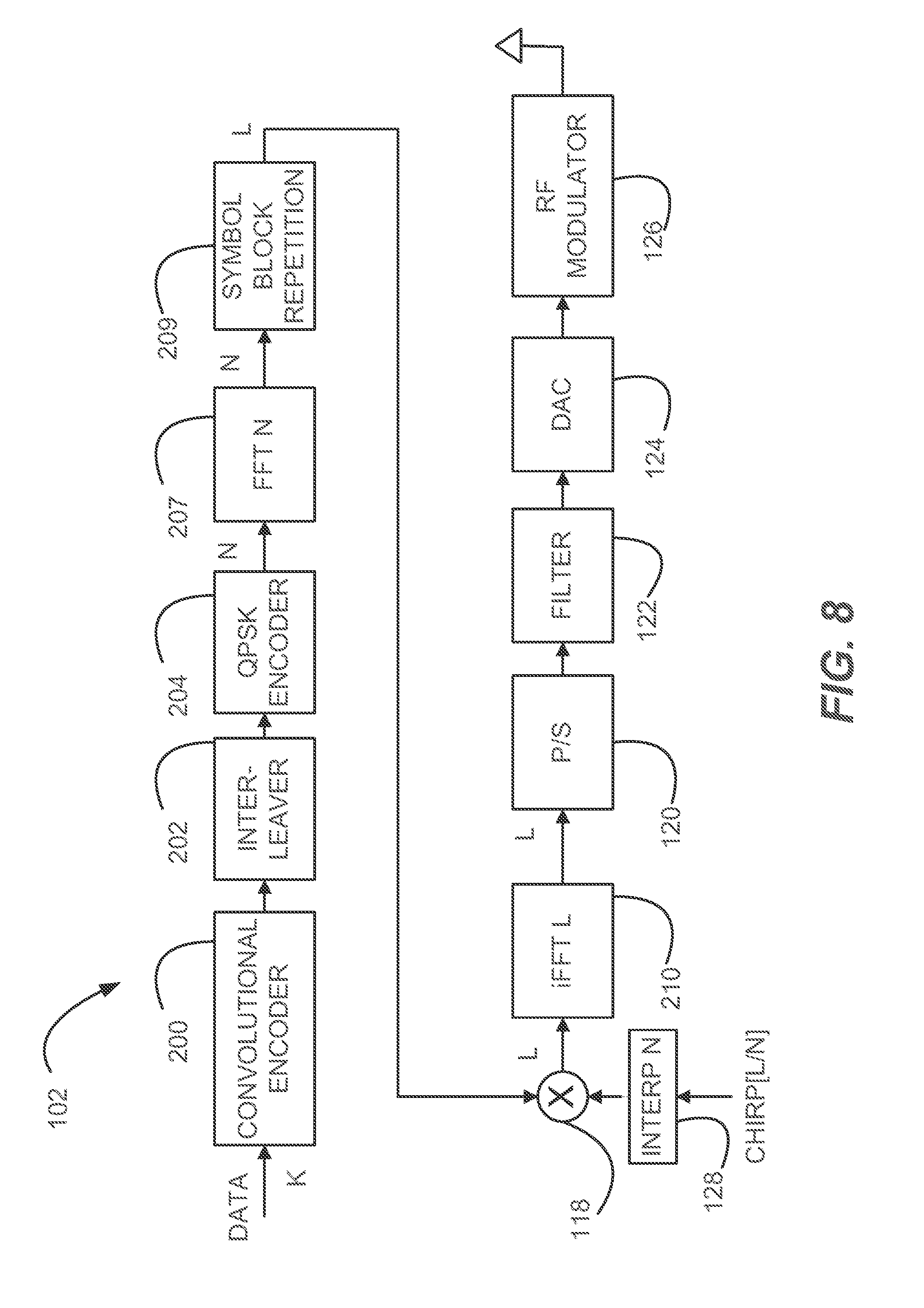
[0037]

An example embodiment of Interleaved SC-CSS is shown in FIG. 7. In the example embodiment shown in FIG. 7, a block of K information bits is encoded at 202. In one such embodiment, forward error correction is used to provide a more robust communication link and to provide higher sensitivity at the receiver 104. The information data is encoded by a convolutional encoder at 202 and the coded bits are distributed within a block of data by an interleaver at 204. The coded bits are then mapped to modulation symbols by a QPSK encoder at 206. In both embodiments the number of symbols, N, and the transmit block length, L, are powers of 2 with N<L. In the OCDM case, since N is a power of 2, the pre-coding is efficiently performed with an N point FFT at 208.

[0038]

An example embodiment of Interleaved SC-OCDM is shown in FIG. 8. In the example embodiment shown in FIG. 8, a block of K information bits is encoded at 202. In one such embodiment, forward error correction is used to provide a more robust communication link and to provide higher sensitivity at the receiver 104. The information data is encoded by a convolutional encoder at 202 and the coded bits are distributed within a block of data by an interleaver at 204. The coded bits are then mapped to modulation symbols by a QPSK encoder at 206. In both embodiments the number of symbols, N, and the transmit block length, L, are powers of 2 with N<L. In the OCDM case, since N is a power of 2, the pre-coding is efficiently performed with an N point FFT at 208.

[0039]

In some example embodiments of transmitter 102 shown in FIGS. 7 and 8, L is equal to 1024. Due to the large symbol length, no cyclic prefix is added to each transmission symbol (since the degradation due to ISI is small).

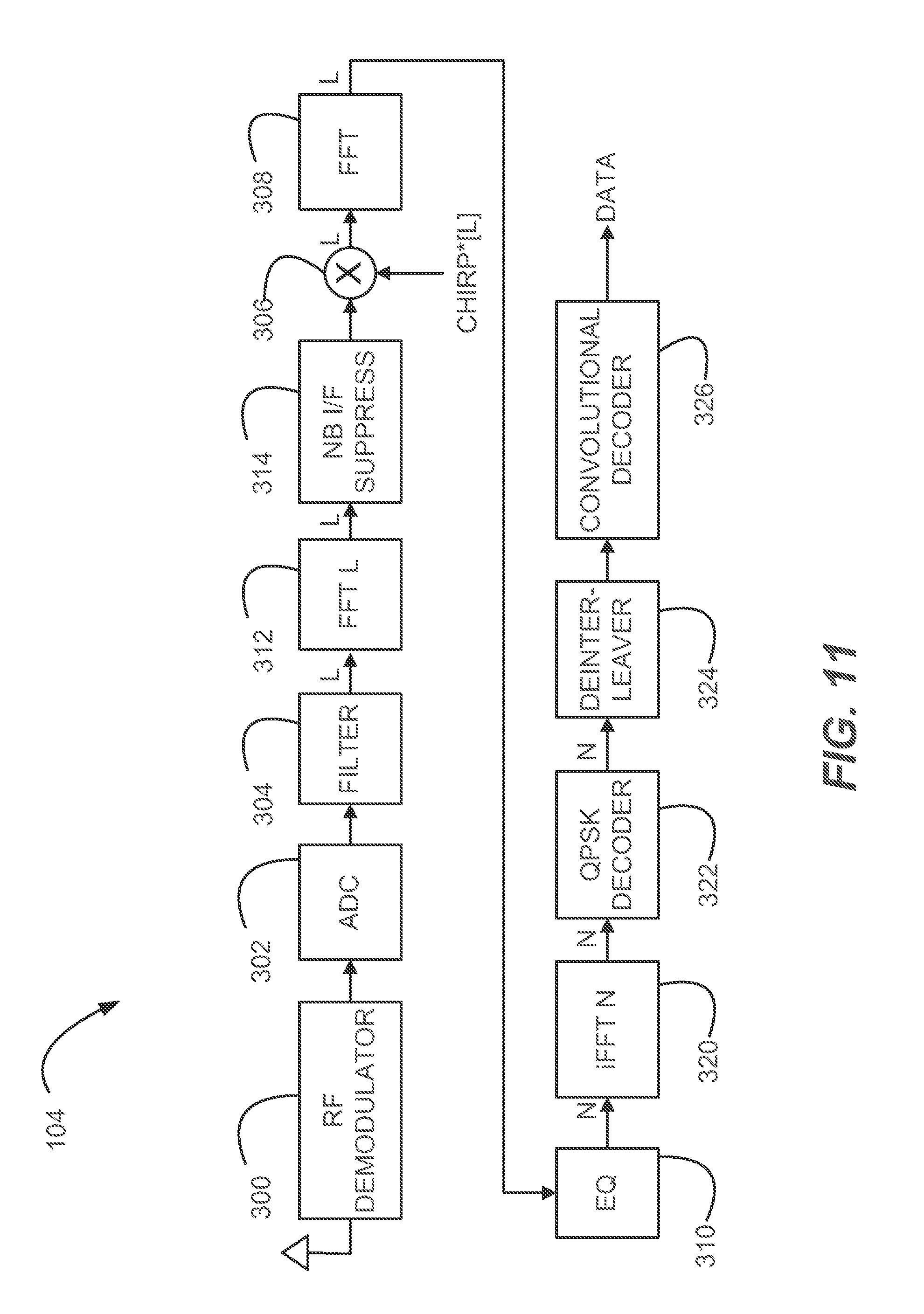
[0040]

FIG. 9 shows a diagram of a receiver 104 which may be used to receive the signal transmitted by the Interleaved SC-CS S transmitter as shown in FIG. 7. An RF demodulator 300 down-converts the RF signal to an analog baseband signal. The analog signal is converted to a digital baseband signal with an Analog to Digital Converter 302. The digital baseband signal is then low-pass filtered by a digital filter 304. The digital stream of data from the output of the filter is then correlated with the conjugate of the chirp signal at 306. This is accomplished by buffering the data into a block of L samples, multiplying the block of data sample by sample with the conjugate of the length-L chirp signal, and then performing at 308, a length L Fourier transform on the data.

[0041]

The data from the FFT is then equalized at 310 to form N data values, where N is the number of sub-channels. The N values are transformed at 320 by an N-point inverse Fourier transform to obtain N demodulation symbols. A QPSK decoder decodes the demodulation symbols at 322 to form codec symbols. The codec symbols are then de-interleaved at 324 and convolutionally decoded at 326 to obtain the recovered information data. In the embodiment shown the underlying modulation scheme is QPSK, but any other modulation may be used such as BPSK or m-ary QAM. In addition, the embodiment shown in FIG. 9 employs convolution coding error correction. The receiver 104 may use no forward error correction, or it may employ other known error correction codes such as Reed-Solomon, LDPC codes, or turbo codes.

[0042]

An L-point FFT 308 that can be used in the SC Interleaved CSS Receiver 104 of FIG. 9 is shown in FIG. 10. The figure depicts a K-tap equalizer 310 with N sub-channels. The outputs from the FFT are multiplied by the complex conjugate of the channel impulse response, Ck. The results of the multiplications are summed to form a complex value for each of the sub-channels.

[0043]

An SC Interleaved CSS Receiver which employs frequency domain demodulation is illustrated in FIG. 11. In the example embodiment of FIG. 11, the filtered, digital baseband signal is first buffered into a block of L samples and converted into the frequency domain using an L point FFT 312. Conversion into the frequency domain may be desirable in order to easily filter (at 314) any narrowband interference which may appear in the pass-band. Following narrowband suppression, the block of data is correlated with the chirp signal at 306 by multiplying the data with the length L chirp signal, then performing an L point FFT at 308. The remaining processing is the same as the time domain demodulator case as presented in FIG. 9.

[0044]

The above described chirp spread spectrum modulation methods have the advantage that they exhibit low transmit signal PAPR, scalable data rates, wideband signal with multipath recoverable at receiver, coherent, high sensitivity acquisition and demodulation, high processing gains that are robust to interference and low inter-symbol and inter-channel interference.

[0045]

Although specific embodiments have been illustrated and described herein, it will be appreciated by those of ordinary skill in the art that any arrangement which is calculated to achieve the same purpose may be substituted for the specific embodiments shown. The invention may be implemented in various modules and in hardware, software, and various combinations thereof and any combination of the features described in the examples presented herein is explicitly contemplated as an additional example embodiment. This application is intended to cover any adaptations or variations of the example embodiments of the invention described herein. It is intended that this invention be limited only by the claims, and the full scope of equivalents thereof.

Как компенсировать расходы
на инновационную разработку
Похожие патенты