Disclosed are a display device and controlling method thereof. The present invention includes a communication unit configured to perform a communication with a terminal device located in a preset distance, the communication unit configured to receive terminal device's information including an identifier of the terminal device, a controller determining whether a card included in a card group exists by searching the card group associated with the received terminal device's identifier, and a display unit, wherein if the card included in the searched card group exists, the controller displays a main card and wherein if the card included in the searched card group does not exist, the controller outputs a notification message.
1. A mobile terminal comprising:
a communication unit configured to perform a communication with a terminal device located within a preset distance range; a display; and a controller coupled to the communication unit and the display, and configured to:
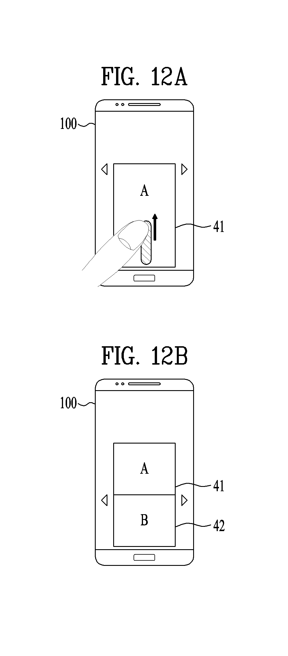
cause the communication unit to receive an identifier of the terminal device located within the preset distance range, the identifier including function information of the terminal device; recognize a function of the terminal device based on the received identifier; search for a card group corresponding to the recognized function of the terminal device; cause the display to display at least one card image of the searched card group; and cause the communication unit to transmit card information corresponding to the at least one displayed card image to the terminal device located within the preset distance range such that the function of the terminal device is performed using the card information, wherein the identifier comprises a payment device identifier indicating a payment terminal device, a withdrawal device identifier indicating a cash withdrawal terminal device, a personal device identifier indicating a personal terminal device, a ticket device identifier indicating a ticket check terminal device, and a door lock identifier indicating a digital door lock. 2. The mobile terminal of cause the display to display a card region in response to an input of a touch gesture received via the input unit in a direction toward the display; cause the communication unit to communicate with the terminal device when the card region is displayed; and cause the display to display a main card image within the card region. 3. The mobile terminal of the input unit includes a fingerprint recognition sensor configured to recognize fingerprint information when the touch gesture is received; and cause the display to display the card region when the recognized fingerprint information matches fingerprint information pre-stored at the mobile terminal. 4. The mobile terminal of the display includes a fingerprint recognition sensor; and the controller is further configured to:
execute a card application; compare fingerprint information, which is received via the display while the card application is executed and recognized by the fingerprint recognition sensor, with fingerprint information pre-stored at the mobile terminal; and cause the communication unit to perform the communication with the terminal device if the recognized fingerprint information matches the pre-stored fingerprint information. 5. The mobile terminal of cause the communication unit to receive a plurality of information related to a plurality of terminal devices, the plurality of information including different identifiers respectively corresponding to the plurality of terminal devices, when the plurality of terminal devices are located within the preset distance range; and cause the display to display a selection menu allowing selection of at least one of the plurality of terminal devices based on the different identifiers. 6. The mobile terminal of each of the payment device identifier, the withdrawal device identifier, the personal device identifier, the ticket device identifier, and the door lock identifier corresponds to a different type of the terminal device; and a different function is performed at a corresponding external device according to a corresponding identifier among the payment device identifier, the withdrawal device identifier, the personal device identifier, the ticket device identifier, and the door lock identifier. 7. The mobile terminal of 8. The mobile terminal of select a main card among a plurality of cards included in the card group based on statistical information of a usage pattern such that the main card is most frequently used with the payment terminal device; or cause the display to display a main card image pre-set by a user as the main card. 9. The mobile terminal of 10. The mobile terminal of 11. The mobile terminal of 12. The mobile terminal of 13. The mobile terminal of 14. The mobile terminal of 15. The mobile terminal of search for at least one of a credit card group or a debit card group; cause the display to display a card image associated with a card included in the at least one of the credit card group or the debit card group; and cause the display to display information related to the personal terminal device. 16. The mobile terminal of 17. The mobile terminal of 18. The mobile terminal of 19. The mobile terminal of 20. A method for controlling a mobile terminal, comprising:
communicating with a terminal device located within a preset distance range via a communication unit; receiving an identifier of the terminal device located within the preset distance range via the communication unit, the identifier including function information of the terminal device; recognizing a function of the terminal device based on the received identifier; searching for a card group corresponding to the recognized function of the terminal device; displaying at least one card image of the searched card group on a display; and transmitting card information corresponding to the at least one displayed card image to the terminal device located within the preset distance range via the communication unit such that the function of the terminal device is performed using the card information, wherein the identifier comprises a payment device identifier indicating a payment terminal device, a withdrawal device identifier indicating a cash withdrawal terminal device, a personal device identifier indicating a personal terminal device, a ticket device identifier indicating a ticket check terminal device, and a door lock identifier indicating a digital door lock.
Pursuant to 35 U.S.C. §119(a), this application claims the benefit of earlier filing date and right of priority to Korean Application No. 10-2015-0083951, filed on Jun. 15, 2015, the contents of which are hereby incorporated by reference herein in their entirety. Field of the Invention The present invention relates to a display device, and more particularly, to a display device and controlling method thereof. Discussion of the Related Art Generally, terminals can be classified into mobile/portable terminals and stationary terminals. In particular, the mobile terminals can be further classified into handheld terminals and vehicle mounted terminals according to possibility of user's direct portability. Recently, functions of a mobile terminal tend to be diversified. For instance, the diversified functions include a function of data and audio communication, a function of photographing and video-making through a camera, a function of audio recording, a function of music file play through a speaker system, a function of outputting an image or video to a display unit, and the like. A prescribed terminal is further equipped with an electronic game play function or performs a multimedia player function. Particularly, a recent mobile terminal is able to receive multicast signals for providing visual contents such as a broadcast, a video, a television program and the like. As functions of the terminal are getting diversified, the terminal tends to be implemented as a multimedia player provided with complex functions such as photographing of photos or videos, playback of music or video files, game play, broadcast reception and the like for example. To support and increase the terminal functions, it may be able to consider the improvement of structural parts and/or software parts of the terminal. Meanwhile, a user generally possesses various kinds of cards. For instance, a user may possess a credit card for payments, a debit card, a cash withdrawal card for cash withdrawal, a key-card for opening a door lock, a card for a transportation means, a ticket for entry into a specific place, and the like. When a user carries a number of cards, it may cause inconvenience to the user and raise the possibility of loss. Thus, the demand for a technology of using a plurality of card informations loaded on a terminal is increasingly rising. Accordingly, embodiments of the present invention are directed to a display device and controlling method thereof that substantially obviate one or more problems due to limitations and disadvantages of the related art. An object of the present invention is to provide a display device and controlling method thereof, by which a plurality of card informations can be inserted in a single display device and by which a single card can be recommended in consideration of a nearby external device. Additional advantages, objects, and features of the invention will be set forth in the disclosure herein as well as the accompanying drawings. Such aspects may also be appreciated by those skilled in the art based on the disclosure herein. To achieve these objects and other advantages and in accordance with the purpose of the invention, as embodied and broadly described herein, a display device according to one embodiment of the present invention may include a communication unit configured to perform a communication with a terminal device located in a preset distance, the communication unit configured to receive terminal device's information including an identifier of the terminal device, a controller determining whether a card included in a card group exists by searching the card group associated with the received terminal device's identifier, and a display unit, wherein if the card included in the searched card group exists, the controller displays a main card and wherein if the card included in the searched card group does not exist, the controller outputs a notification message. Preferably, the display device may further include an input unit disposed on a prescribed lateral side of the display unit, the input unit configured to receive an input of a touch gesture. If f a swipe gesture of moving in a direction of the display unit is inputted through the input unit, the controller may control the display unit to display a card region appearing from a lateral side adjacent to the input unit in the lateral side of the display unit. After the card region has been displayed, the controller may control the communication unit to perform the communication with the terminal device located in the preset distance. And, the controller may control the display unit to display the selected main card in the card region. More preferably, the input unit may include a fingerprint recognition sensor. When the touch gesture is inputted, the input unit may further receive an input of a fingerprint information. If the inputted fingerprint information matches a saved fingerprint information, the controller may control the display unit to display the card region. Preferably, the display unit may include a fingerprint recognition sensor. After a card application has been launched, if a fingerprint information is inputted through the display unit, the controller may compare the inputted fingerprint information to a saved fingerprint information. If the inputted fingerprint information matches the saved fingerprint information, the controller may control the communication unit to perform the communication with the terminal device located in the preset distance. Preferably, if the controller receives informations of a plurality of terminal devices including different identifiers, respectively, the controller may control the display unit to display a selection menu for selecting the terminal devices based on the different identifiers. Preferably, the identifier may include at least one of a payment device identifier indicating a payment terminal device, a withdrawal device identifier indicating a cash withdrawal terminal device, a personal device identifier indicating a personal terminal device, a ticket device identifier indicating a ticket check terminal device, and a door lock identifier indicating a digital door lock. More preferably, if the identifier includes the payment device identifier, the controller may search at least one of a credit card group and a debit card group. In this case, the controller may select and display the main card based on statistical information of a user's use pattern and the controller may display a card set by the user as the main card. And, the controller may make a payment through the terminal device by setting the main card displayed on the display unit as a payment card. Moreover, if the information of the terminal device comprises membership information, the controller may further search a membership card group and may select a membership card corresponding to the membership information. Furthermore, if a preset command is inputted to the main card displayed on the display unit, the controller may display a separate card layer and the selected membership card. More preferably, if the information of the terminal device includes a unique bank information and the identifier includes the withdrawal device identifier, the controller may search a cash withdrawal card group and select a cash withdrawal card corresponding to the unique bank information as the main card. More preferably, if the information of the terminal device includes the ticket device identifier, the controller may search a ticket group and select a ticket card corresponding to the ticket device identifier as the main card. If the information of the terminal device includes the door lock identifier, the controller may select a key card corresponding to the door lock identifier as the main card. More preferably, if the information of the terminal device includes the personal device identifier, the controller may display the main card by searching at least one of a credit card group and a debit card group and the controller may display the terminal device. In this case, if the displayed main card is selected and moved to the displayed terminal device, the controller may display a menu for selecting either a lend mode or a prepay mode. And, if the lend mode is selected, the controller may send the identifier of the main card to the terminal device by excluding card information of the selected main card. Moreover, if the prepay mode is selected, the controller may send the card information of the selected main card and a limit information of the selected main card to the terminal device. Furthermore, the controller may send the terminal device at least one of a place information, a category information and a time information for restricting a use of the selected main card. In another aspect of the present invention, as embodied and broadly described herein, a method of controlling a display device according to another embodiment of the present invention may include the steps of receiving terminal device's information including an identifier of the terminal device by performing a communication with the terminal device located in a preset distance, determining whether a card included in a card group exists by searching the card group associated with the received terminal device's identifier, if the card included in the searched card group exists, displaying a main card, and if the card included in the searched card group does not exist, outputting a notification message. Accordingly, embodiments of the present invention provide various effects and/or features. According to at least one of embodiments of the present invention, a card corresponding to an external device can be displayed by communicating with the external device. According to at least one of embodiments of the present invention, a card search and authentication can be performed in response to a reception of a single input. According to at least one of embodiments of the present invention, a plurality of cards related to an external device can be searched and displayed. According to at least one of embodiments of the present invention, a card can be lent to a counterpart in various ways. According to at least one of embodiments of the present invention, a payment function can be performed using a plurality of cards. According to at least one of embodiments of the present invention, a user can be intuitively informed of a card search function execution and a found card. Effects obtainable from the present invention may be non-limited by the above mentioned effect. And, other unmentioned effects can be clearly understood from the following description by those having ordinary skill in the technical field to which the present invention pertains. It is to be understood that both the foregoing general description and the following detailed description of the present invention are exemplary and explanatory and are intended to provide further explanation of the invention as claimed. The accompanying drawings, which are included to provide a further understanding of the invention and are incorporated in and constitute a part of this application, illustrate embodiment(s) of the invention and together with the description serve to explain the principle of the invention. The above and other aspects, features, and advantages of the present invention will become more apparent upon consideration of the following description of preferred embodiments, taken in conjunction with the accompanying drawing figures. In the drawings: Description will now be given in detail according to exemplary embodiments disclosed herein, with reference to the accompanying drawings. For the sake of brief description with reference to the drawings, the same or equivalent components may be provided with the same reference numbers, and description thereof will not be repeated. In general, a suffix such as “module” and “unit” may be used to refer to elements or components. Use of such a suffix herein is merely intended to facilitate description of the specification, and the suffix itself is not intended to give any special meaning or function. In the present disclosure, that which is well-known to one of ordinary skill in the relevant art has generally been omitted for the sake of brevity. The accompanying drawings are used to help easily understand various technical features and it should be understood that the embodiments presented herein are not limited by the accompanying drawings. As such, the present disclosure should be construed to extend to any alterations, equivalents and substitutes in addition to those which are particularly set out in the accompanying drawings. It will be understood that although the terms first, second, etc. may be used herein to describe various elements, these elements should not be limited by these terms. These terms are generally only used to distinguish one element from another. It will be understood that when an element is referred to as being “connected with” another element, the element can be connected with the other element or intervening elements may also be present. In contrast, when an element is referred to as being “directly connected with” another element, there are no intervening elements present. A singular representation may include a plural representation unless it represents a definitely different meaning from the context. Terms such as “include” or “has” are used herein and should be understood that they are intended to indicate an existence of several components, functions or steps, disclosed in the specification, and it is also understood that greater or fewer components, functions, or steps may likewise be utilized. Mobile terminals presented herein may be implemented using a variety of different types of terminals. Examples of such terminals include cellular phones, smart phones, user equipment, laptop computers, digital broadcast terminals, personal digital assistants (PDAs), portable multimedia players (PMPs), navigators, portable computers (PCs), slate PCs, tablet PCs, ultra books, wearable devices (for example, smart watches, smart glasses, head mounted displays (HMDs)), and the like. By way of non-limiting example only, further description will be made with reference to particular types of mobile terminals. However, such teachings apply equally to other types of terminals, such as those types noted above. In addition, these teachings may also be applied to stationary terminals such as digital TV, desktop computers, and the like. Reference is now made to The mobile terminal 100 is shown having components such as a wireless communication unit 110, an input unit 120, a sensing unit 140, an output unit 150, an interface unit 160, a memory 170, a controller 180, and a power supply unit 190. It is understood that implementing all of the illustrated components is not a requirement, and that greater or fewer components may alternatively be implemented. Referring now to The wireless communication unit 110 typically includes one or more modules which permit communications such as wireless communications between the mobile terminal 100 and a wireless communication system, communications between the mobile terminal 100 and another mobile terminal, communications between the mobile terminal 100 and an external server. Further, the wireless communication unit 110 typically includes one or more modules which connect the mobile terminal 100 to one or more networks. To facilitate such communications, the wireless communication unit 110 includes one or more of a broadcast receiving module 111, a mobile communication module 112, a wireless Internet module 113, a short-range communication module 114, and a location information module 115. The input unit 120 includes a camera 121 for obtaining images or video, a microphone 122, which is one type of audio input device for inputting an audio signal, and a user input unit 123 (for example, a touch key, a push key, a mechanical key, a soft key, and the like) for allowing a user to input information. Data (for example, audio, video, image, and the like) is obtained by the input unit 120 and may be analyzed and processed by controller 180 according to device parameters, user commands, and combinations thereof. The sensing unit 140 is typically implemented using one or more sensors configured to sense internal information of the mobile terminal, the surrounding environment of the mobile terminal, user information, and the like. For example, in The output unit 150 is typically configured to output various types of information, such as audio, video, tactile output, and the like. The output unit 150 is shown having a display unit 151, an audio output module 152, a haptic module 153, and an optical output module 154. The display unit 151 may have an inter-layered structure or an integrated structure with a touch sensor in order to facilitate a touch screen. The touch screen may provide an output interface between the mobile terminal 100 and a user, as well as function as the user input unit 123 which provides an input interface between the mobile terminal 100 and the user. The interface unit 160 serves as an interface with various types of external devices that can be coupled to the mobile terminal 100. The interface unit 160, for example, may include any of wired or wireless ports, external power supply ports, wired or wireless data ports, memory card ports, ports for connecting a device having an identification module, audio input/output (I/O) ports, video I/O ports, earphone ports, and the like. In some cases, the mobile terminal 100 may perform assorted control functions associated with a connected external device, in response to the external device being connected to the interface unit 160. The memory 170 is typically implemented to store data to support various functions or features of the mobile terminal 100. For instance, the memory 170 may be configured to store application programs executed in the mobile terminal 100, data or instructions for operations of the mobile terminal 100, and the like. Some of these application programs may be downloaded from an external server via wireless communication. Other application programs may be installed within the mobile terminal 100 at time of manufacturing or shipping, which is typically the case for basic functions of the mobile terminal 100 (for example, receiving a call, placing a call, receiving a message, sending a message, and the like). It is common for application programs to be stored in the memory 170, installed in the mobile terminal 100, and executed by the controller 180 to perform an operation (or function) for the mobile terminal 100. The controller 180 typically functions to control overall operation of the mobile terminal 100, in addition to the operations associated with the application programs. The controller 180 can process or provide appropriate information or function to a user by processing signals, data, information and the like inputted or outputted through the above-mentioned components or running application programs saved in the memory 170. The controller 180 may provide or process information or functions appropriate for a user by processing signals, data, information and the like, which are input or output by the various components depicted in The power supply unit 190 can be configured to receive external power or provide internal power in order to supply appropriate power required for operating elements and components included in the mobile terminal 100. The power supply unit 190 may include a battery, and the battery may be configured to be embedded in the terminal body, or configured to be detachable from the terminal body. At least one portion of the above-mentioned components can cooperatively operate to embody operations, controls or controlling methods of the mobile terminal according to various embodiments mentioned in the following description. And, the operations, controls or controlling methods of the mobile terminal can be embodied on the mobile terminal by running at least one or more application programs saved in the memory 170. Referring still to Regarding the wireless communication unit 110, the broadcast receiving module 111 is typically configured to receive a broadcast signal and/or broadcast associated information from an external broadcast managing entity via a broadcast channel. The broadcast channel may include a satellite channel, a terrestrial channel, or both. In some embodiments, two or more broadcast receiving modules 111 may be utilized to facilitate simultaneously receiving of two or more broadcast channels, or to support switching among broadcast channels. The mobile communication module 112 can transmit and/or receive wireless signals to and from one or more network entities. Typical examples of a network entity include a base station, an external mobile terminal, a server, and the like. Such network entities form part of a mobile communication network, which is constructed according to technical standards or communication methods for mobile communications (for example, Global System for Mobile Communication (GSM), Code Division Multi Access (CDMA), CDMA2000 (Code Division Multi Access 2000), EV-DO (Enhanced Voice-Data Optimized or Enhanced Voice-Data Only), Wideband CDMA (WCDMA), High Speed Downlink Packet access (HSDPA), HSUPA (High Speed Uplink Packet Access), Long Term Evolution (LTE), LTE-A (Long Term Evolution-Advanced), and the like). Examples of wireless signals transmitted and/or received via the mobile communication module 112 include audio call signals, video (telephony) call signals, or various formats of data to support communication of text and multimedia messages. The wireless Internet module 113 is configured to facilitate wireless Internet access. This module may be internally or externally coupled to the mobile terminal 100. The wireless Internet module 113 may transmit and/or receive wireless signals via communication networks according to wireless Internet technologies. Examples of such wireless Internet access include Wireless LAN (WLAN), Wireless Fidelity (Wi-Fi), Wi-Fi Direct, Digital Living Network Alliance (DLNA), Wireless Broadband (WiBro), Worldwide Interoperability for Microwave Access (WiMAX), High Speed Downlink Packet Access (HSDPA), HSUPA (High Speed Uplink Packet Access), Long Term Evolution (LTE), LTE-A (Long Term Evolution-Advanced), and the like. The wireless Internet module 113 may transmit/receive data according to one or more of such wireless Internet technologies, and other Internet technologies as well. In some embodiments, when the wireless Internet access is implemented according to, for example, WiBro, HSDPA, HSUPA, GSM, CDMA, WCDMA, LTE, LTE-A and the like, as part of a mobile communication network, the wireless Internet module 113 performs such wireless Internet access. As such, the Internet module 113 may cooperate with, or function as, the mobile communication module 112. The short-range communication module 114 is configured to facilitate short-range communications. Suitable technologies for implementing such short-range communications include BLUETOOTH™, Radio Frequency IDentification (RFID), Infrared Data Association (IrDA), Ultra-WideBand (UWB), ZigBee, Near Field Communication (NFC), Wireless-Fidelity (Wi-Fi), Wi-Fi Direct, Wireless USB (Wireless Universal Serial Bus), and the like. The short-range communication module 114 in general supports wireless communications between the mobile terminal 100 and a wireless communication system, communications between the mobile terminal 100 and another mobile terminal 100, or communications between the mobile terminal and a network where another mobile terminal 100 (or an external server) is located, via wireless area networks. One example of the wireless area networks is a wireless personal area networks. In some embodiments, another mobile terminal (which may be configured similarly to mobile terminal 100) may be a wearable device, for example, a smart watch, a smart glass or a head mounted display (HMD), which is able to exchange data with the mobile terminal 100 (or otherwise cooperate with the mobile terminal 100). The short-range communication module 114 may sense or recognize the wearable device, and permit communication between the wearable device and the mobile terminal 100. In addition, when the sensed wearable device is a device which is authenticated to communicate with the mobile terminal 100, the controller 180, for example, may cause transmission of data processed in the mobile terminal 100 to the wearable device via the short-range communication module 114. Hence, a user of the wearable device may use the data processed in the mobile terminal 100 on the wearable device. For example, when a call is received in the mobile terminal 100, the user may answer the call using the wearable device. Also, when a message is received in the mobile terminal 100, the user can check the received message using the wearable device. The location information module 115 is generally configured to detect, calculate, derive or otherwise identify a position of the mobile terminal. As an example, the location information module 115 includes a Global Position System (GPS) module, a Wi-Fi module, or both. If desired, the location information module 115 may alternatively or additionally function with any of the other modules of the wireless communication unit 110 to obtain data related to the position of the mobile terminal. As one example, when the mobile terminal uses a GPS module, a position of the mobile terminal may be acquired using a signal sent from a GPS satellite. As another example, when the mobile terminal uses the Wi-Fi module, a position of the mobile terminal can be acquired based on information related to a wireless access point (AP) which transmits or receives a wireless signal to or from the Wi-Fi module. The input unit 120 may be configured to permit various types of input to the mobile terminal 120. Examples of such input include audio, image, video, data, and user input. Image and video input is often obtained using one or more cameras 121. Such cameras 121 may process image frames of still pictures or video obtained by image sensors in a video or image capture mode. The processed image frames can be displayed on the display unit 151 or stored in memory 170. In some cases, the cameras 121 may be arranged in a matrix configuration to permit a plurality of images having various angles or focal points to be input to the mobile terminal 100. As another example, the cameras 121 may be located in a stereoscopic arrangement to acquire left and right images for implementing a stereoscopic image. The microphone 122 is generally implemented to permit audio input to the mobile terminal 100. The audio input can be processed in various manners according to a function being executed in the mobile terminal 100. If desired, the microphone 122 may include assorted noise removing algorithms to remove unwanted noise generated in the course of receiving the external audio. The user input unit 123 is a component that permits input by a user. Such user input may enable the controller 180 to control operation of the mobile terminal 100. The user input unit 123 may include one or more of a mechanical input element (for example, a key, a button located on a front and/or rear surface or a side surface of the mobile terminal 100, a dome switch, a jog wheel, a jog switch, and the like), or a touch-sensitive input, among others. As one example, the touch-sensitive input may be a virtual key or a soft key, which is displayed on a touch screen through software processing, or a touch key which is located on the mobile terminal at a location that is other than the touch screen. On the other hand, the virtual key or the visual key may be displayed on the touch screen in various shapes, for example, graphic, text, icon, video, or a combination thereof. The sensing unit 140 is generally configured to sense one or more of internal information of the mobile terminal, surrounding environment information of the mobile terminal, user information, or the like. The controller 180 generally cooperates with the sending unit 140 to control operation of the mobile terminal 100 or execute data processing, a function or an operation associated with an application program installed in the mobile terminal based on the sensing provided by the sensing unit 140. The sensing unit 140 may be implemented using any of a variety of sensors, some of which will now be described in more detail. The proximity sensor 141 may include a sensor to sense presence or absence of an object approaching a surface, or an object located near a surface, by using an electromagnetic field, infrared rays, or the like without a mechanical contact. The proximity sensor 141 may be arranged at an inner region of the mobile terminal covered by the touch screen, or near the touch screen. The proximity sensor 141, for example, may include any of a transmissive type photoelectric sensor, a direct reflective type photoelectric sensor, a mirror reflective type photoelectric sensor, a high-frequency oscillation proximity sensor, a capacitance type proximity sensor, a magnetic type proximity sensor, an infrared rays proximity sensor, and the like. When the touch screen is implemented as a capacitance type, the proximity sensor 141 can sense proximity of a pointer relative to the touch screen by changes of an electromagnetic field, which is responsive to an approach of an object with conductivity. In this case, the touch screen (touch sensor) may also be categorized as a proximity sensor. The term “proximity touch” will often be referred to herein to denote the scenario in which a pointer is positioned to be proximate to the touch screen without contacting the touch screen. The term “contact touch” will often be referred to herein to denote the scenario in which a pointer makes physical contact with the touch screen. For the position corresponding to the proximity touch of the pointer relative to the touch screen, such position will correspond to a position where the pointer is perpendicular to the touch screen. The proximity sensor 141 may sense proximity touch, and proximity touch patterns (for example, distance, direction, speed, time, position, moving status, and the like). In general, controller 180 processes data corresponding to proximity touches and proximity touch patterns sensed by the proximity sensor 141, and cause output of visual information on the touch screen. In addition, the controller 180 can control the mobile terminal 100 to execute different operations or process different data according to whether a touch with respect to a point on the touch screen is either a proximity touch or a contact touch. A touch sensor can sense a touch applied to the touch screen, such as display unit 151, using any of a variety of touch methods. Examples of such touch methods include a resistive type, a capacitive type, an infrared type, and a magnetic field type, among others. As one example, the touch sensor may be configured to convert changes of pressure applied to a specific part of the display unit 151, or convert capacitance occurring at a specific part of the display unit 151, into electric input signals. The touch sensor may also be configured to sense not only a touched position and a touched area, but also touch pressure and/or touch capacitance. A touch object is generally used to apply a touch input to the touch sensor. Examples of typical touch objects include a finger, a touch pen, a stylus pen, a pointer, or the like. When a touch input is sensed by a touch sensor, corresponding signals may be transmitted to a touch controller. The touch controller may process the received signals, and then transmit corresponding data to the controller 180. Accordingly, the controller 180 may sense which region of the display unit 151 has been touched. Here, the touch controller may be a component separate from the controller 180, the controller 180, and combinations thereof. In some embodiments, the controller 180 may execute the same or different controls according to a type of touch object that touches the touch screen or a touch key provided in addition to the touch screen. Whether to execute the same or different control according to the object which provides a touch input may be decided based on a current operating state of the mobile terminal 100 or a currently executed application program, for example. The touch sensor and the proximity sensor may be implemented individually, or in combination, to sense various types of touches. Such touches includes a short (or tap) touch, a long touch, a multi-touch, a drag touch, a flick touch, a pinch-in touch, a pinch-out touch, a swipe touch, a hovering touch, and the like. If desired, an ultrasonic sensor may be implemented to recognize position information relating to a touch object using ultrasonic waves. The controller 180, for example, may calculate a position of a wave generation source based on information sensed by an illumination sensor and a plurality of ultrasonic sensors. Since light is much faster than ultrasonic waves, the time for which the light reaches the optical sensor is much shorter than the time for which the ultrasonic wave reaches the ultrasonic sensor. The position of the wave generation source may be calculated using this fact. For instance, the position of the wave generation source may be calculated using the time difference from the time that the ultrasonic wave reaches the sensor based on the light as a reference signal. The camera 121 typically includes at least one a camera sensor (CCD, CMOS etc.), a photo sensor (or image sensors), and a laser sensor. Implementing the camera 121 with a laser sensor may allow detection of a touch of a physical object with respect to a 3D stereoscopic image. The photo sensor may be laminated on, or overlapped with, the display device. The photo sensor may be configured to scan movement of the physical object in proximity to the touch screen. In more detail, the photo sensor may include photo diodes and transistors at rows and columns to scan content received at the photo sensor using an electrical signal which changes according to the quantity of applied light. Namely, the photo sensor may calculate the coordinates of the physical object according to variation of light to thus obtain position information of the physical object. The display unit 151 is generally configured to output information processed in the mobile terminal 100. For example, the display unit 151 may display execution screen information of an application program executing at the mobile terminal 100 or user interface (UI) and graphic user interface (GUI) information in response to the execution screen information. In some embodiments, the display unit 151 may be implemented as a stereoscopic display unit for displaying stereoscopic images. A typical stereoscopic display unit may employ a stereoscopic display scheme such as a stereoscopic scheme (a glass scheme), an auto-stereoscopic scheme (glassless scheme), a projection scheme (holographic scheme), or the like. The audio output module 152 is generally configured to output audio data. Such audio data may be obtained from any of a number of different sources, such that the audio data may be received from the wireless communication unit 110 or may have been stored in the memory 170. The audio data may be output during modes such as a signal reception mode, a call mode, a record mode, a voice recognition mode, a broadcast reception mode, and the like. The audio output module 152 can provide audible output related to a particular function (e.g., a call signal reception sound, a message reception sound, etc.) performed by the mobile terminal 100. The audio output module 152 may also be implemented as a receiver, a speaker, a buzzer, or the like. A haptic module 153 can be configured to generate various tactile effects that a user feels, perceive, or otherwise experience. A typical example of a tactile effect generated by the haptic module 153 is vibration. The strength, pattern and the like of the vibration generated by the haptic module 153 can be controlled by user selection or setting by the controller. For example, the haptic module 153 may output different vibrations in a combining manner or a sequential manner. Besides vibration, the haptic module 153 can generate various other tactile effects, including an effect by stimulation such as a pin arrangement vertically moving to contact skin, a spray force or suction force of air through a jet orifice or a suction opening, a touch to the skin, a contact of an electrode, electrostatic force, an effect by reproducing the sense of cold and warmth using an element that can absorb or generate heat, and the like. The haptic module 153 can also be implemented to allow the user to feel a tactile effect through a muscle sensation such as the user's fingers or arm, as well as transferring the tactile effect through direct contact. Two or more haptic modules 153 may be provided according to the particular configuration of the mobile terminal 100. An optical output module 154 can output a signal for indicating an event generation using light of a light source. Examples of events generated in the mobile terminal 100 may include message reception, call signal reception, a missed call, an alarm, a schedule notice, an email reception, information reception through an application, and the like. A signal output by the optical output module 154 may be implemented in such a manner that the mobile terminal emits monochromatic light or light with a plurality of colors. The signal output may be terminated as the mobile terminal senses that a user has checked the generated event, for example. The interface unit 160 serves as an interface for external devices to be connected with the mobile terminal 100. For example, the interface unit 160 can receive data transmitted from an external device, receive power to transfer to elements and components within the mobile terminal 100, or transmit internal data of the mobile terminal 100 to such external device. The interface unit 160 may include wired or wireless headset ports, external power supply ports, wired or wireless data ports, memory card ports, ports for connecting a device having an identification module, audio input/output (I/O) ports, video I/O ports, earphone ports, or the like. The identification module may be a chip that stores various information for authenticating authority of using the mobile terminal 100 and may include a user identity module (UIM), a subscriber identity module (SIM), a universal subscriber identity module (USIM), and the like. In addition, the device having the identification module (also referred to herein as an “identifying device”) may take the form of a smart card. Accordingly, the identifying device can be connected with the terminal 100 via the interface unit 160. When the mobile terminal 100 is connected with an external cradle, the interface unit 160 can serve as a passage to allow power from the cradle to be supplied to the mobile terminal 100 or may serve as a passage to allow various command signals input by the user from the cradle to be transferred to the mobile terminal there through. Various command signals or power input from the cradle may operate as signals for recognizing that the mobile terminal is properly mounted on the cradle. The memory 170 can store programs to support operations of the controller 180 and store input/output data (for example, phonebook, messages, still images, videos, etc.). The memory 170 may store data related to various patterns of vibrations and audio which are output in response to touch inputs on the touch screen. The memory 170 may include one or more types of storage mediums including a Flash memory, a hard disk, a solid state disk, a silicon disk, a multimedia card micro type, a card-type memory (e.g., SD or DX memory, etc), a Random Access Memory (RAM), a Static Random Access Memory (SRAM), a Read-Only Memory (ROM), an Electrically Erasable Programmable Read-Only Memory (EEPROM), a Programmable Read-Only memory (PROM), a magnetic memory, a magnetic disk, an optical disk, and the like. The mobile terminal 100 may also be operated in relation to a network storage device that performs the storage function of the memory 170 over a network, such as the Internet. The controller 180 may typically control the general operations of the mobile terminal 100. For example, the controller 180 may set or release a lock state for restricting a user from inputting a control command with respect to applications when a status of the mobile terminal meets a preset condition. The controller 180 can also perform the controlling and processing associated with voice calls, data communications, video calls, and the like, or perform pattern recognition processing to recognize a handwriting input or a picture drawing input performed on the touch screen as characters or images, respectively. In addition, the controller 180 can control one or a combination of those components in order to implement various exemplary embodiments disclosed herein. The power supply unit 190 receives external power or provides internal power and supply the appropriate power required for operating respective elements and components included in the mobile terminal 100. The power supply unit 190 may include a battery, which is typically rechargeable or be detachably coupled to the terminal body for charging. The power supply unit 190 may include a connection port. The connection port may be configured as one example of the interface unit 160 to which an external charger for supplying power to recharge the battery is electrically connected. As another example, the power supply unit 190 may be configured to recharge the battery in a wireless manner without use of the connection port. In this example, the power supply unit 190 can receive power, transferred from an external wireless power transmitter, using at least one of an inductive coupling method which is based on magnetic induction or a magnetic resonance coupling method which is based on electromagnetic resonance. Various embodiments described herein may be implemented in a computer-readable medium, a machine-readable medium, or similar medium using, for example, software, hardware, or any combination thereof. Referring now to The mobile terminal 100 will generally include a case (for example, frame, housing, cover, and the like) forming the appearance of the terminal. In this embodiment, the case is formed using a front case 101 and a rear case 102. Various electronic components are incorporated into a space formed between the front case 101 and the rear case 102. At least one middle case may be additionally positioned between the front case 101 and the rear case 102. The display unit 151 is shown located on the front side of the terminal body to output information. As illustrated, a window 151 In some embodiments, electronic components may also be mounted to the rear case 102. Examples of such electronic components include a detachable battery 191, an identification module, a memory card, and the like. Rear cover 103 is shown covering the electronic components, and this cover may be detachably coupled to the rear case 102. Therefore, when the rear cover 103 is detached from the rear case 102, the electronic components mounted to the rear case 102 are externally exposed. As illustrated, when the rear cover 103 is coupled to the rear case 102, a side surface of the rear case 102 is partially exposed. In some cases, upon the coupling, the rear case 102 may also be completely shielded by the rear cover 103. In some embodiments, the rear cover 103 may include an opening for externally exposing a camera 121 The cases 101, 102, 103 may be formed by injection-molding synthetic resin or may be formed of a metal, for example, stainless steel (STS), aluminum (Al), titanium (Ti), or the like. As an alternative to the example in which the plurality of cases form an inner space for accommodating components, the mobile terminal 100 may be configured such that one case forms the inner space. In this example, a mobile terminal 100 having a uni-body is formed in such a manner that synthetic resin or metal extends from a side surface to a rear surface. If desired, the mobile terminal 100 may include a waterproofing unit (not shown) for preventing introduction of water into the terminal body. For example, the waterproofing unit may include a waterproofing member which is located between the window 151 The mobile terminal 100 may be provided with the display unit 151, the first audio output unit 152 However, it is to be understood that alternative arrangements are possible and within the teachings of the instant disclosure. Some components may be omitted or rearranged. For example, the first manipulation unit 123 The display unit 151 outputs information processed in the mobile terminal 100. The display unit 151 may be implemented using one or more suitable display devices. Examples of such suitable display devices include a liquid crystal display (LCD), a thin film transistor-liquid crystal display (TFT-LCD), an organic light emitting diode (OLED), a flexible display, a 3-dimensional (3D) display, an e-ink display, and combinations thereof. The display unit 151 may be implemented using two display devices, which can implement the same or different display technology. For instance, a plurality of the display units 151 may be arranged on one side, either spaced apart from each other, or these devices may be integrated, or these devices may be arranged on different surfaces. The display unit 151 may also include a touch sensor which senses a touch input received at the display unit. When a touch is input to the display unit 151, the touch sensor may be configured to sense this touch and the controller 180, for example, may generate a control command or other signal corresponding to the touch. The content which is input in the touching manner may be a text or numerical value, or a menu item which can be indicated or designated in various modes. The touch sensor may be configured in a form of a film having a touch pattern, disposed between the window 151 The display unit 151 may also form a touch screen together with the touch sensor. Here, the touch screen may serve as the user input unit 123 (see The first audio output module 152 The window 151 The optical output module 154 can be configured to output light for indicating an event generation. Examples of such events include a message reception, a call signal reception, a missed call, an alarm, a schedule notice, an email reception, information reception through an application, and the like. When a user has checked a generated event, the controller can control the optical output unit 154 to stop the light output. The first camera 121 The first and second manipulation units 123 Input received at the first and second manipulation units 123 As another example of the user input unit 123, a rear input unit (not shown) may be located on the rear surface of the terminal body. The rear input unit can be manipulated by a user to provide input to the mobile terminal 100. The input may be used in a variety of different ways. For example, the rear input unit may be used by the user to provide an input for power on/off, start, end, scroll, control volume level being output from the first or second audio output modules 152 The rear input unit may be located to overlap the display unit 151 of the front side in a thickness direction of the terminal body. As one example, the rear input unit may be located on an upper end portion of the rear side of the terminal body such that a user can easily manipulate it using a forefinger when the user grabs the terminal body with one hand. Alternatively, the rear input unit can be positioned at most any location of the rear side of the terminal body. Embodiments that include the rear input unit may implement some or all of the functionality of the first manipulation unit 123 As a further alternative, the mobile terminal 100 may include a finger scan sensor which scans a user's fingerprint. The controller 180 can then use fingerprint information sensed by the finger scan sensor as part of an authentication procedure. The finger scan sensor may also be installed in the display unit 151 or implemented in the user input unit 123. The microphone 122 is shown located at an end of the mobile terminal 100, but other locations are possible. If desired, multiple microphones may be implemented, with such an arrangement permitting the receiving of stereo sounds. The interface unit 160 may serve as a path allowing the mobile terminal 100 to interface with external devices. For example, the interface unit 160 may include one or more of a connection terminal for connecting to another device (for example, an earphone, an external speaker, or the like), a port for near field communication (for example, an Infrared Data Association (IrDA) port, a Bluetooth port, a wireless LAN port, and the like), or a power supply terminal for supplying power to the mobile terminal 100. The interface unit 160 may be implemented in the form of a socket for accommodating an external card, such as Subscriber Identification Module (SIM), User Identity Module (UIM), or a memory card for information storage. The second camera 121 The second camera 121 As shown in As shown in At least one antenna for wireless communication may be located on the terminal body. The antenna may be installed in the terminal body or formed by the case. For example, an antenna which configures a part of the broadcast receiving module 111 may be retractable into the terminal body. Alternatively, an antenna may be formed using a film attached to an inner surface of the rear cover 103, or a case that includes a conductive material. A power supply unit 190 for supplying power to the mobile terminal 100 may include a battery 191, which is mounted in the terminal body or detachably coupled to an outside of the terminal body. The battery 191 may receive power via a power source cable connected to the interface unit 160. Also, the battery 191 can be recharged in a wireless manner using a wireless charger. Wireless charging may be implemented by magnetic induction or electromagnetic resonance. The rear cover 103 is shown coupled to the rear case 102 for shielding the battery 191, to prevent separation of the battery 191, and to protect the battery 191 from an external impact or from foreign material. When the battery 191 is detachable from the terminal body, the rear case 103 may be detachably coupled to the rear case 102. An accessory for protecting an appearance or assisting or extending the functions of the mobile terminal 100 can also be provided on the mobile terminal 100. As one example of an accessory, a cover or pouch for covering or accommodating at least one surface of the mobile terminal 100 may be provided. The cover or pouch may cooperate with the display unit 151 to extend the function of the mobile terminal 100. Another example of the accessory is a touch pen for assisting or extending a touch input to a touch screen. Further preferred embodiments will be described in more detail with reference to additional drawing figures. It is understood by those skilled in the art that the present features can be embodied in several forms without departing from the characteristics thereof. Referring to The communication unit 110 can communicate with an external terminal device located in a preset distance. The communication unit 110 can receive information on the external terminal device including an identifier of the external terminal device. For instance, the external terminal device may include one of a POS (point of sales) terminal device for payment, a cash withdrawal terminal device for cash withdrawal, a ticket barrier terminal device for checking a ticket, a ticket check terminal device, a counterpart's personal terminal device for transceiving card information, a door lock terminal device and the like. For instance, the communication unit 110 may include at least one of an NFC module, a Bluetooth module, a Wi-Fi module, a Zigbee module and the like. In particular, the NFC module can support an inter-terminal non-contact short range wireless communication in a distance around 10 cm. The NFC module may operate in one of a card mode, a reader mode and a P2P mode. In order to enable the NFC module to operate in the card mode, the display device 100 may further include a security module configured to store card information. In case that the NFC module operates in the card mode, the display device 100 can externally deliver the card information stored like a conventional IC card. In particular, if the display device 100 storing the card information approaches an external terminal device, the display device 100 can perform an operation corresponding to the stored card information. In case that the NFC module operates in the reader mode, the display device 100 can read data from an external tag. In doing so, the data received from the tag by the display device 100 can be coded in a data exchange format defined by NFC Forum. The display device 100 can perform an appropriate operation in accordance with a type of the data received from the tag. In case that the NFC module operates in the P2P mode, the display device 100 can perform a P2P communication with another terminal device. In doing so, LLCP (logical link control protocol) may apply to the P2P communication. For the P2P communication, a connection may be established between the display device 100 and another terminal device. If the communication unit 110 is embodied with the NFC module, the display device 100 operates in the reader mode or the P2P communication mode. Hence, when the display device 100 approaches an external terminal device in a distance of about 10 cm, the display device 100 can communicate with the external terminal device. In case that the communication unit 110 is embodied with one of the Bluetooth module, the Wi-Fi module and the Zigbee module, the display device 100 can perform a communication with an external terminal device located in tens of meters. The display device 100 sends a signal for requesting an information to the external terminal device and is then able to receive the information of the external terminal device sent by the external terminal device having received the signal. The external terminal device may output a beacon signal periodically. If a card search program is run, the display device 100 receives the outputted beacon signal and is then able to perform a card search process based on the received beacon signal. If the external terminal device periodically outputs a beacon signal, an output strength of the beacon signal may be adjustable depending on a type of the external terminal device. For instance, a beacon signal of the payment terminal device can be outputted with a strength enough to be received by the display device 100 located in several meters. A beacon signal of the door lock terminal device can be outputted with a strength enough to be received by the display device 100 located in tens of centimeters. Therefore, if a user intends to make a payment using the display device 100, the user can make the payment using the payment card found by the display device 100 around the payment terminal device. Moreover, another user intending to make a payment is able to make a payment around the payment terminal device. If a user intends to open a door using the display device 100, the user can open the door using a key card, which is to be found by the display device 100, by approaching the display device 100 to the door lock. The controller searches a card group associated with a received identifier of the external terminal device and is then able to determine whether a card included in the searched card group exists. The display device 100 can receive information of the external terminal device. The information of the external terminal device may include an identifier. The display device 100 can identify the external terminal device based on the identifier. For instance, the identifier may include information related to a function of the external terminal device. In particular, the identifier may include such an information as a payment terminal device, a cash withdrawal external device, a door lock terminal device, a ticket check terminal device or the like. The identifier may include a unique value of the external terminal device. In particular, despite the same POS terminal devices, a 1stPOS terminal device can be distinguished as 1 and a 2ndPOS terminal device can be distinguished as 2. And, the identifier may simultaneously include an information related to a function of the external terminal device and a unique identification value. The controller 180 detects the received identifier included in the external terminal device and is then able to determine a type of the external terminal device and the like. The controller 180 can search the saved card group in accordance with the determined type of the external terminal device. For instance, the display device 100 may include a credit card group, a debit card group, a bank card group, a ticket group, a key card group and the like. The credit card group may include a credit card registered and issued to a user. The debit card group may include a debit card. The bank card group may include a bank card for withdrawing cash. The ticket group may include a card including a ticket information on a ticket issued to a user. Generally, a ticket may not be issued as a card form. Yet, in the present specification, an issued ticked is regarded as a card. The keycard group may include a card including a key related information for opening a front door, a car door or the like. The display device 100 can determine a card group using information of a card issued to or registered by a user. For instance, the display device 100 can determine a card group using an identification information included in the corresponding card. For another instance, a user designates a card group in direct and is able to save the designated card group. The controller 180 determines a type of the external terminal device by detecting the identifier included in the information received from the external terminal device and is then able to search a card group. For instance, if the controller 180 determines that the external terminal device is the payment terminal device, the controller 180 can search the credit card group or the debit card group. If the controller 180 determines that the external terminal device is the cash withdrawal terminal device, the controller 180 can search the back card group. After the controller 180 has searched the card group, if there are cards included in the card group, the controller 180 can control the display unit 151 to display a main card. In this case, the main card can be selected based on a card set by a user, a card used just before by a user, or the received information of the external terminal device. For instance, in case that the external terminal device is a cash withdrawal terminal device of a bank A, the controller 180 can select a card of the bank A as the main card. For another instance, in case that the external terminal device is a payment external terminal device installed at a shop for offering a discount for the use of a credit card B, the controller 180 can select the credit card B as the main card. After the controller 180 has searched the card group, if cards included in the card group do not exist, the controller 180 can output a notification message. In particular, if a card associated with the received external terminal device does not exist, the controller 180 can control the display unit 151 to display an error message or a warning message. The display unit 151 can display the selected main card. The display unit 151 includes a touch sensor configured to receive an input of a touch command and is able to sense a touch gesture inputted to the display unit 151. In the following description, an embodiment for a display device 100 to communicate with an external terminal device and to select a card is explained in detail with reference to the accompanying drawing. Referring to Referring to 1stEmbodiment of Recognizing Terminal Device The display device 100 is able to receive data of the terminal device 210 using the NFC (near field communication) technology. The display device 100 can include an NFC module. And, the NFC module provided to the display device 100 supports an inter-terminal non-contact short-range wireless communication in a distance of about 10 cm. Moreover, the NFC module can operate in one of a card mode, a reader mode and a P2P mode. According to one embodiment, the display device 100 can set the NFC module to enter the reader mode if a card search command is executed. In doing so, a user can approach the display device 100 to the terminal device 210. The display device 100 can read the information of the terminal device 210 from a tag of the terminal device 210 having approached in a predetermined distance. The information of the terminal device 210 may include an identifier of the terminal device. For instance, the identifier may include such information as a payment terminal device, a cash withdrawal terminal device, a door lock terminal device, a ticket check terminal device or the like. If the identifier indicates the payment terminal device, the display device 100 can recognize that the approaching terminal device 210 is the payment terminal device. 2ndEmbodiment of Recognizing Terminal Device The display device 100 can receive data of the terminal device 210 using Bluetooth technology. The display device 100 may include a Bluetooth module. And, the Bluetooth module provided to the display device 100 supports a short range wireless communication in a distance of about 10 m. Bluetooth enables data to be transmitted by frequency hopping. If a hoping pattern is synchronized between terminal devices, a communication can be performed. According to one embodiment, a Bluetooth function of the terminal device 210 may be in activate state. The display device 100 can activate the Bluetooth function if a card search command is executed. The terminal device 210 may play a role as a master device and the display device 100 may play a role as a slave device. The roles of the master and slave devices are not fixed but can be switched to each other. If the Bluetooth function is activated, the display device 100 can search for the terminal device 210 located in a predetermined distance. And, the display device 100 can be paired with the found terminal device 210. The display device 100 can receive terminal device's information including an identifier from the paired terminal device 210. In case that the identifier indicates a payment terminal device, the display device 100 can recognize that the approaching terminal device 210 is the payment terminal device. 3rdEmbodiment of Recognizing Terminal Device The display device 100 can receive data of the terminal device 210 using a beacon technology. A beacon means a BLE (Bluetooth low energy) based short-range wireless communication system. The beacon can perform communications with devices located in maximum 70 m. According to one embodiment, the terminal device 210 can output a beacon signal. The display device 100 can execute a card search command in a predetermined distance from the terminal device 210. And, the display device 100 can terminal device's information including an identifier. In case that the identifier indicates a payment terminal device, the display device 100 can recognize that the approaching terminal device 210 is the payment terminal device. Referring to The display device 100 can determine an associated card group based on a received identifier of a terminal device. For instance, based on the received identifier, the display device 100 can confirm that the corresponding terminal device is a payment terminal device. In particular, if the identifier is a payment device identifier, the display device 100 can search at least one of a credit card group and a debit card group. If there is no card included in the searched card group, the display device 100 can output a notification message. If a plurality of cards are found, the display device 100 can display one of the found cards as a main card. Based on a statistical information of a user's use pattern, the display device 100 selects a single card as a main card and is then able to display the selected card. For instance, based on the received information of the terminal device, the display device 100 analyzes a user's use pattern and is then able to select a most frequently used card as a main card. Alternatively, the display device 100 can select a most recently used card as a main card. Alternatively, based on the received information of the terminal device, the display device 100 can select a card advantageous for a user as a main card. For instance, based on the received information of the terminal device, the display device 100 can select a card having a high discount rate or a high accrual rate as a main card. In some cases, the display device 100 can select a card set by a user as a main card. The display device 100 can display the selected main card within the card region 11. The display device 100 sets the main card displayed on the display unit as a payment card and a payment can be made through the terminal device. 1stEmbodiment of Making Payment The display device 100 can perform a payment procedure by NFC system. If a payment card is selected, the display device 100 can control an NFC module to operate in card mode. In case that the NFC module operates in the card mode, the display device 100 can externally deliver the saved information of the payment card. In particular, if the display device 100 maintains a predetermined distance from the terminal device 210 or if the display device 100 approaches the terminal device 210 in a predetermined distance after setting the payment card, a short-range payment procedure can be performed. The NFC module may operate in P2P (peer-to-peer) mode. In case that the NFC module operates in the P2P mode, the display device 100 can perform a P2P communication with the external device 210. In particular, if the display device 100 approaches the terminal device 210 in a predetermined distance, the display device 100 is able to receive information from the terminal device 210. As mentioned in the foregoing description, the information of the terminal device 210 may include an identifier of the terminal device. If the display device 100 recognizes that the approaching terminal device 210 is the payment terminal device, the display device 100 can select a payment card. Once the payment card is selected, the display device 100 can externally deliver the saved information of the payment card. Thus, a procedure for the payment between the display device 100 and the terminal device 210 can be performed. 2ndEmbodiment of Making Payment The display device 100 can perform a payment procedure by the Bluetooth communication system. The display device 100 receives information of the terminal device 210 and is able to maintain the pairing with the terminal device 210. As mentioned in the foregoing description, the display device 100 can select a payment card. Once the payment card is selected, the display device 100 can transmit the information of the payment card to the paired terminal device 210. Thus, the procedure for the payment between the display device 100 and the terminal device 210 can be performed. 3rdEmbodiment of Making Payment The display device 100 can perform a payment procedure by the beacon system. The payment procedure by the beacon system may be similar to that by the Bluetooth system. In particular, after a payment card has been selected, the display device 100 can transmit the information of the payment card to the terminal device 210. Thus, the payment procedure between the display device 100 and the terminal device 210 can be performed. 4thEmbodiment of Making Payment The display device 100 can perform a payment procedure using the MTS (magnetic secure transmission) technology. In this case, the MST system may mean the system for making a payment by transmitting magnetic information of a card by wireless. The display device 100 is able to receive information of the terminal device 210 using the various systems mentioned in the foregoing description. Based on the received information, the display device 100 can recommend a card to a user. The display device 100 can set the recommended card or a user-selected card as a main card. The display device 100 can transmit the magnetic information of the set card to the terminal device 210 by wireless. Having received the magnetic information, the terminal device 210 can recognize that the magnetic information of the card is read by off-line. Thus, a procedure for the payment between the display device 100 and the terminal device 210 can be performed. The aforementioned embodiment of recognizing the terminal device and the aforementioned embodiment of performing the payment procedure can be used in a manner of being combined with each other. For instance, the display device 100 recognizes the terminal device 210 by NFC and is able to perform a payment procedure by Bluetooth. For another instance, the display device 100 recognizes the terminal device 210 by Beacon and is able to perform a payment procedure by MST. The embodiment of recognizing the terminal device and the embodiment of performing the payment procedure may be identically used for the embodiment mentioned in the following description. Yet, the embodiment of performing the payment procedure can be used in a manner of being appropriately modified in accordance with a type of a terminal device. For instance, if a terminal device is a cash withdrawal terminal device, a payment procedure may be modified into a cash withdrawal procedure. If a terminal device is a door lock terminal device, a payment procedure may be modified into a procedure for opening a door. If a terminal device is a ticket check terminal device, a payment procedure may be modified into a ticket check procedure. Meanwhile, security is important for a financial transaction process or an unlock process to prevent leakage of personal information. Hence, the display device 100 is able to perform the financial transaction process or the unlock process in a manner of determining whether an inputted fingerprint information matches a saved fingerprint information. Like the example shown in Referring to Referring to Alternatively, the display device 100 may display a menu item corresponding to each of the terminal devices. In particular, the display device 100 may display menu items such the POS terminal device 210, the gate terminal device 220 and the personal mobile terminal device 230 as texts or images, respectively. In particular, in case that the display device 100 receives informations of a plurality of terminal devices including different identifiers, the display device 100 can display selection menu items indicating the terminal devices based on the identifiers, respectively. Such menus shall be described in detail later. Meanwhile, the display device 100 may receive an identifier other than the former identifier shown in Referring to Referring to Referring to Referring to Referring to Referring to As mentioned in the foregoing description with reference to Alternatively, the display device 100 receives an input of a preset touch gesture, thereby being able to perform a card search process. For instance, when a touch gesture in shape of ‘S’ is set as a gesture corresponding to a card search command, if the display device 100 receives an input of the touch gesture in shape of ‘S’, the display device 100 searches for a terminal device located in a predetermined range and is then able to communicate with the found terminal device. The aforementioned touch gesture shows one example only. And, it is able to variously set a gesture corresponding to a card search command. When the display device 100 is in the lock state, if the display device 100 recognizes a terminal device located in a predetermined distance, the display device 100 may perform a card search process. In doing so, the display device 100 may search for nearby terminal devices by predetermined periods. And, a search range of the display device 100 may range from several centimeters to tens of centimeters. If the display device 100 recognizes the terminal device located in the search range, the display device 100 can communicate with the recognized terminal device. The display device 100 may further include a separate sensor unit. In particular, the sensor unit can detect ab object located in a predetermined distance. If the object is detected through the sensor unit, the display device 100 may attempt a communication with the detected object through the communication unit. If the detected object is a communicational terminal device, the display device 100 can receive the terminal device's information including an identifier by performing a communication with the corresponding terminal device. If the detected object is not the communicational terminal device, the display device 100 can stop the operation of the communication unit. Referring to Referring to Referring to Meanwhile, each card group may include a plurality of cards. Although the display device 100 can display a single card as a main card, a user may select another card to use. Referring to The display unit of the display device 100 may further include a fingerprint recognition sensor. Hence, the display device 100 can receive an input of a display device 100 information recognized on the display unit. In case that the display device 100 receives the input of the display device 100 information, the display device 100 can perform an authentication process in a manner of matching the inputted display device 100 information to a saved display device 100 information. In particular, after the card application has been launched, if the fingerprint information is inputted through the display unit, the display device 100 can compare the inputted fingerprint information to the saved fingerprint information. If the inputted fingerprint information matches the saved fingerprint information, the display device 100 can perform a communication with a terminal device located in a preset distance. Referring to The display device 100 can search for a terminal device located in a predetermined range. The display device 100 can receive terminal device's information including an identifier from the found terminal device. If the found terminal device is the mobile terminal device 230, the display device 100 can receive the terminal device's information including a personal device identifier from the mobile terminal device 230. The display device 100 can share a card with the personal mobile terminal device 230. Hence, the display device 100 searches a credit card group and a debit card group and is then able to select a prescribed card as a main card. The display device 100 can display the selected main card. In this case, the main card may include a card set by a user. According to the example shown in Referring to So far, described is how the display device 100 performs the procedure by sending the information of the selected main card to the found terminal device. Using the information of the selected main card, the display device 100 may perform a payment procedure at an online site. Referring to Referring to Meanwhile, a method of using a card online can be embodied in various ways. Referring to Referring to Referring to Referring to Referring to The display device 100 selects a main card on an online site and is then able to send a card information by the aforementioned method. So far, described is the embodiment for the display device 100 to select a prescribed card as a main card and to perform a process corresponding to a card function. Moreover, the display device 100 may perform such a process using a plurality of cards. Referring to Referring to Referring to Referring to After the display device 100 has displayed a total payment amount, the display device 100 can display an amount payable by each card in accordance with a movement of the boundary line. For instance, when the total payment amount is $100, if a region of the card A 41 is initially equal to that of the card B 42 in size, the display device 100 can display ‘total amount $100’, ‘card A $50’ and ‘card B $50’. As the boundary line moves, if the region of the card A 41 decreases but the region of the card B 42 increases, the display device 100 can adjust the payment amounts of the card A and the card B in response to the movement of the boundary line. The display device 100 may display the rates of the cards. For instance, if a region of the card A 41 is initially equal to that of the card B 42 in size, the display device 100 can display ‘card A 50%’ and ‘card B 50%’. As the boundary line moves, if the region of the card A 41 decreases but the region of the card B 42 increases, the display device 100 can adjust the ratio of the card A and the card B in response to the movement of the boundary line. Meanwhile, the display device 100 may select a plurality of cards of different types. Referring to Referring to In particular, in case that the information of the terminal device includes the membership information, the display device 100 further searches the membership card group and is then able to select the membership card corresponding to the membership information. If a preset command is inputted to the main card displayed on the display unit, the display device 100 displays a separate card layer and is then able to display the selected membership card. The display device 100 displays a new layer, as shown in Meanwhile, the display device 100 can display a direction button for changing to a different card to give a selection authority of a different card to a user. If the display device 100 receives a selection command for selecting the direction button, the membership card E can be changed to a different membership card. Moreover, as mentioned in the foregoing description, if the display device 100 receives a gesture for adding a different card, the display device 100 can display a menu for selecting a different membership card in addition to the membership card E 47. For instance, if the display device 100 receives an input of a gesture of swiping on the membership card E 47 in a top direction, the display device 100 can display a UI (user interface) for adding a different card on a bottom part of the membership card E. In response to a user's command, the display device 100 can select the membership card E 47. Referring to Meanwhile, the display device 100 may perform a payment process with a card of its own by receiving another person's card information. Referring to Referring to Referring to Referring to Referring to Referring to Meanwhile, if a payment terminal device is a terminal device capable of simply reading a barcode only, the payment terminal device can perform a payment process per card by receiving an input of a payment amount manually. If a payment terminal device is a terminal device capable of reading additional information, the payment terminal device may perform a payment process based on payment amount information included in a barcode, a watermark, a QR code and/or the like. The display device 100 receives another person's card information and is then able to make a payment together with a saved card. And, the display device 100 can perform a card lending function by sending a saved card information to another person's terminal device. Referring to In particular, if the information of the terminal device is a personal device identifier, the display device 100 displays a main card by searching at least one of the credit card group and the debit card group and is also able to display the corresponding terminal device. In this case, the selected main card may include a card previously set by a user. The display device 100 can display a credit card A 71 selected as the main card and a found terminal device item. The display device 100 may receive an input of a gesture of moving from the credit card A 71 to a 1stterminal device 76. Referring to Referring to If the card sharing is complete, the display device 100 may display a complete message. And, the counterpart terminal device 230 may display the shared card 78. Yet, the card 78 shared in the lend mode can be displayed with an indication indicating that a use of the card 78 is restricted. For instance, the card 78 shared in the lend mode can be displayed with a dotted line. For instance, the card 78 shared in the lend mode can be displayed semi-transparently. For instance, the card 78 shared in the lend mode can be displayed in a manner that partial information of the card is blanked. Referring to Meanwhile, in case of the card sharing, a predetermined security level may be required for security and safety. Hence, the display device 100 can check a security level of the counterpart terminal device 76 to which a card information will be sent. If the security level of the counterpart terminal device 76 fails to meet a required level, the display device 100 may refuse to send the card information. Referring to Referring to Like the example shown in Referring to A user can restrict a use range with reference to a use place of a lent card, a category of the lent card, a time of the lent card and the like. For instance, the user can restrict the category in a manner that the lent card is usable only in such a category as a book, stationery, or the like. For another instance, the user can restrict the time in a manner that the lent card is usable between 9 AM and 6 PM only. A restricted range setting is available for a plurality of types. Hence, the display device 100 can send such information for restricting a use of a selected main card as a place information, a category information, a time information and the like to a counterpart terminal device. Referring to So far, the embodiment for the display device 100 to share the credit card or the debit card is described. Yet, various cards can be shared. For instance, a family membership card, a key card and the like can be used by being shared with family members. In this case, a 1stmode corresponding to a lend mode and a 2ndmode corresponding to a prepay mode can be set. For instance, the 1stmode is the mode for requiring a use permission from an owner in using a corresponding card. And, the 2ndmode is the mode for using a corresponding card freely within a predetermined range of restriction. Referring to Referring to Referring to Referring to So far, various embodiments of the display device 100 for selecting an appropriate card by searching for a nearby terminal device and receiving information of the corresponding terminal device are described. Each of the embodiments can be used independently. The respective steps of the embodiments can be used interchangeably. For instance, a step of searching for a terminal device using a swipe gesture may be applicable to an embodiment for selecting a key card as well as to an embodiment for selecting a payment card. Moreover, a step of searching for a terminal device on a lock screen is applicable to an embodiment for selecting a payment card. Referring to The display device may perform the communication with the terminal device if the terminal device exists in the preset distance while a lock screen or an unlocked screen is displayed or a power of the display unit is turned off. Alternatively, if the display device receives an input of a terminal device search gesture, the display device can search for the terminal device located in a preset range. The display device can determine whether a card included in a card group exists by searching the card group associated with the received identifier of the terminal device [S2120]. If the card included in the searched card group exists, the display device displays a main card. If the card included in the searched card group does not exist, the display device can output a notification message [S2130]. If the display device discovers a plurality of terminal devices, the display device can display a selection menu based on an identifier of each of the terminal devices. If a prescribed item is selected from the selection menu, the display device can search a card group related to the selected item. The display device can determine whether a card exists in the searched card group. If the card exists, the display device can select a prescribed card as a main card. For instance, the main card may include one of a recently used card, a most frequently used card, a user-set card and the like. The above-described invention can be implemented in a program recorded medium as computer-readable codes. The computer-readable media may include all kinds of recording devices in which data readable by a computer system are stored. The computer-readable media may include HDD (hard disk drive), SSD (solid state disk), SDD (silicon disk drive), ROM, RAM, CD-ROM, magnetic tapes, floppy discs, optical data storage devices, and the like for example and also include carrier-wave type implementations (e.g., transmission via Internet). Further, the computer may include the controller 180 of the terminal. It will be appreciated by those skilled in the art that various modifications and variations can be made in the present invention without departing from the spirit or scope of the inventions. Thus, it is intended that the present invention covers the modifications and variations of this invention provided they come within the scope of the appended claims and their equivalents.BACKGROUND OF THE INVENTION
SUMMARY OF THE INVENTION
BRIEF DESCRIPTION OF THE DRAWINGS
DETAILED DESCRIPTION OF THE INVENTION