Centrifugation systems and methods are provided for separating blood into its constituent parts. Inner and outer walls of a centrifuge each include a projection which extends toward the other wall. A separation chamber is received in the centrifuge between the walls, with the chamber including an inlet port for flowing blood into the chamber, a plasma outlet port for flowing plasma out of the chamber, and a red cell outlet port for flowing red blood cells out of the chamber. With the chamber received in the centrifuge between the walls, the first projection extends into the path of separated blood components flowing toward the plasma outlet port and prevents cellular blood components from flowing into the plasma outlet port. The second projection extends into the path of separated blood components flowing toward the red cell outlet port and prevents plasma from flowing into the red cell outlet port.
1. A centrifugation system comprising, in combination:
a centrifuge configured to separate blood components from blood by rotation about a rotational axis and comprising
a generally annular low-G wall, and a generally annular high-G wall located farther from the rotational axis than the low-G wall, wherein
the high-G wall includes a first projection extending toward the low-G wall, the low-G wall includes a second projection extending toward the high-G wall, and one end of the first projection is substantially aligned with one end of the second projection along a radius passing through the rotational axis; and a multiple-stage separation chamber configured to be received in the centrifuge between the low-G and high-G walls, one of the stages of the separation chamber comprising
an inlet port configured for flowing blood into the separation chamber, a plasma outlet port for flowing a separated blood component substantially comprising plasma out of the separation chamber, and a red cell outlet port for flowing a separated blood component substantially comprising red blood cells out of the separation chamber wherein, when the separation chamber is received in the centrifuge between the low-G and high-G walls, the first projection is oriented so as to extend into a path of separated blood components flowing toward the plasma outlet port and prevent the separated blood component substantially comprising red blood cells from flowing into the plasma outlet port and the second projection is oriented so as to extend into a path of separated blood components flowing toward the red cell outlet port and prevent the separated blood component substantially comprising plasma from flowing into the red cell outlet port. 2. The centrifugation system of 3. The centrifugation system of 4. The centrifugation system of the separation chamber includes an interior seal positioned between the red cell outlet port and the plasma outlet port, and one end of the second projection is positioned at or adjacent to an end of the interior seal. 5. The centrifugation system of the separation chamber includes a plurality of interior seals positioned between the red cell outlet port and the inlet and plasma outlet ports, and the second projection includes ends positioned at or adjacent to said interior seals. 6. The centrifugation system of 7. The centrifugation system of 8. The centrifugation system of 9. A centrifuge configured to separate blood components from blood by rotation about a rotational axis, comprising:
a generally annular low-G wall; and a generally annular high-G wall located farther from the rotational axis than the low-G wall, wherein
the high-G wall includes a first projection extending toward the low-G wall, the low-G wall includes a second projection extending toward the high-G wall, and one end of the first projection is substantially aligned with one end of the second projection along a radius passing through the rotational axis. 10. The centrifuge of 11. The centrifuge of 12. The centrifuge of 13. The centrifuge of 14. A centrifugation system comprising, in combination:
a centrifuge configured to separate blood components from blood by rotation about a rotational axis and comprising
a generally annular low-G wall, and a generally annular high-G wall located farther from the rotational axis than the low-G wall, wherein
the high-G wall includes a first projection extending toward the low-G wall, the low-G wall includes a second projection extending toward the high-G wall, and one end of the first projection is positioned directly adjacent to one end of the second projection; and a multiple-stage separation chamber configured to be received in the centrifuge between the low-G and high-G walls, one of the stages of the separation chamber comprising
an inlet port configured for flowing blood into the separation chamber, a plasma outlet port for flowing a separated blood component substantially comprising plasma out of the separation chamber, and a red cell outlet port for flowing a separated blood component substantially comprising red blood cells out of the separation chamber wherein, when the separation chamber is received in the centrifuge between the low-G and high-G walls, the first projection is oriented so as to extend into a path of separated blood components flowing toward the plasma outlet port and prevent the separated blood component substantially comprising red blood cells from flowing into the plasma outlet port and the second projection is oriented so as to extend into a path of separated blood components flowing toward the red cell outlet port and prevent the separated blood component substantially comprising plasma from flowing into the red cell outlet port. 15. A centrifugation system comprising, in combination:
a centrifuge configured to separate blood components from blood by rotation about a rotational axis and comprising
a generally annular low-G wall, and a generally annular high-G wall located farther from the rotational axis than the low-G wall to define a channel therebetween, wherein
the high-G wall includes a first projection extending into the channel toward the low-G wall, the low-G wall includes a second projection extending into the channel toward the high-G wall, and one end of the first projection is positioned substantially directly across the channel from one end of the second projection; and a multiple-stage separation chamber configured to be at least partially received in the channel, one of the stages of the separation chamber comprising
an inlet port configured for flowing blood into the separation chamber, a plasma outlet port for flowing a separated blood component substantially comprising plasma out of the separation chamber, and a red cell outlet port for flowing a separated blood component substantially comprising red blood cells out of the separation chamber wherein, when the separation chamber is at least partially received in the channel, the first projection is oriented so as to extend into a path of separated blood components flowing toward the plasma outlet port and prevent the separated blood component substantially comprising red blood cells from flowing into the plasma outlet port and the second projection is oriented so as to extend into a path of separated blood components flowing toward the red cell outlet port and prevent the separated blood component substantially comprising plasma from flowing into the red cell outlet port.
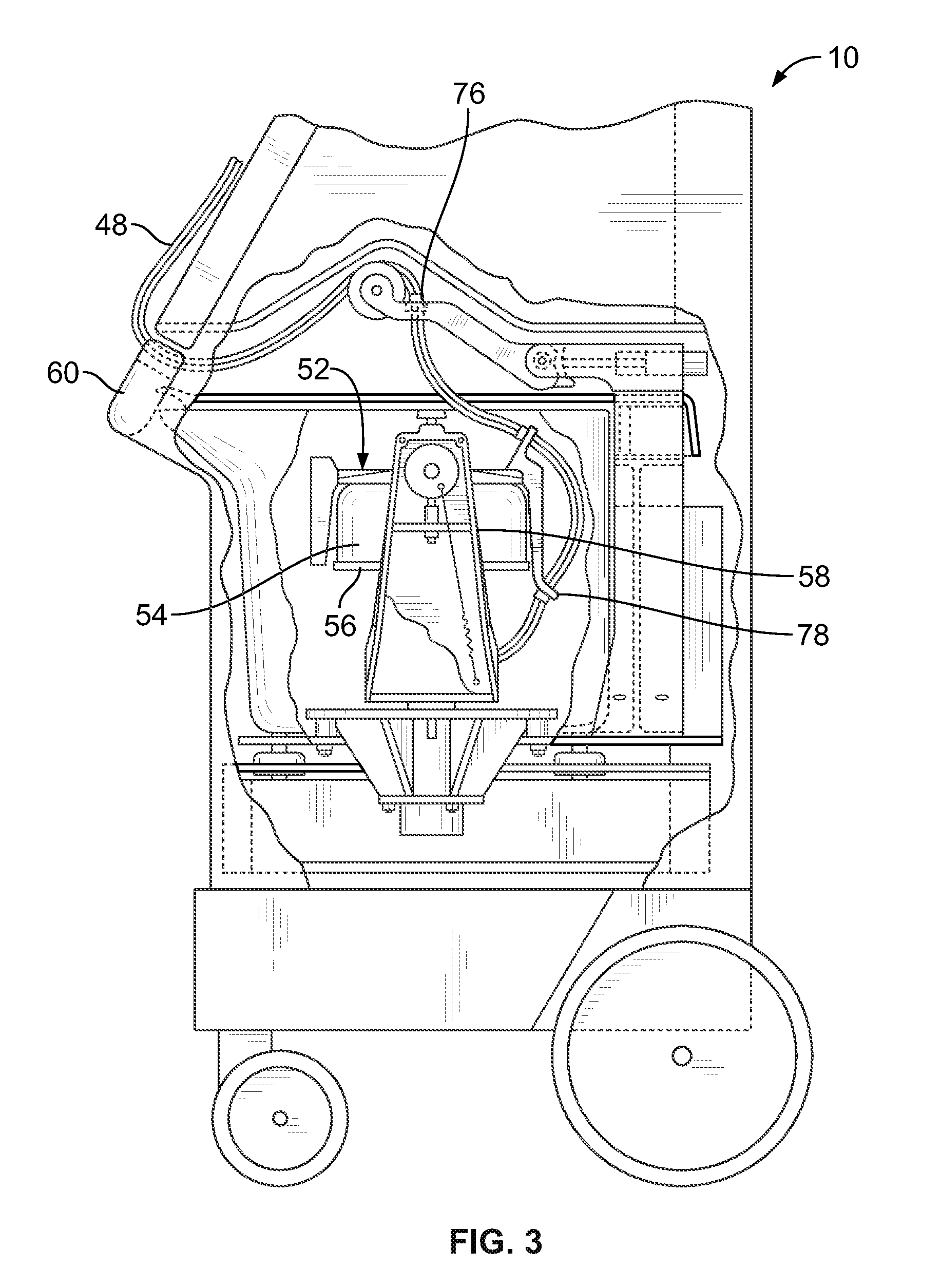
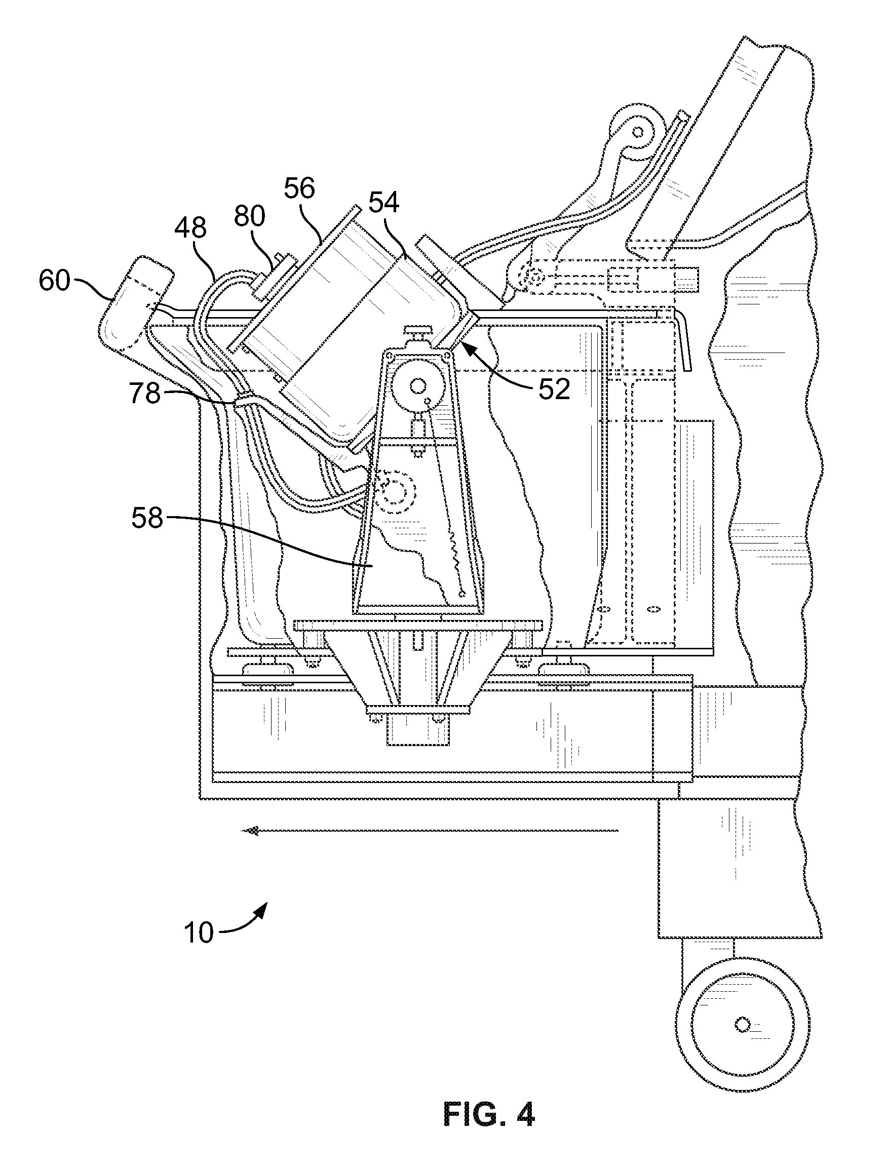
This application claims the benefit of U.S. provisional patent application Ser. No. 61/474,951 filed Apr. 13, 2011, which is hereby incorporated herein by reference. The disclosure relates to blood treatment systems and methods. More particularly, the disclosure relates to systems and methods for separating blood into its constituents by centrifugation. Various blood processing systems now make it possible to collect particular blood constituents, rather than whole blood, from donors or patients. Typically, in such systems, whole blood is drawn from a donor, the particular blood component or constituent is removed and collected, and the remaining blood constituents are returned to the donor. By thus removing only particular constituents, potentially less time is needed for the donor's body to return to pre-donation levels, and donations can be made at more frequent intervals than when whole blood is collected. This increases the overall supply of blood constituents, such as plasma and platelets, made available for health care. Whole blood is typically separated into its constituents through centrifugation. This requires that the whole blood be passed through a centrifuge after it is withdrawn from, and before it is returned to, the donor. To avoid contamination and possible infection of the donor, the blood is preferably contained within a sealed, sterile fluid flow system during the entire centrifugation process. Typical blood processing systems thus include a permanent, reusable centrifuge assembly containing the hardware (drive system, pumps, valve actuators, programmable controller, and the like) that spins and pumps the blood, and a disposable, sealed and sterile fluid circuit that is mounted in cooperation on the hardware. The centrifuge assembly engages and spins a separation chamber of the disposable fluid circuit during a blood separation step. The blood, however, makes actual contact only with the fluid circuit, which assembly is used only once and then discarded. As the whole blood is spun by the centrifuge, the heavier (greater specific gravity) components, such as red blood cells, move radially outwardly away from the center of rotation toward the outer or “high-G” wall of the separation chamber of the fluid circuit. The lighter (lower specific gravity) components, such as plasma, migrate toward the inner or “low-G” wall of the separation chamber. Various ones of these components can be selectively removed from the whole blood by forming appropriately located channeling seals and outlet ports in the separation chamber of the fluid circuit. For example, one application of therapeutic plasma exchange involves separating plasma from cellular blood components, collecting the plasma, and returning the cellular blood components and a replacement fluid to the donor. After the blood has been separated into its constituent parts, it may be desirable to further process one more of the separated components. For example, in an alternative version of a therapeutic plasma exchange procedure, rather than replacing a patient's plasma with a different fluid, the patient's own plasma may be treated and returned after separation. This may be most efficiently achieved by pairing the blood separation system with a secondary processing device, such as an adsorption device or column. The adsorption device will remove undesirable substances from the plasma by immuno-adsorption. The exact substances removed depend upon the needs of the patient. For example, the substances removed from the plasma by the adsorption device may include low-density lipoproteins and Lipoprotein(a) for patients suffering from severe hypercholesterolemia. In another example, pathogenic antibodies may be removed from the plasma, for patients suffering from autoimmune diseases and organ transplant rejection, or as a pre-treatment before transplantation. In yet another example, fibrinogen, fibrin, and/or C-reactive protein may be removed from the plasma, for treating microcirculation disorders and ischemic tissue damage. Exemplary adsorption devices include the TheraSorb® line of products from Miltenyi Biotec GmbH Corporation of Bergisch Gladbach, Germany. Other examples of adsorption devices suitable for removing undesirable substances from plasma are described in greater detail in U.S. Pat. No. 6,569,112 to Strahilevitz, which is incorporated herein by reference. One disadvantage of known centrifugation systems, particularly when used in therapeutic plasma exchange procedures, is that separated plasma in the centrifuge may flow into a return line for cellular blood components, rather than flowing into the plasma collection line. Such plasma in the wrong line will fail to be treated prior to return to the patient, meaning that the efficiency of the system is not only diminished, but there is a corresponding effect on the health benefits experienced by the patient. Another disadvantage of known centrifugation systems is that cellular blood components may flow into the plasma collection line, rather than flowing to the patient via a return line. Cellular blood components, such as platelets, in the separated plasma may have a negative effect on the health of the patient. Accordingly, the need remains for a centrifugation system with additional safety features and improved plasma collection efficiency with low cellular loss. There are several aspects of the present subject matter which may be embodied separately or together in the devices and systems described and claimed below. These aspects may be employed alone or in combination with other aspects of the subject matter described herein, and the description of these aspects together is not intended to preclude the use of these aspects separately or the claiming of such aspects separately or in different combinations as set forth in the claims appended hereto. In one aspect, a centrifugation system is provided which includes the combination of a centrifuge and a separation chamber. The centrifuge is configured to separate blood components from blood by rotation about a rotational axis and comprises a generally annular low-G wall and a generally annular high-G wall which is located farther from the rotational axis than the low-G wall. The high-G wall includes a first projection extending toward the low-G wall and the low-G wall includes a second projection extending toward the high-G wall. The separation chamber includes multiple stages and is configured to be received in the centrifuge between the low-G and high-G walls. One of the stages of the separation chamber comprises an inlet port configured for flowing blood into the separation chamber, a plasma outlet port to transport a separated blood component substantially comprising plasma out of the separation chamber, and a red cell outlet port to transport a separated blood component substantially comprising red blood cells out of the separation chamber. When the separation chamber is received in the centrifuge between the low-G and high-G walls, the first projection is oriented so as to extend into the path of separated blood components flowing toward the plasma outlet port and prevent the separated blood component substantially comprising red blood cells from flowing into the plasma outlet port. The second projection is oriented so as to extend into the path of separated blood components flowing toward the red cell outlet port and prevent the separated blood component substantially comprising plasma from flowing into the red cell outlet port. In another aspect, a centrifuge is provided for separating blood components from blood by rotation about a rotational axis. The centrifuge comprises a generally annular low-G wall and a generally annular high-G wall located farther from the rotational axis than the low-G wall. The high-G wall includes a first projection extending toward the low-G wall and the low-G wall includes a second projection extending toward the high-G wall. One end of the first projection is substantially angularly aligned with one end of the second projection. In yet another aspect, a method is provided for centrifugally separating blood components from blood. The method includes flowing blood into a first stage of a multiple-stage separation chamber, the first stage having a plasma outlet port and a red cell outlet port. The separation chamber is rotated so as to separate the blood into a separated blood component substantially comprising plasma and a blood component substantially comprising red blood cells. The separated blood components flow along a path toward the plasma outlet port, with the path including a first projection which is oriented to prevent the separated blood component substantially comprising red blood cells from flowing into the plasma outlet port. The separated blood components also flow along a path toward the red cell outlet port, with the path including a second projection which is oriented to prevent the separated blood component substantially comprising plasma from flowing into the red cell outlet port. The embodiments disclosed herein are for the purpose of providing a description of the present subject matter, and it is understood that the subject matter may be embodied in various other forms and combinations not shown in detail. Therefore, specific designs and features disclosed herein are not to be interpreted as limiting the subject matter as defined in the accompanying claims. The fluid processing system 10 is used in combination with a single-use flow circuit 12, such as the one illustrated in Centrifuges according to the present disclosure are particularly useful in carrying out therapeutic plasma exchange procedures, but may be used in other fluid processing procedures as well. If employed for a therapeutic plasma exchange procedure, the fluid processing system 10 and flow circuit 12 will be used in combination with an adsorption device (not illustrated) which removes undesirable substances from separated plasma. Exemplary systems which pair a fluid processing system with an adsorption device are described in greater detail in PCT patent application no. PCT/US11/32320, filed Apr. 13, 2011, which is incorporated herein by reference. The illustrated flow circuit 12 is a “two needle” system, which includes a pair of blood source access devices 14 and 14 The other blood source access device 14 The left cassette 16 also includes tubing 32 which is connected to a blood separation chamber 34 of the flow circuit 12 for flowing anticoagulated blood thereto. The blood separation chamber 34 separates the blood into its constituent parts (as will be described in greater detail herein) and returns the blood components to the flow circuit 12. In one embodiment, cellular blood components are returned to the middle cassette 16 Additional tubing may be connected from one port of a cassette to another port of the same cassette, so as to form tubing loops 50 which interact with a fluid flow element or pump to flow fluid through the flow circuit 12, as will be described in greater detail herein. The fluid processing system 10 includes a centrifuge 52 ( The illustrated centrifuge 52 is generally of the type shown in U.S. Pat. No. 5,316,667 to Brown et al., which is incorporated herein by reference. The centrifuge 52 comprises a bowl 54 and a spool 56. The bowl 54 and spool 56 are pivoted on a yoke 58 between an operating position ( When in the loading/unloading position, the spool 56 can be opened by movement at least partially out of the bowl 54, as As In a method of carrying out single-stage processing, one of the separated components is returned to the blood source, while the other is removed from the first stage 62 for further processing via an adsorption device, as will be described in greater detail herein. For example, when carrying out a therapeutic plasma exchange procedure, whole blood in the first stage 62 is separated into cellular components (i.e., a high density component) and substantially cell-free plasma (i.e., a low density component). The plasma is removed from the first stage 62 via the first outlet port 68 for further processing by the adsorption device, while the cellular components are removed from the first stage 62 via the second outlet port 66 and returned to the blood source. After the plasma has been treated by the adsorption device, it may be returned to the blood source. If multi-stage processing is required, one of the components will be transferred from the first stage 62 to the second stage 64 via a port 72 associated with the second stage 64. The component transferred to the second stage 64 is further fractionated into sub-components, with one of the sub-components being removed from the second stage 64 via an outlet port 74 and the other sub-component remaining in the second stage 64. In the illustrated embodiment, the ports 66, 68, 70, 72, and 74 are arranged side-by-side along the top transverse edge of the chamber 34. While the same ports 66, 68, and 70 of the first stage 62 are used as in the above-described therapeutic plasma exchange procedure, the ports 66 and 70 have different functionality in a multi-stage separation procedure. In one method of multi-stage operation, blood enters the first stage 62 via the port 66 and is separated into red blood cells (i.e., the high density blood component) and platelet-rich plasma (i.e., the low density blood component). The red blood cells are returned to the blood source (via the port 70), while the platelet-rich plasma is conveyed out of the first stage 62 (via the first outlet port 68) and into the second stage 64 (via the inlet port 72). In the second stage 64, the platelet-rich plasma is separated into platelet-poor plasma and platelet concentrate. The platelet-poor plasma is removed from the second stage 64 (via the outlet port 74), leaving platelet concentrate in the second stage 64 for resuspension and transfer to one or more storage containers. As best shown in As Blood entering the blood separation chamber 34 is pumped thereinto by one or more pumps 92 of the fluid processing system 10 ( Before beginning a given blood processing and collection procedure, the operator loads various components of the flow circuit 12 onto the sloped front panel 96 and centrifuge 52 of the centrifuge system 10. As described above, the blood separation chamber 34 and the umbilicus 48 of the flow circuit 12 are loaded into the centrifuge 52, with a portion of the umbilicus 48 extending outside of the interior of the centrifuge system 10, as shown in Each cassette 16-16 In one embodiment, the cassette 16, the interior wall 100, and the upper panel 108 are made of a rigid medical grade plastic material, while the diaphragm 106 is made of a flexible sheet of medical grade plastic. The upper panel 108 and the diaphragm 106 are sealed about their peripheries to the peripheral edges of the top- and undersides 102, 104 of the cassette 16, respectively. As shown in The valve and sensing stations 110, 112 resemble shallow wells open on the cassette underside 104 ( The sensing stations 112 are likewise closed by the interior wall 100 on the topside 102 of the cassette 16, except that each sensing station 112 includes three through holes or ports 120 in the interior wall 100 ( In one embodiment, the flexible diaphragm 106 overlying the underside 104 of the cassette 16 is sealed by ultrasonic welding to the upstanding peripheral edges 116 of the valve and sensing stations 110, 112. This isolates the valve stations 110 and sensing stations 112 from each other and the rest of the system. In an alternative embodiment, the flexible diaphragm 106 can be seated against the upstanding edges 116 by an external positive force applied by the cassette holder 94 against the diaphragm 106. The positive force, like the ultrasonic weld, peripherally seals the valve and sensing stations 110, 112. The localized application of additional positive force (referred to herein as a “closing force”) upon the intermediate region of the diaphragm 106 overlying a valve station 110 serves to flex the diaphragm 106 into the valve station 110. Such closing force is provided by the cassette holder 94, as will be described in greater detail herein. The diaphragm 106 seats against one of the ports 118 to seal the port 118, which closes the valve station 110 to liquid flow. Upon removal of the closing force, fluid pressure within the valve station 110, the application of a vacuum to the outer surface of the diaphragm 106, and/or the plastic memory of the diaphragm 106 itself unseats the diaphragm 106 from the port 118, opening the valve station 110 to liquid flow. Upstanding channel sides or edges 122 rise from the interior wall 100 to peripherally surround and define the liquid paths 114, which are open on the topside 102 of the cassette 16. The liquid paths 114 are closed by the interior wall 100 on the underside 104 of the cassette 16, except for the ports 118, 120 of the valve and sensing stations 110, 112 ( In the illustrated embodiment, ten pre-molded tube connectors 124 extend out along opposite side edges 126, 128 of each cassette 16. The tube connectors 124 are arranged five on one side edge 126 and five on the other side edge 128. The other side edges 130 of the cassette 16, as illustrated, are free of tube connectors. The tube connectors 124 are associated with external tubing ( The tube connectors 124 communicate with various interior liquid paths 114, which constitute the liquid paths of the cassette 16 through which a fluid enters or exits the cassette 16. The remaining interior liquid paths 114 of the cassette 16 constitute branch paths that link the liquid paths 114 associated with the tube connectors 124 to each other through the valve stations 110 and sensing stations 112. Turning now to the cassette holders 94 ( The flexible diaphragm 106 covering the underside 104 of the cassette 16 is urged into intimate contact with a valve and sensor array or assembly 132 by the cassette holder 94. The valve assembly 132 acts in concert with the valve stations 110 and sensing stations 112 of the cassette 16. The valve assembly 132 illustrated in In one embodiment, each valve actuator 134 includes an electrically actuated solenoid pin or piston 138. Each piston 138 is independently movable between an extended position and a retracted position. When in its extended position, the piston 138 presses against the region of the diaphragm 106 that overlies the associated valve station 110. In this position, the piston 138 flexes the diaphragm 106 into the associated valve station 110, thereby sealing the associated valve port 118. This closes the valve station 110 to liquid flow. When in its retracted position, the piston 138 does not apply force against the diaphragm 106. As before described, the plastic memory of the diaphragm 106 may be such that the removal of force is sufficient for the diaphragm to unseat from the valve port 118, thereby opening the valve station 110 to liquid flow. Alternatively, a vacuum may be applied to the diaphragm 106, for example by the vacuum port 140 illustrated in The pressure sensing transducers 136 sense liquid pressures in the sensing stations 112 of the cassette 16. The sensed pressures are transmitted to a controller of the centrifuge system 10 as part of its overall system monitoring function. If provided, the vacuum port 140 of the cassette holder 94 may provide suction to the diaphragm 106 of the cassette 16, drawing it into close contact with the transducers 136 for more accurate pressure readings. As described above, the centrifuge 52 rotates the blood separation chamber 34, thereby centrifugally separating whole blood received from a blood source into component parts, e.g., red blood cells, plasma, and buffy coat comprising platelets and leukocytes. In a therapeutic plasma exchange procedure, the fluid passage 90 channels blood directly into the region upstream of the flow path 86 leading to the red cell outlet port 66 and the flow path 88 leading to the plasma outlet port 68. As shown in The movement of the component(s) of the RBC layer 142 displaces less dense blood components radially toward the low-G (inner) wall 146, forming a second, less optically dense layer 148. The less optically dense layer 148 is substantially comprised of plasma (and, hence, will be referred to herein as the “plasma layer”) but, depending on the speed at which the centrifuge 52 is rotated and the length of time that the blood is resident in the centrifuge, other components (e.g., platelets and smaller white blood cells) may also be present in the plasma layer 148. The transition between the formed cellular blood components and the liquid plasma component is generally referred to as the interface 150 ( As The ramp 152 forms a tapered wedge that restricts the flow of fluid toward the first outlet port 68. The top edge of the ramp 152 extends to form a constricted passage 154 along the low-G wall 146. The plasma layer 148 must flow through the constricted passage 154 to reach the first outlet port 68. The location of the interface 150 on the ramp 152 ( As The second projection 156 extends toward the high-G wall 144 so as to form a constricted passage 158 ( The second projection 156 is present at or adjacent to the low-G wall 146 to intercept the plasma layer 148 flowing toward the red cell outlet port 66, as shown in For improved transfer of plasma from the RBC path 86 to the plasma path 88, the second projection 156 may be oriented with one end positioned at or adjacent to the lower end of the interior seal 82 between the outlet ports 66 and 68. The other end of the second projection 156 may be positioned at or adjacent to the other interior seal 84 which defines the RBC path 86. If one end of the second projection 156 is located at or adjacent to the interior seal 84, plasma intercepted by the second projection 156 will be unable to move in that direction (due to the presence of the interior seal 84) and will instead be forced to flow toward the plasma path 88. One end of the first projection 152 may be substantially angularly aligned with the second projection 156 or be positioned at substantially the same location, as shown in As for the platelets and white cells separated from the RBC and plasma layers 142 and 148, positioning the outlet ports 66 and 68 away from the inlet port 70 allows them to settle into the interface layer 150 by the time they reach the region leading to the paths 86 and 88. The first and second projections 152 and 156 are configured and oriented such that, during a therapeutic plasma exchange procedure or the like, the interface layer 150 will be prevented from entering the plasma outlet port 68 and will instead be redirected by the first projection 152 to flow beyond the second projection 156 and into the red cell outlet port 66. Aspects of the present subject matter described above may be beneficial alone or in combination with one or more other aspects. Without limiting the foregoing description, in accordance with one aspect of the subject matter herein, there is provided a centrifugation system which includes the combination of a centrifuge and a separation chamber. The centrifuge is configured to separate blood components from blood by rotation about a rotational axis and comprises a generally annular low-G wall and a generally annular high-G wall which is located farther from the rotational axis than the low-G wall. The high-G wall includes a first projection extending toward the low-G wall and the low-G wall includes a second projection extending toward the high-G wall. The separation chamber includes multiple stages and is configured to be received in the centrifuge between the low-G and high-G walls. One of the stages of the separation chamber comprises an inlet port configured for flowing blood into the separation chamber, a plasma outlet port to transport a separated blood component substantially comprising plasma out of the separation chamber, and a red cell outlet port to transport a separated blood component substantially comprising red blood cells out of the separation chamber. When the separation chamber is received in the centrifuge between the low-G and high-G walls, the first projection is oriented so as to extend into the path of separated blood components flowing toward the plasma outlet port and prevent the separated blood component substantially comprising red blood cells from flowing into the plasma outlet port. The second projection is oriented so as to extend into the path of separated blood components flowing toward the red cell outlet port and prevent the separated blood component substantially comprising plasma from flowing into the red cell outlet port. In accordance with another aspect which may be used or combined with the preceding aspect, the first projection is oriented at an angle with respect to the rotational axis and the second projection is oriented substantially perpendicular to the rotational axis. In accordance with another aspect which may be used or combined with any of the preceding aspects, one end of the first projection is substantially angularly aligned with one end of the second projection. In accordance with another aspect which may be used or combined with any of the preceding aspects, the second projection is configured and oriented so as to prevent the separated blood component substantially comprising plasma from flowing into the red cell outlet port and redirect the separated blood component substantially comprising plasma to flow into the plasma outlet port. In accordance with another aspect which may be used or combined with any of the preceding aspects, the separation chamber includes an interior seal positioned between the red cell outlet port and the plasma outlet port, with one end of the second projection being positioned at or adjacent to an end of the interior seal. In accordance with another aspect which may be used or combined with any of the preceding aspects, the separation chamber includes a plurality of interior seals positioned between the red cell outlet port and the inlet and plasma outlet ports, with the ends of the second projection being positioned at or adjacent to the interior seals. In accordance with another aspect which may be used or combined with any of the preceding aspects, the ratio of the distance between the second projection and the high-G wall to the distance between the low-G and high-G walls is between approximately 0.01 and approximately 0.99. In accordance with another aspect which may be used or combined with any of the preceding aspects, the ratio of the distance between the second projection and the high-G wall to the distance between the low-G and high-G walls is between approximately 0.35 and approximately 0.75. In accordance with another aspect which may be used or combined with any of the preceding aspects, the ratio of the distance between the second projection and the high-G wall to the distance between the low-G and high-G walls is between approximately 0.45 and approximately 0.65. In accordance with another aspect, there is provided a centrifuge for separating blood components from blood by rotation about a rotational axis. The centrifuge comprises a generally annular low-G wall and a generally annular high-G wall located farther from the rotational axis than the low-G wall. The high-G wall includes a first projection extending toward the low-G wall and the low-G wall includes a second projection extending toward the high-G wall. One end of the first projection is substantially angularly aligned with one end of the second projection. In accordance with another aspect which may be used or combined with the preceding aspect, the first projection is oriented at an angle with respect to the rotational axis and the second projection is oriented substantially perpendicular to the rotational axis. In accordance with another aspect which may be used or combined with any of the preceding two aspects, the ratio of the distance between the second projection and the high-G wall to the distance between the low-G and high-G walls is between approximately 0.01 and approximately 0.99. In accordance with another aspect which may be used or combined with any of the preceding three aspects, the ratio of the distance between the second projection and the high-G wall to the distance between the low-G and high-G walls is between approximately 0.35 and approximately 0.75. In accordance with another aspect which may be used or combined with any of the preceding four aspects, the ratio of the distance between the second projection and the high-G wall to the distance between the low-G and high-G walls is between approximately 0.45 and approximately 0.65. In accordance with another aspect, there is provided a method for centrifugally separating blood components from blood. The method includes flowing blood into a first stage of a multiple-stage separation chamber, the first stage having a plasma outlet port and a red cell outlet port. The separation chamber is rotated so as to separate the blood into a separated blood component substantially comprising plasma and a blood component substantially comprising red blood cells. The separated blood components flow along a path toward the plasma outlet port, with the path including a first projection which is oriented to prevent the separated blood component substantially comprising red blood cells from flowing into the plasma outlet port. The separated blood components also flow along a path toward the red cell outlet port, with the path including a second projection which is oriented to prevent the separated blood component substantially comprising plasma from flowing into the red cell outlet port. In accordance with another aspect which may be used or combined with the preceding aspect, flowing the separated blood components along a path toward the red cell outlet port includes redirecting the separated blood component substantially comprising plasma to flow into the plasma outlet port. It will be understood that the embodiments described above are illustrative of some of the applications of the principles of the present subject matter. Numerous modifications may be made by those skilled in the art without departing from the spirit and scope of the claimed subject matter, including those combinations of features that are individually disclosed or claimed herein. For these reasons, the scope hereof is not limited to the above description but is as set forth in the following claims, and it is understood that claims may be directed to the features hereof, including as combinations of features that are individually disclosed or claimed herein.RELATED APPLICATION
TECHNICAL FIELD
BACKGROUND
SUMMARY
BRIEF DESCRIPTION OF THE DRAWINGS
DESCRIPTION OF THE ILLUSTRATED EMBODIMENTS
A. The Flow Circuit
B. The Fluid Processing System
C. The Blood Separation Chamber
D. The Cassettes
E. The Cassette Holders and Pumps
F. Blood Separation