патент
№ US 0009512398
МПК C12N5/071

Ionic aqueous solutions comprising charge-stabilized oxygen-containing nanobubbles

Авторы:
Anthony B. Wood Richard L. Watson Gregory J. Archambeau
Все (9)
Правообладатель:
Все (3)
Номер заявки
13898357
Дата подачи заявки
20.05.2013
Опубликовано
06.12.2016
Страна
US
Дата приоритета
15.12.2025
Номер приоритета
Страна приоритета
Как управлять
интеллектуальной собственностью
Реферат

Provided are electrokinetically-altered fluids (e.g., gas-enriched (e.g., oxygen-enriched) electrokinetic fluids) comprising an ionic aqueous solution of charge-stabilized gas-containing nanostructures in an amount sufficient to provide, upon contact with a cell, modulation of at least one of cellular membrane potential and cellular membrane conductivity. Further provided are the methods of making the electrokinetically-altered ionic aqueous fluid compositions. Particular aspects provide for regulating or modulating intracellular signal transduction associated by modulation of at least one of cellular membranes, membrane potential, membrane proteins such as membrane receptors, including but not limited to G-Protein Coupled Receptors (GPCR), and intercellular junctions (e.g., tight junctions, gap junctions, zona adherins and desmasomes). Other embodiments include particular methods of producing the electrokinetically-altered fluids. The electrokinetically-altered fluid compositions and methods of producing the fluid include electrokinetically-altered ionic aqueous fluids optionally in the form of solvated electrons stabilized, at least in part, with molecular gas (e.g., oxygen).

Формула изобретения

1. An ionic aqueous solution of charge-stabilized gas-containing nanobubbles having an average diameter of less than 100 nanometers, and wherein the gas in the solution is present in an amount of at least 15 ppm at atmospheric pressure.

2. The ionic aqueous solution of claim 1, wherein the charge-stabilized gas-containing nanobubbles comprise charge-stabilized oxygen-containing nanobubbles, or charge-stabilized nitrogen-containing nanobubbles.

3. The ionic aqueous solution of claim 2, wherein the percentage of the dissolved oxygen molecules present in the solution as the charge-stabilized oxygen-containing nanobubbles is a percentage selected from the group consisting of greater than: 0.01%, 0.1%, 1%, 5%, 10%, 15%, 20%, 25%, 30%, 35%, 40%, 45%, 50%, 55%, 60%, 65%, 70%, 75%, 80%, 85%, 90%, and 95%.

4. The ionic aqueous solution of claim 1, wherein the total dissolved gas is present in the charge-stabilized gas-containing nanobubbles.

5. The ionic aqueous solution of claim 1, wherein the charge-stabilized gas-containing nanobubbles have an average diameter of less than a size selected from the group consisting of: 90 nm, 80 nm, 70 nm, 60 nm, 50 nm, 40 nm, 30 nm, 20 nm, 10 nm, and less than 5 nm.

6. The ionic aqueous solution of claim 1, wherein the ionic aqueous solution comprises a saline solution.

7. The ionic aqueous solution of claim 1, wherein the solution is super-gasified.

8. The ionic aqueous solution of claim 1, wherein the charge-stabilized gas-containing nanobubbles comprise at least one positively-charged ion selected from the group consisting of alkali metal based salts, alkaline earth based salts, and transition metal-based positive ions, in each case along with any suitable counterionic components.

9. The ionic aqueous solution of claim 1, wherein the solution comprises at least one of a form of solvated electrons, and an electrokinetically modified or charged oxygen species.

10. The ionic aqueous solution of claim 9, wherein the solution comprises a form of solvated electrons stabilized, at least in part, by molecular oxygen.

11. The ionic aqueous solution of claim 1, wherein the charge-stabilized gas-containing nanobubbles persist for a time period selected from the group consisting of at least two, at least three, at least four, at least five, at least 6, and at least 12 months, in a closed gas-tight container.

12. The ionic aqueous solution of claim 1, wherein the ionic aqueous solution comprises dissolved gas in an amount selected from the group consisting of at least 25 ppm, at least 30 ppm, at least 40 ppm, at least 50 ppm, and at least 60 ppm oxygen at atmospheric pressure.

13. The ionic aqueous solution of claim 12, wherein the gas in the charge-stabilized gas-containing nanobubbles of the ionic aqueouis solution is present in an amount of at least 25 ppm.

14. The ionic aqueous solution of claim 8, wherein the alkali metal based salts comprise at least one of Li+, Na+, K+, Rb+, or Cs+, wherein the alkaline earth based salts comprise at least one of Mg++ or Ca++, and wherein the transition metal-based positive ions comprise at least one of Cr, Fe, Co, Ni, Cu, or Zn, in each case along with any suitable counterionic components.

Описание

CROSS REFERENCE TO RELATED APPLICATION(S)

[0001]

This application is a continuation of U.S. patent application Ser. No. 12/773,825, filed on May 4, 2010, and entitled ELECTROKINETICALLY-ALTERED FLUIDS COMPRISING CHARGE-STABILIZED GAS-CONTAINING NANOSTRUCTURES now U.S. Pat. No. 8,445,546, issued on May 21, 2013), which is a continuation-in-part of U.S. patent application Ser. No. 12/433,741, filed on Apr. 30, 2009, and entitled MIXING DEVICE (now U.S. Pat. No. 8,410,182, issued on Apr. 2, 2013), which is a continuation-in-part of U.S. patent application Ser. No. 11/924,595, filed Oct. 25, 2007, and entitled MIXING DEVICE (now U.S. Pat. No. 7,919,534, issued on Apr. 5, 2011), wherein Ser. No. 12/773,825 claims priority to U.S. Provisional Patent Application Ser. No. 61/175,409, filed May 4, 2009, and entitled ELECTROKINETICALLY-ALTERED FLUIDS COMPRISING CHARGE-STABILIZED GAS-CONTAINING NANOSTRUCTURES, wherein both Ser. No. 12/433,741 and Ser. No. 11/924,595 claim priority to U.S. Provisional Patent Application Ser. No. 60/862,904, filed Oct. 25, 2006, and entitled DIFFUSER/EMULSIFIER, Ser. No. 60/862,955, filed Oct. 25, 2006 and entitled OXYGENATED SALINE SOLUTION, and Ser. No. 60/982,387, filed Oct. 24, 2007, and entitled MIXING DEVICE, and wherein Ser. No. 12/433,741 additionally claims priority to U.S. Provisional Patent Application Ser. No. 61/049,724, filed May 1, 2008, and entitled COMPOSITIONS AND METHODS FOR TREATING DIGESTIVE DISORDERS, all of which are incorporated by reference herein in their entirety.

BACKGROUND OF THE INVENTION

[0002]

Field of the Invention

[0003]

The present invention is directed generally to mixing devices and more particularly to mixing devices that mix two or more materials between surfaces, including such as between a rotating rotor and a stationary stator. Particular aspects relate to electrokinetically-altered fluids (e.g., gas-enriched (e.g., oxygen-enriched) electrokinetic fluids) comprising an ionic aqueous solution of charge-stabilized oxygen-containing nanostructures in an amount sufficient to provide, upon contact with a cell, modulation of at least one of cellular membrane potential and cellular membrane conductivity. Further aspects provide for the method of making the electrokinetically-altered ionic aqueous fluid compositions. Particular aspects provide for regulating or modulating of at least one of cellular membrane potential, cellular membrane conductivity, and intracellular signal transduction associated by modulation of at least one of cellular membranes, membrane potential, membrane proteins such as membrane receptors, including but not limited to G-Protein Coupled Receptors (GPCR), and intercellular junctions (e.g., tight junctions, gap junctions, zona adherins and desmasomes). Other embodiments include particular methods of producing the electrokinetically-altered fluids, wherein the biological effects of the inventive fluid compositions comprising charge-stabilized gas-containing nanostructures can be modulated (e.g., increased, decreased, tuned, etc.) by altering the ionic components of the fluids, and/or by altering the gas component of the fluids.

[0004]

Description of the Related Art

[0005]

FIG. 1 provides a partial block diagram, partial cross-sectional view of a prior art device 10 for diffusing or emulsifying one or two gaseous or liquid materials (“infusion materials”) into another gaseous or liquid material (“host material”) reproduced from U.S. Pat. No. 6,386,751, incorporated herein by reference in its entirety. The device 10 includes a housing configured to house a stator 30 and a rotor 12. The stator 30 encompasses the rotor 12. A tubular channel 32 is defined between the rotor 12 and the stator 30. The generally cylindrically shaped rotor 12 has a diameter of about 7.500 inches and a length of about 6.000 inches providing a length to diameter ratio of about 0.8.

[0006]

The rotor 12 includes a hollow cylinder, generally closed at both ends. A gap exists between each of the first and second ends of the rotor 12 and a portion of the housing 34. A rotating shaft 14 driven by a motor 18 is coupled to the second end of the rotor 12. The first end of the rotor 12 is coupled to an inlet 16. A first infusion material passes through the inlet 16 and into the interior of the rotor 12. The first infusion material passes from the interior of the rotor 12 and into the channel 32 through a plurality of openings 22 formed in the rotor 12.

[0007]

The stator 30 also has openings 22 formed about its circumference. An inlet 36 passes a second infusion material to an area 35 between the stator 30 and the housing 34. The second infusion material passes out of the area 35 and into the channel 32 through openings 22.

[0008]

An external pump (not shown) is used to pump the host material into a single inlet port 37. The host material passes through a single inlet port 37 and into the channel 32 where it encounters the first and second infusion materials, which enter the channel 32 through openings 22. The infusion materials may be pressurized at their source to prevent the host material from passing through openings 22. The inlet port 37, is configured and positioned such that it is located along only a relatively small portion (<about 5%) of the annular inlet channel 32, and is substantially parallel to the axis of rotation of the rotor 12 to impart an axial flow toward a portion of the channel 32 into the host material.

[0009]

Unfortunately, before entering the tubular channel 32, the host material must travel in tortuous directions other than that of the axial flow (e.g., including in directions substantially orthogonal thereto) and down into and between the gap formed between the first end of the rotor 12 and the housing 34 (i.e., down a portion of the first end of the rotor adjacent to the inlet 16 between the end of the rotor 12 and the housing 34). The non-axial and orthogonal flow, and the presence of the host material in the gap between the first end of the rotor 12 and the housing 34 causes undesirable and unnecessary friction. Further, it is possible for a portion of the host material to become trapped in eddy currents swirling between the first end of the rotor and the housing. Additionally, in the device 10, the host material must negotiate at least two right angles to enter any aspect of the annual of the annular inlet of the tubular channel 32.

[0010]

A single outlet port 40 is formed in the housing 34. The combined host material and infusion material(s) exit the channel 32 via the outlet 40. The outlet port 40, which is also located along only a limited portion (<about 5%) of the annular outlet of tubular channel 32, is substantially parallel to the axis of rotation of the rotor 12 to impart or allow for an axial flow of the combined materials away from the limited portion of the annular outlet of tubular channel 32 into the outlet port 40. An external pump 42 is used to pump the exiting fluid through the outlet port 40.

[0011]

Unfortunately, before exiting the channel 32, a substantial portion of the exiting material must travel in a tortuous direction other than that of the axial flow (e.g., including in directions substantially orthogonal thereto) and down into and between the gap formed between the second end of the rotor 12 and the housing 34 (i.e., down a portion of the second end of the rotor adjacent to the shaft 14 between the end of the rotor 12 and the housing 34). As mentioned above, the non-axial and orthogonal flow, and the presence of the host material in the other gap between the end (in this case, the second end) of the rotor 12 and the housing 34 causes additional undesirable and unnecessary friction. Further, it is possible for a portion of the host material to become trapped in eddy currents swirling between the second end of the rotor and the housing. Additionally, in the device 10, a substantial portion of the exiting combined material must negotiate at least two right angles as it exits form the annular exit of the tubular channel 32 into the outlet port 40.

[0012]

As is apparent to those of ordinary skill in the art, the inlet port 37 imparts only an axial flow to the host material. Only the rotor 21 imparts a circumferential flow into the host material. Further, the outlet port 40 imparts or provides for only an axial flow into the exiting material. Additionally, the circumferential flow velocity vector is imparted to the material only after it enters the annular inlet 37 of the tubular channel 32, and subsequently the circumferential flow vector must be degraded or eliminated as the material enters the exit port 40. There is, therefore, a need for a progressive circumferential acceleration of the material as it passes in the axial direction through the channel 32, and a circumferential deceleration upon exit of the material from the channel 32. These aspects, in combination with the tortuous path that the material takes from the inlet port 37 to the outlet port 40, create a substantial friction and flow resistance over the path that is accompanied by a substantial pressure differential (26 psi, at 60 gallons/min flow rate) between the inlet 37 and outlet 40 ports, and these factors, inter alia, combine to reduce the overall efficiency of the system.

BRIEF DESCRIPTION OF THE SEVERAL VIEWS OF THE DRAWING(S)

[0013]

FIG. 1 is a partial cross-section, partial block diagram of a prior art mixing device.

[0014]

FIG. 2 is block diagram of an exemplary embodiment of a mixing device.

[0015]

FIG. 3 is an illustration of an exemplary system for delivering a first material to the mixing device of FIG. 2.

[0016]

FIG. 4 is a fragmentary partial cross-sectional view of a top portion of the mixing device of FIG. 2.

[0017]

FIG. 5 is a fragmentary cross-sectional view of a first side portion of the mixing device of FIG. 2.

[0018]

FIG. 6 is a fragmentary cross-sectional view of a second side portion of the mixing device of FIG. 2.

[0019]

FIG. 7 is a fragmentary cross-sectional view of a side portion of the mixing device of FIG. 2 located between the first side portion of FIG. 5 and the second side portion of FIG. 6.

[0020]

FIG. 8 is a perspective view of a rotor and a stator of the mixing device of FIG. 2.

[0021]

FIG. 9 is a perspective view of an inside of a first chamber of the mixing device of FIG. 2.

[0022]

FIG. 10 is a fragmentary cross-sectional view of the inside of a first chamber of the mixing device of FIG. 2 including an alternate embodiment of the pump 410.

[0023]

FIG. 11 is a perspective view of an inside of a second chamber of the mixing device of FIG. 2.

[0024]

FIG. 12 is a fragmentary cross-sectional view of a side portion of an alternate embodiment of the mixing device.

[0025]

FIG. 13 is a perspective view of an alternate embodiment of a central section of the housing for use with an alternate embodiment of the mixing device.

[0026]

FIG. 14 is a fragmentary cross-sectional view of an alternate embodiment of a bearing housing for use with an alternate embodiment of the mixing device.

[0027]

FIG. 15 is a cross-sectional view of the mixing chamber of the mixing device of FIG. 2 taken through a plane orthogonal to the axis of rotation depicting a rotary flow pattern caused by cavitation bubbles when a through-hole of the rotor approaches (but is not aligned with) an aperture of the stator.

[0028]

FIG. 16 is a cross-sectional view of the mixing chamber of the mixing device of FIG. 2 taken through a plane orthogonal to the axis of rotation depicting a rotary flow pattern caused by cavitation bubbles when the through-hole of the rotor is aligned with the aperture of the stator.

[0029]

FIG. 17 is a cross-sectional view of the mixing chamber of the mixing device of FIG. 2 taken through a plane orthogonal to the axis of rotation depicting a rotary flow pattern caused by cavitation bubbles when a through-hole of the rotor that was previously aligned with the aperture of the stator is no longer aligned therewith.

[0030]

FIG. 18 is a side view of an alternate embodiment of a rotor.

[0031]

FIG. 19 is an enlarged fragmentary cross-sectional view taken through a plane orthogonal to an axis of rotation of the rotor depicting an alternate configuration of through-holes formed in the rotor and through-holes formed in the stator.

[0032]

FIG. 20 is an enlarged fragmentary cross-sectional view taken through a plane passing through and extending along the axis of rotation of the rotor depicting a configuration of through-holes formed in the rotor and through-holes formed in the stator.

[0033]

FIG. 21 is an enlarged fragmentary cross-sectional view taken through a plane passing through and extending along the axis of rotation of the rotor depicting an alternate offset configuration of through-holes formed in the rotor and through-holes formed in the stator.

[0034]

FIG. 22 is an illustration of a shape that may be used to construct the through-holes of the rotor and/or the apertures of the stator.

[0035]

FIG. 23 is an illustration of a shape that may be used to construct the through-holes of the rotor and/or the apertures of the stator.

[0036]

FIG. 24 is an illustration of a shape that may be used to construct the through-holes of the rotor and/or the apertures of the stator.

[0037]

FIG. 25 is an illustration of a shape that may be used to construct the through-holes of the rotor and/or the apertures of the stator.

[0038]

FIG. 26 is an illustration of an electrical double layer (“EDL”) formed near a surface.

[0039]

FIG. 27 is a perspective view of a model of the inside of the mixing chamber.

[0040]

FIG. 28 is a cross-sectional view of the model of FIG. 27.

[0041]

FIG. 29 is an illustration of an experimental setup.

[0042]

FIG. 30 illustrates dissolved oxygen levels in water processed with oxygen in the mixing device of FIG. 2 and stored a 500 ml thin walled plastic bottle and a 1,000 ml glass bottle each capped at 65° Fahrenheit.

[0043]

FIG. 31 illustrates dissolved oxygen levels in water processed with oxygen in the mixing device of FIG. 2 and stored in a 500 ml plastic thin walled bottle and a 1,000 ml glass bottle both refrigerated at 39° Fahrenheit.

[0044]

FIG. 32 illustrates the dissolved oxygen retention of a 500 ml beverage fluid processed with oxygen in the mixing device of FIG. 2.

[0045]

FIG. 33 illustrates the dissolved oxygen retention of a 500 ml braun balanced salt solution processed with oxygen in the mixing device of FIG. 2.

[0046]

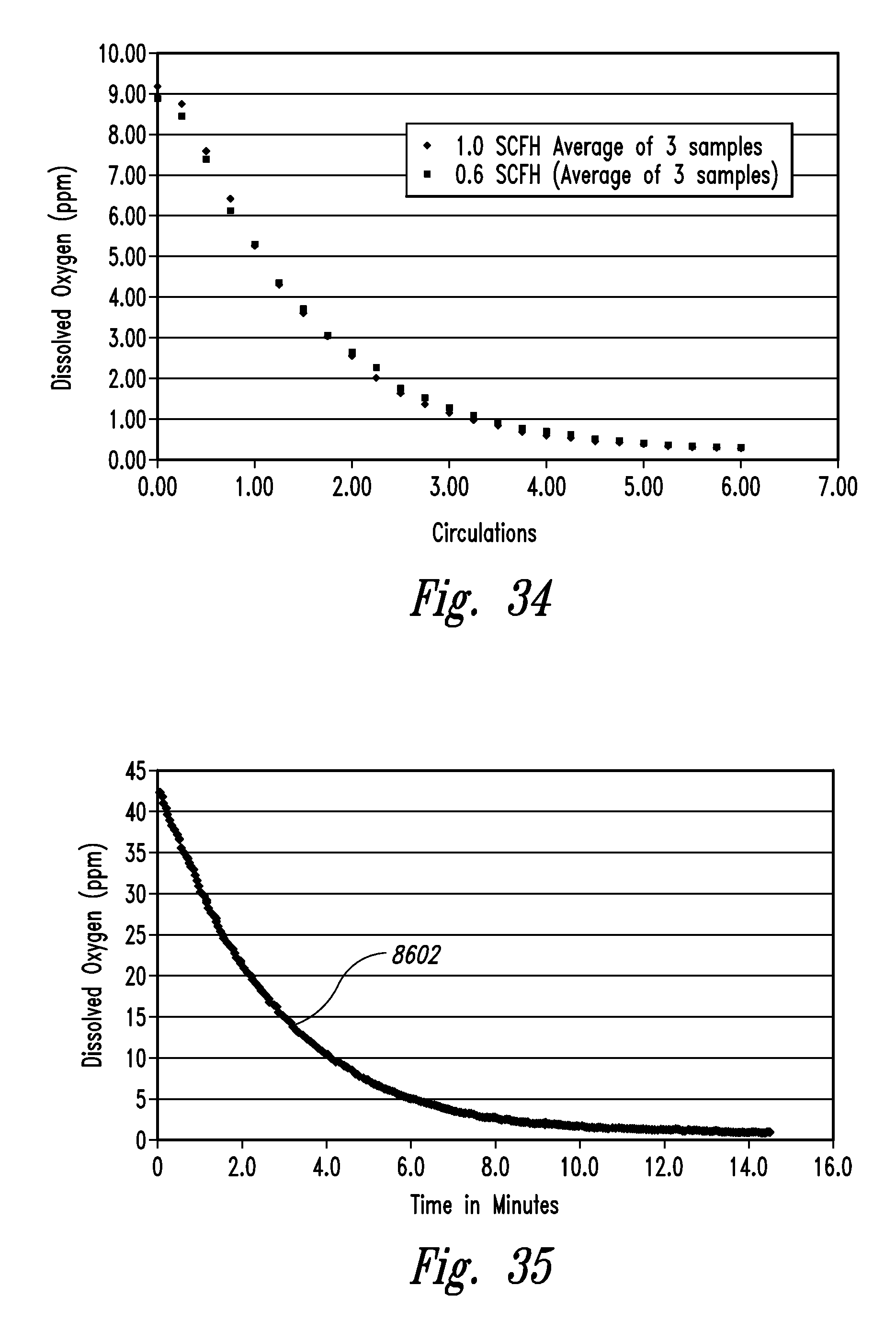
FIG. 34 illustrates a further experiment wherein the mixing device of FIG. 2 is used to sparge oxygen from water by processing the water with nitrogen in the mixing device of FIG. 2.

[0047]

FIG. 35 illustrates the sparging of oxygen from water by the mixing device of FIG. 2 at standard temperature and pressure.

[0048]

FIG. 36 is an illustration of an exemplary nanocage.

[0049]

FIGS. 37A and B illustrate Rayleigh scattering effects of an oxygen-enriched fluid.

[0050]

FIG. 38 illustrates the cytokine profile of a mitogenic assay in the presence of a gas-enriched fluid and deionized control fluid.

[0051]

FIG. 39 illustrates the difference in the growth rates of Pseudomonas bacteria at various dissolved oxygen saturation ratios.

[0052]

FIGS. 40A and 40B illustrate in vitro healing of wounds using an oxygen-enriched cell culture media and a non-gas-enriched media.

[0053]

FIGS. 41A through 41F show histological cross-sections of dermal and epidermal in vivo wound healing.

[0054]

FIG. 42 illustrates the expression of Hale's stain in treated and control healing wounds, used to detect acid mucopolysaccharides, such as hyaluronic acid;

[0055]

FIG. 43 illustrates the expression of von Willebrand's Factor stain used to detect angiogenesis in treated and control healing wounds.

[0056]

FIG. 44 illustrates the detection of Luna's stain used to detect elastin in treated and control healing wounds.

[0057]

FIG. 45 illustrates the number of mast cells per visual field for treated and control healing wounds.

[0058]

FIG. 46 illustrates the percentage of dead cells at separate time points in a corneal fibroblast assay using inventive gas-enriched culture media and control culture media.

[0059]

FIG. 47 illustrates the shelf life of the inventive gas-enriched fluid in a polymer pouch.

[0060]

FIG. 48 illustrates the results of contacting splenocytes with MOG in the presence of pressurized pot oxygenated fluid (1), inventive gas-enriched fluid (2), or control deionized fluid (3).

[0061]

FIGS. 49-58 show the results of whole blood sample evaluations of cytokines.

[0062]

FIGS. 59-68 show the corresponding cytokine results of bronchoalveolar lavage fluid (BAL) sample evaluations.

[0063]

FIGS. 69-75 shows studies where the Bradykinin B2 membrane receptor was immobilized onto aminopropylsilane (APS) biosensor. The Sample plate set up was as designated in FIG. 69 and the binding of Bradykinin to the immobilized receptor was assessed according to the sample set up as designated in FIG. 71. Results of Bradykinin binding are shown in FIG. 72. Bradykinin binding to the receptor was further titrated according to the set-up as designated in FIG. 73. As indicated in FIG. 74, Bradykinin binding to the B2 receptor was concentration dependent, and binding affinity was increased in the proprietary gas-enriched saline fluid of the instant disclosure compared to normal saline. Stabilization of Bradykinin binding to the B2 receptor is shown in FIG. 75.

[0064]

FIGS. 76-83 show data showing the ability of particular embodiments disclosed herein to affect regulatory T cells. The study involved irradiating antigen presenting cells, and introducing antigen and T cells.

[0065]

FIG. 84 shows that the inventive electrokinetically generated fluids decreased serum uptake of salmon calcitonin and an animal model. The results are consistent with enhancement of tight junctions.

[0066]

FIGS. 85-89 show the expression levels of tight junction-related proteins in lung tissue from the animal model used to generate the data of FIG. 84.

[0067]

FIGS. 90-94 show data obtained from human foreskin keratinocytes exposed to RDC1676-01 (sterile saline processed through the instant proprietary device with additional oxygen added; gas-enriched electrokinetically generated fluid (Rev) of the instant disclosure) showing up-regulation of NOS1 and 3, and Nostrin, NOS3.

[0068]

FIGS. 95 and 96 show data supporting localized electrokinetic effects (voltage/current) occurring in a mixing device comprising insulated rotor and stator features to allow for detection of voltage/current effects during electrokinetic fluid generation.

[0069]

FIGS. 97A-C show results of nuclear magnetic resonance (NMR) studies conducted to further characterize the fundamental nature of the inventive electrokinetically generated fluids. The electrokinetically generated fluids increased the13C-NMR line-widths of the reporter Trehalose solute.

[0070]

FIGS. 98 and 99 show results of voltametric studies (i.e., square wave voltametry (FIG. 98) and stripping polarography (FIG. 99)) conducted to further characterize the fundamental nature of the inventive electrokinetically generated fluids. Square wave voltametry peak differences (with respect to control) unique to the electrokinetically generated fluids were observed at −0.14V, −0.47V, −1.02V and −1.36V. Pronounced polaragraphic peaks were seen at −0.9 volts for the electrokinetically generated Revera and Solas fluids, and the spectra of the non-electrokinetically generated blank and saline control fluids show characteristic peaks at −0.19 and −0.3 volts that are absent in the spectra for the electrokinetically generated fluids.

[0071]

FIGS. 100-106 show results of patch clamping techniques that assessed the effects of the electrokinetically generated fluid test on epithelial cell membrane polarity and ion channel activity. The results indicate that the inventive electrokinetically generated fluids affect a voltage-dependent contribution of the whole-cell conductance.

[0072]

FIGS. 107A-D and 108A-D show data indicating that the inventive electrokinetically generated fluids (e.g., RDC1676-00, RDC1676-01, RDC1676-02 and RDC1676-03) protected against methacholine-induced bronchoconstriction when administered alone or as diluents for albuterol sulfate in male guinea pigs.

[0073]

FIGS. 109-114 show results of budesonide experiments performed to assess the airway anti-inflammatory properties of the inventive electrokinetically generated fluids in a Brown Norway rat ovalbumin sensitization model. The inventive electrokinetically generated fluids decreased eosinophil count, showed strong synergy with Budesonide in decreasing eosinophil count, decreased Penh values, increased Tidal Volume, decreased blood levels of Eotaxin, significantly enhanced the Blood levels of two major key anti-inflammatory cytokines, IL10 and Interferron gamma at 6 hours after challenge as a result of treatment with the inventive electrokinetically generated fluid (e.g., Rev 60) alone or in combination with Budesonide, and decreased systemic levels of Rantes. The data show that there is a substantial synergistic effect of Budesonide 750 ug/kg and the inventive electrokinetically generated fluids (e.g., Rev 60).

[0074]

FIG. 115 shows that the inventive electrokinetically generated fluid (e.g., Revera 60 and Solas) reduced DEP-induced TSLP receptor expression in bronchial epithelial cells (BEC) by approximately 90% and 50%, respectively, whereas normal saline (NS) had only a marginal effect.

[0075]

FIG. 116 shows the inventive electrokinetically generated fluid (e.g., Revera 60 and Solas) inhibited the DEP-induced cell surface bound MMP9 levels in bronchial epithelial cells by approximately 80%, and 70%, respectively, whereas normal saline (NS) had only a marginal effect.

[0076]

FIGS. 117 A-C demonstrate the results of a series of patch clamping experiments that assessed the effects of the electrokinetically generated fluid (e.g., RNS-60 and Solas) on epithelial cell membrane polarity and ion channel activity at two time-points (15 min (left panels) and 2 hours (right panels)) and at different voltage protocols.

[0077]

FIGS. 118 A-C show, in relation to the experiments relating to FIGS. 117 A-C, the graphs resulting from the subtraction of the Solas current data from the RNS-60 current data at three voltage protocols (A. stepping from zero mV; B. stepping from −60 mV; C. stepping from −120 mV) and the two time-points (15 mins (open circles) and 2 hours (closed circles)).

[0078]

FIGS. 119 A-D demonstrate the results of a series of patch clamping experiments that assessed the effects of the electrokinetically generated fluid (e.g., Solas (panels A. and B.) and RNS-60 (panels C. and D.)) on epithelial cell membrane polarity and ion channel activity using different external salt solutions and at different voltage protocols (panels A. and C. show stepping from zero mV; panels B. and D. show stepping from −120 mV).

[0079]

FIGS. 120 A-D show, in relation to the experiments relating to FIGS. 119 A-D, the graphs resulting from the subtraction of the CsCl current data (shown in FIG. 119) from the 20 mM CaCl2(diamonds) and 40 mM CaCl2(filled squares) current data at two voltage protocols (panels A. and C. stepping from zero mV; B. and D. stepping from −120 mV) for Solas (panels A. and B.) and Revera 60 (panels C. and D.).

[0080]

FIG. 121 A shows 1 mm2 AFM scan for RNS60-1 (rns60-1 1 um 3D.jpg). The small peaks (“1”) represent hydrophobic nanobubbles which are ˜20 nm wide and ˜1.5 nm tall or smaller.

[0081]

FIG. 121B shows 1 mm2 scan for PNS60-1 (pp 60-1 1 um 3d.jpg). This scan reveals peaks (“2”) (hydrophobic nanobubbles) that are substantially larger (˜60 nm wide and ˜5 nm tall) than those visible with RNS60-1.

[0082]

FIG. 122 illustrates a graphical representation of an exemplary embodiment of a bioreactor system 3300a.

[0083]

FIG. 123 is another illustration of a graphical representation of an exemplary embodiment of a bioreactor system 3300a.

[0084]

FIG. 124 shows detailed portions of exemplary embodiments of the bioreactor system 3300a of FIGS. 122 and 123.

SUMMARY OF EXEMPLARY EMBODIMENTS

[0085]

Particular aspects provide for a electrokinetically-altered fluid composition, comprising an electrokinetically altered aqueous fluid comprising an ionic aqueous solution of charge-stabilized gas-containing nanostructures substantially having an average diameter of less than about 100 nanometers and stably configured in the ionic aqueous fluid in an amount sufficient to provide, upon contact of a living cell by the fluid, modulation of at least one of cellular membrane potential and cellular membrane conductivity. In certain aspects, charge-stabilized oxygen-containing nanostructures are the major charge-stabilized gas-containing nanostructure species in the fluid. In further aspects, the percentage of dissolved oxygen molecules present in the fluid as the charge-stabilized oxygen-containing nanostructures is a percentage selected from the group consisting of greater than: 0.01%, 0.1%, 1%, 5%; 10%; 15%; 20%; 25%; 30%; 35%; 40%; 45%; 50%; 55%; 60%; 65%; 70%; 75%; 80%; 85%; 90%; and 95%. In yet further aspects, the total dissolved oxygen is substantially present in the charge-stabilized oxygen-containing nanostructures. According to additional aspects, the charge-stabilized gas-containing nanostructures substantially have an average diameter of less than a size selected from the group consisting of: 90 nm; 80 nm; 70 nm; 60 nm; 50 nm; 40 nm; 30 nm; 20 nm; 10 nm; and less than 5 nm. According to certain aspects, the ionic aqueous solution comprises a saline solution. In further aspects, the fluid is supergasified (e.g., super oxygenated, super nitrogenated, super carbonated, etc.).

[0086]

According to particular aspects, the fluid comprises at least one of a form of solvated electrons, and an electrokinetically modified or charged gas (e.g., oxygen) species. In certain aspects, the form of solvated electrons or electrokinetically modified or charged gas (e.g., oxygen) species are present in an amount of at least 0.01 ppm, at least 0.1 ppm, at least 0.5 ppm, at least 1 ppm, at least 3 ppm, at least 5 ppm, at least 7 ppm, at least 10 ppm, at least 15 ppm, or at least 20 ppm. In further aspects, the electrokinetically-altered fluid comprises a form of solvated electrons stabilized, at least in part, by the gas present in the nanostructure (e.g., molecular oxygen). In further aspects, the ability to modulate of at least one of cellular membrane potential and cellular membrane conductivity persists for at least two, at least three, at least four, at least five, at least 6, at least 12 months, or longer periods, in a closed gas-tight container.

[0087]

In particular aspects, alteration of the electrokinetically altered aqueous fluid comprises exposure of the fluid to hydrodynamically-induced, localized electrokinetic effects. According to certain aspects, exposure to the localized electrokinetic effects comprises exposure to at least one of voltage pulses and current pulses. According to further aspects, the exposure of the fluid to hydrodynamically-induced, localized electrokinetic effects, comprises exposure of the fluid to electrokinetic effect-inducing structural features of a device used to generate the fluid.

[0088]

According to certain aspects, modulation of at least one of cellular membrane potential and cellular membrane conductivity comprises altering of a conformation, ligand binding activity, or a catalytic activity of a membrane associated protein. According to further aspects, the membrane associated protein comprises at least one selected from the group consisting of receptors, transmembrane receptors, ion channel proteins, intracellular attachment proteins, cellular adhesion proteins, integrins, etc. According to yet further aspects, the transmembrane receptor comprises a G-Protein Coupled Receptor (GPCR). In certain aspects, the G-Protein Coupled Receptor (GPCR) interacts with a G protein α subunit. In particular aspects, the G protein α subunit comprises at least one selected from the group consisting of Gαs, Gαi, Gαq, and Gα12. In additional aspects, at least one G protein α subunit is Gαq. In further aspects, modulation of at least one of cellular membrane potential and cellular membrane conductivity, comprises modulating whole-cell conductance. In yet further aspects, modulating whole-cell conductance, comprises modulating at least one of a linear or non-linear voltage-dependent contribution of the whole-cell conductance.

[0089]

Particular aspects provide for modulation of at least one of cellular membrane potential and cellular membrane conductivity comprises modulation of a calcium dependent cellular messaging pathway or system. Additional aspects provide for modulation of at least one of cellular membrane potential and cellular membrane conductivity comprises modulation of phospholipase C activity. In certain aspects, modulation of at least one of cellular membrane potential and cellular membrane conductivity comprises modulation of adenylate cyclase (AC) activity.

[0090]

Particular aspects provide for electrokinetically-altered aqueous fluid comprising dissolved gas (e.g., oxygen, or other suitable gases including but not limited to gases described herein) in an amount of at least 8 ppm, at least 15, ppm, at least 25 ppm, at least 30 ppm, at least 40 ppm, at least 50 ppm, or at least 60 ppm oxygen at atmospheric pressure. Additional aspects provide for the gas dissolved in the fluid or solution as the nanostructures being present in an amount of at least 25 ppm.

[0091]

Particular aspects provide for a method of producing an electrokinetically-altered aqueous fluid or solution, comprising: providing a flow of a fluid material between two spaced surfaces in relative motion and defining a mixing volume therebetween, wherein the dwell time of a single pass of the flowing fluid material within and through the mixing volume is greater than 0.06 seconds or greater than 0.1 seconds; and introducing gas (e.g., oxygen (O2)) into the flowing fluid material within the mixing volume under conditions suitable to dissolve at least 20 ppm, at least 25 ppm, at least 30, at least 40, at least 50, or at least 60 ppm gas (e.g., oxygen) into the material, and electrokinetically alter the fluid or solution, wherein an electrokinetically altered aqueous fluid comprising an ionic aqueous solution of charge-stabilized gas (e.g., oxygen)-containing nanostructures substantially having an average diameter of less than about 100 nanometers and stably configured in the ionic aqueous fluid in an amount sufficient to provide, upon contact of a living cell by the fluid, modulation of at least one of cellular membrane potential and cellular membrane conductivity is provided. In additional aspects, the gas (e.g., oxygen) is infused into the material in less than 100 milliseconds, less than 200 milliseconds, less than 300 milliseconds, or less than 400 milliseconds.

[0092]

Certain aspects provide for an electrokinetically altered gasified (e.g., oxygenated) aqueous fluid or solution made as described herein.

[0093]

Additional aspects provide for a method of producing an electrokinetically altered aqueous fluid or solution, comprising: providing a flow of a fluid material between two spaced surfaces defining a mixing volume therebetween; and introducing gas (e.g., oxygen) into the flowing material within the mixing volume under conditions suitable to infuse at least 20 ppm, at least 25 ppm, at least 30, at least 40, at least 50, or at least 60 ppm gas (e.g., oxygen) into the material in less than 100 milliseconds, less than 200 milliseconds, less than 300 milliseconds, or less than 400 milliseconds, to electrokinetically alter the fluid or solution, wherein an electrokinetically altered aqueous fluid comprising an ionic aqueous solution of charge-stabilized gas (e.g., oxygen)-containing nanostructures substantially having an average diameter of less than about 100 nanometers and stably configured in the ionic aqueous fluid in an amount sufficient to provide, upon contact of a living cell by the fluid, modulation of at least one of cellular membrane potential and cellular membrane conductivity is provided. In certain aspects, the dwell time of the flowing material within the mixing volume is greater than 0.06 seconds or greater than 0.1 seconds. In further aspects, the ratio of surface area to the volume is at least 12, at least 20, at least 30, at least 40, or at least 50.

[0094]

Particular aspects provide for an electrokinetically altered gasified (e.g., oxygenated) aqueous fluid or solution made according to the invention disclosed herein.

[0095]

Certain aspects provide for a method of producing an electrokinetically-altered aqueous fluid or solution, comprising use of a mixing device for creating an output mixture by mixing a first material and a second material, the device comprising: a first chamber configured to receive the first material from a source of the first material; a stator; a rotor having an axis of rotation, the rotor being disposed inside the stator and configured to rotate about the axis of rotation therein, at least one of the rotor and stator having a plurality of through-holes; a mixing chamber defined between the rotor and the stator, the mixing chamber being in fluid communication with the first chamber and configured to receive the first material therefrom, and the second material being provided to the mixing chamber via the plurality of through-holes formed in the one of the rotor and stator; a second chamber in fluid communication with the mixing chamber and configured to receive the output material therefrom; and a first internal pump housed inside the first chamber, the first internal pump being configured to pump the first material from the first chamber into the mixing chamber, to electrokinetically alter the fluid or solution, wherein an electrokinetically altered aqueous fluid comprising an ionic aqueous solution of charge-stabilized gas (e.g., oxygen)-containing nanostructures substantially having an average diameter of less than about 100 nanometers and stably configured in the ionic aqueous fluid in an amount sufficient to provide, upon contact of a living cell by the fluid, modulation of at least one of cellular membrane potential and cellular membrane conductivity is provided.

[0096]

Additional aspects provide for a method of producing an electrokinetically altered gasified (e.g., oxygenated) aqueous fluid or solution, comprising use of a mixing device for creating an output mixture by mixing a first material and a second material, the device comprising: a stator; a rotor having an axis of rotation, the rotor being disposed inside the stator and configured to rotate about the axis of rotation therein; a mixing chamber defined between the rotor and the stator, the mixing chamber having an open first end through which the first material enters the mixing chamber and an open second end through which the output material exits the mixing chamber, the second material entering the mixing chamber through at least one of the rotor and the stator; a first chamber in communication with at least a majority portion of the open first end of the mixing chamber; and a second chamber in communication with the open second end of the mixing chamber, to electrokinetically alter the fluid or solution, wherein an electrokinetically altered aqueous fluid comprising an ionic aqueous solution of charge-stabilized gas (e.g., oxygen)-containing nanostructures substantially having an average diameter of less than about 100 nanometers and stably configured in the ionic aqueous fluid in an amount sufficient to provide, upon contact of a living cell by the fluid, modulation of at least one of cellular membrane potential and cellular membrane conductivity is provided. In certain aspects, the first internal pump is configured to impart a circumferential velocity into the first material before it enters the mixing chamber.

DETAILED DESCRIPTION OF THE INVENTION

[0000]

Electrokinetically-Generated Fluids:

[0097]

“Electrokinetically generated fluid,” as used herein, refers to Applicants' inventive electrokinetically-generated fluids generated, for purposes of the working Examples herein, by the exemplary Mixing Device described in detail herein (see also US200802190088 and WO2008/052143, both incorporated herein by reference in their entirety). The electrokinetic fluids, as demonstrated by the data disclosed and presented herein, represent novel and fundamentally distinct fluids relative to prior art non-electrokinetic fluids, including relative to prior art oxygenated non-electrokinetic fluids (e.g., pressure pot oxygenated fluids and the like). As disclosed in various aspects herein, the electrokinetically-generated fluids have unique and novel physical and biological properties including, but not limited to the following:

[0098]

In particular aspects, the electrokinetically altered aqueous fluid comprise an ionic aqueous solution of charge-stabilized oxygen-containing nanostructures substantially having an average diameter of less than about 100 nanometers and stably configured in the ionic aqueous fluid in an amount sufficient to provide, upon contact of a living cell by the fluid, modulation of at least one of cellular membrane potential and cellular membrane conductivity.

[0099]

In particular aspects, electrokinetically-generated fluids refers to fluids generated in the presence of hydrodynamically-induced, localized (e.g., non-uniform with respect to the overall fluid volume) electrokinetic effects (e.g., voltage/current pulses), such as device feature-localized effects as described herein. In particular aspects said hydrodynamically-induced, localized electrokinetic effects are in combination with surface-related double layer and/or streaming current effects as disclosed and discussed herein.

[0100]

In particular aspects the administered inventive electrokinetically-altered fluids comprise charge-stabilized oxygen-containing nanostructures in an amount sufficient to provide modulation of at least one of cellular membrane potential and cellular membrane conductivity. In certain embodiments, the electrokinetically-altered fluids are superoxygenated (e.g., RNS-20, RNS-40 and RNS-60, comprising 20 ppm, 40 ppm and 60 ppm dissolved oxygen, respectively, in standard saline). In particular embodiments, the electrokinetically-altered fluids are not-superoxygenated (e.g., RNS-10 or Solas, comprising 10 ppm (e.g., approx. ambient levels of dissolved oxygen in standard saline). In certain aspects, the salinity, sterility, pH, etc., of the inventive electrokinetically-altered fluids is established at the time of electrokinetic production of the fluid, and the sterile fluids are administered by an appropriate route. Alternatively, at least one of the salinity, sterility, pH, etc., of the fluids is appropriately adjusted (e.g., using sterile saline or appropriate diluents) to be physiologically compatible with the route of administration prior to administration of the fluid. Preferably, and diluents and/or saline solutions and/or buffer compositions used to adjust at least one of the salinity, sterility, pH, etc., of the fluids are also electrokinetic fluids, or are otherwise compatible.

[0101]

In particular aspects, the inventive electrokinetically-altered fluids comprise saline (e.g., one or more dissolved salt(s); e.g., alkali metal based salts (Li+, Na+, K+, Rb+, Cs+, etc.), alkaline earth based salts (e.g., Mg++, Ca++), etc., or transition metal-based positive ions (e.g., Cr, Fe, Co, Ni, Cu, Zn, etc.), in each case along with any suitable anion components, including, but not limited to F−, Cl−, Br−, I−, PO4−, SO4−, and nitrogen-based anions. Particular aspects comprise mixed salt based electrokinetic fluids (e.g., Na+, K+, Ca++, Mg++, transition metal ion(s), etc.) in various combinations and concentrations, and optionally with mixtures of couterions. In particular aspects, the inventive electrokinetically-altered fluids comprise standard saline (e.g., approx. 0.9% NaCl, or about 0.15 M NaCl). In particular aspects, the inventive electrokinetically-altered fluids comprise saline at a concentration of at least 0.0002 M, at least 0.0003 M, at least 0.001 M, at least 0.005 M, at least 0.01 M, at least 0.015 M, at least 0.1 M, at least 0.15 M, or at least 0.2 M. In particular aspects, the conductivity of the inventive electrokinetically-altered fluids is at least 10 μS/cm, at least 40 μS/cm, at least 80 μS/cm, at least 100 μS/cm, at least 150 μS/cm, at least 200 μS/cm, at least 300 μS/cm, or at least 500 μS/cm, at least 1 mS/cm, at least 5, mS/cm, 10 mS/cm, at least 40 mS/cm, at least 80 mS/cm, at least 100 mS/cm, at least 150 mS/cm, at least 200 mS/cm, at least 300 mS/cm, or at least 500 mS/cm. In particular aspects, any salt may be used in preparing the inventive electrokinetically-altered fluids, provided that they allow for formation of biologically active salt-stabilized nanostructures (e.g., salt-stabilized oxygen-containing nanostructures) as disclosed herein.

[0102]

According to particular aspects, the biological effects of the inventive fluid compositions comprising charge-stabilized gas-containing nanostructures can be modulated (e.g., increased, decreased, tuned, etc.) by altering the ionic components of the fluids, and/or by altering the gas component of the fluid.

[0103]

According to particular aspects, the biological effects of the inventive fluid compositions comprising charge-stabilized gas-containing nanostructures can be modulated (e.g., increased, decreased, tuned, etc.) by altering the gas component of the fluid. In preferred aspects, oxygen is used in preparing the inventive electrokinetic fluids. In additional aspects mixtures of oxygen along with at least one other gas selected from Nitrogen, Oxygen, Argon, Carbon dioxide, Neon, Helium, krypton, hydrogen and Xenon. As described above, the ions may also be varied, including along with varying the gas constituent(s).

[0104]

Given the teachings and assay systems disclosed herein (e.g., cell-based cytokine assays, patch-clamp assays, etc.) one of skill in the art will readily be able to select appropriate salts and concentrations thereof to achieve the biological activities disclosed herein.

[0105]

Exemplary cations and anions.
NameFormulaOther name(s)
Common Cations:
AluminumAl+3
AmmoniumNH4+
BariumBa+2
CalciumCa+2
Chromium(II)Cr+2Chromous
Chromium(III)Cr+3Chromic
Copper(I)Cu+Cuprous
Copper(II)Cu+2Cupric
Iron(II)Fe+2Ferrous
Iron(III)Fe+3Ferric
HydrogenH+
HydroniumH3O+
Lead(II)Pb+2
LithiumLi+
MagnesiumMg+2
Manganese(II)Mn+2Manganous
Manganese(III)Mn+3Manganic
Mercury(I)Hg2+2Mercurous
Mercury(II)Hg+2Mercuric
NitroniumNO2+
PotassiumK+
SilverAg+
SodiumNa+
StrontiumSr+2
Tin(II)Sn+2Stannous
Tin(IV)Sn+4Stannic
ZincZn+2
Common Anions:
Simple ions:
HydrideHOxideO2−
FluorideFSulfideS2−
ChlorideClNitrideN3−
BromideBr
IodideI
Oxoanions:
ArsenateAsO43−PhosphatePO43−
ArseniteAsO33−Hydrogen phosphateHPO42−
Dihydrogen phosphateH2PO4
SulfateSO42−NitrateNO3
Hydrogen sulfateHSO4NitriteNO2
ThiosulfateS2O32−
SulfiteSO32−
PerchlorateClO4IodateIO3
ChlorateClO3BromateBrO3
ChloriteClO2
HypochloriteOClHypobromiteOBr
CarbonateCO32−ChromateCrO42−
Hydrogen carbonateHCO3DichromateCr2O72−
or Bicarbonate
Anions from Organic Acids:
AcetateCH3COOformateHCOO
Others:
CyanideCNAmideNH2
CyanateOCNPeroxideO22−
ThiocyanateSCNOxalateC2O42−
HydroxideOHPermanganateMnO4

[0106]

Exemplary cations and anions.
FormulaChargeName
Monoatomic Cations
H+1+hydrogen ion
Li+1+lithium ion
Na+1+sodium ion
K+1+potassium ion
Cs+1+cesium ion
Ag+1+silver ion
Mg2+2+magnesium ion
Ca2+2+calcium ion
Sr2+2+strontium ion
Ba2+2+barium ion
Zn2+2+zinc ion
Cd2+2+cadmium ion
Al3+3+aluminum ion
Polyatomic Cations
NH4+1+ammonium ion
H3O+1+hydronium ion
Multivalent Cations
Cr2+2chromium(II) or chromous ion
Cr3+3chromium(III)or chromic ion
Mn2+2manganese(II) or manganous ion
Mn4+4manganese(IV) ion
Fe2+2iron(II) or ferrous ion
Fe3+3iron(III) or ferric ion
Co2+2cobalt(II) or cobaltous ion
Co3+3cobalt(II) or cobaltic ion
Ni2+2nickel(II) or nickelous ion
Ni3+3nickel(III) or nickelic ion
Cu+1copper(I) or cuprous ion
Cu2+2copper(II) or cupric ion
Sn2+2tin(II) or atannous ion
Sn4+4tin(IV) or atannic ion
Pb2+2lead(II) or plumbous ion
Pb4+4lead(IV) or plumbic ion
Monoatomic Anions
H1−hydride ion
F1−fluoride ion
Cl1−chloride ion
Br1−bromide ion
I1−iodide ion
O2−2−oxide ion
S2−2−sulfide ion
N3−3−nitride ion
Polyatomic Anions
OH1−hydroxide ion
CN1−cyanide ion
SCN1−thiocyanate ion
C2H3O21−acetate ion
ClO1−hypochlorite ion
ClO21−chlorite ion
ClO31−chlorate ion
ClO41−perchlorate ion
NO21−nitrite ion
NO31−nitrate ion
MnO42−2−permanganate ion
CO32−2−carbonate ion
C2O42−2−oxalate ion
CrO42−2−chromate ion
Cr2O72−2−dichromate ion
SO32−2−sulfite ion
SO42−2−sulfate ion
PO33−3−phosphite ion
PO43−3−phosphate ion

[0107]

The present disclosure sets forth novel gas-enriched fluids, including, but not limited to gas-enriched ionic aqueous solutions, aqueous saline solutions (e.g., standard aqueous saline solutions, and other saline solutions as discussed herein and as would be recognized in the art, including any physiological compatible saline solutions), cell culture media (e.g., minimal medium, and other culture media). A medium, or media, is termed “minimal” if it only contains the nutrients essential for growth. For prokaryotic host cells, a minimal media typically includes a source of carbon, nitrogen, phosphorus, magnesium, and trace amounts of iron and calcium. (Gunsalus and Stanter, The Bacteria, V. 1, Ch. 1 Acad. Press Inc., N.Y. (1960)). Most minimal media use glucose as a carbon source, ammonia as a nitrogen source, and orthophosphate (e.g., PO4) as the phosphorus source. The media components can be varied or supplemented according to the specific prokaryotic or eukaryotic organism(s) grown, in order to encourage optimal growth without inhibiting target protein production. (Thompson et al., Biotech. and Bioeng. 27: 818-824 (1985)).

[0108]

In particular aspects, the electrokinetically altered aqueous fluids are suitable to modulate13C-NMR line-widths of reporter solutes (e.g., Trehelose) dissolved therein. NMR line-width effects are in indirect method of measuring, for example, solute ‘tumbling’ in a test fluid as described herein in particular working Examples.

[0109]

In particular aspects, the electrokinetically altered aqueous fluids are characterized by at least one of: distinctive square wave voltametry peak differences at any one of −0.14V, −0.47V, −1.02V and −1.36V; polarographic peaks at −0.9 volts; and an absence of polarographic peaks at −0.19 and −0.3 volts, which are unique to the electrokinetically generated fluids as disclosed herein in particular working Examples.

[0110]

In particular aspects, the electrokinetically altered aqueous fluids are suitable to alter cellular membrane conductivity (e.g., a voltage-dependent contribution of the whole-cell conductance as measure in patch clamp studies disclosed herein).

[0111]

In particular aspects, the electrokinetically altered aqueous fluids are gasified (e.g., oxygenated), wherein the gas (e.g., oxygen) in the fluid is present in an amount of at least 15, ppm, at least 25 ppm, at least 30 ppm, at least 40 ppm, at least 50 ppm, or at least 60 ppm dissolved gas (e.g., oxygen) at atmospheric pressure. In particular aspects, the electrokinetically altered aqueous fluids have less than 15 ppm, less that 10 ppm of dissolved gas (e.g., oxygen) at atmospheric pressure, or approximately ambient oxygen levels.

[0112]

In particular aspects, the electrokinetically altered aqueous fluids are oxygenated, wherein the gas (e.g., oxygen) in the fluid is present in an amount between approximately 8 ppm and approximately 15 ppm, and in this case is sometimes referred to herein as “Solas.”

[0113]

In particular aspects, the electrokinetically altered aqueous fluid comprises at least one of solvated electrons (e.g., stabilized by molecular oxygen), and electrokinetically modified and/or charged gas (e.g., oxygen) species, and wherein in certain embodiments the solvated electrons and/or electrokinetically modified or charged gas (e.g., oxygen) species are present in an amount of at least 0.01 ppm, at least 0.1 ppm, at least 0.5 ppm, at least 1 ppm, at least 3 ppm, at least 5 ppm, at least 7 ppm, at least 10 ppm, at least 15 ppm, or at least 20 ppm.

[0114]

In particular aspects, the electrokinetically altered aqueous fluids are suitable to alter cellular membrane structure or function (e.g., altering of a conformation, ligand binding activity, or a catalytic activity of a membrane associated protein) sufficient to provide for modulation of intracellular signal transduction, wherein in particular aspects, the membrane associated protein comprises at least one selected from the group consisting of receptors, transmembrane receptors (e.g., G-Protein Coupled Receptor (GPCR), TSLP receptor, beta 2 adrenergic receptor, bradykinin receptor, etc.), ion channel proteins, intracellular attachment proteins, cellular adhesion proteins, and integrins. In certain aspects, the effected G-Protein Coupled Receptor (GPCR) interacts with a G protein α subunit (e.g., Gαs, Gαi, Gαq, and Gα12).

[0115]

In particular aspects, the electrokinetically altered aqueous fluids are suitable to modulate intracellular signal transduction, comprising modulation of a calcium dependent cellular messaging pathway or system (e.g., modulation of phospholipase C activity, or modulation of adenylate cyclase (AC) activity).

[0116]

In particular aspects, the electrokinetically altered aqueous fluids are characterized by various biological activities (e.g., regulation of cytokines, receptors, enzymes and other proteins and intracellular signaling pathways) described in the working Examples and elsewhere herein.

[0117]

In particular aspects, the electrokinetically altered aqueous fluids display synergy with glatiramer acetate interferon-β, mitoxantrone, and/or natalizumab. In particular aspects, the electrokinetically altered aqueous fluids reduce DEP-induced TSLP receptor expression in bronchial epithelial cells (BEC) as shown in working Examples herein.

[0118]

In particular aspects, the electrokinetically altered aqueous fluids inhibit the DEP-induced cell surface-bound MMP9 levels in bronchial epithelial cells (BEC) as shown in working Examples herein.

[0119]

In particular aspects, the biological effects of the electrokinetically altered aqueous fluids are inhibited by diphtheria toxin, indicating that beta blockade, GPCR blockade and Ca channel blockade affects the activity of the electrokinetically altered aqueous fluids (e.g., on regulatory T cell function) as shown in working Examples herein.

[0120]

In particular aspects, the physical and biological effects (e.g., the ability to alter cellular membrane structure or function sufficient to provide for modulation of intracellular signal transduction) of the electrokinetically altered aqueous fluids persists for at least two, at least three, at least four, at least five, at least 6 months, or longer periods, in a closed container (e.g., closed gas-tight container).

[0121]

Therefore, further aspects provide said electrokinetically-generated solutions and methods of producing an electrokinetically altered gasofied (e.g., oxygenated) aqueous fluid or solution, comprising: providing a flow of a fluid material between two spaced surfaces in relative motion and defining a mixing volume therebetween, wherein the dwell time of a single pass of the flowing fluid material within and through the mixing volume is greater than 0.06 seconds or greater than 0.1 seconds; and introducing oxygen (O2) into the flowing fluid material within the mixing volume under conditions suitable to dissolve at least 20 ppm, at least 25 ppm, at least 30, at least 40, at least 50, or at least 60 ppm gas (e.g., oxygen) into the material, and electrokinetically alter the fluid or solution. In certain aspects, the gas (e.g., oxygen) is infused into the material in less than 100 milliseconds, less than 200 milliseconds, less than 300 milliseconds, or less than 400 milliseconds. In particular embodiments, the ratio of surface area to the volume is at least 12, at least 20, at least 30, at least 40, or at least 50.

[0122]

Yet further aspects, provide a method of producing an electrokinetically altered gasified (e.g., oxygenated) aqueous fluid or solution, comprising: providing a flow of a fluid material between two spaced surfaces defining a mixing volume therebetween; and introducing gas (e.g., oxygen) into the flowing material within the mixing volume under conditions suitable to infuse at least 20 ppm, at least 25 ppm, at least 30, at least 40, at least 50, or at least 60 ppm gas (e.g., oxygen) into the material in less than 100 milliseconds, less than 200 milliseconds, less than 300 milliseconds, or less than 400 milliseconds. In certain aspects, the dwell time of the flowing material within the mixing volume is greater than 0.06 seconds or greater than 0.1 seconds. In particular embodiments, the ratio of surface area to the volume is at least 12, at least 20, at least 30, at least 40, or at least 50.

[0123]

Additional embodiments provide a method of producing an electrokinetically altered gasified (e.g., oxygenated) aqueous fluid or solution, comprising use of a mixing device for creating an output mixture by mixing a first material and a second material, the device comprising: a first chamber configured to receive the first material from a source of the first material; a stator; a rotor having an axis of rotation, the rotor being disposed inside the stator and configured to rotate about the axis of rotation therein, at least one of the rotor and stator having a plurality of through-holes; a mixing chamber defined between the rotor and the stator, the mixing chamber being in fluid communication with the first chamber and configured to receive the first material therefrom, and the second material being provided to the mixing chamber via the plurality of through-holes formed in the one of the rotor and stator; a second chamber in fluid communication with the mixing chamber and configured to receive the output material therefrom; and a first internal pump housed inside the first chamber, the first internal pump being configured to pump the first material from the first chamber into the mixing chamber. In certain aspects, the first internal pump is configured to impart a circumferential velocity into the first material before it enters the mixing chamber.

[0124]

Further embodiments provide a method of producing an electrokinetically altered gasified (e.g., oxygenated) aqueous fluid or solution, comprising use of a mixing device for creating an output mixture by mixing a first material and a second material, the device comprising: a stator; a rotor having an axis of rotation, the rotor being disposed inside the stator and configured to rotate about the axis of rotation therein; a mixing chamber defined between the rotor and the stator, the mixing chamber having an open first end through which the first material enters the mixing chamber and an open second end through which the output material exits the mixing chamber, the second material entering the mixing chamber through at least one of the rotor and the stator; a first chamber in communication with at least a majority portion of the open first end of the mixing chamber; and a second chamber in communication with the open second end of the mixing chamber.

[0125]

Additional aspects provide an electrokinetically altered gasified (e.g., oxygenated) aqueous fluid or solution made according to any of the above methods.

[0126]

The term “treating” refers to, and includes, reversing, alleviating, inhibiting the progress of, or preventing a disease, disorder or condition, or one or more symptoms thereof; and “treatment” and “therapeutically” refer to the act of treating, as defined herein.

[0127]

A “therapeutically effective amount” is any amount of any of the compounds utilized in the course of practicing the invention provided herein that is sufficient to reverse, alleviate, inhibit the progress of, or prevent a disease, disorder or condition, or one or more symptoms thereof.

[0000]

Electrokinetically Gas (e.g., Oxygen)-Enriched Aqueous Fluids and Solutions

[0128]

In the Figures and Examples that follow, it is to be understood that while oxygen is the preferred gas used in producing the inventive electrokinetic fluids, and the describe biological activities, the present invention encompasses other electrokinetically-altered fluids comprising the use of various positive ions and counter ions as discussed herein above. In certain aspects, such electrokinetic fluid variants have the ability to modulate at least one of cellular membrane potential or cellular membrane conductance, and/or modulate at least one biological activity as taught herein with the exemplary oxygen embodiments that comprise charge-stabilized oxygen-containing nanostructures substantially having an average diameter less than about 100 nm.

[0129]

FIG. 2 provides a block diagram illustrating some of the components of a mixing device 100 and the flow of material into, within, and out of the device. The mixing device 100 combines two or more input materials to form an output material 102, which may be received therefrom into a storage vessel 104. The mixing device 100 agitates the two or more input materials in a novel manner to produce an output material 102 having novel characteristics. The output material 102 may include not only a suspension of at least one of the input materials in at least one of the other input materials (e.g., emulsions) but also a novel combination (e.g., electrostatic combinations) of the input materials, a chemical compound resulting from chemical reactions between the input materials, combinations having novel electrostatic characteristics, and combinations thereof.

[0130]

The input materials may include a first material 110 provided by a source 112 of the first material, a second material 120 provided by a source 122 of the second material, and optionally a third material 130 provided by a source 132 of the third material. The first material 110 may include a liquid, such as water, saline solution, chemical suspensions, polar liquids, non-polar liquids, colloidal suspensions, cell growing media, and the like. In some embodiments, the first material 110 may include the output material 102 cycled back into the mixing device 100. The second material 120 may consist of or include a gas, such as oxygen, nitrogen, carbon dioxide, carbon monoxide, ozone, sulfur gas, nitrous oxide, nitric oxide, argon, helium, bromine, and combinations thereof, and the like. In preferred embodiments, the gas is or comprises oxygen. The optional third material 130 may include either a liquid or a gas. In some embodiments, the third material 130 may be or include the output material 102 cycled back into the mixing device 100 (e.g., to one or more of the pumps 210, 220 or 230, and/or into the chamber 310, and/or 330).

[0131]

Optionally, the first material 110, the second material 120, and the optional third material 130 may be pumped into the mixing device 100 by an external pump 210, an external pump 220, and an external pump 230, respectively. Alternatively, one or more of the first material 110, the second material 120, and the optional third material 130 may be stored under pressure in the source 112, the source 122, and the source 132, respectively, and may be forced into the mixing device 100 by the pressure. The invention is not limited by the method used to transfer the first material 110, the second material 120, and optionally, the third material 130 into the mixing device 100 from the source 112, the source 122, and the source 132, respectively.

[0132]

The mixing device 100 includes a first chamber 310 and a second chamber 320 flanking a mixing chamber 330. The three chambers 310, 320, and 330 are interconnected and form a continuous volume.

[0133]

The first material 110 is transferred into the first chamber 310 and flows therefrom into the mixing chamber 330. The first material 110 in the first chamber 310 may be pumped into the first chamber 310 by an internal pump 410. The second material 120 is transferred into the mixing chamber 330. Optionally, the third material 130 may be transferred into the mixing chamber 330. The materials in the mixing chamber 330 are mixed therein to form the output material 102. Then, the output material 102 flows into the second chamber 320 from which the output material 102 exits the mixing device 100. The output material 102 in the mixing chamber 330 may be pumped into the second chamber 320 by an internal pump 420. Optionally, the output material 102 in the second chamber 320 may be pumped therefrom into the storage vessel 104 by an external pump 430 (e.g., alone or in combination with the internal pump 410 and/or 420).

[0134]

In particular aspects, a common drive shaft 500 powers both the internal pump 410 and the internal pump 420. The drive shaft 500 passes through the mixing chamber 330 and provides rotational force therein that is used to mix the first material 110, the second material 120, and optionally, the third material 130 together. The drive shaft 500 is powered by a motor 510 coupled thereto.

[0135]

FIG. 3 provides a system 512 for supplying the first material 110 to the mixing device 100 and removing the output material 102 from the mixing device 100. In the system 512, the storage vessel 104 of the output material 102 and the source 112 of the first material 110 are combined. The external pump 210 is coupled to the combined storage vessel 104 and source 112 by a fluid conduit 514 such as hose, pipe, and the like. The external pump 210 pumps the combined first material 110 and output material 102 from the combined storage vessel 104 and source 112 through the fluid conduit 514 and into a fluid conduit 516 connecting the external pump 210 to the mixing device 100. The output material 102 exits the mixing device 100 through a fluid conduit 518. The fluid conduit 518 is coupled to the combined storage vessel 104 and source 112 and transports the output material 102 exiting the mixing device 100 to the combined storage vessel 104 and source 112. The fluid conduit 518 includes a valve 519 that establishes an operating pressure or back pressure within the mixing device 100.

[0136]

Referring to FIGS. 2, 4-10, and 11, a more detailed description of various components of an embodiment of the mixing device 100 will be provided. The mixing device 100 is scalable. Therefore, dimensions provided with respect to various components may be used to construct an embodiment of the device or may be scaled to construct a mixing device of a selected size.

[0137]

Turning to FIG. 4, the mixing device 100 includes a housing 520 that houses each of the first chamber 310, the mixing chamber 330, and the second chamber 320. As mentioned above, the mixing device 100 includes the drive shaft 500, which rotates during operation of the device. Therefore, the mixing device 100 may vibrate or otherwise move. Optionally, the mixing device 100 may be coupled to a base 106, which may be affixed to a surface such as the floor to maintain the mixing device 100 in a substantially stationary position.

[0138]

The housing 520 may be assembled from two or more housing sections. By way of example, the housing 520 may include a central section 522 flanked by a first mechanical seal housing 524 and a second mechanical seal housing 526. A bearing housing 530 may be coupled to the first mechanical seal housing 524 opposite the central section 522. A bearing housing 532 may be coupled to the second mechanical seal housing 526 opposite the central section 522. Optionally, a housing section 550 may be coupled to the bearing housings 530.

[0139]

Each of the bearing housings 530 and 532 may house a bearing assembly 540 (see FIGS. 5 and 6). The bearing assembly 540 may include any suitable bearing assembly known in the art including a model number “202SZZST” manufactured by SKF USA Inc., of Kulpsville, Pa., operating a website at www.skf.com.

[0140]

Seals may be provided between adjacent housing sections. For example, o-ring 560 (see FIG. 5) may be disposed between the housing section 550 and the bearing housing 530, o-ring 562 (see FIG. 5) may be disposed between the first mechanical seal housing 524 and the central section 522, and o-ring 564 (see FIG. 6) may be disposed between the second mechanical seal housing 526 and the central section 522.

Mixing Chamber 330

[0141]

Turning now to FIG. 7, the mixing chamber 330 is disposed inside the central section 522 of the housing 520 between the first mechanical seal housing 524 and the second mechanical seal housing 526. The mixing chamber 330 is formed between two components of the mixing device 100, a rotor 600 and a stator 700. The rotor 600 may have a sidewall 604 with an inside surface 605 defining a generally hollow inside portion 610 and an outside surface 606. The sidewall 604 may be about 0.20 inches to about 0.75 inches thick. In some embodiments, the sidewall 604 is about 0.25 inches thick. However, because the mixing device 100 may be scaled to suit a particular application, embodiments of the device having a sidewall 604 that is thicker or thinner than the values provided are within the scope of the present teachings. The sidewall 604 includes a first end portion 612 and a second end portion 614 and a plurality of through-holes 608 formed between the first end portion 612 and the second end portion 614. Optionally, the outside surface 606 of the sidewall 604 may include other features such as apertures, projections, textures, and the like. The first end portion 612 has a relieved portion 616 configured to receive a collar 618 and the second end portion 614 has a relieved portion 620 configured to receive a collar 622.

[0142]

The rotor 600 is disposed inside the stator 700. The stator 700 has a sidewall 704 with an inside surface 705 defining a generally hollow inside portion 710 into which the rotor 600 is disposed. The sidewall 704 may be about 0.1 inches to about 0.3 inches thick. In some embodiments, the sidewall 604 is about 1.5 inches thick. The stator 700 may be non-rotatably coupled to the housing 520 in a substantially stationary position. Alternatively, the stator 700 may integrally formed with the housing 520. The sidewall 704 has a first end portion 712 and a second end portion 714. Optionally, a plurality of apertures 708 are formed in the sidewall 704 of the stator 700 between the first end portion 712 and the second end portion 714. Optionally, the inside surface 705 of the sidewall 704 may include other features such as through-holes, projections, textures, and the like.

[0143]

The rotor 600 rotates with respect to the stationary stator 700 about an axis of rotation “α” in a direction indicated by arrow “C3” in FIG. 9. Each of the rotor 600 and the stator 700 may be generally cylindrical in shape and have a longitudinal axis. The rotor 600 has an outer diameter “D1” and the stator 700 may have an inner diameter “D2.” The diameter “D1” may range, for example, from about 0.5 inches to about 24 inches. In some embodiments, the diameter “D1” is about 3.04 inches. In some embodiments, the diameter “D1” is about 1.7 inches. The diameter “D2,” which is larger than the diameter “D1,” may range from about 0.56 inches to about 24.25 inches. In some embodiments, the diameter “D2” is about 4 inches. Therefore, the mixing chamber 330 may have a ring-shaped cross-sectional shape that is about 0.02 inches to about 0.125 inches thick (i.e., the difference between the diameter “D2” and the diameter “D1”). In particular embodiments, the mixing chamber 330 is about 0.025 inches thick. The channel 32 between the rotor 12 and the stator 34 of prior art device 10 (see FIG. 1) has a ring-shaped cross-sectional shape that is about 0.09 inches thick. Therefore, in particular embodiments, the thickness of the mixing chamber 330 is less than about one third of the channel 32 of the prior art device 10.

[0144]

The longitudinal axis of the rotor 600 may be aligned with its axis of rotation “α.” The longitudinal axis of the rotor 600 may be aligned with the longitudinal axis of the stator 700. The rotor 600 may have a length of about 3 inches to about 6 inches along the axis of rotation “α.” In some embodiments, the rotor 600 may have a length of about 5 inches along the axis of rotation “α.” The stator 700 may have a length of about 3 inches to about 6 inches along the axis of rotation “α.” In some embodiments, the stator 700 may have a length of about 5 inches along the axis of rotation “α.”

[0145]

While the rotor 600 and the stator 700 have been depicted as having a generally cylindrical shape, those of ordinary skill in the art appreciate that alternate shapes may be used. For example, the rotor 600 and the stator 700 may be conically, spherically, arbitrarily shaped, and the like. Further, the rotor 600 and the stator 700 need not be identically shaped. For example, the rotor 600 may be cylindrically shaped and the stator 700 rectangular shaped or vise versa.

[0146]

The apertures 708 of the stator 700 and the through-holes 608 depicted in FIGS. 4-7 are generally cylindrically shaped. The diameter of the through-holes 608 may range from about 0.1 inches to about 0.625 inches. The diameter of the apertures 708 may range from about 0.1 inches to about 0.625 inches. One or more of apertures 708 of the stator 700 may have a diameter that differs from the diameters of the other apertures 708. For example, the apertures 708 may increase in diameter from the first end portion 712 of the stator 700 to the second end portion 714 of the stator 700, the apertures 708 may decrease in diameter from the first end portion 712 of the stator 700 to the second end portion 714 of the stator 700, or the diameters of the apertures 708 may vary in another manner along the stator 700. One or more of through-holes 608 of the rotor 600 may have a diameter that differs from the diameters of the other through-holes 608. For example, the through-holes 608 may increase in diameter from the first end portion 612 of the rotor 600 to the second end portion 614 of the rotor 600, the through-holes 608 may decrease in diameter from the first end portion 612 of the rotor 600 to the second end portion 614 of the rotor 600, or the diameters of the through-holes 608 may vary in another manner along the rotor 600.

[0147]

As described below with reference to alternate embodiments, the apertures 708 and the through-holes 608 may have shapes other than generally cylindrical and such embodiments are within the scope of the present invention. For example, the through-holes 608 may include a narrower portion, an arcuate portion, a tapered portion, and the like. Referring to FIG. 7, each of the through-holes 608 includes an outer portion 608A, a narrow portion 608B, and a tapered portion 608C providing a transition between the outer portion 608A and the narrow portion 608B. Similarly, the apertures 708 may include a narrower portion, an arcuate portion, a tapered portion, and the like.

[0148]

FIG. 8 provides a non-limiting example of a suitable arrangement of the apertures 708 of the stator 700 and the through-holes 608 of the rotor 600. The apertures 708 of the stator 700 may be arranged in substantially parallel lateral rows “SLAT-1” through “SLAT-6” substantially orthogonal to the axis of rotation “α.” The apertures 708 of the stator 700 may also be arranged in substantially parallel longitudinal rows “SLONG-1” through “SLONG-7” substantially parallel with the axis of rotation “α.” In other words, the apertures 708 of the stator 700 may be arranged in a grid-like pattern of orthogonal rows (i.e., the lateral rows are orthogonal to the longitudinal rows) having the longitudinal rows “SLONG-1” through “SLONG-7” substantially parallel with the axis of rotation “α.”

[0149]

Like the apertures 708 of the stator 700, the through-holes 608 of the rotor 600 may be arranged in substantially parallel lateral rows “RLAT-1” through “RLAT-6” substantially orthogonal to the axis of rotation “α.” However, instead of being arranged in a grid-like pattern of orthogonal rows, the through-holes 608 of the rotor 600 may also be arranged in substantially parallel rows “RLONG-1” through “RLONG-7” that extend longitudinally along a helically path. Alternatively, the through-holes 608 of the rotor 600 may also be arranged in substantially parallel rows “RLONG-1” through “RLONG-7” that extend longitudinally at an angle other than parallel with the axis of rotation “α.”

[0150]

The apertures 708 of the stator 700 and the through-holes 608 of the rotor 600 may be configured so that when the rotor 600 is disposed inside the stator 700 the lateral rows “SLAT-1” to “SLAT-6” at least partially align with the lateral rows “RLAT-1” to “RLAT-6,” respectively. In this manner, as the rotor 600 rotates inside the stator 700, the through-holes 608 pass by the apertures 708.

[0151]

The through-holes 608 in each of the lateral rows “RLAT-1” to “RLAT-6” may be spaced apart laterally such that all of the through-holes 608 in the lateral row align, at least partially, with the apertures 708 in a corresponding one of the lateral rows “SLAT-1” to “SLAT-6” of the stator 700 at the same time. The longitudinally extending rows “RLONG-1” through “RLONG-6” may be configured such that the through-holes 608 in the first lateral row “RLAT-1” in each of the longitudinally extending rows passes completely by the apertures 708 of the corresponding lateral row “SLAT-1” before the through-holes 608 in the last lateral row “RLAT-6” begin to partially align with the apertures 708 of the corresponding last lateral row “SLAT-6” of the stator 700.

[0152]

While, in FIG. 8, six lateral rows and six longitudinally extending rows have been illustrated with respect to the rotor 600 and six lateral rows and seven longitudinally extending rows have been illustrated with respect stator 700, it is apparent to those of ordinary skill in the art that alternate numbers of lateral rows and/or longitudinal rows may be used with respect to the rotor 600 and/or stator 700 without departing from the present teachings.

[0153]

To ensure that only one pair of openings between corresponding lateral rows will be coincident at any one time, the number of apertures 708 in each of the lateral rows “SLAT-1” to “SLAT-6” on the stator 700 may differ by a predetermined number (e.g., one, two, and the like) the number of through-holes 608 in each of the corresponding lateral rows “RLAT-1” to “RLAT-6” on the rotor 600. Thus, for example, if lateral row “RLAT-1” has twenty through-holes 608 evenly spaced around the circumference of rotor 600, the lateral row “SLAT-1” may have twenty apertures 708 evenly spaced around the circumference of stator 700.

[0154]

Returning to FIG. 7, the mixing chamber 330 has an open first end portion 332 and an open second end portion 334. The through-holes 608 formed in the sidewall 604 of the rotor 600 connect the inside portion 610 of the rotor 600 with the mixing chamber 330.

[0155]

The rotor 600 is rotated inside the stator 700 by the drive shaft 500 aligned with the axis of rotation “α” of the rotor 600. The drive shaft 500 may be coupled to the first end portion 612 and the second end portion 614 of the rotor 600 and extend through its hollow inside portion 610. In other words, a portion 720 of the drive shaft 500 is disposed in the hollow inside portion 610 of the rotor 600.

[0156]

The collar 618 is configured to receive a portion 721 of the drive shaft 500 disposed in the hollow inside portion 610 and the collar 622 is configured to receive a portion 722 of the drive shaft 500 disposed in the hollow inside portion 610.

[0157]

The portion 721 has an outer diameter “D3” that may range from about 0.5 inches to about 2.5 inches. In some embodiments, the diameter “D3” is about 0.625 inches. The portion 722 has an outer diameter “D4” that may be substantially similar to the diameter “D3,” although, this is not required. The diameter “D4” may range from about 0.375 inches to about 2.5 inches.

[0158]

The rotor 600 may be non-rotationally affixed to the portion 721 and the portion 722 of the drive shaft 500 by the collar 618 and the collar 622, respectively. By way of example, each of the collars 618 and 622 may be installed inside relieved portions 616 and 620, respectively. Then, the combined rotor 600 and collars 618 and 622 may be heated to expand them. Next, the drive shaft 500 is inserted through the collars 618 and 622 and the assembly is allowed to cool. As the collars 618 and 622 shrink during cooling, they tighten around the portions 722A and 722B of the drive shaft 500, respectively, gripping it sufficiently tightly to prevent the drive shaft 500 from rotating relative to the rotor 600. The collar 618, which does not rotate with respect to either the portion 721 or the relieved portion 616, translates the rotation of the drive shaft 500 to the first end portion 612 the rotor 600. The collar 622, which does not rotate with respect to either the portion 722 or the relieved portion 620, translates the rotation of the drive shaft 500 to the second end portion 614 of the rotor 600. The drive shaft 500 and the rotor 600 rotate together as a single unit.

[0159]

The drive shaft 500 may have a first end portion 724 (see FIG. 5) and a second end portion 726 (see FIG. 6). The first end portion 724 may have a diameter “D5” of about 0.5 inches to about 1.75 inches. In particular embodiments, the diameter “D5” may be about 1.25 inches. The second end portion 726 may have a diameter “D6” that may be substantially similar to diameter “D5.”

[0160]

The second material 120 may be transported into the mixing chamber 330 through one of the first end portion 724 and the second end portion 726 of the rotating drive shaft 500. The other of the first end portion 724 and the second end portion 726 of the drive shaft 500 may be coupled to the motor 510. In the embodiment depicted in FIGS. 5 and 6, the second material 120 is transported into the mixing chamber 330 through the first end portion 724 and the second end portion 726 of the drive shaft 500 is coupled to the motor 510.

[0161]

Turning to FIG. 5, the drive shaft 500 may have a channel 728 formed therein that extends from first end portion 724 into the portion 720 disposed in the inside portion 610 of the rotor 600. The channel 728 has an opening 730 formed in the first end portion 724. When the mixing device 100 is operating, the second material 120 is introduced into the channel 728 through the opening 730.

[0162]

A valve 732 may be disposed inside a portion of the channel 728 located in the first end portion 724 of the drive shaft 500. The valve 732 may restrict or otherwise control the backward flow of the second material 120 from inside the hollow inside portion 610 through the channel 728 and/or the forward flow of the second material 120 into the channel 728. The valve 732 may include any valve known in the art including a check valve. A suitable check valve includes a part number “CKFA1876205A,” free flow forward check valve, manufactured by The Lee Company USA having an office in Bothell, Wash. and operating a website at www.theleeco.com.

[0163]

The drive shaft 500 may include an aperture 740 located in the inside portion 610 of the rotor 600 that connects the channel 728 with the inside portion 610 of the rotor 600. While only a single aperture 740 is illustrated in FIG. 5, it is apparent to those of ordinary skill in the art that multiple apertures may be used to connect the channel 728 with the inside portion 610 of the rotor 600.

[0164]

Referring to FIG. 2, optionally, the external pump 220 may pump the second material 120 into the mixing device 100. The pump 220 may include any suitable pump known in the art. By way of non-limiting example, the pump 220 may include any suitable pump known in the art including a diaphragm pump, a chemical pump, a peristaltic pump, a gravity fed pump, a piston pump, a gear pump, a combination of any of the aforementioned pumps, and the like. If the second material 120 is a gas, the gas may be pressurized and forced into the opening 730 formed in the first end portion 724 of the drive shaft 500 by releasing the gas from the source 122.

[0165]

The pump 220 or the source 122 is coupled to the channel 728 by the valve 732. The second material 120 transported inside the channel 728 exits the channel 728 into the inside portion 610 of the rotor 600 through the aperture 740. The second material 120 subsequently exits the inside portion 610 of the rotor 600 through the through-holes 608 formed in the sidewall 608 of the rotor 600.

[0166]

Referring to FIG. 5, the mixing device 100 may include a seal assembly 750 coupled to the first end portion 724 of the drive shaft 500. The seal assembly 750 is maintained within a chamber 752 defined in the housing 520. The chamber 752 has a first end portion 754 spaced across the chamber from a second end portion 756. The chamber 752 also includes an input port 758 and an output port 759 that provide access into the chamber 752. The chamber 752 may be defined by housing section 550 and the bearing housing 530. The first end portion 754 may be formed in the housing section 550 and the second end portion 756 may be adjacent to the bearing housing 530. The input port 758 may be formed in the bearing housing 530 and the output port 759 may be formed in the housing section 550.

[0167]

The seal assembly 750 includes a first stationary seal 760 installed in the first end portion 754 of the chamber 752 in the housing section 550 and the bearing housing 530. The first stationary seal 760 extends around a portion 762 of the first end portion 724 of the drive shaft 500. The seal assembly 750 also includes a second stationary seal 766 installed in the second end portion 756 of the chamber 752 in the bearing housing 530. The second stationary seal 766 extends around a portion 768 of the first end portion 724 of the drive shaft 500.

[0168]

The seal assembly 750 includes a rotating assembly 770 that is non-rotatably coupled to the first end portion 724 of the drive shaft 500 between the portion 762 and the portion 768. The rotating assembly 770 rotates therewith as a unit. The rotating assembly 770 includes a first seal 772 opposite a second seal 774. A biasing member 776 (e.g., a spring) is located between the first seal 772 and the second seal 774. The biasing member 776 biases the first seal 772 against the first stationary seal 760 and biases the second seal 774 against the second stationary seal 766.

[0169]

A cooling lubricant is supplied to the chamber 752 and around rotating assembly 770. The lubricant enters the chamber 752 through the input port 758 and exits the chamber 752 through output port 759. The lubricant may lubricate the bearing assembly 540 housed by the bearing housing 530. A chamber 570 may be disposed between the bearing housing 530 and the mechanical seal housing 524. The bearing housing 530 may also include a second input port 759 connected to the chamber 570 into which lubricant may be pumped. Lubricant pumped into the chamber 570 may lubricate the bearing assembly 540. The seal assembly 750 may significantly, if not greatly, reduce frictional forces within this portion of the device caused by the rotation of the rotor 600 and may increase the active life of the seals 770. The seals may include surfaces constructed using silicon carbide.

[0170]

Referring to FIG. 9, as the rotor 600 rotates about the axis of rotation “α” in the direction indicated by arrow “C1,” the rotor expels the second material 120 into the mixing chamber 330. The expelled bubbles, droplets, particles, and the like of the second material 120 exit the rotor 600 and are imparted with a circumferential velocity (in a direction indicated by arrow “C3”) by the rotor 600. The second material 120 may be forced from the mixing chamber 330 by the pump 220 (see FIG. 2), the centrifugal force of the rotating rotor 600, buoyancy of the second material 120 relative to the first material 110, and a combination thereof.

Motor 510

[0171]

Returning to FIG. 6, the second end portion 726 of the drive shaft 500 may be coupled to a rotating spindle 780 of a motor 510 by a coupler 900. The spindle 780 may have a generally circular cross-sectional shape with a diameter “D7” of about 0.25 inches to about 2.5 inches. In particular embodiments, the diameter “D7” may be about 0.25 inches to about 1.5 inches. While in the embodiment depicted in FIG. 6, the diameter “D5” of the first end portion 724 of the drive shaft 500 is substantially equal to the diameter “D7” and the spindle 780, embodiments in which one of the diameter “D5” and the diameter “D7” is larger than the other are within the scope of the present invention.

[0172]

Referring also to FIG. 4, it may be desirable to cover or shield the coupler 900. In the embodiment illustrated in FIGS. 4 and 6, a drive guard 910 covers the coupler 900. The drive guard 910 may be generally U-shaped having a curved portion 914 flanked by a pair of substantially linear portions 915 and 916. The distal end of each of the substantially linear portions 915 and 916 of the drive guard 910 may have a flange 918 and 919, respectively. The drive guard 910 may be fastened by each of its flanges 918 and 919 to the base 106.

[0173]

The motor 510 may be supported on the base 106 by a support member 920. The support member 920 may be coupled to the motor 510 near the spindle 780. In the embodiment depicted, the support member 920 includes a through-hole through which the spindle 780 passes. The support member 920 may be coupled to the motor 510 using any method known in the art, including bolting the support member 920 to the motor 510 with one or more bolts 940.

[0174]

The coupler 900 may include any coupler suitable for transmitting a sufficient amount of torque from the spindle 780 to the drive shaft 500 to rotate the rotor 600 inside to the stator 700. In the embodiment illustrated in FIGS. 4 and 6, the coupler 900 is a bellows coupler. A bellows coupler may be beneficial if the spindle 780 and the drive shaft 500 are misaligned. Further, the bellows coupler may help absorb axial forces exerted on the drive shaft 500 that would otherwise be translated to the spindle 780. A suitable bellows coupler includes a model “BC32-8-8-A,” manufactured by Ruland Manufacturing Company, Inc. of Marlborough, Mass., which operates a website at www.ruland.com.

[0175]

The motor 510 may rotate the rotor 600 at about 0.1 revolutions per minute (“rpm”) to about 7200 rpm. The motor 510 may include any motor suitable for rotating the rotor 600 inside to the stator 700 in accordance with the present teachings. By way of non-limiting example, a suitable motor may include a one-half horsepower electric motor, operating at 230/460 volts and 3450 per minute (“rpm”). A suitable motor includes a model “C4T34NC4C” manufactured by LEESON Electric Corporation of Grafton, Wis., which operates a website at www.leeson.com.

First Chamber 310

[0176]

Turning to FIGS. 4 and 7, the first chamber 320 is disposed inside the central section 522 of the housing 520 between the first mechanical seal housing 524 and the first end portions 612 and 712 of the rotor 600 and the stator 700, respectively. The first chamber 310 may be annular and have a substantially circular cross-sectional shape. The first chamber 310 and the mixing chamber 330 form a continuous volume. A portion 1020 of the drive shaft 500 extends through the first chamber 310.

[0177]

As may best be viewed in FIG. 4, the first chamber 310 has an input port 1010 through which the first material 110 enters the mixing device 100. The first material 110 may be pumped inside the first chamber 310 by the external pump 210 (see FIG. 2). The external pump 210 may include any pump known in the art for pumping the first material 110 at a sufficient rate to supply the first chamber 310.

[0178]

The input port 1010 is oriented substantially orthogonally to the axis of rotation “α.” Therefore, the first material 110 enters the first chamber 310 with a velocity tangential to the portion 1020 of the drive shaft 500 extending through the first chamber 310. The tangential direction of the flow of the first material 110 entering the first chamber 310 is identified by arrow “T1.” In the embodiment depicted in FIGS. 4 and 7, the input port 1010 may be offset from the axis of rotation “α.” As is apparent to those of ordinary skill in the art, the direction of the rotation of the drive shaft 500 (identified by arrow “C1” in FIG. 9), has a tangential component. The input port 1010 is positioned so that the first material 110 enters the first chamber 310 traveling in substantially the same direction as the tangential component of the direction of rotation of the drive shaft 500.

[0179]

The first material 110 enters the first chamber 310 and is deflected by the inside of the first chamber 310 about the portion 1020 of the drive shaft 500. In embodiments wherein the first chamber 310 has a substantially circular cross-sectional shape, the inside of the first chamber 310 may deflect the first material 110 in a substantially circular path (identified by arrow “C2” in FIG. 9) about the portion 1020 of the drive shaft 500. In such an embodiment, the tangential velocity of the first material 110 may cause it to travel about the axis of rotation “α” at a circumferential velocity, determined at least in part by the tangential velocity.

[0180]

Once inside the first chamber 310, the first material 110 may be pumped from the first chamber 310 into the mixing chamber 330 by the pump 410 residing inside the first chamber 310. In embodiments that include the external pump 210 (see FIG. 2), the external pump 210 may be configured to pump the first material 110 into the first chamber 310 at a rate at least as high as a rate at which the pump 410 pumps the first material 110 from the first chamber 310.

[0181]

The first chamber 310 is in communication with the open first end portion 332 of the mixing chamber 330 and the first material 110 inside the first chamber 310 may flow freely into the open first end portion 332 of the mixing chamber 330. In this manner, the first material 110 does not negotiate any corners or bends between the mixing chamber 330 and the first chamber 310. In the embodiment depicted, the first chamber 310 is in communication with the entire open first end portion 332 of the mixing chamber 330. The first chamber 310 may be filled completely with the first material 110.

[0182]

The pump 410 is powered by the portion 1020 of the drive shaft 500 extending through the first chamber 310. The pump 410 may include any pump known in the art having a rotating pump member 2022 housed inside a chamber (i.e., the first chamber 310) defined by a stationary housing (i.e., the housing 520). Non-limiting examples of suitable pumps include rotary positive displacement pumps such as progressive cavity pumps, single screw pumps (e.g., Archimedes screw pump), and the like.

[0183]

The pump 410 depicted in FIGS. 7 and 9, is generally referred to as a single screw pump. In this embodiment, the pump member 2022 includes a collar portion 2030 disposed around the portion 1020 of the drive shaft 500. The collar portion 2030 rotates with the portion 1020 of the drive shaft 500 as a unit. The collar portion 2030 includes one or more fluid displacement members 2040. In the embodiment depicted in FIGS. 7 and 9, the collar portion 2030 includes a single fluid displacement member 2040 having a helical shape that circumscribes the collar portion 2030 along a helical path.

[0184]

Referring to FIG. 9, the inside of the first chamber 310 is illustrated. The pump 410 imparts an axial flow (identified by arrow “A1” and arrow “A2”) in the first material 110 inside the first chamber 310 toward the open first end portion 332 of the mixing chamber 330. The axial flow of the first material 110 imparted by the pump 410 has a pressure that may exceed the pressure obtainable by the external pump of the prior art device 10 (see FIG. 1).

[0185]

The pump 410 may also be configured to impart a circumferential flow (identified by arrow “C2”) in the first material 110 as it travels toward the open first end portion 332 of the mixing chamber 330. The circumferential flow imparted in the first material 110 before it enters the mixing chamber 330 causes the first material 110 to enter the mixing chamber 330 already traveling in the desired direction at an initial circumferential velocity. In the prior art device 10 depicted in FIG. 1, the first material 110 entered the channel 32 of the prior art device 10 without a circumferential velocity. Therefore, the rotor 12 of the prior art device 10 alone had to impart a circumferential flow into the first material 110. Because the first material 110 is moving axially, in the prior art device 10, the first material 110 traversed at least a portion of the channel 32 formed between the rotor 12 and the stator 30 at a slower circumferential velocity than the first material 110 traverses the mixing chamber 330 of the mixing device 100. In other words, if the axial velocity of the first material 110 is the same in both the prior art device 10 and the mixing device 100, the first material 110 may complete more revolutions around the rotational axis “a” before traversing the axial length of the mixing chamber 330, than it would complete before traversing the axial length of the channel 32. The additional revolutions expose the first material 110 (and combined first material 110 and second material 120) to a substantially larger portion of the effective inside surface 706 (see FIG. 7) of the stator 700.

[0186]

In embodiments including the external pump 210 (see FIG. 2), the circumferential velocity imparted by the external pump 210 combined with the input port 1010 being oriented according to the present teachings, may alone sufficiently increase the revolutions of the first material 110 (and combined first material 110 and second material 120) about the rotational axis “α.” Further, in some embodiments, the circumferential velocity imparted by the pump 210 and the circumferential velocity imparted by the pump 410 combine to achieve a sufficient number of revolutions of the first material 110 (and combined first material 110 and second material 120) about the rotational axis “α.” As is appreciated by those of ordinary skill in the art, other structural elements such as the cross-sectional shape of the first chamber 310 may contribute to the circumferential velocity imparted by the pump 210, the pump 410, and a combination thereof.

[0187]

In an alternate embodiment depicted in FIG. 10, the pump 410 may include one or more vanes 2042 configured to impart a circumferential flow in the first material 110 as it travels toward the open first end portion 332 of the mixing chamber 330.

Second Chamber 320

[0188]

Turning now to FIGS. 4 and 7, the second chamber 320 is disposed inside the central section 522 of the housing 520 between the second mechanical seal housing 526 and the second end portions 614 and 714 of the rotor 600 and the stator 700, respectively. The second chamber 320 may be substantially similar to the first chamber 310. However, instead of the input port 1010, the second chamber 320 may include an output port 3010. A portion 3020 of the drive shaft 500 extends through the second chamber 320.

[0189]

The second chamber 320 and the mixing chamber 330 form a continuous volume. Further, the first chamber 310, the mixing chamber 330, and the second chamber 320 form a continuous volume. The first material 110 flows through the mixing device 100 from the first chamber 310 to the mixing chamber 330 and finally to the second chamber 320. While in the mixing chamber 330, the first material 110 is mixed with the second material 120 to form the output material 102. The output material 102 exits the mixing device 100 through the output port 3010. Optionally, the output material 102 may be returned to the input port 1010 and mixed with an additional quantity of the second material 120, the third material 130, or a combination thereof.

[0190]

The output port 3010 is oriented substantially orthogonally to the axis of rotation “α” and may be located opposite the input port 1010 formed in the first chamber 310. The output material 102 enters the second chamber 320 from the mixing chamber 330 having a circumferential velocity (in the direction indicated by arrow “C3” in FIG. 9) imparted thereto by the rotor 600. The circumferential velocity is tangential to the portion 3020 of the drive shaft 500 extending through the second chamber 320. In the embodiment depicted in FIGS. 4, 6, and 7, the output port 3010 may be offset from the axis of rotation “α.” The output port 3010 is positioned so that the output material 102, which enters the second chamber 320 traveling in substantially the same direction in which the drive shaft 500 is rotating (identified in FIG. 9 by arrow “C1”), is traveling toward the output port 3010.

[0191]

The output material 102 enters the second chamber 320 and is deflected by the inside of the second chamber 320 about the portion 3020 of the drive shaft 500. In embodiments wherein the second chamber 320 has a substantially circular cross-sectional shape, the inside of the second chamber 320 may deflect the output material 102 in a substantially circular path about the portion 3020 of the drive shaft 500.

[0192]

Referring to FIG. 2, optionally, the output material 102 may be pumped from inside the second chamber 320 by the external pump 430. The external pump 430 may include any pump known in the art for pumping the output material 102 at a sufficient rate to avoid limiting throughput of the mixing device 100. In such an embodiment, the external pump 430 may introduce a tangential velocity (in a direction indicated by arrow “T2” in FIGS. 4 and 11) to at least a portion of the output material 102 as the external pump 430 pumps the output material 102 from the second chamber 320. The tangential velocity of the portion of the output material 102 may cause it to travel about the axis of rotation “α” at a circumferential velocity, determined in part by the tangential velocity.

Pump 420

[0193]

Turning to FIGS. 6 and 7, the pump 420 residing inside the second chamber 320 may pump the output material 102 from the second chamber 320 into the output port 3010 and/or from the mixing chamber 330 into the second chamber 320. In embodiments that include the external pump 430, the external pump 430 may be configured to pump the output material 102 from the second chamber 320 at a rate at least as high as a rate at which the pump 420 pumps the output material 102 into the output port 3010.

[0194]

The second chamber 320 is in communication with the open second end portion 334 of the mixing chamber 330 and the output material 102 inside the mixing chamber 330 may flow freely from the open second end portion 334 into the second chamber 320. In this manner, the output material 102 does not negotiate any corners or bends between the mixing chamber 330 and the second chamber 320. In the embodiment depicted, the second chamber 320 is in communication with the entire open second end portion 334 of the mixing chamber 330. The second chamber 320 may be filled completely with the output material 102.

[0195]

The pump 420 is powered by the portion 3020 of the drive shaft 500 extending through the second chamber 320. The pump 420 may be substantially identical to the pump 410. Any pump described above as suitable for use as the pump 410 may be used for the pump 420. While the pump 410 pumps the first material 110 into the mixing chamber 330, the pump 420 pumps the output material 102 from the mixing chamber 330. Therefore, both the pump 410 and the pump 420 may be oriented to pump in the same direction.

[0196]

As is appreciated by those of ordinary skill in the art, the first material 110 may differ from the output material 102. For example, one of the first material 110 and the output material 102 may be more viscous than the other. Therefore, the pump 410 may differ from the pump 420. The pump 410 may be configured to accommodate the properties of the first material 110 and the pump 420 may be configured to accommodate the properties of the output material 102.

[0197]

The pump 420 depicted in FIGS. 6 and 7, is generally referred to as a single screw pump. In this embodiment, the pump member 4022 includes a collar portion 4030 disposed around the portion 3020 of the drive shaft 500. The collar portion 4030 rotates with the portion 3020 of the drive shaft 500 as a unit. The collar portion 4030 includes one or more fluid displacement members 4040. The collar portion 4030 includes a single fluid displacement member 4040 having a helical shape that circumscribes the collar portion 4030 along a helical path.

[0198]

Referring to FIG. 11, the inside of the second chamber 320 is illustrated. The pump 420 imparts an axial flow (identified by arrow “A3” and arrow “A4”) in the output material 102 inside the second chamber 320 away from the open second end portion 334 of the mixing chamber 330.

[0199]

The pump 420 may be configured to impart a circumferential flow (identified by arrow “C4”) in the output material 102 as it travels away from the open second end portion 334 of the mixing chamber 330. The circumferential flow imparted in the output material 102 may help reduce an amount of work required by the rotor 600. The circumferential flow also directs the output material 102 toward the output port 3010.

[0200]

In an alternate embodiment, the pump 420 may have substantially the same configuration of the pump 410 depicted in FIG. 10. In such an embodiment, the one or more vanes 2042 are configured to impart a circumferential flow in the output material 102 as it travels away from the open second end portion 334 of the mixing chamber 330.

[0201]

As is apparent to those of ordinary skill, various parameters of the mixing device 100 may be modified to obtain different mixing characteristics. Exemplary parameters that may be modified include the size of the through-holes 608, the shape of the through-holes 608, the arrangement of the through-holes 608, the number of through-holes 608, the size of the apertures 708, the shape of the apertures 708, the arrangement of the apertures 708, the number of apertures 708, the shape of the rotor 600, the shape of the stator 700, the width of the mixing chamber 330, the length of the mixing chamber 330, rotational speed of the drive shaft 500, the axial velocity imparted by the internal pump 410, the circumferential velocity imparted by the internal pump 410, the axial velocity imparted by the internal pump 420, the circumferential velocity imparted by the internal pump 420, the configuration of disturbances (e.g., texture, projections, recesses, apertures, and the like) formed on the outside surface 606 of the rotor 600, the configuration of disturbances (e.g., texture, projections, recesses, apertures, and the like) formed on the inside surface 706 of the stator 700, and the like.

Alternate Embodiment

[0202]

Referring to FIG. 12, a mixing device 5000 is depicted. The mixing device 5000 is an alternate embodiment of the mixing device 100. Identical reference numerals have been used herein to identify components of the mixing device 5000 that are substantially similar corresponding components of the mixing device 100. Only components of the mixing device 5000 that differ from the components of the mixing device 100 will be described.

[0203]

The mixing device 5000 includes a housing 5500 for housing the rotor 600 and the stator 5700. The stator 5700 may be non-rotatably couple by its first end portion 5712 and its second end portion 5714 to the housing 5500. A chamber 5800 is defined between the housing 5500 and a portion 5820 of the stator 5700 flanked by the first end portion 5712 and the second end portion 5714. The housing 5500 includes an input port 5830 which provides access into the chamber 5800. The input port 5830 may be oriented substantially orthogonally to the axis of rotation “α.” however, this is not a requirement.

[0204]

The stator 5700 includes a plurality of through-holes 5708 that connect the chamber 5800 and the mixing chamber 330 (defined between the rotor 600 and the stator 5700). An external pump 230 may be used to pump the third material 130 (which may be identical to the second material 120) into the chamber 5800 via the input port 5830. The third material 130 pumped into the chamber 5800 may enter the mixing chamber 330 via the through-holes 5708 formed in the stator 5700. The third material 130 may be forced from the channel 5800 by the pump 230, buoyancy of the third material 130 relative to the first material 110, and a combination thereof. As the rotor 600 rotates, it may also draw the third material 130 from the channel 5800 into the mixing chamber 330. The third material 130 may enter the mixing chamber 330 as bubbles, droplets, particles, and the like, which are imparted with a circumferential velocity by the rotor 600.

Alternate Embodiment

[0205]

An alternate embodiment of the mixing device 100 may be constructed using a central section 5900 depicted in FIG. 13 and a bearing housing 5920 depicted in FIG. 14. FIG. 13 depicts the central section 5900 having in its interior the stator 700 (see FIG. 7). Identical reference numerals have been used herein to identify components associated with the central section 5900 that are substantially similar corresponding components of the mixing device 100. Only components of the central section 5900 that differ from the components of the central section 522 will be described. The central section 5900 and the stator 700 are both constructed from a conductive material such as a metal (e.g., stainless steel). The input port 1010 and the output port 3010 are both constructed from a nonconductive material such as plastic (e.g., PET, Teflon, nylon, PVC, polycarbonate, ABS, Delrin, polysulfone, etc.).

[0206]

An electrical contact 5910 is coupled to the central section 5900 and configured to deliver a charge thereto. The central section 5900 conducts an electrical charge applied to the electrical contact 5910 to the stator 700. In further embodiments, the central section 5900 may be constructed from a nonconductive material. In such embodiments, the electrical contact 5910 may pass through the central section 5900 and coupled to the stator 700. The electric charge applied by the electrical contact 5910 to the stator 700 may help facilitate redox or other chemical reactions inside the mixing chamber 330.

[0207]

Optionally, insulation (not shown) may be disposed around the central section 5900 to electrically isolate it from the environment. Further, insulation may be used between the central section 5900 and the first and second mechanical seals 524 and 526 that flank it to isolate it electrically from the other components of the mixing device.

[0208]

Turning now to FIG. 14, the bearing housing 5920 will be described. The bearing housing 5920 is disposed circumferentially around the portion 726 of the drive shaft 500. An electrical contact 5922 is coupled to the bearing housing 5920. A rotating brush contact 5924 provides an electrical connection between the drive shaft 500 and the electrical contact 5922.

[0209]

In this embodiment, the drive shaft 500 and the rotor 600 are both constructed from a conductive material such as a metal (e.g., stainless steel). The bearing housing 5920 may be constructed from either a conductive or a nonconductive material. An electrical charge is applied to the drive shaft 500 by the electrical contact 5922 and the rotating brush contact 5924. The electrical charge is conducted by the drive shaft 500 to the rotor 600.

[0210]

The alternate embodiment of the mixing device 100 constructed using the central section 5900 depicted in FIG. 13 and the bearing housing 5920 depicted in FIG. 14 may be operated in at least two ways. First, the electrical contacts 5910 and 5922 may be configured not to provide an electrical charge to the stator 700 and the rotor 600, respectively. In other words, neither of the electrical contacts 5910 and 5922 are connected to a current source, a voltage source, and the like.

[0211]

Alternatively, the electrical contacts 5910 and 5922 may be configured to provide an electrical charge to the stator 700 and the rotor 600, respectively. For example, the electrical contacts 5910 and 5922 may be coupled to a DC voltage source (not shown) supplying a steady or constant voltage across the electrical contacts 5910 and 5922. The negative terminal of the DC voltage source may be coupled to either of the electrical contacts 5910 and 5922 and the positive terminal of the DC voltage source may be coupled to the other of the electrical contacts 5910 and 5922. The voltage supplied across the electrical contacts 5910 and 5922 may range from about 0.0001 volts to about 1000 volts. In particular embodiments, the voltage may range from about 1.8 volts to about 2.7 volts. By way of another example, a pulsed DC voltage having a duty cycle of between about 1% to about 99% may be used.

[0212]

While the above examples of methods of operating the mixing device apply a DC voltage across the electrical contacts 5910 and 5922, as is apparent to those of ordinary skill in the art, a symmetrical AC voltage or non symmetrical AC voltage having various shapes and magnitudes may be applied across the electrical contacts 5910 and 5922 and such embodiments are within the scope of the present invention.

Mixing Inside the Mixing Chamber 330

[0213]

As mentioned above, in the prior art device 10 (shown in FIG. 1), the first material 110 entered the channel 32 between the rotor 12 and the stator 30 via a single limited input port 37 located along only a portion of the open second end of the channel 32. Likewise, the output material 102 exited the channel 32 via a single limited output port 40 located along only a portion of the open first end of the channel 32. This arrangement caused undesirable and unnecessary friction. By replacing the single limited inlet port 37 and the single limited outlet port 40 with the chambers 310 and 320, respectively, friction has been reduced. Moreover, the first material 110 does not negotiate a corner before entering the mixing chamber 330 and the output material 102 does not negotiate a corner before exiting the mixing chamber 330. Further, the chambers 310 and 320 provide for circumferential velocity of the material prior to entering, and after exiting the channel 32.

[0214]

Accordingly, pressure drop across the mixing device 100 has been substantially reduced. In the embodiments depicted in FIGS. 2, 4-9, and 11, the pressure drop between the input port 1010 and the output port 3010 is only approximately 12 psi when the mixing device 100 is configured to produce about 60 gallons of the output material 102 per minute. This is an improvement over the prior art device 10 depicted in FIG. 1, which when producing about 60 gallons of output material per minute was at least 26 psi. In other words, the pressure drop across the mixing device 100 is less than half that experienced by the prior art device 10.

[0215]

According to additional aspects, the inclusion of pumps 410 and 420, which are powered by the drive shaft 500, provides a configuration that is substantially more efficient in mixing materials and that requires less energy than the external pumps used in the prior art.

Micro-Cavitation

[0216]

During operation of the mixing device 100, the input materials may include the first material 110 (e.g., a fluid) and the second material 120 (e.g., a gas). The first material 110 and the second material 120 are mixed inside the mixing chamber 330 formed between the rotor 600 and the stator 700. Rotation of the rotor 600 inside the stator 700 agitates the first material 110 and the second material 120 inside the mixing chamber 330. The through-holes 608 formed in the rotor 600 and/or the apertures 708 formed in the stator 700 impart turbulence in the flow of the first material 110 and the second material 120 inside the mixing chamber 330.

[0217]

Without being limited by theory, the efficiency and persistence of the diffusion of the second material 120 into the first material 110 is believed to be caused in part by micro-cavitation, which is described in connection with FIGS. 15-17. Whenever a material flows over a smooth surface, a rather laminar flow is established with a thin boundary layer that is stationary or moving very slowly because of the surface tension between the moving fluid and the stationary surface. The through-holes 608 and optionally, the apertures 708, disrupt the laminar flow and can cause localized compression and decompression of the first material 110. If the pressure during the decompression cycle is low enough, voids (cavitation bubbles) will form in the material. The cavitation bubbles generate a rotary flow pattern 5990, like a tornado, because the localized area of low pressure draws the host material and the infusion material, as shown in FIG. 15. When the cavitation bubbles implode, extremely high pressures result. As two aligned openings (e.g., one of the apertures 708 and one of the through-holes 608) pass one another, a succussion (shock wave) occurs, generating significant energy. The energy associated with cavitation and succussion mixes the first material 110 and the second material 120 together to an extremely high degree, perhaps at the molecular level.

[0218]

The tangential velocity of the rotor 600 and the number of openings that pass each other per rotation may dictate the frequency at which the mixing device 100. It has been determined that operating the mixing device 100 within in the ultrasonic frequency range can be beneficial in many applications. It is believed that operating the mixing device 100 in the ultrasonic region of frequencies provides the maximum succession shock energy to shift the bonding angle of the fluid molecule, which enables it to transport an additional quantity of the second material 120 which it would not normally be able to retain. When the mixing device 100 is used as a diffuser, the frequency at which the mixing device 100 operates appears to affect the degree of diffusion, leading to much longer persistence of the second material 120 (infusion material) in the first material 110 (host material).

[0219]

Referring now to FIG. 18, an alternate embodiment of the rotor 600, rotor 6000 is provided. The cavitations created within the first material 110 in the mixing chamber 330 may be configured to occur at different frequencies along the length of the mixing chamber 330. The frequencies of the cavitations may be altered by altering the number and/or the placement of the through-holes 6608 along the length of the rotor 600. Each of the through-holes 6608 may be substantially similar to the through-holes 608 (discussed above).

[0220]

By way of non-limiting example, the rotor 6000 may be subdivided into three separate exemplary sections 6100, 6200, and 6300. The through-holes 6608 increase in density from the section 6100 to the section 6200, the number of holes in the section 6100 being greater than the number of holes in the section 6200. The through-holes 6608 also increase in density from the section 6200 to the section 6300, the number of holes in the section 6200 being greater than the number of holes in the section 6300. Each of the sections 6100, 6200, and 6300 create succussions within their particular area at a different frequency due to the differing numbers of through-holes 6608 formed therein.

[0221]

By manufacturing the rotor 6000 with a desired number of through-holes 6608 appropriately arranged in a particular area, the desired frequency of the succussions within the mixing chamber 330 may be determined. Similarly, the desired frequency of the cavitations may be determined by a desired number of apertures 708 appropriately arranged in a particular area upon the stator 700 within which the rotor 600 rotates. Further, the desired frequency (or frequencies) of the succussions within the mixing chamber 330 may be achieved by selecting both a particular number and arrangement of the apertures 708 formed in the stator 700 and a particular number and arrangement of the through-holes 608 formed in the rotor 600.

[0222]

FIGS. 19-21, depict various alternative arrangements of the apertures 708 formed in the stator 700 and the through-holes 608 formed in the rotor 600 configured to achieve different results with respect to the cavitations created. FIG. 19 illustrates a configuration in which the apertures 708 and the through-holes 608 are aligned along an axis 7000 that is not parallel with any line (e.g., line 7010) drawn through the axis of rotation “α” of the rotor 600. In other words, if the rotor 600 has a cylindrical shape, the axis 7000 does not pass through the center of the rotor 600. Thus, the first material 110 within the mixing chamber 330 will not be oriented perpendicularly to the compressions and decompressions created by the apertures 708 and the through-holes 608. The compressions and decompressions will instead have a force vector that has at least a component parallel to the circumferential flow (in the direction of arrow “C3” of FIG. 9) of first material 110 within the mixing chamber 330.

[0223]

Relative alignment of the apertures 708 and the through-holes 608 may also affect the creation of cavitations in the mixing chamber 330. FIG. 20 illustrates an embodiment in which the apertures 708 are in registration across the mixing chamber 330 with the through-holes 608. In this embodiment, rotation of the rotor 600 brings the through-holes 608 of the rotor into direct alignment with the apertures 708 of the stator 700. When in direct alignment with each other, the compressive and decompressive forces created by the apertures 708 and the through-holes 608 are directly aligned with one another.

[0224]

In the embodiment depicted in FIG. 21, the apertures 708 and the through-holes 608 are offset by an offset amount “X” along the axis of rotation “α.”. By way of non-limiting example, the offset amount “X” may be determined as a function of the size of the apertures 708. For example, the offset amount “X” may be approximately equal to one half of the diameter of the apertures 708. Alternatively, the offset amount “X” may be determined as a function of the size of the through-holes 608. For example, the offset amount “X” may be approximately equal to one half of the diameter of the through-holes 608. If features (e.g., recesses, projections, etc.) other than or in addition to the through-holes 608 and the apertures 708 are included in either the rotor 600 or the stator 700, the offset amount “X” may be determined as a function of the size of such features. In this manner, the compressive and decompressive forces caused by the apertures 708 of the stator 700 and the through-holes 608 of the rotor 600 collide at a slight offset causing additional rotational and torsional forces within the mixing chamber 330. These additional forces increase the mixing (e.g., diffusive action) of the second material 120 into the first material 110 within the mixing chamber 330.

[0225]

Referring now to FIGS. 22-25, non-limiting examples of suitable cross-sectional shapes for the apertures 708 and the through-holes 608 are provided. The cross-sectional shape of the apertures 708 and/or the through-holes 608 may be square as illustrated in FIG. 22, circular as illustrated in FIG. 23, and the like.

[0226]

Various cross-sectional shapes of apertures 708 and/or the through-holes 608 may be used to alter flow of the first material 110 as the rotor 600 rotates within the stator 700. For example, FIG. 24 depicts a teardrop cross-sectional shape having a narrow portion 7020 opposite a wide portion 7022. If the through-holes 608 have this teardrop shape, when the rotor 600 is rotated (in the direction generally indicated by the arrow “F”), the forces exerted on the first material 110, the second material 120, and optionally the third material 130 within the mixing chamber 330 increase as the materials pass from the wide portion 7022 of the teardrop to the narrow portion 7020.

[0227]

Additional rotational forces can be introduced into the mixing chamber 330 by forming the apertures 708 and/or the through-holes 608 with a spiral configuration as illustrated in FIG. 25. Material that flows into and out of the apertures 708 and/or the through-holes 608 having the spiral configuration experience a rotational force induced by the spiral configuration. The examples illustrated in FIGS. 22-25 are provided as non-limiting illustrations of alternate embodiments that may be employed within the mixing device 100. By application of ordinary skill in the art, the apertures 708 and/or the through-holes 608 may be configured in numerous ways to achieve various succussive and agitative forces appropriate for mixing materials within the mixing chamber 330.

Double Layer Effect

[0228]

The mixing device 100 may be configured to create the output material 102 by complex and non-linear fluid dynamic interaction of the first material 110 and the second material 120 with complex, dynamic turbulence providing complex mixing that further favors electrokinetic effects (described below). The result of these electrokinetic effects may be observed within the output material 102 as charge redistributions and redox reactions, including in the form of solvated electrons that are stabilized within the output material.

[0229]

Ionization or dissociation of surface groups and/or adsorption of ions from a liquid cause most solid surfaces in contact with the liquid to become charged. Referring to FIG. 26, an electrical double layer (“EDL”) 7100 forms around exemplary surface 7110 in contact with a liquid 7120. In the EDL 7100, ions 7122 of one charge (in this case, negatively charged ions) adsorb to the surface 7120 and form a surface layer 7124 typically referred to as a Stern layer. The surface layer 7124 attracts counterions 7126 (in this case, positively charged ions) of the opposite charge and equal magnitude, which form a counterion layer 7128 below the surface layer 7124 typically referred to as a diffuse layer. The counterion layer 7128 is more diffusely distributed than the surface layer 7124 and sits upon a uniform and equal distribution of both ions in the bulk material 7130 below. For OH− and H+ ions in neutral water, the Gouy-Chapman model would suggest that the diffuse counterion layer extends about one micron into the water.

[0230]

According to particular aspects, the electrokinetic effects mentioned above are caused by the movement of the liquid 7120 next to the charged surface 7110. Within the liquid 7120 (e.g., water, saline solution, and the like), the adsorbed ions 7122 forming the surface layer 7124 are fixed to the surface 7120 even when the liquid 7120 is in motion (for example, flowing in the direction indicated by arrow “G”); however, a shearing plane 7132 exists within the diffuse counterion layer 7128 spaced from the surface 7120. Thus, as the liquid 7120 moves, some of the diffuse counterions 7126 are transported away from the surface 7120, while the absorbed ions 7122 remain at the surface 7120. This produces a so-called ‘streaming current.’

[0231]

Within the mixing chamber 330, the first material 110, the second material 120, and optionally, the third material 130 are subject to an electromagnetic field created by the inside surface 705 of the stator 700 and/or the outside surface 606 of the rotor 600, a voltage between the inside surface 705 and the outside surface 606, and/or an electrokinetic effect (e.g., streaming current) caused by at least one EDL formed in the first material 110. The at least one EDL may be introduced into the first material 110 by at least one of the inside surface 705 of the stator 700 and the outside surface 606 of the rotor 600.

[0232]

Movement of the first material 110 through the mixing chamber 330 relative to surface disturbances (e.g., the through-holes 608 and apertures 708) creates cavitations in the first material 110 within the mixing chamber 330, which may diffuse the second material 120 into the first material 110. These cavitations may enhance contact between of the first material 110 and/or the second material 120 with the electric double layer formed on the inside surface 705 of the stator 700 and/or the electric double layer formed on the outside surface 606 of the rotor 600. Larger surface to volume ratios of the mixing chamber, an increased dwell time of the combined materials within the mixing chamber, and further in combination with a smaller average bubble size (and hence substantially greater bubble surface area) provide for effectively imparting EDL-mediated effects to the inventive output materials.

[0233]

In embodiments in which the inside surface 705 and the outside surface 606 are constructed from a metallic material, such as stainless steel, the motion of the liquid 7120 and/or the streaming current(s) facilitate redox reactions involving H2O, OH−, H+, and O2at the inside surface 705 and the outside surface 606.

[0234]

Referring to FIG. 27, without being limited by theory, it is believed a section 7140 of the mixing chamber 330 between the inside surface 705 and the outside surface 606 the may be modeled as a pair of parallel plates 7142 and 7144. If the first material 110 is a liquid, the first material 110 enters the section 7140 through an inlet “IN” and exits the section 7140 through an outlet “OUT.” The inlet “IN” and the outlet “OUT” restrict the flow into and out of the section 7140.

[0235]

Referring to FIG. 28, the area between the parallel plates 7142 and 7144 has a high surface area to volume ratio. Hence, a substantial portion of the counterion layer 7128 (and counterions 7126) may be in motion as the first material 110 moves between the plates 7142 and 7144. The number of counterions 7126 in motion may exceed the number allowed to enter the section 7140 by the inlet “IN” and the number allowed to exit the section 7140 by the outlet “OUT.” The inlet “IN” and the outlet “OUT” feeding and removing the first material 110 from the section 7140, respectively, have far less surface area (and a lower surface area to volume ratio) than the parallel plates 7142 and 7144 and thereby reduce the portion of the counterions 7126 in motion in the first material 110 entering and leaving the section 7140. Therefore, entry and exit from the section 7140 increases the streaming current locally. While a background streaming current (identified by arrow “BSC”) caused by the flowing first material 110 over any surface is always present inside the mixing device 100, the plates 7142 and 7144 introduce an increased “excess” streaming current (identified by arrow “ESC”) within the section 7140.

[0236]

Without a conductive return current (identified by arrow “RC”) in the plates 7142 and 7144 in the opposite direction of the flow of the first material 110, an excess charge 7146 having the same sign as the adsorbing ions 7122 would accumulate near the inlet “IN,” and an excess charge 7148 having the same sign as the counterion 7126 would accumulate near the at outlet “OUT.” Because such accumulated charges 7146 and 7148, being opposite and therefore attracted to one another, cannot build up indefinitely the accumulated charges seek to join together by conductive means. If the plates 7142 and 7144 are perfectly electrically insulating, the accumulated charges 7146 and 7148 can relocate only through the first material 110 itself. When the conductive return current (identified by arrow “RC”) is substantially equivalent to the excess streaming current (identified by arrow “ESC”) in the section 7140, a steady-state is achieved having zero net excess streaming current, and an electrostatic potential difference between the excess charge 7146 near the inlet “IN,” and the excess charge 7148 near the outlet “OUT” creating a steady-state charge separation therebetween.

[0237]

The amount of charge separation, and hence the electrostatic potential difference between the excess charge 7146 near the inlet “IN,” and the excess charge 7148 near the outlet “OUT,” depends on additional energy per unit charge supplied by a pump (e.g., the rotor 600, the internal pump 410, and/or the external pump 210) to “push” charge against the opposing electric field (created by the charge separation) to produce the a liquid flow rate approximating a flow rate obtainable by a liquid without ions (i.e., ions 7122 and 7126). If the plates 7142 and 7144 are insulators, the electrostatic potential difference is a direct measure of the EMF the pump (e.g., the rotor 600, the internal pump 410 and/or the external pump 210) can generate. In this case, one could measure the electrostatic potential difference using a voltmeter having a pair of leads by placing one of the leads in the first material 110 near the inlet “IN,” and the other lead in the first material 110 near the outlet “OUT.”

[0238]

With insulating plates 7142 and 7144, any return current is purely an ion current (or flow of ions), in that the return current involves only the conduction of ions through the first material 110. If other conductive mechanisms through more conductive pathways are present between the excess charge 7146 near the inlet “IN,” and the excess charge 7148 near the outlet “OUT,” the return current may use those more conductive pathways. For example, conducting metal plates 7142 and 7144 may provide more conductive pathways; however, these more conductive pathways transmit only an electron current and not the ion current.

[0239]

As is appreciated by those of ordinary skill, to transfer the charge carried by an ion to one or more electrons in the metal, and vise versa, one or more oxidation-reduction reactions must occur at the surface of the metal, producing reaction products. Assuming the first material 110 is water (H2O) and the second material 120 is oxygen (O2), a non-limiting example of a redox reaction, which would inject negative charge into the conducting plates 7142 and 7144 includes the following known half-cell reaction:
O2+H2O→O3+2H++2e,
Again, assuming the first material 110 is water (H2O) and the second material 120 is oxygen (O2), a non-limiting example of a redox reaction includes the following known half-cell reaction, which would remove negative charge from the conducting plates 7142 and 7144 includes the following known half-cell reaction:
2H++eH2,

[0240]

With conducting metal plates 7142 and 7144, most of the return current is believed to be an electron current, because the conducting plates 7142 and 7144 are more conductive than the first material 110 (provided the redox reactions are fast enough not to be a limiting factor). For the conducting metal plates 7142 and 7144, a smaller charge separation accumulates between the inlet “IN” and the outlet “OUT,” and a much smaller electrostatic potential exists therebetween. However, this does not mean that the EMF is smaller.

[0241]

As described above, the EMF is related to the energy per unit charge the pump provides to facilitate the flow of the first material 110 against the opposing electric field created by the charge separation. Because the electrostatic potential is smaller, the pump may supply less energy per unit charge to cause the first material 110 to flow. However, the above example redox reactions do not necessarily occur spontaneously, and thus may require a work input, which may be provided by the pump. Therefore, a portion of the EMF (that is not reflected in the smaller electrostatic potential difference) may be used to provide the energy necessary to drive the redox reactions.

[0242]

In other words, the same pressure differentials provided by the pump to push against the opposing electric field created by the charge separation for the insulating plates 7142 and 7144, may be used both to “push” the charge through the conducting plates 7142 and 7144 and drive the redox reactions.

[0243]

Referring to FIG. 29, an experimental setup for an experiment conducted by the inventors is provided. The experiment included a pair of substantially identical spaced apart 500 ml standard Erlenmeyer flasks 7150 and 7152, each containing a volume of deionized water 7153. A rubber stopper 7154 was inserted in the open end of each of the flasks 7150 and 7152. The stopper 7154 included three pathways, one each for a hollow tube 7156, a positive electrode 7158, and a negative electrode 7160. With respect to each of the flasks 7150 and 7152, each of the hollow tube 7156, the positive electrode 7158, and the negative electrode 7160 all extended from outside the flask, through the stopper 7154, and into the deionized water 7153 inside the flask. The positive electrode 7158 and the negative electrode 7160 were constructed from stainless steel. The hollow tubes 7156 in both of the flasks 7150 and 7152 had an open end portion 7162 coupled to a common oxygen supply 7164. The positive electrode 7158 and the negative electrode 7160 inserted into the flask 7152 where coupled to a positive terminal and a negative terminal, respectively, of a DC power supply 7168. Exactly the same sparger was used in each flask.

[0244]

Oxygen flowed through the hollow tubes 7156 into both of the flasks 7150 and 7152 at a flow rate (Feed) of about 1 SCFH to about 1.3 SCFH (combined flow rate). The voltage applied across the positive electrode 7158 and the negative electrode 7160 inserted into the flask 7152 was about 2.55 volts. This value was chosen because it is believed to be an electrochemical voltage value sufficient to affect all oxygen species. This voltage was applied continuously over three to four hours during which oxygen from the supply 7164 was bubbled into the deionized water 7153 in each of the flasks 7150 and 7152.

[0245]

Testing of the deionized water 7153 in the flask 7150 with HRP and pyrogallol gave an HRP-mediated pyrogallol reaction activity, consistent with the properties of fluids produced with the alternate rotor/stator embodiments described herein. The HRP optical density was about 20% higher relative to pressure-pot or fine-bubbled solutions of equivalent oxygen content. The results of this experiment indicate that mixing inside the mixing chamber 330 involves a redox reaction. According to particular aspects, the inventive mixing chambers provide for output materials comprising added electrons that are stabilized by either oxygen-rich water structure within the inventive output solutions, or by some form of oxygen species present due to the electrical effects within the process.

[0246]

Additionally, the deionized water 7153 in both of the flasks 7150 and 7152 was tested for both ozone and hydrogen peroxide employing industry standard colorimetric test ampoules with a sensitivity of 0.1 ppm for hydrogen peroxide and 0.6 ppm for ozone. There was no positive indication of either species up to the detection limits of those ampoules.

Dwell Time

[0247]

Dwell time is an amount of time the first material 110, the second material 120, and optionally the third material 130 spend in the mixing chamber 330. The ratio of the length of the mixing chamber 330 to the diameter of the mixing chamber 330 may significantly affect dwell time. The greater the ratio, the longer the dwell time. As mentioned in the Background Section, the rotor 12 of the prior art device 10 (see FIG. 1) had a diameter of about 7.500 inches and a length of about 6.000 inches providing a length to diameter ratio of about 0.8. In contrast, in particular embodiments, the length of the mixing chamber 330 of the mixing device 100 is about 5 inches and the diameter “D1” of the rotor 600 is about 1.69 inches yielding a length to diameter ratio of about 2.95.

[0248]

Dwell time represents the amount of time that the first material 110, the second material 120, and optionally the third material 130 are able to interact with the electrokinetic phenomena described herein. The prior art device 10 is configured to produce about 60 gallons of the output material 102 per minute and the mixing device 100 is configured to produce about 0.5 gallons of the output material 102 per minute, the prior art device 10 (see FIG. 1) had a fluid dwell time of about 0.05 seconds, whereas embodiments of the mixing device 100 have a substantially greater (about 7-times greater) dwell time of about 0.35 seconds. This longer dwell time allows the first material 110, the second material 120, and optionally the third material 130 to interact with each other and the surfaces 606 and 705 (see FIG. 7) inside the mixing chamber 330 for about 7 times longer than was possible in the prior art device 10.

[0249]

With reference to Table I below, the above dwell times were calculated by first determining the flow rate for each device in gallons per second. In the case of the prior art device 10 was configured to operate at about 60 gallons of output material per minute, while the mixing device 100 is configured to operate over a broader range of flow rate, including at an optimal range of about 0.5 gallons of output material per minute. The flow rate was then converted to cubic inches per second by multiplying the flow rate in gallons per second by the number of cubic inches in a gallon (i.e., 231 cubic inches). Then, the volume (12.876 cubic inches) of the channel 32 of the prior art device 10 was divided by the flow rate of the device (231 cubic inches/second) to obtain the dwell time (in seconds) and the volume (0.673 cubic inches) of the mixing chamber 330 of the mixing device 100 was divided by the flow rate (1.925 cubic inches/second) of the device (in cubic inches per second) to obtain the dwell time (in seconds).

[0250]

Inventive device can accommodate a range of dwell
times, including a substantially increased (e.g.,
7-times) dwell time relative to prior art devices.
Volume
Flow RateMixing
Flow RateFlow RateCubicChamberDwell
Gallons/Gallons/Inches/(CubicTime
DeviceMinuteSecondSecondInches)(Seconds)
Prior art601.000231.00012.8760.056
device 10
Mixing20.0337.7000.6730.087
device 100
Mixing0.50.0081.9250.6730.350
device 100

Rate of Infusion

[0251]

Particular aspects of the mixing device 100 provide an improved oxygen infusion rate over the prior art, including over prior art device 10 (see FIG. 1). When the first material 110 is water and the second material 120 is oxygen, both of which are processed by the mixing device 100 in a single pass (i.e., the return block of FIG. 2 is set to “NO”) at or near 20° Celsius, the output material 102 has a dissolved oxygen level of about 43.8 parts per million. In certain aspects, an output material having about 43.8 ppm dissolved oxygen is created in about 350 milliseconds via the inventive flow through the inventive non pressurized (non-pressure pot) methods. In contrast, when the first material 110 (water) and the second material 120 (oxygen) are both processed in a single pass at or near 20° Celsius by the prior art device 10, the output material had dissolved oxygen level of only 35 parts per million in a single pass of 56 milliseconds.

Output Material 102

[0252]

When the first material 110 is a liquid (e.g., freshwater, saline, GATORADE®, and the like) and the second material 120 is a gas (e.g., oxygen, nitrogen, and the like), the mixing device 100 may diffuse the second material 120 into the first material 110. The following discusses results of analyses performed on the output material 102 to characterize one or more properties of the output material 102 derived from having been processed by the mixing device 100.

[0253]

When the first material 110 is saline solution and the second material 120 is oxygen gas, experiments have indicated that a vast majority of oxygen bubbles produced within the saline solution are no greater than 0.1 micron in size.

Decay of Dissolved Oxygen Levels

[0254]

Referring now to FIG. 30, there is illustrated the DO levels in water enriched with oxygen in the mixing device 100 and stored in a 500 ml thin-walled plastic bottle and a 1000 ml glass bottle out to at least 365 days. Each of the bottles was capped and stored at 65 degrees Fahrenheit. As can be seen in the Figure, the DO levels of the oxygen-enriched fluid remained fairly constant out to at least 365 days.

[0255]

Referring to FIG. 31, there is illustrated the DO levels in water enriched with oxygen in the mixing device 100 and stored in a 500 ml plastic thin-walled bottle and a 1000 ml glass bottle. Both bottles were refrigerated at 39 degrees Fahrenheit. Again, DO levels of the oxygen-enriched fluid remained steady and decreased only slightly out to at least 365 days.

[0256]

Referring now to FIG. 32, there is illustrated the dissolved oxygen levels in GATORADE® enriched with oxygen in the mixing device 100 and stored in 32 oz. GATORADE® bottles having an average temperature of 55 degrees Fahrenheit at capping. The GATORADE® bottles were subsequently refrigerated at 38 degrees Fahrenheit between capping and opening. During the experiment, a different bottle was opened at 20, 60, and 90 days, respectively, to measure the DO levels of the GATORADE® stored therein.

[0257]

The GATORADE® within a first group of GATORADE® bottles was processed with oxygen in the mixing device 100 at approximately 56 degrees Fahrenheit. The DO levels of the GATORADE® at bottling were approximately 50 ppm as indicated by point 8104. A first bottle was opened at approximately 20 days, and the DO level of the GATORADE® was determined to be approximately 47 ppm as indicated by point 8106. A second bottle was then opened at 60 days, and the DO level of the GATORADE® was measured to be approximately 44 ppm as indicated by point 8108. Finally, a third bottle was opened at 90 days, and the DO level of the GATORADE® was determined to be slightly below 40 ppm as indicated by point 8110.

[0258]

The GATORADE® within a second group of GATORADE® bottles was processed with oxygen in the mixing device 100 at approximately 52 degrees Fahrenheit. The initial DO level for GATORADE® stored in this group of bottles was 45 ppm as illustrated by point 8112. The GATORADE® in the bottle opened at 20 days had a DO level of only slightly lower than 45 ppm as indicated by point 8114. The second bottle of GATORADE® was opened at 60 days and the GATORADE® therein had a DO level of slightly more than 41 ppm. Finally, a third bottle of GATORADE® was opened at 90 days and the GATORADE® therein had a DO level of approximately 39 ppm as shown by point 8116. As before, with respect to the water test in the plastic and glass bottles (see FIG. 31), it can be seen that the DO levels remain at relatively high levels over the 90 day period and substantially higher than those levels present in normal (unprocessed) GATORADE® stored in 32 oz. GATORADE® bottles. Point 8010 is the level corresponding to inventive output fluid in a covered PET bottle.

[0259]

FIG. 33 illustrates the DO retention of 500 ml of braun balanced salt solution processed with oxygen in the mixing device 100 and kept at standard temperature and pressure in an amber glass bottle. The DO level of the solution before processing is 5 ppm. After processing in the mixing device 100, the DO level was increased to approximately 41 ppm (illustrated as point 8202). An hour after processing, the DO level dropped to approximately 40 ppm as indicated by point 8204. Two hours after processing, the DO level dropped to approximately 36 ppm as indicated by point 8206. The DO level dropped to approximately 34 ppm three hours after processing as indicated by point 8208. At approximately four and a half hours after processing, the DO level within the salt solution dropped to slightly more than 30 ppm. The final measurement was taken shortly before six hours after processing whereat the DO level had dropped to approximately 28 ppm. Thus, each of the experiments illustrated in FIGS. 30-33 illustrate that that the DO levels remain at relatively high levels over extended periods.

[0260]

Because the output material 102 may be consumed by human beings, the materials used to construct the mixing device 100 should be suitable for food and/or pharmaceutical manufacture. By way of non-limiting example, the housing 520, the housing 5520, the rotor 600, the stator 700, and the stator 5700 may all be constructed from stainless steel.

[0000]

Inventive Electrokinetically-Generated Gas-Enriched Fluids and Solutions

[0261]

Diffusing or enriching a fluid with another fluid may result in a solution or suspension of the two fluids. In particular, enriching a liquid with a gas (e.g., oxygen) may be beneficial for certain applications, including therapeutic treatments. As utilized herein, “fluid,” may generally refer to a liquid, a gas, a vapor, a mixture of liquids and/or gases, or any combination thereof, for any particular disclosed embodiment. Furthermore, in certain embodiments a “liquid” may generally refer to a pure liquid or may refer to a gel, sol, emulsion, fluid, colloid, dispersion, or mixture, as well as any combination thereof; any of which may vary in viscosity.

[0262]

In particular embodiments disclosed herein, the dissolved gas comprises ambient air. In a preferred embodiment, the dissolved gas comprises oxygen. In another embodiment, the dissolved gas comprises nitric oxide.

[0263]

There are several art-recognized methods of gas-enriching liquids (such as oxygen-enriching water). For example, a turbine aeration system can release air near a set of rotating blades of an impeller, which mixes the air or oxygen with the water, or water can be sprayed into the air to increase its oxygen content. Additionally, other systems on the market inject air or oxygen into the water and subject the water/gas to a large-scale vortex. Naturally occurring levels of oxygen in water are typically no more than 10 ppm (parts per million), which is considered to be a level of 100% dissolved oxygen. Tests on certain devices have shown that under ideal conditions, the device can attain upwards of approximately 20 ppm, or twice the natural oxygen levels of water. In certain embodiments, the oxygen level may be even higher.

[0264]

In certain embodiments disclosed herein, a gas-enriched fluid of the present invention provides an anti-inflammatory benefit. Certain embodiments disclosed herein relate to a therapeutic composition comprising a gas-enriched fluid of the present invention, and optionally at least one additional therapeutic agent, such as a pharmaceutical drug, a metal, a peptide, a polypeptide, a protein, a nucleotide, a carbohydrate or glycosylated protein, a fat (including oils or waxes), or other agent that prevents or alleviates at least one symptom of a condition or disease associated with inflammation.

[0265]

Furthermore, certain embodiments disclosed herein include therapeutic compositions and methods related to inflammation of wounds. Wound care is desirable to improve health and appearance of underlying dermal tissues. Wounds, either injury induced, such as cuts, abrasions or blisters, or surgically induced, such as surgical incisions or ostomies, require localized treatment to remedy the affected area and to prevent further dermal damage. If wounds are not properly treated, further dermal irritation can result, such as inflammation, and may result in secondary infections and further discomfort to the subject.

[0266]

Particular embodiments provided herein relate to a diffuser-processed therapeutic fluid as defined herein, comprising: a fluid host material; an infusion material diffused into the host material; and optionally, at least one therapeutic agent dispersed in the host material, wherein the infusion material comprises oxygen micro-bubbles in the host fluid, wherein the majority of the micro-bubbles are less than 0.2 microns, or preferably less than 0.1 microns in size. In certain embodiments, the dissolved oxygen level in the infused fluid host material may be maintained at greater than about 30 ppm at atmospheric pressure for at least 13 hours. In other particular embodiments, the dissolved oxygen level in the infused fluid host material may be maintained at greater than 40 ppm at atmospheric pressure for at least 3 hours.

[0267]

In additional embodiments, the infused fluid host material further comprises a saline solution. In further embodiments, the infused fluid host material maintains a dissolved oxygen level of at least about 20 ppm to about 40 ppm for a period of at least 100 days, preferably at least 365 days within a sealed container at atmospheric pressure. In certain embodiments, the infused fluid host material may have a dissolved oxygen level of at least 50 ppm at atmospheric pressure.

[0268]

In certain embodiments, the infused fluid host material exhibits Rayleigh scattering for a laser beam shining therethrough for a selected period of time after the oxygen has been diffused into therein.

[0269]

Table 2 illustrates various partial pressure measurements taken in a healing wound treated with an oxygen-enriched saline solution and in samples of the gas-enriched oxygen-enriched saline solution of the present invention.

[0270]

TISSUE OXYGEN MEASUREMENTS
Probe Z082BO
In air: 171 mmHg 23° C.
ColumnPartial Pressure (mmHg)
B132-36
B2169-200
B3 20-180*
B440-60
*wound depth minimal, majority >150, occasional 20 s

Bubble Size Measurements

[0271]

Experimentation was performed to determine a size of the bubbles of gas diffused within the fluid by the mixing device 100. While experiments were not performed to measure directly the size of the bubbles, experiments were performed that established that the bubble size of the majority of the gas bubbles within the fluid was smaller than 0.1 microns. In other words, the experiments determined a size threshold value below which the sizes of the majority of bubbles fall.

[0272]

This size threshold value or size limit was established by passing the output material 102 formed by processing a fluid and a gas in the mixing device 100 through a 0.22 filter and a 0.1 micron filter. In performing these tests, a volume of the first material 110, in this case, a fluid, and a volume of the second material 120, in this case, a gas, were passed through the mixing device 100 to generate a volume of the output material 102 (i.e., a fluid having a gas diffused therein). Sixty milliliters of the output material 102 was drained into a 60 ml syringe. The DO level of the fluid was measured via the Winkler Titration. The fluid within the syringe was injected through a 0.22 micron filter into a 50 ml beaker. The filter comprised the Milipor Millex GP50 filter. The DO level of the material in the 50 ml beaker was then measured. The experiment was performed three times to achieve the results illustrated in Table 3 below.

[0273]

42.1 ppm39.7 ppm
43.4 ppm42.0 ppm
43.5 ppm39.5 ppm

[0274]

As can be seen, the DO levels measured within the syringe and the DO levels measured within the 50 ml beaker were not changed drastically by passing the output material 102 through the 0.22 micron filter. The implication of this experiment is that the bubbles of dissolved gas within the output material 102 are not larger than 0.22 microns otherwise there would be a significantly greater reduction in the DO levels in the output material 102 passed through the 0.22 micron filter.

[0275]

A second test was performed in which the 0.1 micron filter was substituted for the 0.22 micron filter. In this experiment, saline solution was processed with oxygen in the mixing device 100 and a sample of the output material 102 was collected in an unfiltered state. The DO level of the unfiltered sample was 44.7 ppm. The output material 102 was filtered using the 0.1 micron filter and two additional samples were collected. The DO level of the first sample was 43.4 ppm. The DO level of the second sample was 41.4 ppm. Then, the filter was removed and a final sample was taken from the unfiltered output material 102. The final sample had a DO level of 45.4 ppm. These results were consistent with those seen using the Millipore 0.22 micron filter. These results lead to the conclusion that there is a trivial reduction in the DO levels of the output material 102 passed through the 0.1 micron filter providing an indication that the majority of the bubbles in the processed saline solution are no greater than 0.1 micron in size.

[0276]

As appreciated in the art, the double-layer (interfacial) (DL) appears on the surface of an object when it is placed into a liquid. This object, for example, might be that of a solid surface (e.g., rotor and stator surfaces), solid particles, gas bubbles, liquid droplets, or porous body. In the mixing device 100, bubble surfaces represent a significant portion of the total surface area present within the mixing chamber that may be available for electrokinetic double-layer effects. Therefore, in addition to the surface area and retention time aspects discussed elsewhere herein, the relatively small bubble sizes generated within the mixer 100 compared to prior art devices 10, may also contribute, at least to some extent, to the overall electrokinetic effects and output fluid properties disclosed herein. Specifically, in preferred embodiments, as illustrated by the mixer 100, all of the gas is being introduced via apertures on the rotor (no gas is being introduced through stator apertures). Because the rotor is rotating at a high rate (e.g., 3,400 rpm) generating substantial shear forces at and near the rotor surface, the bubble size of bubbles introduced via, and adjacent to the spinning rotor surface apertures would be expected to be substantially (e.g., 2 to 3-times smaller) smaller than those introduced via and near the stationary stator. The average bubble size of the prior art device 10 may, therefore, be substantially larger because at least half of the gas is introduced into the mixing chamber from the stationary stator apertures. Because the surface area of a sphere surface varies with r2, any such bubble component of the electrokinetic surface area of the mixing device 100 may be substantially greater than that of the prior art diffusion device 10.

[0277]

Therefore, without being bound by theory, not only does the mixing chamber of the mixing device 100 have (i) a substantially higher surface to volume ratio than that of the prior art device 10 (the prior art device 10 has a ratio of surface to volume of 10.9, whereas the present mixer 100 has a surface to volume ratio of 39.4), along with (ii) a 7-fold greater dwell-time, but (iii) the unique properties of the current output solutions may additionally reflect a contribution from the substantially larger bubble surface area in the mixing device 100. These distinguishing aspects reflect distinguishing features of the present mixing device 100, and likely each contribute to the unique electrokinetic properties of the inventive output materials/fluids.

Sparging Effects

[0278]

FIGS. 34-35 illustrate the sparging effects of the mixing device 100 on a fluid (e.g., the first material 110) passing therethrough. Sparging refers to “bubbling” an inert gas through a solution to remove a different dissolved gas(es) from the solution. In each of the examples illustrated in FIGS. 34 and 35, the second material 120 is nitrogen. The levels of dissolved oxygen in the output material 102 are measured at various points in time. As can be seen in the figures, the nitrogen gas sparges the oxygen from the fluid passing through the mixing device 100 causing the DO levels in the fluid to decay over a period of time.

[0279]

The results of another experiment are illustrated in FIG. 34 wherein water is sparged with nitrogen using the mixing device 100. Two sets of experiments were conducted, the first having a gas flow rate of SCFH (Standard Cubic Feet per Hour) of 1 and the second having a gas flow rate of SCFH of 0.6 The fluid flow rate was about 0.5 gal/min. As can be seen, when the process is begun, the DO levels in each of the experiments was approximately 9 ppm. After only one minute, the DO levels had dropped to slightly above 5 ppm. At two minutes the DO levels had dropped to approximately 2.5 ppm. The DO level appears to level out at a minimum level at approximately 6 minutes wherein the DO level is slightly above zero (0). Thus, the nitrogen sparges the oxygen from the water relatively quickly.

[0280]

FIG. 35 illustrates the sparging of oxygenated water in an 8 gallon tank at standard temperature and pressure. The decay rate of the DO in the water is illustrated by line 8602. As can be seen, initially the oxygenated water had a DO level of approximately 42 ppm. After 2 minutes of processing by the mixing device 100, the nitrogen sparged the oxygenated water such that the DO level dropped to slightly more than 20 ppm. At 6 minutes, the DO level dropped from greater than 40 ppm to only 6 ppm. The DO level of the oxygenated water reached a minimum value slightly greater than zero (0) at approximately 14 minutes after the beginning of the process. Thus, the above described sparging experiments illustrate that the mixing device 100 is capable of quickly sparging oxygen from water and replacing the oxygen with another gas such as nitrogen by processing oxygenated water with mixing device 100 for a rather short period of time. In other words, because total partial gas pressure in the fluid remained at approximately the same level despite the decrease in DO, the nitrogen gas replaced the oxygen in the fluid.

[0281]

These figures illustrate the manner in which nitrogen may be diffused into water to sparge the oxygen from the water. However, any gas could be used to sparge a selected gas from any selected fluid and diffuse into the selected fluid the gas used to sparge the selected gas from the selected fluid. For example, the principals illustrated may also be applicable to sparging nitrogen from water or another fluid using oxygen. Further, any gas dissolved within a solution may be sparged therefrom using a different gas to take the place of the gas sparged from the solution. In other words, by processing a sparging gas and a solution containing a dissolved gas through the mixing device 100 for a relatively short period of time, the dissolved gas could be quickly and efficiently removed from the solution.

Molecular Interactions

[0282]

Conventionally, quantum properties are thought to belong to elementary particles of less than 10−10meters, while the macroscopic world of our everyday life is referred to as classical, in that it behaves according to Newton's laws of motion.

[0283]

Recently, molecules have been described as forming clusters that increase in size with dilution. These clusters measure several micrometers in diameter, and have been reported to increase in size non-linearly with dilution. Quantum coherent domains measuring 100 nanometers in diameter have been postulated to arise in pure water, and collective vibrations of water molecules in the coherent domain may eventually become phase locked to electromagnetic field fluctuations, providing for stable oscillations in water, providing a form of ‘memory’ in the form of excitation of long lasting coherent oscillations specific to dissolved substances in the water that change the collective structure of the water, which may in turn determine the specific coherent oscillations that develop. Where these oscillations become stabilized by magnetic field phase coupling, the water, upon dilution may still carry ‘seed’ coherent oscillations. As a cluster of molecules increases in size, its electromagnetic signature is correspondingly amplified, reinforcing the coherent oscillations carried by the water.

[0284]

Despite variations in the cluster size of dissolved molecules and detailed microscopic structure of the water, a specificity of coherent oscillations may nonetheless exist. One model for considering changes in properties of water is based on considerations involved in crystallization.

[0285]

With reference to FIG. 36, a simplified protonated water cluster forming a nanoscale cage 8700 is shown. A protonated water cluster typically takes the form of H+(H2O)n. Some protonated water clusters occur naturally, such as in the ionosphere. Without being bound by any particular theory, and according to particular aspects, other types of water clusters or structures (clusters, nanocages, etc.) are possible, including structures comprising oxygen and stabilized electrons imparted to the inventive output materials. Oxygen atoms 8704 may be caught in the resulting structures 8700. The chemistry of the semi-bound nanocage allows the oxygen 8704 and/or stabilized electrons to remain dissolved for extended periods of time. Other atoms or molecules, such as medicinal compounds, can be caged for sustained delivery purposes. The specific chemistry of the solution material and dissolved compounds depend on the interactions of those materials.

[0286]

Fluids processed by the mixing device 100 have been shown via experiments to exhibit different structural characteristics that are consistent with an analysis of the fluid in the context of a cluster structure.

[0287]

Water processed through the mixing device 100 has been demonstrated to have detectible structural differences when compared with normal unprocessed water. For example, processed water has been shown to have more Rayleigh scattering than is observed in unprocessed water. In the experiments that were conducted, samples of processed and unprocessed water were prepared (by sealing each in a separate bottle), coded (for later identification of the processed sample and unprocessed sample), and sent to an independent testing laboratory for analysis. Only after the tests were completed were the codes interpreted to reveal which sample had been processed by the mixing device 100.

[0288]

At the laboratory, the two samples were placed in a laser beam having a wavelength of 633 nanometers. The fluid had been sealed in glass bottles for approximately one week before testing. With respect to the processed sample, Sample B scattered light regardless of its position relative to the laser source. However, Sample A did not. After two to three hours following the opening of the bottle, the scattering effect of Sample B disappeared. These results imply the water exhibited a memory causing the water to retain its properties and dissipate over time. These results also imply the structure of the processed water is optically different from the structure of the unprocessed fluid. Finally, these results imply the optical effect is not directly related to DO levels because the DO level at the start was 45 ppm and at the end of the experiment was estimated to be approximately 32 ppm.

[0000]

Charge-Stabilized Nanostructures (e.g., Charge Stabilized Oxygen-Containing Nanostructures):

[0289]

As described herein above under “Double Layer Effect,” “Dwell Time,” “Rate of Infusion,” and “Bubble size Measurements,” the mixing device 100 creates, in a matter of milliseconds, a unique non-linear fluid dynamic interaction of the first material 110 and the second material 120 with complex, dynamic turbulence providing complex mixing in contact with an effectively enormous surface area (including those of the device and of the exceptionally small gas bubbles of less than 100 nm) that provides for the novel electrokinetic effects described herein. Additionally, feature-localized electrokinetic effects (voltage/current) were demonstrated herein (see working Example 20) using a specially designed mixing device comprising insulated rotor and stator features.

[0290]

As well-recognized in the art, charge redistributions and/or solvated electrons are known to be highly unstable in aqueous solution. According to particular aspects, Applicants' electrokinetic effects (e.g., charge redistributions, including, in particular aspects, solvated electrons) are surprisingly stabilized within the output material (e.g., saline solutions, ionic solutions). In fact, as described herein, the stability of the properties and biological activity of the inventive electrokinetic fluids (e.g., RNS-60 or Solas) can be maintained for months in a gas-tight container, indicating involvement of dissolved gas (e.g., oxygen) in helping to generate and/or maintain, and/or mediate the properties and activities of the inventive solutions. Significantly, as described in the working Examples herein, the charge redistributions and/or solvated electrons are stably configured in the inventive electrokinetic ionic aqueous fluids in an amount sufficient to provide, upon contact with a living cell (e.g., mammalian cell) by the fluid, modulation of at least one of cellular membrane potential and cellular membrane conductivity (see, e.g., cellular patch clamp working Examples 23 and 24).

[0291]

As described herein under “Molecular Interactions,” to account for the stability and biological compatibility of the inventive electrokinetic fluids (e.g., electrokinetic saline solutions), Applicants have proposed that interactions between the water molecules and the molecules of the substances (e.g., oxygen) dissolved in the water change the collective structure of the water and provide for nanoscale cage clusters, including nanostructures comprising oxygen and/or stabilized electrons imparted to the inventive output materials. Without being bound by mechanism, and according to the properties and activities described herein, the configuration of the nanostructures in particular aspects is such that they: comprise (at least for formation and/or stability and/or biological activity) dissolved gas (e.g., oxygen); enable the electrokinetic fluids (e.g., RNS-60 or Solas saline fluids) to modulate (e.g., impart or receive) charges and/or charge effects upon contact with a cell membrane or related constituent thereof; and in particular aspects provide for stabilization (e.g., carrying, harboring, trapping) solvated electrons in a biologically-relevant form.

[0292]

According to particular aspects, and as supported by the present disclosure, in ionic or saline (e.g., standard saline, NaCl) solutions, the inventive nanostructures comprise charge stabilized nanostrutures (e.g., average diameter less that 100 nm) that may comprise at least one dissolved gas molecule (e.g., oxygen) within a charge-stabilized hydration shell. According to additional aspects, and as described elsewhere herein, the charge-stabilized hydration shell may comprise a cage or void harboring the at least one dissolved gas molecule (e.g., oxygen). According to further aspects, by virtue of the provision of suitable charge-stabilized hydration shells, the charge-stabilized nanostructure and/or charge-stabilized oxygen containing nano-structures may additionally comprise a solvated electron (e.g., stabilized solvated electron).

[0293]

Without being bound by mechanism or particular theory, after the present priority date, charge-stabilized microbubbles stabilized by ions in aqueous liquid in equilibrium with ambient (atmospheric) gas have been proposed (Bunkin et al., Journal of Experimental and Theoretical Physics, 104:486-498, 2007; incorporated herein by reference in its entirety). According to particular aspects of the present invention, Applicants' novel electrokinetic fluids comprise a novel, biologically active form of charge-stabilized oxygen-containing nanostructures, and may further comprise novel arrays, clusters or associations of such structures.

[0294]

According to the charge-stabilized microbubble model, the short-range molecular order of the water structure is destroyed by the presence of a gas molecule (e.g., a dissolved gas molecule initially complexed with a nonadsorptive ion provides a short-range order defect), providing for condensation of ionic droplets, wherein the defect is surrounded by first and second coordination spheres of water molecules, which are alternately filled by adsorptive ions (e.g., acquisition of a ‘screening shell of Na+ ions to form an electrical double layer) and nonadsorptive ions (e.g., Cl ions occupying the second coordination sphere) occupying six and 12 vacancies, respectively, in the coordination spheres. In under-saturated ionic solutions (e.g., undersaturated saline solutions), this hydrated ‘nucleus’ remains stable until the first and second spheres are filled by six adsorptive and five nonadsorptive ions, respectively, and then undergoes Coulomb explosion creating an internal void containing the gas molecule, wherein the adsorptive ions (e.g., Na+ ions) are adsorbed to the surface of the resulting void, while the nonadsorptive ions (or some portion thereof) diffuse into the solution (Bunkin et al., supra). In this model, the void in the nanostructure is prevented from collapsing by Coulombic repulsion between the ions (e.g., Na+ ions) adsorbed to its surface. The stability of the void-containing nanostructures is postulated to be due to the selective adsorption of dissolved ions with like charges onto the void/bubble surface and diffusive equilibrium between the dissolved gas and the gas inside the bubble, where the negative (outward electrostatic pressure exerted by the resulting electrical double layer provides stable compensation for surface tension, and the gas pressure inside the bubble is balanced by the ambient pressure. According to the model, formation of such microbubbles requires an ionic component, and in certain aspects collision-mediated associations between particles may provide for formation of larger order clusters (arrays) (Id).

[0295]

The charge-stabilized microbubble model suggests that the particles can be gas microbubbles, but contemplates only spontaneous formation of such structures in ionic solution in equilibrium with ambient air, is uncharacterized and silent as to whether oxygen is capable of forming such structures, and is likewise silent as to whether solvated electrons might be associated and/or stabilized by such structures.

[0296]

According to particular aspects, the inventive electrokinetic fluids comprising charge-stabilized nanostructures and/or charge-stabilized oxygen-containing nanostructures are novel and fundamentally distinct from the postulated non-electrokinetic, atmospheric charge-stabilized microbubble structures according to the microbubble model. Significantly, this conclusion is in unavoidable, deriving, at least in part, from the fact that control saline solutions do not have the biological properties disclosed herein, whereas Applicants' charge-stabilized nanostructures provide a novel, biologically active form of charge-stabilized oxygen-containing nanostructures.

[0297]

According to particular aspects of the present invention, Applicants' novel electrokinetic device and methods provide for novel electrokinetically-altered fluids comprising significant quantities of charge-stabilized nanostructures in excess of any amount that may or may not spontaneously occur in ionic fluids in equilibrium with air, or in any non-electrokinetically generated fluids. In particular aspects, the charge-stabilized nanostructures comprise charge-stabilized oxygen-containing nanostructures. In additional aspects, the charge-stabilized nanostructures are all, or substantially all charge-stabilized oxygen-containing nanostructures, or the charge-stabilized oxygen-containing nanostructures the major charge-stabilized gas-containing nanostructure species in the electrokinetic fluid.

[0298]

According to yet further aspects, the charge-stabilized nanostructures and/or the charge-stabilized oxygen-containing nanostructures may comprise or harbor a solvated electron, and thereby provide a novel stabilized solvated electron carrier. In particular aspects, the charge-stabilized nanostructures and/or the charge-stabilized oxygen-containing nanostructures provide a novel type of electride (or inverted electride), which in contrast to conventional solute electrides having a single organically coordinated cation, rather have a plurality of cations stably arrayed about a void or a void containing an oxygen atom, wherein the arrayed sodium ions are coordinated by water hydration shells, rather than by organic molecules. According to particular aspects, a solvated electron may be accommodated by the hydration shell of water molecules, or preferably accommodated within the nanostructure void distributed over all the cations. In certain aspects, the inventive nanostructures provide a novel ‘super electride’ structure in solution by not only providing for distribution/stabilization of the solvated electron over multiple arrayed sodium cations, but also providing for association or partial association of the solvated electron with the caged oxygen molecule(s) in the void—the solvated electron distributing over an array of sodium atoms and at least one oxygen atom. According to particular aspects, therefore, ‘solvated electrons’ as presently disclosed in association with the inventive electrokinetic fluids, may not be solvated in the traditional model comprising direct hydration by water molecules. Alternatively, in limited analogy with dried electride salts, solvated electrons in the inventive electrokinetic fluids may be distributed over multiple charge-stabilized nanostructures to provide a ‘lattice glue’ to stabilize higher order arrays in aqueous solution.

[0299]

In particular aspects, the inventive charge-stabilized nanostructures and/or the charge-stabilized oxygen-containing nanostructures are capable of interacting with cellular membranes or constituents thereof, or proteins, etc., to mediate biological activities. In particular aspects, the inventive charge-stabilized nanostructures and/or the charge-stabilized oxygen-containing nanostructures harboring a solvated electron are capable of interacting with cellular membranes or constituents thereof, or proteins, etc., to mediate biological activities.

[0300]

In particular aspects, the inventive charge-stabilized nanostructures and/or the charge-stabilized oxygen-containing nanostructures interact with cellular membranes or constituents thereof, or proteins, etc., as a charge and/or charge effect donor (delivery) and/or as a charge and/or charge effect recipient to mediate biological activities. In particular aspects, the inventive charge-stabilized nanostructures and/or the charge-stabilized oxygen-containing nanostructures harboring a solvated electron interact with cellular membranes as a charge and/or charge effect donor and/or as a charge and/or charge effect recipient to mediate biological activities.

[0301]

In particular aspects, the inventive charge-stabilized nanostructures and/or the charge-stabilized oxygen-containing nanostructures are consistent with, and account for the observed stability and biological properties of the inventive electrokinetic fluids, and further provide a novel electride (or inverted electride) that provides for stabilized solvated electrons in aqueous ionic solutions (e.g., saline solutions, NaCl, etc.).

[0302]

In particular aspects, the charge-stabilized oxygen-containing nanostructures substantially comprise, take the form of, or can give rise to, charge-stabilized oxygen-containing nanobubbles. In particular aspects, charge-stabilized oxygen-containing clusters provide for formation of relatively larger arrays of charge-stabilized oxygen-containing nanostructures, and/or charge-stabilized oxygen-containing nanobubbles or arrays thereof. In particular aspects, the charge-stabilized oxygen-containing nanostructures can provide for formation of hydrophobic nanobubbles upon contact with a hydrophobic surface (see elsewhere herein under EXAMPLE 25).

[0303]

In particular aspects, the charge-stabilized oxygen-containing nanostructures substantially comprise at least one oxygen molecule. In certain aspects, the charge-stabilized oxygen-containing nanostructures substantially comprise at least 1, at least 2, at least 3, at least 4, at least 5, at least 10 at least 15, at least 20, at least 50, at least 100, or greater oxygen molecules. In particular aspects, charge-stabilized oxygen-containing nanostructures comprise or give rise to nanobubles (e.g., hydrophobid nanobubbles) of about 20 nm×1.5 nm, comprise about 12 oxygen molecules (e.g., based on the size of an oxygen molecule (approx 0.3 nm by 0.4 nm), assumption of an ideal gas and application of n=PV/RT, where P=1 atm, R=0.082 057 I.atm/mol.K; T=295K; V=pr2h=4.7×10−22L, where r=10×10−9m, h=1.5×10−9m, and n=1.95×10−22moles).

[0304]

In certain aspects, the percentage of oxygen molecules present in the fluid that are in such nanostructures, or arrays thereof, having a charge-stabilized configuration in the ionic aqueous fluid is a percentage amount selected from the group consisting of greater than: 0.1%, 1%; 2%; 5%; 10%; 15%; 20%; 25%; 30%; 35%; 40%; 45%; 50%; 55%; 60%; 65%; 70%; 75%; 80%; 85%; 90%; and greater than 95%. Preferably, this percentage is greater than about 5%, greater than about 10%, greater than about 15%, or greater than about 20%. In additional aspects, the substantial size of the charge-stabilized oxygen-containing nanostructures, or arrays thereof, having a charge-stabilized configuration in the ionic aqueous fluid is a size selected from the group consisting of less than: 100 nm; 90 nm; 80 nm; 70 nm; 60 nm; 50 nm; 40 nm; 30 nm; 20 nm; 10 nm; 5 nm; 4 nm; 3 nm; 2 nm; and 1 nm. Preferably, this size is less than about 50 nm, less than about 40 nm, less than about 30 nm, less than about 20 nm, or less than about 10 nm.

[0305]

In certain aspects, the inventive electrokinetic fluids comprise solvated electrons. In further aspects, the inventive electrokinetic fluids comprises charge-stabilized nanostructures and/or charge-stabilized oxygen-containing nanostructures, and/or arrays thereof, which comprise at least one of: solvated electron(s); and unique charge distributions (polar, symmetric, asymmetric charge distribution). In certain aspects, the charge-stabilized nanostructures and/or charge-stabilized oxygen-containing nanostructures, and/or arrays thereof, have paramagnetic properties.

[0306]

By contrast, relative to the inventive electrokinetic fluids, control pressure pot oxygenated fluids (non-electrokinetic fluids) and the like do not comprise such charge-stabilized biologically-active nanostructures and/or biologically-active charge-stabilized oxygen-containing nanostructures and/or arrays thereof, capable of modulation of at least one of cellular membrane potential and cellular membrane conductivity.

[0307]

In additional aspects, the inventive electrokinetic fluids comprise charge-stabilized nanostructures as disclosed herein, comprising variations in at least one of the ionic components (e.g., variations in the cation(s) or counterion(s)) and the gas component(s). As described elsewhere herein, in particular aspects, the inventive electrokinetically-altered fluids comprise saline (e.g., one or more dissolved salt(s); e.g., alkali metal based salts (Li+, Na+, K+, Rb+, Cs+, etc.), alkaline earth based salts (e.g., Mg++, Ca++), etc., or transition metal-based positive ions (e.g., Cr, Fe, Co, Ni, Cu, Zn, etc.), in each case along with any suitable anion components, including, but not limited to F−, Cl−, Br−, I−, PO4−, SO4−, and nitrogen-based anions. Particular aspects comprise mixed salt based electrokinetic fluids (e.g., Na+, K+, Ca++, Mg++, transition metal ion(s), etc.) in various combinations and concentrations, and optionally with mixtures of couterions. In particular aspects, the inventive electrokinetically-altered fluids comprise standard saline (e.g., approx. 0.9% NaCl, or about 0.15 M NaCl). In particular aspects, the inventive electrokinetically-altered fluids comprise saline at a concentration of at least 0.0002 M, at least 0.0003 M, at least 0.001 M, at least 0.005 M, at least 0.01 M, at least 0.015 M, at least 0.1 M, at least 0.15 M, or at least 0.2 M. In particular aspects, the conductivity of the inventive electrokinetically-altered fluids is at least 10 μS/cm, at least 40 μS/cm, at least 80 μS/cm, at least 100 μS/cm, at least 150 μS/cm, at least 200 μS/cm, at least 300 μS/cm, or at least 500 μS/cm, at least 1 mS/cm, at least 5, mS/cm, 10 mS/cm, at least 40 mS/cm, at least 80 mS/cm, at least 100 mS/cm, at least 150 mS/cm, at least 200 mS/cm, at least 300 mS/cm, or at least 500 mS/cm. In particular aspects, any salt may be used in preparing the inventive electrokinetically-altered fluids, provided that they allow for formation of biologically active salt-stabilized nanostructures (e.g., salt-stabilized oxygen-containing nanostructures) as disclosed herein.

[0308]

According to particular aspects, the biological effects of the inventive fluid compositions comprising charge-stabilized gas-containing nanostructures can be modulated (e.g., increased, decreased, tuned, etc.) by altering the ionic components of the fluids, and/or by altering the gas component of the fluid.

[0309]

According to particular aspects, the biological effects of the inventive fluid compositions comprising charge-stabilized gas-containing nanostructures can be modulated (e.g., increased, decreased, tuned, etc.) by altering the gas component of the fluid. In preferred aspects, oxygen is used in preparing the inventive electrokinetic fluids. In additional aspects mixtures of oxygen along with at least one other gas selected from Nitrogen, Oxygen, Argon, Carbon dioxide, Neon, Helium, krypton, hydrogen and Xenon. As described above, the ionic components (cation(s) and/or counterion(s)) may also be varied, including along with varying the gas constituent(s).

[0000]

Systems for Making Gas-Enriched Fluids

[0310]

The presently disclosed system and methods allow gas (e.g., oxygen) to be enriched stably at a high concentration with minimal passive loss. This system and methods can be effectively used to enrich a wide variety of gases at heightened percentages into a wide variety of fluids. By way of example only, dissolved oxygen can achieve levels of dissolved oxygen ranging from at least about 5 ppm, at least about 10 ppm, at least about 15 ppm, at least about 20 ppm, at least about 25 ppm, at least about 30 ppm, at least about 35 ppm, at least about 40 ppm, at least about 45 ppm, at least about 50 ppm, at least about 55 ppm, at least about 60 ppm, at least about 65 ppm, at least about 70 ppm, at least about 75 ppm, at least about 80 ppm, at least about 85 ppm, at least about 90 ppm, at least about 95 ppm, at least about 100 ppm, or any value greater or therebetween using the disclosed systems and/or methods. In accordance with a particular exemplary embodiment, oxygen-enriched water may be generated with levels of about 30-60 ppm of dissolved oxygen.

[0311]

Table 4 illustrates various partial pressure measurements taken in a healing wound treated with an oxygen-enriched saline solution (Table 4) and in samples of the gas-enriched oxygen-enriched saline solution of the present invention.

[0312]

TISSUE OXYGEN MEASUREMENTS
Probe Z082BO
In air: 171 mmHg 23° C.
ColumnPartial Pressure (mmHg)
B132-36
B2169-200
B3 20-180*
B440-60
*wound depth minimal, majority >150, occasional 20 s

Rayleigh Effects

[0313]

If a strong beam of light is passed through a transparent gaseous or liquid medium containing solid or liquid particles, or even molecules of extremely high molecular weight, the light is scattered away from the direction of its incident path. The scattering is due to the interference effects that arise from the density fluctuations in the scattering medium (i.e., the presence of particles or very high molecular weight molecules.) There are two types of light scattering. The first involves the wavelength of the scattered light differing from that of the incident light and is called Raman scattering. The other type scattering involves when the scattered light has the same wavelength of the incident light and is called Rayleigh scattering. In Rayleigh scattering, the intensity of the scattered light is proportional to the product of the intensity of the incident light and the attenuation constant, a function of the refractive index and the Rayleigh constant. The Rayleigh constant is a somewhat involved function of the molecular weight of the scattering substance and thus a measurement of the intensity of the scattered light can give a value for the molecular weight. This scattering phenomenon is used in a number of liquid chromatography detectors.

[0314]

Water processed through the mixing device 100 has been demonstrated to have detectible structural differences when compared with normal unprocessed water. For example, processed water has been shown to have more Rayleigh scattering than is observed in unprocessed water. In the experiments that were conducted, samples of processed and unprocessed water were prepared (by sealing each in a separate bottle), coded (for later identification of the processed sample and unprocessed sample), and sent to an independent testing laboratory for analysis. Only after the tests were completed were the codes interpreted to reveal which sample had been processed by the mixing device 100.

[0315]

At the laboratory, the two samples were placed in a laser beam having a wavelength of 633 nanometers. The fluid had been sealed in glass bottles for approximately one week before testing. With respect to the processed sample, Sample B scattered light regardless of its position relative to the laser source. However, “Sample A” did not. After two to three hours following the opening of the bottle, the scattering effect of Sample B disappeared. These results imply the water exhibited a memory causing the water to retain its properties and dissipate over time. These results also imply the structure of the processed water is optically different from the structure of the unprocessed fluid. Finally, these results imply the optical effect is not directly related to DO levels because the DO level at the start was 45 ppm and at the end of the experiment was estimated to be approximately 32 ppm.

Generation of Solvated Electrons

[0316]

Additional evidence indicates that the mixing occurring inside the mixing device 100 generates solvated electrons within the output material 102. This conclusion results from conditions observed with respect to the dissolved oxygen probe effects used in measuring the DO levels within various processed solutions. Due to the experiences viewed with respect to the polarographic dissolved oxygen probes, it is a belief that the processed fluid exhibits an electron capture effect and thus the fluid includes solvated electrons.

[0317]

There are two fundamental techniques for measuring dissolved oxygen (“DO”) levels electrically: galvanic measuring techniques and polarographic measurements. In both techniques, the DO level sensor includes two electrodes, an anode and a cathode, which are both immersed in electrolyte within the sensor body. An oxygen permeable membrane separates the anode and cathode from the solution being tested. The cathode is a hydrogen electrode and carries negative potential with respect to the anode. The electrolyte solution surrounds the electrode pair and is contained by the membrane. With no oxygen, the cathode becomes polarized with hydrogen and resists the flow of current. When oxygen passes through the membrane, the cathode is depolarized and electrons are consumed. In other words, oxygen diffuses across the membrane and interacts with the internal components of the probe to produce an electrical current. The cathode electrochemically reduces the oxygen to hydroxyl ions according to the following equation:
O2+2H2O+4E=4OH

[0318]

When attempting to measure DO levels in a solution processed by the mixing device 100, an overflow condition has been repeatedly experienced wherein the dissolved oxygen meter actually displays a reading that is higher than the meter is capable of reading. Independent means, a Winkler Titration, reveals a much lower DO level for the solution than indicated by the probe. Typically, in a device such as the Orion 862, having a maximum reading of 60 ppm, the meter will overflow and have the high oxygen level indication if left in bulk processed water for several minutes.

[0319]

Because the overload is not caused by dissolved oxygen in the fluid, it is believed solvated electrons must be causing the overload. In other words, solvated electrons are accompanying the processed water across the membrane. These electrons are attracted to the anode and cause the current observed. It is a further belief that these electrons are captured in a cage or cluster mechanism within the solution.

[0000]

Compositions Comprising Forms of Hydrated (Solvated) Electrons Imparted to the Inventive Compositions by the Inventive Processes

[0320]

In certain embodiments as described herein (see under “Double-layer”), the gas-enriched fluid is generated by the disclosed electromechanical processes in which molecular oxygen is diffused or mixed into the fluid and may operate to stabilize charges (e.g., hydrated (solvated) electrons) imparted to the fluid. Without being bound by theory or mechanism, certain embodiments of the present invention relate to an oxygen-enriched fluid (output material) comprising charges (e.g., hydrated (solvated) electrons) that are added to the materials as the first material is mixed with oxygen in the inventive mixer device to provide the combined output material. According to particular aspects, these hydrated (solvated) electrons (alternately referred to herein as ‘solvated electrons’) are stabilized in the inventive solutions as evidenced by the persistence of assayable effects mediated by these hydrated (solvated) electrons. Certain embodiments may relate to hydrated (solvated) electrons and/or water-electron structures, clusters, etc., (See, for example, Lee and Lee, Bull. Kor. Chem. Soc. 2003, v. 24, 6; 802-804; 2003).

[0321]

Horseradish peroxidase (HRP) effects. Horseradish peroxidase (HRP) is isolated from horseradish roots (Amoracia rusticana) and belongs to the ferroprotoporphyrin group (Heme group) of peroxidases. HRP readily combines with hydrogen peroxide or other hydrogen donors to oxidize the pyrogallol substrate. Additionally, as recognized in the art, HRP facilitates auto-oxidative degradation of indole-3-acetic acid in the absence of hydrogen peroxide (see, e.g., Heme Peroxidases, H. Brian Dunford, Wiley-VCH, 1999, Chapter 6, pages 112-123, describing that auto-oxidation involves a highly efficient branched-chain mechanism; incorporated herein by reference in its entirety). The HRP reaction can be measured in enzymatic activity units, in which Specific activity is expressed in terms of pyrogallol units. One pyrogallol unit will form 1.0 mg purpurogallin from pyrogallol in 20 sec at pH 6.0 at 20° C. This purpurogallin (20 sec) unit is equivalent to approx. 18 μM units per min at 25° C.

[0322]

[0323]

It is known that Horseradish peroxidase enzyme catalyzes the auto-oxidation of pyrogallol by way of facilitating reaction with the molecular oxygen in a fluid. (Khajehpour et al., PROTEINS: Struct, Funct, Genet. 53: 656-666 (2003)). It is also known that oxygen binds the heme pocket of horseradish peroxidase enzyme through a hydrophobic pore region of the enzyme (between Phe68 and Phe142), whose conformation likely determines the accessibility of oxygen to the interior. According to particular aspects, and without being bound by mechanism, because surface charges on proteins are known in the protein art to influence protein structure, the solvated electrons present in the inventive gas-enriched fluid may act to alter the conformation of the horseradish peroxidase such that greater oxygen accessibility may result. The greater accessibility of oxygen to the prosthetic heme pocket of the horseradish peroxidase enzyme may in turn allow for increased HRP reactivity, when compared with prior art oxygenated fluids (pressure-pot, fine-bubbled).

[0324]

In any event, according to particular aspects, production of output material using the inventive methods and devices comprises a process involving: an interfacial double layer that provides a charge gradient; movement of the materials relative to surfaces pulling charge (e.g., electrons) away from the surface by virtue of a triboelectric effect, wherein the flow of material produces a flow of solvated electrons. Moreover, according to additional aspects, and without being bound by mechanism, the orbital structure of diatomic oxygen creates charge imbalances (e.g., the two unpaired electrons affecting the hydrogen bonding of the water) in the hydrogen bonding arrangement within the fluid material (water), wherein electrons are solvated and stabilized within the imbalances.

[0325]

Several chemical tests of the inventive oxygen-enriched fluid for the presence of hydrogen peroxide were conducted as described below, and none of these tests were positive (sensitivity of 0.1 ppm hydrogen peroxide). Thus, the inventive oxygen-enriched fluid of the instant application contain no, or less than 0.1 ppm hydrogen peroxide.

[0326]

According to particular aspects, despite the absence of hydrogen peroxide, the inventive combination of oxygen-enrichment and solvated electrons imparted by the double-layer effects and configuration of the presently claimed devices may act to alter the conformation and/or heme group accessibility of the horseradish peroxidase.

[0000]

Glutathione Peroxidase Study

[0327]

The inventive oxygen-enriched output fluid material was tested for the presence of hydrogen peroxide by testing the reactivity with glutathione peroxidase using a standard assay (Sigma). Briefly, glutathione peroxidase enzyme cocktail was constituted in deionized water and the appropriate buffers. Water samples were tested by adding the enzyme cocktail and inverting. Continuous spectrophotometric rate determination was made at A340nm, and room temperature (25 degrees Celsius). Samples tested were: 1. deionized water (negative control), 2. inventive oxygen-enriched fluid at low concentration, 3. inventive oxygen-enriched fluid at high concentration, 4. hydrogen peroxide (positive control). The hydrogen peroxide positive control showed a strong reactivity, while none of the other fluids tested reacted with the glutathione.

Bioreactor Systems Comprising the Inventive Mixing Devices

[0328]

Producing significant quantities of target products, such as proteins, polypeptides, nucleic acids, therapeutic agents, and other products in host cell systems are possible due to advances in molecular biology. For example, recombinant proteins are produced in a host cell systems by transfecting the host cell with nucleic acids (e.g., DNA) encoding a protein of interest. Next, the host cell is grown under conditions which allow for expression of the recombinant protein. Certain host cell systems can be used to produce large quantities of recombinant proteins which would be too impractical to produce by other means.

[0329]

In addition, enzymatic and/or reaction fermentations, with or without host cells, are utilized for example in producing foodstuff and beverages, in treating wastewater, or in environmental cleanup.

[0330]

Cell culturing processes, or cellular fermentation, typically use prokaryotic or eukaryotic host cells to produce recombinant proteins. The fermentation is typically conducted in physical containers (e.g., stirred tanks) called fermentors or tank bioreactors. The fermentation process itself may comprise (1) discontinuous operation (batch process), (2) continuous operation, or (3) semi-continuous operations (such as the fed-batch process), or any combination of these.

[0331]

Since the aim of large scale production of pharmaceutical drugs (e.g., biologicals) or other target products is to provide improved manufacturing processes and reduced costs, there is a need for improved bioreactor equipment, methods, and media for preparation of these target products.

[0332]

The present disclosure sets forth novel gas-enriched fluids, including, but not limited to gas-enriched water, saline solutions (e.g., standard aqueous saline solutions), cell culture media, as well as novel methods and biological and chemical reactor systems for use in these application processes, and others.

[0333]

Certain embodiments disclosed herein relate to systems, media, and methods for producing a target product, such as a protein.

[0334]

In certain embodiments, a target product may refer to a protein, peptide, polypeptide, nucleic acid, carbohydrate, polymer, micelle, and any mixture thereof.

[0335]

The target product is typically produced by a vehicle, such as a host cell, which is associated with the gas-enriched fluid in a chemical or biological reactor. Reactors may include standard reactors, such as continuous feed, discontinuous feed, and/or semi-continuous feed. Reactors may also include a cell culture vessel (such as a plate, flask, or tank), a plant, an animal, a fungus, an algae, or other organism. For example, a plant that is associated with the gas-enriched fluid of the present invention may comprise plant cells acting as vehicles that aid in the production of the target product (for example, naturally occurring plant matter or genetically altered plant matter).

[0336]

In certain embodiments, the vehicles utilized with the gas-enriched fluids or solutions (including media) may include prokaryotic cells or eukaryotic cells. More specifically, the living cells may include bacterial (e.g. E. coli, Salmonella, Streptococcus, Staphylococcus, Neisseria, Nocardia, Mycoplasma, etc.), fungal (e.g. yeasts, molds, mushrooms, etc.), plant (tobacco, maize, soybean, fruit or vegetable, etc.), animal (mammalian, insect, etc.) archebacterial (blue green algae), protist, human embryonic kidney (HEK) cells, HeLa cells, hybridoma cells, Madin-Darby Canine Kidney (MDCK) cells, stem cells, cell lines (including SP2/0 and NSO), African Green Monkey Kidney (Vero) cells, Spodoptera frugiperda (army worm), Trichoplusia ni (cabbage looper), and other cells. In addition, viruses (such as bacteriophage, baculovirus, vaccinia, and other viruses) may be employed in the bioreactors of the present invention.

[0337]

The bioreactor may comprise an airlift reactor, a packed bed reactor, a fibrous bed reactor, a membrane reactor, a two-chamber reactor, a stirred-tank reactor, a hollow-fiber reactor, or other reactor designed to support suspended or immobilized cell growth.

[0338]

In cases of recombinant or target protein production, a balanced batch and/or feed medium must encourage optimal cell growth and expression of the recombinant protein. The medium, or media, is termed “minimal” if it only contains the nutrients essential for growth. For prokaryotic host cells, the minimal media typically includes a source of carbon, nitrogen, phosphorus, magnesium, and trace amounts of iron and calcium. (Gunsalus and Stanter, The Bacteria, V. 1, Ch. 1 Acad. Press Inc., N.Y. (1960)). Most minimal media use glucose as a carbon source, ammonia as a nitrogen source, and orthophosphate (e.g. PO4) as the phosphorus source. The media components can be varied or supplemented according to the specific prokaryotic organism(s) grown, in order to encourage optimal growth without inhibiting target protein production. (Thompson et al., Biotech. and Bioeng. 27: 818-824 (1985)). This allows for higher levels of production with lower cost.

[0339]

In addition to the chemical composition of the media, other factors may affect cell growth and/or target protein production. These factors include, but are not limited to pH, time, cultivation temperature, amount of dissolved oxygen or other gas(es), and partial pressure of those dissolved gasses. During the fermentation process, the pH of the media is typically altered due to the consumption of ammonia, or microorganism synthesis of certain metabolic products, e.g., acetic acid and lactic acid. Since altered pH may be unfavorable for optimal cell growth, it may be necessary or desirable to maintain the medium at a certain pH (i.e., by addition of acids or bases). The pH and other process parameters can be monitored manually or by automatic devices.

[0000]

Inventive Gas-Enriched Fluids

[0340]

Enriching a fluid with another fluid may result in a solution or suspension of the two fluids, depending on the physical and chemical properties of the two fluids. In particular, enriching a liquid with a gas (e.g., oxygen) may be beneficial for certain applications, including therapeutic treatments. As utilized herein, “fluid,” may generally refer to a liquid, a gas, a vapor, a mixture of liquids and/or gases, a liquid and/or gas solution, or any combination thereof, for any particular disclosed embodiment. Furthermore, in certain embodiments a “liquid” may generally refer to a pure liquid or may refer to a gel, sol, emulsion, fluid, colloid, dispersion, suspension, or mixture, as well as any combination thereof; any of which may vary in viscosity.

[0341]

In particular embodiments, the dissolved gas comprises oxygen. In other particular embodiments, the dissolved gas comprises nitrogen, carbon dioxide, carbon monoxide, ozone, sulfur gas, nitrous oxide, nitric oxide, argon, liquefied petroleum gas, helium, natural gas, or others.

[0342]

One particular advantage of embodiments of the present invention relates to the gas-enriched fluids' long-term diffused gas (particularly oxygen) levels, which allows for long-term bio-availability of the gas to cellular or chemical reactors. The long-term bio-availability of gasses in the gas-enriched fluids of the present invention allow for increased target product production and/or improved enzymatic or other chemical reactions that benefit from the gas-enriched fluids (including oxygenated media) of the present invention.

[0343]

In some instances, living cells may be grown in a bioreactor or fermentation chamber in order to promote cell growth and/or production of the intended target product. While some living cells require a mixture of gasses in order to sustain or promote their survival or propagation, cell growth may be hindered or ceased if a particular gas, such as oxygen, is present at too high of a concentration.

[0344]

For example, mammalian cells, such as Chinese Hamster Ovary (CHO) cells, require oxygen in order to proliferate. However, the existing techniques in the art for diffusing gasses, such as oxygen, into the bioreactor fluids have a detrimental effect on mammalian cell cultures. For example, the cells may be destroyed or rendered non-viable in instances where the diffused gas bubbles rupture or coalesce within the culture media, which is particularly common at a gas-to-liquid interface. Accordingly, the present invention represents an advance that would not have occurred in the ordinary course since the existing knowledge in the art teaches that the levels of dissolved gas, particularly the levels of dissolved oxygen, in the gas-enriched media disclosed herein is predicted to be harmful or detrimental. However, the gas-enriched fluid media as described herein result in imparting at least one beneficial advantage to cell cultures selected from the group consisting of: enhanced cell growth (e.g., rate and/or number) increased target product yield (e.g., amount), increased rate of target product production, improved vehicle cell viability, increased efficiency of target product production, increased ease in target product purification, and the like. In certain embodiments, one or more of these beneficial advantages are conveyed to cell cultures without proving injurious to the cells themselves.

[0345]

In other embodiments, an a cellular reaction may utilize the gas-enriched fluids and methods of the present invention, including general chemical and/or enzymatic reactions. Examples of such reactions include, but are not limited to, wastewater treatment, purification of water (such as treating municipal water, home drinking purifiers, cleaning swimming pools or aquariums, etc.), homogenization of milk, hydrogenation of oils, gas-enriching fuels, and others.

[0346]

In further embodiments, the gas-enriched fluid maintains a dissolved gas enrichment level of at least 10 ppm, at least 15 ppm, at least 20 ppm, at least 25 ppm, at least 30 ppm, at least 35 ppm, at least 40 ppm, at least 45 ppm, at least 50 ppm, at least 55 ppm, at least 60 ppm, at least 65 ppm, at least 70 ppm, at least 75 ppm, at least 80 ppm, at least 85 ppm, at least 90 ppm, at least 100 ppm, or any value greater or therebetween, at atmospheric pressure. In certain instances, the gas-enriched fluid maintains its dissolved gas enrichment level (i.e., the level of the gas enriched in the fluid) for a period of at least 10 days, at least 20 days, at least 30 days, at least 40 days, at least 50 days, at least 60 days, at least 70 days, at least 80 days, at least 90 days, at least 100 days, at least 110 days, at least 120 days, at least 130 days, or greater or any value therebetween, within a sealed container at atmospheric pressure. In one particular embodiment, the host material comprises water or water vapor.

[0347]

In another particular embodiment, the host material comprises other fluids (i.e., gasses or liquids) such as wastewater, toxic materials, potable water, milk, juice, yogurt, soft drinks (particularly carbonated beverages), ethanol, methanol, polymers (such as plastic or rubber compounds), oil (edible or non-edible), emulsions, suspensions, aqueous carriers, non-aqueous carriers, and the like.

[0348]

In certain embodiments, multiple gasses may be used to enrich or infuse a host fluid. In certain embodiments, ozone and/or oxygen may be used to break down complex structures into smaller substructures, particularly if used with sonochemistry techniques, as described herein inter alia.

[0349]

In certain embodiments, the gas-enriched fluid or other host material of the present invention has characteristics that may be more similar to the gas that has enriched the fluid or other host material, or it may have characteristics that are more similar to the fluid (e.g., gas or liquid) or other host material itself.

[0350]

In certain embodiments, a gas-enriched fluid or solution comprises gas-enriched culture media. In particular embodiments, the gas-enriched media comprises oxygenated or oxygen-enriched media. In certain embodiments, the gas-enriched fluid or gas-enriched host material may include further processing, such as by filtering, separating, modifying or altering various constituents of the fluid or host material.

[0000]

Packaged Gas-Enriched Fluids

[0351]

Certain embodiments disclosed herein relate to gas-enriched fluids that have high levels of dissolved or diffused gases (particularly oxygen) that may be produced by various methods, including those described herein. In certain embodiments, the gas-enriched fluid may be produced in a biomass production facility and applied directly to a bioreactor system. Alternatively, the gas-enriched fluid may be packaged and distributed for use at other locations. In the event that the gas-enriched fluid is packaged, such packaging may include a sterile package such as a glass or plastic container, flexible foil or plastic pouches, sealed boxes (particularly waxed boxes), and the like. In the case of sealed packages, the gas-enriched fluid may maintain a high level of dissolved or diffused gas for several days, several weeks, or several months. In certain embodiments, the sealed container (i.e., enclosed with a cap, cover or other enclosure that is at least semi-impermeable to gas exchange) maintains the diffused nature of the fluid at least 2 weeks, at least 4 weeks, at least 2 months, at least 4 months, at least 6 months, at least 8 months, at least 10 months, at least 12 months, or any value greater or therebetween.

[0000]

Gas-Enriched Fluids in Biological or Chemical Reactors

[0352]

As illustrated in FIGS. 122 and 123, a biological or chemical reactor system 3300a may be used for conventional large-scale cell-culturing or chemical processing to achieve the production of the target product 3318. The target product 3318 may include, but not be limited to, proteins, antibodies, synthetic peptides, active pharmaceutical agents, foodstuff or beverage products (such as wine; beer; soft drinks; fruit or vegetable juices); plant products (flowers, cotton, tobacco, wood, paper, wood or paper pulp, etc.); ethanol, methanol, paints, fruit or vegetables or fruit or vegetable products such as jellies, jams, sauces, pastes, and the like; cheese or cheese products; nuts or nut products (such as peanut butter, almond paste, etc.); meat or meat products, grain flours or products including bread, cereal, pasta, and the like; slurries or mixtures of any of these, processed polymers (including plastics, and other polymers), petroleum products, and others.

[0353]

In certain embodiments, in the case of using a vessel reactor, such as a tank reactor, the target product resides within inclusion bodies, particularly when E. coli cells are utilized. The target product may be obtained by processing the inclusion bodies, for example by using high-pressure homogenizers or other techniques.

[0354]

In particular embodiments in which the reactor is a biological reactor system, the system 3306 includes a source 3308 of culture cells 3310 to be cultured, a source 3302 of culture media 3304, a biological reactor 3306, and a harvesting and purification system 3316, for producing the target product 3318. The culture cells 3310 are genetically predetermined to produce proteins or the like that constitute the target product 3318, and the culture medium 3304 may comprise a sterile medium of a type that provides nourishment for the proliferation of culture cells 3310. In this particular exemplary embodiment, the sterile medium 3304 is introduced into the internal chamber (which may be referred to as the “fermentation chamber”) of the reactor 3306 from the source 3302. From the source 3308, the culture cells 3310 are provided such that the cells 3310 and medium 3304 are combined into a broth 3312 in the fermentation chamber of the bioreactor 3306.

[0355]

The appropriate base medium 3304 to be utilized in the reactor system 3300a may be formulated to provide optimal nourishment and growth to the cell culture 3310. Medium 3304 is preferably a fluid (e.g., liquid or gas) medium, more preferably a liquid medium or a solid-liquid medium that is selected based on the certain variables, such as the characteristics and objectives of the overall bioreactor system 3300a, the cost, the type of cells being cultured from the cell culture 3310, the desired production parameters, the type of culturing and media management process used in the reactor 3306, the type of downstream harvest and purification processes 3316, and the target active pharmaceutical ingredient 3318. Various cell culture media presently used may be adapted for use or gas-enrichment by the present invention.

[0356]

In certain embodiments, a suitable base medium 3304 may include but not be limited to a serum-supplemented medium, a hydrolysate medium, chemically-synthesized medium, chemically-defined medium, a serum-free medium, any combination of these or other media.

[0357]

In certain embodiments, the gas-enriched media may be supplemented with transferrins, albumins, fetuins, protein hydrolysates, or other additives, preservatives, nutrients, fillers, shear protectants (such as Pluronic F68), or active or inactive agents.

[0358]

In addition, the medium may be formulated for cells that are attached to some type of support within the bioreactor 3306, rather than suspended in the broth 3312. In all embodiments that utilize a medium 3304, the medium 3304 is formulated to meet the nutritional requirements of the individual cell type in the cell culture 3310, and typically comprise minerals, salts, and sugars.

[0359]

In certain embodiments, medium 3304 and/or broth 3312 are gas-enriched using the presently disclosed mixing devices 100, in order to dissolve or diffuse gases (such as oxygen) into, for example, the media, both or components thereof, in concentrations of at least about 8 ppm, at least about 10 ppm, at least about 20 ppm, at least about 25 ppm, at least about 30 ppm, at least about 35 ppm, at least about 40 ppm, at least about 50 ppm, at least about 60 ppm, at least about 70 ppm, at least about 80 ppm, at least about 90 ppm, at least about 100 ppm, or any value greater or therebetween. In certain embodiments, the gas-enriched medium and/or broth contains less than about 160 ppm.

[0360]

In certain embodiments, the typical biological or chemical reactor is loaded with sterilized raw materials (nutrients, reactants, etc.) along with air or specific gas, as well as cells for a biological reactor. Other agents may be added to the mixture, including anti-foaming chemicals or agents, pH controlling agents, and/or other agents. The target product is typically recovered by separating the cells, and/or disrupting the cells in order to extract the product, concentrating the product, and purifying, drying, or further processing the product.

[0361]

Many different types of bioreactor systems are in use today, any of which can be used with the gas-enriched media of the present invention. For example, air-lift bioreactors are commonly used with bacteria, yeast and other fungi; fluidized-bed bioreactors are commonly used with immobilized bacteria, yeast and other fungi, as well as activated sludge; microcarrier bioreactors are commonly used with mammalian cells immobilized on solid particles; surface tissue propagators are commonly used with mammalian cells, tissue grown on solid surfaces, and tissue engineering; membrane bioreactors, hollow fibers and roto-fermentors are typically used with bacteria, yeast, mammalian cells, and plant cells; modified stir-tank bioreactors are commonly used with immobilized bacteria, yeast, and plant cells; modified packed-bed bioreactors are commonly used with immobilized bacteria, yeast, and other fungi; tower and loop bioreactors are commonly used with bacteria and yeast; vacuum and cyclone bioreactors are commonly used with bacteria, yeast, and fungi; and photochemical bioreactors are commonly used with photosynthetic bacteria, algae, cyanobacteria, plant cell culture, and/or DNA plant cells.

[0362]

Since living cells, including bacteria, yeast, plant cells, mammalian cells, and fungal cells require molecular oxygen as an electron acceptor in the bioxidation of substrates (such as sugars, fats, and proteins), cell culture media that is highly oxygenated is beneficial to the living cells. In a standard oxidation-reduction reaction, glucose is oxidized to make carbon dioxide, while oxygen is reduced to make water. Molecular oxygen accepts all of the electrons released from the substrates during aerobic metabolism. Thus, in order to provide the maximum amount of bio-available oxygen to the growing cells, it is necessary to ensure that the oxygen transfer from the air bubbles (gas phase) to the liquid phase occurs quickly. When no oxygen accumulates in the liquid phase, the rate of the oxygen transfer is the same as the rate of the oxygen uptake by the growing cells.

[0363]

The oxygen requirements of microorganisms is defined as a standard formula, that is in units of QO2. Where QO2is the mass of oxygen consumed divided by the unit weight of dry biomass cells in the bioreactor multiplied by time. Conversely, the rate of accumulation of oxygen is equal to the net rate of oxygen supply from air bubbles minus the rate of oxygen consumption by cells.

[0364]

In addition to a multitude of bioreactor types, each bioreactor may utilize a particular impeller type or types, such as marine-type propellers, flat-blade turbines, disk flat-blade turbines, curved-blade turbines, pitched-blade turbines, paddles, and shrouded turbines. The impeller or turbine may create a vortex pattern of mixing in the bioreactor, or a uniform mixing.

[0365]

In certain embodiments, the gas-enriched fluid of the present invention relates to a sustained bio-availability of the gas such that a gradual release of the gas occurs over time. This gradual or “time” release is beneficial to the vehicles, such as cultured cells, particularly when the gas released from the gas-enriched fluid comprises oxygen. Thus, fermentation, or the biochemical synthesis of organic compounds by cells 3310, typically involve a relatively fast growth phase, facilitated by the concentrations of diffused or dissolved gas in the broth 3312, as well as by temperature control and by mixing the medium 3304 and the cell culture 3310 in the fermentation chamber of the bioreactor 3306. Particular exemplary embodiments are depicted in the figures, but may include additional components or tanks. Mixing may be enhanced by rotating vanes or the like within bioreactor 3306, and by reintroduction of fresh and/or freshly re-diffused supplies of medium 3304 from any of the lines 3332, 3338 or 3334, as described herein inter alia.

[0366]

In one particular exemplary embodiment depicted in FIG. 122, the enrichment processing of the medium and/or broth to introduce the gas (e.g., oxygen) in a cell culture medium may occur at various points in the system. For example, the medium may be gas-enriched prior to introducing the medium 3304 into the system 3300a at source 3302, or after such introduction at one or more locations “A,” “B,” “C,” “D,” “E” or combinations thereof. Gas-enriched fluid that may be introduced at the source 3302, whether enriched at the site of the bioreactor or at a separate location. If the gas-enriched fluid is enriched at a separate location, it may be transported to the source 3302 in appropriate containers or plumbing.

[0367]

In certain embodiments, each of the locations “A,” “B,” and “C,” of FIG. 122 represent alternative locations for introduction of a gas-enrichment diffuser device 1—within the bioreactor system 3300A. In the event that the introduction occurs at point “A,” the flow of medium from tank 3304 through the upper section of 3332A of 3332, the medium may be directed through the gas-enrichment mixer/diffuser device 100 located at position “A,” and medium 3304 with dissolved gases therein proceeds from the mixer/diffuser device 100 through 3332B and into the fermentation chamber of the bioreactor 3306.

[0368]

With reference to FIG. 123, the medium 3304 from tank 3302 may be directed through line 3332A into a pump 3410 and, subsequently into the host material input of the gas-enrichment diffuser device 100. The pump 3410, is preferably a variable speed pump, which may be controlled by a controller 3390, based, in part, on pressure readings detected by pressure sensor 3415. While certain embodiments will utilize manual gauges as pressure detectors, from which an operator may manually adjust the speed of the pump 3410, and other components of the system 3300a or 3300b, controller 3390 preferably receives an electrical signal from sensor 3415 such that controller 3390 will automatically adjust the speed of pump 3410. As will be evident from further descriptions herein, the speed of pump 3410 may also be based on algorithms within the controller 3390 which depend, in part, on the state of other components of the system 3400 (such as valves 3420, 3421 and sensors 3425).

[0369]

Alternatively, the gas-enrichment mixer/diffuser device 100 may be positioned at location “B” such that the medium 3304 is processed together with medium 3310. In this particular case, cells 3310 and medium 3304 are mixed in flow using a conventional mixing nozzle and subsequently introduced into the mixer/diffuser device 100, where beneficial gases are infused into the mixed liquid of medium 3304 and cells 3310. The resulting gas-enriched medium is then directed into the fermentation tank of the bioreactor 3306.

[0370]

As shown in FIG. 122, cells 3310 may be combined with medium 3304, and following fermentation and/or development of the target product, the contents of the bioreactor 3306 may then be directed through line 3336 to a harvesting and purification stage. Once purified, the target product is directed through line 3339 to a target production tank 3318.

[0371]

With reference to FIG. 123, in certain embodiments, the gas-enrichment mixer/diffuser device 100 combines the flow of a medium 3304 with a flow of a gas from line 3426. Preferably, the gas to be combined with medium 3304 flows from an oxygen tank 3450 and is metered by a valve 3420, which is controlled by controller 3390.

[0372]

In certain embodiments, the gas-enrichment mixer/diffuser device 100 is directed through line 3332b directly into the fermentation tank by a reactor 3306. Alternatively, the gas-enriched fluid may be directed through line 3332b to another blending.

[0373]

With reference to FIG. 122, a bioreactor system 3300a, may include an additional system (such as a perfusion system) 3314 that begins processing the broth from the bioreactor 3306. During the perfusion process 3314, the medium 3304 is continuously added to the broth 3312 to nourish the cell culture 3310, which is then mixed throughout the broth 3312. Simultaneously, cell or other waste may be continuously removed from the broth 3312, typically at the same rate as new medium 3304 is added. As indicated herein above, gas-enrichment may also occur at positions “D” or “E,” or at both positions “D” and “E.”

[0374]

The perfusion system can allow for removal of cellular waste and debris, as well as the target product, while retaining the cells in the bioreactor 3306. The perfusion system thus reduces waste accumulation and nutrient fluctuations, thereby allowing for higher cell density and productivity. Retention of the cells in the bioreactor may be achieved through various methods, including centrifugation, internal or external spin filters, hollow fiber modules, cross-flow filtration, depth filtration, any combination of these or other means. In other embodiments, the accumulation of waste products may be regulated by use of a glutamine synthetase expression system.

[0375]

With reference to FIG. 124, particular exemplary embodiments utilize multiple gas sources 3502 and 3504 as shown, such that the nature of the gas being diffused into the broth 3312 can be changed depending on the stage of fermentation within the bioreactor 3306. Hence, in a preferred embodiment, the cell culture medium is enriched with oxygen during the proliferative phase of fermentation. Subsequently, carbon dioxide, nitrous oxide, or another gas may be substituted to facilitate other stages of the fermentation process, particularly with processes that vary from aerobic to anaerobic.

[0376]

The bioreactor may comprise an airlift reactor, a packed bed reactor, a fibrous bed reactor, a membrane reactor, a two-chamber reactor, a stirred-tank reactor, a hollow-fiber reactor, or other reactor designed to support suspended or immobilized cell growth.

[0377]

In one particular embodiment, the bioreactor 3306 is a continuous stirred-tank reactor, comprising heat exchange and refrigeration capabilities, sensors, controllers, and/or a control system to monitor and control the environmental conditions within the fermentation chamber. Monitored and controlled conditions may include gas (e.g. air, oxygen, nitrogen, carbon dioxide, nitrous oxide, nitric oxide, sulfur gas, carbon monoxide, hydrogen, argon, helium, flow rates, temperature, pH, dissolved oxygen levels, agitation speed, circulation rate, and others. Additionally, the bioreactor 3306 may further comprise Cleaning-in-Place (CIP) or Sterilization-in-Place (SIP) systems, which may be cleaned and/or sterilized without assembly or disassembly of the units.

[0378]

In one particular embodiment, the bioreactor 3306 performs a continuous fermentation cycle, continuously adding medium 3304 to the fermentation system with a balancing withdrawal, or harvest, of the broth 3312 for target product extraction.

[0379]

In alternate embodiments, the bioreactor 3306 may perform batch fermentation cycles, fed-batch fermentation cycles, or fed-batch fermentation cycles with the gas-enriched fluids. Typically, batch fermentation cycles—in which all of the reactants are loaded simultaneously—are used for small scale operations or for the manufacture of expensive products or for processes that may be difficult to convert into continuous operations. In a typical process, the broth is fermented for a defined period to completion, without further additions of the medium. The concentration varies with time, but is typically uniform at any one particular time point. Agitation serves to mix separate feed lines as well as enhance heat transfer.

[0380]

For batch fermentation, typically the total mass of each batch is fixed, each batch is a closed system, and the reaction or residence time for all reactants of the medium is the same. After discharging the batch, the fermentation chamber is cleaned and re-started with the medium 3304 for another batch cycle. Separation or purification of the desired product from the other constituents in the harvest broth 3312, may include further processing, including refolding, altering affinity, ion exchange purification, alteration of hydrophobic interactions, gel filtration chromatography, ultra filtration and/or diafiltration, depending on the target product.

[0381]

For fed-batch fermentation, typically an initial, partial charge or aliquot of medium 3304 is added to the fermentation chamber, and subsequently inoculated with cell culture 3304. The medium 3304 may be added at measured rates during the remainder of the fermentation cycle. The cell mass and the broth 3312 are typically harvested only at the end of the cycle.

[0382]

Following harvest and purification of the target product (step 3316), (typically once the cell culture 3310 has attained a peak cell growth density within the bioreactor 3306), the purified product 3318 (in some cases, a pharmaceutical drug or Active Pharmaceutical Ingredient, or API) is attained. The purified product may then be processed as desired and optionally packaged in appropriate containers during a sterile packaging process 3322 for transfer to a pharmaceutical manufacturing plant, or other facility. The purified product may then be used for any desired purpose, including for prevention, treatment, and/or diagnosis of disease.

[0000]

Plants and Animals as Reactors

[0383]

In addition, a reactor may include a plant or animal, which is used to generate a plant or animal product, or recombinant product. In certain embodiments, the plant or animal target product may be a naturally occurring product (e.g., food bearing crops or meat, or textile-related products such as cotton fibers, etc.), or the target product may be a genetically altered product (for example, therapeutic agents, such human growth hormone or insulin or other biologically active proteins and polypeptides). A genetically altered or recombinant product may be produced by a transgenic or genetically altered plant, animal, or combination thereof.

[0000]

Fish Culture

[0384]

Fish (e.g., Tilapia fish) may be grown in aquaculture for food, or as a transgenic vehicle for production of a target product. The preferred temperature range for optimum tilapia growth is 82°-86° F. Growth diminishes significantly at temperatures below 68° F. and death will typically occur below 50° F. Also, at temperatures below about 54° F., the immune resistance of Tilapia declines and the animals are easily subjected to infection by bacteria, fungi, and parasites.

[0385]

Twenty years ago, aquaculture researchers in Nigeria attempted to correlate dissolved oxygen concentrations in pond waiter with Tilapia growth rates. UN FAO reports: The study was conducted by examining growth rates of young Tilapia at high dissolved oxygen levels (approximately 7.0 ppm); at mid-level DO (approximately 3.5 ppm); and at low DO levels (less than 2 ppm). The growth rates were determined by measuring the weight of the fish. The final increase in weight at the end of the research was 19 grams for the high DO level fish; 5 grams for the mid-level DO fish; and 1.5 g for the low DO level fish. This represents to a 74% and 92% reduction in growth rates correlating to the DO levels. Thus, as the DO levels decrease, the feeding and waste output also decrease. It was observed that the Tilapia in the low DO level water break the surface of the water in order to access ambient oxygen required for survival.

[0386]

The gas-enriched fluids of the present invention further include oxygenated freshwater supplies in which the high dissolved oxygen levels in the water are maintained for extended periods of time. According to particular aspects, using the diffuser device of the present invention in an aquaculture setting, dissolved oxygen levels of over 35 ppm can be recorded in 103° F. water without significantly stressing the aquatic life.

[0000]

Plant Growth

[0387]

In addition to animal growth, the gas-enriched fluids of the present invention may be utilized for plant growth and development. Gases (such as oxygen) are required for plant root respiration, which allows for the release of energy for growth, as well as water and mineral uptake. Plant growth has been widely and unequivocally proven to be boosted by maintaining high gas (e.g., oxygen and/or nitrogen) levels within the root zone. In this regard, increasing gas delivery to plant root systems represents a potential for crop improvement through boosting root activity. Likewise, in embodiments in which transgenic plants are grown, increasing gas delivery to the plants may provide for increased production of the target product (such as a therapeutic or biopharmaceutical product).

[0388]

Hydroponic crops represent one exemplary system for production which may greatly benefit from the gas-enrichment diffuser devices of the present invention through direct gas-enrichment (e.g., oxygenation) of the nutrient solution bathing the root zone. Hydroponic crops are typically produced in a limited volume of growing media or root area and as such need constant replacement of gases (e.g., oxygen) within the root zone. Hydroponic crops such as lettuce, spinach, tomatoes, and cucumbers have already demonstrated a direct and significant response to the gas-enriched nutrient solution. Some of these responses include increases in plant growth, increases in root volume, increases in plant yield, and higher quality produce. Thus, hydroponic systems may benefit from the gas-enriched fluids of the present invention.

[0389]

Other hydroponic crops have had similar responses to gas-enrichment in the root zone. However, at warm temperatures, crop production declines due to the increased requirement for gases (such as oxygen) in the root zone. Thus, enrichment is effective for preventing gas-starvation of root cells, as well as boosting growth under less than favorable growing conditions.

[0390]

Typically tropical crops that are able to be grown at high densities due to high light levels and rapid rates of development (and high root zone temperatures) have a gas requirement that is many times greater than those grown in more temperate climates. Thus, gas-enrichment will become necessary in many systems of horticulture production. Highly populated countries, which rely heavily on producing intensive horticultural crops for income and sustenance from very limited areas of land, will benefit greatly from this technology.

[0391]

Soil-based cropping systems can also benefit from the gas-enriched solutions of the present invention. Many crops are fed via drip, trickle, or furrow irrigation and could potentially benefit greatly from the use of gas-enriched irrigation water or fertigation solutions. Such crops include, but are not limited to: vegetables (tomatoes, salad crops such as lettuce, herbs, cucurbits), cut flowers, ornamental flowers, turf, vineyards, orchards, and long-term plantings. Gases, such as oxygen, can directly impact the health and growth of the plant but can also act indirectly by increasing the bio-availability of gases (e.g., oxygen) at the root zone, and can also improve the health of the plant by promoting microbial life in the soil.

[0392]

With regard to the microbial life in the soil, the microbial populations are essential for mineral conversion in the soil and organic systems and overall plant health through suppression of plant diseases. While these microbes are beneficial and often essential for crop production, the populations also require gases (e.g., oxygen), which can compete with the gases for plant root cells. Thus, supplying gases (e.g., oxygen) to the plant roots in order to enable microbial life to flourish is vital to both organically grown crops, as well as standard growing conditions. High rates of gases supplied to the growing media/soil in organic systems would potentially speed up the rate of organic fertilizer conversion and mineralization of plant usable nutrients, thus increasing the health and productivity of highly profitable organic crops.

[0393]

In addition, the available land for growing crops represents a challenge in many countries with limited resources or unsuitable soils.

[0394]

In addition to hydroponic crops, the technology disclosed herein may apply to seed germination, seed raising, cell transplant production, propagation from cuttings, sprout production, animal fodder production, soil based cropping, turf industries, ornamental plants, and medicinal plants.

[0000]

Systems for Making Gas-Enriched Fluids

[0395]

As shown here, exemplary oxygenation systems comprises a supply or reservoir of fluid which is drawn up and circulated through tubing or other conduits by a pump which subsequently delivers the fluid to the mixer/diffuser. The mixer/diffuser may be of any number of various embodiments including those set forth and described herein above. These diffusers significantly increase the amount of dissolved gas (e.g., oxygen) present in a fluid by introducing, for example, gaseous oxygen to the fluid using a diffuser having coaxial cylindrical or frusto conical stator and rotor components rotating discs or plates within a housing, Mazzie diffusers and impellers to create the desired cavitation and succussion desired for mixing of the fluid and the gas. It should be noted that many of the fluids will be aqueous or water-based, but that the present invention is not limited to these.

[0396]

The diffuser is supplied with fluid by the pump and combines this with, for example, gaseous oxygen from supply and returns the oxygenated (or otherwise gas-enriched) fluid to the reservoir. The diffuser may employ any number of possible embodiments for achieving diffusion including, but not limited to, micro-membrane, Mazzie injector, fine bubble, vortexing, electromolecular activation, or other methods. The oxygen supply may be either a cylinder of compressed oxygen gas or a system for generating oxygen gas from the air or other chemical components. The oxygenated fluid produced by the diffuser is returned to the reservoir and may be recirculated through the pump and/or the diffuser again to further increase the dissolved oxygen content. Alternatively, the fluid may be drawn off using the oxygenated fluid outlet. Oxygenated fluids which are drawn off through the outlet may be immediately put to use in various applications or may be packaged for later use.

[0397]

The packaging step may enclose gas-enriched (e.g., oxygenated) fluids in a variety of bottles, bags or other containers formed of plastic, metal, glass, or other suitable materials. Although the gas-enriched or oxygenated fluids produced in accordance with the present invention have a relatively long shelf life under atmospheric conditions, the shelf life may be further extended by using packaging which hermetically seals the gas-enriched fluid. In this manner, dissolved oxygen which works its way out of the fluid during storage will form a pressure head above the gas-enriched fluid and help to prevent the migration of dissolved oxygen, or other gas, out of the fluid and back into the atmosphere. In one preferred embodiment of the present invention the gas-enriched fluid is packaged in an air tight container and the void space is filled with the gas used for enrichment at a pressure of greater than one atmosphere prior to sealing the container. The packaging step may be used to produce bottles, bags, pouches, or other suitable containers for holding oxygenated solutions.

[0398]

The presently disclosed systems and/or methods allow oxygen, or other gases, to be dissolved stably at a high concentration with minimal passive loss. These systems and/or methods can be effectively used to dissolve a wide variety of gases at heightened percentages into a wide variety of fluids. By way of example only, a deionized water at room temperature that typically has levels of about 7-9 ppm (parts per million) of dissolved oxygen can achieve levels of dissolved oxygen ranging from about 8-70 ppm using the disclosed systems and/or methods. In accordance with a particular exemplary embodiment, an oxygenated water or saline solution may be generated with levels of about 30-60 ppm of dissolved oxygen.

[0000]

Culturing Chinese Hamster Ovary Cells

[0399]

Chinese Hamster Ovary (CHO) cells are mammalian cells that are frequently utilized in expression and production of recombinant proteins, particularly for those that require post-translational modification to express full biological function.

[0400]

According to particular aspects, various characteristics of CHO cells can be improved by integrating either a gas-enriching diffuser device 100 or gas-enriched media produced by the device 100 and integrated into a CHO bioreactor.

[0401]

According to particular aspects, in the cultivation of CHO cells, it is possible to utilize the gas-enriched fluids or media of the present invention including with a cell-line specific, serum-free medium (for example from SAFC Biosciences, Inc.) for long-term growth of transformed CHO cells. According to additional aspects, CHO cells are not harmed by passing through the gas-enrichment diffuser device in the process of gas-enriching fluids (including media).

[0402]

A test was conducted that measured the survival of CHO cells in an inline bioreactor. Briefly, the inline bioreactor was used with 2 L of CHO media, and CHO cells at a density of 106or higher. The bioreactor was run for approximately 10 minutes (including the gas-enriching diffuser), and a 25 mL sample was removed. Cells were stained with 0.4% Trypan Blue, and cell viability was assessed with a hemacytometer. According to this measure, CHO cells were not significantly harmed by passing through the gas-enrichment diffuser device in the process of gas-enriching fluids (including media).

[0403]

The foregoing described embodiments depict different components contained within, or connected with, different other components. It is to be understood that such depicted architectures are merely exemplary, and that in fact many other architectures can be implemented which achieve the same functionality. In a conceptual sense, any arrangement of components to achieve the same functionality is effectively “associated” such that the desired functionality is achieved. Hence, any two components herein combined to achieve a particular functionality can be seen as “associated with” each other such that the desired functionality is achieved, irrespective of architectures or intermedial components. Likewise, any two components so associated can also be viewed as being “operably connected,” or “operably coupled,” to each other to achieve the desired functionality.

[0404]

While particular embodiments of the present invention have been shown and described, it will be obvious to those skilled in the art that, based upon the teachings herein, changes and modifications may be made without departing from this invention and its broader aspects and, therefore, the appended claims are to encompass within their scope all such changes and modifications as are within the true spirit and scope of this invention. Furthermore, it is to be understood that the invention is solely defined by the appended claims. It will be understood by those within the art that, in general, terms used herein, and especially in the appended claims (e.g., bodies of the appended claims) are generally intended as “open” terms (e.g., the term “including” should be interpreted as “including but not limited to,” the term “having” should be interpreted as “having at least,” the term “includes” should be interpreted as “includes but is not limited to,” etc.). It will be further understood by those within the art that if a specific number of an introduced claim recitation is intended, such an intent will be explicitly recited in the claim, and in the absence of such recitation no such intent is present. For example, as an aid to understanding, the following appended claims may contain usage of the introductory phrases “at least one” and “one or more” to introduce claim recitations. However, the use of such phrases should not be construed to imply that the introduction of a claim recitation by the indefinite articles “a” or “an” limits any particular claim containing such introduced claim recitation to inventions containing only one such recitation, even when the same claim includes the introductory phrases “one or more” or “at least one” and indefinite articles such as “a” or “an” (e.g., “a” and/or “an” should typically be interpreted to mean “at least one” or “one or more”). the same holds true for the use of definite articles used to introduce claim recitations. In addition, even if a specific number of an introduced claim recitation is explicitly recited, those skilled in the art will recognize that such recitation should typically be interpreted to mean at least the recited number (e.g., the bare recitation of “two recitations,” without other modifiers, typically means at least two recitations, or two or more recitations).

[0405]

Accordingly, the invention is not limited except as by the appended claims.

EXAMPLES

Example 1

Dissolved Oxygen Stability

[0406]

As indicated in FIG. 30, there is illustrated the dissolved oxygen levels in a 500 ml thin-walled plastic bottle and a 1000 ml glass bottle which were each capped and stored at 65 degrees Fahrenheit.

[0407]

As can be seen, when the plastic bottle is opened approximately 65 days after bottling, the dissolved oxygen level within the water is approximately 27.5 ppm. When a second bottle is opened at approximately 95 days after bottling, the dissolved oxygen level is approximately 25 ppm. Likewise, for the glass bottle, the dissolved oxygen level is approximately 40 ppm at 65 days and is approximately 41 ppm at 95 days. Thus, this chart indicates that the dissolved oxygen levels within both plastic and glass bottles are maintained at relatively high rates at 65° Fahrenheit when the oxygen is diffused within the fluid using the described system and method.

Example 2

Decayed Oxygen Content in Balanced Salt Solution

[0408]

FIG. 33 illustrates the dissolved oxygen retention of a 500 ml balanced salt solution that originally had a dissolved oxygen level of 5 ppm. Following enrichment of the solution at standard temperature and pressure with the diffuser of the present invention, the dissolved oxygen level was approximately 41 ppm. The solution was kept in an amber glass bottle. After an hour, the dissolved oxygen level was 40 ppm; 36 ppm after two hours; 34 ppm after three hours; and slightly more than 30 ppm after approximately four and a half hours. The final measurement was taken shortly before six hours, at which point the dissolved oxygen level was approximately 28 ppm.

Example 3

Microbubble Size

[0409]

Experiments were performed with a gas-enriched fluid by using the diffuser of the present invention in order to determine a gas microbubble size limit. The microbubble size limit was established by passing the gas enriched fluid through 0.22 and 0.1 micron filters. In performing these tests, a volume of fluid passed through the diffuser of the present invention and generated a gas-enriched fluid. Sixty milliliters of this fluid was drained into a 60 ml syringe. The dissolved oxygen level of the fluid within the syringe was then measured by Winkler titration. The fluid within the syringe was injected through a 0.22 micron Millipore Millex GP50 filter and into a 50 ml beaker. The dissolved oxygen rate of the material in the 50 ml beaker was then measured. The experiment was performed three times to achieve the results illustrated in Table 5 below.

[0410]

42.1 ppm39.7 ppm
43.4 ppm42.0 ppm
43.5 ppm39.5 ppm

[0411]

As can be seen, the dissolved oxygen levels that were measured within the syringe and the dissolved oxygen levels within the 50 ml beaker were not significantly changed by passing the diffused material through a 0.22 micron filter, which implies that the microbubbles of dissolved gas within the fluid are not larger than 0.22 microns.

[0412]

A second test was performed in which a batch of saline solution was enriched with the diffuser of the present invention and a sample of the output solution was collected in an unfiltered state. The dissolved oxygen level of the unfiltered sample was 44.7 ppm. A 0.1 micron filter was used to filter the oxygen-enriched solution from the diffuser of the present invention and two additional samples were taken. For the first sample, the dissolved oxygen level was 43.4 ppm. For the second sample, the dissolved oxygen level was 41.4 ppm. Finally, the filter was removed and a final sample was taken from the unfiltered solution. In this case, the final sample had a dissolved oxygen level of 45.4 ppm. These results were consistent with those in which the Millipore 0.22 micron filter was used. Thus, the majority of the gas bubbles or microbubbles within the saline solution are approximately less than 0.1 microns in size.

Example 4

Sparging Effects

[0413]

FIGS. 34 and 35 illustrate the sparging effects of the diffuser of the present invention on a fluid passing therethrough. The sparging of oxygen-enriched water occurred in an 8 gallon tank at standard temperature and pressure. As indicated, initially the oxygen-enriched water had a dissolved oxygen level of approximately 42 ppm. After 2 minutes of running through the diffuser, the nitrogen had sparged the oxygen-enriched water such that the dissolved oxygen level was then slightly more than 20 ppm. At 6 minutes, the dissolved oxygen level was approximately 6 ppm. The dissolved oxygen level of the oxygen-enriched water reached a minimum value slightly greater than zero (0) at approximately 14 minutes after the beginning of the process. These figures illustrate the manner in which nitrogen may be diffused into water to sparge the oxygen from the water. However, any gas could be used within any fluid to sparge one gas from the other and diffuse the other gas into the fluid. The same experiment could utilize any host fluid material, and any fluid infusion material.

Example 5

Rayleigh Effects

[0414]

Fluids processed through the diffuser device described herein exhibit differences within the structure of the water when compared with normal unprocessed water. Gas-enriched water made by embodiments disclosed herein has been shown to have more Rayleigh scattering compared to unprocessed water.

[0415]

In experiments conducted, samples of gas-enriched and non-enriched water were prepared and sent for optical analysis. The purpose of these tests was to determine whether there are any gross optical differences between normal (unprocessed) deionized water and water enriched by the diffuser device of the present invention.

[0416]

The two samples, were coded to maintain their identities in secrecy, and only after the tests were completed were the samples identified. The two samples were placed in a laser beam of 633 nanometers according to the diagram illustrated in FIG. 37A. Sample B, which was gas-enriched fluid according to certain embodiments disclosed herein, exhibited scattered light regardless of its position relative to the laser source. The Sample B fluid had been sealed in glass bottles for approximately one week. After two to three hours of opening the bottle, the scattering effect disappeared. Thus, the structure of the gas-enriched fluid is optically different from the structure of the unprocessed fluid. The optical effect is not directly related to dissolved oxygen levels since the dissolved oxygen level at the start was approximately 45 ppm and at the end of the experiment was estimated to be approximately 32 ppm. Results are shown in FIG. 37B.

Example 6

Generation of Solvated Electrons

[0417]

Additional evidence has also suggested that the enriching process generated by the diffuser device of the present invention results in solvated electrons within the gas-enriched fluid. Due to the results of the polarographic dissolved oxygen probes, it is believed that the diffused fluid exhibits an electron capture effect and thus the fluid may include solvated electrons within the gas-enriched material.

[0418]

There are two fundamental techniques for measuring dissolved oxygen levels electrically: galvanic measuring techniques and polarographic measurements. Each process uses an electrode system wherein the dissolved oxygen levels within the solution being tested react with a cathode of the probe to produce a current. Dissolved oxygen level sensors consist of two electrodes, an anode and a cathode, which are both immersed in electrolyte within the sensor body. An oxygen permeable membrane separates the anode and cathode from the solution being tested. Oxygen diffuses across the membrane and interacts with the internal components of the probe to produce an electrical current. The cathode is a hydrogen electrode and carries negative potential with respect to the anode. The electrolyte solution surrounds the electrode pair and is contained by the membrane. When no oxygen is present, the cathode is polarized by hydrogen and resists the flow of current. When oxygen passes through the membrane, the cathode is depolarized and electrons are consumed. The cathode electrochemically reduces the oxygen to hydroxyl ions according to the following equation:
O2+2H2O+4E=4OH

[0419]

When performing dissolved oxygen level measurements of a gas-enriched solution according to the systems of the present invention, an overflow condition has been repeatedly experienced wherein the dissolved oxygen meter displays a reading that is higher than the meter is capable of reading. However, evaluation of the gas-enriched solution by Winkler Titration indicates lower dissolved oxygen (DO) level for the solution than indicated by the probe. Typically, a DO probe (such as the Orion 862 used in these experiments) has a maximum reading of 60 ppm. However, when the meter is left in gas-enriched water of the present invention, it overflows.

[0420]

Without wishing to be bound by any particular mechanism of action, the mechanism of the meter responds to electrons where the oxygen reacts. However, according to electron spin resonance, no free ions are present in the fluid. Thus, the fluid presumably contains solvated electrons stabilized by the oxygen species that is also present in the fluid.

Example 7

In Vitro Wound Healing

[0421]

The effects of a gas-enriched fluid (enriched with oxygen) were tested for the ability of cultured human epidermal keratinocytes to seal a wound.

[0422]

Human epidermal keratinocytes were isolated from neonatal foreskins that were obtained from routine circumcision and de-identified. Foreskins were washed twice in PBS and incubated in 2.4 U/mL Dispase II in order to separate the dermis from the epidermis. The epidermis was incubated with 0.25% trypsin/1 mM EDTA, neutralized with soy bean trypsin inhibitor, agitated, and passed through a 70 um sieve to separate the cells. Next, the cell suspension was centrifuged and resuspended in cell culture medium (M154) supplemented with 0.07 mM CaCl2, and human keratinocyte growth supplements (0.2% hydrocortisone, 0.2 ng/mL human epidermal growth factor) and penicillin/streptomycin, amphoteracin antibiotic cocktail. The keratinocyte cell suspensions were plated onto uncoated 12-well culture dishes and the medium replaced after 24 hours, and every 48 hours after the initial seeding.

[0423]

Upon reaching cellular confluence, linear scratches were made with a sterile p1000 pipette tip, which resulted in a uniform cell-free wound. The monolayers were washed several times with Dulbecco's PBS in order to remove any cellular debris. The wound monolayers were then incubated in the following media: i) the complete growth media (as described above in this Example); ii) the complete growth media diluted 1:1 with a sheared version of saline without oxygen (control fluid that was processed using the disclosed diffuser device but without adding a gas); and iii) the complete growth media diluted 1:1 with oxygen-enriched saline. Each study was done in triplicate.

[0424]

Prior to incubation, the wells were filled with the respective media and sealed by placing a 25×25 mm glass coverslip on top of each well. At 6, 12, 24, and 48 hours post-wounding, oxygen measurements were made, and cultures were imagined.

[0425]

Six hours post-wounding, the edges of the wounds in the saline and gas-enriched media were more ruffled than those in the media control that was processed with the diffuser device disclosed herein, but without the addition of a gas. Twelve hours post-wounding the edges of the wounds in all three media appeared uneven, with keratinocytes along the borders migrating toward the center of the wounds. Quantification of migrating keratinocytes revealed approximately the same level of keratinocyte migration in the saline and gas-enriched media. Results of the experiment are shown in FIGS. 40A and 40B.

Example 8

Improved Wound Healing

[0426]

A study was performed to determine the improved healing characteristics of wounds that were exposed to an oxygen-enriched saline solution that was processed according to embodiments disclosed herein. In this experiment, bandages were placed on porcine dermal excision biopsy wounds. The bandages soaked in oxygen-enriched saline solution or a control group of bandages soaked in a saline solution that was not oxygen-enriched. Microscopically, several factors were evaluated by the study including: 1) epidermalization; 2) neovascularization; 3) epidermal differentiation; 4) mast cell migration; and 5) mitosis.

[0427]

Externally, the wounds appeared to heal at varying rates. The wounds treated with the oxygen-enriched saline solution showed an increase in wound healing at days 4 through 11. However, both wounds seemed to complete healing at approximately the same time. The study showed that between days 3 and 11, the new epidermis in wounds treated with the oxygen-enriched saline solution migrated at two to four times as fast as the epidermis of the wounds treated with the normal saline solution. The study also showed that between 15 and 22 days, the wound treated by the oxygen-enriched saline solution differentiated at a more rapid rate as evidenced by the earlier formation of more mature epidermal layers. At all stages, the thickening that occurs in the epidermis associated with normal healing did not occur within the wounds treated by the oxygen-enriched saline solution.

[0428]

Without wishing to be bound by any particular theory, it is believed that the oxygen-enriched saline solution may increase the localized level of NO within the wounds. NO modulates growth factors, collagen deposition, inflammation, mast cell migration, epidermal thickening, and neovascularization in wound healing. Furthermore, nitric oxide is produced by an inducible enzyme that is regulated by oxygen.

[0429]

Thus, while not wishing to be bound to any particular theory, the inventive gas-enriched fluid may stimulate NO production, which is in accordance with the spectrum of wound healing effects seen in these experiments.

[0430]

The epidermis of the healing pigs experienced earlier differentiation in the oxygen-enriched saline group at days 15 through 22. In the case of mast cell migration, differences also occurred in early and late migration for the oxygen-enriched solution. A conclusive result for the level of mitosis was unascertainable due to the difficulty in staining.

[0431]

Referring now to FIG. 41A through 41F, various illustrations compare the wound healing results of the porcine epidermal tissues with or without oxygen-enriched saline solution. Thus, the healing of the control wound and of the wound using the oxygen-enriched saline solution was followed for days 1, 4 and 16. FIG. 41A illustrates the wound healing for the control wound on day 1. As can be seen, the wound shows epidermal/dermal thickening and a loss of contour. FIG. 41B illustrates the wound healing on day 1 for the wound treated using the oxygen-enriched saline solution. The wound shows normal epidermal/dermal thickness and normal contouring is typical on a new wound.

[0432]

Referring now to FIGS. 41C and 41D, there are illustrated the wound healing for the control wound on day 4 and the wound healing for the wound treated with the oxygen-enriched saline solution on day 4. For the control wound illustrated in FIG. 41C, the wound shows a 600 micron epidermal spur. In the wound treated with the oxygen-enriched saline solution in FIG. 41D, there is illustrated a 1200 micron epidermal spur. Thus, in the first 4 days of the experiment, the epidermal spur created in the wound treated using the oxygen-enriched saline solution shows an epidermal growth rate of twice of that of the wound that was not treated with the oxygen-enriched saline solution.

[0433]

Referring now to FIG. 41E, there is illustrated the control wound at day 16. The wound shows less differentiated epidermis with loss of epidermal/dermal contour than that illustrated by the wound treated with the oxygen-enriched saline solution illustrated in FIG. 41F. FIG. 41F shows more differentiated epidermis and more normal epidermal/dermal contouring in the wound.

[0434]

Thus, as illustrated with respect to FIGS. 41A through 41F, the wound treated with the oxygen-enriched saline solution shows much greater healing characteristics than the untreated wound and shows a greater differentiated epidermis with more normal epidermal/dermal contour.

Example 9

Glutathione Peroxidase Study

[0435]

The inventive oxygen-enriched fluid was tested for the presence of hydrogen peroxide by testing the reactivity with glutathione peroxidase using a standard assay (Sigma). Water samples were tested by adding the enzyme cocktail and inverting. Continuous spectrophotometric rate determination was made at A340nm, and room temperature (25 degrees Celsius). Samples tested were: 1. deionized water (negative control), 2. inventive oxygen-enriched fluid at low concentration, 3. inventive oxygen-enriched fluid at high concentration, 4. hydrogen peroxide (positive control). The hydrogen peroxide positive control showed a strong reactivity, while none of the other fluids tested reacted with the glutathione peroxidase.

Example 10

Electrokinetically Generated Superoxygenated Fluids and Solas were Shown to Provide for Synergistic Prolongation Effects (e.g., Suppression of Bronchoconstriction) with Albuterol In Vivo in an Art-Recognized Animal Model of Human Bronchoconstriction (Human Asthma Model))

Experiment 1

[0436]

In an initial experiment, sixteen guinea pigs were evaluated for the effects of bronchodilators on airway function in conjunction with methacholine-induced bronchoconstriction. Following determination of optimal dosing, each animal was dosed with 50 μg/mL to deliver the target dose of 12.5 μg of albuterol sulfate in 250 μL per animal.

[0437]

The study was a randomized blocked design for weight and baseline PenH values. Two groups (A and B) received an intratracheal instillation of 250 μL of 50 μg/mL albuterol sulfate in one or two diluents: Group A was deionized water that had passed through the inventive device, without the addition of oxygen, while Group B was inventive gas-enriched water. Each group was dosed intratracheally with solutions using a Penn Century Microsprayer. In addition, the animals were stratified across BUXCO plethysmograph units so that each treatment group is represented equally within nebulizers feeding the plethysmographs and the recording units.

[0438]

Animals that displayed at least 75% of their baseline PenH value at 2 hours following albuterol administration were not included in the data analyses. This exclusion criteria is based on past studies where the failure to observe bronchoprotection with bronchodilators can be associated with dosing errors. As a result, one animal from the control group was dismissed from the data analyses.

[0439]

Once an animal had greater than 50% bronchoconstriction, the animal was considered to be not protected. As set forth in Table 6 below, 50% of the Group B animals (shaded) were protected from bronchoconstriction out to 10 hours (at which time the test was terminated).

[0440]

Experiment 2

A Bronchoconstriction Evaluation of RDC1676 with Albuterol Sulfate in Male Hartley Guinea Pigs

[0441]

An additional set of experiments was conducted using a larger number of animals to evaluate the protective effects of the inventive electrokinetically generated fluids (e.g., RDC1676-00, RDC1676-01, RDC1676-02 and RDC1676-03) against methacholine-induced bronchoconstriction when administered alone or as diluents for albuterol sulfate in male guinea pigs.

[0000]

Materials:

[0442]

Guinea Pigs (Cavia porcellus) were Hartley albino, Crl:(HA)BR from Charles River Canada Inc. (St. Constant, Quebec, Canada). Weight: Approximately 325±50 g at the onset of treatment. Number of groups was 32, with 7 male animals per group (plus 24 spares form same batch of animals). Diet; All animals had free access to a standard certified pelleted commercial laboratory diet (PMI Certified Guinea Pig 5026; PMI Nutrition International Inc.) except during designated procedures.

[0000]

Methods:

[0443]

Route of administration was intratracheal instillation via a Penn Century Microsprayer and methacholine challenge via whole body inhalation. The intratracheal route was selected to maximize lung exposure to the test article/control solution. Whole body inhalation challenge has been selected for methacholine challenge in order to provoke an upper airway hypersensitivity response (i.e., bronchoconstriction).

[0444]

Duration of treatment was one day.

[0445]

Table 7 shows the experimental design. All animals were subjected to inhalation exposure of methacholine (500 μg/ml), 2 hours following TA/Control administration. All animals received a dose volume of 250 μl. Therefore, albuterol sulfate was diluted (in the control article and the 4 test articles) to concentrations of 0, 25, 50 and 100 μg/ml.

[0446]

Thirty minutes prior to dosing, solutions of albuterol sulfate of 4 different concentrations (0, 25, 50 and 100 μg/ml) was made up in a I Ox stock (500 μg/mL) in each of these four test article solutions (RDC1676-00, RDC1676-01, RDC1676-02; and RDC1676-03). These concentrations of albuterol sulfate were also made up in non-electrokinetically generated control fluid (control 1). The dosing solutions were prepared by making the appropriate dilution of each stock solution. All stock and dosing solutions were maintained on ice once prepared. The dosing was completed within one hour after the test/control articles are made. A solution of methacholine (500 μg/ml) was prepared on the day of dosing.

[0447]

Each animal received an intratracheal instillation of test or control article using a Penn Century microsprayer. Animals were food deprived overnight and were anesthetized using isoflurane, the larynx was visualized with the aid of a laryngoscope (or suitable alternative) and the tip of the microsprayer was inserted into the trachea. A dose volume of 250 μl/animal of test article or control was administered.

[0448]

The methacholine aerosol was generated into the air inlet of a mixing chamber using aeroneb ultrasonic nebulizers supplied with air from a Buxco bias flow pump. This mixing chamber in turn fed four individual whole body unrestrained plethysmographs, each operated under a slight negative pressure maintained by means of a gate valve located in the exhaust line. A vacuum pump was used to exhaust the inhalation chamber at the required flow rate.

[0449]

Prior to the commencement of the main phase of the study, 12 spare animals were assigned to 3 groups (n=4/group) to determine the maximum exposure period at which animals may be exposed to methacholine to induce a severe but non-fatal acute bronchoconstriction. Four animals were exposed to methacholine (500 μg/mL) for 30 seconds and respiratory parameters were measured for up to 10 minutes following commencement of aerosol. Methacholine nebulizer concentration and/or exposure time of aerosolization was adjusted appropriately to induce a severe but non-fatal acute/reversible bronchoconstriction, as characterized by an transient increase in penes.

[0450]

Once prior to test article administration (Day −1) and again at 2, 6, 10, 14, 18, 22 and 26 hours postdose, animals were placed in the chamber and ventilatory parameters (tidal volume, respiratory rate, derived minute volume) and the enhanced pause Penh were measured for a period of 10 minutes using the Buxco Electronics BioSystem XA system, following commencement of aerosol challenge to methacholine. Once animals were within chambers baseline, values were recorded for 1-minute, following which methacholine, nebulizer concentration of 500 ug/mL were aerosoloized for 30 seconds, animals were exposed to the aerosol for further 10 minutes during which time ventilatory paramaters were continuously assessed. Penh was used as the indicator of bronchoconstriction; Penh is a derived value obtained from peak inspiratory flow, peak expiratory flow and time of expiration. Penh=(Peak expiratory flow/Peak inspiratory flow)*(Expiratory time/time to expire 65% of expiratory volume−1).

[0451]

Animals that did not display a severe acute broncoconstriction during the predose methacholine challenge were replaced. Any animal displaying at least 75% of their baseline PenhPenes value at 2 hours post dose were not included in the data analysis. The respiratory parameters were recorded as 20 second means.

[0452]

Data considered unphysiological was excluded from further analysis.

[0453]

Changes in Penh were plotted over a 15 minute period and Penh value was expressed as area under the curve. Numerical data was subjected to calculation of group mean values and standard deviations (as applicable).

[0454]

Experimental design; 7 male guinea pigs per group.
AlbuterolAlbuterolAlbuterolAlbuterol
(0 μg/(6/25 μg/(12.5 μg/(25 μg/
Group IDanimal)animal)animal)animal)
1 (control 1)7 males7 males7 males7 males
(ambient oxygen)
5 (RDC1676-007 males7 males7 males7 males
(Solas)
6 (RDC1676-017 males7 males7 males7 males
(20 ppm oxygen)
7 (RDC1676-027 males7 males7 males7 males
(40 ppm oxygen)
8 (RDC1676-037 males7 males7 males7 males
(60 ppm oxygen)

Results:

[0455]

As shown in FIG. 107A-D, in the absence of Albuterol, administration of the inventive electrokinetically generated fluids had no apparent effect on mean percent baseline PenH values, when measured over a 26 hour period.

[0456]

Surprisingly, however, as shown in FIG. 108A-D, administration of albuterol (representative data for the 25 μg albuterol/animal groups are shown) formulated in the inventive electrokinetically generated fluids (at all oxygen level values tested; ambient (FIG. 108-A), 20 ppm (FIG. 108-B), 40 ppm (FIG. 108-C) and 60 ppm (FIG. 108-D)) resulted in a striking prolongation of anti-broncoconstrictive effects of albuterol, compared to control fluid. That is, the methacholine results showed a prolongation of the bronchodilation of albuterol out to at least 26 hours. FIGS. 108 A-D shows that there were consistent differences at all oxygen levels between RDC1676 and the normal saline control. Combining all 4 RDC1676 fluids, the p value for the overall treatment difference from normal saline was 0.03.

[0457]

According to particular aspects of the present invention, therefore, the inventive electrokinetically generated solutions provide for synergistic prolongation effects with Albuterol, thus providing for a decrease in a patient's albuterol usage, enabling more efficient cost-effective drug use, fewer side effects, and increasing the period over which a patient may be treated and responsive to treatment with albuterol.

Example 11

A Cytokine Profile was Determined

[0458]

Mixed lymphocytes were obtained from a single healthy volunteer donor. Buffy coat samples were washed according to standard procedures to remove platelets. Lymphocytes were plated at a concentration of 2×106per plate in RPMI media (+50 mm HEPES) diluted with either inventive gas-enriched fluid or distilled water (control). Cells were stimulated with 1 microgram/mL T3 antigen, or 1 microgram/mL phytohemagglutinin (PHA) lectin (pan-T cell activator), or unstimulated (negative control). Following 24-hour incubation, cells were checked for viability and the supernatants were extracted and frozen.

[0459]

The supernatants were thawed, centrifuged, and tested for cytokine expression using a XMAP® (Luminex) bead lite protocol and platform.

[0460]

Two million cells were plated into 6 wells of a 24-well plate in full RPMI+50 mm Hepes with either inventive oxygen-enriched fluid (water) (wells 1, 3, and 5) or distilled water (2, 4 and 6) (10×RPMI diluted into water to make 1×). Cells were stimulated with 1 ug/ml T3 antigen (wells 1 and 2) or PHA (wells 3 and 4). Control wells 5 and 6 were not stimulated. After 24 hours, cells were checked for viability and supernatants were collected and frozen. Next, the supernatants were thawed and spun at 8,000 g to pellet. The clarified supernatants were assayed for the cytokines listed using a LUMINEX BEAD LITE™ protocol and platform. The numerical data is tabulated in Table 8, and the corresponding bar graphs are depicted in FIG. 38. Notably, IFN-γ level was higher in the inventive gas-enriched culture media with T3 antigen than in the control culture media with T3 antigen, while IL-8 was lower in the inventive gas-enriched culture media with T3 antigen than in the control culture media with T3 antigen. Additionally, IL-6, IL-8, and TNF-α levels were lower in the inventive gas-enriched media with PHA, than in the control media with PHA, while IL-1β levels were lower in the inventive gas-enriched fluid with PHA when compared with control media with PHA. In the inventive gas-enriched media alone, IFN-γ levels were higher than in control media.

[0461]

10002.85007.9820.313507.561150015.5
20003.0800815.289403.6842807.94
305811683.15008164002200328086213700
4037756.34.22008.0823800221003360055816200
50002.51007.992413307.3359008.55
60002.770085.9832104.6833300

Example 12

Myelin Oligodendrocyte Glycoprotein (MOG)

[0462]

As set forth in FIG. 48, lymphocyte proliferation in response to MOG antigenic peptide was increased when cultured in the presence of the inventive gas-enriched fluid when compared to pressurized, oxygenated fluid (pressure pot) or deionized control fluid. Thus, the inventive gas-enriched fluid amplifies the lymphocyte proliferative response to an antigen to which the cells were previously primed.

[0463]

Myelin oligodendrocyte glycoprotein peptide 35-55 (MOG 35-55) (M-E-V-G-W-Y-R-S-P-F-S-R-O-V-H-L-Y-R-N-G-K) (SEQ ID NO:1; see publication US20080139674, incorporated by reference herein, including for purposes of this SEQ ID NO:1) corresponding to the known mouse sequence was synthesized. Next, 5×105spleen cells were removed from MOG T cell receptor transgenic mice previously immunized with MOG, and were cultured in 0.2 ml TCM fluid reconstituted with inventive gas-enriched fluid, pressurized oxygenated water (pressure pot water) or with control deionized water. Splenocytes were cultured with MOG p35-55 for 48 or 72 hours, respectively. Cultures were pulsed with 1Ci [3H]-thymidine and harvested 16 hours later. Mean cpm of [3H] thymidine incorporation was calculated for triplicate cultures. Results are shown in FIG. 48.

Example 13

Cytokine Expression

[0464]

In particular aspects, human mixed lymphocytes were stimulated with T3 antigen or PHA in inventive electrokinetic fluid, or control fluid, and changes in IL-1β, IL-2, IL-4, IL-5, IL-6, IL-7, IL-8, IL-10, IL-12(p40), IL-12(p70), IL-13, IL-17, Eotaxin, IFN-γ, GM-CSF, MIP-1β, MCP-1, G-CSF, FGFb, VEGF, TNF-α, RANTES, Leptin, TNF-β, TFG-β, and NGF were evaluated. As can be seen from FIG. 38, pro-inflammatory cytokines (IL-1β, TNF-α, IL-6, and GM-CSF), chemokines (IL-8, MIP-1α, RANTES, and Eotaxin), inflammatory enzymes (iNOS, COX-2, and MMP-9), allergen responses (MHC class 11, CD23, B7-1, and B7-2), and Th2 cytokines (IL-4, IL-13, and IL-5) tested were reduced in test fluid versus control fluid. By contrast, anti-inflammatory cytokines (e.g., IL1R-α, TIMPs) tested were increased in test fluid versus control fluid.

[0465]

To expand on these data, Applicants used an art recognized model system involving ovalbumin sensitization, for assessing allergic hypersensitivity reactions. The end points studied were particular cytologic and cellular components of the reaction as well as serologic measurements of protein and LDH. Cytokine analysis was performed, including analysis of Eotaxin, IL-1A, IL-1B, KC, MCP-1, MCP-3, MIP-1A, RANTES, TNF-A, and VCAM.

[0466]

Briefly, male Brown Norway rats were injected intraperitoneally with 0.5 mL Ovalbumin (OVA) Grade V (A5503-1G, Sigma) in solution (2.0 mg/mL) containing aluminum hydroxide (Al(OH)3) (200 mg/mL) once each on days 1, 2, and 3. The study was a randomized 2×2 factorial arrangement of treatments (4 groups). After a two week waiting period to allow for an immune reaction to occur, the rats were either exposed or were treated for a week with either RDC1676-00 (sterile saline processed through the Revalesio proprietary device), and RDC1676-01 (sterile saline processed through the Revalesio proprietary device with additional oxygen added). At the end of the 1 week of treatment for once a day, the 2 groups were broken in half and 50% of the rats in each group received either Saline or OVA challenge by inhalation.

[0467]

Specifically, fourteen days following the initial serialization, 12 rats were exposed to RDC 1676-00 by inhalation for 30 minutes each day for 7 consecutive days. The air flow rate through the system was set at 10 liters/minute. A total of 12 rats were aligned in the pie chamber, with a single port for nebulized material to enter and evenly distribute to the 12 sub-chambers of the Aeroneb.

[0468]

Fifteen days following initial sensitization, 12 rats were exposed to RDC 1676-01 by ultrasonic nebulization for 30 minutes each day for 7 consecutive days. The air flow was also set for 10 liters/minute, using the same nebulizer and chamber. The RDC 1676-00 was nebulized first and the Aeroneb chamber thoroughly dried before RDC 1676-01 was nebulized.

[0469]

Approximately 2 hours after the last nebulization treatment, 6 rats from the RDC 1676-00 group were re-challenged with OVA (1% in saline) delivered by intratreacheal instillation using a Penn Century Microsprayer (Model 1A-1B).

[0470]

The other 6 rats from the RDC 1676-00 group were challenged with saline as the control group delivered by way of intratreacheal instillation. The following day, the procedure was repeated with the RDC 1676-01 group.

[0471]

Twenty four hours after re-challenge, all rats in each group were euthanized by overdose with sodium pentobarbital. Whole blood samples were collected from the inferior vena-cava and placed into two disparate blood collection tubes: Qiagen PAXgene™ Blood RNA Tube and Qiagen PAXgene™ Blood DNA Tube. Lung organs were processed to obtain bronchoalveolar lavage (BAL) fluid and lung tissue for RT-PCR to assess changes in markers of cytokine expression known to be associated with lung inflammation in this model. A unilateral lavage technique was be employed in order to preserve the integrity of the 4 lobes on the right side of the lung. The left “large” lobe was lavaged, while the 4 right lobes were tied off and immediately placedinot TRI-Zol™, homogenized, and sent to the lab for further processing.

[0472]

BAL Analysis.

[0473]

Lung lavage was collected and centrifuged for 10 minutes at 4° C. at 600-800 g to pellet the cells. The supernatants were transferred to fresh tubes and frozen at −80° C. Bronchial lavage fluid (“BAL”) was separated into two aliquots. The first aliquot was spun down, and the supernatant was snap frozen on crushed dry ice, placed in −80° C., and shipped to the laboratory for further processing. The amount of protein and LDH present indicates the level of blood serum protein (the protein is a serum component that leaks through the membranes when it's challenged as in this experiment) and cell death, respectively. The proprietary test side showed slight less protein than the control.

[0474]

The second aliquot of bronchial lavage fluid was evaluated for total protein and LDH content, as well as subjected to cytological examination. The treated group showed total cells to be greater than the saline control group. Further, there was an increase in eosinophils in the treated group versus the control group. There were also slightly different polymorphonuclear cells for the treated versus the control side.

[0475]

Blood Analysis.

[0476]

Whole blood was analyzed by transfer of 1.2-2.0 mL blood into a tube, and allowing it to clot for at least 30 minutes. The remaining blood sample (approximately 3.5-5.0 mL) was saved for RNA extraction using TRI-Zol™ or PAXgene™. Next, the clotted blood sample was centrifuged for 10 minutes at 1200 g at room temperature. The serum (supernatant) was removed and placed into two fresh tubes, and the serum was stored at −80° C.

[0477]

For RNA extraction utilizing Tri-Reagent (TB-126, Molecular Research Center, Inc.), 0.2 mL of whole blood or plasma was added to 0.75 mL of TRI Reagent BD supplemented with 20 μL of 5N acetic acid per 0.2 mL of whole blood or plasma. Tubes were shaken and stored at −80° C. Utilizing PAXgene™, tubes were incubated for approximately two hours at room temperature. Tubes were then placed on their side and stored in the −20° C. freezer for 24 hours, and then transferred to −80° C. for long term storage.

[0478]

Luminex Analysis.

[0479]

By Luminex platform, a microbead analysis was utilized as a substrate for an antibody-related binding reaction which is read out in luminosity units and can be compared with quantified standards. Each blood sample was run as 2 samples concurrently. The units of measurement are luminosity units and the groups are divided up into OVA challenged controls, OVA challenged treatment, and saline challenged treatment with proprietary fluid.

[0480]

For Agilant gene array data generation, lung tissue was isolated and submerged in TRI Reagent (TR118, Molecular Research Center, Inc.). Briefly, approximately 1 mL of TRI Reagent was added to 50-100 mg of tissue in each tube. The samples were homogenized in TRI Reagent, using glass-Teflon™ or Polytron™ homogenizer. Samples were stored at −80° C.

[0000]

Blood Samples:

[0000]

FIGS. 49-58 show the results of whole blood sample evaluations.

[0481]

Exemplary FIG. 49 shows the basic luminosity data presentation format for the blood sample data. Letters designating the identity of the measured cytokine (in this case KC) are at the top right of each data figure. The data is presented both as data points (upper graph) and bar graphs (lower graph) of the individual samples. In either case, the graphs are divided, from left to right, in four groups. The first 2 groups (RDC1676-00 OVA and RDC1676-01 OVA, respectively) were those that were re-challenged with OVA by inhalation, whereas the last two groups (RDC1676-00 OVA and RDC1676-01 OVA, respectively) where those that were re-challenged with saline control only. Again, the suffix 00 represents saline treatment and suffix 01 represents inventive electrokinetic fluid treated groups.

[0482]

Each blood sample was split into 2 samples and the samples were run concurrently. The units of measure are units of luminosity and the groups, going from left to right are: OVA challenged controls; OVA challenged inventive electrokinetic fluid treatment; followed by saline challenged saline treatment; and saline challenged inventive electrokinetic fluid treatment. To facilitate review, both the RDC1676-01 groups are highlighted with gray shaded backdrops, whereas the control saline treatment groups have unshaded backdrops.

[0483]

Generally, in comparing the two left groups, while the spread of the RDC1676-01 group data is somewhat greater, particular cytokine levels in the RDC1676-01 group as a whole are less than the samples in the control treated group; typically about a 30% numerical difference between the 2 groups. Generally, in comparing the right-most two groups, the RDC1676-01 group has a slightly higher numerical number compared to the RDC1676-00 group.

[0484]

FIG. 50 shows analysis of RANTES (IL-8 super family) in blood sample data according to particular exemplary aspects. Luminosity units for the leftmost two groups (the OVA challenged groups) indicate that generally values in the RDC1676-01 treated group were less than the RDC1676-00 control group as shown by the dot plot in the upper graph portion which again shows a 30-35% differential between the two groups, whereas in the saline only exposed groups the cytokine level values where roughly the same, or perhaps slightly increased in the RDC1676-01 treated group.

[0485]

FIG. 51 shows analysis of MCP-1 in blood sample data according to particular exemplary aspects. Luminosity units for the leftmost two groups (the OVA challenged groups) indicate that generally values in the RDC1676-01 treated group were less than the RDC1676-00 control group as shown by the dot plot in the upper graph portion, whereas in the saline only exposed groups the cytokine level values where roughly the same, or perhaps slightly increased in the RDC1676-01 treated group.

[0486]

FIG. 52 shows analysis of TNF alpha in blood sample data according to particular exemplary aspects. Luminosity units for the leftmost two groups (the OVA challenged groups) indicate that generally values in the RDC1676-01 treated group were less than the RDC1676-00 control group as shown by the dot plot in the upper graph portion, whereas in the saline only exposed groups the cytokine level values where roughly the same, or perhaps slightly increased in the RDC1676-01 treated group.

[0487]

FIG. 53 shows analysis of MIP-1 alpha in blood sample data according to particular exemplary aspects. Luminosity units for the leftmost two groups (the OVA challenged groups) indicate that generally values in the RDC1676-01 treated group were less than the RDC1676-00 control group as shown by the dot plot in the upper graph portion, whereas in the saline only exposed groups the cytokine level values where roughly the same, or perhaps slightly increased in the RDC1676-01 treated group.

[0488]

FIG. 54 shows analysis of IL-1 alpha in blood sample data according to particular exemplary aspects. Luminosity units for the leftmost two groups (the OVA challenged groups) indicate that generally values in the RDC1676-01 treated group were less than the RDC1676-00 control group as shown by the dot plot in the upper graph portion, whereas in the saline only exposed groups the cytokine level values where roughly the same, or perhaps slightly increased in the RDC1676-01 treated group.

[0489]

FIG. 55 shows analysis of Vcam in blood sample data according to particular exemplary aspects. Luminosity units for the leftmost two groups (the OVA challenged groups) indicate that generally values in the RDC1676-01 treated group were less than the RDC1676-00 control group as shown by the dot plot in the upper graph portion, whereas in the saline only exposed groups the cytokine level values where roughly the same, or perhaps slightly increased in the RDC1676-01 treated group.

[0490]

FIG. 56 shows analysis of IL-1 beta in blood sample data according to particular exemplary aspects. Luminosity units for the leftmost two groups (the OVA challenged groups) indicate that generally values in the RDC1676-01 treated group were less than the RDC1676-00 control group as shown by the dot plot in the upper graph portion, whereas in the saline only exposed groups the cytokine level values where roughly the same, or perhaps slightly increased in the RDC1676-01 treated group.

[0491]

FIGS. 57 and 58 show analysis of Eotaxin and MCP-3, respectively, in blood sample data according to particular exemplary aspects. In each case, luminosity units for the leftmost two groups (the OVA challenged groups) indicate that generally values in the RDC1676-01 treated group were less than the RDC1676-00 control group as shown by the dot plot in the upper graph portion, whereas in the saline only exposed groups the cytokine level values where roughly the same, or perhaps slightly increased in the RDC1676-01 treated group.

[0000]

Bronchial Lavage Samples:

[0492]

FIGS. 59-68 show the corresponding results of bronchoalveolar lavage fluid (BAL) sample evaluations.

[0493]

FIG. 59 shows analysis of KC in BAL data according to particular exemplary aspects. In this instance the response level, coupled with sampling variability, was inconclusive with respect to a difference between the RDC1676-01 and RDC1676-00-treated groups; that is, KC showed relatively little difference between the 2 groups, but the units of luminosity were very small.

[0494]

Likewise, FIG. 60 shows analysis of RANTES in BAL data according to particular exemplary aspects, and showing marked variability in the RDC1676-01 group with one reading being markedly higher than the others, skewing the results.

[0495]

Likewise, FIG. 61 shows analysis of TNF alpha in BAL data according to particular exemplary aspects, and showing relatively little significance in the way of difference between the RDC1676-01 and RDC1676-00-treated groups.

[0496]

FIG. 62 shows analysis of MCP-1 in BAL data according to particular exemplary aspects, and showing relatively little significance in the way of difference between the RDC1676-01 and RDC1676-00-treated groups.

[0497]

FIGS. 63 through 68 show analysis of MIP1-A, IL-1 alpha, Vcam, IL-1 beta, MCP-3, and Eotaxin, respectively, in BAL data according to particular exemplary aspects, and showing relatively little significance in the way of difference between the RDC1676-01 and RDC1676-00-treated groups.

[0498]

In summary, this standard assay of inflammatory reaction to a known sensitization produced, at least in the blood samples, a marked clinical and serologic affect. Additionally, while significant numbers of control animals were physiologically stressed and nearly dying in the process, none of the RDC1676-01 treated group showed such clinical stress effects. This was reflected then in the circulating levels of cytokines, with approximately 30% differences between the RDC1676-01-treated and the RDC1676-01-treated groups in the OVA challenged groups. By contrast, there were small and fairly insignificant changes in cytokine, cellular and serologic profiles between the RDC1676-01-treated and the RDC1676-01-treated groups in the non-OVA challenged groups, which likely merely represent minimal baseline changes of the fluid itself.

Example 14

Bradykinin B2 Receptor Affinity Binding

[0499]

A Bio-Layer Interferometry biosensor, Octet Rapid Extended Detection (RED) (forteBio™) was utilized in order to examine membrane receptor affinity binding of Bradykinin ligand with the Bradykinin B2 receptor. The biosensor system consists of a polished fiber optic embedded into a polypropylene hub with a sensor-specific chemistry at the tip. The biosensor set-up has a layer of molecules attached to the tip of an optic fiber that creates an interference pattern at the detector. Any change in the number of molecules bound causes a measured shift in the pattern of light.

[0500]

As shown in FIG. 69 the Bradykinin B2 membrane receptor was immobilized onto aminopropylsilane (APS) biosensor. The sample plate set up was designated in FIG. 69 and analyzed in FIG. 70. Next, the binding of Bradykinin to the immobilized receptor was assessed according to the sample set up as designated in FIG. 71. Results of Bradykinin binding are shown in FIG. 72. Bradykinin binding to the receptor was further titrated according to the set-up as designated in FIG. 73.

[0501]

As indicated in FIG. 74, Bradykinin binding to the B2 receptor was concentration dependent, and binding affinity was increased in the proprietary gas-enriched saline fluid of the instant disclosure compared to normal saline. Stabilization of Bradykinin binding to the B2 receptor is shown in FIG. 75.

Example 15

A Regulatory T-Cell Assay was Used to Show Effects of the Inventive Electrokinetically Generated Fluids in Modulation of T-Cell Proliferation and Elaboration of Cytokines (II-10) and Other Proteins (e.g., GITR, Granzyme A, XCL1, pStat5, and Foxp3)) in Regulatory T-Cell Assays, and of, for Example, Tryptase in PBMC

[0502]

The ability of particular embodiments disclosed herein to regulate T cells was studied by irradiating antigen presenting cells, and introducing antigen and T cells. Typically, these stimulated T cells proliferate. However, upon the introduction of regulatory T cells, the usual T cell proliferation is suppressed.

[0000]

Methods:

[0503]

Briefly, FITC-conjugated anti-CD25 (ACT-1) antibody used in sorting was purchased from DakoCytomation (Chicago, Ill.). The other antibodies used were as follows: CD3 (HIT3a for soluble conditions), GITR (PE conjugated), CD4 (Cy-5 and FITC-conjugated), CD25 (APC-conjugated), CD28 (CD28.2 clone), CD127-APC, Granzyme A (PE-conjugated), FoxP3 (BioLegend), Mouse IgG1 (isotype control), and XCL1 antibodies. All antibodies were used according to manufacturer's instructions.

[0504]

CD4+ T cells were isolated from peripheral whole blood with CD4+ Rosette Kit (Stemcell Technologies). CD4+ T cells were incubated with anti-CD127-APC, anti-CD25-PE and anti-CD4-FITC antibodies. Cells were sorted by flow cytometry using a FACS Aria into CD4+CD25hiCD127lo/nTreg and CD4+CD25− responder T cells.

[0505]

Suppression assays were performed in round-bottom 96 well microtiter plates. 3.75×103 CD4+CD25neg responder T cells, 3.75×103 autologous T reg, 3.75×104 allogeneic irradiated CD3-depleted PBMC were added as indicated. All wells were supplemented with anti-CD3 (clone HIT3a at 5.0 ug/ml). T cells were cultured for 7 days at 37° C. in RPMI 1640 medium supplemented with 10% fetal bovine serum. Sixteen hours before the end of the incubation, 1.0 mCi of3H-thymidine was added to each well. Plates were harvested using a Tomtec cell harvester and3H-thymidine incorporation determined using a Perkin Elmer scintillation counter. Antigen-presenting cells (APC) consisted of peripheral blood mononuclear cells (PBMC) depleted of T cells using StemSep human CD3+ T cell depletion (StemCell Technologies) followed by 40 Gy of irradiation.

[0506]

Regulatory T cells were stimulated with anti-CD3 and anti-CD28 conditions and then stained with Live/Dead Red viability dye (Invitrogen), and surface markers CD4, CD25, and CD127. Cells were fixed in the Lyze/Fix PhosFlow™ buffer and permeabilized in denaturing Permbuffer III®. Cells were then stained with antibodies against each particular selected molecule.

[0507]

Statistical analysis was performed using the GraphPad Prism software. Comparisons between two groups were made by using the two-tailed, unpaired Student's t-test. Comparisons between three groups were made by using 1-way ANOVA. P values less than 0.05 were considered significant (two-tailed). Correlation between two groups were determined to be statistically significant via the Spearman coefficient if the r value was greater than 0.7 or less than −0.7 (two-tailed).

[0000]

Results:

[0508]

As indicated in FIG. 76, regulatory T cell proliferation was studied by stimulating cells with diesel exhaust particulate matter (PM, from EPA). The x-axis of FIG. 76 shows activated autologous CD4+ effector T cells (responder cells) as a solid black bar, and regulatory T cells alone in the gray bar (shown for confirmation of anergy) which were mixed at a 1:1 ratio as shown in the white bar. The y axis shows proliferation as measured by uptake of3H-thymidine. As shown from left to right along the x-axis, “PM” indicates diesel exhaust derived Particulate Matter, “PM+Rev” indicates PM plus a gas-enriched electrokinetically generated fluid (Rev) of the instant disclosure, “Solas” indicates an electrokinetically generated fluid of the instant disclosure and device that is not gas-enriched beyond ambient atmosphere, only (no PM added), “Rev” indicates Rev alone (no PM added) as defined above, “Media” indicates the cell growth media alone control (minus PM; no Rev, no Solas), and “Saline Con” indicates the saline control (minus PM; no Rev, no Solas), “V” indicates verapamil, and “P” indicates propanolol, and “DT” is DT390 at 1:50.

[0509]

As shown in FIG. 77, cells stimulated with PM (no Rev, no Solas) resulted in a decrease in secreted IL-10, while cells exposed to PM in the presence of the fluids of the instant disclosure (“PM+Rev”) resulted in a maintained or only slightly decreased production of IL-10 relative to the Saline and Media controls (no PM). Furthermore, Diphtheria toxin (DT390, a truncated diphtheria toxin molecule; 1:50 dilution of std. commercial concentration) was titrated into inventive fluid samples, and blocked the Rev-mediated effect of increase in IL-10 in FIG. 77. Note that treatment with Rev alone resulted in higher IL-10 levels relative to Saline and Media controls.

[0510]

Likewise, similar results, shown in FIGS. 78-82, were obtained with GITR, Granzyme A, XCL1, pStat5, and Foxp3, respectively. In Figures, “NSC” is the same as “Solas” (no PM).

[0511]

FIG. 83 shows AA PBMC data, obtained from an allergic asthma (AA) profile of peripheral blood mononuclear cells (PBMC) evaluating tryptase. The AA PBMC data was consistent with the above T-regulatory cell data, as cells stimulated with particulate matter (PM) showed high levels of tryptase, while cells treated with PM in the presence of the fluids of the instant disclosure (“PM+Rev”) resulted in significantly lower tryptase levels similar to those of the Saline and Media controls. Consistent with the data from T-regulatory cells, exposure to DT390 blocked the Rev-mediated effect on tryptase levels, resulting in an elevated level of tryptase in the cells as was seen for PM alone (minus Rev, no Rev, no Solas). Note that treatment with Rev alone resulted in lower tryptase levels relative to Saline and Media controls.

[0512]

In summary, the data of FIG. 76, showing a decreased proliferation in the presence of PM and Rev relative to PM in control fluid (no Rev, no Solas), indicates that the inventive electrokinetically generated fluid Rev improved regulatory T-cell function as shown by relatively decreased proliferation in the assay. Moreover, the evidence of this Example and FIGS. 76-83, indicate that beta blockade, GPCR blockade and Ca channel blockade affects the activity of Revera on Treg function.

Example 16

Treatment of Primary Bronchial Epithelial Cells (BEC) with the Inventive Electrokinetically Generated Fluids Resulted in Reduced Expression and/or Activity of Two Key Proteins of the Airway Inflammatory Pathways, MMP9 and TSLP

[0513]

Overview.

[0514]

As shown in Example 14 above (e.g., FIG. 75, showing Stabilization of Bradykinin binding to the B2 receptor using Bio-Layer Interferometry biosensor, Octet Rapid Extended Detection (RED) (forteBio™)), Bradykinin binding to the B2 receptor was concentration dependent, and binding affinity was increased in the electrokinetically generated fluid (e.g., Rev; gas-enriched electrokinetically generated fluid) of the instant disclosure compared to normal saline. Additionally, as shown in Example 15 in the context of T-regulatory cells stimulated with diesel exhaust particulate matter (PM, standard commercial source), the data showed a decreased proliferation of T-regulatory cells in the presence of PM and Rev relative to PM in control fluid (no Rev, no Solas) (FIG. 76), indicating that the inventive electrokinetically generated fluid Rev improved regulatory T-cell function; e.g., as shown by relatively decreased proliferation in the assay. Moreover, exposure to the inventive fluids resulted in a maintained or only slightly decreased production of IL-10 relative to the Saline and Media controls (no PM). Likewise, in the context of the allergic asthma (AA) profiles of peripheral blood mononuclear cells (PBMC) stimulated with particulate matter (PM), the data showed that exposure to the fluids of the instant disclosure (“PM+Rev”) resulted in significantly lower tryptase levels similar to those of the Saline and Media controls. Additionally, the Diphtheria toxin (DT390, a truncated diphtheria toxin molecule; 1:50 dilution of std. commercial concentration) effects shown in Example 15 and FIGS. 76-83, indicate that beta blockade, GPCR blockade and Ca channel blockade affects the activity of the electrokinetically generated fluids on Treg and PBMC function. Furthermore, the data of Example 18 shows that, according to additional aspects, upon exposure to the inventive fluids, tight junction related proteins were upregulated in lung tissue. FIGS. 85-89 show upregulation of the junction adhesion molecules JAM 2 and 3, GJA1, 3, 4 and 5 (junctional adherins), OCLN (occludin), claudins (e.g., CLDN 3, 5, 7, 8, 9, 10), TJP1 (tight junction protein 1), respectively. Furthermore, as shown in the patch clamp studies of Example 23, the inventive electrokinetically generated fluids (e.g., RNS-60) affect modulation of whole cell conductance (e.g., under hyperpolarizing conditions) in Bronchial Epithelial Cells (BEC; e.g., Calu-3), and according to additional aspects, modulation of whole cell conductance reflects modulation of ion channels.

[0515]

In this Example, Applicants have extended these discoveries by conducting additional experiments to measure the effects of production of two key proteins of the airway inflammatory pathways. Specifically, MMP9 and TSLP were assayed in primary bronchial epithelial cells (BEC).

[0000]

Materials and Methods:

[0516]

Commercially available primary human bronchial epithelial cells (BEC) (HBEpC-c from Promocell, Germany) were used for these studies. Approximately 50,000 cells were plated in each well of a 12 well plate until they reached ˜80% confluence. The cells were then treated for 6 hours with normal saline, control fluid Solas or the test fluid Revera 60 at a 1:10 dilution (100 ul in 1 ml of airway epithelial growth medium) along with the diesel exhaust particulate matter (DEP or PM) before being lifted for FACS analysis, as described in Example 8 herein. Both MMP9 and TSLP receptor antibodies were obtained from BD Biosciences and used as per manufacturer's specifications.

[0000]

Results:

[0517]

In FIGS. 115 and 116, DEP represents cells exposed to diesel exhaust particulate matter (PM, standard commercial source) alone, “NS” represents cells exposed to normal saline alone, “DEP+NS” represent cells treated with particulate matter in the presence of normal saline, “Revera 60” refers to cells exposed only to the test material, “DEP+Revera 60” refer to cells treated with particulate matter in the presence of the test material Revera 60. In addition, “Solas” and “DEP+Solas” represents cells exposed to the control fluid Solas alone or in combination with the particulate matter, respectively.

[0518]

FIG. 115 shows that the test material Revera 60 reduces DEP induced TSLP receptor expression in bronchial epithelial cells (BEC) by approximately 90%. Solas resulted in a 55% reduction in TSLP receptor expression, while Normal saline failed to produce similar level of reduction in TSLP receptor expression (approximately 20% reduction). The effect of the inventive solution in reducing TSLP receptor expression is a significant discovery in view of recent findings showing that TSLP plays a pivotal role in the pathobiology of allergic asthma and local antibody mediated blockade of TSLP receptor function alleviated allergic disease (Liu, Y J, Thymic stromal lymphopoietin: Master switch for allergic inflammation, J Exp Med 203:269-273, 2006; Al-Shami et al., A role for TSLP in the development of inflammation in an asthma model, J Exp Med 202:829-839, 2005; and Shi et al., Local blockade of TSLP receptor alleviated allergic disease by regulating airway dendritic cells, Clin Immunol. 2008 Aug. 29. (Epub ahead of print)).

[0519]

Likewise, FIG. 116 shows the effect of Revera 60, Solas and normal saline on the DEP-mediated increase in MMP 9. Specifically, Revera 60 inhibited the DEP-induced cell surface bound MMP9 levels in bronchial epithelial cells by approximately 80%, and Solas had an inhibitory effect of approximately 70%, whereas normal saline (NS) had a marginal effect of about 20% reduction. MMP-9 is one of the major proteinases involved in airway inflammation and bronchial remodeling in asthma. Recently, it has been demonstrated that the levels of MMP-9 are significantly increased in patients with stable asthma and even higher in acute asthmatic patients compared with healthy control subjects. MMP-9 plays a crucial role in the infiltration of airway inflammatory cells and the induction of airway hyperresponsiveness indicating that MMP-9 may have an important role in inducing and maintaining asthma (Vignola et al., Sputum metalloproteinase-9/tissue inhibitor of metalloproteinase-1 ratio correlates with airflow obstruction in asthma and chronic bronchitis, Am J Respir Crit Care Med 158:1945-1950, 1998; Hoshino et al., Inhaled corticosteroids decrease subepithelial collagen deposition by modulation of the balance between matrix metalloproteinase-9 and tissue inhibitor of metalloproteinase-1 expression in asthma, J Allergy Clin Immunol 104:356-363, 1999; Simpson et al., Differential proteolytic enzyme activity in eosinophilic and neutrophilic asthma, Am J Respir Crit. Care Med 172:559-565, 2005; Lee et al., A murine model of toluene diisocyanate-induced asthma can be treated with matrix metalloproteinase inhibitor, J Allergy Clin Immunol 108:1021-1026, 2001; and Lee et al., Matrix metalloproteinase inhibitor regulates inflammatory cell migration by reducing ICAM-1 and VCAM-1 expression in a murine model of toluene diisocyanate-induced asthma, J Allergy Clin Immunol 2003; 111:1278-1284).

[0520]

According to additional aspects, therefore, the inventive electrokinetically generated fluids have substantial therapeutic utility for modulating (e.g., reducing) TSLP receptor expression and/or for inhibiting expression and/or activity of MMP-9, including, for example, for treatment of inflammation and asthma.

Example 17

The Inventive Electrokinetically Generated Fluids were Shown to have a Synergistic Anti-Inflammatory Effect with Budesonide in an Art-Recognized Animal Model for Allergic Asthma

[0521]

This working Example describes experiments performed to assess the airway anti-inflammatory properties of the inventive electrokinetically generated fluids (e.g., RDC-1676-03) in a Brown Norway rat ovalbumin sensitization model. The Brown Norway rat is an art-recognized model for determining the effects of a test material on airway function and this strain has been widely used, for example, as a model of allergic asthma. Airway pathology and biochemical changes induced by ovalbumin sensitization in this model resemble those observed in man (Elwood et al., J Allergy Clin Immuno 88:951-60, 1991; Sirois & Bissonnette, Clin Exp Immunol 126:9-15, 2001). The inhaled route was selected to maximize lung exposure to the test material or the control solution. The ovalbumin-sensitized animals were treated with budesonide alone or in combination with the test material RDC 1676-03 for 7 days prior to ovalbumin challenge. 6 and 24 hours following the challenge, total blood count and levels of several pro and anti-inflammatory cytokines as well as various respiratory parameters were measured to estimate any beneficial effect of administering the test material on various inflammatory parameters.

[0000]

Materials and Methods:

[0522]

Brown Norway rats of strain Bn/Crl were obtained from Charles River Kingston, weighing approximately 275+50 g at the onset of the experiment. All animal studies were conducted with the approval by PCS-MTL Institutional Animal Care and Use Committee. During the study, the use and care of animals were conducted according to guidelines of the USA National Research Council as well as Canadian Council of Animal Care.

[0523]

Sensitization.

[0524]

On day 1 of the experiment, animals (14 animals in each treatment group) were sensitized by administration of a 1 ml intraperitoneal injection of a freshly prepared solution of 2 mg ovalbumin/100 mg Aluminum Hydroxide per 1 ml of 0.9% Sodium Chloride, followed by repeat injection on day 3.

[0525]

Treatment.

[0526]

Fifteen days following the initial sensitization, animals were subjected to nebulized exposure to control (Normal saline) or test solutions (electrokinetically generated fluids RDC1676-00, RDC1676-02 and RDC-1676-03), either administered alone or in combination with Budesonide, once daily for 15 minutes for 7 consecutive days. Animals were dosed in a whole body chamber of approximately 20 L, and test atmosphere was generated into the chamber air inlet using aeroneb ultrasonic nebulizers supplied with air from a Buxco bias flow pump. The airflow rate was set at 10 liters/min.

[0527]

Ovalbumin Challenge.

[0528]

On day 21, 2 hours following treatment with the test solutions, all animals were challenged with 1% ovalbumin nebulized solution for 15 minutes (in a whole body chamber at airflow 2 L/min).

[0529]

Sample Collection.

[0530]

At time points of 6 and 24 hours after the ovalbumin challenge, blood samples were collected for total and differential blood cell counts as well as for measuring levels of various pro and anti-inflammatory cytokines. In addition, Immediately after and at 6 and 24 hours following ovalbumin challenge the enhanced pause Penh and tidal volume were measured for a period of 10 minutes using the Buxco Electronics BioSystem XA system.

[0000]

Results:

[0531]

Eosinophil Count: As expected, and shown in FIG. 109, treatment with Budesonide (“NS+Budesonide 750 μg/Kg”; densely crosshatched bar graph) reduced the total eosinophil count in the challenged animals relative to treatment with the normal saline “NS” alone control (open bar graph). Additionally, while treatment with the inventive fluid “RDC1676-03” alone (lightly crosshatched bar graph) did not significantly reduce the eosinophil count, it nonetheless displayed a substantial synergy with Budesonide in reducing the eosinophil count (“RDC1676-03+Budesonide 750 μg/Kg”, solid dark bar graph). Similarly, in FIG. 110, the Eosinophil % also reflected a similar trend. While RDC1676-03 (lightly crosshatched graph bar) or Budesonide 750 ug/kg (densely crosshatched bar graph) alone did not have a significant effect on Eosinophil % count in the challenged animals, the two in combination reduced the Eosinophil significantly (solid dark bar graph).

[0532]

Therefore, FIGS. 109 and 110 show, according to particular aspects of the present invention that the inventive electrokinetically generated fluids (e.g., RDC1676-03) were demonstrated to have a substantial synergistic utility in combination with Budesonide to significantly reduce eosinophil count (“Eosinophil %” and total count) in an art-recognized rat model for human allergic asthma.

[0000]

Respiratory Parameters:

[0533]

FIGS. 111A-C and 112 A-C demonstrate the observed effect of the test fluids on Penh and tidal volume as measured immediately, 6 and 24 hours after the ovalbumin challenge. Penh is a derived value obtained from peak inspiratory flow, peak expiratory flow and time of expiration and lowering of penh value reflects a favorable outcome for lung function.
Penh=(Peak expiratory flow/Peak inspiratory flow)*(Expiratory time/time to expire 65% of expiratory volume−1).

[0534]

As evident from FIGS. 111A-C, treatment with Budesonide (at both 500 and 750 ug/kg) alone or in combination with any of the test fluids failed to significantly affect the Penh values immediately after the challenge. However, 6 hours after the challenge, animals treated with RDC1676-03 alone or in combination with Budesonide 500 or 750 ug/kg demonstrated a significant drop in Penh values. Although the extent of this drop was diminished by 24 hours post challenge, the trend of a synergistic effect of Budesonide and RDC fluid was still observed at this time point.

[0535]

Tidal volume is the volume of air drawn into the lungs during inspiration from the end-expiratory position, which leaves the lungs passively during expiration in the course of quiet breathing. As shown in FIGS. 112 A-C, animals treated with Budesonide alone showed no change in tidal volumes immediately after the challenge. However, RDC1676-03 alone had a significant stimulatory effect on tidal volume even at this early time point. And again, RDC1676-03 in combination with Budesonide (both 500 and 750 ug/kg) had an even more pronounced effect on Tidal volume measurements at this time point. Six hours after the challenge, RDC1676-03 alone was sufficient to cause a significant increase in tidal volume and addition of Budesonide to the treatment regimen either alone or in combination had no added effect on tidal volume. Any effect observed at these earlier time points were, however, lost by the 24 hours time point.

[0536]

Taken together, these data demonstrate that RDC1676-03 alone or in combination with Budesonide provided significant relief to airway inflammation as evidenced by increase in tidal volume and decrease in Penh values at 6 hours post challenge.

[0000]

Cytokine Analysis:

[0537]

To analyze the mechanism of the effects seen on the above discussed physiological parameters, a number of pro as well as anti-inflammatory cytokines were measured in blood samples collected at 6 and 24 hours after the challenge, immediately following the physiological measurements.

[0538]

FIGS. 113A and 113B clearly demonstrate that Rev 60 (or RDC1676-03) alone lowered the blood level of eotaxin significantly at both 6 and 24 hours post challenge. Budesonide 750 ug/kg also reduced the blood eotaxin levels at both of these time points, while Budesonide 250 ug/kg only had a notable effect at the later time point. However, the test solution Rev 60 alone showed effects that are significantly more potent (in reducing blood eotaxin levels) than both concentrations of Budesonide, at both time points. Eotaxin is a small C—C chemokine known to accumulate in and attract eosinophils to asthmatic lungs and other tissues in allergic reactions (e.g., gut in Crohn's disease). Eotaxin binds to a G protein coupled receptor CCR3. CCR3 is expressed by a number of cell types such as Th2 lymphocytes, basophils and mast cells but expression of this receptor by Th2 lymphocyte is of particular interest as these cells regulate eosinophil recruitment. Several studies have demonstrated increased production of eotaxin and CCR3 in asthmatic lung as well as establishing a link between these molecules and airway hyperresponsiveness (reviewed in Eotaxin and the attraction of eosinophils to the asthmatic lung, Dolores M Conroy and Timothy J Williams Respiratory Research 2001, 2:150-156). It is of particular interest to note that these studies completely agree with the results in FIGS. 109 and 110 on eosinophil counts.

[0539]

Taken together these results strongly indicate that treatment with RDC1676-03 alone or in combination with Budesonide can significantly reduce eosinophil total count and % in blood 24 hours after the ovalbumin challenge. This correlates with a significant drop in eotaxin levels in blood observed as early as 6 hours post challenge.

[0540]

Blood levels of two major key anti-inflammatory cytokines, IL10 and Interferon gamma are also significantly enhanced at 6 hours after challenge as a result of treatment with Rev 60 alone or in combination with Budesonide. FIGS. 113C and 113D show such effects on Interferon gamma and IL10, respectively. It is evident from these figures that Rev 60 alone or Rev 60 in combination with Budesonide 250 ug/kg significantly increased the blood level of IL10 in the challenged animals up to 6 hrs post challenge. Similarly, Rev 60 alone or in combination with Budesonide 250 or 750 ug/kg significantly increased the blood level of IFN gamma at 6 hours post challenge. Increase in these anti-inflammatory cytokines may well explain, at least in part, the beneficial effects seen on physiological respiratory parameters seen 6 hours post challenge. The effect on these cytokines was no longer observed at 24 hour post challenge (data not shown).

[0541]

Rantes or CCL5 is a cytokine expressed by circulating T cells and is chemotactic for T cells, eosinophils and basophils and has an active role in recruiting leukocytes into inflammatory sites. Rantes also activates eosinophils to release, for example, eosinophilic cationic protein. It changes the density of eosinophils and makes them hypodense, which is thought to represent a state of generalized cell activation. It also is a potent activator of oxidative metabolism specific for eosinophils.

[0542]

As shown in FIG. 114, systemic levels of Rantes was reduced significantly at 6 hours, but not at 24 hours post challenge in animals treated with Rev 60 alone or in combination of Budesonide 250 or 750 ug/kg. Once again, there is a clear synergistic effect of Budesonide 750 ug/kg and Rev 60 that is noted in this set of data. A similar downward trend was observed for a number of other pro-inflammatory cytokines, such as KC or IL8, MCP3, IL1b, GCSF, TGFb as well as NGF, observed either at 6 or at 24 hours post challenge, in animals treated with Rev60 alone or in combination with Budesonide.

Example 18

The Inventive Therapeutic Fluids have Substantial Utility for Modulating Intercellular Tight Junctions

[0543]

According to particular aspects, the inventive diffuser processed therapeutic fluids have substantial utility for modulating intercellular tight junctions, including those relating with pulmonary and systemic delivery and bioavailability of polypeptides, including the exemplary polypeptide salmon calcitonin (sCT).

[0544]

Example Overview.

[0545]

Salmon calcitonin (sCT) is a 32 amino acid peptide with a molecular weight of 3,432 Daltons. Pulmonary delivery of calcitonin has been extensively studied in model systems (e.g., rodent model systems, rat model systems, etc.) to investigate methods to enhance pulmonary drug delivery (e.g., intratracheal drug delivery). According to particular exemplary aspects, the inventive diffuser processed therapeutic fluid has substantial utility for modulating (e.g., enhancing) intercellular tight junctions, for example those associated with pulmonary and systemic delivery and bioavailability of sCT in a rat model system.

[0000]

Methods:

[0546]

Intratracheal Drug Delivery.

[0547]

According to particular embodiments, sCT is formulated in the inventive therapeutic fluid and administered to rats using an intratracheal drug delivery device. In certain aspects, a Penn Century Micro-Sprayer device designed for rodent intratracheal drug delivery is used, allowing for good lung delivery, but, as appreciated in the art, with relatively low alveolar deposition resulting in poor systemic bioavailability of peptides. According to particular aspects, this art-recognized model system was used to confirm that the inventive diffuser processed therapeutic fluid has substantial utility for modulating (e.g., enhancing) intercellular tight junctions, including those associated with pulmonary and systemic delivery and bioavailability of polypeptides.

[0548]

Animal Groups and Dosing.

[0549]

In certain aspects, rats are assigned to one of 3 groups (n=6 per group): a) sterile saline; b) base solution without O2enrichment (‘base solution’); or c) inventive diffuser processed therapeutic fluid (‘inventive enriched based solution’). The inventive enriched based solution is formed, for example by infusing oxygen in 0.9% saline. Preferably, the base solution comprises about 0.9% saline to minimize the potential for hypo-osmotic disruption of epithelial cells. In certain embodiments, sCT is separately reconstituted in the base solution and the inventive enriched based solution and the respective solutions are delivered to respective animal groups by intratracheal instillation within 60 minutes (10 μg sCT in 200 μL per animal).

[0550]

Assays.

[0551]

In particular aspects, blood samples (e.g., 200 μl) are collected and placed into EDTA coated tubes prior to dosing and at 5, 10, 20, 30, 60, 120 and 240 minutes following dosing. Plasma is harvested and stored at −70° C. until assayed for sCT using an ELISA.

[0552]

For Agilant gene array data generation, lung tissue was isolated and submerged in TRI Reagent (TR118, Molecular Research Center, Inc.). Briefly, approximately 1 mL of TRI Reagent was added to 50-100 mg of tissue in each tube. The samples were homogenized in TRI Reagent, using glass-Teflon™ or Polytron™ homogenizer. Samples were stored at −80° C.

[0000]

Results:

[0553]

Enhancement of Tight Junctions.

[0554]

FIG. 84 shows that RDC1676-01 (sterile saline processed through the instant proprietary device with additional oxygen added; gas-enriched electrokinetically generated fluid (Rev) of the instant disclosure) decreased systemic delivery and bioavailability of sCT. According to particular aspects, the decreased systemic delivery results from decreased adsorption of sCT, most likely resulting from enhancement of pulmonary tight junctions. RDC1676-00 signifies sterile saline processed according to the presently disclosed methods, but without oxygenation.

[0555]

Additionally, according to particular aspects, tight junction related proteins were upregulated in lung tissue. FIGS. 85-89 show upregulation of the junction adhesion molecules JAM 2 and 3, GJA1, 3, 4 and 5 (junctional adherins), OCLN (occludin), claudins (e.g., CLDN 3, 5, 7, 8, 9, 10), TJP1 (tight junction protein 1), respectively.

Example 19

The Inventive Therapeutic Fluids have Substantial Utility for Modulating Nitric Oxide Levels

[0556]

According to particular aspects, the inventive diffuser processed therapeutic fluids have substantial utility for modulating nitric oxide levels, and/or related enzymes. FIGS. 90-94 show data obtained from human foreskin keratinocytes exposed to RDC1676-01 (sterile saline processed through the instant proprietary device with additional oxygen added; gas-enriched electrokinetically generated fluid (Rev) of the instant disclosure) showing up-regulation of NOS1 and 3, and Nostrin, NOS3. By contrast, data obtained from rat lung tissue (tissue of above Example entitled “Cytokine Expression”) shows down regulation of NOS2 and 3, Nostrin and NOS1AP with Rev (FIGS. 93, 94).

Example 20

Localized Electrokinetic Effects (Voltage/Current) were Demonstrated Using a Specially Designed Mixing Device Comprising Insulated Rotor and Stator Features

[0557]

In this Example, feature-localized electrokinetic effects (voltage/current) were demonstrated using a specially designed mixing device comprising insulated rotor and stator features.

[0558]

Overview.

[0559]

As discussed in detail herein above under “Double Layer Effect” (see also FIGS. 26 and 28) the mixing device 100 may be configured to create the output material 102 by complex and non-linear fluid dynamic interaction of the first material 110 and the second material 120 with complex, dynamic turbulence providing complex mixing that further favors electrokinetic effects. According to particular aspects, the result of these electrokinetic effects may be present within the output material 102 as charge redistributions and redox reactions, including in the form of solublized electrons that are stabilized within the output material.

[0560]

In addition to general surface-related double layer effects in the mixing chamber, Applicants additionally reasoned that localized electrokinetic effects may be imparted by virtue of the feature-induced microcavitation and fluid acceleration and deceleration in the vicinity of the features. The studies of this Example were thus performed to further investigate and confirm said additional electrokinetic aspects.

[0561]

Materials:

[0562]

A test device similar to the inventive mixing devices described herein was constructed, comprising a stainless steel rotor 12 having two features 18 (disposed at 180 degrees), and a stator 14 with a single feature 16 positioned to be rotationally opposable to the rotor features 18 and stator features 16. Significantly, the rotor and stator features, in each case, are insulated from the respective rotor and stator bodies (FIG. 95). The device was machined to provide for a consistent rotor:stator gap 20 of 0.020 inches to conform with the devices disclosed elsewhere herein. There is a rotating contact (not shown) at the end of the rotor shaft (not shown) that provides an electrical path for the rotor surface and for the insulated rotor features. Likewise the stator has a similar insulated feature 16 (FIG. 95), wherein the stator inner surface and the insulated stainless steel feature are connected to respective contacts on the stator exterior.

[0563]

A operational amplifier (OpAmp) circuit (M) 22 is connected between the contacts. The operational amplifier (OpAmp) circuit was constructed to provide for collection of very low voltage measurements by taking advantage of the high input impedance of such amplifiers. The outputs of the OpAmp are fed to the inputs of an oscilloscope (e.g., a battery powered laptop running an oscilloscope application with a Pico Scope 3000™).

[0564]

To eliminate the introduction of any ambient noise (e.g., RF radiation from wireless network signals and from the 60 Hz power line) during testing of the device, a fine copper mesh, RF-shielded compartment (approx. three by four by four feet) was constructed to provide a Faraday cage. This configuration provided for excellent signal to noise ratios during experimental testing, as interfering signals from 60 Hz AC noise (e.g., of approximately two volts) and high frequency RF was reduced well below the signals of interest. Using a battery powered laptop running an oscilloscope application with a Pico Scope 3000 enabled detection of the 30 mV signals (as in FIG. 96) created by the features of the test device. In addition, a variable speed DC motor was positioned outside the Faraday cage and coupled to the rotatable test device via a non-metallic shaft to effectively isolate the motor noise away from the test device.

[0565]

Methods:

[0566]

The OpAmp circuit was used to measure voltage potential between the contacts connecting the stator inner surface 12 and the insulated stator feature 16. With the particular circuit arrangement, only a potential was measured. The rotational speed of the device could be varied between about 700 to about 2800 rpm (with the data of FIG. 96 being measured with the device running at about 1800 rpm).

[0567]

To avoid any extraneous voltage generation due to a pump or peristaltic pump, fluid flow through the device was accomplished using inert nitrogen or air or argon acting on fluid in tanks connected to the device. There was no perceptible voltage contribution from the flow mechanism, and typically air was used as the pumping force to provide for fluid flow through the device.

[0568]

Fluid flow rate through the device was about 1 L/min.

[0569]

An initial set of non-rotational experiments was conducted by directing fluid flow through the device chamber but without rotation of the rotor in order to assess the presence of any voltage between the stator body 12 and the isolated feature 16. Separate experiments were conducted for both flow directions.

[0570]

An additional set of rotational experiments was then conducted with the same fluid flow rate, and with the device rotor rotating at various speeds from about 300 to about 1800 rpm. For any given experiment, the flow rate and rotational speed were held constant.

[0571]

Results:

[0572]

With respect to the non-rotational experiments, with fluid flowing through the device in either direction without any rotor rotation there was only a barely perceptible voltage (e.g., 1 to 2 mV)) between the body of the stator and the insulated feature.

[0573]

With respect to the rotational experiments, and with reference to FIG. 96, it can be seen that voltage pulses (potential pulses), temporally correlating (in this case at about 1800 rpm) with rotational alignment of opposing rotor stator features, were measurable with the OpAmp in the operating test device. Moreover, such periodic voltage pulses, correlating with feature alignments, could be observed over a range from about 250 or 300 rpm to about 1800. Additionally, with or without fluid flow, such voltage pulses were observed in the rotational experiments as long as the cavity/fluid chamber of the device was filled with fluid. According to particular aspects, and without being bound by mechanism, rapid, violent compression (e.g., cavitation), acceleration and deceleration of fluid flow in the vicinity of the repetitive rotationally aligned features created the respective local voltage pulses that correlate exactly with the rotational period, providing, at least in part, for electrokinetically generated fluid according to the present invention. Additional experiments revealed that the amplitude (peak shape and height) of the voltage pulses increased with increasing rotational velocity, being initially observable at about 250 to 300 rpm in this particular test device, and increasing up to at least about 2800 rpm. The magnitude of the violent acceleration and deceleration, etc., of fluid flow in the vicinity of the rotationally aligned features would be expected to generally increase with increasing rotational velocity; at least until a maximum was reached reflecting physical limits imposed by the geometry, configuration and/or flow rate of the device. According to additional aspects, because localized voltage spikes are present, localized current flow (e.g., current pulses) is generated in the vicinity of the features, providing, at least in part, for electrokinetically generated fluid according to the present invention (e.g., without being bound by mechanism, providing for electrochemical reactions as discussed elsewhere herein).

[0574]

According to additional aspects, and without being bound by mechanism, such feature-localized effects (e.g., voltage pulses and current and/or currents pulses) contribute to generation of the electrokinetically generated fluids in combination with more general surface-related double layer and streaming current effects discussed elsewhere herein above under “Double Layer Effect” (see also FIGS. 26 and 28).

Example 21

Relative to Non-Electrokinetically Generated Control Fluids, the Inventive Electrokinetically Generated Fluids were Shown to Differentially Affect Line Widths in13C NMR Analysis of the Dissolved Solute α,α-Trehalose

[0575]

Overview.

[0576]

Applicants data disclosed elsewhere herein support utility and mechanism wherein the inventive electrokinetically generated fluids mediate regulation or modulation of intracellular signal transduction by modulation of at least one of cellular membranes, membrane potential/conductance, membrane proteins (e.g., membrane receptors such as G protein coupled receptors), calcium dependent cellular signaling systems, and intercellular junctions (e.g., tight junctions, gap junctions, zona adherins and desmasomes). Specifically, using a variety of art-recognized biological test systems and assays, Applicants data shows, relative to control fluids, differential effects of the inventive fluid on, for example: regulatory T cell proliferation; cytokine and protein levels (e.g., IL-10, GITR, Granzyme A, XCL1, pStat5, and Foxp3, tyrptase, tight junction related proteins, TSLP receptor, MMP9, etc.); binding of Bradykinin ligand with the Bradykinin B2 receptor; expression of TSLP receptor, whole cell conductance; etc. Moreover, the Diphtheria toxin (DT390) effects shown herein indicate that beta blockade (beta 2 adrenergic receptor), and/or GPCR blockade and/or Ca channel blockade affects the activity of the electrokinetically generated fluids on, for example, Treg and PBMC function.

[0577]

Taken together these effects indicate that the inventive electrokinetically generated fluids are not only fundamentally distinguished from prior art fluids, but also that they provide for novel compositions and substantial utilities such as those presently disclosed and claimed herein.

[0578]

In this Example.

[0579]

Applicants have in this Example performed nuclear magnetic resonance (NMR) studies to further characterize the fundamental nature of the inventive electrokinetically generated fluids. Specifically, Applicants have analyzed the13C NMR spectra of α,α-Trehalose dissolved in the electrokinetically generated fluid, compared to dissolution in non-electrokinetically generated fluid. Trehalose (shown below with carbons numbered for reference) is a cosmotrophic solute and is known, for example to protect against protein denaturation, membrane desiccation, organism viability upon freezing, etc. Applicants, given the data summarized above, reasoned that α,α-Trehalose might provide an effective tool to further probe the properties/structure of the inventive electrokinetically generated fluids. Applicants reasoned that NMR-related ‘chemical shifts’ and effects on ‘line widths’ could be used to assess properties of the inventive fluids. For these studies, a non-superoxygenated inventive electrokinetically generated fluid (referred to herein as “Solas”) was employed to minimize the possibility that paramagnetic impurities, such as dissolved oxygen, might act to counter or otherwise mask the effects being analyzed.

[0580]


Materials and Methods:

[0581]

Solution Preparation.

[0582]

The Phosphate (sodium salt) and D-(+)-Trehalose dihydrate (T9531-10G, reduced metal content) and 99.9% D2O containing 1% DSS were purchased from Sigma. The “Normal Saline” is 0.9% Sodium Chloride, pH 5.6 (4.5-7.0), from Hospira. The 0.25 M α,α-Trehalose solutions were prepared by dissolving 0.949 g trehalose into 965 μL Normal Saline and 35 mL Phoshate Buffered Saline (100 mM Phosphate Buffer in 0.9% NaCl prepared in such a way that when 35 μL of this buffer are added to 1.0 mL trehalose solution the pH becomes 6.93).

[0583]

Nuclear Magnetic Resonance Spectra Collection.

[0584]

Spectra were collected at the University of Washington NMR facility using either an 500 MHz or 300 MHz Bruker Avance series instrument fitted with a Bruker BBO: X {1H} probe and running XWINNMR 3.5.13C NMR spectra were collected at 125.7 MHz or 75.46 MHz using a 14000 Hz or 7900 Hz sweep width using 64K or 128K data points and 128 or 256 scans. The resulting FIDs were zero-filled twice and processed with a 1.0 Hz line broadening factor. Temperature was controlled using the Bruker Biospin Variable Temperature unit. External deuterium locking was employed by placing 99.9% D2O+1% DSS+a trace of acetone in a coaxial NMR insert tube, purchased from Wilmad. The NMR data was processed using the iNMR software v. 2.6.4 from Mestrelab Research.

[0000]

Results:

[0585]

Sample Spectra.

[0586]

FIG. 97A-C shows expansions of six13C-NMR spectra overlaid on top of each other such that the DSS signals line up at −2.04 ppm. The DSS signals are shown at the far right of the figure, and the acetone methyl signal is shown near 30.9 ppm. The remaining signals correspond to the 6 carbons of trehalose as shown in the α,α-Trehalose structure above. As can be seen, the carbon signals in the Solas solutions show small chemical shifts (generally upfield) compared to the control solutions.

[0587]

Line Width Measurements.

[0588]

TABLE 9 below shows the measured13C NMR line widths for the six carbons of trehalose and the methyl carbon of acetone at 3 different temperatures for Solas Saline (an inventive electrokinetically generated fluid). The corresponding Normal Saline samples represent non-electrokinetic control solutions at each temperature. In the Solas solutions, the line widths are significantly different from the line widths in the control solution for each carbon atom. The smaller linewidths in the Solas solutions at lower temperatures likely result from a faster tumbling rate of the trehalose molecule as a whole (including any solvated water molecules) compared to the control solutions.

[0589]

13C NMR Line Widths for α,α-Trehalose
in Solas & Normal Salinea,b
Test Fluid
(Temp, degrees K)C-1C-2C-3C-4C-5C-6Acetone
Solas (277)8.48.228.38.158.311.15.1
Normal (269.9)15.416.115.814.915.421.75.1
Solas (293)9.528.79.2898.911.255.63
Normal (292.9)10.3310.2310.239.9310.2313.135.63
Solas (310)2.282.032.182.1922.550.67
Normal (309.9)1.170.991.11.020.971.420.67
a1.0 Hz was subtracted from all line width values due to the 1.0 Hz line broadening used during processing. In addition, line width values were normalized relative to the acetone signal in the external reference tube in order to compensate for magnetic field inhomogeneities. This was done by subtracting from the Normal Saline line widths the amount by which the acetone peak was broadened in the corresponding Solas Saline spectra.
bError in line width measurements estimated to be within +/−0.30 Hz

[0590]

The13C NMR line widths for α,α-Trehalose in Solas and normal saline, in each case normalized with respect to the Acetone line, are shown graphically in FIG. 97A. In conclusion, the NMR data for13C NMR line widths for α,α-Trehalose in Solas and normal saline indicate that there is a property of the inventive solution which alters solute tumbling.

[0591]

Taken together with the biological activities summarize above and elsewhere herein, these13C NMR line width effects indicate that the inventive electrokinetically generated fluids are not only fundamentally distinguished from prior art fluids in terms of solute interactions, but also that they provide for novel compositions and substantial utilities such as those presently disclosed and claimed herein.

Example 22

Relative to Non-Electrokinetically Generated Control Fluids, the Inventive Electrokinetically Generated Fluids Produced Differential Square Wave Voltametry Profiles and Displayed Unique Electrochemical Properties Under Stripping Polarography

[0592]

Overview.

[0593]

Applicants' data disclosed elsewhere herein support utility and mechanism wherein the inventive electrokinetically generated fluids mediate regulation or modulation of intracellular signal transduction by modulation of at least one of cellular membranes, membrane potential/conductance, membrane proteins (e.g., membrane receptors such as G protein coupled receptors), calcium dependent cellular signaling systems, and intercellular junctions (e.g., tight junctions, gap junctions, zona adherins and desmasomes). Specifically, using a variety of art-recognized biological test systems and assays. Applicants data shows, relative to control fluids, differential effects of the inventive fluid on, for example: regulatory T cell proliferation; cytokine and protein levels (e.g., IL-10, GITR, Granzyme A, XCL1, pStat5, and Foxp3, tyrptase, tight junction related proteins, TSLP receptor, MMP9, etc.); binding of Bradykinin ligand with the Bradykinin B2 receptor; expression of TSLP receptor, whole cell conductance; etc. Moreover, the Diphtheria toxin (DT390) effects shown herein indicate that beta blockade (beta 2 adrenergic receptor), and/or GPCR blockade and/or Ca channel blockade affects the activity of the electrokinetically generated fluids on, for example, Treg and PBMC function.

[0594]

Taken together these effects indicate that the inventive electrokinetically generated fluids are not only fundamentally distinguished from prior art fluids, but also that they provide for novel compositions and substantial utilities such as those presently disclosed and claimed herein.

[0595]

In this Example.

[0596]

Applicants have, in this Example, performed voltametry studies to further characterize the fundamental nature of the inventive electrokinetically generated fluids. Voltametry is frequently used to determine the redox potential or measure kinetic rates and constants of fluids. The common characteristic of all voltametric methods is that they involve the application of a potential to an electrode and the resultant current flowing is monitored through an electrochemical cell. The applied potential produces a change in the concentration of an electroactive species at the electrode surface by electrochemically reducing or oxidizing the species.

[0597]

Specifically, Applicants have utilized voltametric methods (i.e., square wave voltametry and stripping polarography) to further characterize fundamental differences between control saline fluid and the inventive electrokinetically generated test fluids (e.g., Solas and Revera). Applicants, given the biological and membrane effects data summarized above, reasoned that square wave voltametry and stripping polarography would provide an effective means to further characterize the unique properties of the inventive electrokinetically generated fluids.

[0598]

Applicants further reasoned that differences in current at specific voltages, production of different concentrations of an electroactive redox compound, creation of new redox compounds, and possession of unique electrochemical properties could be used to assess and characterize properties of the inventive fluids. For these studies, both a superoxygenated electrokinetically generated fluid (Revera), and a non-superoxygenated inventive electrokinetically generated fluid (Solas) were used.

[0000]

Materials and Methods:

[0599]

Materials and Solution Preparation.

[0600]

The experiments were conducted on an EG & G SMDE 303A polarographer (Princeton Applied Research). The electrolyte, NaOH, used in the square wave voltametry experiment, was purchased from Sigma. A 10 mL sample of the inventive fluid solution was prepared by adding 100 μL of NaOH to 9.9 mL of Revera Saline to make a 0.18 molar solution. With regards to the stripping polarography experiment, no extra electrolyte was utilized.

[0601]

Square Wave Voltametry.

[0602]

As stated above, voltametry is used to determine the redox potential or measure kinetic rates and constants in fluids. In the square wave voltametry experiment, a potential of 0.0 to approximately −1.75 V was applied to an electrode and the resultant current flowing through the electrochemical cell was monitored.

[0603]

Stripping Polarography.

[0604]

The stripping polarography method is similar to the square wave voltametry method. However, no electrolyte was utilized as stated above and also involved a pre-step. In the pre-step, the static mercury drop electrode was held for 30 seconds at −1.1 V to amalgamate any compounds whose reduced form was soluble in mercury. Then, the potentials between −1.1 V and 0.0 V were scanned and the resultant current flowing through the electrochemical cell was monitored. A linear scan into the negative potentials on this amalgam provided a sensitive measurement of these compounds.

[0000]

Results:

[0605]

Square Wave Voltametry.

[0606]

As evident from FIG. 98, the current profiles at −0.14V, −0.47V, −1.02V and −1.36V differ between the various tested agents. According to particular aspects, the differences in current generated at the various specific voltages indicate at least one of a different concentration of an electroactive redox compound and/or a new or unique electroactive redox compound, and/or a change in the diffusion-limiting electrical double layer surrounding the mercury drop.

[0607]

Stripping Polarography.

[0608]

FIG. 99 shows that the inventive electrokinetically generated fluids, Revera and Solas, show unique spectra with pronounced peaks at −0.9 volts that are not present in the non-electrokinetically generated blank and saline control fluids. Additionally, the spectra of the non-electrokinetically generated blank and saline control fluids show characteristic peaks at −0.19 and −0.3 volts that are absent in the spectra for the electrokinetically generated Solas and Revera fluids.

[0609]

According to particular aspects, therefore, these results show unique electrochemical properties of the inventive electrokinetically generated Solas and Revera fluids compared to non-electrokinetically generated Saline control fluid. According to additional aspects, the results indicate the presence or generation of at least one of a different concentration of an electroactive redox compound and a new and/or unique electroactive redox compound in electrokinetically generated versus non-electrokinetically generated fluids.

[0610]

On top of the various biological data presented elsewhere herein, this differential voltametry data, particularly when considered along with the differential effects on whole cell conductance,13C NMR line-width analysis, and the mixing device feature-localized effects (e.g., voltage pulses and current and/or currents pulses) indicate that the inventive electrokinetically generated fluids are not only fundamentally distinguished from prior art fluids, but also provide for novel compositions and substantial utilities such as those presently disclosed and claimed herein.

Example 23

Patch Clamp Analysis Conducted on Bronchial Epithilial Cells (BEC) Perfused with Inventive Electrokinetically Generated Fluid (RNS-60) Revealed that Exposure to RNS-60 Resulted in a Decrease in Whole Cell Conductance, and Stimulation with a cAMP Stimulating “Cocktail”, which Dramatically Increased the Whole-Cell Conductance, and Also Increased the Drug-Sensitive Portion of the Whole-Cell Conductance, which was Ten-Times Higher than that Observed Under Basal Conditions

[0611]

In this Example, patch clamp studies were performed to further confirm the utility of the inventive electrokinetically generated fluids to modulate intracellular signal transduction by modulation of at least one of membrane structure, membrane potential or membrane conductivity, membrane proteins or receptors, ion channels, and calcium dependent cellular messaging systems.

[0612]

Overview.

[0613]

As shown in Example 14 above (e.g., FIG. 75, showing Stabilization of Bradykinin binding to the B2 receptor using Bio-Layer Interferometry biosensor, Octet Rapid Extended Detection (RED) (forteBio™)), Bradykinin binding to the B2 receptor was concentration dependent, and binding affinity was increased in the electrokinetically generated fluid (e.g., Rev; gas-enriched electrokinetically generated fluid) of the instant disclosure compared to normal saline. Additionally, as shown in Example 15 in the context of T-regulatory cells stimulated with particulate matter (PM), the data showed a decreased proliferation of T-regulatory cells in the presence of PM and Rev relative to PM in control fluid (no Rev, no Solas) (FIG. 76), indicating that the inventive electrokinetically generated fluid Rev improved regulatory T-cell function; e.g., as shown by relatively decreased proliferation in the assay. Moreover, exposure to the inventive fluids resulted in a maintained or only slightly decreased production of IL-10 relative to the Saline and Media controls (no PM). Likewise, in the context of the allergic asthma (AA) profiles of peripheral blood mononuclear cells (PBMC) stimulated with particulate matter (PM), the data showed that exposure to the fluids of the instant disclosure (“PM+Rev”) resulted in significantly lower tryptase levels similar to those of the Saline and Media controls. Additionally, the Diphtheria toxin (DT390) effects shown in Example 15 and FIGS. 76-83, indicate that beta blockade, GPCR blockade and Ca channel blockade affects the activity of the electrokinetically generated fluids on Treg and PBMC function. Furthermore, the data of Example 18 shows that, according to additional aspects, upon expose to the inventive fluids, tight junction related proteins were upregulated in lung tissue. FIGS. 85-89 show upregulation of the junction adhesion molecules JAM 2 and 3, GJA1,3,4 and 5 (junctional adherins), OCLN (occludin), claudins (e.g., CLDN 3, 5, 7, 8, 9, 10), TJP1 (tight junction protein 1), respectively.

[0614]

Patch clamp studies were performed to further investigate and confirm said utilities.

[0615]

Materials and Methods:

[0616]

The Bronchial Epithelial line Calu-3 was used in Patch clamp studies. Calu-3 Bronchial Epithelial cells (ATCC #HTB-55) were grown in a 1:1 mixture of Ham's F12 and DMEM medium that was supplemented with 10% FBS onto glass coverslips until the time of the experiments. In brief, a whole cell voltage clamp device was used to measure effects on Calu-3 cells exposed to the inventive electrokinetically generated fluids (e.g., RNS-60; electrokinetically treated normal saline comprising 60 ppm dissolved oxygen; sometimes referred to as “drug” in this Example).

[0617]

Patch clamping techniques were utilized to assess the effects of the test material (RNS-60) on epithelial cell membrane polarity and ion channel activity. Specifically, whole cell voltage clamp was performed upon the Bronchial Epithelial line Calu-3 in a bathing solution consisting of: 135 mM NaCl, 5 mM KCl, 1.2 mM CaCl2, 0.8 mM MgCl2, and 10 mM HEPES (pH adjusted to 7.4 with N-methyl D-Glucamine). Basal currents were measured after which RNS-60 was perfused onto the cells.

[0618]

More specifically, patch pipettes were pulled from borosilicate glass (Garner Glass Co, Claremont, Calif.) with a two-stage Narishige PB-7 vertical puller and then fire-polished to a resistance between 6-12 Mohms with a Narishige MF-9 microforge (Narishige International USA, East Meadow, N.Y.). The pipettes were filled with an intracellular solution containing (in mM): 135 KCl, 10 NaCl, 5 EGTA, 10 Hepes, pH was adjusted to 7.4 with NMDG (N-Methyl-D-Glucamine).

[0619]

The cultured Calu-3 cells were placed in a chamber containing the following extracellular solution (in mM): 135 NaCl, 5 KCl, 1.2 CaCl2, 0.5 MgCl2 and 10 Hepes (free acid), pH was adjusted to 7.4 with NMDG.

[0620]

Cells were viewed using the 40×DIC objective of an Olympus IX71 microscope (Olympus Inc., Tokyo, Japan). After a cell-attached gigaseal was established, a gentle suction was applied to break in, and to attain the whole-cell configuration. Immediately upon breaking in, the cell was voltage clamped at −120, −60, −40 and 0 mV, and was stimulated with voltage steps between ±100 mV (500 ms/step). After collecting the whole-cell currents at the control condition, the same cell was perfused through bath with the test fluid comprising same extracelluar solutes and pH as for the above control fluid, and whole-cell currents at different holding potentials were recorded with the same protocols.

[0621]

Electrophysiological data were acquired with an Axon Patch 200B amplifier, low-pass filtered at 10 kHz, and digitized with 1400A Digidata (Axon Instruments, Union City, Calif.). The pCLAMP 10.0 software (Axon Instruments) was used to acquire and to analyze the data. Current (I)-to-voltage (V) relationships (whole cell conductance) were obtained by plotting the actual current value at approximately 400 msec into the step, versus the holding potential (V). The slope of the IN relationship is the whole cell conductance.

[0622]

Drugs and Chemicals.

[0623]

Whenever indicated, cells were stimulated with a cAMP stimulatory cocktail containing 8-Br-cAMP (500 mM), IBMX (isobutyl-1-methylxanthie, 200 mM) and forskolin (10 mM). The cAMP analog 8-Br-cAMP (Sigma Chem. Co.) was used from a 25 mM stock in H2O solution. Forskolin (Sigma) and IBMX (Sigma) were used from a DMSO solution containing both 10 mM Forskolin and 200 mM IBMX stock solution.

[0624]

Patch Clamp Results:

[0625]

FIG. 100 shows whole-cell currents under basal (no cAMP) conditions, with a protocol stepping from zero mV holding potential to +/−100 mV. Representative tracings are the average of n=12 cells. The tracings on the left are the control, followed by the whole-cell tracings while perfusing the test solution (middle). The tracings on the right are the composite delta obtained by subtraction of the test average values, from those under control conditions. The whole-cell conductance, obtained from the current-to-voltage relationships is highly linear under both conditions, and reflects a modest, albeit significant change in conductance due to the test conditions. The contribution to the whole-cell conductance, i.e., the component inhibited by the drug (inventive electrokinetically generated fluid) is also linear, and the reversal potential is near zero mV. There is a decrease in the whole cell conductance under hyperpolarizing conditions.

[0626]

FIG. 101 shows whole-cell currents under basal conditions, with a protocol stepping from −40 mV holding potential to ±100 mV. Representative tracings are the average of n=12 cells. The tracings on the left are the control, followed by the whole-cell tracings while perfusing the test solution (middle). The tracings on the right are the composite delta obtained by subtraction of the test average values, from those under control conditions. The whole-cell conductance obtained from the current-to-voltage relationships is highly linear under both conditions, and reflects a modest, albeit significant change in conductance due to the test conditions. The contribution to the whole-cell conductance, i.e., the component inhibited by the drug (inventive electrokinetically generated fluid) is also linear, and the reversal potential is near zero mV. Values are comparatively similar to those obtained with the zero mV protocol.

[0627]

FIG. 102 shows whole-cell currents under basal conditions, with a protocol stepping from −60 mV holding potential to ±100 mV. Representative tracings are the average of n=12 cells. The tracings on the left are the control, followed by the whole-cell tracings while perfusing the test solution (middle). The tracings on the right are the composite delta obtained by subtraction of the test average values, from those under control conditions. The whole-cell conductance obtained from the current-to-voltage relationships is highly linear under both conditions, and reflects a minor, albeit significant change in conductance due to the test conditions. The contribution to the whole-cell conductance, i.e., the component inhibited by the drug is also linear, and the reversal potential is near zero mV. Values are comparatively similar to those obtained with the zero mV protocol.

[0628]

FIG. 103 shows whole-cell currents under basal conditions, with a protocol stepping from −120 mV holding potential to ±100 mV. Representative tracings are the average of n=12 cells. The tracings on the left are the control, followed by the whole-cell tracings while perfusing the test solution (middle). The tracings on the right are the composite delta obtained by subtraction of the test average values, from those under control conditions. The whole-cell conductance obtained from the current-to-voltage relationships is highly linear under both conditions, and reflects a minor, albeit significant change in conductance due to the test conditions. The contribution to the whole-cell conductance, i.e., the component inhibited by the drug is also linear, and the reversal potential is near zero mV. Values are comparatively similar to those obtained with the zero mV protocol.

[0629]

FIG. 104 shows whole-cell currents under cAMP-stimulated conditions, obtained with protocols stepping from various holding potentials to ±100 mV. Representative tracings are the average of n=5 cells. The tracings on the left are the control, followed by the whole-cell tracings after cAMP stimulation, followed by perfusion with the drug-containing solution. The tracings on the right are the composite delta obtained by subtraction of the test average values in drug+cAMP, from those under control conditions (cAMP alone). The tracings on the Top are those obtained from voltage protocol at zero mV, and the ones below, at −40 mV. The whole-cell conductance obtained from the current-to-voltage relationships is highly linear under all conditions, and reflects a change in conductance due to the test conditions.

[0630]

FIG. 105 shows whole-cell currents under cAMP-stimulated conditions, obtained with protocols stepping from various holding potentials to ±100 mV. Representative tracings are the average of n=5 cells. The tracings on the left are the control, followed by the whole-cell tracings after cAMP stimulation, followed by perfusion with the drug-containing solution. The tracings on the right are the composite delta obtained by subtraction of the test average values in drug+cAMP, from those under control conditions (cAMP alone). The tracings on the Top are those obtained from voltage protocol at −60 mV, and the ones below, at −120 mV. The whole-cell conductance, obtained from the current-to-voltage relationships, is highly linear under all conditions, and reflects a change in conductance due to the test conditions.

[0631]

FIG. 106 shows the effect of holding potential on cAMP-activated currents. The effect of the drug (the inventive electrokinetically generated fluids; RNS-60; electrokinetically treated normal saline comprising 60 ppm dissolved oxygen) on the whole-cell conductance was observed under different voltage protocols (0, −40, −60, −120 mV holding potentials). Under basal conditions, the drug-sensitive whole-cell current was identical at all holding potentials (voltage-insensitive contribution, Top Left panel). In the cAMP-activated conditions, however, the drug-sensitive currents were much higher, and sensitive to the applied voltage protocol. The current-to-voltage relationships are highly nonlinear. This is further observed in the subtracted currents (Bottom panel), where the contribution of the whole cell conductance at zero mV was further subtracted for each protocol (n=5).

[0632]

Summary of Example.

[0633]

According to particular aspects, therefore, the data indicate that there is a modest but consistent effect of the drug (the inventive electrokinetically generated fluids; RNS-60; electrokinetically treated normal saline comprising 60 ppm dissolved oxygen) under basal conditions. To enhance the effect of the drug on the whole-cell conductance, experiments were also conducted by perfusing the drug after stimulation with a cAMP stimulating “cocktail”, which dramatically increased the whole-cell conductance. Interestingly, this protocol also increased the drug-sensitive portion of the whole-cell conductance, which was ten-times higher than that observed under basal conditions. Additionally, in the presence of cAMP stimulation, the drug showed different effects with respect to the various voltage protocols, indicating that the electrokinetically generated fluids affect a voltage-dependent contribution of the whole-cell conductance. There was also a decrease in a linear component of the conductance, further suggesting at least a contribution of the drug to the inhibition of another pathway (e.g., ion channel, voltage gated cation channels, etc.).

[0634]

In particular aspects, and without being bound by mechanism, Applicants' data are consistent with the inventive electrokinetically generated fluids (e.g., RNS-60; electrokinetically treated normal saline comprising 60 ppm dissolved oxygen) producing a change either on a channel(s), being blocked or retrieved from the plasma membrane.

[0635]

Taken together with Applicants' other data (e.g., the data of working Examples) particular aspects of the present invention provide compositions and methods for modulating intracellular signal transduction, including modulation of at least one of membrane structure, membrane potential or membrane conductivity, membrane proteins or receptors, ion channels, and calcium dependant cellular signalling systems, comprising use of the inventive electrokinetically generated solutions to impart electrochemical and/or conformational changes in membranous structures (e.g., membrane and/or membrane proteins, receptors or other components) including but not limited to GPCRs and/or g-proteins. According to additional aspects, these effects modulate gene expression, and may persist, dependant, for example, on the half lives of the individual messaging components, etc.

Example 24

Patch Clamp Analysis Conducted on Calu-3 Cells Perfused with Inventive Electrokinetically Generated Fluids (RNS-60 and Solas) Revealed that (i) Exposure to RNS-60 and Solas Resulted in Increases in Whole Cell Conductance, (ii) that Exposure of Cells to the RNS-60 Produced an Increase in a Non-Linear Conductance, Evident at 15 Min Incubation Times, and (iii) that Exposure of Cells to the RNS-60 Produced an Effect of RNS-60 Saline on Calcium Permeable Channels

[0636]

Overview.

[0637]

In this Example, patch clamp studies were performed to further confirm the utilities, as described herein, of the inventive electrokinetically generated saline fluids (RNS-60 and Solas), including the utility to modulate whole-cell currents. Two sets of experiments were conducted.

[0638]

The summary of the data of the first set of experiments indicates that the whole cell conductance (current-to-voltage relationship) obtained with Solas saline is highly linear for both incubation times (15 min, 2 hours), and for all voltage protocols. It is however evident, that longer incubation (2 hours) with Solas increased the whole cell conductance. Exposure of cells to the RNS-60 produced an increase in a non-linear conductance, as shown in the delta currents (Rev-Sol subtraction), which is only evident at 15 min incubation time. The effect of the RNS-60 on this non-linear current disappears, and is instead highly linear at the two-hour incubation time. The contribution of the non-linear whole cell conductance, as previously observed, was voltage sensitive, although present at all voltage protocols.

[0639]

The summary of data of the second set of experiments indicates that there is an effect of the RNS-60 saline on a non-linear current, which was made evident in high calcium in the external solution. The contribution of the non-linear whole cell conductance, although voltage sensitive, was present in both voltage protocols, and indicates an effect of RNS-60 saline on calcium permeable channels.

First Set of Experiments

Increase of Conductance; and Activation of a Non-Linear Voltage Regulated Conductance

[0000]

Methods for First Set of Experiments:

[0640]

See EXAMPLE 23 for general patch clamp methods. In the following first set of experiments, patch clamp studies were performed to further confirm the utility of the inventive electrokinetically generated saline fluids (RNS-60 and Solas) to modulate whole-cell currents, using Calu-3 cells under basal conditions, with protocols stepping from either zero mV holding potential, −120 mV, or −60 mV.

[0641]

The whole-cell conductance in each case was obtained from the current-to-voltage relationships obtained from cells incubated for either 15 min or two hours, to further confirm the results of EXAMPLE 23. In this study, groups were obtained at a given time, for either Solas or RNS-60 saline solutions. The data obtained are expressed as the mean±SEM whole cell current for 5-9 cells.

[0000]

Results:

[0642]

FIGS. 117 A-C show the results of a series of patch clamping experiments that assessed the effects of the electrokinetically generated fluid (e.g., RNS-60 and Solas) on epithelial cell membrane polarity and ion channel activity at two time-points (15 min (left panels) and 2 hours (right panels)) and at different voltage protocols (A, stepping from zero mV; B, stepping from −60 mV; and C, stepping from −120 mV). The results indicate that the RNS-60 (filled circles) has a larger effect on whole-cell conductance than Solas (open circles). In the experiment similar results were seen in the three voltage protocols and at both the 15 minute and two-hour incubation time points.

[0643]

FIGS. 118 A-C show graphs resulting from the subtraction of the Solas current data from the RNS-60 current data at three voltage protocols (“Delta currents”) (A, stepping from zero mV; B, stepping from −60 mV; and C, stepping from −120 mV) and the two time-points (15 mins (open circles) and 2 hours (filled circles)). These data indicated that at the 15 minute time-point with RNS-60, there is a non-linear voltage-dependent component that is absent at the 2 hour time point.

[0644]

As in previous experiments, data with “Normal” saline gave a very consistent and time-independent conductance used as a reference. The present results were obtained by matching groups with either Solas or RNS-60 saline, and indicate that exposure of Calu-3 cells to the RNS-60 saline under basal conditions (without cAMP, or any other stimulation), produces time-dependent effect(s), consistent with the activation of a voltage-regulated conductance at shorter incubation times (15 min). This phenomenon was not as apparent at the two-hour incubation point. As described elsewhere herein, the linear component is more evident when the conductance is increased by stimulation with the cAMP “cocktail”. Nonetheless, the two-hour incubation time showed higher linear conductance for both the RNS-60 and the Solas saline, and in this case, the RNS-60 saline doubled the whole cell conductance as compared to Solas alone. This evidence indicates that at least two contributions to the whole cell conductance are affected by the RNS-60 saline, namely the activation of a non-linear voltage regulated conductance, and a linear conductance, which is more evident at longer incubation times.

Second Set of Experiments

Effect on Calcium Permeable Channels

[0000]

Methods for Second Set of Experiments:

[0645]

See EXAMPLE 23 for general patch clamp methods. In the following second set of experiments, yet additional patch clamp studies were performed to further confirm the utility of the inventive electrokinetically generated saline fluids (RNS-60 and Solas) to modulate whole-cell currents, using Calu-3 cells under basal conditions, with protocols stepping from either zero mV or −120 mV holding potentials.

[0646]

The whole-cell conductance in each case was obtained from the current-to-voltage relationships obtained from cells incubated for 15 min with either saline. To determine whether there is a contribution of calcium permeable channels to the whole cell conductance, and whether this part of the whole cell conductance is affected by incubation with RNS-60 saline, cells were patched in normal saline after the incubation period (entails a high NaCl external solution, while the internal solution contains high KCl). The external saline was then replaced with a solution where NaCl was replaced by CsCl to determine whether there is a change in conductance by replacing the main external cation. Under these conditions, the same cell was then exposed to increasing concentrations of calcium, such that a calcium entry step is made more evident.

[0000]

Results:

[0647]

FIGS. 119 A-D show the results of a series of patch clamping experiments that assessed the effects of the electrokinetically generated fluid (e.g., Solas (panels A and B) and RNS-60 (panels C and D)) on epithelial cell membrane polarity and ion channel activity using different external salt solutions and at different voltage protocols (panels A and C show stepping from zero mV, whereas panels B and D show stepping from −120 mV). In these experiments one time-point of 15 minutes was used. For Solas (panels A and B) the results indicate that: 1) using CsCl (square symbols) instead of NaCl as the external solution, increased whole cell conductance with a linear behavior when compared to the control (diamond symbols); and 2) CaCl2at both 20 mM CaCl2(circle symbols) and 40 mM CaCl2(triangle symbols) increased whole cell conductance in a non-linear manner. For RNS-60 (panels C and D), the results indicate that: 1) using CsCl (square symbols) instead of NaCl as the external solution had little effect on whole cell conductance when compared to the control (diamond symbols); and 2) CaCl2at 40 mM (triangle symbols) increased whole cell conductance in a non-linear manner.

[0648]

FIGS. 120 A-D show the graphs resulting from the subtraction of the CsCl current data (shown in FIG. 119) from the 20 mM CaCl2(diamond symbols) and 40 mM CaCl2(square symbols) current data at two voltage protocols (panels A and C, stepping from zero mV; and B and D, stepping from −120 mV) for Solas (panels A and B) and RNS-60 (panels C and D). The results indicate that both Solas and RNS-60 solutions activated a calcium-induced non-linear whole cell conductance. The effect was greater with RNS-60 (indicating a dosage responsiveness), and with RNS-60 was only increased at higher calcium concentrations. Moreover, The non-linear calcium dependent conductance at higher calcium concentration was also increased by the voltage protocol.

[0649]

The data of this second set of experiments further indicates an effect of RNS-60 saline and Solas saline for whole cell conductance data obtained in Calu-3 cells. The data indicate that 15-min incubation with either saline produces a distinct effect on the whole cell conductance, which is most evident with RNS-60, and when external calcium is increased, and further indicates that the RNS-60 saline increases a calcium-dependent non-linear component of the whole cell conductance.

[0650]

The accumulated evidence suggests activation by Revalesio saline of ion channels, which make different contributions to the basal cell conductance.

[0651]

Taken together with Applicants' other data (e.g., the data of Applicants other working Examples) particular aspects of the present invention provide compositions and methods for modulating intracellular signal transduction, including modulation of at least one of membrane structure, membrane potential or membrane conductivity, membrane proteins or receptors, ion channels, lipid components, or intracellular components with are exchangeable by the cell (e.g., signaling pathways, such as calcium dependent cellular signaling systems, comprising use of the inventive electrokinetically generated solutions to impart electrochemical and/or conformational changes in membranous structures (e.g., membrane and/or membrane proteins, receptors or other membrane components) including but not limited to GPCRs and/or g-proteins. According to additional aspects, these effects modulate gene expression, and may persist, dependent, for example, on the half lives of the individual messaging components, etc.

Example 25

Atomic Force Microscopy (AFM) Measurements of the Inventive Electrokinetic Fluid (RNS-60) Indicated the Presence and/or Formation of Hydrophobic Surface Nanobubbles that were Substantially Smaller than Those Present in Control ‘Pressure Pot’ (PNS-60) Fluid

[0652]

Overview.

[0653]

Applicants used Atomic Force Microscopy (AFM) measurements to characterize hydrophobic nanobubbles in the inventive electrokinetic fluid (RNS-60).

[0000]

Materials and Methods:

[0654]

AFM Studies.

[0655]

AFM studies were performed at an art-recognized Nanotech User Facility (NTUF). For AFM studies, a very small and sensitive needle is dipped into a droplet of water placed onto a hydrophobic surface. The needle then scans over the water/surface interface at rates such as 1 mm2in ˜15 minutes. The needle records any imperfections in the surface geometry, and is sensitive enough to record the presence of small bubbles.

[0656]

The Silicon substrate upon which the water droplets were placed was prepared using Trichloro(1H,1H,2H,2H-perfluorooctyl)silane), and the resulting hydrophobic surface causes water to bead up with contact angles of approximately 95 degrees. This coating is used in many AFM studies, in part, because it is particularly durable.

[0657]

Solution Preparation.

[0658]

Two test solutions were studied: RNS-60 and PNS-60. RNS-60 is an inventive electrokinetic fluid comprising 60 ppm oxygen, whereas PNS-60 is a non-electrokinetic control fluid comprising 60 ppm oxygen prepared by conventional exposure to a pressurized oxygen head (i.e., pressure pot oxygenated fluid). Each test solution was initially buffered by addition of a small amount of neutral phosphate buffer (pH 7) solution, and approximately 60-70 uL of each buffered test solution (approximately 22° C.) was placed onto a previously prepared silica plate.

[0000]

Results:

[0659]

Under AFM, the RNS-60 droplet displayed a distribution of about 20 hydrophobid nanobubbles in a 1 mm2area, having dimensions of ˜20 nm wide and ˜1.5 nm tall or smaller (FIG. 121A). By contrast, under AFM, the PNS-60 droplet displayed approx 5 hydrophobic nanobubbles in a 1 mm2area, having dimensions of ˜60 nm wide and ˜5 nm tall (FIG. 121B). The PNS-60 droplet, therefore, had much fewer and much larger hydrophobic nanobubbles compared to the RNS60 droplet.

[0660]

According to particular aspects, therefore, there is a substantial difference in the size and distribution of hydrophobic surface nanobubbles between the RNS-60 and PNS-60 test solutions, where the nanobubbles are either initially present in, and/or formed within the test fluids during AFM measurement.

[0661]

As discussed elsewhere herein, according to particular aspects of the present invention, the inventive electrokinetically altered fluids comprise an ionic aqueous solution of charge-stabilized oxygen-containing nanostructures substantially having an average diameter of less than about 100 nanometers and stably configured in the ionic aqueous fluid in an amount sufficient to provide, upon contact of a living cell by the fluid, modulation of at least one of cellular membrane potential and cellular membrane conductivity.

[0662]

Applicants point out, however, that the hydrophobic bubbles (forming on a hydrophobic surface), such as those observed in AFM experiments are likely fundamentally different from inventive biologically-active charge-stabilized nanostructure disclosed herein. According to particular aspects therefore, while the AFM experiments in this working Example support, based on the size and distribution hydrophobic bubble formation, that the inventive electrokinetic fluids (e.g., RNS-60) are fundamentally distinct from non-electrokinetic control fluids, the hydrophobic bubbles are likely distinct from and/or derived from the inventive charge-stabilized oxygen-containing nanostructures described in detail elsewhere herein. In any event, relative to the inventive electrokinetic fluids, control pressure pot oxygenated fluids do not comprise charge-stabilized oxygen-containing nanostructures capable of modulation of at least one of cellular membrane potential and cellular membrane conductivity.

Как компенсировать расходы
на инновационную разработку
Похожие патенты