патент
№ US 0009441018
МПК D06M16/00

Gene from tidal flat metagenome and a novel protein displaying both phospholipase and lipase activities

Авторы:
Jung-Hoon Yoon Mi Hwa Lee Chul Hyung Kang
Все (15)
Правообладатель:
Все (3)
Номер заявки
14280062
Дата подачи заявки
16.05.2014
Опубликовано
13.09.2016
Страна
US
Дата приоритета
15.12.2025
Номер приоритета
Страна приоритета
Как управлять
интеллектуальной собственностью
Реферат

The present invention relates to a novel gene derived from a tidal flat metagenome, and a novel protein obtained therefrom showing the coactivity of phospholipase and lipase. Specifically, the novel gene isolated from the metagenome library of tidal flat sediments and the protein having phospholipase and lipase activities encoded from the novel gene: are expressed in a water-soluble form to be mass-producible; enable ultra high-purity protein to be obtained through single step purification using an Ni-NTA column; show good activity in the pH range of 5˜10; maintain good low temperature activity and stability up to a temperature of 3° C. to 40° C.; and have high resistance against various organic solvents. Therefore, the novel gene and the protein can be usefully used for various industrial fields such as the purification and conversion of oil and fat, bio-medicine, and fine chemistry.

Формула изобретения

1. A washing method comprising the step of treating a surface of a material with a composition comprising a polypeptide having both phospholipase and lipase activities, wherein said polypeptide consists of the amino acid sequence represented by SEQ. ID. NO: 5.

2. The washing method according to claim 1, wherein the polypeptide is encoded by polynucleotide comprising the nucleotide sequence represented by SEQ. ID. NO: 3.

3. The washing method according to claim 1, further comprising the following steps prior to the step of treating a surface:

producing a transformant by introducing a recombinant expression vector containing a polynucleotide encoding the polypeptide into a host cell, wherein said polynucleotide comprises the nucleotide sequence represented by SEQ ID NO: 3;

culturing said transformant to produce a polypeptide consisting of the amino acid sequence represented by SEQ ID NO: 5; and

isolating the polypeptide expressed by said cultured transformant.

4. The washing method according to claim 3, wherein the transformant is deposited under the Accession Number of KCTC 11942BP.

5. The washing method according to claim 1, wherein said polypeptide is active in a pH range of 5-10.

Описание

BACKGROUND OF THE INVENTION

[0001]

1. Field of the Invention

[0002]

The present invention relates to a novel protein showing both phospholipase and lipase activities, more precisely a gene isolated from the microbial metagenome of tidal flat sediment and displaying both phospholipase and lipase activities and a protein encoded therefrom showing the coactivity of calcium-dependent phospholipase and lipase.

[0003]

2. Description of the Related Art

[0004]

Lipase (glycerol ester hydrolase, EC 3.1.1.3) is a carboxy ester hydrolase belonging to α/β hydrolases that are able to decompose or synthesize long-chain acylglycerol. Up to date, a variety of animals, plants, and microorganisms have been confirmed to synthesize lipase. Accordingly, studies on the biochemical characteristics of lipase and on lipase genes have been actively undergoing. The endogenous lipase is not only involved in fat metabolism but also comparatively stable in organic solvents. This endogenous lipase does not need coenzymes, has wide substrate specificity and comparatively high optical specificity, making it an excellent biocatalyst for bioconversion, in the field of detergent industry, food additive production, pitch elimination in paper industry, and others. Studies have been under-going to mass-produce such industrially useable and valuable lipase with high efficiency. In particular, studies have been focused mainly on microorganisms producing lipase. Hosts capable of producing lipase are exemplified by Candida sp., Bacillus sp., Penicilium sp., Mucor sp., Rhizopus sp., Pseudomonas sp., and Streptomyces sp.

[0005]

Lysophospholipid is generated from hydrolysis of phospholipid by phospholipase, which not only acts like a functional group in the course of platelet aggregation but also mediates various physiological activities including signal transduction or plays a role in preventing over-ripen of fruits and plants as a plant hormone. In particular, lysophospholipid has a high water-solubility and can form a stable emulsion even at different hydrogen ion concentrations and temperatures. lysophospholipid is also stable in the presence of magnesium and calcium ions, so that it has been used in the fields of medicine, cosmetics, and food industry.

[0006]

The said lysophospholipid can be generated from phospholipid mediated by phospholipase in a certain biochemical pathway and at this time phospholipase A hydrolyzes 1-acyl group or 2-acyl group of phospholipid to produce lysophospholipid and fatty acid. This phospholipase A is an essential enzyme in the synthesis of phospholipid containing useful fatty acid such as polyunsaturated fatty acid (PUFA) exemplified by DHA or EPA, etc. This phospholipase A is isolated from various mammals, snake or bee venom, and microorganisms such as Serratia sp., Aspergillus sp., Streptomyces sp., and Fusarium sp. and can be applied to food industry. In order for this enzyme to be used in more industrial fields, substrate specificity or enzyme stability of this enzyme has to be improved (De Maria et al., Appl. Microbiol. Biotechnol. 74:290-300, 2007).

[0007]

Both lipase and phospholipase display similar mechanism to each other. However, lipase obtained from Staphylococcus hyicus is the only enzyme displaying coactivity to lipid and phospholipid (van Oort et al., Biochemistry, 28:9278-9285, 1989). The enzyme originated from S. hyicus is hard to be produced in a large scale and has comparatively low stability, which makes it less usable in industry.

[0008]

In the field of fine chemistry producing high value-added lead compounds including medicinal products, when ester compounds are synthesized by the conventional chemical method, the synthesis is achieved at high temperature under high pressure with requiring high consumption of energy, which causes many side reactions that might have a bad effect on the quality of the product. In addition, the conventional method has disadvantages of low conversion rate and low purify in some optical isomers, because of which the production of high purity fine chemical product has been troubled. To overcome the above problem, recent studies have been focused on taking advantage of such reaction that uses the enzyme displaying site specificity and optical specificity as a biocatalyst. However, this attempt has been limited in its application because of the problem of losing the enzyme activity at low temperature.

[0009]

Lipase hydrolyzes lipid dirt into water-soluble fatty acid or glycerol, suggesting that it makes the function of a surfactant easy. So, lipase has been a target as a detergent or a bleach additive, which was not practical so far, though. This is because lipase loses its enzyme activity at a low washing temperature, meaning oil and fat components are not eliminated completely.

[0010]

The microorganisms suitable for culture were the major targets of the attempt to find out an enzyme having excellent activity and stability. Various enzymes identified from some of those microorganisms have been used industrially. However, recent molecular-microbial ecology studies proved that at least 99% microorganisms in the natural world are not separated or identified either by the conventional culture method performed in a lab (Amann et al., Microbiol. Rev. 59: 143-169, 1995; Hugenholtz and Pace, Trends Biotechnol. 14: 190-197, 1996; Ward et al., Nature 345: 63-65, 1990). Therefore, a new attempt has been made to search novel genes that could not been identified because of the difficulty in culture from the library constructed by using metagenome, the genome of the microorganisms extracted directly from the natural world without the process of culture and further to develop useful materials therefrom.

[0011]

Metagenome is the definition indicating the genome of all microorganisms existing in the natural world. In general, the metagenome study is composed of the following steps; isolating metagenome from microorganisms in the natural world without culture; constructing library thereof; and introducing the library into E. coli suitable for culture. This method is to obtain useful materials from those microorganisms which could not be cultured. Even though it is very hard to obtain information about such microorganism, the origin of a target gene, this method has the advantage of obtaining the useful product and gene of the microorganism at the same time.

[0012]

A research team at University of Wisconsin, USA, was the first study group who succeeded in isolation of massive metagenome and thereafter constructed metagenome library by cloning the metagenome into bacterial artificial chromosome (BAC) vector. They also succeeded in isolation of broad spectrum antibiotics and the genes involved therein (Gillespie et al., Appl. Environ. Microbiol. 68: 4301-4306, 2002; Rondon et al., Appl. Environ. Microbiol. 66: 2541-2547, 2000). A TIGR (The Institute for Genomic Research) team also constructed the general marine microorganism metagenome library in BAC vector to screen genetic resources of those marine microorganisms that could not be cultured so far.

[0013]

The present inventors isolated a novel gene from the microbial metagenome library obtained from the tidal flat sediment where have a unique microbial diversity including the various unculturable microorganisms, constructed a vector containing the said gene, transfected E. coli with the vector, and accordingly confirmed that the protein produced from the transformant constructed above displayed excellent phospholipase and lipase activities together and had excellent activity and stability as well even at a low temperature and in alkali condition, leading to the completion of the present invention.

SUMMARY OF THE INVENTION

[0014]

It is an object of the present invention to provide a novel gene isolated from the metagenome of tidal flat sediment microorganisms, a recombinant vector containing the gene, a transformant transfected with the said vector, and a polypeptide encoded from the said gene having both phospholipase and lipase activities.

[0015]

It is another object of the present invention to provide a detergent additive containing the polypeptide of the invention having both phospholipase and lipase activities as an active ingredient.

[0016]

It is also an object of the present invention to provide a washing method including the step of treating the surface of a material with the polypeptide of the invention having both phospholipase and lipase activities.

[0017]

It is further an object of the present invention to provide a use of the polypeptide of the invention having both phospholipase and lipase activities for the preparation of a detergent.

[0018]

To achieve the above objects, the present invention provides a polypeptide composed of the amino acid sequence represented by SEQ. ID. NO: 5 and having both phospholipase and lipase activities.

[0019]

The present invention also provides a polynucleotide encoding the polypeptide of the present invention.

[0020]

The present invention further provides a recombinant expression vector containing the polynucleotide of the present invention.

[0021]

The present invention also provides a transformant prepared by transfecting a host cell with the recombinant expression vector of the present invention.

[0022]

The present invention also provides a preparation method of a recombinant protein having both phospholipase and lipase activities which comprises the following steps:

[0023]

1) constructing a recombinant expression vector containing the polynucleotide of the present invention;

[0024]

2) preparing a transformant by introducing the recombinant expression vector above into a host cell; and,

[0025]

3) culturing the transformant and inducing the expression of the recombinant protein therein, followed by obtaining the expressed recombinant protein.

[0026]

The present invention also provides a detergent additive containing the polypeptide of the invention having both phospholipase and lipase activities as an active ingredient.

[0027]

The present invention also provides a washing method including the step of treating the surface of a material with the polypeptide of the invention having both phospholipase and lipase activities.

[0028]

In addition, the present invention provides a use of the polypeptide of the invention having both phospholipase and lipase activities for the preparation of a detergent.

Advantageous Effect

[0029]

As explained hereinbefore, the novel gene isolated from the metagenome library of tidal flat sediment microorganisms and the protein having phospholipase and lipase activities encoded from the novel gene: are expressed in a water-soluble form to be mass-producible; enable ultra high-purity protein to be obtained through single step purification using an Ni-NTA column; show good activity in the pH range of 5˜10; maintain good low temperature activity and stability up to a temperature of 3° C. to 40° C.; and have high resistance against various organic solvents. Therefore, the novel gene and the protein can be usefully used for various industrial fields such as the purification and conversion of oil and fat, bio-medicine, and fine chemistry.

BRIEF DESCRIPTION OF THE DRAWINGS

[0030]

The application of the preferred embodiments of the present invention is best understood with reference to the accompanying drawings, wherein:

[0031]

FIG. 1A and FIG. 1B show homology among the phospholipase/lipase PlaG (the protein PlaG having both phospholipase and lipase activities) of the present invention, the protein having similarity to amino-terminal (A) thereof, and the protein having similarity to carboxy-terminal (B):

[0032]

ZP_02001945: Beggiatoa sp. PS derived secreted protein;

[0033]

EBL22535: marine metagenome derived hypothetical protein;

[0034]

AAD10476: Serratia sp. MK1 derived phospholipase A1;

[0035]

AAM13978: Serratia marcescens derived phospholipase;

[0036]

YP_001005338: Yersinia enterocolitica 8081 derived phospholipase A; and

[0037]

YP_001479905: Serratia proteamaculans 568 derived phospholipase A1;

[0038]

The amino acids marked by * indicate well-preserved lipase specific catalytic triad and the underlined part indicates common amino acid sequences in around Ser of phospholipase A1.

[0039]

FIG. 2 is a schematic diagram illustrating the recombinant vector pET22b(+)-MPIaG containing the catalytic domain MPIaG of the novel PlaG gene originated from the metagenome library of tidal flat sediment microorganisms.

[0040]

FIG. 3 is a diagram illustrating the phylogenetic tree of the phospholipase/lipase MPIaG (the protein PlaG having both phospholipase and lipase activities) derived from tidal flat metagenome, various lipases selected from the conventional lipase family, homologous phospholipases with phospholipase/lipase MPIaG, and other known phospholipases; The phylogenetic tree was constructed by using the program MEGALIGN and the bar indicates amino acid substitution.

[0041]

FIG. 4 is a set of photographs illustrating the activity of the phospholipase/lipase MPIaG of the present invention on the solid medium supplemented with tricaprylin or phosphatidylcholine emulsion. Cell lysate of E. coli BL21(DE3), the host cell used for transformation, was used as the negative control, while Candida antarctica lipase B (CALB) was used as the lipase-positive control.

[0042]

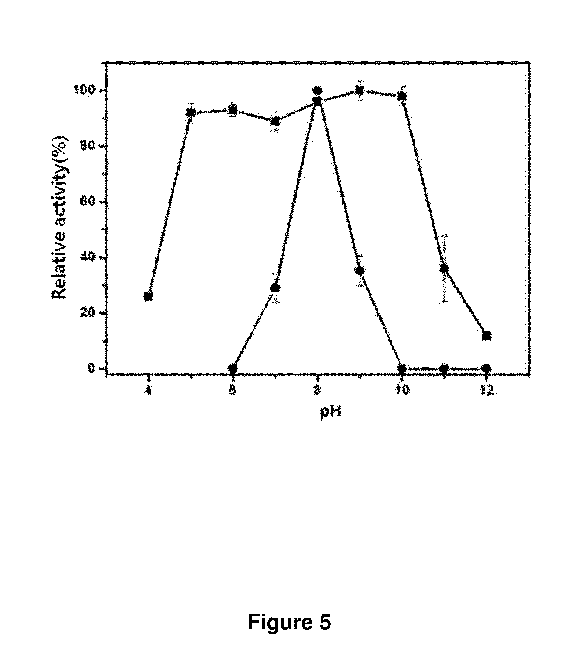
FIG. 5 is a graph illustrating the pH dependent activity (●) and stability (▪) of the phospholipase/lipase MPIaG of the present invention.

[0043]

FIG. 6 is a graph illustrating the temperature dependent activity of the phospholipase/lipase MPIaG of the present invention.

[0044]

FIG. 7 is a graph illustrating the changes of melting temperature of the phospholipase/lipase MPIaG of the present invention according to 0 mM (−), 2 mM (◯), and 5 mM (●) of calcium.

[0045]

FIG. 8 is a set of photographs illustrating the substrate specificity of the phospholipase/lipase MPIaG of the present invention against various phospholipids.

[0046]

FIG. 9A, FIG. 9B and FIG. 9C are a set of graphs illustrating the chain-length specificity of MPIaG to triglyceride (a), para-nitrophenyl ester (b) and phosphatidylcholine (c), measured by pH-titration, spectrometry, and LC-MS; The vertical and horizontal lines in (a) and (b) indicate the substrate carbon chain length and the relative activity to the maximum activity (100%), respectively; In LC-MS, respectively, the reaction products of MPIaG to phosphatydilcholine were isolated by HPLC as follows:

[0047]

diC6PC, 8.77 min (1,2-dihexanoyl-phosphatidylcholine, m/z 498, 89.6%) and 10.36 min (2-hexanoyl-lysophosphatidylcholine, m/z 400, 10.4%); diC7PC, 8.40 min (1,2-diheptanoyl-phosphatidylcholine, m/z 526, 50.5%) and 9.99 min (2-heptanoyl-lysophosphatidylcholine, m/z 414, 49.5%); diC8PC, 8.14 min (1,2-dioctanoyl-phosphatidylcholine, m/z 554, 49.6%) and 9.73 min (2-octanoyl-lysophosphatidylcholine, m/z 428, 50.4%); diC14PC, 7.68 min (1,2-dimyristoyl phosphatidylcholine, m/z 722, 96.5%) and 8.91 min (2-myristoyl-lysophosphatidylcholine, m/z 512, 3.5%).

[0048]

FIG. 10 is a photograph illustrating the result of SDS-PAGE (sodium dodecylsulfate-polyacrylamide gel electrophoresis) performed to confirm the purified phospholipase/lipase MPIaG of the present invention:

[0049]

M: size marker;

[0050]

Lane 1: full-length phospholipase/lipase PlaG;

[0051]

Lane 2: truncated protein 1; and

[0052]

Lane 3: truncated protein 2 (phospholipase/lipase MPIaG).

[0053]

FIG. 11A and FIG. 11B are a set of graphs illustrating the identification of phospholipase A1 activity of MPIaG; Site specificity of MPIaG for OPPC (1-oleoyl-2-palmitoyl-phosphatidylcholine) was determined by LC-MS; (a) The reaction products generated from MPIaG were isolated by HPLC at the time point of 16.93 min (m/z 804, OPPC, upper graph of (B)), and at 18.14 min (m/z 540, 2-palmitoyl-lysophosphatidylcholine, lower graph of (B)).

DESCRIPTION OF THE PREFERRED EMBODIMENTS

[0054]

The terms used in this invention are defined hereinafter.

[0055]

The term “recombinant expression vector” used in this invention indicates a vector that is able to express a target protein or target RNA in an appropriate host cell, which is a linear or circular DNA molecule composed of fragments encoding the target polypeptide operably linked to additional fragments provided for the transcription of the expression vector. Such additional fragment includes a promoter and a terminator sequence. The said expression vector includes one or more replication origins, one or more selection markers, and polyadenylation signals, etc. The expression vector is generally induced from a plasmid or virus DNA or contains both of them.

[0056]

The term “operably linked” used in this invention indicates the functional linkage between a nucleic acid expression regulating sequence and a nucleic acid sequence encoding a target protein or RNA in order to accomplish general functions thereby. For example, the functional linkage between a promoter and a nucleic acid sequence encoding a protein or RNA can affect the expression of the nucleic acid sequence. Operable linking with a recombinant vector can be performed by the genetic recombination technique well-known to those in the art and site-specific DNA cleavage and linkage is accomplished by using an enzyme well known to those in the art.

[0057]

Hereinafter, the present invention is described in detail.

[0058]

The present invention provides a polypeptide having both phospholipase and lipase activities and is composed of the amino acid sequence represented by SEQ. ID. NO: 5.

[0059]

The present invention also provides a polynucleotide encoding the polypeptide having both phospholipase and lipase activities which is represented by SEQ. ID. NO: 5.

[0060]

The said phospholipase and lipase preferably display excellent activity in pH range of 5˜10 and more preferably in pH range of 6˜9, and most preferably in pH 8, but not always limited thereto.

[0061]

The active temperature of the said phospholipase and lipase is preferably 3˜30° C., and more preferably 5˜25° C., but not always limited thereto.

[0062]

The polynucleotide herein is preferably composed of the nucleotide sequence represented by SEQ. ID. NO: 3, but not always limited thereto.

[0063]

In a preferred embodiment of the present invention, DNA was extracted from a tidal flat sediments sample, which was then cloned into a fosmid vector to construct a metagenome library. The library was distributed in a solid nutrient medium supplemented with tricaprylin emulsion, followed by culture. The colonies forming clear zone were screened and the recombinant plasmid pFosPlaG was isolated, followed by nucleotide sequencing. The identified gene (SEQ. ID. NO: 1) was registered at GenBank, USA (Accession Number: EU285670). The open reading frame (ORF) corresponding to the region between 2881stand 4578thnucleotide of the sequence represented by SEQ. ID. NO: 1 is the protein coding region having both phospholipase and lipase activities, which was identified as the gene having both phospholipase and lipase activities that is composed of the nucleotide sequence represented by SEQ. ID. NO: 2 (1698 bp). The gene having both phospholipase and lipase activities herein was named PlaG.

[0064]

In a preferred embodiment of the present invention, the phospholipase/lipase PlaG (the protein having both phospholipase and lipase activities) sequence of the present invention was compared with other conventional proteins using BLAST database. As a result, the protein displayed homology in the amino-terminal and carboxy-terminal of the total sequence with other proteins having different characteristics. Particularly, 287 amino acid residues of the amino-terminal showed the highest homology with a Beggiatoa sp. PS derived secreted protein (ZP_02001945), which was as high as 54% (see FIG. 1A). In the meantime, 167 amino acid residues of the carboxy-terminal displayed the highest homology with Grimontia hollisae CIP 101886 derived phospholipase, but showed low homology with the previously reported phospholipase gene group, which was as low as 30˜35%, suggesting that the gene of the present invention was a novel gene encoding lipolytic enzyme. The homology in amino acid sequence was compared between the phospholipase/lipase PlaG of the present invention and the homologous phospholipases. As a result, it was confirmed that the sequence of the invention had a catalytic triad composed of 435thSer, 496thAsp, and 560thHis and the conservative Gly-X-Ser-X-Gly motif of α/β hydrolase, and the surrounding amino acids were composed of characteristic sequences of phospholipase A (see FIG. 1B). In particular, 26 amino acid residues in the amino-terminal were identified as a secreted signal peptide and the sequence range from the 27thresidue (Ala) where the secreted signal peptide ends to the 157thresidue (Gly) repeated as following range between the 158thThr and the 287thGly. That is, the gene represented by SEQ. ID. NO: 2 was confirmed to have the structure composed of the unknown functional domain made of 287 amino acid residues of the amino-terminal and the functional domain (MPIaG) composed of 278 amino acids of the carboxy-terminal. Based on the founding, the open reading frame MPIaG composed of only the catalytic domain was designed by using the sequence represented by SEQ. ID. NO: 2, which was then represented by SEQ. ID. NO: 3. Lipase is generally apt to be secreted extracellularly and this process differs from a type of microorganism. So, the open reading frame design herein is to avoid such difficulty of the exogenous protein expression. Guanine-cytosine content in the MPIaG gene having both phospholipase and lipase activities and represented by SEQ. ID. NO: 3 was 44.1%, molecular weight of the protein obtained therefrom was approximately 30.5 kDa, and isoelectric point (pl) was 4.0.

[0065]

In a preferred embodiment of the present invention, a phylogenetic tree was constructed using the amino acid sequence (SEQ. ID. NO: 5) of the polypeptide phospholipase/lipase MPIaG (the protein having both phospholipase and lipase activities) encoded by the sequence represented by SEQ. ID. NO: 3 along with other amino acid sequences of various lipases and phospholipases known so far. As a result, the phospholipase/lipase MPIaG of the present invention did not belong to any lipase family but had higher correlation with rather phospholipase in phylogenetically (see FIG. 3). That is, the phospholipase/lipase MPIaG originated from tidal flat metagenome of the present invention had a common sequence shared with lipase or phospholipase A but was definitely a novel enzyme displaying low homology with the conventional lipase or phospholipase.

[0066]

In a preferred embodiment of the present invention, the MPIaG gene represented by SEQ. ID. NO: 3 was cloned into a vector (see FIG. 2), and E. coli was transfected with the vector. The phospholipase/lipase MPIaG produced from the transformant was confirmed by SDS-PAGE. The confirmed gene had the molecular weight of approximately 31 kDa. The phospholipase/lipase MPIaG of the present invention was also confirmed to express in a water-soluble form (see FIG. 10).

[0067]

In a preferred embodiment of the present invention, the phospholipase/lipase MPIaG of the present invention was dropped on the solid medium supplemented with phosphatydilcholine emulsion to investigate phospholipase activity of the MPIaG gene represented by SEQ. ID. NO: 3. The activity was measured by investigating the clear zone formed therein. As a result, the clear zone was clearly formed on the solid medium treated with the phospholipase/lipase MPIaG of the present invention, suggesting that the MPIaG gene had phospholipase activity as well (see FIG. 4).

[0068]

The phospholipase/lipase MPIaG of the present invention is characterized by followings: it is stable in the pH range of 5˜10 and displays maximum activity at pH 8 (see FIG. 5); it is active at the temperature of up to 40° C. and shows maximum activity at 25° C. (see FIG. 6); and it has the melting temperature of 38.5° C. which has been confirmed by differential scanning calorimetry (DSC) (see FIG. 7). Specificity of the phospholipase/lipase MPIaG of the present invention to various phospholipids was investigated. As a result, it showed excellent activity to phosphatydilcholine, phosphatydilethanolamine, and phosphatydilglycerol, but did not decompose phosphatydilserine and phosphatydil acid known to be degraded by secretory phospholipase A (see FIG. 8). MPIaG demonstrated high preference to para-nitrophenyl ester having long acyl straight chain, triglyceride having short acyl straight chain, and phospholipid having medium length acyl straight chain, suggesting that it has broad chain length specificity over substrate. The purified enzyme demonstrated its activity to triolein (C18:1) not hydrolyzed by esterases. Hydrolase activity of the purified enzyme with increasing concentrations of tributyrin was measured and as a result the enzyme showed interfacial activity, indicating MPIaG was not an esterase (see FIG. 9A). In addition, hydrolysis site of MPIaG was determined by liquid chromatography mass spectrometry (LC-MS) using 1-oleoly-2-palmitoyl-phosphatidylcholine (OPPC) (see FIG. 11). Particularly, MPIaG was reacted with OPPC (molecular weight: 759) at 25° C. for 12 hours, followed by LC-MS. LC-MS result confirmed that MPIaG decomposed OPPC (m/z 804, [M-H+HCOOH]) to produce the reaction product (m/z 540). If MPIaG digested palmitic acid at sn-2 site of OPPC, the reaction product would have been observed at m/z 567. However, MS spectrum was detected at m/z 540 corresponding to 2-palmitoyl-lysophosphatidylcholine. Therefore, it was suggested that MPIaG could be identified as phospholipase A1 that is able to accelerate hydrolysis of acyl group in sn-1 site of phospholipid. In addition, it was also investigated how the enzyme could be affected by various additives. As a result, the enzyme activity was approximately 10 times increased by Ca2+ (see Table 1) and the activity was not inhibited by various organic solvents (see Table 2).

[0069]

The amino acid variants or fragments having different sequences from that of the polypeptide of the present invention having the amino acid sequence represented by SEQ. ID. NO: 5, which can be generated by deletion, insertion, substitution, or combination of amino acid residues of the polypeptide, can also be included in the criteria of the present invention as long as the variants or the fragments do not affect the function of the protein. It is well known to those in the art that the modification of amino acid in protein and peptide is acceptable as long as it does not change the general activity of molecule. Such modification includes phosphorylation, sulfation, acrylation, glycosylation, methylation, and farnesylation. Therefore, the present invention includes not only the polypeptide having the amino acid sequence represented by SEQ. ID. NO: 5 but also the polypeptide having the same amino acid sequence and a variant thereof or an active fragment thereof. Herein, the polypeptide having the same amino acid sequence indicates that it has at least 80% homology in amino acid sequence, more preferably at least 90%, and most preferably at least 95% homology, but not always limited thereto and actually the sequence having at least 70% homology in amino acid sequence and showing the same biochemical activity can be included in this invention.

[0070]

The polynucleotide of the present invention is preferably the one represented by SEQ. ID. NO: 3. However, considering codon degeneracy or preference of codon in a living thing which is supposed to express the gene having both phospholipase and lipase activities, various modification or transformation in the coding region is allowed as long as the modification or the transformation does not make any change in amino acid sequence of the protein having both phospholipase and lipase activities expressed from the coding region. Such modification or transformation can also be allowed in other regions than the coding region as long as the modification or transformation does not affect the gene expression. Such modified genes are also included in the criteria of the present invention, which is well understood by those in the art. Therefore, the present invention includes the polynucleotide actually having the same nucleotide sequence as the gene represented by SEQ. ID. NO: 3 having both phospholipase and lipase activities and the fragments thereof. The “polynucleotide actually having the same nucleotide sequence” means the polynucleotide having at least 80% homology, more preferably at least 90% homology, and most preferably at least 95% homology in sequence, but not always limited thereto. In fact, the polynucleotide having at least 70% homology in sequence and having the same biochemical activity to the protein encoded is included in this invention as well. As explained hereinbefore, the polynucleotide of the present invention is allowed to have substitution, deletion, insertion, or combination of one or more nucleic acid nucleotides, suggesting that it can be modified, as long as the modified polynucleotide still can encode a protein having the same activity. Such modified polynucleotide can also be included in the criteria of the present invention. The polypeptide having the amino acid sequence represented by SEQ. ID. NO: 5 is preferably encoded by the nucleic acid molecule having the polynucleotide sequence represented by SEQ. ID. NO: 3, but not always limited thereto. In fact, the polypeptide of the present invention can also be encoded by any nucleic acid molecule that has the nucleotide sequence whose sequence is different but is alike to the sequence represented by SEQ. ID. NO: 3 as long as it can encode the protein of the present invention. The nucleic acid molecule sequence can be single-stranded or double-stranded DNA or RNA (mRNA).

[0071]

The present invention also provides a recombinant expression vector comprising the polynucleotide of the present invention represented by SEQ. ID. NO: 3.

[0072]

In the course of the construction of the recombinant expression vector, expression regulating sequences such as promoter, terminator or enhancer and sequences for membrane targeting or secretion are properly selected according to the type of host to produce the gene or protein having both phospholipase and lipase activities and those sequences can be combined properly according to the purpose of use.

[0073]

The expression vector of the present invention includes plasmid vector, cosmid vector, bacteriophage vector, and virus vector, but not always limited thereto. The expression vector can be constructed to meet the purpose of use by containing an expression regulating element such as promoter, operator, initiation codon, stop codon, polyadenylation signal and enhancer, a signal sequence for membrane targeting or secretion, or a leader sequence. The promoter of the expression vector can be constitutive or inductive. When the host is Escherichia sp., the signal sequence can be PhoA signal sequence or OmpA signal sequence. When the host is Bacillus sp., the signal sequence can be α-amylase signal sequence or subtilisin signal sequence. When the host is yeast, the signal sequence can be MFα signal sequence or SUC2 signal sequence. When the host is an animal cell, the signal sequence can be insulin signal sequence, α-interferon signal sequence, or antibody molecule signal sequence, but not always limited thereto. The expression vector can include a selection marker for the selection of a host cell appropriate for harboring an expression vector. If the expression vector is replicable, it can contain a replication origin. When the recombinant expression vector containing the gene encoding the phospholipase/lipase MPIaG of the present invention is introduced in a host and the phospholipase/lipase MPIaG protein is expressed therein, the protein activity can be observed. Therefore, the transformed host cell can be selected without a selection marker by adding a substrate such as tricaprylin to the culture medium of the host cell.

[0074]

The recombinant expression vector of the present invention can contain the sequence appropriate for the purification of the expressed target. Particularly, the polynucleotide encoding the tag for separation and purification operably linked to the gene having both phospholipase and lipase activities can be linked to the vector. At this time, the tag for separation and purification is selected from the group consisting of GST, poly-Arg, FLAG, His-tag, and c-myc, or two or more of those tags can be linked stepwise.

[0075]

In a preferred embodiment of the present invention, His-tag is linked to C-terminal, and then the expressed phospholipase/lipase MPIaG was purified by using Ni-NTA (Ni-nitriloteiacetic acid, Qiagen, Germany) column.

[0076]

In a preferred embodiment of the present invention, the MPIaG gene represented by SEQ. ID. NO: 3 was cloned in a vector (see FIG. 2), and E. coli was transfected with the vector. Then, the phospholipase/lipase MPIaG protein produced from the transformant was confirmed by SDS-PAGE. As a result, it was confirmed that the protein having the molecular weight of approximately 31 kDa was successfully produced. It was also confirmed that the phospholipase/lipase MPIaG of the present invention was expressed in a water-soluble form (see FIG. 10).

[0077]

The present invention also provides a transformant prepared by transfecting a host cell with the recombinant expression vector comprising the polynucleotide of the present invention represented by SEQ. ID. NO: 3.

[0078]

After inserting the recombinant expression vector of the invention in a proper host cell, for example E. coli or yeast, preferably E. coli, the transfected host cell was cultured to replicate or mass-produce DNA of the novel gene or the novel protein having both phospholipase and lipase activities. Culture method, medium and conditions can be selected by those in the art based on the conventional methods and conditions well known to those in the art.

[0079]

In a preferred embodiment of the present invention, the recombinant vector pET22b(+)-MPIaG containing the novel MPIaG gene was constructed (see FIG. 2), which was inserted in E. coli BL21(DE3). The activity of the phospholipase/lipase MPIaG expressed in the transfected strain was investigated. As a result, E. coli transfected with the pET-22b(+) vector that did not contain the said gene did not degrade tricaprylin and phosphatidylcholine. On the contrary, E. coli transfected with the vector containing the phospholipase/lipase MPIaG of the present invention degraded tricaprylin and phosphatidylcholine successfully, and thus showed both phospholipase and lipase activities (see FIG. 4). Accordingly, it was confirmed that the gene having both phospholipase and lipase activities of the present invention which had been isolated from the metagenome library of tidal flat sediments was expressed in the E. coli transformant and displayed its activity effectively therein. To confirm both phospholipase and lipase activities, an equal amount of the protein was loaded on the solid medium containing tricaprylin and phosphatidylcholine. As a result, clear zone was formed on the medium containing tricaprylin (lipase substrate) and phosphatydilcholine (phospholipid), suggesting that not only phospholipase activity but also lipase activity was displayed (see FIG. 4). The E. coli transformant BL21(DE3)/pET22b(+)-MPIaG was deposited under the Budapest Treaty at Korean Collection for Type Cultures (KCTC), Korea Research Institute of Bioscience and Biotechnology (KRIBB) on May 30, 2011 (Accession No: KCTC 11942BP). The transformant will be irrevocably and without restriction or condition released to the public upon issuance of a patent.

[0080]

The present invention also provides a preparation method of a recombinant protein having both phospholipase and lipase activities which comprises the following steps:

[0081]

1) constructing a recombinant expression vector containing the polynucleotide SEQ. ID. NO: 3;

[0082]

2) preparing a transformant by introducing the recombinant expression vector above into a host cell; and,

[0083]

3) culturing the transformant and inducing the expression of the recombinant protein therein, followed by obtaining the expressed recombinant protein.

[0084]

In step 1), the polynucleotide encoding the tag for separation and purification and the protease recognition site can be additionally linked to N-terminal of the polynucleotide. Thus, it is possible to obtain the purified or the original form of phospholipase/lipase MPIaG. That is, the original form of phospholipase/lipase MPIaG can be obtained by addition of the additional step of purifying the phospholipase/lipase MPIaG by using the tag for separation and purification and then treating a protease capable of digesting the protease recognition site thereto.

[0085]

The tag for separation and purification is preferably one or more tags selected from the group consisting of GST, poly-Arg, FLAG, His-tag, and c-myc, and more preferably His-tag, but not always limited thereto.

[0086]

The present invention also provides a detergent additive containing the polypeptide comprising the amino acid sequence represented by SEQ. ID. NO: 5 and having both phospholipase and lipase activities as an active ingredient.

[0087]

The present invention also provides a washing method including the step of treating the surface of a material with the polypeptide of the invention having both phospholipase and lipase activities.

[0088]

In addition, the present invention provides a use of the polypeptide of the invention having both phospholipase and lipase activities for the preparation of a detergent.

[0089]

The novel gene isolated from the metagenome library of tidal flat sediments and the protein having phospholipase and lipase activities encoded from the novel gene: are expressed in a water-soluble form to be mass-producible; enable ultra high-purity protein to be obtained through single step purification using an Ni-NTA column; show good activity in the pH range of 5˜10; maintain good low temperature activity and stability up to a temperature of 3° C. to 40° C.; and have high resistance against various organic solvents. Therefore, the novel gene and the protein can be usefully used for various industrial fields such as the purification and conversion of oil and fat, bio-medicine, and fine chemistry.

[0090]

Practical and presently preferred embodiments of the present invention are illustrative as shown in the following Examples, Experimental Examples and Manufacturing Examples.

[0091]

However, it will be appreciated that those skilled in the art, on consideration of this disclosure, may make modifications and improvements within the spirit and scope of the present invention.

Example 1

Construction of Metagenome Library

[0092]

10 g of a soil sample collected in tidal flat of Saemangeum reclaimed land, Buan-gun, Jeollabuk-do, Korea was suspended in the equal volume of DNA extraction buffer containing 50 μg/ml of proteinase K [100 mM Tris-HCl (pH 8), 100 mM EDTA (ethylenediaminetetraacetic acid, Sigma, USA), 100 mM sodium phosphate (pH 8, Sigma, USA), 1.5 M NaCl (Junsei, Japan), 1% (w/v) CTAB (hexadecyl trimethyl ammonium bromide, Sigma, USA)], to which an anionic surfactant (sodium dodecyl sulfate, SDS, Sigma, USA) was added at the final concentration of 2% (v/v), followed by reaction at 65° C. for 2 hours. The supernatant was obtained by centrifugation, to which 30% (v/v) polyethylene glycol containing 1.6 M NaCl was added at the equal volume, followed by well-mixing. The precipitated DNA was isolated by centrifugation, which was then suspended in TE buffer. The equal volume of phenol/chloroform/isoamyl alcohol (25:24:1) and chloroform/isoamyl alcohol (24:1) mixed solution was added thereto, followed by extraction twice. The supernatant was obtained by centrifugation, to which isopropanol was added to precipitate DNA. The precipitated DNA was completely dried and then dissolved in sterilized water. After eliminating impurities, electrophoresis was performed using PFGE (pulse-field gel electrophoresis) to digest the DNA into 23˜48 kb fragments. Gel elution was performed using Gelase (Epicentre, USA). The purified DNA fragments were used to construct a metagenome library by using CopyControl fosmid library construction kit (Epicentre, USA).

[0093]

To examine the quality of the library, transformants were selected randomly and recombinant plasmids were extracted therefrom, which were treated with selected restriction enzyme. As a result, they all contained recombinant plasmid and the average size of the inserted metagenome was 35 kb.

Example 2

Screening and Isolation of the Recombinant Plasmid Having Lipase Activity

[0094]

To screen a gene having lipase activity from the metagenome library constructed in Example 1, the metagenome library was cultured on a solid medium containing emulsified tricaprylin.

[0095]

Particularly, the said metagenome library was distributed on a solid nutritive medium [1% (w/v) trypton, 0.5% (w/v) yeast extract, 0.5% (w/v) NaCl, 1.5% (w/v) agar] supplemented with tricapryline emulsion [1% (v/v) tricaprylin, 1 mM CaCl2, 0.5% (w/v) Gum arabic], followed by culture at 37° C. When tricaprylin is decomposed by lipase, clear zone is formed. So, the colonies forming such clear zone were selected. The recombinant plasmid was isolated from such colonies showing excellent activity of decomposing tricaprylin and named pFosPlaG.

Example 3

Sequencing of the Recombinant Plasmid Having Excellent Lipase Activity

[0000]

<3-1> Sequencing of Recombinant Plasmid

[0096]

Sequencing of the recombinant plasmid pFosPlaG isolated from the metagenome library was performed by shot-gun sequencing.

[0097]

Particularly, DNA fragments were prepared physically by using pipetting from pFosPlaG, which were sub-cloned in pUC118 (TaKaRa) vector. Sequencing was performed using an automatic sequencer (ABI 3730 DNA analyzer).

[0098]

As a result, the pFosPlaG was in the size of 28,845 bp and the nucleotide sequence of the gene was the same as the sequence represented by SEQ. ID. NO: 1, which was registered at Gen Bank, USA, under the accession number of EU285670. Only those ORFs (open reading frames) that have the e-value under e−2were identified by using National Center for Biotechnology Information (NCBI) ORF finder. The function of each ORF was predicted by using BlastX and the NCBI Conserved Domain Database (CDD).

[0099]

As a result, as shown in Table 1, total 15 ORFs were identified. The ORF corresponding to the region from the nucleotide #2881 to #4578 in the nucleotide sequence complementary to the sequence represented by SEQ. ID. NO: 1 was confirmed to be phospholipase protein coding region. So, the gene was named plaG. The gene (plaG) having both phospholipase and lipase activities of the present invention was composed of 1698 nucleotides and GC content was 44.94%. The phospholipase/lipase PlaG (the protein PlaG having both phospholipase and lipase activities; SEQ. ID. NO: 4) expressed from the gene was composed of 566 amino acids, which was identified to be the protein having the molecular weight of approximately 61,187 Da and having both phospholipase and lipase activities.

[0100]

129136.87RNAPlanctomyces392e−53
polymerasemaris DSM
sigma factor8797
256544.94PhospholipaseGrimontia315e−06
Ahollisae CIP
101886
333447.56NADP-Moritella sp.884e−173
dependentPE36
oxidoreductases
420844.34hypoxanthineDesulfotalea712e−66
phosphoribosyl-psychrophila
transferaseLSv54
59037.36PutativeDictyoglomus578e−08
regulatorythermophilum
proteinH-6-12
616033.54hypotheticalPelobacter492e−26
proteincarbinolicus
DSM 2380
732836.58Amino acid ABCHahella412e−47
transporterchejuensis
periplasmicKCTC 2396
protein
827440.48PutativeSolibacter393e−44
transposaseusitatus
Ellin6076
915846.12hypotheticalMethanosarcina442e−37
proteinbarkeri str.
Fusaro
1010738.58hypotheticalChlorobium614e−36
proteinchlorochromatii
CaD3
11109535.92transcriptionalBacillus sp.225e−57
regulatorSG-1
1225339.76NAD(P)HDesulfatibacillum374e−43
dehydrogenasealkenivorans
AK-01
1311431.59TransposasePseudomonas281e−2
aeruginosa
1443534.79HypotheticalFusobacterium322e−44
exported 24-nucleatum
amino acidsubsp. vinventii
repeat proteinATCC 49256
1530835.38TransposaseMarinobacter252e−11
sp. ELB17

<3-2> Homology Analysis

[0101]

The amino acid sequence was compared between the protein of the invention and the conventional proteins using BLAST database.

[0102]

As a result, the phospholipase/lipase MPaIG (the protein having both phospholipase and lipase activities; SEQ. ID. NO: 5) expressed from the phospholipase/lipase PlaG (SEQ. ID. NO: 4), more preferably from the catalytic domain MPIaG of the PlaG, demonstrated the highest homology with Grimontia hollisae CIP 101886 but showed low homology with the previously reported phospholipase gene group, which was as low as 30˜35%, suggesting that the gene was a novel gene encoding phospholipase. The homology between the amino acid sequence of the phospholipase/lipase PlaG of the present invention and the amino acid sequence of the similar phospholipase was investigated. As a result, it was confirmed that the sequence of the invention had a catalytic triad composed of 435thSer, 496thAsp, and 560thHis and consensus Gly-X-Ser-X-Gly motif of α/β hydrolase, and the surrounding amino acids were composed of characteristic sequences of phospholipase A ([LIV]-{KG}-[LIVFY]-[LIVMST]-G-[HYWV]-S-{YAG}-G-[GSTAC]) (FIG. 1B). In the meantime, 287 amino acid residues in amino-terminal of the phospholipase/lipase PlaG displayed the highest homology (54%) with Beggiatoa sp. PS derived secreted protein (ZP_02001945) (FIG. 1A). In particular, 26 amino acid residues in the amino-terminal were identified as a secreted signal peptide and the sequence range from the 27thresidue (Ala) where the secreted signal peptide ends to the 157thresidue (Gly) repeated as following range between the 158thThr and the 287thGly (FIG. 3). Based on the presence of the secreted signal peptide and the repeated sequence and the result of BLAST database searching, it was predicted that the phospholipase/lipase PlaG is composed of an unknown functional domain and a catalytic domain. The functional domain of the phospholipase/lipase PlaG was named phospholipase/lipase MPIaG.

[0000]

<3-3> Phylogenetic Analysis

[0103]

A phylogenetic tree was constructed using the amino acid sequence (SEQ. ID. NO: 5) of the phospholipase/lipase MPIaG along with other amino acid sequences of various lipases and phospholipases known so far.

[0104]

As a result, as shown in FIG. 3, the phospholipase/lipase MPIaG of the present invention did not belong to any lipase family but had higher correlation with rather phospholipase phylogenetically (FIG. 3). Moreover, the phospholipase/lipase MPIaG of the present invention was far apart from Staphylococcus hyicus originated lipase known to have not only lipase activity but also excellent phospholipase activity. The conventional Serratia sp. MK1, Serratia marcescens, Yersinia enterocolitica 8081, and Serratia proteamaculans 568 derived phospholipase amino acid sequences demonstrated high homology (59.7˜88.1%) with each other, but showed low homology with that of the phospholipase/lipase MPIaG of the present invention (17.2˜20.4%). That is, the phospholipase/lipase MPIaG originated from tidal flat metagenome of the present invention had a common sequence shared with lipase or phospholipase A but was definitely a novel enzyme displaying low homology with the conventional lipase or phospholipase.

Example 4

Construction of Transformant

[0105]

To construct a recombinant plasmid capable of producing the novel phospholipase/lipase MPIaG of the present invention in a large scale, ORF composed of only PlaG catalytic domain (MPIaG) was designed and prepared thereby. The product [837 bp (SEQ. ID. NO: 3) from the 862ndbp of the sequence represented by SEQ. ID. NO: 2] was cloned in the restriction enzyme site (Ndel and Xhol) of pET-22b(+)(Novagen) vector. E. coli BL21(DE3)/pET22b(+)-MPIaG was constructed by transfecting E. coli BL21(DE3) with the prepared recombinant vector.

[0106]

Particularly, polymerase chain reaction (PCR) was performed by using the recombinant plasmid pFosPlaG screened from the metagenome library as template DNA with the synthesized N-terminal primer represented by SEQ. ID. NO: 6 and the synthesized C-terminal primer represented by SEQ. ID. NO: 7.

[0107]

SEQ. ID. NO: 6:
5′-CCCCATATGTTAAATCAGTCTGATTATGA-3′
SEQ. ID. NO: 7:
5′-CCCCTCGAGAAATTTATCGTTCTCAAGCAT-3′

[0108]

The N-terminal primer and the C-terminal primer of the MPIaG gene of the present invention have Ndel and Xhol cleavage site, respectively, and are oligonucleotides represented by SEQ. ID. NO: 6 and SEQ. ID. NO: 7 respectively. The recombinant vector pET22b(+)-MPIaG contains a very powerful T7 promoter and a read signal therein. When this vector is introduced in such a host as E. coli BL21(DE3) containing T7 RNA polymerase, the phospholipase/lipase MPIaG can be mass-produced therefrom. Also, a tag encoding 6 histidines playing a role in purification of phospholipase and lipase is formed in the C-terminal.

[0109]

The DNA fragments amplified massively through PCR were digested with Ndel and Xhol, which were then ligated to the expression vector pET-22b(+) treated with the same restriction enzymes and calf intestinal phosphatase to construct the recombinant plasmid pET22b(+)-MPIaG for the expression of phospholipase and lipase (FIG. 2). A transformant was constructed by transfecting E. coli BL21(DE3) with the recombinant plasmid pET22b(+)-MPIaG through electroporation. The constructed transformant was named E. coli BL21(DE3)/pET22b(+)-MPIaG, which was deposited at Korean Collection for Type Cultures (KCTC), Korea Research Institute of Bioscience and Biotechnology (KRIBB) on May 30, 2011 (Accession No: KCTC 11942BP).

Example 5

Confirmation of Phospholipase/Lipase MPIaG Production

[0000]

<5-1> Expression and Purification of Phospholipase/Lipase MPIaG

[0110]

The E. coli BL21(DE3)/pET22b(+)-MPIaG constructed in Example 4 was cultured in a liquid nutritive medium [1% (w/v) trypton, 0.5% (w/v) yeast extract, 0.5% (w/v) NaCl] containing ampicillin (100 μg/ml) until OD600reached 0.6. IPTG (isopropyl-β-D-thiogalactopyranoside) was added to the culture solution (final conc.: 0.5 mM), followed by further culture for 12 hours. E. coli BL21(DE3)/pET22b(+)-MPIaG was obtained by centrifugation, which was suspended in binding buffer (50 mM Tris-HCl, pH 8, 500 mM NaCl, 10 mM imidazole). The cell suspension was lysed by ultrasonication. The cell lysate was centrifuged to obtain supernatant. The supernatant was loaded on Ni-NTA (nitriloteiacetic acid) column to elute phospholipase and lipase by imidazole gradient, followed by dialysis-concentration. To confirm the purified phospholipase/lipase MPIaG, SDS-PAGE (sodium dodecyl sulfate-polyacrylamide gel electrophoresis) was performed, followed by staining with Coomassie brilliant blue.

[0111]

As a result, as shown in FIG. 10, the phospholipase/lipase MPIaG of the present invention was successfully produced as the protein in the molecular weight of approximately 31 kDa after the expression induction. The said molecular weight was very close to the expected molecular weight of the amino acid sequence of the phospholipase/lipase MPIaG of the present invention, suggesting that this protein band was the novel phospholipase/lipase MPIaG of the invention. The phospholipase/lipase MPIaG of the present invention was expressed in a water-soluble form. It was confirmed that the protein expression of the phospholipase/lipase MPIaG of the invention was significantly increased, comparing with the full-length protein phospholipase/lipase PlaG (FIG. 10). In addition, the full-length protein phospholipase/lipase PlaG always existed together with a non-specific protein even after being through various purification processes or being expressed by using a new vector system. On the other hand, the phospholipase/lipase MPIaG of the present invention can be produced with high purity even with one-step purification process using Ni-NTA column.
<5-2> Confirmation of Phospholipase Activity

[0112]

The recombinant plasmid pFosPlaG derived from the metagenome library was isolated in the solid nutritive medium supplemented with tricaprylin emulsion which has been widely used for the isolation/confirmation of lipase gene. To investigate the phospholipase activity of the gene, the purified phospholipase/lipase MPIaG was loaded on the solid medium supplemented with phosphatydilcholine emulsion [0.5% (w/v) phosphatydilcholine, 0.5% (w/v) taurocholic acid, 20 mM CaCl2], followed by observing clear zone to confirm the activity. As the comparative group, lipase CALB (lipase B from Candida antarctica) exhibiting excellent lipase activity and the cell lysate of E. coli BL21(DE3), the host cell used for the construction of a transformant, were used.

[0113]

As a result, as shown in FIG. 4, the cell lysate of E. coli BL21(DE3) did not show the activity on both solid media. CALB formed clear zone only on the solid nutritive supplemented with tricaprylin emulsion, while the gene of the present invention formed clear zone on both solid media, suggesting that the gene of the invention had not only lipase activity but also phospholipase activity (FIG. 4).

Example 6

Characteristics of Phospholipase/Lipase MPIaG Derived from Tidal Flat Metagenome

[0114]

Enzyme activity of the phospholipase/lipase MPIaG purified in Example 5 over temperature and pH, specificity over various substrates with different carbon chain length, and relation of the phospholipase/lipase MPIaG with various metal ions, inhibitors, and organic solvents were investigated based on lipase activity.

[0115]

Particularly, enzyme activity was measured by the following two methods. First method was pH-stat. 5 ml of triglycerol and 495 ml of gum arabic suspension [20 mM NaCl, 1 mM CaCl2, 0.5% (w/v) gum arabic] were mixed to prepare an emulsion using Waring blender. 25 ml of the prepared triglycerol emulsion was loaded in a reactor equipped with an apparatus of controlling temperature, to which 10 mM NaOH was loaded to regulate pH as 8. The phospholipase/lipase MPIaG enzyme solution purified above was loaded to the emulsion, followed by hydrolysis at 25° C. During the hydrolysis reaction, the amount of NaOH was measured by pH titrator (842T Titrando, Metrohm). 1 unit (U) of enzyme was defined as the enzyme amount capable of producing 1 μmol of fatty acid. The second method was spectrophotometric assay as standard method of the present invention. Particularly, the phospholipase/lipase MPIaG enzyme solution was added to the reaction solution [20 μl of 10 mM para-nitrophenyl ester substrate, 40 μl of ethanol, and 940 μl of 50 mM Tris-HCl (pH 8)], followed by reaction for 5 minutes. The increasing rate of para-nitrophenol hydrolyzed from the substrate was continuously measured at OD405. Unless informed otherwise, p-nitrophenyl caprate (C10) was used as a substrate. 1 unit (U) of enzyme was defined as the enzyme amount capable of producing 1 μmol of para-nitrophenol via hydrolysis.

[0000]

<6-1> Characteristics of Phospholipase/Lipase MPIaG Over Temperature and pH

[0116]

To investigate the enzyme activity over pH, the activities were measured in different pH buffers. As a result, the maximum activity was observed at pH 8. After staying at different pH for 180 minutes, the remaining activity was measured. As a result, the enzyme activity was maintained stably in the pH range of 5˜10 (FIG. 5). Phospholipase and lipase activity over temperature was also investigated. As a result, the maximum activity was observed at 25° C. The enzyme activity was still observed at 5° C. (39% of maximum activity). When the temperature was raised more than the optimum activity temperature above, the activity was decreased rapidly (FIG. 6). In addition, melting temperature was also investigated by using differential scanning calorimetry (DSC). As a result, the melting temperature was 38.5° C. (FIG. 7). The above results indicate that the phospholipase/lipase MPIaG of the present invention was the low-temperature activated alkaline lipolytic enzyme.

[0000]

<6-2> Specificity of Phospholipase/Lipase MPIaG to Various Phospholipids

[0117]

To investigate substrate specificity to various phospholipids, the purified phospholipase/lipase MPIaG was added to the solid media respectively supplemented with various phospholipid emulsions. Then, the activity over phospholipid was investigated by comparing the size of clear zone. The phospholipid emulsion was composed of 0.5% (v/v) phospholipid substrate, 0.5% (w/v) taurocholic acid, and 20 mM CaCl2. The substrates used herein were phosphatydilcholine (PC, 99% purity), phosphatidylethanolamine (PE, 97% purity), phosphatidylserine (PS, 97% purity), phosphatidylinositol (PI, 98% purity), phosphatidylglycerol (PG, 99% purity), and phosphatidic acid (PA, 98% purity).

[0118]

As a result, as shown in FIG. 8, the phospholipase/lipase MPIaG of the present invention demonstrated excellent activity to those substrates, phosphatydilcholine, phosphatidylethanolamine, and phosphatidylglycerol, but did not decompose phosphatidylserine and phosphatidic acid known to be degraded by secreted phospholipase A (FIG. 8).

[0000]

<6-3> Characteristics of Phospholipase/Lipase MPIaG Over Carbon Length

[0119]

The activity of MPIaG to hydrolyze triacylglyceride, olive oil, and phosphatidylcholine was measured by titrating free fatty acid using pH titrator (842 Tirando, Metrohm). By adding 10 mM NaOH solution, pH of the substrate emulsion was regulated to 8.0. Then, a proper amount of enzyme solution was added thereto. Excretion rate of fatty acid was measured by using pH titrator for 5 minutes. 1 unit of lipase activity was defined as the enzyme amount capable of releasing 1 μmole of fatty acid. To exclude the non-enzymatic hydrolysis value of the substrates, the activity was measured without enzyme addition for every measurement under different conditions, which would be the control reaction.

[0120]

As a result, specific enzyme activity of MPIaG toward olive oil and phosphatidylcholine was 2957±144 and 1735±147 Umg−1, respectively. MPIaG was a member of phospholipase family, but showed a significant lipase activity to olive oil.

[0121]

To further investigate specificity to substrate each having different carbon length, pH titration was performed with triacylglycerides such as tributyrin (C4), tricaprylin (C8), tricaprin (C10), trilaurin (C12), tripalmitin (C16), and triolein (C18:1). As a result, the highest enzyme activity was observed to tributyrin (C4) and the enzyme activity was significantly decreased as chain extended (FIG. 9A).

[0122]

Spectrophotometric assay was also performed at room temperature to investigate the activity of MPIaG to para-nitrophenyl ester with various carbon chain lengths, the synthetic substrate. At this experiment, para-nitrophenyl butyrate (C4), para-nitrophenyl caprylate (C8), para-nitrophenyl caprate (C10), para-nitrophenyl laurate (C12), para-nitrophenyl palmitate (C16), and para-nitrophenyl stearate (C18) were used as substrates for the comparison of the activity. 5 mM Ca2+ was added to the reaction solution. The reaction product para-nitrophenol was continuously measured for 5 minutes at OD450using DU800 spectrophotometer (Beckman). To exclude the non-enzymatic hydrolysis value of the substrates, the activity was measured without enzyme for every measurement under different conditions, which would be the control reaction.

[0123]

As a result, the MPIaG of the present invention demonstrated the highest activity (approximately 112 times) to para-nitrophenyl palmitate (C16) and the second highest activity to para-nitrophenyl butyrate (C4) (FIG. 9B).

[0124]

Specificity of MPIaG over the location and chain length of phospholipid was investigated. To do so, phosphatydilcholine with different carbon chain lengths (C6, C7, C8, and C14) and 1-oleoly-2-palmitoyl-phosphatidylcholine (OPPC) were used. The purified MPIaG was added to 50 mM tris buffer (pH 8.0) containing 5 mM CaCl2and 150 mM NaCl, followed by enzyme reaction along with 1 mM substrate for 12 hours at 25° C. The reaction product was analyzed by liquid chromatography mass spectrometry (LC-MS) using Finnigan LCQ. Advantage MAX ion trap mass spectrometer (Thermo Fisher Scientific) was equipped with electrospray ionization source. HPLC isolation was performed with HILIC guard column (4×2.0 mm, Phenomenex) and Kinetex HILIC column (2.6 μm, 2.1×100 mm, Phenomenex). The moving phase A was 10 mM ammonium formate whose pH was regulated as 3.0 with formic acid. The moving phase B was acetonitrile. Gradient elution was performed at the flow rate of 0.2 ml/min as follows: 0˜10 min., 10%˜40% A (linear gradient); 10˜20 min., 70% A (isocratic). Column temperature was room temperature, and the injection volume was 10 μL. Mass spectra were obtained from m/z in the negative ion mode 100˜1200 at the maximum ion injection time of 3 microscans and 200 ms.

[0125]

As a result, the mass spectra were characterized by [M-H]− and [M-H+HCOOH]− in the negative ion mode. Hydrolase activity of phosphatydilcholine to lysophosphatidylcholine was highest to 1,2-Dioctanoyl-phosphatidylcholine (diC8PC) (FIG. 9C). Therefore, MPIaG was confirmed to have high preference to para-nitrophenyl ester having long acyl straight chain, triglyceride having short acyl straight chain, and phospholipid having medium length acyl straight chain, showing that it had broad chain length specificity over substrate. The purified enzyme demonstrated its activity to triolein (C18:1) not hydrolyzed by esterases. Hydrolase activity of the purified enzyme as tributyrin concentration increased was measured and as a result the enzyme showed interfacial activity, indicating MPIaG was not an esterase (FIG. 9A). In addition, hydrolysis site of MPIaG was determined by liquid chromatography mass spectrometry (LC-MS) using 1-oleoly-2-palmitoyl-phosphatidylcholine (OPPC) (FIG. 11). Particularly, MPIaG was reacted with OPPC (molecular weight: 759) at 25° C. for 12 hours, followed by LC-MS. LC-MS result confirmed that MPIaG decomposed OPPC (m/z 804, [M-H+HCOOH]) to produce the reaction product (m/z 540). If MPIaG digested palmitic acid at sn-2 site of OPPC, the reaction product would have been observed at m/z 567. However, MS spectrum was detected at m/z 540 ([M−h+COOH−C18:1]−) corresponding to 2-palmitoyl-lysophosphatidylcholine. So, it was suggested that MPIaG could be identified as phospholipase A1 that is able to accelerate hydrolysis of acyl group in sn-1 site of phospholipid.

[0126]

The MPIaG of the present invention decomposed triolein not degraded by esterase, and showed interfacial activity as the concentration of tributyrin increased, indicating that it is not phosphoesterase/esterase but phospholipase/lipase.

[0000]

<6-4> Effect of Phospholipase/Lipase MPIaG on Metal Ions and Inhibitors

[0127]

Enzyme activities over various metal ions and inhibitors at different concentrations were measured as shown in Table 2.

[0128]

As a result, as shown in FIG. 7, the activities were increased approximately 10 times by Ca2+ but strongly inhibited by EDTA. When 2 mM and 5 mM of calcium ion were added, melting temperature of the phospholipase/lipase MPIaG of the present invention was raised from 38.5° C. to 47.2° C. and 49.2° C. respectively. So, it was expected that the structural stability was increased by calcium ion (FIG. 7).

[0129]

Enzyme activity relative value (%)
Metal ions and inhibitors1 mM5 mM10 mM
CaCl24661015994
CuCl21353211
MgCl2105198142
FeSO4137142151
ZnCl210795
NiCl262237
CoCl2120177116
EDTA (ehylenedi-7800
aminetetraacetic acid)
PMSF (phenyl methyl94107105
sulfonyl fluoride)
DTT (dithiothreitol)93107105
2-mercaptoethanol10510880

<6-5> Enzyme Activity of Phospholipase/Lipase MPIaG Over Organic Solvents

[0130]

To investigate stability of the phospholipase/lipase MPIaG of the present invention against dimethyl sulfoxide (DMSO), dimethylformamide (DMF), 2-propanol, ethanol, methanol, acetonitrile, and acetone shown in Table 3, enzyme activity of the phospholipase/lipase MPIaG was measured at different concentrations of the solvents.

[0131]

As a result, enzyme activity of the phospholipase/lipase MPIaG was hardly inhibited by those organic solvents at the concentrations of up to 60% (v/v), suggesting that this enzyme would be fully usable in the organic solvent condition in the industry.

[0132]

Enzyme activity relative value (%)
Organic solvent20%30%50%60%
DMSO (dimethyl sulfoxide)98979881
DMF (dimethylformamide)991009398
2-propanol101979699
Ethanol100959498
Methanol1001019398
Acetonitrile100999899
Acetone961009699

<6-6> Comparison of Enzyme Activity of Phospholipase/Lipase MPIaG

[0133]

Specific activity was compared among the phospholipase/lipase MPIaG of the present invention and CALB (lipase from Candida antartica) and CRL (lipase from Candida rugosa) by pH-stat.

[0134]

As a result, as shown in Table 4, even though CALB displayed the highest enzyme activity to the synthetic substrate tributyrin (C4), the phospholipase/lipase MPIaG of the present invention showed the highest enzyme activity to the natural substrate olive oil. Only the phospholipase/lipase MPIaG of the invention showed enzyme activity to the phospholipase substrate phosphatidylcholine. That is, unlike those lipases CALB and CRL, the phospholipase/lipase MPIaG of the invention had phospholipase activity, confirmed quantitatively. In the meantime, considering that P. pseudoalcaligene derived lipase demonstrated 5.7 U/mg of phospholipase activity, and Lecitase™ (Novozyme) showed 6 U/mg of phospholipase activity, reported in a research paper (Biochimica et Biophysica Acta 1259 (1995) 9-17), the phospholipase/lipase MPIaG of the present invention characteristically demonstrated excellent lipase activity and phospholipase activity (Table 4).

[0135]

In addition, specific activity of the phospholipase/lipase MPIaG of the invention and the full-length protein was also investigated using synthetic substrate. As a result, the phospholipase/lipase MPIaG of the invention displayed at least two times increased specific activity, compared to the full-length phospholipase/lipase PlaG.

[0136]

Substrates
phosphaty-
Tributyrin (C4)Olive oildilcholine
Phospholipase/lipase 140 ± 6.4114.8 ± 11.313.4 ± 1.5
MPlaG of the invention
CALB (lipase from294.2 ± 14.515.3 ± 0.1a
Candida antartica)
CRL (lipase from20.3 ± 0.553.7 ± 1.5a
Candida rugosa)
a: not determined

[0137]

Those skilled in the art will appreciate that the conceptions and specific embodiments disclosed in the foregoing description may be readily utilized as a basis for modifying or designing other embodiments for carrying out the same purposes of the present invention. Those skilled in the art will also appreciate that such equivalent embodiments do not depart from the spirit and scope of the invention as set forth in the appended Claims.

Как компенсировать расходы
на инновационную разработку
Похожие патенты