патент
№ US 0009118564
МПК H04L12/26

Providing PIM-SM support for mRSVP-TE based multicast virtual private networks

Авторы:
Lin Han Renwei Li Katherine Zhao
Все (9)
Правообладатель:
Все (3)
Номер заявки
13931597
Дата подачи заявки
28.06.2013
Опубликовано
25.08.2015
Страна
US
Дата приоритета
15.12.2025
Номер приоритета
Страна приоритета
Как управлять
интеллектуальной собственностью
Чертежи 
10
Реферат

In a source provider edge (PE) router, a method for supporting protocol independent multicast sparse-mode (PIM-SM) using multicast resource reservation protocol-traffic engineering (mRSVP-TE) comprising the steps of creating a protocol independent multicast (PIM) state, sending a first unicast data message to a rendezvous point (RP) PE router using the PIM state, wherein the first unicast data message is a PIM register message encapsulated as a unicast multiprotocol label switching (MPLS) packet, receiving a PIM join message from the RP PE router, wherein the PIM join message triggers creating a second PIM state, sending a second unicast data message to the RP PE router via a default multicast distribution tree (MDT) using the second PIM state, receiving a PIM register-stop message from the RP PE router, wherein the PIM register-stop message suspends sending the second unicast data message.

Формула изобретения

1. A method for supporting protocol independent multicast sparse mode (PIM-SM) using multicast resource reservation protocol-traffic engineering (mRSVP-TE) in a source provider edge (PE) router, comprising the steps of:

creating a protocol independent multicast (PIM) state, wherein the PIM state is an (S, G) state, wherein S represents one of a source and a source address and G represents one of a group and a sparse mode destination address;

sending a first unicast data message to a rendezvous point (RP) PE router using the PIM state, wherein the first unicast data message is a PIM register message encapsulated as a unicast multiprotocol label switching (MPLS) packet;

receiving a PIM join message from the RP PE router, wherein the PIM join message triggers creating a second PIM state, wherein the second PIM state is an (S, G) state;

sending a second unicast data message to the RP PE router via a default multicast distribution tree (MDT) using the second PIM state, wherein the second unicast data message is different from the first unicast data message;

receiving a PIM register-stop message from the RP PE router, wherein the PIM register-stop message suspends sending the second unicast data message; and

sending multicast data traffic via the default MDT.

2. The method of claim 1, wherein creating the PIM state comprises configuring a multidirectional inclusive provider multicast service interface (MI-PMSI) for an outgoing interface (OIF).

3. The method of claim 1, wherein creating the second PIM state comprises configuring a multidirectional inclusive provider multicast service interface (MI-PMSI) for an outgoing interface (OIF) coupled to the default MDT.

4. The method of claim 1, further comprising generating the data MDT comprising the steps of:

monitoring a rate multicast data traffic within the default MDT;

determining that the rate exceeds a threshold;

sending a MDT join message to at least one receiver PE router in response to determining, wherein the MDT join message comprises an MDT number that identifies a data MDT;

receiving a path message from the at least one receiver PE router and thereby forming the data MDT; and

sending multicast data traffic via the data MDT.

5. The method of claim 4, wherein the path message comprises a virtual private network identification (VPN ID) number, a customer source, and a customer group.

6. The method of claim 4, wherein the path message comprises a virtual private network identification (VPN ID) number and a MDT number.

7. The method of claim 4, wherein the MDT join message further comprises a customer source and a customer group.

8. The method of claim 4, wherein sending multicast data traffic via the data MDT comprises switching multicast data traffic from the default MDT to the data MDT.

9. A method for supporting protocol independent multicast sparse-mode (PIM-SM) using multicast resource reservation protocol-traffic engineering (mRSVP-TE) in a rendezvous point (RP) provider edge (PE) router, comprising the steps of:

receiving a protocol independent multicast (PIM) join message, wherein the PIM join message triggers creating a PIM state, wherein the PIM state is an (*, G) state;

receiving a first unicast data message from a source PE router using the PIM state, wherein the first unicast data message is a PIM register message encapsulated as a unicast multiprotocol label switching (MPLS) packet;

sending multicast data traffic to one or more receiver PE routers via a default multicast distribution tree (MDT) in response to receiving the first unicast data packet;

sending a second PIM join message to the source PE router, wherein the second PIM join message triggers creating a second PIM state, wherein the second PIM state is an (S, G) state, wherein S represents one of a source and a source address and G represents one of a group and a sparse mode destination address;

receiving a second unicast data message from a source PE router using the second PIM state, wherein the second unicast data message is different from the first unicast data message; and

sending a PIM register-stop message to the source PE router in response to receiving the second unicast data message.

10. The method of claim 9, further comprising decapsulating the first unicast data message to generate the PIM register message and sending the PIM register message to a rendezvous point customer edge (CE) router.

11. The method of claim 9, wherein creating the PIM state comprises configuring a multidirectional inclusive provider multicast service interface (MI-PMSI) for an outgoing interface (OIF).

12. The method of claim 9, wherein creating the second PIM state comprises configuring a multidirectional inclusive provider multicast service interface (MI-PMSI) for an outgoing interface (OIF).

13. A computer program product comprising computer executable instructions for supporting protocol independent multicast sparse-mode (PIM-SM) using multicast resource reservation protocol-traffic engineering (mRSVP-TE) stored on a non-transitory computer readable medium of a router that, when executed by a processor, cause the router to:

create a protocol independent multicast (PIM) state, wherein the PIM state is an (S, G) state;

send a first unicast data message to a rendezvous point (RP) PE router using the PIM state, wherein the first unicast data message is a PIM register message encapsulated as a unicast multiprotocol label switching (MPLS) packet;

receive a PIM join message from the RP PE router, wherein the PIM join message triggers creating a second PIM state, wherein the second PIM state is an (S, G) state, wherein S represents one of a source and a source address and G represents one of a group and a sparse mode destination address;

send a second unicast data message to the RP PE router via a default multicast distribution tree (MDT) using the second PIM state, wherein the second unicast data message is different from the first unicast data message;

receive a PIM register-stop message from the RP PE router, wherein the PIM register-stop message suspends sending the second unicast data message; and

send multicast data traffic via the default MDT.

14. The computer program product of claim 13, wherein creating the PIM state comprises configuring a multidirectional inclusive provider multicast service interface (MI-PMSI) for an outgoing interface (OIF).

15. The computer program product of claim 13, wherein creating the second PIM state comprises configuring a multidirectional inclusive provider multicast service interface (MI-PMSI) for an outgoing interface (OIF) coupled to the default MDT.

16. The computer program product of claim 13, further comprising instructions for generating the data MDT comprising the steps of:

monitoring a rate multicast data traffic within the default MDT;

determining that the rate exceeds a threshold;

sending a MDT join message to at least one receiver PE router in response to determining, wherein the MDT join message comprises an MDT number that identifies a data MDT;

receiving a path message from the at least one receiver PE router and thereby forming the data MDT; and

sending multicast data traffic via the data MDT.

17. The computer program product of claim 16, wherein receiving the path message from at least one receiver PE router comprises triggering a third PIM state change.

18. The computer program product of claim 17, wherein triggering the third PIM state change comprises configuring a selective provider multicast service interface (S-PMSI) for an outgoing interface (OIF).

19. The computer program product of claim 16, wherein sending multicast data traffic via the data MDT comprises switching multicast data traffic from the default MDT to the data MDT.

20. The computer program product of claim 16, wherein the path message comprises a virtual private network identification (VPN ID) number and a MDT number and the MDT join message comprises a customer source address, a customer group address, and a MDT number.

Описание

CROSS-REFERENCE TO RELATED APPLICATIONS

[0001]

The present application claims benefit of U.S. Provisional Patent Application No. 61/666,603 filed Jun. 29, 2012 by Lin Han, et al. and entitled “Methods to Provide PIM-SM Support For mRSVP-TE Based mVPN Solutions,” which is incorporated herein by reference as if reproduced in its entirety.

STATEMENT REGARDING FEDERALLY SPONSORED RESEARCH OR DEVELOPMENT

[0002]

Not applicable.

REFERENCE TO A MICROFICHE APPENDIX

[0003]

Not applicable.

BACKGROUND

[0004]

A multicast virtual private network (mVPN) allows a service provider to configure and support multicast traffic in a multiprotocol label switching (MPLS) virtual private network (VPN) environment. For example, an mVPN may support the routing and forwarding of multicast data packets for VPN routing and forwarding (VRF) instances and provide a mechanism to transport VPN multicast data packets across the service provider backbone. mVPNs may be useful for video conferencing or customer specific broadcasting as examples.

[0005]

An mVPN provides transparent interconnection within its private network across the network backbone of a service provider. Multicast services are a bandwidth conserving solution to reduce data traffic by delivering a single data stream to a plurality of receivers. For example, multicast data services may deliver source traffic to multiple receivers without adding additional burdens on the source or the receivers while using minimal network bandwidth.

[0006]

There are various existing solutions for supporting mVPN on a service provider's network. The solutions may be used to carry protocol independent multicast (PIM) signaling from customers over a service provider's network. However, the solutions may be complex to implement and lack scalability across a service provider's network. For example, at least one solution involves using border gateway protocol (BGP). The solution may require BGP to be extended with seven types of Network Layer Reachability Information (NLRI) and four new BGP attributes. As such, it may be desirable to provide simpler and more scalable means for providing quality-of-service (QoS) assurance and traffic-engineering (TE) path support for mVPN applications.

SUMMARY

[0007]

In example embodiments, protocol independent multicast-sparse mode (PIM-SM) is supported using multicast resource reservation protocol-traffic engineering (mRSVP-TE).

[0008]

PIM-SM is supported in source provider edge (PE) routers. In an example embodiment, a PIM state is created in a source PE router. Furthermore, a first unicast data message is sent to a rendezvous point (RP) PE router using the PIM state, wherein the first unicast data message is a PIM register message encapsulated as a unicast multiprotocol label switching (MPLS) packet. A PIM join message is received from the RP PE router, wherein the PIM join message triggers creating a second PIM state. Finally, a second unicast data message is sent to the RP PE router via a default multicast distribution tree (MDT) using the second PIM state.

[0009]

PIM-SM is supported in RP PE routers. In an example embodiment, a PIM join message is received by a RP PE router, wherein the PIM join message triggers creating a PIM state. Also, a first unicast data message is received from a source PE router using the PIM state, wherein the first unicast data message is a PIM register message encapsulated as a unicast multiprotocol label switching (MPLS) packet. Multicast data traffic is sent to one or more receiver PE routers via a default multicast distribution tree (MDT) in response to receiving the first unicast data packet. Also, a second PIM join message is sent to the source PE router, wherein the second PIM join message triggers creating a second PIM state. A second unicast data message is received from a source PE router using the second PIM state, and a PIM register-stop message is sent to the source PE router in response to receiving the second unicast data message.

BRIEF DESCRIPTION OF THE DRAWINGS

[0010]

For a more complete understanding of the present disclosure and the advantages thereof, reference is now made to the following brief description, taken in connection with the accompanying drawings and detailed description:

[0011]

FIG. 1 is a schematic view of an example embodiment of a network.

[0012]

FIG. 2 is an example embodiment of a path message data packet.

[0013]

FIG. 3 is another example embodiment of a path message data packet.

[0014]

FIG. 4 is another example embodiment of a path message data packet.

[0015]

FIG. 5 is an example embodiment of a multicast distribution tree join data packet.

[0016]

FIG. 6 is an another example embodiment of a multicast distribution tree join data packet.

[0017]

FIGS. 7-10 illustrate example embodiments of communication within an mVPN.

[0018]

FIG. 11 is a flowchart of an example embodiment of a multicast data communication method.

[0019]

FIG. 12 is a flowchart of another example embodiment of a multicast data communication method.

[0020]

FIG. 13 is an example embodiment of a network device.

DETAILED DESCRIPTION

[0021]

It should be understood at the outset that although an illustrative implementation of one or more example embodiments are provided below, the disclosed systems and/or methods may be implemented using any number of techniques, whether currently known or in existence. The disclosure should in no way be limited to the illustrative implementations, drawings, and techniques illustrated below, including the exemplary designs and implementations illustrated and described herein, but may be modified within the scope of the appended claims along with their full scope of equivalents.

[0022]

An mVPN may operate as portion of a networking infrastructure. For example, an mVPN may form a portion of a network layer within an Open Systems Interconnection (OSI) model of a network architecture. The network layer may be configured to provide path determination and logical addressing for data traffic (e.g., one or more data packets) communicated through a network. As such, the network layer may provide function and/or procedural means of transferring data traffic from a source host on a network to one or more destination hosts on the same or different network. For example, the network layer may be responsible for routing functions, encapsulation, data packet fragmentation, data packet reassembly, delivery error reporting, any other suitable data packet processing or handling function as would be appreciated by one of ordinary skill in the art upon viewing this disclosure, or combinations thereof.

[0023]

Multicast data traffic is communicated via multicast tree (e.g., a multicast distribution tree (MDT)) which may comprise two or more networks, for example, an MPLS network operated by a service provider and an internet protocol (IP) network on a customer's site. For example, multicast data traffic may start on a customer's site as an IP multicast and then may be communicated over the MPLS network to other customer's sites. Additionally, in such an example, the multicast data traffic may be distributed over a protocol independent multicasting (PIM) MDT on the customer's site and over via multicast-label-switched-path (mLSP) tunnels in the service provider's MPLS network.

[0024]

Disclosed herein are example embodiments of an mVPN utilizing a PIM with a MDT. In one or more example embodiments disclosed herein, the mVPN is generally configured to employ multicast resource reservation protocol-traffic engineering (mRSVP-TE) to provide multicast services to deliver data traffic to a plurality of receivers. MRSVP-TE is an extension to resource reservation protocol-traffic engineering (RSVP-TE) for multicast applications within an MPLS network and may employ features from RSVP-TE, such as, QoS assurance and TE paths. However, in contrast to RSVP-TE where a multicast data tree may be set up by a multicast source or head node of the multicast data tree, the multicast data tree in mRSVP-TE may be driven by one or more multicast receivers or leaf nodes. As disclosed herein, in an example embodiment where PIM is used on a customer's site and mRSVPT-TE is used on a service provider's network without PIM being enabled, an mVPN may be employed to employ a PIM-SM protocol to support mRSVP-TE multicast data services between a source host and a plurality of receiver hosts.

[0025]

Referring to FIG. 1 an example embodiment of a network 100 is illustrated. The network 100 may be configured as an mVPN, and the network 100 is referred to as mVPN 100 hereafter. The mVPN 100 generally comprises a plurality of routers (e.g., label switch routers (LSRs)), for example a root router 102, one or more receiver provider edge (PE) routers 104, one or more source PE routers 106, a rendezvous point (RP) PE router 107, one or more customer edge (CE) routers 108, and one or more core routers 114. Additionally, the plurality of routers (e.g., the root router 102, the receiver PE routers 104, the source PE router 106, the RP PE router 107, the CE routers 108, the core routers 114, etc.) may be interconnect and in data communication with each other via one or more links 110 (e.g., a wireless link or a wired link). Further, the mVPN 100 is configured to employ an internet group management protocol (IGMP), an intermediate system to system (IS-IS) protocol, a routing information protocol (RIP), a border gateway protocol (BGP), a distance vector multicast routing protocol (DVMRP), a multicast open shortest path first (MOSPF), and/or any suitable routing protocol as would be appreciated by one of ordinary skill in the art upon viewing this disclosure.

[0026]

In an example embodiment, the mVPN 100 is configured to employ a PIM sparse mode (PIM-SM) protocol. In such an example embodiment, the mVPN 100 is configured to establish, identify, and/or track one or more PIM states (e.g., virtual connections) between a source PE router 106 and one or more receiver PE routers 104, for example, via a PIM state table, PIM (source, group) or (S,G) channel, PIM channel, or the-like. In an additional or alternative example embodiment, any other suitable PIM-SM standard and/or protocol may be employed as would be appreciated by one of ordinary skill in the art upon viewing this disclosure. In such examples, the source (S) identifies a source address and the group (G) identifies an SM destination address. The receiver PE router 104 is configured to transmit an (S, G) join message (e.g., a data packet) to the source address to subscribe to an (S, G) channel. Additionally, the source PE router 106 is configured to provide multicast data services upon subscribing a receiver PE router 104 to the channel (S, G). As such, the SM protocol may provide host applications with a “channel” abstraction, in which each channel has a source PE router 106 and any number of receiver PE routers 104. In an additional example embodiment, the mVPN 100 may be further configured to employ one or more additional PIM multicasting protocols (e.g., PIM dense mode (PIM-DM), PIM source-specific multicast (PIM-SSM), bidirectional PIM (BIDIR-PIM), etc.).

[0027]

The plurality of routers (e.g., the root router 102, the receiver PE routers 104, the source PE routers 106, the RP PE router 107, the CE routers 108, the core routers 114, etc.) may each be a device configured to forward data packets within a network and/or between multiple networks. For example, a core router 114 may be a router within a service provider network 112 and may be configured to form a portion of a backbone or core for the service provider network 112. A receiver PE router 104 and/or a source PE router 106 may be a router within the service provider network 112 which may be configured to form an interface between the service provider network 112 and one or more CE routers 108. Each PE router (e.g., the receiver PE router 104 and the source PE router 106) comprises a reverse-path forwarding (RPF) interface or provider multicast service interface (PMSI), such as, an incoming interface (IIF) for PIM state and an outgoing interface (OIF) for PIM state, for example, to manage data traffic forwarding within the mVPN 100. In an example embodiment, the IIF and/or the OIF may be configured as a selective provider multicast service interface (S-PMSI) for point-to-multipoint (P2MP) tunnels, as will be disclosed herein. Alternatively, the IIF and/or the OIF may be configured as a multidirectional inclusive provider multicast service interface (MI-PMSI) for multipoint-to-multipoint (MP2MP) tunneling, as will be disclosed herein. Additionally, each PE router may further comprise an outgoing interface list (OLIST) for PIM state. In an example embodiment, an MI-PMSI interface may be an interface between an IP multicast tree and an MDT. In such an example embodiment, when an MI-PMSI is an OIF in an OLIST for a multicast forwarding entry (S,G), the IP multicast stream (S,G) is replicated for the MI-PMSI and sent to the MI-PMSI interface. In another example embodiment, when the MI-PMSI is an IIF for a multicast forwarding entry (S,G), a data packet (e.g., an MPLS packet) received is forwarded by the forwarding entry (S,G) if the decapsulated data packet is an IP packet and if the source and group are S and G, respectively.

[0028]

A source PE router 106 may be generally characterized as a PE router where a multicast source (e.g., a source host) is located on or behind a CE router 108. Additionally, a source PE router 106 may be characterized as having an internet protocol (IP) on the IIF and an MDT (e.g., a default MDT, a data MDT, etc.) on the OIF. Alternatively, a receiver PE 104 may be generally characterized as a PE router where a multicast receiver (e.g., a receiver host) is located on or behind a CE router 108. Additionally, a receiver PE router 104 may be characterized as having a MDT (e.g., a default MDT, a data MDT, etc.) on an IIF and an IP on an OIF. A RP PE router 107 may be a PE router and may be configured as the root of a non-source specific distribution tree for a multicast group. A CE router 108 may be a router controlled or operated by a customer (e.g., a router located at a customer's premises) which is configured to connect to the service provider network 112, for example, via a PE router. Additionally, in an example embodiment, the CE router 108 may be configured as an RP router. Referring to the example embodiment of FIG. 1, the mVPN 100 comprises the root router 102 in data communication with the receiver PE routers 104, the source PE router 106, and the core routers 114. Additionally, the PE routers (e.g., the receiver PE routers 104, the source PE routers 106, and the RP PE router 107) are each in data communication with a CE router 108. Additionally, each of the routers may be configured to employ a routing table, forwarding table, an mVPN table, or the-like, to control and/or direct data traffic for a given mVPN. For example, each of the routers may generate or establish a routing table to coordinate data communication with other routers within the mVPN 100. In an example embodiment, the routing table may be established via a flooding algorithm, a spanning trees algorithm, a reverse path broadcasting algorithm, a truncated reverse path broadcasting algorithm, a reverse path multicasting algorithm, a core-based tree algorithm, or any other suitable multicast forwarding algorithm as would be appreciated by one of ordinary skill in the art upon viewing this disclosure. Additionally, one or more routers (e.g., a root router 102, a receiver PE router 104, a source PE router 106, the RP PE router 107, etc.) may comprise a settable data traffic flow threshold (e.g., an upper data traffic flow rate limit) and may be configured to initiate a data MDT formation in response to exceeding the data traffic flow threshold, as will be disclosed herein.

[0029]

As would be appreciated by one of ordinary skill in the art a multicast-label-switched-path (mLSP) may also be referred to as an MDT and as such the terms may be used interchangeably. An MDT is generally configured to provide multicast services for the mVPN 100. For example, one or more MDTs may be established and each may define one or more paths (e.g., virtual paths) within the mVPN 100 via the plurality of routers (e.g., the root router 102, the receiver PE routers 104, the source PE routers 106, the RP PE router 107, the CE routers 108, the core routers 114, etc.) to control and/or direct the flow of data traffic through the mVPN 100, for example, to provide multicast services between a source host and a plurality of receiver hosts who are interested in a particular multicast data stream. The MDT may comprise one or more sub-label switched-paths (sub-LSP) which connect a plurality of routers (e.g., LSRs, core routers, source PE routers, receiver PE routers, etc.) to form an MPLS multicast network. An MDT may be configured as a default MDT to provide MP2MP data packet communication, as will be disclosed herein. In such an example, the root router 102 is the head of the default MDT and each of the PE routers are the leaf PEs of the default MDT. Alternatively, an MDT may be configured as a data MDT 160 to provide P2MP data packet communication, as will be disclosed herein. In an example embodiment, an MDT may be head driven or leaf driven. For example, in a leaf driven MDT, any leaf PE (e.g., a source PE router 106) may initiate a data MDT 160, as will be disclosed herein.

[0030]

In the example embodiment, a default MDT may comprise the root router 102 in data communication with a plurality of PE routers (e.g., the receiver PE routers 104 and/or the source PE routers 106). Additionally, each of the PE routers is in data communication with a CE router coupled to a host (e.g., a source host, a receiver host, etc.). A default MDT may be configured to perform signaling, forming one or more MDTs (e.g., a data MDT, as will be disclosed), pruning an MDT (e.g., removing inactive PE routers), adding nodes (e.g., PE routers) to an MDT, communicating multicast data traffic, performing any other suitable multicast service operation as would be appreciated by one of ordinary skill in the art upon viewing this disclosure, or combination thereof. The default MDT is configured such that every PE router within the mVPN 100 may be utilized as a source PE router and/or a receiver PE router, for example, every PE router is capable of sending and/or receiving multicast data traffic. Further, the default MDT is configured to provide bidirectional communication between the routers (e.g., PE routers). For example, the default MDT may be configured to communicate a PIM signaling message and/or a data packet. For example, the default MDT may support PIM signaling messages, such as, join/prune messages, hello messages, assert messages, bootstrap messages, register-stop messages, etc.

[0031]

In an example embodiment, a data MDT may be generally configured to offload data traffic from a default MDT, for example, to minimize or reduce wasted bandwidth for one or more routers. In an example embodiment, the data MDT comprises a source host (e.g., a source terminal) in signal communication (e.g., via a source PE 106) with a plurality of receiver hosts (e.g., via a plurality of receiver PE routers 104). In such an example embodiment, the data MDT is configured to communicate multicast data traffic only to interested receivers (e.g., receiver hosts) and thereby preserve the bandwidth of disinterested receivers and/or routers, as will be disclosed herein. The data MDT is configured such that a source PE router 106 communicates with one or more receiver-PE routers 104. The data MDT may be configured to be established or built up statically and/or dynamically. For example, when the data MDT is configured to be built statically, the data MDT may be configured to be established in response to a path message being communicated from one or more receiver PE routers 104 to a source PE router 106. Alternatively, when the data MDT is configured to be built dynamically, the data MDT may be configured to be established in response to exceeding a predetermined threshold of multicast data traffic. Additionally, the data MDT may be configured to operate similar to a data MDT for a multipoint generic routing encapsulation (mGRE) based mVPN.

[0032]

Referring to FIGS. 2-6, one or more signaling data packets may be communicated between the routers (e.g., the root router 102, the receiver PE routers 104, the source PE routers 106, the RP PE router 107, the CE routers 108, the core routers 114, etc.) of the mVPN 100, for example, to establish one or more MDTs (e.g., a default MDT or a data MDT). For example, a source host may communicate a one or more signaling data packets to one or more receiver hosts to form a default MDT and/or a data MDT, as will be disclosed herein.

[0033]

Referring to FIGS. 2-4, an mRSVP-TE path message data packet (e.g., an mRSVP-TE path message data packet 200a, 200b, and 200c, respectively) is illustrated. In the example embodiment of FIG. 2, the mRSVP-TE path message data packet 200a comprises a plurality of data fields, for example, a VPN identification (ID) 202a, a customer source (c-source) address field 204a, and a customer group (c-group) address field 206a. Referring to FIG. 2, the mRSVP-TE path message data packet 200a for internet protocol version 4 (IPv4) comprises a 64-bit VPN ID 202a, a 32-bit c-source address field 204a, and a 32-bit c-group address field 206a.

[0034]

In the example embodiment of FIG. 3, the mRSVP-TE path message data packet 200b each comprise a plurality of data fields, for example, a VPN identification (ID) 202b, a c-source address field 204b, and a c-group address field 206b. Referring to FIG. 3, the mRSVP-TE path message data packet 200b for IPv6 comprises a 64-bit VPN ID 202b, a 128-bit c-source address field 204b, and a 128-bit c-group address field 206b.

[0035]

While the example embodiments of FIGS. 2 and 3 are each disclosed with respect to a particular bit size for each data field, it is noted that any data field may be any suitable bit size as would be appreciated by one of ordinary skill in the art upon viewing this disclosure. In an example embodiment, the VPN ID may be an mVPN identifier. Additionally, the c-source address field may indicate the address of the traffic source (e.g., a source host) within the mVPN 100. Further, the c-group address field may indicate the multicast traffic destination or group address within the mVPN 100.

[0036]

In an alternative example embodiment as shown in FIG. 4, the mRSVP-TE path message data packet 200c comprises a plurality of data fields, for example, a VPN ID 202c and a MDT number 208. The mRSVP-TE path message data packet 200c may be the same structure and/or format for both IPv4 and IPv6. Additionally, the mRSVP-TE path message data packet 200c for both IPv4 and IPv6 comprises a 64-bit VPN ID 202c and a 32-bit MDT number 208. While the example embodiment of FIG. 4 is disclosed with respect to a particular bit size for each data field, it is noted that any data field may be any suitable bit size as would be appreciated by one of ordinary skill in the art upon viewing this disclosure. In the example embodiment of FIG. 4, the VPN ID 202c may be an mVPN 100 identifier. The MDT number 208 may be an MDT identifier. The MDT number field may be an identifier for a default MDT or data MDT for a particular mVPN 100. For example, the MDT number 208 may be zero for a default MDT or a non-zero number for a data MDT. Additionally, the MDT number 208 may be assigned by a PE router (e.g., a source PE router 106).

[0037]

Referring to FIG. 5, an MDT join TLV data packet (e.g., an MDT join TLV data packet 250a, 250b, respectively) or MDT join message is illustrated). Referring to FIG. 5, an IPv4 MDT join TLV data packet 250a is illustrated. In the example embodiment of FIG. 5, the MDT join TLV data packet 250a comprises a plurality of data fields, for example, a type field 252a, a length field 254a, a reserved field 256a, a c-source address field 258a, a c-group address field 260a, and a MDT number field 262a. In such an example embodiment, the MDT join TLV data packet 250a for IPv4 comprises an 8-bit type field 252a, a 16-bit length field 254a, an 8-bit reserve field 256a, a 32-bit c-source address field 258a, a 32-bit c-group address field 260a, and a 32-bit MDT number 262a.

[0038]

Referring to FIG. 6, an IPv6 an MDT join TLV data packet 250b is illustrated. In the example embodiment of FIG. 6, the MDT join TLV data packet 250b comprises a plurality of data fields, for example, a type field 252b, a length field 254b, a reserved field 256b, a c-source address field 258b, a c-group address field 260b, and a MDT number field 262b. In such an example embodiment, the MDT join TLV data packet 250b for IPv6 comprises an 8-bit type field 252b, a 16-bit length field 254b, an 8-bit reserve field 256b, a 128-bit c-source address field 258b, a 128-bit c-group address field 260b, and a 32-bit MDT number 262b.

[0039]

While the example embodiments of FIGS. 5 and 6 are disclosed with respect to a particular bit size for each data field, it is noted that any data field may be any suitable bit size as would be appreciated by one of ordinary skill in the art upon viewing this disclosure. In the example embodiment of FIGS. 5 and 6, the type field may indicate the kind or type of message the data packet represents. The length field may indicate the length or size of the MDT join TLV data packet. The reserved field may be data field reserved for future use. In an example embodiment, the c-source field and the c-group field may be similarly configured and/or employed as previously disclosed with respect to the c-source address 204a and 204b and c-group address 206a and 206b. Additionally, the MDT number may be similarly configured and/or employed as previously disclosed with respect to the MDT number 208.

[0040]

Additional details for an mRSVP-TE path message data packet and a MDT join TLV data packet may be as described in U.S. patent application Ser. No. 13/931,434 filed Jun. 28, 2013 and entitled “Multicast Distribution Trees for mRSVP-TE Based Multicast Virtual Private Networks,” by Lin Han, et al., which is hereby incorporated by reference in its entirety.

[0041]

FIGS. 7-10 illustrate communication in the mVPN 100. The mVPN 100 comprises a router within the service provider network 112 (e.g., core router 114a) configured to be a root router 102, such that, the root router 102 is in signal communication with a plurality of receiver PE routers 104, a source PE router 106, a RP PE router 107, and core routers 114. For example, the root router 102 is coupled to a source PE router 106, a RP PE router 107, a first receiver PE router 104a, and a second receiver PE router 104b and a third receiver PE router 104c via a second core router 114b. Additionally, each of the PE routers (e.g., the receiver PE routers 104a-104c, the RP PE router 107, and the source PE router 106) may each be coupled to a CE router (e.g., a CE router 108).

[0042]

In such an example, the mVPN 100 may establish the default MDT to provide multicast data traffic services (e.g., to communicate multicast signaling and/or data packets), for example, to provide MP2MP data communication among the routers within the service provider network 112. Additionally, each of the receiver PE routers 104a-104c, the source PE router 106, the RP PE router 107, and the CE routers 108 are a part of the same mVPN and share a common VPN ID. For example, upon establishing and/or enabling the mVPN 100, the common VPN ID may be known and/or shared among the routers of the mVPN 100. In an example embodiment, an mRSVP-TE path message data packet may be generated by each PE router and is communicated within the mVPN 100 to the root router 102. Additionally, in response to the mRSVP-TE path message data packet, the root router 102 may communicate a response message to each PE router and thereby establish the default MDT. As such, the RPF interface of each of the PE routers of the default tree may be configured for MI-PMSI. Alternatively, the default MDT may be established via any other suitable method as would be appreciated by one of ordinary skill in the art upon viewing this disclosure.

[0043]

FIG. 11 is a method for communicating multicast data 400 within an mVPN, such as the mVPN 100. In block 402, a PIM state is created for a source PE router. For example referring to the example embodiment of FIG. 7, in response to the source PE router 106 receiving a PIM join message 302 (e.g., a PIM join/prune messages, although only the join attributes are of interest in the method 400, so the PIM signaling message may be referred to as a PIM join message) from one or more receiver PE routers 104, the PIM join message 302 triggers a PIM (S, G) state 304 to be created at the source PE router 106. In an example embodiment, the PIM join message 302 comprises one or more PIM channel subscription requests (e.g., an (S, G) join message). For example, one or more receiver hosts requests to join group G and a source S via one or more receiver PE routers 104. In an example embodiment, the source PE router 106 set its OIF to MI-PMSI(MVPN) and the receiver PE router 104 sets the MI-PMSI(MVPN) as its IIF.

[0044]

In block 404, the source PE router sends a first unicast data message (e.g., a unicast mPLS packet) to the RP PE router. For example referring to example embodiment of FIG. 8, the source PE router 106 receives data traffic 308 (e.g., from a source host) and encapsulates the data traffic 308 forming the first unicast data message 308a to be sent to the RP PE router 107. For example, the first unicast data message 308a is a unicast mPLS packet and is sent from the source PE router 106 to the RP PE router 107 via the default MDT (e.g., via the PIM state).

[0045]

In block 406, the source PE router receives a PIM signaling message (e.g., a PIM join/prune messages, although only the join attributes are of interest in the method 400, so the PIM signaling message may be referred to as a PIM join message) from the RP PE router. For example referring to the example embodiment of FIG. 9, the RP PE router 107 sends a PIM join message 316 to the source PE router 106, for example, to trigger the creation of a second PIM state. In such an example embodiment, in response to the source PE router 106 receiving the PIM join message 316, the source PE router 106 creates a second PIM state, for example, a MI-PMSI(MVPN) and a (S, G) state which has the default MDT as OIF. In block 408, the source PE router sends a second unicast data message (e.g., a unicast mPLS packet) to the RP PE router. For example, following establishing the second PIM state, the source PE router 106 sends multicast data traffic 318 to one or more receiver PE routers 104 via the default MDT (e.g., via the second PIM state). Additionally, the source PE router 106 sends the second unicast message 318a (e.g., a unicast mPLS packet) to the RP PE router 107.

[0046]

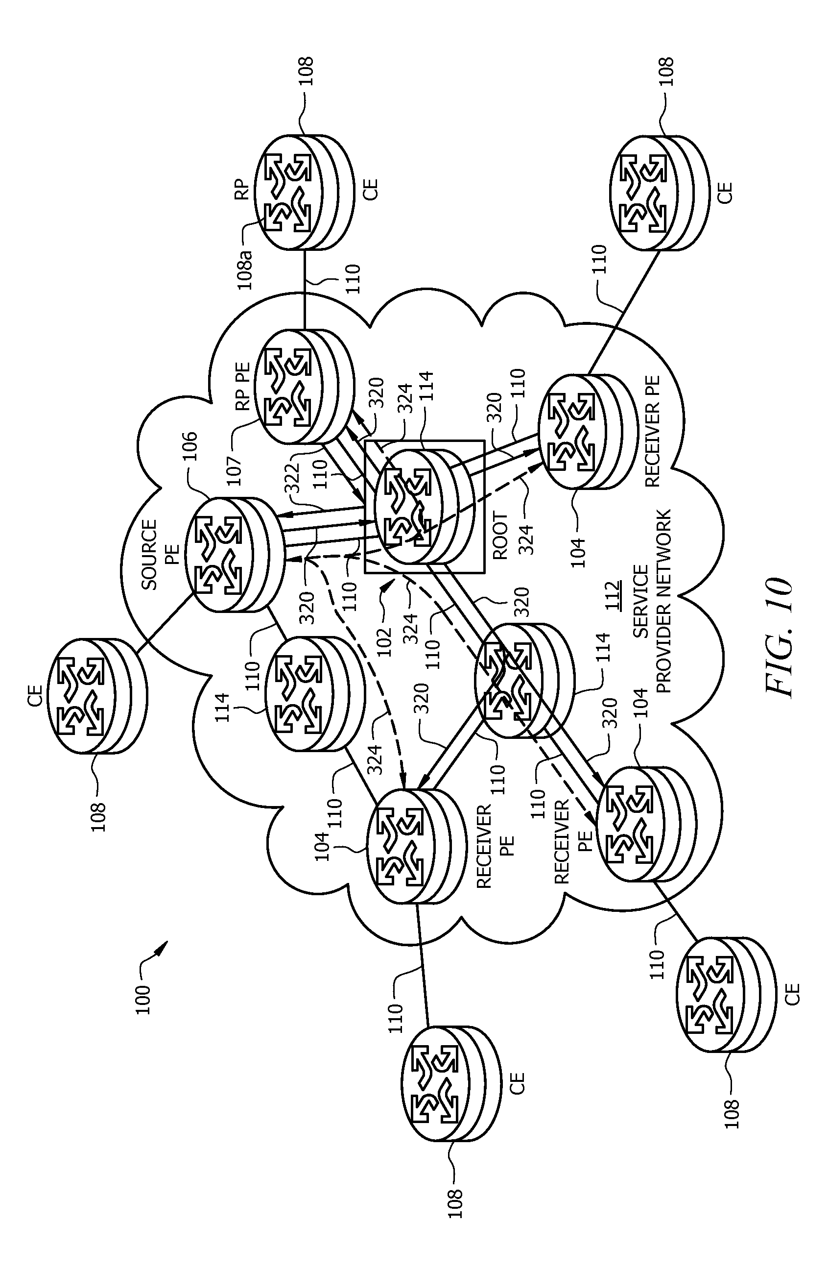
In block 410, the source PE router receives a PIM register-stop from the RP PE router. For example referring to example embodiment of FIG. 10, in response to receiving the second unicast data message, the RP PE router 107 generates and sends a PIM register-stop message 322 to the source PE router 106. In such an example embodiment, the source PE router 106 receives the PIM register-stop message 322 and suspends sending second unicast data message to the RP PE router 107. In block 412, the source PE router 106 sends multicast data traffic 320 to one or more PE receiver routers 104 via the default MDT.

[0047]

Additionally in an example embodiment, the source PE router generates a data MDT. For example, the source PE router 106 may monitor and/or detect a rate of multicast data traffic for the multicast stream (S, G) within the mVPN 100. In such an example embodiment, the source PE router 106 may generate a data MDT 324 in response to the rate of multicast data traffic for the multicast stream (S, G) exceeding a preconfigured threshold. For example, the source PE router 106 may send a MDT join message (e.g., a MDT join TLV data packet) to one or more receiver PE routers 104 in response to exceeding the preconfigured threshold. Additionally, the source PE router 106 may receive a path message (e.g., an mRSVP-TE path message) from the one or more receiver PE routers 104 and thereby establish the data MDT 324. In an alternative example embodiment, the data MDT 324 may be established via any other suitable method or protocol as would be appreciated by one of ordinary skill in the art upon viewing this disclosure. Additionally, upon establishing the data MDT 324, the source PE router 106 and/or the one or more receiver PE routers 104 may create a S-PMSI interface and modify the (S, G) state at the source PE router 106 and/or the one or more receiver PE routers 104. For example, the source PE router 106 may add S-PMSI(MNPV, MDT) for the data MDT as OIF and the one or more receiver PE routers 104 may add S-PMSI(MVPN, MDT) as IIF. Additionally, the source PE router sends multicast data traffic to one or more receiver PE routers via the data MDT. For example, upon establishing the data MDT 324, multicasts data traffic may be communicated between the source PE router 106 and the one or more receiver PE routers 104 via the data MDT 324. Additionally, multicast data traffic is switched from the default MDT to the data MDT.

[0048]

FIG. 12 is an additional example embodiment of a method for communicating multicast data 500 within an mVPN, such as the mVPN 100. In block 502, an RP PE router receives a first PIM join message (e.g., a PIM (*, G) join message) from one or more receiver PE routers. For example referring to the example embodiment of FIG. 7, the RP PE router 107 receives a PIM join message 302 (e.g., a PIM join/prune messages, although only the join attributes are of interest in the method 500, so the PIM signaling message may be referred to as a PIM join message) from one or more receiver PE routers 104, the PIM join message 302 triggers a PIM (*, G) state 304 to be created at the RP PE router 107. In an example embodiment, the PIM join message 302 comprises one or more PIM channel subscription requests (e.g., an (*, G) join message). For example, one or more receiver hosts requests to join group G via one or more receiver PE routers 104. In an example embodiment, the RP PE router 107 set its OIF to MI-PMSI(MVPN) and the receiver PE router 104 sets the MI-PMSI(MVPN) as its IIF.

[0049]

In block 504, the RP PE router receives a first unicast data message from a source PE router (e.g., via the PIM state 304) triggering a register process. For example referring to the example embodiment of FIG. 8, the RP PE router 107 receives the first unicast data message 308a from the source PE router 106 and thereby triggering the registering process. Upon receiving the first unicast data message 308a, the RP PE router 107 may process (e.g., decapsulate) the first unicast data message 308a to generate a native multicast data packet 310 (e.g., a PIM register message) and send the native multicast data packet 310 to an RP router 108a. In block 506, the RP PE router sends multicast data traffic to the one or more receiver PE routers in response to receiving the first unicast data message from the source PE router. For example, in such an example embodiment, in response to establishing the first PIM state the RP router comprises an OIF pointing to the RP PE router and sends a returned native multicast data packet 312 back to the RP PE router 107. Upon receiving the returned native multicast data packet 312 from the RP router 108a, the RP PE router 107 sends the returned native multicast data packet 312 to one or more receiver PE routers 104 via the default MDT. Additionally, in such an example embodiment, only receiver PE router 104 may process the returned native multicast data packet 312 and send the returned native multicast data packet 312 to their CE routers 108.

[0050]

In block 508, the RP PE router sends a second PIM join message to the source PE router. For example referring to the example embodiment of FIG. 9, the RP PE router 107 sends a second PIM join message 316 to the source PE router 106, for example, to trigger the creation of a second PIM state. In such an example embodiment, in response to sending the PIM join message 316, the RP PE router 107 creates a second PIM state, for example, a MI-PMSI(MVPN) and a (S, G) state which has the default MDT as OIF. In block 510, the RP PE router receives a second unicast data message from a source PE router. For example, the source PE router 106 sends the second unicast message 318a (e.g., a unicast mPLS packet) to the RP PE router 107 (e.g., via the PIM second state).

[0051]

In block 512, the RP PE router sends a PIM register-stop message to the source PE router. For example referring to the example embodiment of FIG. 10, in response to receiving the second unicast data message 318a, the RP PE router 107 sends a PIM register-stop message 322 to the source PE router 106 to suspend the source PE router 106 from sending the second unicast data message 318a and thereby registers the source PE router 106.

[0052]

FIG. 13 illustrates an embodiment of a network device or apparatus 900, which may be any device configured to transport data frames or packets through a network. The network device 900 may comprise one or more ingress ports 910 coupled to a receiver 912 (Rx), which may be configured for receiving packets or frames, objects, options, and/or Type Length Values (TLVs) from other network components. The network device 900 may comprise a logic unit or processor 920 coupled to the receiver 912 and configured to process the packets or otherwise determine to which network components to send the packets. The logic unit or processor 920 may be implemented using hardware or a combination of hardware and software. The processor 920 may be implemented as one or more central processor unit (CPU) chips, cores (e.g., a multi-core processor), field-programmable gate arrays (FPGAs), application specific integrated circuits (ASICs), and/or digital signal processors (DSPs). The network device 900 may further comprise a memory 922.

[0053]

The memory 922 may comprise secondary storage, random access memory (RAM), and/or read-only memory (ROM) and/or any other type of storage. The secondary storage may comprise one or more disk drives or tape drives and may be used for non-volatile storage of data and as an over-flow data storage device if the RAM is not large enough to hold all working data. The secondary storage may be used to store programs that are loaded into the RAM when such programs are selected for execution. The ROM may be used to store instructions and perhaps data that are read during program execution. The ROM is a non-volatile memory device that typically has a small memory capacity relative to the larger memory capacity of the secondary storage. The RAM is used to store volatile data and perhaps to store instructions. Access to both the ROM and the RAM is typically faster than to the secondary storage.

[0054]

The network device 900 may also comprise one or more egress ports 930 coupled to a transmitter 932 (Tx), which may be configured for transmitting packets or frames, objects, options, and/or TLVs to other network components. Note that, in practice, there may be bidirectional traffic processed by the network node 900, thus some ports may both receive and transmit packets. In this sense, the ingress ports 910 and the egress ports 930 may be co-located or may be considered different functionalities of the same ports that are coupled to transceivers (Rx/Tx). The processor 920, the receiver 912, and the transmitter 932 may also be configured to implement or support any of the procedures and methods described herein, such as the method for communicating multicast data 400, 500.

[0055]

It is understood that by programming and/or loading executable instructions onto the network device 900, at least one of the processor 920 and the memory 922 are changed, transforming the network device 900 in part into a particular machine or apparatus (e.g., a source PE router, a receiver PE router, etc.). The executable instructions may be stored on the memory 922 and loaded into the processor 920 for execution. It is fundamental to the electrical engineering and software engineering arts that functionality that can be implemented by loading executable software into a computer can be converted to a hardware implementation by well-known design rules. Decisions between implementing a concept in software versus hardware typically hinge on considerations of stability of the design and numbers of units to be produced rather than any issues involved in translating from the software domain to the hardware domain. Generally, a design that is still subject to frequent change may be preferred to be implemented in software, because re-spinning a hardware implementation is more expensive than re-spinning a software design. Generally, a design that is stable that will be produced in large volume may be preferred to be implemented in hardware, for example in an ASIC, because for large production runs the hardware implementation may be less expensive than the software implementation. Often a design may be developed and tested in a software form and later transformed, by well-known design rules, to an equivalent hardware implementation in an application specific integrated circuit that hardwires the instructions of the software. In the same manner, as a machine controlled by a new ASIC is a particular machine or apparatus, likewise a computer that has been programmed and/or loaded with executable instructions may be viewed as a particular machine or apparatus.

[0056]

In an example embodiment, an mVPN 100 employing an MDT (e.g., a default MDT and a data MDT) and/or a method of use, as disclosed herein or in some portion thereof, may be advantageously employed to provide multicast services. In an example embodiment where PIM is used on a customer's site and mRSVP-TE is used on a service provider's network without PIM being enabled, an mVPN (e.g., mVPN 100) may be employed to provide the ability to inter-work the customer's PIM with the service provider's mRSVP-TE. Additionally, an mVPN 100 provides the ability to employ a PIM-SM protocol to support mRSVP-TE multicast data services between a source host and a plurality of receiver hosts. Therefore, the example embodiments disclosed herein improve the performance of a multicast data communication system.

[0057]

At least one example embodiment is disclosed and variations, combinations, and/or modifications of the example embodiment(s) and/or features of the example embodiment(s) made by a person having ordinary skill in the art are within the scope of the disclosure. Alternative example embodiments that result from combining, integrating, and/or omitting features of the example embodiment(s) are also within the scope of the disclosure. Where numerical ranges or limitations are expressly stated, such express ranges or limitations should be understood to include iterative ranges or limitations of like magnitude falling within the expressly stated ranges or limitations (e.g., from about 1 to about 10 includes, 2, 3, 4, etc.; greater than 0.10 includes 0.11, 0.12, 0.13, etc.). For example, whenever a numerical range with a lower limit, Rl, and an upper limit, Ru, is disclosed, any number falling within the range is specifically disclosed. In particular, the following numbers within the range are specifically disclosed: R=Rl+k*(Ru−Rl), wherein k is a variable ranging from 1 percent to 100 percent with a 1 percent increment, i.e., k is 1 percent, 2 percent, 3 percent, 4 percent, 5 percent, . . . 50 percent, 51 percent, 52 percent, . . . , 95 percent, 96 percent, 97 percent, 98 percent, 99 percent, or 100 percent. Moreover, any numerical range defined by two R numbers as defined in the above is also specifically disclosed. The use of the term about means ±10% of the subsequent number, unless otherwise stated. Use of the term “optionally” with respect to any element of a claim means that the element is required, or alternatively, the element is not required, both alternatives being within the scope of the claim. Use of broader terms such as comprises, includes, and having should be understood to provide support for narrower terms such as consisting of, consisting essentially of, and comprised substantially of. All documents described herein are incorporated herein by reference.

[0058]

While several example embodiments have been provided in the present disclosure, it should be understood that the disclosed systems and methods might be embodied in many other specific forms without departing from the spirit or scope of the present disclosure. The present examples are to be considered as illustrative and not restrictive, and the intention is not to be limited to the details given herein. For example, the various elements or components may be combined or integrated in another system or certain features may be omitted, or not implemented.

[0059]

In addition, techniques, systems, subsystems, and methods described and illustrated in the various example embodiments as discrete or separate may be combined or integrated with other systems, modules, techniques, or methods without departing from the scope of the present disclosure. Other items shown or discussed as coupled or directly coupled or communicating with each other may be indirectly coupled or communicating through some interface, device, or intermediate component whether electrically, mechanically, or otherwise. Other examples of changes, substitutions, and alterations are ascertainable by one skilled in the art and could be made without departing from the spirit and scope disclosed herein.

Как компенсировать расходы
на инновационную разработку
Похожие патенты