In an organic light emitting diode (OLED) display device and a method for fabricating the same, OLED pixels are patterned through a photolithography process, so a large area patterning can be performed and a fine pitch can be obtained, and an organic compound layer can be protected by forming a buffer layer of a metal oxide on an upper portion of the organic compound layer or patterning the organic compound layer by using a cathode as a mask, improving device efficiency. In addition, among red, green, and blue pixels, two pixels are patterned through a lift-off process and the other remaining one is deposited to be formed without patterning, the process can be simplified and efficiency can be increased.
1. A method for fabricating an organic light emitting diode (OLED) display device, the method comprising:
forming a plurality of first electrodes on a substrate; forming a first light emitting layer formed of a first organic film on the substrate to cover one of the first electrodes through a first photo process; forming a second light emitting layer formed of a second organic film on the substrate to cover one of the first electrodes through a second photo process; depositing a third organic film on the substrate including first and second photosensitive resin patterns remaining after being used during the first and second photo processes; removing the third organic film deposited on upper portions of the first and second photosensitive resin patterns together with the first and second photosensitive resin patterns through a lift-off process to form a third light emitting layer, wherein the third organic film is formed on the substrate to cover one of the first electrodes and to fill an empty space between the first light emitting layer and the second light emitting layer; and forming a second electrode on the first, second, and third light emitting layers. 2. The method of 3. The method of 4. The method of 5. The method of 6. The method of
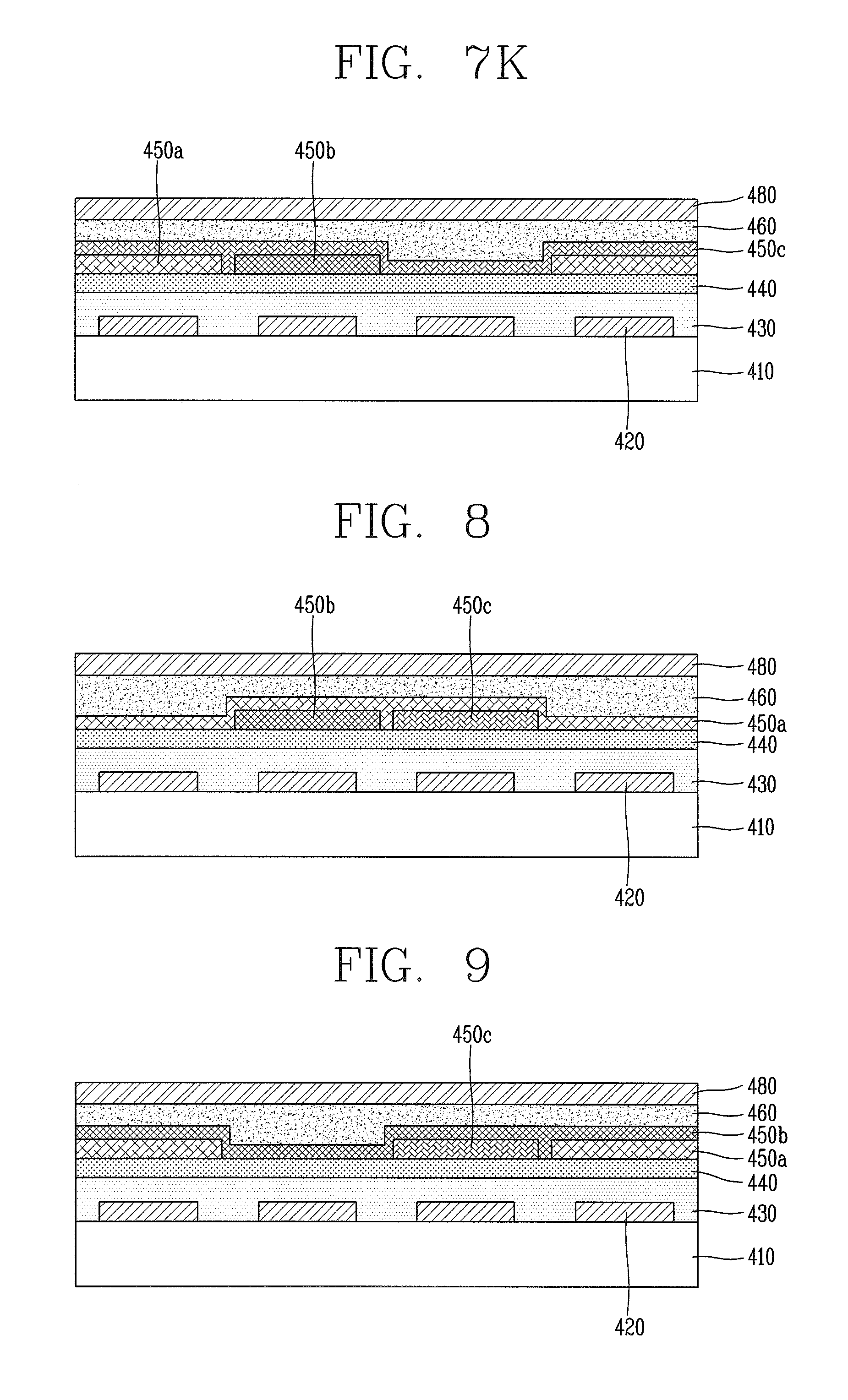
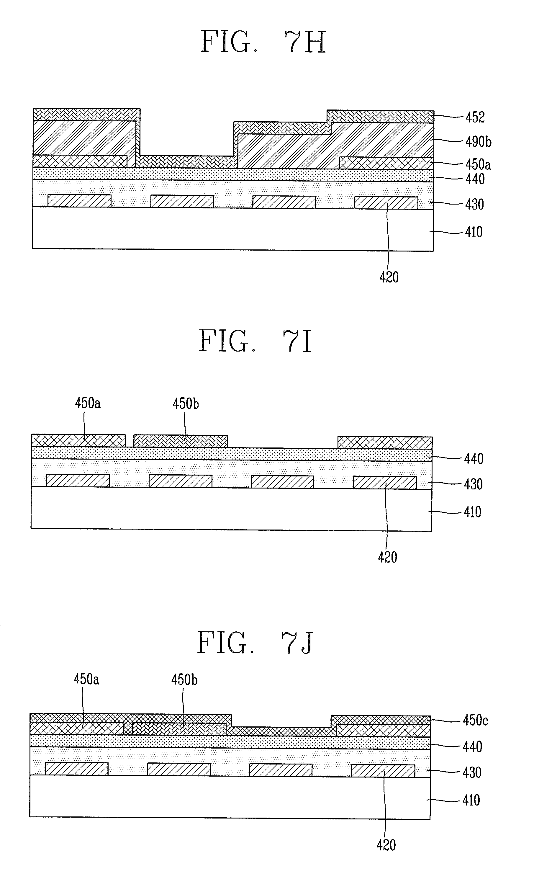
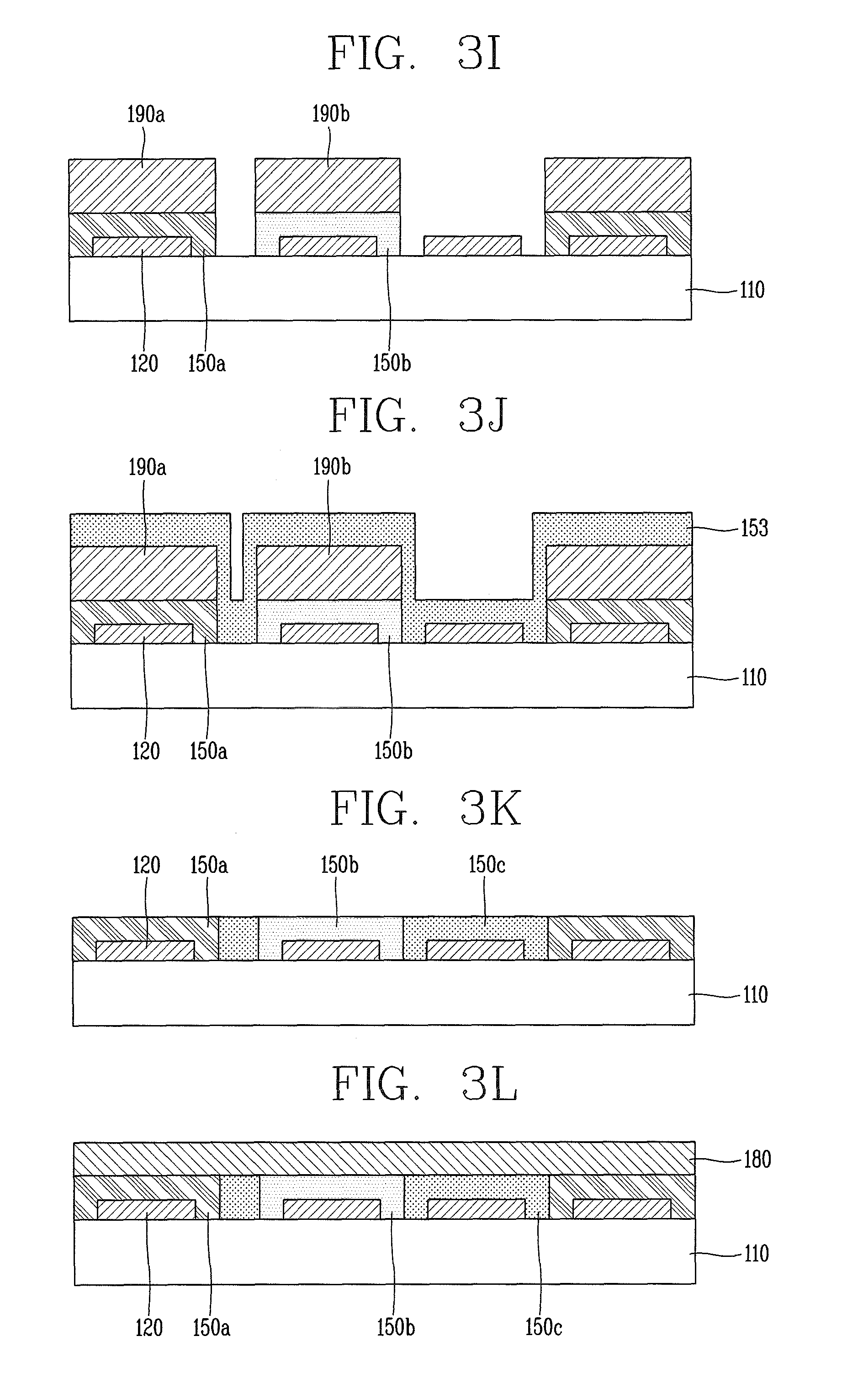
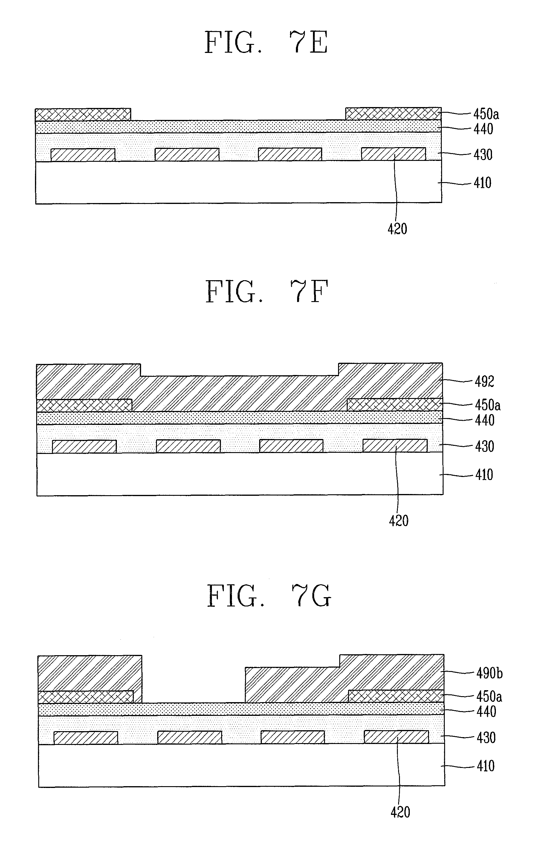
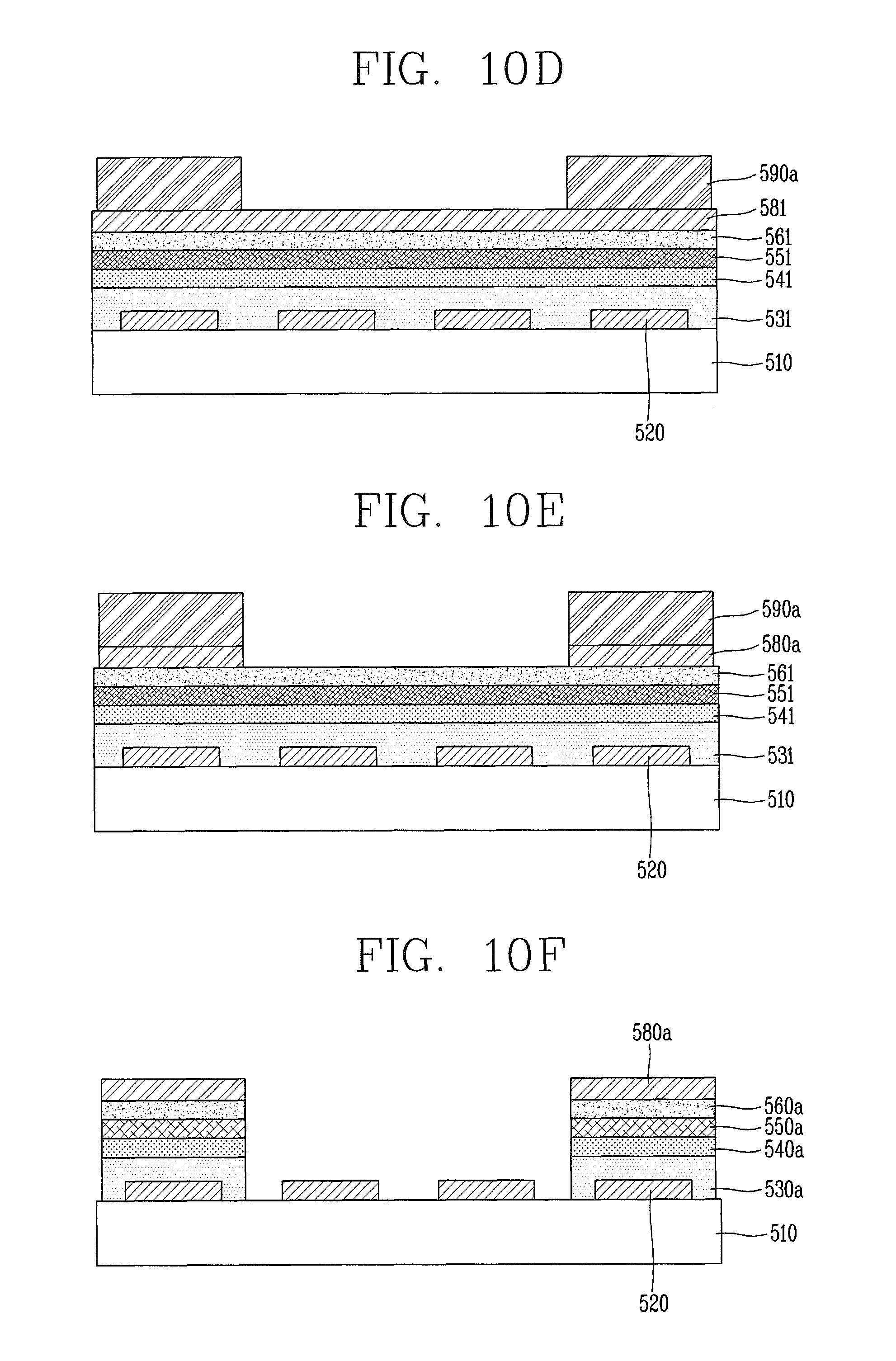
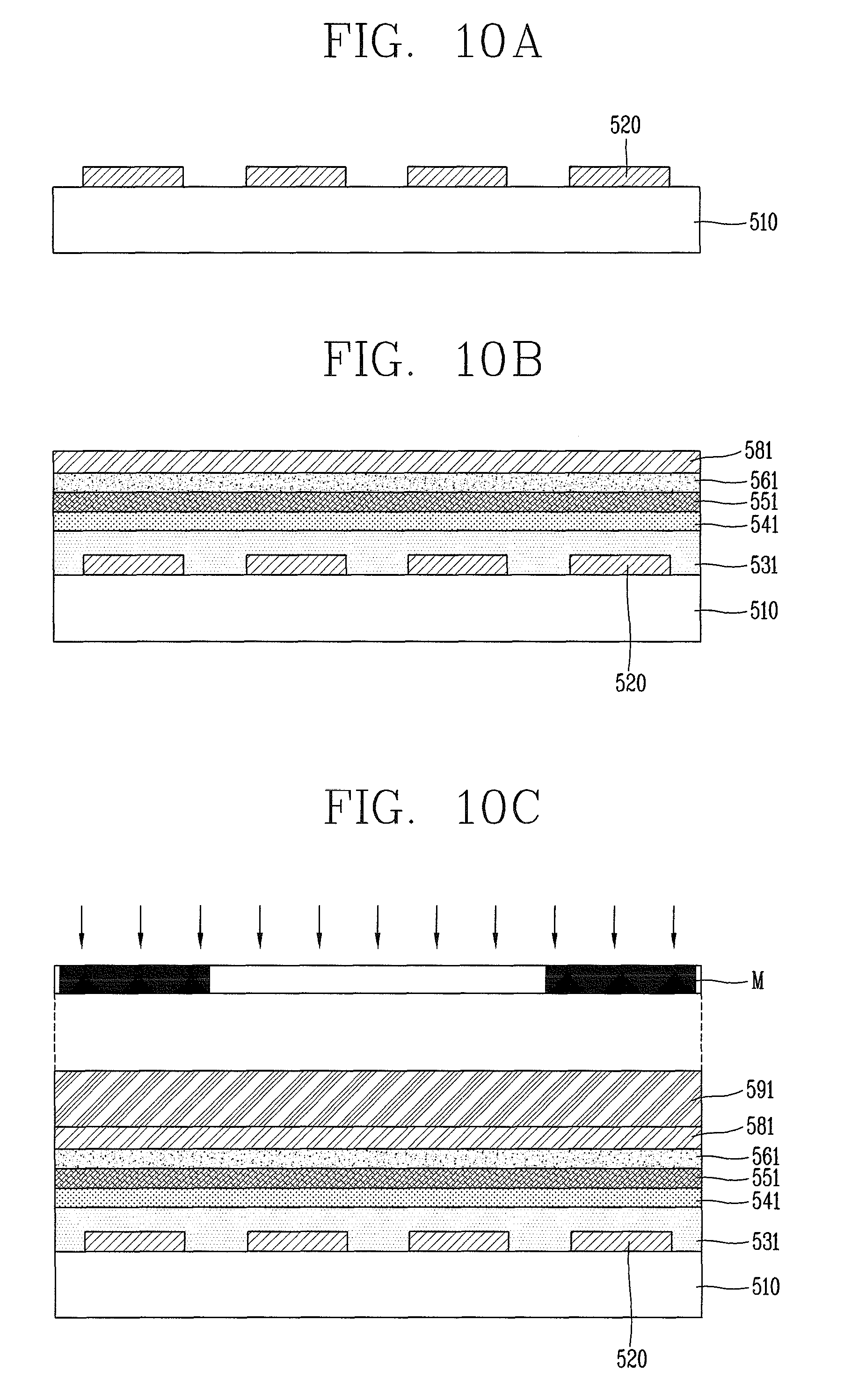
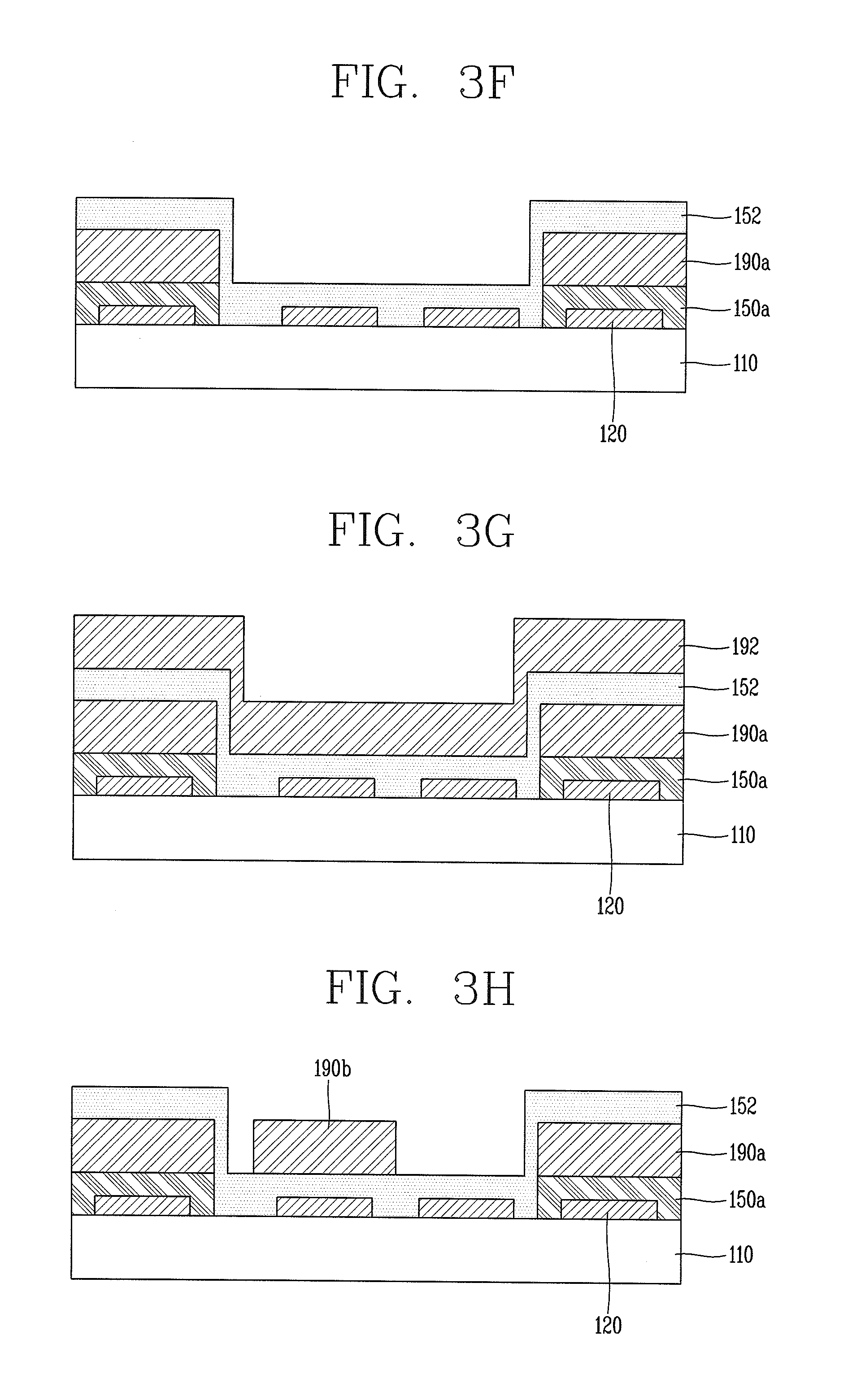
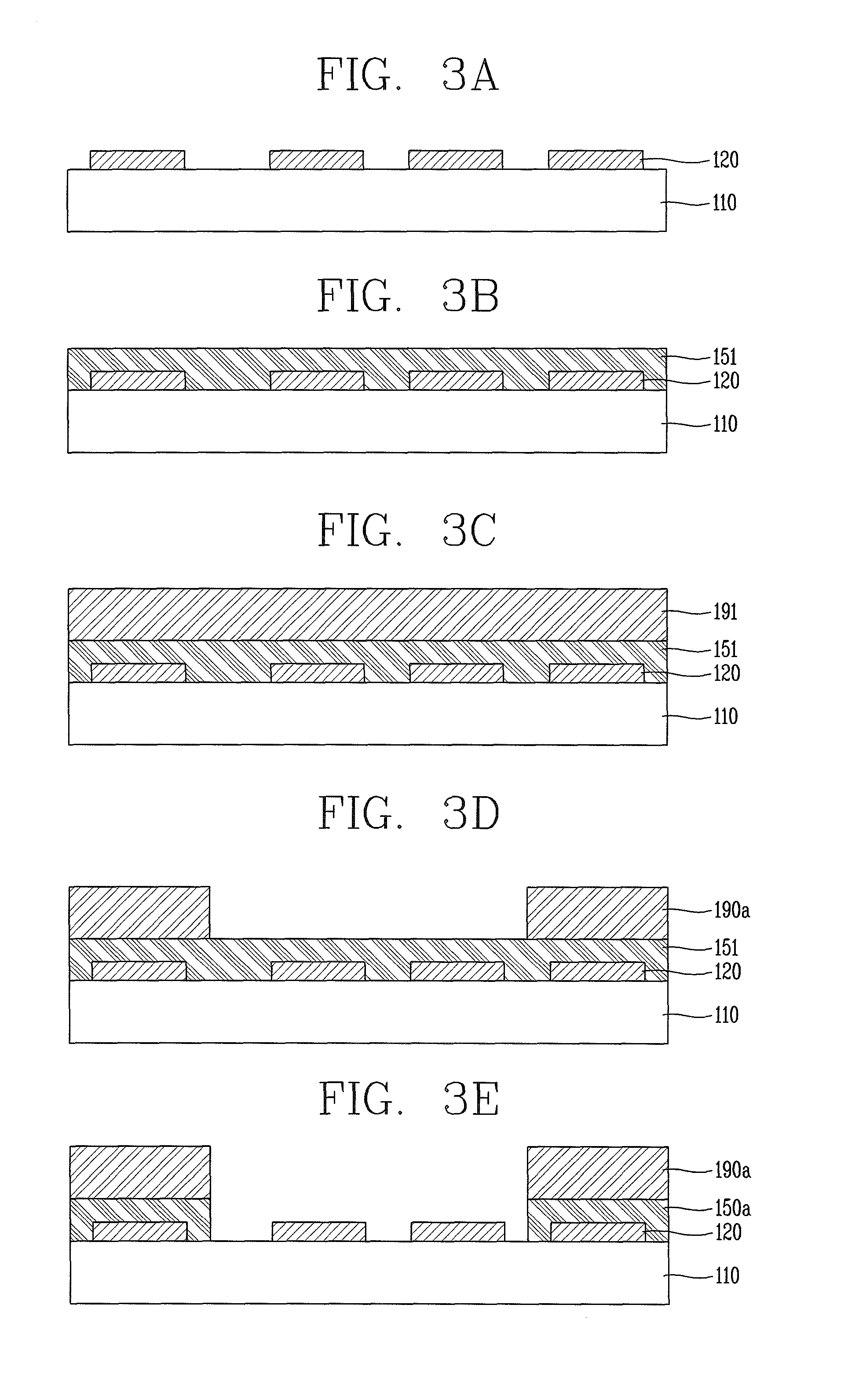
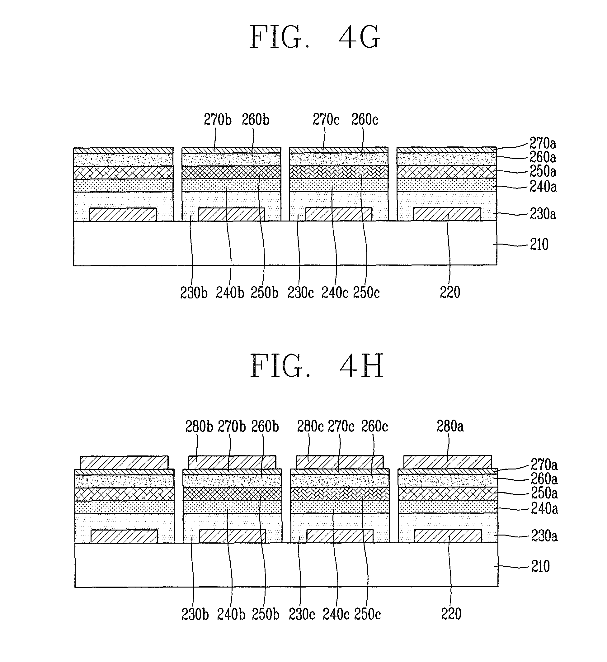
The present disclosure relates to subject matter contained in priority Korean Applications No. 10-2011-0095959, filed on Sep. 22, 2011, and No. 10-2012-0101196, filed on Sep. 12, 2012, which are herein expressly incorporated by reference in its entirety. The present invention relates to organic light emitting diode (OLED) display device and a method of fabricating the same and, more particularly, to an OLED display device in which OLED pixels are patterned through a photolithography process, and a method of fabricating the same. Recently, as interest in information displays has been on the rise and demand for the use of portable information media has been increased, lightweight flat panel displays (FPDs) substituting cathode ray tubes (CRTs) as existing display devices have been actively researched and commercialized. In the FPD fields, a liquid crystal display (LCD) device, which is lighter and consumes less power, has been spotlighted; however, since an LCD device is a light receiving device, rather than a light emitting device, having shortcomings of brightness, contrast ratio, and a viewing angle, and the like, so a development of a new display device that may overcome such drawbacks has been actively made. An LED display device, one of new display devices, is a self-luminous type device, which thus is excellent in a viewing angle and contrast ratio, is lighter and thinner because it does not need a backlight, and is advantageous in terms of power consumption, relative to an LCD device. In addition, an OLED display device can be driven by a DC and at a low voltage, has a fast response speed, and is especially advantageous in terms of fabrication costs. Unlike an LCD device or a plasma display panel (PDP), deposition and encapsulation are the whole of a fabrication process of an OLED display device, so the fabrication process is very simple. Also, when the OLED display device is driven according to an active matrix scheme in which each pixel has a thin film transistor (TFT) as a switching element, the same luminance can be obtained although a low current is applied, so, advantageously, the OLED display device consumes low power, has a high pitch (or high definition or high resolution), and can be increased in size. Hereinafter, a basic structure and operational characteristics of an OLED display device will be described in detail with reference to the accompanying drawings. As shown in Here, the organic compound layers 30 When a driving voltage is applied to the anode 18 and the cathode 28, holes which have passed through the hole transport layer 30 In the OLED display device, the pixels each having the OLED having the foregoing structure are arranged in a matrix form and selectively controlled by a data voltage and a scan voltage to display an image. The OLED display device is divided into a passive matrix type OLED display device and an active matrix type display device using TFTs as switching elements. Among them, in the active matrix type OLED display device, TFTs as active elements are selectively turned on to select pixels and emitting of pixels is maintained by a voltage maintained in a storage capacitor. Referring to Here, the switching TFT SW is turned on in response to a scan pulse from the gate line GL to conduct a current path between a source electrode and a drain electrode thereof. During an ON-time period of the switching TFT SW, a data voltage from the data line DL is applied to a gate electrode of the driving TFT DR and the storage capacitor Cst by way of the source electrode and drain electrode of the switching TFT SW. Here, the driving TFT DR controls a current flowing in the OLED according to the data voltage applied to the gate electrode thereof. The storage capacitor Cst stores a voltage between the data voltage and a low potential power source voltage VSS and uniformly maintains it during one frame period. In order to form the several organic compound layers constituting the OLED display device, a vacuum evaporation method is largely used. Here, in order to use the vacuum evaporation method, a mask (or a shadow mask) or a fine metal mask (FMM) having a plurality of openings corresponding to a plurality of pixel regions is used. However, this method has a limitation in that it is not easy to cope with a fine pitch of patterns for increasing a size of a substrate and implementing a high resolution display Namely, FMM is fabricated by forming holes as a pattern intended for deposition on a thin metal plate and stretching the same. Thus, there is a limitation in forming a pattern having a small size, making it difficult to reduce the size of an OLED. Also, when a fine metal mask is increased in size in order to increase a size of a panel, warpage occurs due to the characteristics of the fine metal mask, distort the pattern to degrade a production yield. An aspect of the present invention provides an organic light emitting diode (OLED) display device in which OLED pixels are patterned through a photolithography process, thus being available for large area patterning and obtaining a high pitch (or high definition or high resolution), and a method for fabricating the same. Another aspect of the present invention provides an OLED display device in which a light emitting layer is protected during a patterning process through photolithography, and a method for fabricating the same. Another aspect of the present invention provides an OLED display device capable of simplifying a process and increasing efficiency, and a method for fabricating the same. According to an aspect of the present invention, there is provided an organic light emitting diode (OLED) display device including: a first electrode formed on a substrate; a hole injection layer and a hole transport layer formed on the substrate with the first electrode formed thereon; a first light emitting layer formed of a first organic film on the substrate with the hole injection layer and the hole transport layer formed thereon; a second light emitting layer formed of a second organic film on the substrate with the first light emitting layer formed thereon; a third light emitting layer formed by depositing a third organic film on the entire surface of the substrate with the first light emitting layer and the second light emitting layer formed thereon; and an electron injection layer and a second electrode formed on the third light emitting layer. The third light emitting layer may be formed on upper portions of the first light emitting layer and the second light emitting layer as well as between the first light emitting layer and the second light emitting layer. According to another aspect of the present invention, there is provided an organic light emitting diode (OLED) display device including: a first electrode formed on a substrate; a first hole injection layer, a first hole transport layer, a first light emitting layer, a first electron transport layer, and a first buffer layer laminated on the substrate; a second hole injection layer, a second hole transport layer, a second light emitting layer, a second electron transport layer, and a second buffer layer laminated on the substrate; a third hole injection layer, a third hole transport layer, a third light emitting layer, a third electron transport layer, and a third buffer layer laminated on the substrate; and a second electrode formed on the first, second, and third buffer layers, wherein the first, second, and third buffer layers are made of a metal oxide. The first, second, and third buffer layers may be made of a 1-2 Group and 12-16 Group metal oxide or 3-12 Group transition metal oxide. According to another aspect of the present invention, there is provided a method for fabricating an organic light emitting diode (OLED) display device, including: forming a first electrode on a substrate; forming a first light emitting layer formed of a first organic film on the substrate through a first photo process; forming a second light emitting layer formed of a second organic film on the substrate through a second photo process; depositing a third organic film on first and second photosensitive resin patterns remaining after being used during the first and second photo processes; removing the third organic film deposited on upper portions of the first and second photosensitive resin patterns together with the first and second photosensitive resin patterns through a lift-off process to form a third light emitting layer; and forming a second electrode on the first, second, and third light emitting layers. According to another aspect of the present invention, there is provided a method for fabricating an organic light emitting diode (OLED) display device, including: (a) forming a first electrode on a substrate; (b) applying a photosensitive resin to the entire surface of the substrate to form a first photosensitive resin layer; (c) selectively exposing and developing the first photosensitive resin layer to form a first photosensitive resin pattern made of the photosensitive resin at a position other than a position where a first light emitting layer is to be formed; (d) depositing a first organic film on the first photosensitive resin pattern in a state in which the first photosensitive resin pattern remains; (e) removing the first organic film deposited on an upper portion of the first photosensitive resin pattern together with the first photosensitive resin pattern through a lift-off process to form a first light emitting layer formed of the first organic film on the substrate; (f) forming a second light emitting layer formed of a second organic film on the substrate through the same processes as (b) to (e); (g) depositing a third organic film on the entire surface of the substrate with the first light emitting layer and the second light emitting layer formed thereon; and (h) forming a second electrode on the substrate. The third light emitting layer may be formed between the first light emitting layer and the second light emitting layer. The third light emitting layer may be formed on upper portions of the first light emitting layer and the second light emitting layer as well as between the first light emitting layer and the second light emitting layer. After a hole injection layer and a hole transport layer are formed on the substrate with the first electrode formed thereon, the first light emitting layer may be formed thereon. The first light emitting layer may be formed as any one of red, green, and blue light emitting layers. The second light emitting layer may be formed as another one of the red, green, and blue light emitting layers. The third light emitting layer may be formed as the other remaining one of the red, green, and blue light emitting layers. After an electron transport layer and an electron injection layer are formed on the substrate with the first, second, and third light emitting layers formed thereon, the second electrode may be formed thereon. According to another aspect of the present invention, there is provided a method for fabricating an organic light emitting diode (OLED) display device, including: forming a first electrode on a substrate; forming a first hole injection layer, a first hole transport layer, a first light emitting layer, a first electron transport layer, and a first buffer layer in a laminated manner on the substrate through a first photo process; forming a second hole injection layer, a second hole transport layer, a second light emitting layer, a second electron transport layer, and a second buffer layer in a laminated manner on the substrate through a first photo process; forming a third hole injection layer, a third hole transport layer, a third light emitting layer, a third electron transport layer, and a third buffer layer in a laminated manner on the substrate through a first photo process; and forming a second electrode on the first, second, and third buffer layers, wherein the first, second, and third buffer layers are made of a metal oxide. According to another aspect of the present invention, there is provided a method for fabricating an organic light emitting diode (OLED) display device, including: (a) forming a first electrode on a substrate; (b) applying a photosensitive resin to the entire surface of the substrate to form a first photosensitive resin layer; (c) selectively exposing and developing the first photosensitive resin layer to form a first photosensitive resin pattern made of the photosensitive resin at a position other than a position where a first light emitting layer is to be formed; (d) depositing a thin film for a first hole injection layer, a thin film for a first hole transport layer, a first organic film, a thin film for a first electron transport layer, and a thin film for a first buffer layer in a state in which the first photosensitive resin pattern remains; (e) removing the thin film for a first hole injection layer, the thin film for a first hole transport layer, the first organic film, the thin film for a first electron transport layer, and the thin film for a first buffer layer deposited on an upper portion of the first photosensitive resin pattern together with the first photosensitive resin pattern through a lift-off process to form a first hole injection layer, a first hole transport layer, a first light emitting layer, a first electron transport layer, and a first buffer layer, which are formed of thin film for a first hole injection layer, the thin film for a first hole transport layer, the first organic film, the thin film for a first electron transport layer, and the thin film for a first buffer layer, respectively, on the substrate; (f) forming a second hole injection layer, a second hole transport layer, a second light emitting layer, a second electron transport layer, and a second buffer layer through the same processes as (b) to (e); (g) forming a third hole injection layer, a third hole transport layer, a third light emitting layer, a third electron transport layer, and a third buffer layer through the same processes as (b) to (e); and (h) forming a second electrode on the first, second, and third buffer layers, wherein the first, second, and third buffer layers are made of a metal oxide. The forming of the first hole injection layer, the first hole transport layer, the first light emitting layer, the first electron transport layer, and the first buffer layer may include: depositing a thin film for a first hole injection layer, a thin film for a first hole transport layer, a first organic film, a thin film for a first electron transport layer, and a thin film for a first buffer layer on the substrate; applying a photosensitive resin to the entire surface of the substrate with the thin film for a first hole injection layer, the thin film for a first hole transport layer, the first organic film, the thin film for a first electron transport layer, and the thin film for a first buffer layer deposited thereon to form a first photosensitive resin layer; exposing and developing the first photosensitive resin layer to from a first photosensitive resin pattern made of the photosensitive resin at a position where a first light emitting is to be formed; and selectively etching the thin film for a first hole injection layer, the thin film for a first hole transport layer, the first organic film, the thin film for a first electron transport layer, and the thin film for a first buffer layer by using the first photosensitive resin pattern as a mask to form the first hole injection layer, the first hole transport layer, the first light emitting layer, the first electron transport layer, and the first buffer layer, which are formed of thin film for a first hole injection layer, the thin film for a first hole transport layer, the first organic film, the thin film for a first electron transport layer, and the thin film for a first buffer layer, respectively, on the substrate. The forming of the second hole injection layer, the second hole transport layer, the second light emitting layer, the second electron transport layer, and the second buffer layer may include: depositing a thin film for a second hole injection layer, a thin film for a second hole transport layer, a second organic film, a thin film for a second electron transport layer, and a thin film for a second buffer layer on the substrate; applying a photosensitive resin to the entire surface of the substrate with the thin film for a second hole injection layer, the thin film for a second hole transport layer, the second organic film, the thin film for a second electron transport layer, and the thin film for a second buffer layer deposited thereon to form a second photosensitive resin layer; exposing and developing the second photosensitive resin layer to from a second photosensitive resin pattern made of the photosensitive resin at a position where a second light emitting is to be formed; and selectively etching the thin film for a second hole injection layer, the thin film for a second hole transport layer, the second organic film, the thin film for a second electron transport layer, and the thin film for a second buffer layer by using the second photosensitive resin pattern as a mask to form the second hole injection layer, the second hole transport layer, the second light emitting layer, the second electron transport layer, and the second buffer layer, which are formed of thin film for a second hole injection layer, the thin film for a second hole transport layer, the second organic film, the thin film for a second electron transport layer, and the thin film for a second buffer layer, respectively, on the substrate. The forming of the third hole injection layer, the third hole transport layer, the third light emitting layer, the third electron transport layer, and the third buffer layer may include: depositing a thin film for a third hole injection layer, a thin film for a third hole transport layer, a third organic film, a thin film for a third electron transport layer, and a thin film for a third buffer layer on the substrate; applying a photosensitive resin to the entire surface of the substrate with the thin film for a third hole injection layer, the thin film for a third hole transport layer, the third organic film, the thin film for a third electron transport layer, and the thin film for a third buffer layer deposited thereon to form a third photosensitive resin layer; exposing and developing the third photosensitive resin layer to from a third photosensitive resin pattern made of the photosensitive resin at a position where a third light emitting is to be formed; and selectively etching the thin film for a third hole injection layer, the thin film for a third hole transport layer, the third organic film, the thin film for a third electron transport layer, and the thin film for a third buffer layer by using the third photosensitive resin pattern as a mask to form the third hole injection layer, the third hole transport layer, the third light emitting layer, the third electron transport layer, and the third buffer layer, which are formed of thin film for a third hole injection layer, the thin film for a third hole transport layer, the third organic film, the thin film for a third electron transport layer, and the thin film for a third buffer layer, respectively, on the substrate. The first, second, and third buffer layers may be made of a 1-2 Group and 12-16 Group metal oxide or 3-12 Group transition metal oxide. According to another aspect of the present invention, there is provided a method for fabricating an organic light emitting diode (OLED) display device, including: (a) forming a fourth electrode on a substrate; (b) forming a first organic film and a first conductive film on the substrate with the fourth electrode formed thereon; (c) applying a photosensitive resin to the entire surface of the substrate with the first conductive film formed thereon to form a first photosensitive resin layer; (d) selectively exposing and developing the first photosensitive resin layer to form a first photosensitive resin pattern made of the photosensitive resin at a position at which a first light emitting is to be formed; (e) selectively removing the first conductive film by using the first photosensitive resin pattern as a mask to form a first electrode; (f) removing the first photosensitive resin pattern and selectively removing the underlying exposed first organic film by using the first electrode as a mask to form a first light emitting layer formed of the first organic film; (g) forming a second light emitting layer and a second electrode on the substrate through the same processes as (b) to (f); and (h) forming a third light emitting layer and a third electrode on the substrate through the same processes as (b) to (f). After a thin film for a first hole injection layer and a thin film for a first hole transport layer are formed on the substrate with the fourth electrode formed thereon, the first organic film may be formed, and after a thin film for a first electron transport layer is formed, the first conductive film may be formed. As described above, in the case of the OLED display device and the method for fabricating the same according to embodiments of the present invention, since OLED pixels are patterned through a photolithography process, a large area patterning can be performed and a fine pitch can be obtained, and an organic compound layer can be protected by forming a buffer layer of a metal oxide on an upper portion of the organic compound layer or patterning the organic compound layer by using a cathode as a mask, improving device efficiency. Here, patterning through a photolithography process can be performed through a solution process, and since a light emitting layer is protected during a patterning process, a driving voltage and power consumption of the device can be reduced and efficiency can be enhanced. Also, in the case of the OLED display device and the method for fabricating the same according to embodiments of the present invention, among red, green, and blue pixels, two pixels are patterned through a lift-off process and the other remaining one is deposited to be formed without patterning, the process can be simplified and efficiency can be increased. The foregoing and other objects, features, aspects and advantages of the present invention will become more apparent from the following detailed description of the present invention when taken in conjunction with the accompanying drawings. Hereinafter, an organic light emitting diode (OLED) display device and a method for fabricating the same according to embodiments of the present invention will be described in detail with reference to the accompanying drawings such that they can be easily implemented by a person skilled in the art to which the present invention pertains. The present invention may be implemented in various forms without being limited to the embodiments described herein. Patterning of a large area with respect to an organic compound layer of an OLED display device cannot be handled by an existing method using a fine metal mask due to sagging of a substrate and a mask, so various large area patterning methods have been researched. Among them, the present invention proposes a patterning method through a photolithography process (referred to as a ‘photo process’, hereinafter), and here, the photo process is advantageous in that it is available for large area patterning and obtaining a fine pitch, and available for an application of a solution process. Here, a method for fabricating an OLED with respect to a pixel including 2T1C (two transistors and one capacitor) is taken as an example for the description purpose, but the present invention is not limited thereto. First, although not shown, in an OLED display device according to a first embodiment of the present invention, a gate line including a first gate electrode and a storage electrode including a second gate electrode may be formed on a substrate 110 made of an insulating material such as transparent glass, plastic, or the like. A gate insulating layer made of silicon nitride (SiNx), silicon oxide (SiO2), or the like, may be formed on the gate line including the first gate electrode and the storage electrode including the second electrode. A first active layer and a second active layer, made of semiconductor, may be formed on the gate insulating layer. The first active layer and the second active layer may be positioned on the first gate electrode and the second gate electrode, respectively. A data line, a driving voltage line, a first source/drain electrode, and a second source/drain electrode may be formed on an upper portion of the first active layer and the second active layer. A predetermined passivation layer may be formed on the substrate 110 on which the data line, the driving voltage line, the first source/drain electrode, and the second source/drain electrode have been formed. As shown in The pixel electrode 120 as an anode may be electrically connected to the second drain electrode through a second contact hole, and the connecting electrode may electrically connect the first drain electrode and the second gate electrode through a first contact hole and a third contact hole. A partition (not shown) may be formed on the substrate 110 with the pixel electrode 120 formed thereon. Here, the partition may encompass the edges of the pixel electrode 120, like a bank, to define an opening, and may be made of an organic insulating material or an inorganic insulating material. An organic compound layer may be formed on the substrate 110. Here, the organic compound layer may have a multilayer structure including an auxiliary layer in order to enhance luminous efficiency of a light emitting layer that emits light, besides the light emitting layer. The auxiliary layer may include an electron transport layer and a hole transport layer for balancing electrons and holes and an electron injection layer and a hole injection layer for strengthening injection of electrons and holes. The organic compound layer may be formed through a photo process and a lift-off process, and to this end, as shown in Here, the first organic film 151 may be deposited after the hole injection layer and the hole transport layer are formed on the substrate 110, and here, the first organic film 151 may be deposited to form a red, green, or blue light emitting layer. The hole injection layer may facilitate injection of holes from the pixel electrode 120, and the hole transport layer serves to allow holes to be transported to the light emitting layer. Thereafter, as shown in Ultraviolet rays are selectively irradiated (exposure) to the first photosensitive resin layer 191 through a certain mask (not shown). Thereafter, when the first photosensitive resin layer 191 exposed through the mask is developed, a first photosensitive resin pattern 190 A photosensitive resin developing solution is used for the developing operation, and here, any developing solution may be used as long as it does not dissolve a material of the light emitting layer. For example, a generally used organic alkali-based developing solution may be used, or an inorganic alkali-based developing solution or an aqueous solution capable of developing resist may be used. Thereafter, as shown in Here, for example, the first light emitting layer 150 Thereafter, as shown in A follow-up process is substantially the same as the first photo process for forming the first light emitting layer 150 Thereafter, UV rays are selectively irradiated to the second photosensitive resin layer 192 through a certain mask (not shown). Thereafter, when the second photosensitive resin layer 192 exposed through the mask is developed, a second photosensitive resin pattern 190 Thereafter, as shown in Here, for example, the second emitting layer 150 Thereafter, as shown in As a follow-up process, a lift-off process, rather than a photo process such as the first and second photo processes as described above, is used. Namely, as shown in As a result, a third light emitting layer 150 Here, for example, when the first light emitting layer 150 Thereafter, as shown in Here, the foregoing common electrode 180 may be formed after the electron transport layer and the electron injection layer are formed on the substrate 110. The electron injection layer facilitates injection of electrons from the common electrode 180, and the electron transport layer serves to allow electrons to move to the light emitting layers 150 In this manner, in the case of the first embodiment of the present invention, since a single photo process, namely, a single photosensitive resin coating, exposing, developing, and etching process (a total of four processes) may be omitted, and thus, the process can be simplified. Also, since OLED pixels are patterned through the photo process, large patterning can be performed and high pitch can be obtained, and in addition, a solution process can be performed. In the OLED display device configured as described above, the first gate electrode connected to the gate line and the first source electrode and the first drain electrode connected to the data line may constitute a first switching thin film transistor (TFT) along with the first active layer. Also, the second gate electrode connected to the first drain electrode, the second source electrode connected to the driving voltage line, and the second drain electrode connected to the pixel electrode 120 may constitute a driving TFT along with the second active layer. Also, the pixel electrode 120, the light emitting layers 150 However, as mentioned above, when the organic compound layer is patterned through the photo process, the organic compound layer may be likely to be damaged by a photosensitive resin, a developing solution, and a strip solution, which may result in a degradation of efficiency and a life span. Thus, in case of second and third embodiments of the present invention, a buffer layer made of metal oxide is formed on an upper portion of the organic compound layer to protect the organic compound layer against a photo process. This will be described in detail with reference to the accompanying drawings. Although not shown, as mentioned above, in an OLED display device according to a second embodiment of the present invention, a gate line including a first gate electrode and a storage electrode including a second gate electrode may be formed on a substrate 210 made of an insulating material such as transparent glass, plastic, or the like. A gate insulating layer made of silicon nitride (SiNx), silicon oxide (SiO2), or the like, may be formed on the gate line including the first gate electrode and the storage electrode including the second electrode. A first active layer and a second active layer, made of semiconductor, may be formed on the gate insulating layer. The first active layer and the second active layer may be positioned on the first gate electrode and the second gate electrode, respectively. A data line, a driving voltage line, a first source/drain electrode, and a second source/drain electrode may be formed on an upper portion of the first active layer and the second active layer. A predetermined passivation layer may be formed on the substrate 210 on which the data line, the driving voltage line, the first source/drain electrode, and the second source/drain electrode have been formed. As shown in The pixel electrode 220 as an anode may be electrically connected to the second drain electrode through a second contact hole, and the connecting electrode may electrically connect the first drain electrode and the second gate electrode through a first contact hole and a third contact hole. A partition (not shown) may be formed on the substrate 210 with the pixel electrode 220 formed thereon. Here, the partition may encompass the edges of the pixel electrode 220, like a bank, to define an opening, and may be made of an organic insulating material or an inorganic insulating material. An organic compound layer may be formed on the substrate 210. Here, the organic compound layer may have a multilayer structure including an auxiliary layer in order to enhance luminous efficiency of a light emitting layer that emits light, besides the light emitting layer. The auxiliary layer may include an electron transport layer and a hole transport layer for balancing electrons and holes and an electron injection layer and a hole injection layer for strengthening injection of electrons and holes. Namely, as shown in Here, the thin film 261 for a first electron transport layer may include a thin film for a first electron injection layer, and the thin film 271 for a first buffer layer may be made of a 1-2 Group and 12-16 Group metal oxide or 3-12 Group transition metal oxide. Thereafter, as shown in UV light is selectively irradiated to the first photosensitive resin layer 291 through a certain mask (not shown). Thereafter, when the first photosensitive resin layer 291 exposed through the mask is developed, a first photosensitive resin pattern 290 Thereafter, as shown in In this manner, since the first buffer layer 270 Also, since the first buffer layer 270 Here, for example, the first light emitting layer 250 Thereafter, as shown in Thereafter, as shown in Here, for example, the second light emitting layer 250 Thereafter, as shown in Here, for example, when the first light emitting layer 250 Thereafter, as shown in In the OLED display device configured as described above, the first gate electrode connected to the gate line and the first source electrode and the first drain electrode connected to the data line may constitute a first switching thin film transistor (TFT) along with the first active layer. Also, the second gate electrode connected to the first drain electrode, the second source electrode connected to the driving voltage line, and the second drain electrode connected to the pixel electrode 220 may constitute a driving TFT along with the second active layer. Also, the pixel electrode 220, the light emitting layers 250 Although not shown, as mentioned above, in an OLED display device according to a third embodiment of the present invention, a gate line including a first gate electrode and a storage electrode including a second gate electrode may be formed on a substrate 310 made of an insulating material such as transparent glass, plastic, or the like. A gate insulating layer made of silicon nitride (SiNx), silicon oxide (SiO2), or the like, may be formed on the gate line including the first gate electrode and the storage electrode including the second electrode. A first active layer and a second active layer, made of semiconductor, may be formed on the gate insulating layer. The first active layer and the second active layer may be positioned on the first gate electrode and the second gate electrode, respectively. A data line, a driving voltage line, a first source/drain electrode, and a second source/drain electrode may be formed on an upper portion of the first active layer and the second active layer. A predetermined passivation layer may be formed on the substrate 310 on which the data line, the driving voltage line, the first source/drain electrode, and the second source/drain electrode have been formed. As shown in The pixel electrode 320 as an anode may be electrically connected to the second drain electrode through a second contact hole, and the connecting electrode may electrically connect the first drain electrode and the second gate electrode through a first contact hole and a third contact hole. A partition (not shown) may be formed on the substrate 310 with the pixel electrode 320 formed thereon. Here, the partition may encompass the edges of the pixel electrode 320, like a bank, to define an opening, and may be made of an organic insulating material or an inorganic insulating material. An organic compound layer may be formed on the substrate 310. Here, in the case of the third embodiment of the present invention, unlike the second embodiment of the present invention as described above, the organic compound layer is formed through a lift-off process. Namely, as shown in UV light is selectively irradiated to the first photosensitive resin layer 391 through a certain mask (not shown). Thereafter, when the first photosensitive resin layer 391 exposed through the mask is developed, a first photosensitive resin pattern 390 Thereafter, as shown in Here, the thin film 361 for a first electron transport layer may include a thin film for a first electron injection layer, and the thin film 371 for a first buffer layer may be made of a 1-2 Group and 12-16 Group metal oxide or 3-12 Group transition metal oxide. Thereafter, as shown in As a result, a first hole injection layer 330, a first hole transport layer 340 Here, for example, the first light emitting layer 350 Thereafter, as shown in Here, for example, the second light emitting layer 350 Thereafter, as shown in Here, for example, when the first light emitting layer 350 Thereafter, as shown in In the OLED display device configured as described above, the first gate electrode connected to the gate line and the first source electrode and the first drain electrode connected to the data line may constitute a first switching thin film transistor (TFT) along with the first active layer. Also, the second gate electrode connected to the first drain electrode, the second source electrode connected to the driving voltage line, and the second drain electrode connected to the pixel electrode 320 may constitute a driving TFT along with the second active layer. Also, the pixel electrode 320, the light emitting layers 350 Meanwhile, organic substances whose efficiency and life span are rapidly reduced after the photo process is performed are included in the organic compound layer. For example, in the case of a blue light emitting layer, device efficiency tends to be reduced from about 5.3 cd/A to 2.0 cd/A after a photo process based on 1000 nit. For example, referring to Thus, in case of a fourth embodiment of the present invention, two pixels among red, green, and blue pixels are patterned through a lift-off process, while the other remaining one pixel is deposited to be formed without patterning, to thus simplify the process and increase efficiency. This will be described in detail with reference to the accompanying drawings. Although not shown, as mentioned above, in an OLED display device according to a third embodiment of the present invention, a gate line including a first gate electrode and a storage electrode including a second gate electrode may be formed on a substrate 410 made of an insulating material such as transparent glass, plastic, or the like. A gate insulating layer made of silicon nitride (SiNx), silicon oxide (SiO2), or the like, may be formed on the gate line including the first gate electrode and the storage electrode including the second electrode. A first active layer and a second active layer, made of semiconductor, may be formed on the gate insulating layer. The first active layer and the second active layer may be positioned on the first gate electrode and the second gate electrode, respectively. A data line, a driving voltage line, a first source/drain electrode, and a second source/drain electrode may be formed on an upper portion of the first active layer and the second active layer. A predetermined passivation layer may be formed on the substrate 410 on which the data line, the driving voltage line, the first source/drain electrode, and the second source/drain electrode have been formed. As shown in The pixel electrode 420 as an anode may be electrically connected to the second drain electrode through a second contact hole, and the connecting electrode may electrically connect the first drain electrode and the second gate electrode through a first contact hole and a third contact hole. A partition (not shown) may be formed on the substrate 410 with the pixel electrode 420 formed thereon. Here, the partition may encompass the edges of the pixel electrode 420, like a bank, to define an opening, and may be made of an organic insulating material or an inorganic insulating material. An organic compound layer may be formed on the substrate 410. Here, in the case of the fourth embodiment of the present invention, two pixels among red, green, and blue pixels are patterned through a lift-off process, while the other remaining one pixel is deposited to be formed without patterning, to form the organic compound layer. Namely, as shown in As mentioned above, the hole injection layer 430 may facilitate injection of holes from the pixel electrode 420, and the hole transport layer 440 serves to allow holes to be transported to the light emitting layer. Thereafter, as shown in UV light is selectively irradiated to the first photosensitive resin layer 491 through a certain mask (not shown). Thereafter, when the first photosensitive resin layer 491 exposed through the mask is developed, a first photosensitive resin pattern 490 Thereafter, as shown in Thereafter, as shown in As a result, a first light emitting layer 450 Here, for example, the first light emitting layer 450 As shown in And then, UV light is selectively irradiated to the second photosensitive resin layer 492 through a certain mask (not shown). Thereafter, when the second photosensitive resin layer 492 exposed through the mask is developed, a second photosensitive resin pattern 490 Thereafter, as shown in Thereafter, as shown in As a result, a second light emitting layer 450 Here, for example, the second emitting layer 450 As shown in Here, the third light emitting layer 450 Here, for example, when the first light emitting layer 450 Thereafter, as shown in Here, the electron transport layer 460 may include an electron injection layer. The common electrode 480, which receives a common voltage, may be made of a reflective conductive material including calcium (Ca), barium (Ba), magnesium (Mg), aluminum (Al), silver (Ag), or the like, or a transparent conductive material. In the OLED display device configured as described above, the first gate electrode connected to the gate line and the first source electrode and the first drain electrode connected to the data line may constitute a first switching thin film transistor (TFT) along with the first active layer. Also, the second gate electrode connected to the first drain electrode, the second source electrode connected to the driving voltage line, and the second drain electrode connected to the pixel electrode 220 may constitute a driving TFT along with the second active layer. Also, the pixel electrode 420, the light emitting layers 450 In this manner, for example, when the first light emitting layer 450 However, the present invention is not limited thereto. Namely, the green light emitting layer and the blue light emitting layer may be patterned through a lift-off process while the red light emitting layer may be commonly formed on the entire surface, or the red light emitting layer and the blue light emitting layer may be patterned through a lift-off process while the green light emitting layer may be commonly formed on the entire surface. Here, the first light emitting layer 450 Here, the second light emitting layer 450 Meanwhile, damage to an organic compound layer due to a photo process may be prevented according to other methods than those of the second and third embodiments of the present invention. Namely, an organic compound layer may be protected against a photo process by patterning the organic compound layer by using a cathode as a mask. This will be described in detail according to fifth and sixth embodiments of the present invention. Although not shown, in an OLED display device according to a fifth embodiment of the present invention, a gate line including a first gate electrode and a storage electrode including a second gate electrode may be formed on a substrate 510 made of an insulating material such as transparent glass, plastic, or the like. A gate insulating layer made of silicon nitride (SiNx), silicon oxide (SiO2), or the like, may be formed on the gate line including the first gate electrode and the storage electrode including the second electrode. A first active layer and a second active layer, made of semiconductor, may be formed on the gate insulating layer. The first active layer and the second active layer may be positioned on the first gate electrode and the second gate electrode, respectively. A data line, a driving voltage line, a first source/drain electrode, and a second source/drain electrode may be formed on an upper portion of the first active layer and the second active layer. A predetermined passivation layer may be formed on the substrate 510 on which the data line, the driving voltage line, the first source/drain electrode, and the second source/drain electrode have been formed. As shown in The pixel electrode 520 as an anode may be electrically connected to the second drain electrode through a second contact hole, and the connecting electrode may electrically connect the first drain electrode and the second gate electrode through a first contact hole and a third contact hole. A partition (not shown) may be formed on the substrate 510 with the pixel electrode 520 formed thereon. Here, the partition may encompass the edges of the pixel electrode 520, like a bank, to define an opening, and may be made of an organic insulating material or an inorganic insulating material. An organic compound layer may be formed on the substrate 510. Here, the organic compound layer may have a multilayer structure including an auxiliary layer in order to enhance luminous efficiency of a light emitting layer that emits light, besides the light emitting layer. The auxiliary layer may include an electron transport layer and a hole transport layer for balancing electrons and holes and an electron injection layer and a hole injection layer for strengthening injection of electrons and holes. Namely, as shown in Here, the thin film 561 for a first electron transport layer may include a thin film for a first electron injection layer, and the first conductive film 581 may be made of a reflective conductive material including calcium (Ca), barium (Ba), magnesium (Mg), aluminum (Al), silver (Ag), or the like, or a transparent conductive material such as ITO, IZO, or the like. Thereafter, as shown in Thereafter, UV rays are selectively irradiated to the first photosensitive resin layer 591 through a certain mask M. Thereafter, when the first photosensitive resin layer 591 exposed through the mask M is developed, a first photosensitive resin pattern 590 Here, the first photosensitive resin pattern 590 Thereafter, as shown in Here, the etching may include wet etching as well as dry etching. Thereafter, as shown in In this manner, since the first common electrode 580 Here, the first light emitting layer 550 Next, as shown in Here, the second conductive film may be made of a reflective conductive material including calcium (Ca), barium (Ba), magnesium (Mg), aluminum (Al), silver (Ag), or the like, or a transparent conductive material such as ITO, IZO, or the like. Here, for example, the second light emitting layer 550 Thereafter, as shown in Here, the third conductive film may be made of a reflective conductive material including calcium (Ca), barium (Ba), magnesium (Mg), aluminum (Al), silver (Ag), or the like, or a transparent conductive material such as ITO, IZO, or the like. Here, for example, when the first light emitting layer 550 In the OLED display device configured as described above, the first gate electrode connected to the gate line and the first source electrode and the first drain electrode connected to the data line may constitute a first switching thin film transistor (TFT) along with the first active layer. Also, the second gate electrode connected to the first drain electrode, the second source electrode connected to the driving voltage line, and the second drain electrode connected to the pixel electrode 520 may constitute a driving TFT along with the second active layer. Also, the pixel electrode 520, the light emitting layers 550 Here, in the OLED display device according to the fifth embodiment of the present invention, the organic compound layer and the common electrodes are patterned at intervals between neighboring pixels, but the present invention is not limited thereto. In this case, the OLED display device according to a sixth embodiment of the present invention has the same configuration as that of the fifth embodiment of the present invention, except that the organic compound layer and the common electrodes are patterned to be in contact with each other between neighboring pixels. Although not shown, in an OLED display device according to the sixth embodiment of the present invention, a gate line including a first gate electrode and a storage electrode including a second gate electrode may be formed on a substrate 610 made of an insulating material such as transparent glass, plastic, or the like. A gate insulating layer made of silicon nitride (SiNx), silicon oxide (SiO2), or the like, may be formed on the gate line including the first gate electrode and the storage electrode including the second electrode. A first active layer and a second active layer, made of semiconductor, may be formed on the gate insulating layer. The first active layer and the second active layer may be positioned on the first gate electrode and the second gate electrode, respectively. A data line, a driving voltage line, a first source/drain electrode, and a second source/drain electrode may be formed on an upper portion of the first active layer and the second active layer. A predetermined passivation layer may be formed on the substrate 610 on which the data line, the driving voltage line, the first source/drain electrode, and the second source/drain electrode have been formed. As shown in The pixel electrode 620 as an anode may be electrically connected to the second drain electrode through a second contact hole, and the connecting electrode may electrically connect the first drain electrode and the second gate electrode through a first contact hole and a third contact hole. A partition (not shown) may be formed on the substrate 610 with the pixel electrode 620 formed thereon. Here, the partition may encompass the edges of the pixel electrode 620, like a bank, to define an opening, and may be made of an organic insulating material or an inorganic insulating material. An organic compound layer may be formed on the substrate 610. Here, the organic compound layer may have a multilayer structure including an auxiliary layer in order to enhance luminous efficiency of a light emitting layer that emits light, besides the light emitting layer. The auxiliary layer may include an electron transport layer and a hole transport layer for balancing electrons and holes and an electron injection layer and a hole injection layer for strengthening injection of electrons and holes. Namely, as shown in Here, the thin film 661 for a first electron transport layer may include a thin film for a first electron injection layer, and the first conductive film 681 may be made of a reflective conductive material including calcium (Ca), barium (Ba), magnesium (Mg), aluminum (Al), silver (Ag), or the like, or a transparent conductive material such as ITO, IZO, or the like. Thereafter, as shown in Thereafter, UV rays are selectively irradiated to the first photosensitive resin layer 691 through a certain mask M. Thereafter, when the first photosensitive resin layer 691 exposed through the mask M is developed, a first photosensitive resin pattern 690 Here, the first photosensitive resin pattern 690 Thereafter, as shown in Here, the etching may include wet etching as well as dry etching. Thereafter, as shown in In this manner, since the first common electrode 680 Here, the first light emitting layer 650 Next, as shown in Here, the second conductive film may be made of a reflective conductive material including calcium (Ca), barium (Ba), magnesium (Mg), aluminum (Al), silver (Ag), or the like, or a transparent conductive material such as ITO, IZO, or the like. Here, for example, the second light emitting layer 650 Thereafter, as shown in Here, the third conductive film may be made of a reflective conductive material including calcium (Ca), barium (Ba), magnesium (Mg), aluminum (Al), silver (Ag), or the like, or a transparent conductive material such as ITO, IZO, or the like. Here, for example, when the first light emitting layer 650 In the OLED display device configured as described above, the first gate electrode connected to the gate line and the first source electrode and the first drain electrode connected to the data line may constitute a first switching thin film transistor (TFT) along with the first active layer. Also, the second gate electrode connected to the first drain electrode, the second source electrode connected to the driving voltage line, and the second drain electrode connected to the pixel electrode 620 may constitute a driving TFT along with the second active layer. Also, the pixel electrode 620, the light emitting layers 650 As the present invention may be embodied in several forms without departing from the characteristics thereof, it should also be understood that the above-described embodiments are not limited by any of the details of the foregoing description, unless otherwise specified, but rather should be construed broadly within its scope as defined in the appended claims, and therefore all changes and modifications that fall within the metes and bounds of the claims, or equivalents of such metes and bounds are therefore intended to be embraced by the appended claims.FIELD OF THE INVENTION
DESCRIPTION OF THE RELATED ART
SUMMARY OF THE INVENTION
BRIEF DESCRIPTION OF THE DRAWINGS
DETAILED DESCRIPTION OF THE INVENTION