патент
№ US 0008257319
МПК A61M5/00

Drug delivery device inner housing having helical spline

Авторы:
David Aubrey Plumptre
Правообладатель:
Все (5)
Номер заявки
12788780
Дата подачи заявки
27.05.2010
Опубликовано
04.09.2012
Страна
US
Дата приоритета
15.12.2025
Номер приоритета
Страна приоритета
Как управлять
интеллектуальной собственностью
Реферат

A dose setting mechanism for a drug delivery device is disclosed. The mechanism comprises an outer housing and an inner housing having an external groove and a helical spline. The inner housing helical spline guides a driver to dispense a set dose. A dial sleeve is disposed between the outer and inner housing and is rotatably engaged with the inner housing. When a dose is set, the dial sleeve is rotated and translates away from both the outer housing and the inner housing.

Формула изобретения

1. A dose setting mechanism for a drug delivery device, said mechanism comprising:

a driver;

an outer housing;

an inner housing comprising an external surface having an external groove and an internal surface having an internal helical spline, said housing configured to guide said driver to dispense a dose set by said dose setting mechanism;

a dial sleeve disposed between said outer housing and said inner housing, said dial sleeve rotatably engaged with said external groove of said inner housing;

such that when a dose is set by said dose setting mechanism, said dial sleeve is rotated with respect to both said outer housing and said inner housing and said dial sleeve is translated away from both said outer housing and said inner housing;

a dose limiter, said dose limiter splined to said helical spline of said inner housing; and

wherein said dose limiter comprises an internal helical groove that is operatively coupled to a helical groove provided on said driver.

2. The invention of claim 1 wherein said internal helical spline guides said driver in a helical motion during dose dispense.

3. The invention of claim 1 wherein said driver comprises a first driver portion and a second driver portion.

4. The invention of claim 3 wherein said first or said second driver portion comprise a plurality of driver components.

5. The invention of claim 1 further comprising a clicker.

6. The invention of claim 5 wherein said clicker guides said driver in a helical motion.

7. The invention of claim 6 wherein said clicker comprises at least one spline configured for engaging said helical spline of said inner housing.

8. The invention of claim 6 wherein said clicker comprises a first set of clicker teeth that are rotationally engaged with a clutch.

9. The invention of claim 6 wherein said clicker is axially secured to said driver.

10. The invention of claim 6 wherein said clicker rotates during a dose setting step.

11. The invention of claim 6 wherein said clicker rotates during a dosing step.

12. The invention of claim 6 wherein said clicker rotates during a resetting step.

13. The invention of claim 5 wherein said clicker resides within said inner housing.

14. The invention of claim 5 wherein said clicker comprises a first clicker portion and a second clicker portion.

15. The invention of claim 14 wherein said first clicker portion comprises a first set of clicker teeth that are configured for engaging a second set of clicker teeth of said second clicker portion.

16. The invention of claim 14 wherein said first clicker portion comprises said at least one spline configured to engage said helical spline of said inner housing.

17. The invention of claim 1 wherein said dose setting mechanism comprises a resettable dose setting mechanism.

18. The invention of claim 1 wherein said dose setting mechanism is coupled to a cartridge holder.

19. The invention of claim 18 wherein said dose setting mechanism is permanently coupled to said cartridge holder.

20. The invention of claim 1 further comprising a spindle, said spindle operatively coupled to said driver

such that when said inner housing guides said driver to dispense said dose set by said dose setting mechanism,

said driver pushes said spindle to act on a cartridge bung while said spindle translates in a distal direction to expel said dose from said cartridge.

21. The invention of claim 20 wherein said spindle comprises a first and a second helical groove.

22. The invention of claim 20 wherein said spindle dose not rotate during a dose setting step.

23. The invention of claim 20 wherein said spindle rotates during a dosing step.

24. The invention of claim 20 wherein said spindle rotates during a resetting step.

Описание

BACKGROUND

[0001]

1. Field of the Present Patent Application

[0002]

The present application is generally directed to dose setting mechanisms for drug delivery devices. More particularly, the present application is generally directed to a dose setting mechanism comprising an inner housing having a helical spline and used for drug delivery devices. Aspects of the invention may be equally applicable in other scenarios as well.

[0003]

2. Background

[0004]

Pen type drug delivery devices have application where regular injection by persons without formal medical training occurs. This may be increasingly common among patients having diabetes where self-treatment enables such patients to conduct effective management of their disease.

[0005]

There are basically two types of pen type delivery devices: resettable devices (i.e., reusable) and non-resettable (i.e., disposable). These types of pen delivery devices (so named because they often resemble an enlarged fountain pen) are generally comprised of three primary elements: (i) a cartridge section that includes a cartridge often contained within a housing or holder; (ii) a needle assembly connected to one end of the cartridge section; and (iii) a dosing section connected to the other end of the cartridge section. A cartridge (often referred to as an ampoule) typically includes a reservoir that is filled with a medication (e.g., insulin), a movable rubber type bung or stopper located at one end of the cartridge reservoir, and a top having a pierceable rubber seal located at the other, often necked-down, end. A crimped annular metal band is typically used to hold the rubber seal in place. While the cartridge housing may be typically made of plastic, cartridge reservoirs have historically been made of glass.

[0006]

The needle assembly is typically a replaceable double-ended needle assembly. Before an injection, a replaceable double-ended needle assembly is attached to one end of the cartridge assembly, a dose is set, and then a dose is administered. Such removable needle assemblies may be threaded onto, or pushed (i.e., snapped) onto the pierceable seal end of the cartridge assembly.

[0007]

The dosing section or dose setting mechanism is typically the portion of the pen device that is used to set a dose. During an injection, a spindle contained within the dose setting mechanism presses against the bung or stopper of the cartridge. This force causes the medication contained within the cartridge to be injected through an attached needle assembly. After an injection, as generally recommended by most drug delivery device and/or needle assembly manufacturers and suppliers, the needle assembly is removed and discarded.

[0008]

Different types of pen delivery devices, including disposable (i.e., non-resettable) and reusable (i.e., resettable) varieties, have evolved over the years. For example, disposable pen delivery devices are supplied as self-contained devices. Such self-contained devices do not have removable pre-filled cartridges. Rather, the pre-filled cartridges may not be removed and replaced from these devices without destroying the device itself. Consequently, such disposable devices need not have a resettable dose setting mechanism.

[0009]

In contrast to typical disposable pen type devices, typical reusable pen delivery devices feature essentially two main reusable components: a cartridge holder and a dose setting mechanism. After a cartridge is inserted into the cartridge holder, this cartridge holder is attached to the dose setting mechanism. The user uses the dose setting mechanism to select a dose. Before the user injects the set dose, a replaceable double-ended needle assembly is attached to the cartridge housing. This needle assembly may be threaded onto or pushed onto (i.e., snapped onto) a distal end of the cartridge housing. In this manner, a double ended needle mounted on the needle assembly penetrated through a pierceable seal at a distal end of the cartridge. After an injection, the needle assembly is removed and discarded. After the insulin in the cartridge has been exhausted, the user detaches the cartridge housing from the dose setting mechanism. The user can then remove the empty cartridge from the cartridge retainer and replace the empty cartridge with a new (filled) cartridge.

[0010]

Aside from replacing the empty cartridge with a new cartridge, the user must somehow prepare the dose setting mechanism for a new cartridge: the dose setting mechanism must be reset to a starting or initial position. For example, in certain typical resettable devices, in order to reset the dose setting mechanism, the spindle that advances in a distal direction during dose injection must somehow be retracted back into the dose setting mechanism. Certain known methods of retracting this spindle back into the dose setting mechanism to a restart or an initial position are known in the art. As just one example, certain known reset mechanisms require a user to turn back or push back (retract) the spindle or some other portion of the dose setting mechanism.

[0011]

Resetting of known dose setting mechanisms have certain perceived disadvantages. One perceived disadvantage is that the pen device user has to disassemble the device to either remove an empty cartridge or somehow reset the device. As such, another perceived disadvantage is that such devices have a high number of parts and therefore such devices are typically complicated from a manufacturing and from an assembly standpoint. For example, certain typical resettable pen type devices are not intuitive as to how a user must replace an empty cartridge or how a user is to reset the device. In addition, because such resettable devices use a large number of components parts, such resettable devices tend to be large and bulky, and therefore not easy to carry around or easy to conceal.

[0012]

There is, therefore, a general need to take these disadvantages associated with resetting issues into consideration in the design and development of resettable drug delivery devices. Such desired drug delivery devices would tend to reduce the number of component parts and also tend to reduce manufacturing costs while also making the device less complex to assemble and manufacture. Such desired devices would also tend to simplify the steps required for a user to reset a dose setting mechanism while also making the device less complex and more compact in size.

SUMMARY

[0013]

According to an exemplary arrangement, a dose setting mechanism for a drug delivery device comprises an outer housing and an inner housing having an external groove and a helical groove. The inner housing guides the driver to dispense a dose set by the dose setting mechanism. A dial sleeve may be disposed between the outer and inner housing and is rotatably engaged with the inner housing. When a dose is set, the dial sleeve is rotated with respect to both the outer housing and the inner housing. The dial sleeve is translated away from both the outer housing and the inner housing.

[0014]

These as well as other advantages of various aspects of the present invention will become apparent to those of ordinary skill in the art by reading the following detailed description, with appropriate reference to the accompanying drawings.

BRIEF DESCRIPTION OF THE DRAWINGS

[0015]

Exemplary embodiments are described herein with reference to the drawings, in which:

[0016]

FIG. 1 illustrates a first embodiment of a resettable drug delivery device;

[0017]

FIG. 2 illustrates a sectional view of the first embodiment of the drug delivery device illustrated in FIG. 1;

[0018]

FIG. 3 illustrates a sectional view of the first embodiment of the drug delivery device of FIG. 2 in a first position;

[0019]

FIG. 4 illustrates a sectional view of the first embodiment of the drug delivery device of FIG. 2 in a second position;

[0020]

FIG. 5 illustrates a sectional view of the first embodiment of the drug delivery device of FIG. 2 in a third position;

[0021]

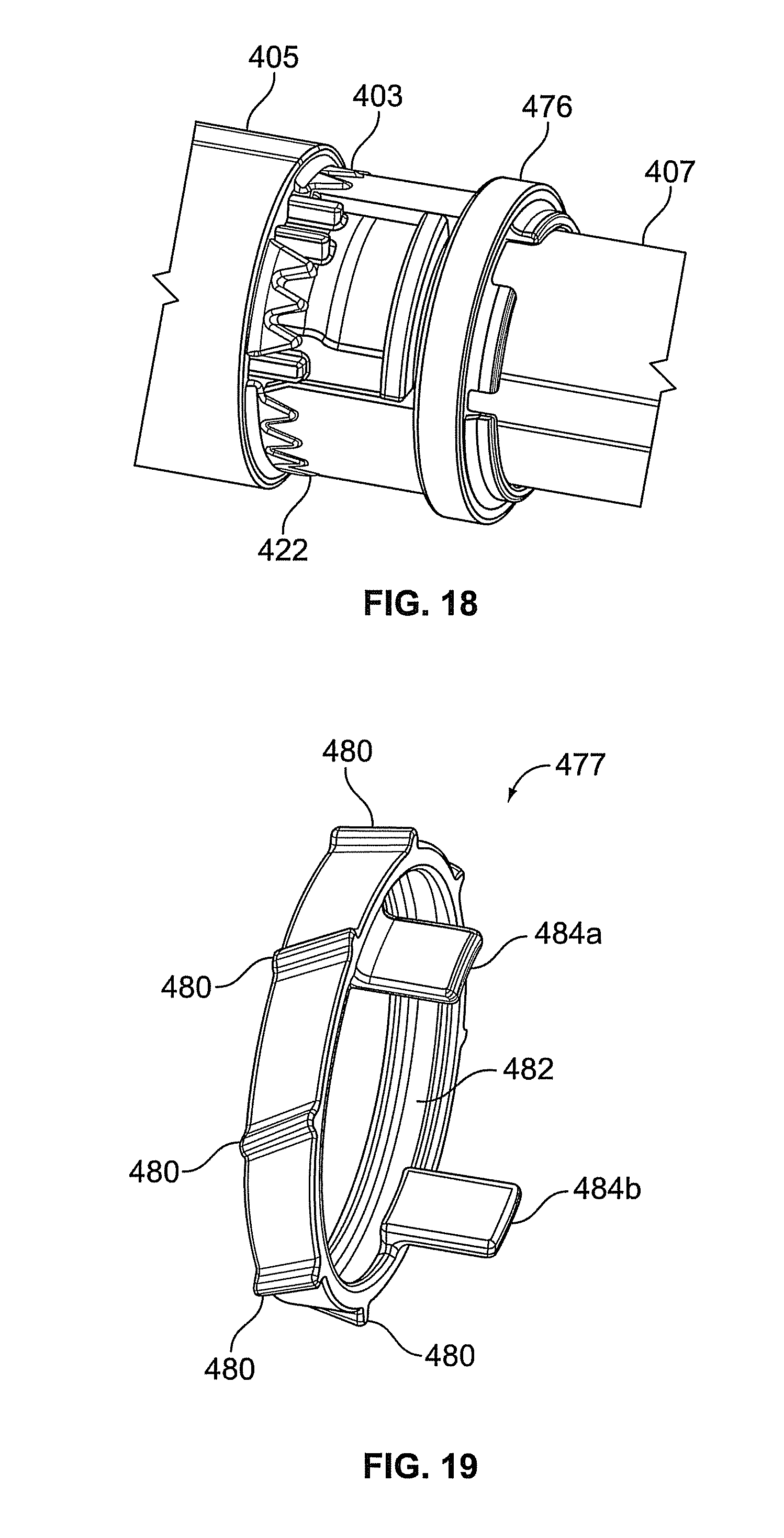
FIG. 6 illustrates a first arrangement of the driver illustrated in FIGS. 2-5 comprising a first driver portion and a second driver portion;

[0022]

FIG. 7 illustrates a distal end of the spindle of the dose setting mechanism illustrated in FIGS. 2-5;

[0023]

FIG. 8 illustrates a sectional view of a second embodiment of a dose setting mechanism of the drug delivery device illustrated in FIG. 1;

[0024]

FIG. 9 illustrates a partial sectional view of the second embodiment of the dose setting mechanism illustrated in FIG. 8;

[0025]

FIG. 10 illustrates a close up view of Gap A illustrated in FIG. 8;

[0026]

FIG. 11 illustrates a second arrangement of the driver illustrated in FIGS. 6-8 comprising a first driver portion and a second driver portion;

[0027]

FIG. 12 illustrates the dose setting mechanism illustrated in either FIGS. 2-5 or FIGS. 6-8, and

[0028]

FIG. 13 illustrates the dose setting mechanism illustrated in FIG. 12 in which a user has set a dose;

[0029]

FIG. 14 illustrates a sectional view of another embodiment of a dose setting mechanism of the drug delivery device illustrated in FIG. 1;

[0030]

FIG. 15 illustrates a partial sectional view of the embodiment of the dose setting mechanism illustrated in FIG. 14;

[0031]

FIG. 16 illustrates a partial view of yet another embodiment of a dose setting mechanism of the drug delivery device illustrated in FIG. 1;

[0032]

FIG. 17 illustrates the partial sectional view of embodiment of the dose setting mechanism illustrated in FIG. 16 in a second position;

[0033]

FIG. 18 illustrates the partial sectional view of embodiment of the dose setting mechanism illustrated in FIG. 16 with a clicker portion removed; and

[0034]

FIG. 19 illustrates a clicker portion that may be used with the dose setting mechanism illustrated in FIG. 16

DETAILED DESCRIPTION

[0035]

Referring to FIG. 1, there is shown a drug delivery device 1 in accordance with a first arrangement of the present invention. The drug delivery device 1 comprises a housing having a first cartridge retaining part 2, and dose setting mechanism 4. A first end of the cartridge retaining part 2 and a second end of the dose setting mechanism 4 are secured together by retaining features. In this illustrated arrangement, the cartridge retaining part 2 is secured within the second end of the dose setting mechanism 4. A removable cap 3 is releasably retained over a second end or distal end of a cartridge retaining part. As will be described in greater detail, the dose setting mechanism 4 comprises a dose dial grip 12 and a window or lens 14. To set a dose of medication contained within the drug delivery device 1, a user rotates the dose dial grip 12 and the window allows a user to view the dialed dose by way of a dose scale arrangement 16.

[0036]

FIG. 2 illustrates the medical delivery device 1 of FIG. 1 with the cover 3 removed from the distal end of the medical delivery device. As illustrated, a cartridge 20 from which a number of doses of a medicinal product may be dispensed is provided in the cartridge housing 6. Preferably, the cartridge 20 contains a type of medicament that is administered often, such as once or more times a day. Once such medicament is insulin. A bung or stopper (not illustrated in FIG. 2) is retained in a first end or a proximal end of the cartridge 20.

[0037]

The dose setting mechanism 4 of the drug delivery device illustrated in FIG. 2 may be utilized as a reusable (and hence resettable) or a non-reusable (and hence non-resettable) drug delivery device. Where the drug delivery device 1 comprises a reusable drug delivery device, the cartridge is removable from the cartridge housing 6. The cartridge 20 may be removed from the device without destroying the device by merely the user disconnecting the dose setting mechanism 4 from the cartridge holder 20.

[0038]

In use, once the removable cap 3 is removed, a user can attach a suitable needle assembly to the distal end of the cartridge holder. Such needle unit may be screwed onto a distal end of the housing or alternatively may be snapped onto this distal end. A replaceable cap 3 is used to cover the cartridge holder 6 extending from the dose setting mechanism 4. Preferably, the outer dimensions of the replaceable cap 3 are similar or identical to the outer dimensions of the dose setting mechanism 4 so as to provide an impression of a unitary whole when the replaceable cap 3 is in position covering the cartridge holder 2.

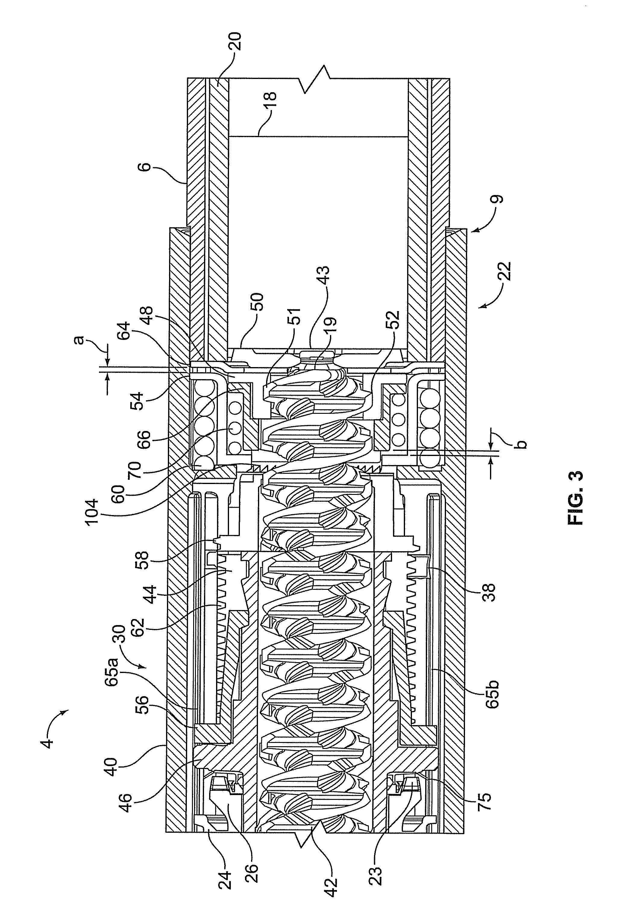
[0039]

FIG. 3 illustrates a sectional view of the dose setting mechanism 4 removably connected to the cartridge holder 29. The dose setting mechanism 4 comprises an outer housing 40 containing a spindle 42, a number sleeve 24, a clutch 26 a clicker 75, and a driver 30. A first helical groove 19 extends from a first end of a spindle 42. In one arrangement, the spindle 42 is of generally circular in cross section however other arrangements may also be used. The first end of the spindle 42 (a distal end 43 of the spindle 42) extends through a pressure plate 64. A spindle bearing 50 is located at the distal end 43 of the spindle 42. The spindle bearing 50 is disposed to abut a second end of the cartridge piston 18. The driver 30 extends about the spindle 42.

[0040]

The clutch 26 is disposed about the driver 30, between the driver 30 and a number sleeve 24. The clutch 26 is located adjacent the second end of the driver 30. A number sleeve 24 is provided outside of the clutch 26 and radially inward of the housing 40. The main housing 4 is provided with a window 14 through which a part of an outer surface 11 of the number sleeve 10 may be viewed.

[0041]

Returning to FIGS. 1-2, a dose dial grip 12 is disposed about an outer surface of the second end of the number sleeve 10. An outer diameter of the dose dial grip 12 preferably corresponds to the outer diameter of the housing 40. The dose dial grip 12 is secured to the number sleeve 10 so as to prevent relative movement between these two components. In one preferred arrangement, the dose dial grip 12 and number sleeve 10 comprise a one piece component that is rotationally coupled to a clutch and drive sleeve and axially coupled to the number sleeve 10. However, alternative coupling arrangements may also be used.

[0042]

Returning to FIGS. 3-5, in this arrangement, driver 30 comprises a first driver portion 44 and a second driver portion 46 and these portions extend about the spindle 42. Both the first and the second driver portions 44, 46 are generally cylindrical. As can be seen from FIG. 6, the first drive portion 44 is provided at a first end with a first radially extending flange 56. A second radially extending flange 58 is provided spaced a distance along the first driver portion 44 from the first flange 56. An intermediate helical groove 62 is provided on an outer part of the first driver portion 44 extending between the first flange 56 and the second flange 58. A portion or a part helical groove 68 extends along an internal surface of the first driver portion 44. The spindle 42 is adapted to work within this part helical groove 68.

[0043]

A dose limiter 38 (illustrated in FIG. 3) is located between the driver 30 and the housing 4, disposed between the first flange 56 and the second flange 58. In the illustrated arrangement, the dose limiter 38 comprises a nut. The dose limiter 38 has an internal helical groove matching the helical groove 66 of the driver 30. In one preferred arrangement, the outer surface of the dose limiter 38 and an internal surface of the housing 40 are keyed together by way of splines 65a, 65b. In this preferred arrangement, splines 65a, 65b comprise linear splines. This prevents relative rotation between the dose limiter 38 and the housing 40 while allowing relative longitudinal movement between these two components.

[0044]

Referring back to FIGS. 2-5, essentially, in normal use, the operation of the dose setting mechanism 4 occurs as follows. To dial a dose in the arrangement illustrated in FIGS. 1-5, a user rotates the dose dial grip 12. The driver 30, the clutch 26 and the number sleeve 10 rotate along with the dose dial grip 12. In this preferred arrangement, the clicker 75 is disposed between a distal end of the clutch 26 and a flange 80 of the drive sleeve 46. The clicker 75 and the internal surface of the housing 40 are keyed together by way of splines 65a, 65b. This prevents rotation of the clicker 75 with respect to the housing 40 either during dose selection or during dose administration.

[0045]

The number sleeve 10 extends in a proximal direction away from the housing 40. In this manner, the driver 30 climbs the spindle 42. As the driver 30 and the clutch rotates, a distal portion 23 of the clutch drags over the clicker 75 to produce a click. Preferably, the distal portion includes a plurality of splines or features that are disposed such that each click corresponds to a conventional unit dose, or the like. At the limit of travel, a radial stop on the number sleeve 10 engages either a first stop or a second stop provided on the housing 40 to prevent further movement. Rotation of the spindle 42 is prevented due to the opposing directions of the overhauled and driven threads on the spindle 42. The dose limiter 38, keyed to the housing 40, is advanced along the thread 66 by the rotation of the driver 30.

[0046]

FIG. 2 illustrates the medical delivery device after a desired dose of 79 International Units (IU) has been dialed. When this desired dose has been dialed, the user may then dispense the desired dose of 79 IU by depressing the dial grip. As the user depresses the dial grip 12, this displaces the clutch 26 axially with respect to the number sleeve 10, causing the clutch 26 to disengage. However the clutch 26 remains keyed in rotation to the driver 30.

[0047]

The driver 30 is prevented from rotating with respect to the main housing 4 but it is free to move axially with respect thereto. The longitudinal axial movement of the driver 30 causes the spindle 42 to rotate and thereby to advance the piston 18 in the cartridge 20.

[0048]

In normal use, the first and second portions 44, 46 of the driver 30 are coupled together when the dose dial sleeve 10 is rotated. That is, in normal use, the first and second portions 44, 46 of the driver 30 are coupled together with the dose dial sleeve 10 when a user sets a dose by turning the dose dial grip 12. After each dispensed dose, the spindle 42 is pushed in a distal direction, acting on the bung 18 of the cartridge 20 to continue to expel a dialed dose of medication out of an attached needle assembly releasably connected to the distal end 8 of the cartridge holder 6. After a user uses the drug delivery device 1 to dispense all of the medication contained in the cartridge 20, the user may wish to replace the empty cartridge in the cartridge holder 6 with a new cartridge. The user must then also reset the dose setting mechanism 4: for example, the user must then retract or push the spindle 42 back into the dose setting mechanism 4.

[0049]

If the user decides to replace an empty cartridge and reset the device 1, the first and second driver portions 44, 46 must be de-coupled from one another. After decoupling the first driver portion 44 from the second driver portion 46, the first driver portion 44 will be free to rotate while the second driver portion 46 will not be free to rotate.

[0050]

During a device resetting step, rotating the first driver portion 44 achieves at least two results. First, rotation of the first driver portion 44 will reset the axial position of the spindle 42 with respect to the dose setting mechanism 4 since rotation of the first driver portion 44 causes the spindle 42 to rotate. Rotation of the spindle 42 (because the spindle is splined with the spindle guide 48) moves the spindle in a proximal direction back into the dose setting mechanism. For example, FIG. 7 illustrates one arrangement for connecting the spindle 42 to the spindle guide 48. In FIG. 7, the spindle 42 comprises a first 51 spline and a second spline 52. The spindle guide 48 comprises an essentially circular member having an aperture. The aperture includes two inner protruding members 55, 57 that engage the first and second splines 51, 52 respectively, so that the spindle guide 48 locks onto the spindle and rotates along with the spindle during spindle rotation.

[0051]

Second, rotation of the first driver portion 44 will also axial move or reset a dose limiter 38 to an initial or start position. That is, as the first driver portion 44 is rotated back to an initial start position, because the dose limiter 38 is threadedly engaged to the outer groove and splined to an inner surface of a housing portion, such as the outer housing 40. In this configuration, the dose limiter 38 is prevented from rotating but will move along the outer groove 62 of the first driver portion 44 as this portion is rotated during a resetting step. In addition, because it is splined to longitudinal splines 65a, 65b of the outer housing 4, the clicker 75 is also prevented from rotating during this resetting step.

[0052]

Referring to a first driver arrangement illustrated in FIG. 3, the two portions of the driver 30 are decoupled when the first driver portion 44 is pulled axially away from the second driver portion 46. This may be achieved by the use of a biasing means (such as at least one spring) that interacts together when the cartridge holder 6 is removed from the front or distal end of the device to first lock the relative rotation between the spindle 42 and a spindle guide 48 through which the spindle passes, and then to push this spindle guide 48 and also nut 66 axially a fixed distance. Because the spindle 42 is rotationally locked to this spindle guide 48 and is threadedly engaged with the spindle nut 66, the spindle 42 will move axially.

[0053]

The spindle 42 is coupled via a groove engaged to the first driver portion 44. The first driver portion 44 is prevented from rotation by a clutched connection to the second driver portion 46. In one preferred arrangement, the second driver portion 46 is prevented from rotation by the clicker 75 which resides between the clutch and the flange 80 of the drive sleeve 46. Therefore, axial movement of the spindle 42 decouples the two driver portions 44, 46 so that the clutched connection becomes de-coupled.

[0054]

This sequence of operation as the cartridge holder 6 is removed or disconnected from the dose setting mechanism 4 is illustrated in FIGS. 3-5. In FIG. 3, the various component parts of the drug delivery device include: a dose setting housing 40, a cartridge 20, a spindle 42, first driver portion 44; second driver portion 46, spindle bearing 50, spindle guide 48 spring plate 54; a main spring 60, a pressure plate 64, a cartridge holder 20; a spindle nut 66; and a second spring 70. In this preferred arrangement, the spindle guide 48 is rotationally fixed relative to the spindle 20. In addition, the spring plate 54 pressure plate 64 and spindle nut 66 are all rotationally fixed relative to the outer housing.

[0055]

In FIG. 3, the cartridge holder 6 is fitted via apertures in the pressure plate 64 and applies a load to the spring plate 54. This compresses the first biasing means or main spring 60. These apertures in the pressure plate 64 (not shown) allow the pressure plate 64 to move away from the spring plate 54 (in a distal direction towards the cartridge holder 6) under the action of the second biasing means or second spring 70. This will open up a Gap “A” as shown in FIG. 3. Gap “A” is a gap created between the pressure plate 64 and the spring plate 54. This will also open Gap “B”, a gap between the spindle nut 66 and the spring plate 54. This Gap B is illustrated in FIG. 3. The Gap B in conjunction with the light force from the second spring or biasing means 70 moves the spindle nut 66 towards the distal end of the drug delivery device 1. This applies light pressure to the spindle guide 48.

[0056]

The spindle guide 48 is compressed under the action of the second spring 70 between the spindle nut 66 and pressure plate 64. This light force coupled with the friction coefficient on either side of a flange of the spindle guide 48 through which this force acts, provides a resistance to rotation of the spindle guide 48 and therefore a resistance to rotation of spindle 42 as well. One advantage of this configuration is that at the end of a dose, it is advantageous to prevent the spindle 42 from back-winding into the dose setting mechanism 4 under light residual loads that may remain from the cartridge bung 18. By preventing the spindle 42 from back-winding in a proximal direction, a distal end 43 of the spindle 42 (and hence the spindle bearing 50) remains on the bung 18. Maintaining the distal end 43 of the spindle 42 on the bung 18 helps to prevent a user from administrating a potential under-dose.

[0057]

When the user delivers a dose, as the dispense force increases, the rearward load on the spindle nut 66 increases to a point at which the spindle nut 66 travels back in a proximal direction and compresses the second spring 70. This releases the axial force acting on the spindle guide 48. This removes the resistance to rotation of the spindle guide 48 and hence spindle 42. This configuration therefore prevents back-winding of the spindle 42 under low loads caused by the cartridge bung 18 but does not add to the dispense force once this dispense force has increased above a certain threshold level.

[0058]

FIG. 4 illustrates the dose setting mechanism 4 of FIG. 3 with the cartridge holder 6 rotated to release a connection type between the housing 40 of dose setting mechanism 4 and the cartridge holder 6. In one arrangement, this connection type 22 is a bayonet connection. However, those of ordinary skill in the art will recognize that other connection types 22 may be used as well such as threads, snap locks, snap fits, luer locks and other similar connection types. In the arrangement illustrated in FIGS. 3-5, by rotating the cartridge holder 6 with respect to housing 40, features that were initially acting on the spring plate 54 to compress the main biasing means 60 through apertures in the pressure plate 64, rotate so that they now release this force created by the main biasing means 60. This allows the spring plate 54 to move in a distal direction until the spring plate 54 contacts the spindle nut 66 on an inside face of the spindle nut 66.

[0059]

In this second condition, the previous discussed Gap “A” (from FIG. 3) has now been reduced to a Gap “C” (as seen in FIG. 4). In this manner, the relative high axial force from the main biasing means 60 acts through the spring plate 54 to the spindle nut 66 and from the spindle nut 66 through the spindle guide 48 to the pressure plate 64. This relative high axial force from the main biasing means 60 is sufficient to prevent the spindle guide 48, and hence spindle 42, from rotating. After sufficient rotation of the cartridge holder 6, the cartridge holder 6 disengages from the connection type 22 with the housing 40. The cartridge holder 6 is then driven in an axial direction away from the housing 40 by the main biasing means 60 (i.e., in a distal direction). However, during this movement, the main spring 60 continues to load the cartridge holder 6 through the spindle guide 48 and therefore the spindle 42 is prevented from rotation. As the spindle 42 is also threaded to the first driver portion 44, the first driver portion 44 is also pulled axially in a distal direction and in this manner becomes disengaged from the second driver portion 46. The second driver portion 46 is axially fixed and is prevented from rotation. In one arrangement, the second driver portion 46 is prevented from rotation by clicker elements and prevented from axial movement by its axial coupling to the number sleeve.

[0060]

FIG. 5 illustrates the dose setting mechanism illustrated in FIG. 3 in a third position, that is, with the cartridge holder 6 removed. As the cartridge holder 6 is removed from the housing 40, the bayonet features shown in FIG. 5 (illustrated as round pegs extending radially inwards on inside of inner housing), limit travel of the pressure plate 64 but allows Gap “C” (as shown in FIG. 4) to increase to a wider Gap “D” (as shown in FIG. 5). As a result, Gap “E” develops. Gap “E” removes the high spring force created by the main biasing means 60 from the spindle guide 48. The dose setting mechanism 4 in FIG. 4 is now ready to be reset.

[0061]

To reset this dose setting mechanism 4, a user retracts the spindle 42 in a proximal direction back into the housing 40 by pushing on the distal end 43 of the spindle 42. Therefore, during this re-setting step of the dose setting mechanism 4, as the spindle 42 is pushed back into the dose setting mechanism 4, the movement of the spindle 42 causes the spindle nut 66 to move back against a light spring force created by the second biasing means 70. This movement releases the axial load and hence resistance to rotation from the spindle guide 48. Therefore, as the dose setting mechanism 4 is reset by the spindle 42 rotating back into the dose setting mechanism 4, the spindle guide 48 also rotates.

[0062]

As the spindle 42 is pushed back further into the dose setting mechanism 4, the spindle 42 rotates through the spindle nut 66. As the first driver portion 44 is de-coupled from the second driver portion 46, the first driver portion 44 rotates (with the flexible elements 102, 103 running on a conical surface groove 90 formed by the first annular ring 91 on the second half of the drive sleeve 46, FIGS. 5 and 6). This accommodates the axial and rotational movement of the spindle 42.

[0063]

As the first driver portion 44 rotates during reset, first driver portion 44 also re-sets the dose nut. More specifically, as the first driver portion 44 rotates, the dose nut which is not rotatable since it is splined to an inner surface of the housing 40, traverses along the helical groove 62 provided along an outer surface of the first driver portion 44 and traverses back to an initial or starting position. In one preferred arrangement, this starting position of the dose nut resides along the first radial 56 flange of the first driver portion 44.

[0064]

After the dose setting mechanism 4 has been reset, the dose setting mechanism 4 must be re-connected to the cartridge holder 6. When re-connecting these two components, the process generally works in reverse. However, this time the axial compression of the main spring 60 causes the first driver portion 44 to re-engage with the second driver portion 46. In this manner, the flexible elements re-engage with the second annular ring 94 on the second driver portion 46.

[0065]

FIG. 6 illustrates a first arrangement of the second driver portion 46 and the first driver portion 44 illustrated in FIG. 3. As shown in FIG. 6, second driver portion 46 is generally tubular in shape and comprises a first annular groove 90 at a distal end of the second driver portion 46. The first annular groove 90 comprises a conical face 91. The second driver portion further comprises a second annular groove 94 and at least one spline 96 positioned along a surface of the second driver portion. The first driver portion 44 is also generally tubular in shape and comprises a first and a second flexible element 102, 103 and a plurality of spline recesses 100. These plurality of recesses 100 releasably connect the longitudinal spline 96 of the first driver portion 44 to second driver portion 46 when both first and second driver portions 44, 46 are pushed axially together so that they releasably engage one another. When pushed together, the flexible elements 102, 103 of the first driver portion 44 are pushed over the first annular groove 90 of the second driver portion 46 and then stop when the flange 80 of the second driver portion abuts the first axial flange 56 of the first driver portion 44.

[0066]

The first driver portion 44 also includes a plurality of ratchet features 104. These ratchet features 104 are provided at a distal end 106 of the first driver portion 44. These ratchet features 104 engage similar ratchet features on the spring plate 25 which are splined to the housing 2. (See e.g., FIGS. 3-5) At the end of the re-setting step, these ratchet features engage one another so as to prevent the first driver portion 44 from rotating. This ensures that as the spindle 42 is reset further, the first driver portion moves axially to re-engage the second driver portion 46 rather than rotate on the conical face 90. These features also orientate the spring plate 25 relative to the second driver portion 44 so that the two driver portions 44, 46 engage easily during assembly or after reset. Therefore, these ratchet features also prevent the coupling features 100, 96 from clashing with one another.

[0067]

A second arrangement of resettable dose setting mechanism is illustrated in FIGS. 8-10. FIG. 8 illustrates a section view of a second arrangement of a dose setting mechanism 200. Those of skill in the art will recognize that dose setting mechanism 200 may include a connection mechanism for releasably connecting to a cartridge holder, like the cartridge holder 6 illustrated in FIG. 2. However, as those of ordinary skill in the art will recognize, the dose setting mechanism may also include a permanent connection mechanism for permanently connecting to a cartridge holder. FIG. 9 illustrates a portion of the dose setting mechanism illustrating the driver operation. FIG. 10 illustrates a close up view of the coupling between the first driver portion and the second driver portion illustrated in FIG. 9. The second arrangement of the dose setting mechanism 200 operates in generally a similar fashion to the first arrangement of the dose setting mechanism 4 illustrated in FIGS. 1-5.

[0068]

With reference to FIGS. 8-10, the dose setting mechanism 200 comprises a dose dial grip 202, a spring 201, an outer housing 204, a clutch 205, a driver 209, a number sleeve 206, a clicker 220, and an inner housing 208. Similar to the driver 30 illustrated in FIGS. 2-5, driver 209 of dose setting mechanism 200 comprises a first driver portion 207 and a second driver portion 212. In one arrangement, the first driver portion 207 comprises a first component part 210 and a second component part 211. Alternatively, the first driver portion 207 is an integral component part. Where the dose setting mechanism 200 illustrated in FIGS. 8 and 9 comprises a resettable dose setting mechanism, the first driver portion 207 is de-coupled from the dose setting mechanism 200 when the first driver portion 207 is pushed axially towards the second driver portion 212 (i.e., pushed in a proximal direction). In one arrangement, this may be achieved by pushing axially on a distal end of the spindle 214. This does not require any mechanism associated with removal of a cartridge holder. The mechanism is also designed such that the first and second driver portions 207, 212 remain locked together rotationally during dose setting as well as during dose administration.

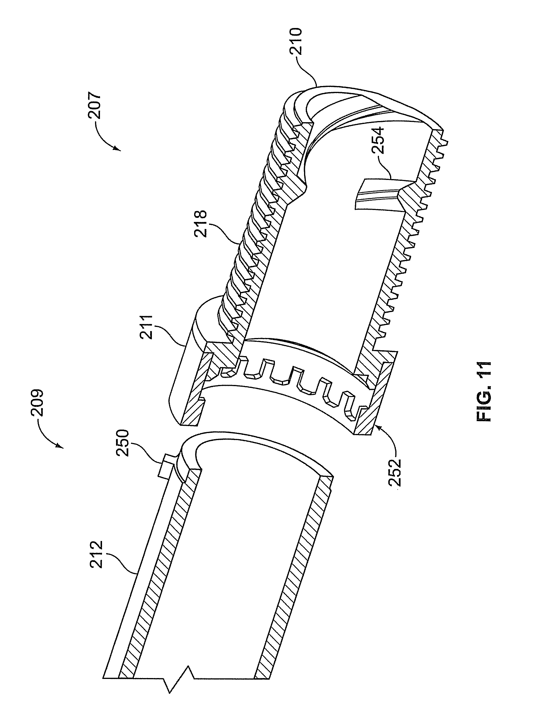
[0069]

An axial force on the spindle 214 causes the spindle 214 to rotate due to its threaded connection to the inner housing 208. This rotation and axial movement of the spindle 214 in turn causes the first driver portion 207 to move axially towards the second driver portion 212. This will eventually de-couple the coupling elements 250 between the first driver portion 207 and second driver portion 212. This can be seen from FIG. 11.

[0070]

This axial movement of the first driver portion 207 towards the second driver portion 212 results in certain advantages. For example, one advantage is that the metal spring 201 will compress and will therefore close the Gap A illustrated in FIGS. 8-10. This in turn prevents the clutch 205 from disengaging from the clicker 220 or from the number sleeve 206. As illustrated in FIG. 9, a distal end of the clutch 205 comprise a plurality of clutch teeth 203. These clutch teeth 203 engage a plurality of clicker teeth 222 disposed at a proximal end of the clicker 220. As such, when a user dials a dose, these clutch and clicker teeth 203, 222 respectively, engage one another to produce an audible click (and perhaps a tactile click indication). Preferably, the clicker teeth 222 are geometrically disposed so that each click corresponds to a conventional unit dose, or the like. Therefore, when the dose dial grip 202 and hence the clutch 205 are rotated, an audible sound is heard as the clutch teeth ride 203 over the clicker teeth 222.

[0071]

The second driver 212 is prevented from rotating since it is splined to the clutch 205. The clicker 220 comprises a plurality of splines 221. These splines 221 are splined to an inner surface of the inner housing 208. Therefore, when the Gap A is reduced or closed up, the second driver portion 212 cannot rotate relative to either the housing 204 or the number sleeve 206. As a consequence, the number sleeve 206 cannot rotate relative to the housing 204. If the number sleeve 206 is prevented from rotating then, as the spindle 214 is retracted back into the dose setting mechanism 200 and thereby re-set, there will be no risk of the number sleeve 206 being pushed out of the proximal side of the dose setting mechanism 200 as a result of a force being applied on the spindle 214.

[0072]

Similarly, when the drug delivery device is being dispensed, the user applies an axial load to a dose button 216. The dose dial grip 202 is rotatably coupled to the dial sleeve but non-rotatably coupled to the dose button. The dose button 216 is axially coupled to the clutch 205 and this prevents relative axial movement. Therefore, the clutch 205 moves axially towards the cartridge end or the distal end of the dose setting mechanism 200. This movement disengages the clutch 205 from the number sleeve 206, allowing for relative rotation while closing up the Gap A.

[0073]

As described above, this prevents the clutch 205 from rotating relative to the clicker 220 and hence relative to the housing 204. However, in this scenario, it also prevents the coupling between the first driver portion 207 and the second driver portion 212 from becoming disengaged. Therefore, any axial load on the spindle 214 only disengages the first and second driver portions 207, 212 when the dose button 216 is not axially loaded. This therefore does not happen during dispense.

[0074]

With the dose setting mechanism 200, as a user dials a dose with the dose dial grip 202, the metal spring 201 is selected to be strong enough to maintain engagement of both clutched couplings: the clutched coupling between the clutch 205 and the number sleeve 206 and clutched coupling between the first driver portion 207 and second driver portion 212.

[0075]

FIG. 11 shows in detail of a first arrangement of the first driver portion 207 and the second driver portion 212 illustrated in FIG. 8. As illustrated in FIG. 11, the second driver portion 212 is generally tubular in shape and comprises at least one drive dog 250 located at a distal end of the second driver portion 212. The first driver portion 207 also has a generally tubular shape and comprises a plurality of recesses 252 sized to engage with the drive dog 250 on the second driver portion 212. The construction of the drive dog and recesses allow disengagement with the drive dog 250 when the first and second driver portions are axially pushed together. This construction also creates a rotational coupling when these components are sprung apart. A dose limiter may be provided on first driver portion 207 and operates similarly to the dose limiter 38 illustrated in FIG. 3.

[0076]

In this arrangement, the first driver portion 207 comprises a first portion 211 that is permanently clipped to a second portion 210. In this arrangement, the first portion 211 comprises the drive dogs 252 and the second component 210 includes the outer groove for the last dose nut as well as an internal groove 254. This internal groove 254 is used to connect to the spindle 214 and drives the spindle 214 during dose administration.

[0077]

In the illustrated arrangement, the internal groove 254 comprises a part helical groove rather than a complete helical groove. One advantage of this arrangement is that it is generally easier to manufacture.

[0078]

As may be seen from the arrangement illustrated in FIGS. 8-10 there is, in addition, certain feature enhancements over the dose setting mechanism 4 lustrated in FIGS. 3-5. These can be added independently of the ability to re-set the device to replace an empty cartridge with a new cartridge. These enhancements, therefore, are relevant to both a re-settable and non-re-settable dose setting mechanism.

[0079]

One of the advantages of both arrangements illustrated but perhaps in particular in the arrangement illustrated in FIGS. 8-11 is that the dose setting mechanism 200 has a reduced number of components over other known dose setting mechanisms. In addition, apart from the metal coil spring 201 (see FIGS. 9 and 10), all of these components making up the dose setting mechanism 200 may be injection molded using inexpensive and unsophisticated tooling. As just one example, these components making up the dose setting mechanism 200 may be injection molded without the expense and sophistication of a rotating core.

[0080]

Another advantage of a dose setting mechanism 200 comprising an inner housing 208 such as that illustrated in FIGS. 8-11 is that the dose setting mechanism 200 can be designed, with a slight modification, as a drug delivery device platform that is now capable of supporting both re-settable and non-resettable drug delivery devices. As just one example, to modify the re-settable dose setting mechanism 200 variant illustrated in FIGS. 8-11 into a non-resettable drug delivery device, the first driver portion 211 and 210 and the second driver portion 212 can be molded as one unitary part. This reduces the total number of drug delivery device components by two. Otherwise, the drug delivery device illustrated in FIGS. 8-11 could remain unchanged. In such a disposable device, the cartridge holder would be fixed to the housing or alternatively, made as a single one piece body and cartridge holder. The illustration in FIGS. 8-11 shows an inner housing 208 having a length “L” 230 generally similar in overall length to the dose setting mechanism 200. As will be described, providing the inner housing 208 with a length of “L” has a number of advantages over other known dose setting mechanisms that do not utilize an inner body or an inner body having a length generally equal to that of the length of a dose setting mechanism.

[0081]

The inner housing 208 comprises a groove 232 provided along an external surface 234 of the inner housing. A groove guide 236 provided on an inner surface 238 of the number sleeve 206 is rotatably engaged with this groove 232.

[0082]

One advantage of this dose setting mechanism 200 utilizing the inner housing 208 is that the inner housing 208 can be made from an engineering plastic that minimizes friction relative to the number sleeve 206, groove guide 236 and the groove 232. For example, one such an engineering plastic could comprise Acetal. However, those of ordinary skill in the art will recognize that other comparable engineering plastics having a low coefficient of friction could also be used. Using such an engineering plastic enables the material for the outer housing 204 to be chosen for aesthetic or tactile reasons with no friction related requirements since the outer housing 204 does not engage any moving components during normal operation.

[0083]

The inner housing 208 also enables the number sleeve 206 to be provided with a helical groove on an inner surface 238 of the number sleeve 206, rather than providing such a helical groove on an external surface 240 of the number sleeve 206. Providing such an internal groove results in a number of advantages. For example, this results in one advantage of providing more surface area along the outer surface 240 of number sleeve 206 so as to provide the scale arrangement 242. Increased number sleeve surface area may be used for drug or device identification purposes. Another advantage of providing the helical groove 236 on the inner surface 238 of the drive sleeve 206 is that this inner groove 236 is now protected from dirt ingress. In other words, it is more difficult for dirt to become logged in this inner groove interface than if the groove were provided along the outer surface 240 of the number sleeve 206. This feature is particularly important for a re-settable drug delivery device which will have to function over a much longer period of time compared to a non-resettable device.

[0084]

The effective driving diameter (represented by ‘D’) of the grooved interface between the number sleeve 206 and the inner housing 208 is reduced compared to certain known drug delivery devices for the same outer body diameter. This improves efficiency and enables the drug delivery device to function with a lower pitch (represented by ‘P’) for this groove and groove guide connection. In other words, as the helix angle of the thread determines whether when pushed axially, the number sleeve will rotate or lock to the inner body wherein this helix angle is proportional to the ratio of P/D.

[0085]

The number sleeve 206 can be made the length of the mechanism “L” 230 rather than having to split this length into the space required for the number sleeve 206 and a space required for a clicker and a dose limiter. One advantage of this configuration is that it ensures a good axial engagement between the number sleeve 206 and the outer housing 204. This improves the functionality (and perceived quality) of the dose setting mechanism when a user uses the drug delivery device to dial out a maximum settable dose. FIG. 13 illustrates the dose setting mechanism 200 dialed out to a maximum settable dose of 80 International Units (“IU”).

[0086]

Another advantage is that it enables the scale arrangement 242 to be hidden within the outer housing 204 even when the number sleeve 206 is fully dialed out as may be seen from FIG. 13. However, the design does not limit the position of the window 14 to that shown in FIG. 8 but allows this window 14 to be positioned at near the dose dial grip 202 of the device. In arrangements illustrated in FIGS. 12 and 13, the scale arrangement 242 will only be visible by way of the window 14.

[0087]

Also the driver 209 (whether made in two portions or just one unitary component) can be made with a plain internal through hole plus a thread form that can be molded with axially moving core pins. This avoids the disadvantage of a driver having an internal thread with more than one turn and therefore requires a core pin to be rotated out several turns during a de-molding process.

[0088]

One potential disadvantage of utilizing a dose setting mechanism comprising the inner housing 208 is that the use of the inner housing 208 adds a component part to the overall dose setting mechanism 200. Consequently, this inner housing 208 will tend to increase the overall wall thickness that must be designed to fit between the clutch 205 and number sleeve 206. One way to work around this design issue, as illustrated in FIG. 8, is to reduce the diameter of the clutch 205 and number sleeve 206. This in turn can be achieved because the thread form between the driver 209 and the spindle 214 comprises a male internal feature on the driver 209 and a female external groove form on the spindle 214 that are overlapping with (on a similar diameter with) the spindle groove form that interfaces with the groove along the inner surface 234 of the inner housing 208 or body portion.

[0089]

The overlapping of groove forms on the spindle 214 reduces the effective diameter of the thread interface with the driver 209. This also reduces the potential outer diameter of the driver 209 enabling the addition of the inner housing 208 without increasing the overall outer diameter of the dose setting mechanism 200. Another added benefit of the reduced effective diameter of the thread interface with the driver 209 is that it improves efficiency of the drug delivery device during dispense as explained above.

[0090]

The window 244 through which the scale arrangement 242 may be viewed can either be just an aperture in the outer housing 204 or can include a clear lens or window designed to magnify the scale arrangement (i.e., printed or laser marked dose numbers) along a portion of the outer surface 240 on the number sleeve 206. The connection of a cartridge holder into the outer housing 204 can be achieved using either a screw or bayonet type connection. Alternatively, any similarly robust design used in drug delivery devices requiring a largely cylindrical part to be removed and then reattached could also be used.

[0091]

With the limited choice of mechanical advantages available with the overlapping helical spindle 214 in the arrangement illustrated in FIGS. 8-11, often an optimum choice of mechanical advantage for the length of the dose setting mechanism (and hence overall length of the drug delivery device) required is difficult to achieve. Hence, an alternative arrangement for this dose setting mechanism having a multi-component drive sleeve may be desired. Therefore, there may be a need for an enhanced dose setting mechanism that enables a mechanical advantage to be varied without changing the ratio of the pitches of the grooves on the spindle, such as the multi-groove spindle illustrated in FIGS. 8-10. Such an enhanced dose setting mechanism is illustrated in FIGS. 14 and 15.

[0092]

For example, FIG. 14 illustrates a sectional view of another embodiment of a dose setting mechanism of the drug delivery device illustrated in FIG. 1. FIG. 15 illustrates a partial sectional view of the embodiment of the dose setting mechanism illustrated in FIG. 14. This alternative arrangement of the dose setting mechanism 300 operates in generally a similar fashion to the dose setting mechanism 200 illustrated in FIGS. 8-11. That is, the dose setting and dose injecting operations are generally the same. One difference between these two dose setting mechanisms, however, is in what occurs when a user resets the dose setting mechanism 300. With reference to FIGS. 14 and 15, the dose setting mechanism 300 comprises a dose dial grip 302, a spring 301, an outer housing 304, a clutch 305, a driver 309, a number sleeve 306, a clicker 375, a dose limiter 318, and an inner housing 308. Similar to the driver 209 illustrated in FIGS. 8-11, driver 309 of dose setting mechanism 300 comprises a first driver portion 307 and a second driver portion 312. In one arrangement, the first driver portion 307 comprises a first component part 310 and a second component part 311 (see generally, FIG. 11). Alternatively, the first driver portion 307 is an integral component part.

[0093]

Where the dose setting mechanism 300 illustrated in FIGS. 14 and 15 comprises a resettable dose setting mechanism, the first driver portion 307 is de-coupled from the dose setting mechanism 300 when the first driver portion 307 is pushed axially towards the second driver portion 312 (i.e., pushed in a proximal direction). This does not require any mechanism associated with removal of a cartridge holder. The mechanism is also designed such that the first and second driver portions 307, 312 remain locked together rotationally during dose setting as well as during dose administration.

[0094]

Returning to the arrangements illustrated in FIGS. 8-10, the multi-component driver 209 moves axially without rotation relative to the internal housing 208 during dose dispense. In the alternative arrangement illustrated in FIGS. 14-15, the driver 309 does not just move axially during dispense but is constrained to move along a helical path. Such a helical path may be defined by one or more helical splines 341 molded into an inner surface of the inner housing 308. In such an arrangement, the path of the driver 309 may be controlled through a rotational coupling between a clicker 375 (preferably, by way of a second clicker portion 377) with at least one helical groove 341 provided along an inner surface of the inner housing 308.

[0095]

If these helical grooves provided along the inside of the inner housing 308 rotate in the opposite sense to the thread form on the first driver portion 307 or the number sleeve 306, then the mechanical advantage may be reduced. However, if these helical grooves rotate in the same sense to the thread form on the first driver portion 307 or the number sleeve 306, and with a larger pitch, then the mechanical advantage may be increased.

[0096]

With such a proposed dose setting mechanism 300, an equation for the resulting mechanical advantage may be calculated via the following equation: (A+B)/[A×(1−B/C)]. In this equation, A is the groove pitch between the spindle 314 and inner housing 308, B is the groove pitch between the spindle 314 and the first driver portion 307, and C is the pitch of the helical grooves 341 with a positive notation depicting in the same sense as B.

[0097]

In this arrangement and as illustrated in FIGS. 14 and 15, the clicker 375 comprises a multi-component clicker. Specifically, clicker 375 comprises a first clicker portion 376 and a second clicker portion 377. The first and second clicker portions 376, 377 comprise clicker teeth 378 and 377, respectively. Both first and second clicker portions 376, 377 are placed on a distal side of the metal coil spring 301. This is in contrast to the location of the clicker in the dose setting mechanism 200 illustrated in FIG. 8. In the arrangement illustrated in FIG. 8, the clicker arrangement 220 is positioned on a proximal side of the spring 201.

[0098]

Positioning the clicker 375 on the distal side of the metal coil spring 301 achieves a number of advantages. For example, it helps to ensure that the second clicker portion 377 that is rotationally coupled to the helical grooves provided along the inner housing 308 does not move axially and hence does not rotate relative to the housing when the button 316 is depressed to thereby disengage the clutch 305 from the number sleeve 312. If the clicker 375 were allowed to rotate, the clicker 375 would cause the clutch 305 to rotate. If this were to occur, this may prevent the clutch 305 from re-engaging with the dose dial sleeve 306 at the end of dose. Also, if the clutch 305 were allowed to rotate when the button 316 is depressed, the driver 309 would rotate as well and this would affect dose accuracy when a user releases the button 316 and the driver 309 rotates.

[0099]

Again, with this alternative arrangement of a dose setting mechanism 300, rather than having the clicker teeth between the clicker 375 and the first driver portion 307, the clicker 375 has been split into two parts 376, 377. In this arrangement, the first driver portion 307 can rotate on a circular bearing surface during resetting of the spindle 314 and the clicker teeth are instead placed between the first and second clicker portions 376, 377, respectively. The first clicker portion 376 may be rotationally coupled to either the driver 309 or the clutch 305. Therefore, during dose dialing, the first clicker portion 376 rotates relative to the second clicker portion 377 which is rotationally coupled to the helical grooves 341 in the inner housing 308 as mentioned above.

[0100]

Also in this arrangement where it is the first clicker portion 376 that oscillates axially (in a proximal direction and then a distal direction) during dialing the clicker teeth 378, 379 can be symmetric. On advantage of symmetrical clicker teeth is that the user is provided with a similar tactile response when he or she is either dialing up a dose compared with dialing down a dose. If the first clicker portion 376 were to be rotationally coupled to the inner housing 308, as this first clicker portion 376 oscillated proximally and distally during dialing it would also oscillate rotationally. One perceived disadvantage of such an arrangement is that the resulting dialing torque would be substantially different when the user would be dialing up to dialing down a dose.

[0101]

Note that with the dose setting arrangement 300 illustrated in FIGS. 14 and 15, the number of clicker teeth on the first and second clicker portions 376, 377 has to be altered to account for the thread pitches B and C in order to get the correct number of clicks per rotation to match the numbers or other similar dose setting indicia provided on the dose dial sleeve 312. In addition, the dose limiter 318 also comprises splines 333 that run in the same helical grooves 341 in the inner housing 308 as the second clicker portion 377. Therefore, during dose dispense, the dose limiter 318 will not rotate relative to the driver 309 thereby ensuring that no further doses can be dialed after the dose limiter 318 has come up against a stop on the first driver portion 307. Similar to the driver illustrated in FIGS. 8-11, the first driver portion 307 of dose setting mechanism 300 comprises two parts clipped together.

[0102]

Although the dose setting mechanism 300 illustrated in FIGS. 14 and 15 provides a number of advantages, there are also certain limitations associated with such an arrangement. For example, one issue with dose setting mechanism 300 is that when mechanism is reset so as to replace a used cartridge, the spindle 314 is pressed back proximally. Pressing the spindle back proximally moves the first driver portion 307 and hence the clicker 375 proximally relative to the outer housing 304. If the clicker 375 moves relative to the housing 304, then the clicker 375 also has to rotate. Therefore, during the resetting step, the first driver portion 307 not only compresses the spring 301 but has to rotate the clicker 375 and hence driver 309, the clutch 305, and dose dial sleeve 306 relative to the housing 304. This increases the force required to reset the dose setting mechanism 300.

[0103]

FIG. 16 illustrates a partial view of yet another embodiment of a dose setting mechanism of the drug delivery device illustrated in FIG. 1. In this illustration, the dose setting mechanism 400 is illustrated with a dose setting button pressed in. FIG. 17 illustrates the partial sectional view of embodiment of the dose setting mechanism 400 illustrated in FIG. 16 in a second position with the dose setting button being pressed out. FIG. 18 illustrates the partial sectional view of embodiment of the dose setting mechanism 400 illustrated in FIG. 17 with a second clicker portion 477 removed.

[0104]

The alternative embodiment of the dose setting mechanism 400 comprises a clutch 405, a clicker 475, and a spring 401. As shown in FIG. 16, the clicker 475 comprises a first clicker portion 476 and a second clicker portion 477. In this arrangement, the first clicker portion 476 is similar to the clicker illustrated in FIGS. 8-11 in that the first clicker portion 476 comprises a plurality of clicker teeth 422. These clicker teeth 422 engage a plurality of clutch teeth 403.

[0105]

However, unlike the clicker 220 of FIG. 8 comprising splines that engage the helical groove 241 provided on the inner housing 208, the first clicker portion 476 of dose setting mechanism 400 is not splined to an inner housing. Rather, the second clicker portion 477 is rotationally coupled to the first clicker portion 476, axially coupled to the driver 409 and rotationally coupled to the helical grooves provided on an inner housing. In this dose setting mechanism 400 arrangement, neither the driver 409, the clutch 405, nor clicker rotate, when a dose button is depressed. Similarly, neither the driver 409, the clutch 405, nor the clicker rotate when the dose setting mechanism 400 is reset. One advantage of such an arrangement is that this mechanism ensures a low force to reset the pen and good dose accuracy.

[0106]

FIG. 19 illustrates the second clicker portion 477 that may be used with the dose setting mechanism illustrated in FIG. 16. As can be seen from FIG. 19, the second clicker portion 477 comprises a plurality of splines 480 that engage a helical groove provided along an inner surface of the inner housing. In addition, the second clicker portion 477 further comprises a recess 482. This recess 482 engages a rib provided on the second driver portion 412. When this recess 482 engages this rib, the second clicker portion 477 is axially secured to the second driver portion 412. In particular, the various clicker arrangements shown in embodiments 200, 300 and 400 can be mounted either internally to the inner body, as shown, or externally, with ribs or grooves in the clicker engaging with ribs or grooves on the outer surface of the inner body or as shown in the first embodiment (ref FIGS. 3-5) on the inner surface of the outer body. Where an inner body exists, in these alternative arrangements the clutch, spring and clicker components would have to lie outside the inner body, but the driver could still be rotationally coupled to the clutch and lie inside the inner body so as to drive the spindle forwards.

[0107]

Exemplary embodiments of the present invention have been described. Those skilled in the art will understand, however, that changes and modifications may be made to these embodiments without departing from the true scope and spirit of the present invention, which is defined by the claims.

Как компенсировать расходы
на инновационную разработку
Похожие патенты