Methods and UBM structures having bilayer or trilayer UBM layers that include a thin TiW adhesion layer and a thick Ni-based barrier layer thereover both deposited under sputtering operating conditions that provide the resultant bilayer or trilayer UBM layers with minimal composite stresses. The Ni-based barrier layer may be pure Ni or a Ni alloy. These UBM layers may be patterned to fabricate bilayer or trilayer UBM capture pads, followed by joining a lead-free solder thereto for providing lead-free solder joints that maintain reliability after multiple reflows. Optionally, the top layer of the trilayer UBM structures may include soluble or insoluble metals for doping the lead-free solder connections.
1. A method of fabricating an under bump metallization (UBM) structure comprising:
providing a substrate having electrically conductive connections; providing said substrate in a sputtering tool; cleaning a surface of said substrate; sputter depositing at least a bilayer UBM structure of a TiW adhesion layer deposited to a thickness ranging from about 0.05 microns to about 0.3 microns followed by a Ni-based barrier layer deposited to a thickness ranging from about 0.6 microns to about 3.0 microns over said cleaned substrate surface under operating conditions that provide the resultant bilayer UBM structure with composite stress ranging from about 50 MPa to about −275 MPa; patterning said bilayer UBM structure to form bilayer UBM capture pads on said substrate surface; and joining lead-free solder connections to said bilayer UBM capture pads to provide solder joints that have reliable joint strengths after multiple reflows. 2. The method of 3. The method of 4. The method of 5. The method of 6. The method of 7. The method of 8. The method of 9. The method of 10. The method of depositing a passivation layer over said surface of said substrate; patterning said passivation layer to form openings therein that expose said electrically conductive connections of said substrate; depositing said bilayer UBM structure over said passivation layer and within said openings to directly contact electrically conductive connections of said substrate. 11. The method of 12. The method of depositing a passivation layer over said surface of said substrate; patterning said passivation layer to form openings therein that expose said electrically conductive connections of said substrate; filling said openings in said passivation layer with metallization; planarizing said surface of said substrate; and depositing said bilayer UBM structure directly over said planarized surface. 13. The method of 14. A method of fabricating an under bump metallization (UBM) structure comprising:
providing a substrate having electrically conductive connections; providing said substrate in a sputtering tool; cleaning a surface of said substrate; sputter depositing at least a bilayer UBM structure of a TiW adhesion layer deposited to a thickness ranging from about 0.05 microns to about 0.3 microns followed by a Ni-based barrier layer deposited to a thickness ranging from about 0.6 microns to about 3.0 microns over said cleaned substrate surface under operating conditions that provide the resultant bilayer UBM structure with composite stress ranging from about 50 MPa to about −275 MPa, wherein said TiW adhesion layer is deposited onto said substrate under operating conditions that provide said TiW adhesion layer with compressive stress, said operating conditions comprising:
a sputtering temperature ranging from about 25° C. to about 270° C.; an inert gas at a pressure ranging from about 1.8 mTorr to about 7.5 mTorr; and an operating power ranging from about 4 kW to about 12 kW; patterning said bilayer UBM structure to form bilayer UBM capture pads on said substrate surface; and joining lead-free solder connections to said bilayer UBM capture pads to provide solder joints that have reliable joint strengths after multiple reflows. 15. The method of providing said substrate on a water cooled electrode maintained at a temperature ranging from about −20° C. to about 40° C.; a sputtering temperature ranging from about 25° C. to about 270° C.; an inert gas at a pressure ranging from about 1.8 mTorr to about 6.0 mTorr; an operating power ranging from about 6 kW to about 14 kW; and applying an RF bias power ranging from 0 Watts to about 300 Watts to said substrate to modulate stresses in said Ni-based barrier layer so that the resultant bilayer UBM structure is provided with said composite stress. 16. A method of fabricating an under bump metallization (UBM) structure comprising:
providing a substrate having electrically conductive connections; providing said substrate in a sputtering tool; cleaning a surface of said substrate; cooling said substrate prior to depositing a bilayer UBM structure to generate reproducible composite stresses in subsequently formed UBM structures; sputter depositing at least said bilayer UBM structure of a TiW adhesion layer deposited to a thickness ranging from about 0.05 microns to about 0.3 microns followed by a Ni-based barrier layer deposited to a thickness ranging from about 0.6 microns to about 3.0 microns over said cleaned substrate surface under operating conditions that provide the resultant bilayer UBM structure with composite stress ranging from about 50 MPa to about −275 MPa; patterning said bilayer UBM structure to form bilayer UBM capture pads on said substrate surface; and joining lead-free solder connections to said bilayer UBM capture pads to provide solder joints that have reliable joint strengths after multiple reflows. 17. A method of fabricating an under bump metallization (UBM) structure comprising:
providing a substrate having electrically conductive connections; providing said substrate in a sputtering tool; cleaning a surface of said substrate; sputter depositing at least a bilayer UBM structure of a TiW adhesion layer deposited to a thickness ranging from about 0.05 microns to about 0.3 microns followed by a Ni-based barrier layer deposited to a thickness ranging from about 0.6 microns to about 3.0 microns over said cleaned substrate surface under operating conditions that provide the resultant bilayer UBM structure with composite stress ranging from about 50 MPa to about −275 MPa; depositing a third layer over the bilayer TiW/Ni-based UBM stack to fabricate a trilayer UBM stack; patterning said trilayer UBM structure to form trilayer UBM capture pads on said substrate surface; and joining lead-free solder connections to said trilayer UBM capture pads to provide solder joints that have reliable joint strengths after multiple reflows. 18. The method of 19. The method of
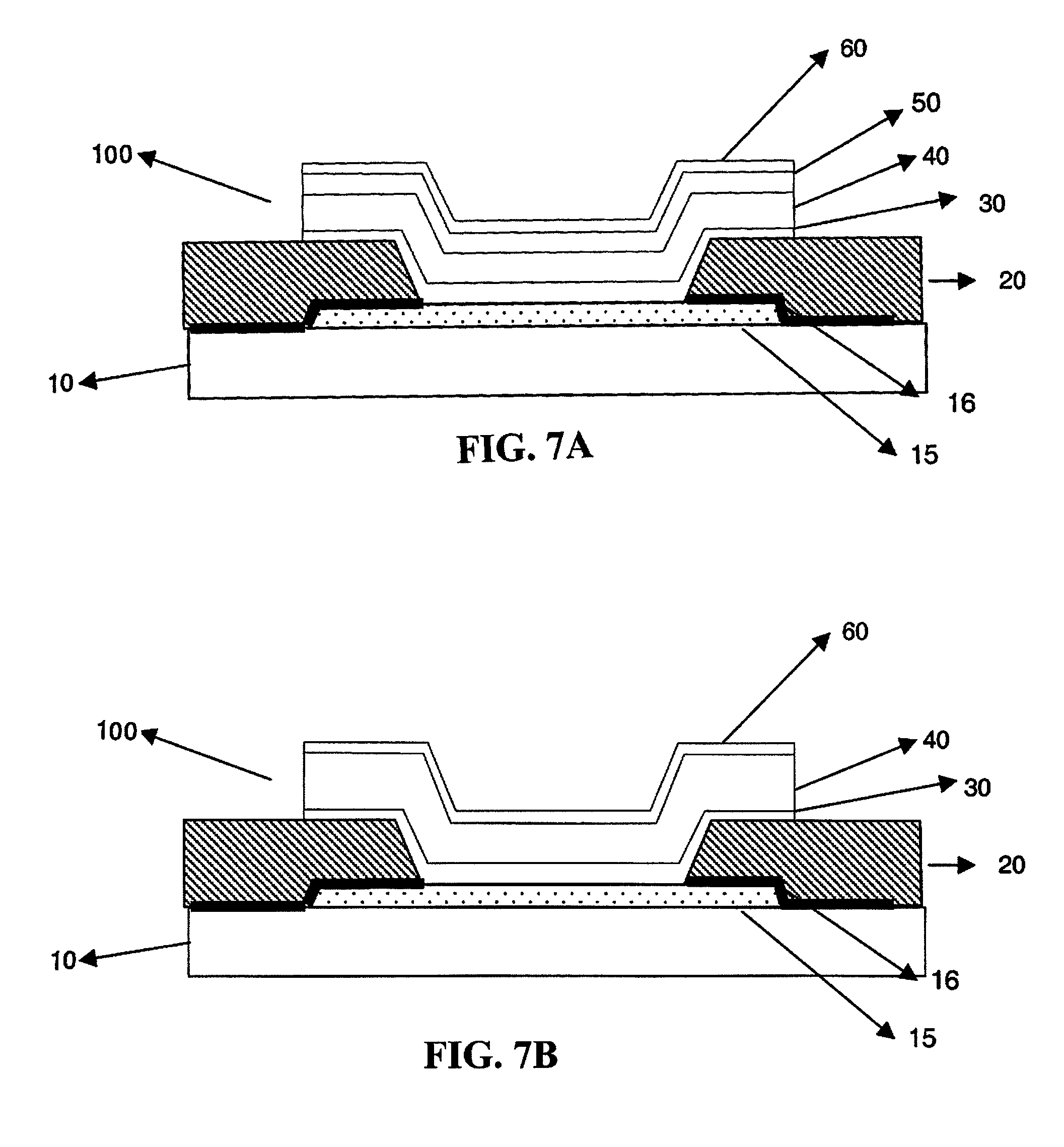
1. Field of the Invention The present invention relates to electronic devices, and in particular, to under bump metallization and solder bumps for interconnection of electronic components. 2. Description of Related Art In the microelectronics industry, surface mount technology (SMT) involves forming electronic package assemblies in which an electrical component, such as an integrated circuit chip, is electrically and mechanically connected to a substrate, a card (i.e., board), another chip or another electronic part. These multilayer electronic components are typically joined to each other by solder interconnections, such as C4 technology or flip chip packaging, or BGA (Ball Grid Array) interconnections. The solder interconnections join the pads on a first of these electronic components to corresponding pads on the surface of a second component, e.g., pads on a chip to corresponding pads on a substrate. Conventional solder materials for soldering semiconductors to ceramic substrates include high melting point solder alloys having a high lead content. For instance, a preferred solder material for forming solder joints over the years has been a composition of 97 wt % lead (Pb) to 3 wt % tin (Sn). These lead containing solder joints are generally plated or evaporated solder on under bump metal (UBM) films. Typical UBM films for use with lead containing solders include an adhesion layer (e.g., TiW) followed by a diffusion barrier layer (e.g., CrCu) and then a capping or solder wettable layer (e.g., Cu). While such UBM film compositions provide adequate performance and reliability when used with lead containing solders, they are neither adequate nor reliable when used with lead-free solders as discussed below. Over the years, due to the continually increasing costs and environmental factors, industry is shifting more towards the use of lead-free solders. Known lead-free solders for use in the semiconductor industry are generally tin-rich, such as, for example, tin-copper (Sn/Cu), tin-silver (Sn/Ag) or tin-silver-copper (Sn/Ag/Cu) solders. However, when these tin-rich solders are provided over the CrCu barrier layers, the high tin (Sn) content results in the rapid consumption of copper (Cu) from the CrCu UBM, leading to solder joint delamination. This high tin (Sn) content also reacts with the chromium (Cr) causing it to float to solder joint surfaces, which in turn, leads to non-wettable solder joints. To avoid the above problems associated between CrCu barrier UBM layers and lead-free solder joints, nickel (Ni) or nickel vanadium (NiV) barrier UBM layers have replaced the CrCu barrier UBM layers. These Ni and NiV barrier UBM layers exhibit a slower reaction rate between Ni and Sn as compared to the reaction rate between Cu, or CrCu and Sn. Typically, the Ni UBM layers are electroless plated and NiV sputtered onto the adhesion layer. In so doing, electroless plated nickel phosphorous (EL-Ni—P) UBM layers are deposited to a thickness of about 2 to about 5 microns, while the sputtered Ni or NiV layers are deposited to a thickness of about 0.3 to about 0.5 microns. While lower thicknesses of the EL-Ni—P or NiV UBM layers provide solutions for low-end applications, it does not meet the needs for high-end, high-performance applications. The process of depositing these layers by electroless plating incorporates P atoms in an EL-Ni—P layer or V atoms in NiV layers. However, it has been found that these impurities are undesirable in the barrier layer since the multiple solder reflows and thermal migration/diffusion of V impacts barrier consumption, and P atoms affecting the electromigration performance and reliability of C4 interconnections. The higher stresses in these EL-Ni—P or NiV layers may also detrimentally lead to fractures in the subsurface, which is commonly referred to in the industry as the “white bump” problem. Further, the conventional approaches for sputtering Ni or NiV provide UBM layers that are too thin, such that, they are completely consumed after about 4-5 reflows, each at about 250° C. to 260° C. for about 5 minutes. Sputtering these Ni or NiV layers too thick may also detrimentally result in higher stresses, for example, residual stresses in the range of 200 MPa to 600 MPa, which in turn, results in excessive wafer bowing causing difficulty in chucking and auto handling processes (e.g., for those wafers bowed at 600 microns or higher). However, sputtering techniques continue to be preferred for present and future generations of UBM layers due to process simplicity, ease in process integration, cost effectiveness and the ability to overcome the performance limitations associated with Electroless plated Ni—P and sputtered NiV UBMs. Embodiments of the invention are directed to methods of fabricating UBM structures that at least include providing a substrate having electrically conductive connections. The substrate is provided in a sputtering tool, and a surface of this substrate is cleaned. At least a bilayer UBM structure is deposited over the cleaned substrate surface by sputter depositing a TiW adhesion to a thickness ranging from about 0.05 microns to about 0.3 microns followed by depositing a Ni-based barrier layer to a thickness ranging from about 0.6 microns to about 3.0 microns. These bilayers of the UBM are deposited under operating conditions that provide the resultant bilayer UBM structure with composite stress close to zero. The bilayer UBM structure is patterned to from bilayer UBM capture pads on the substrate surface, and lead-free solder connections are joined to the bilayer UBM capture pads to provide solder joints having reliable joint strengths after multiple reflows. Other embodiments of the invention are UBM structures fabricated in accordance with the processes and methods described herein. The features of the invention believed to be novel and the elements characteristic of the invention are set forth with particularity in the appended claims. The figures are for illustration purposes only and are not drawn to scale. The invention itself, however, both as to organization and method of operation, may best be understood by reference to the detailed description which follows taken in conjunction with the accompanying drawings in which: In describing the preferred embodiments of the present invention, reference will be made herein to One or more embodiments of the invention are directed to under bump metal (UBM) layers, and in particular, to enhanced UBM layers for use with lead-free solders for interconnection of components in electrical assemblies that prevent damage and/or fractures in the underlying substrate layering. The embodiments of the invention are useful for any type of current and/or future generation of lead-free solder or lead-free solder alloys including, but not limited to, Sn, Sn/Ag, Sn/Ag/Cu, Sn/Cu, and other suitable ternary and quaternary Sn based alloys and like. These lead-free solders and solder alloys reside on the UBM layers as solder balls, solder columns, solder bumps, micro bumps & balls etc. It should also be appreciated that the embodiments of the invention are suitable for use in a wide variety of electrical assemblies including, for example, organic packages on a board, i.e. Flip Chip Plastic Ball Grid Array (FCPBGA) packages, silicon chips on a board, ceramic modules, organic modules, wafer level packages (WLPC), chip stacks, chip scale packages (CSP), high density interconnects using micro bumps, where one chip is attached to another, and the like. Referring to Depending upon the utility of the final assembly, a single passivation layer or combined passivation layers may be provided over and reside on the substrate 10. Referring to For instance, the structures of Prior to providing the UBM layers over any of the structures shown in The structure surface is then cleaned to remove any oxide films/layers from the exposed metal pads 15 to ensure low contact resistance between the metal pads and the subsequently deposited UBM layers. In so doing, the exposed surfaces are sputter etch cleaned using an inductively coupled plasma (e.g., Ar plasma) with RF biasing to remove oxide films from the exposed metal pads 15. The preferred operating conditions for this sputter etch cleaning step is an Ar pressure ranging from about 0.75 mTorr to about 1.0 mTorr, inductive power ranging from about 300 Watts to about 500 Watts, preferably at 450 Watts, and an RF bias power ranging from about 200 to about 300 Watts, with an SiO2etch rate of about 3 to about 4 A/sec. Upon completion of this sputter cleaning process, the substrate is cooled for about 2 minutes to about 10 minutes under vacuum in the presence of an inert gas (e.g., N2or Ar) at temperatures ranging from about 30° C. to about 100° C. This cooling step generates improved reproducibility of composite stresses in the subsequently formed UBM layers of one or more embodiments of the invention. For ease of understanding the one or more embodiments of the invention, the following description of the present UBM layers are provided over a structure substantially similar to that shown in The TiW adhesion layer 30 is directly sputtered on the passivation layer and any metal layer under operating conditions that are optimal for providing the TiW adhesion layer 30 with low compressive stresses when deposited onto an inorganic substrate (e.g., Si-oxide substrate) and high compressive stresses when deposited onto an organic substrate (e.g., polyimide coated wafers). That is, the one or more embodiments of the invention provide operating conditions for generating a desired level of compressive film stress on either an organic or an inorganic substrate. In so doing, in one or more embodiments of the invention the preferred optimal operating conditions (preferably on an Endura™ platform) for depositing the TiW adhesion layer 30 onto an inorganic substrate include a sputtering temperature ranging from about 25° C. to about 270° C. in the presence of Ar gas at a pressure ranging from about 1.8 mTorr to about 7.5 mTorr, more preferably at a pressure ranging from about 4-5 mTorr. While the operating power conditions range from about 4 kW to about 12 kW, more preferably at about 8 kW, it should be appreciated that the operating power may vary depending upon the size of the sputter target. It should also be appreciated that the operating temperatures may vary depending on the type of sputtering tool used (e.g., for a rotating magnetron tool (e.g., Endura™ platform) the electrode temperature may range from about 25° C. to about 270° C.; while for a linear magnetron tool the electrode temperature may range from about 25° C. to about 50° C.). In the one or more embodiments of the invention the optimal operating conditions (also preferably on an Endura™ platform) for depositing the TiW adhesion layer 30 onto an organic substrate include the above operating conditions; however, the preferred sputtering temperature ranges from about 250° C. to about 270° C. By depositing TiW onto a substrate under the foregoing operating conditions, it is shown in Once the TiW adhesion layer has been deposited, the thick barrier layer 40 of the UBM structure is deposited directly over the adhesion layer 30. This barrier layer 40 can be deposited in a separate processing chamber or in the same chamber under controlled operating conditions, such that, film stresses in the barrier layer 40 are low compressive or low tensile on either organic (polyimides) or inorganic (oxide) substrates or wafers. For instance, the barrier layer 40 is deposited under the present operating conditions such that it has stresses ranging between about −275 MPa (low compressive) to about +50 Mpa (low tensile). The barrier layer of the one or more embodiments of the invention is a nickel-based layer deposited to a thickness ranging from about 0.6 microns to about 3.0 microns. The nickel-based barrier layer 40 may be a pure nickel layer (100% Ni) or a nickel alloy layer (Ni—X). The nickel alloys may include NiSi (Si 4.5 wt %), NiW (W 10 At %), NiTi (Ti 7-10 wt %), NiCu (Cu 10-60 wt %) or NiSn (Sn 5-10 At %). Preferably, the nickel alloy barrier layer comprises a NiSi barrier layer with Si present in an amount ranging from about 3% to about 6% by weight or a NiW barrier layer with W present in an amount ranging from about 5% to about 15% by atomic percent (At %). In accordance with the one or more embodiments of the invention, the nickel-based barrier layer 40 is more preferably deposited by PVD, which uses different chambers for depositing different metals, (e.g., using the Endura™ platform) or preferably by a linear magnetron sputtering that employs a single chamber for depositing different layers whereby the substrates therein are scanned back and forth under the specific metal target. The optimal operating conditions for sputtering this barrier layer onto the adhesion layer include cooling the substrate on a water cooled electrode that is maintained at a temperature ranging from about −20° C. to about 40° C. in the presence of Ar gas at a pressure ranging from about 1.8 mTorr to about 6.0 mTorr, more preferably at a pressure of about 4 mTorr. The preferred operating power conditions for depositing the nickel-based barrier layer 40 include a DC power ranging from about 6 kW to about 14 kW, most preferably at about 12 kW, and an RF bias power applied to the substrate ranging from about 0 Watts to about 300 Watts, most preferably at about 200 Watts. In accordance with the one or more embodiments of the invention, it has been found that the higher DC power applied to the sputter target increases the deposition rate of the thick nickel-based barrier layer 40, and as such, is preferred for increased productivity. This low RF bias power applied to the substrate during the barrier deposition process provides the present nickel-based barrier layers 40 with low stresses, which in turn, provides the resultant bilayer UBM with low stress. These low RF bias powers also enable the control of keeping surface potentials of the substrate below 100 Volts, which prevents damage to any sensitive active electrical areas or devices on the substrate. Referring to Accordingly, the optimized operating conditions of the one or more embodiments of the invention fabricates bilayer TiW/Ni-based UBM stack structures with low stresses that range from low tensile stress (i.e., +50 Mpa or lower) to low compressive stress (i.e., −275 Mpa or higher) at high deposition rates (e.g., about 100 A/sec) with acceptable uniformity. These low stresses of the resultant bilayers enable the UBM structures to withstand high stresses during downstream processing, such as, high stresses induced during downstream joining processes (e.g., bonding and assembly of modules, as well as reliability stressing of the electronic module or device). Also, these properties of the resultant bilayer UBM structures provide the resultant electronic module with enhanced strength and stability. Once the low stress bilayer TiW/Ni-based UBM stack structure has been fabricated, optional layering may be provided thereover, including, and a capping layer 50 followed by a surface modification layer 60 thereover (see, In accordance with one or more embodiments of the invention, the capping layer includes a Cu-based film (100% Cu or Cu—X alloy (e.g., CuNi, 10-90 wt % Cu)) deposited under the above operating conditions and under 0 Watts RF bias. Alternatively, the capping layer is a Ni-based film (100% Ni or Ni—X alloy (e.g., NiSn, 5-30 wt % Sn)) for providing additional Ni and lowering solder reactions, which is deposited under the above operating conditions and under an RF bias of about 300 Watts. Preferably, the capping layer is a 100% Cu layer deposited to a thickness of about 1 micron. Referring to In addition to the capping layer 50, or as an alternative thereto, a thin surface modification layer 60 is provided over the capping layer 50 (see, The surface modification layer 60 includes a material of immersion or electro-less gold (Au), silver (Ag), tin (Sn), cobalt (Co), zinc (Zn), or a Zn conversion coating deposited to a thickness ranging from about 100 A to about 5000 A. Alternatively, sputtering the materials of the surface modification layer 60 into the capping layer provides an alloy layer of Cu—X or Ni—X, where X is Sn, Co or Zn, whereby the top of this combined capping-modification layer is concentrated with the solder dopants of the surface modification material. In so doing, the doping of the solder that is to be deposited over the surface modification layer (or the combined layer) is controlled by the dopants residing in the surface modification layer, such that, additional insoluble metals (e.g., Ir, W, etc.) may also be added to this surface modification layer 60 for doping to add such metals to the solder. Referring to In so doing, a photo resist material (not shown) with the designed patterns is provided on the substrate surface over the UBM layers. The resist may comprise a liquid or dry resist film that is exposed and, using known chemistry, images are developed for the desired solder interconnection pattern. This pattern forms openings in the resist layer to leave remaining resist material over the regions of the metal pads. After the images have been developed in the resist material, the substrate is cleaned, such as, using a known O2plasma cleaning step. The exposed UBM metal layers are then sequentially etched using wet chemical etchants to selectively remove the optional surface modification 60 and capping 50 layers and the barrier layer 40. The resist is then stripped using a suitable alkaline solution, such as, an aqueous KOH solution or a suitable resist stripper containing alkali and/or organic solvents to expose the TiW adhesion layer 30. The TiW adhesion layer 30 is then etched to expose the passivation layer 20 (e.g., polyimide passivation layer). This adhesion layer 30 may be etched using wet or dry etch processes, such as, for example, using a wet peroxide-based etchant to provide the present UBM layers over metallic pads for joining to solder joints. Prior to depositing the solder interconnections on these capture pads, the substrate surface is preferably cleaned, such as, using an oxygen plasma etch, to remove any conductive haze on the exposed passivation layer surfaces resulting from carbonization of such surface (e.g., removing the conductive haze from a carbonized polyimide surface). Referring to In one or more embodiments of the invention, the UBM capture pads may be provided over any of the starting structures shown in A first set of test wafers with Aluminum pads were coated with photosensitive polyimide (PSPI) 20 and vias 22 etched to 55 microns in diameter and 200 microns in pitch, which were then filled. The wafers were processed in accordance with the optimal processing parameters of an embodiment of the invention to provide trilayer UBM layers of TiW/Ni/Cu, TiW/NiSi/Cu and TiW/NiW/Cu. These trilayer UBM layers were etched to form trilayer UBM capture pads of an embodiment of the invention. The C4-NP process was employed to form solder bumps using two different solders, in particular, SnCu (0.7%) and SnAg (1.8%). After wafer dicing, chips were joined to organic packages and the post chip joined modules were processed thru multiple (2-10 times) reflows. In each reflow, the modules went through an inert gas atmosphere furnace having peak temperatures set to 245° C. for about 1 minute. The modules were subjected to quick turn-around (QTAT) reliability testing that included DTC (−40/125° C.), HTS (170° C.), LTS (−65° C.), THB (85° C./85%/3.6V), ATC 100 cycles. After the QTAT reliability stress, the modules were examined for structural integrity and mechanical testing. The solder bump shear/chip pull data measurements showed enhanced shear values and pull strengths greater than about 25 gms/C4 indicating reliable joint strengths after multiple reflows. A second set of electrically good (EG) test wafers were processed in accordance with the optimal processing parameters of an embodiment of the invention to provide trilayer UBM layers of TiW/Ni/Cu and TiW/NiSi/Cu. These trilayer UBM layers were etched to form trilayer UBM capture pads of the invention having bump pitch of 150 microns and pad diameters of 80-58 microns (i.e., using 3 on 6 mil ground rules). The C4-NP process was employed to form solder bumps using two different solders, in particular, SnCu (0.7%) and SnAg (1.8%). After wafer dicing, chips were joined to organic packages and the post chip joined modules were processed thru multiple (7 times) reflows each at 245° C. for about 1 minute. Later these modules were subjected to reliability stressing for longer times and cycles. The modules were examined for electrical, mechanical and structural integrity. The solder bump shear/chip pull data measurements showed enhanced shear values and pull strengths greater than about 25 gms/C4 indicating reliable joint strengths after multiple reflows. After reliability stressing for DTC 1500 Cycles, HTS 1500 Hrs, LTS 1000 hrs, THB 1000 hrs, ATC 2000 Cycles, no module fails were detected. Chip pull/bump shear data were similar to the data for the above first set of test wafers. Thus, the present UBM layer deposition conditions of one or more embodiments of the invention provide resultant UBM structures having Ni-based barrier layer thicknesses greater than 0.5 microns with low composite stresses, which in turn, results in reduced bowing of the substrate during downstream fabrication processes. The lower composite stresses of the present UBM structures help improve the structural integrity of the lead-free solder joints through thermal cycling and other reliability testing and usage conditions. The UBM layers of the one or more embodiments of the invention are approximately 5 to 6 times thicker than conventional UBM layers, particularly those for use with lead-free solders, while maintaining the stress close to zero. The one or more embodiments of the invention provide improved, cost effective UBM layers for use with lead-free solders to provide an UBM/lead-free solder joint structure having high reliability, longer power on hours, and able to withstand higher currents and high stresses during downstream processing and package module build and reliability tests. These robust UBM structures also provide low resistance contact between the metal pads and solder joint, an effective barrier to solder diffusion into the metal pad, an effective wetting layer for solder wettability, and the like. Accordingly, as the electronics industry migrates towards RoHS compliance the one or more embodiments of the invention are cost effective solutions suitable for use with these future generations of semiconductors.BACKGROUND OF THE INVENTION
SUMMARY OF THE INVENTION
BRIEF DESCRIPTION OF THE DRAWINGS
DESCRIPTION OF THE PREFERRED EMBODIMENT(S)
Experimental Results 1
Experimental Results 2