патент
№ US 0007875139
МПК B29C65/00

Method of assembling pagewidth printhead

Авторы:
Sarkis Minas Keshishian Susan Williams Paul Andrew Papworth
Все (12)
Правообладатель:
Все (3)
Номер заявки
12783506
Дата подачи заявки
19.05.2010
Опубликовано
25.01.2011
Страна
US
Дата приоритета
16.12.2025
Номер приоритета
Страна приоритета
Как управлять
интеллектуальной собственностью
Реферат

A method of assembling a pagewidth printhead. The method includes: aligning a multilayered adhesive film an said ink supply manifold such that ink supply holes in the film are aligned with respective ink outlets in the ink supply manifold; bonding a first adhesive layer of the film to a manifold bonding surface; heating a printhead integrated circuit and positioning the heated printhead integrated circuit on an opposite side of the film such that each ink supply hole is aligned with an ink inlet defined in a printhead bonding surface of the printhead integrated circuit; and repeatedly bonding printhead integrated circuits to the film to provide the pagewidth printhead.

Формула изобретения

1. A method of assembling a pagewidth printhead, said method comprising the steps of:

(a) providing a pagewidth ink supply manifold having a plurality of ink outlets defined in a manifold bonding surface thereof;

(b) providing a laminated film having a plurality of ink supply holes defined therein, said laminated film comprising a central polymeric film sandwiched between first and second adhesive layers, wherein a first melt temperature of said first adhesive layer is at least 10° C. less than a second melt temperature of said second adhesive layer;

(c) aligning said film with said ink supply manifold such that each ink supply hole is aligned with a respective ink outlet;

(d) bonding said first adhesive layer to said manifold bonding surface;

(e) heating a printhead integrated circuit and positioning said heated printhead integrated circuit on the second adhesive layer such that at least one ink supply hole is aligned with an ink inlet defined in a printhead bonding surface of said printhead integrated circuit; and

(f) repeating step (e) to provide said pagewidth printhead comprised of a plurality of abutting printhead integrated circuits bonded to said ink supply manifold.

2. The method of claim 1, wherein, in step (d), said first adhesive layer is heated to a temperature less than a melt temperature of said second adhesive layer.

3. The method of claim 1, wherein said first melt temperature is at least 20° C. less than said second melt temperature.

4. The method of claim 1, wherein substantially no adhesive flows into said ink supply holes during at least step (d).

5. The method of claim 4, wherein step (e) comprises optically locating a centroid of each ink supply hole, wherein said locating step is facilitated by an absence of adhesive from said ink supply holes.

6. The method of claim 1, wherein each ink supply hole has a length dimension in the range of 50 to 500 microns, and a width dimension in the range of 50 to 500 microns.

7. The method of claim 1, wherein said laminated film maintains its structural integrity after step (d), such that said second adhesive layer maintains a uniform thickness along its longitudinal extent.

8. The method of claim 1, wherein said laminated film maintains its structural integrity after step (d), such that a second bonding surface defined by said second adhesive layer maintains uniform planarity along its longitudinal extent.

9. The method of claim 1, wherein each printhead integrated circuit comprises a plurality of ink inlets defined by an ink supply channel extending longitudinally along said printhead bonding surface, and wherein a plurality of ink supply holes are aligned with one ink supply channel, each of said plurality of ink supply holes being spaced apart longitudinally along said ink supply channel.

10. The method of claim 1, wherein said central polymeric film is a polyimide film.

11. The method of claim 1, wherein said first and second adhesive layers are epoxy films.

12. The method of claim 1, wherein a total thickness of said laminated film is in the range of 40 to 200 microns.

13. The method of claim 1, wherein said central polymeric film has a thickness in the range of 20 to 100 microns.

14. The method of claim 1, wherein said first and second adhesive layers each have a thickness in the range of 10 to 50 microns.

Описание

CROSS REFERENCE TO RELATED APPLICATION

[0001]

This application is a Continuation of U.S. application Ser. No. 12/049,374 filed Mar. 17, 2008 all of which is herein incorporated by reference.

FIELD OF THE INVENTION

[0002]

The present invention relates to printers and in particular inkjet printers.

CO-PENDING APPLICATIONS

[0003]

The following application has been filed by the Applicant with the present application:

[0004]

12,049,37112,049,37212,049,37312,049,375

[0005]

The disclosure of this co-pending application is incorporated herein by reference. The above application has been identified by its filing docket number, which will be substituted with the corresponding application number, once assigned.

CROSS REFERENCES

[0006]

Various methods, systems and apparatus relating to the present invention are disclosed in the following US patents/patent applications filed by the applicant or assignee of the present invention:

[0007]

6,276,8506,520,6316,158,9076,539,1806,270,177
6,405,0556,628,4306,835,1356,626,5296,981,769
7,125,3387,125,3377,136,1867,286,2607,145,689
7,130,0757,081,9747,177,0557,209,2576,443,555
7,161,7157,154,6327,158,2587,148,9937,075,684
7,400,3467,385,6307,385,6297,385,6287,460,153
6,966,6596,988,8417,077,7487,255,6467,070,270
7,014,3077,158,8097,217,0487,430,0677,341,341
7,567,2217,548,2207,271,8297,465,1097,431,519
11/483,0617,469,98211/520,73511/505,8587,556,564
7,556,3717,506,9437,695,0827,460,8827,564,580
7,215,44111/650,5457,056,0406,942,3347,556,325
11/740,2657,461,9857,470,0217,572,0037,458,678
7,688,35111/750,2857,654,9057,461,93411/838,878
11/845,66912/015,4077,572,0047,575,2906,799,853
7,237,8966,749,30110/451,7227,137,6787,252,379
7,144,1077,426,0507,690,7857,573,5017,220,068
7,270,4107,241,0057,108,4377,140,7927,224,274
10/503,9177,463,28310/503,92510/503,9277,590,545
7,349,7777,354,1217,195,3257,229,1647,150,523
10/503,8897,154,5806,906,7787,167,1587,128,269
6,688,5286,986,6136,641,3157,278,7027,625,054
7,150,5247,155,3956,915,1406,999,2066,795,651
6,883,9107,118,4817,136,1987,092,1306,786,661
6,808,3257,448,7477,448,7467,219,9907,591,553
6,750,9016,476,8636,788,3366,322,1816,597,817
6,227,6486,727,9486,690,4197,431,2816,619,654
6,969,1456,679,5827,328,8966,568,6706,866,373
7,280,2477,008,0446,742,8716,966,6286,644,781
6,969,1436,767,0766,834,9336,692,1136,913,344
6,727,9517,128,3957,036,9117,032,9956,969,151
6,955,4246,969,1627,456,8616,942,3157,354,122
7,234,7976,986,5637,295,2117,701,5067,286,162
7,283,1597,077,3306,196,5417,303,2577,465,012
7,226,1447,461,9187,267,4287,401,8917,380,924
7,093,9297,690,7647,441,8707,629,9997,290,862
7,646,4037,591,5286,195,1507,581,81411/782,588
11/854,43511/853,8177,413,2857,712,8676,362,868
7,597,31412/031,5266,831,6816,431,6696,362,869
6,472,0526,356,7156,894,6946,636,2166,366,693
6,329,9906,459,4956,137,5006,690,4167,050,143
6,398,3287,110,0246,431,7046,879,3416,415,054
6,665,4546,542,6456,486,8866,381,3616,317,192
6,850,2746,646,7576,624,8486,357,1356,271,931
6,353,7726,106,1476,665,0086,304,2916,305,770
6,289,2626,315,2006,217,1656,496,6546,859,225
6,924,8356,647,3696,943,8307,535,5827,021,745
6,712,4536,460,9716,428,1476,416,1706,402,300
6,464,3406,612,6876,412,9126,447,0996,837,567
6,505,9137,128,8456,733,6847,249,1086,566,858
6,331,9466,246,9706,442,5257,346,5867,685,423
6,374,3547,246,0986,816,9686,757,8326,334,190
6,745,3317,249,1097,197,6427,093,1397,509,292
7,685,42410/866,6087,210,0387,401,2237,702,926
7,716,09811/706,32911/757,3857,657,4887,119,836
7,283,1627,286,1697,724,2827,170,6526,967,750
6,995,8767,099,0517,172,1917,243,9167,222,845
7,559,4727,285,2277,063,9407,453,5867,193,734
7,086,7247,090,3377,278,7237,140,7177,558,476
11/209,7117,256,8247,140,7267,156,5127,186,499
7,461,9247,525,6877,357,4977,530,6657,404,633
6,750,9447,468,8107,291,4477,556,2577,533,877
11/778,56111/839,5327,665,83411/869,7107,468,140
11/927,4037,590,3477,588,3297,633,5356,985,207
6,773,8746,650,8367,324,1427,705,8917,250,975
7,295,3436,880,9297,236,1887,236,1877,155,394
7,557,8297,609,4117,055,9276,986,5627,052,103
7,312,8457,492,49010/656,7917,375,7467,602,423
7,289,1427,095,5336,914,6866,896,2526,820,871
6,834,8516,848,6866,830,2466,851,6717,460,152
7,092,0117,187,4047,483,05010/753,4586,878,299
6,929,3486,921,15410/780,6257,453,4926,913,346
7,576,7957,576,7947,385,6397,557,8537,714,889
7,593,0587,246,8977,077,5157,551,2027,505,068
10/853,65910/853,6816,913,8757,021,7587,033,017
7,161,7097,099,0337,147,2947,156,4947,360,872
7,434,9157,032,9987,044,5857,296,8676,994,424
7,384,1347,258,4357,097,2637,001,0127,004,568
7,040,7387,188,9337,027,0807,025,4466,991,321
7,131,7157,261,3927,207,6477,182,4357,097,285
7,331,6467,097,2847,083,2647,147,3047,232,203
7,156,4987,201,4717,465,0237,549,7287,517,057
7,210,7647,381,3427,520,5937,465,0267,524,029
7,407,2657,581,8167,618,1107,533,9517,669,970
6,710,4576,775,9066,507,0997,221,0437,107,674
7,154,1727,402,8947,247,9417,402,8967,307,354
7,479,6976,530,3396,631,8976,851,6676,830,243
6,860,4796,997,4527,000,9137,204,4827,398,967
11/281,6797,401,9896,238,0446,425,6617,364,256
7,258,4177,293,8537,328,9687,270,3957,461,916
7,510,2647,334,8647,255,4197,284,8197,229,148
7,258,4167,273,2637,270,3936,984,0177,347,526
7,357,4777,156,49711/601,67011/748,4827,562,960
11/779,8517,524,01711/853,81611/853,81411/853,786
11/872,03711/856,69411/965,70311/971,17012/023,011
12/036,8967,465,0157,364,2557,357,47611/003,614
7,284,8207,341,3287,246,8757,322,66911/764,760
11/853,77711/955,35412/022,9947,445,3117,452,052
7,455,3837,448,7247,441,8647,637,5887,648,222
7,669,9587,607,7557,699,4337,658,4636,431,777
6,334,6646,447,1137,239,4076,398,3596,652,089
6,652,0907,057,7596,631,9867,187,4707,280,235
7,414,74911/744,21011/859,7846,471,3316,676,250
6,347,8646,439,7046,425,7006,588,9526,626,515
6,722,7586,871,93711/060,8037,344,2267,328,976
11/685,0847,669,96711/685,09011/740,9257,605,009
7,568,78711/946,8407,441,8797,469,9977,249,942
7,206,6547,162,3247,162,3257,231,2757,146,236
7,278,84710/753,4996,997,6987,220,1127,231,276
7,373,2147,220,1157,195,4757,144,2427,306,323
7,306,3197,467,8377,322,6747,513,5967,416,276
11/736,5457,467,0257,556,32911/749,1597,706,909
11/775,16011/853,7557,591,5367,597,4207,658,464
6,786,4206,827,2826,948,6617,073,7137,475,825
7,093,7627,083,1087,222,7997,201,3197,524,045
7,703,91011/518,23811/518,2807,663,78411/518,243
11/518,2427,032,8996,854,7247,331,6517,334,870
7,334,8757,416,2837,438,3867,461,92112/015,479
12/017,27012/015,2186,350,0236,318,8496,592,207
6,439,6996,312,1147,506,9587,472,9817,448,722
7,575,2977,438,3817,441,8637,438,3827,425,051
7,399,0577,695,0977,686,41911/246,6697,448,720
7,448,7237,445,3107,399,0547,425,0497,367,648
7,370,9367,401,8867,506,9527,401,8877,384,119
7,401,8887,387,3587,413,2817,530,6637,467,846
7,669,95711/482,96311/482,9567,695,12311/482,974
7,604,33411/482,9877,708,3757,695,0937,695,098
7,722,1567,703,8827,510,2617,722,1537,581,812
7,641,30411/495,81710/803,0747,570,3897,040,823
7,535,5997,528,9877,661,77910/803,07910/922,971
7,672,01210/922,8427,692,8157,419,2597,125,185
7,229,2267,364,3787,465,01910/815,6217,243,835
10/815,6307,703,69310/815,6387,251,05010/815,642
7,097,0947,137,54910/815,6187,156,2927,427,015
10/815,6357,357,3237,654,4547,137,5667,131,596
7,128,2657,207,4857,197,3747,175,08910/815,617
7,537,1607,178,7197,506,8087,207,4837,296,737
7,270,26610/815,6147,314,18111/488,16211/488,163
11/488,16711/488,16811/488,16511/488,1667,267,273
7,383,9917,383,9847,637,4377,605,9407,128,270
11/041,6507,677,4457,506,1687,441,7127,663,789
7,681,8007,461,77811/863,25711/863,25811/863,262
11/041,60911/041,6267,537,15711/041,6247,395,963
11/863,26811/863,2697,637,4197,676,3827,464,879
3,245,7347,457,96111/041,5807,467,3007,467,299
7,565,54211/863,2637,469,8197,484,1017,472,278
7,467,3017,457,0077,150,3987,159,7777,450,273
7,188,7697,097,1067,070,1107,243,8497,314,177
7,469,8367,568,6297,566,0096,227,6526,213,588
6,213,5896,231,1636,247,7956,394,5816,244,691
6,257,7046,416,1686,220,6946,257,7056,247,794
6,234,6106,247,7936,264,3066,241,3426,247,792
6,264,3076,254,2206,234,6116,302,5286,283,582
6,239,8216,338,5476,247,7966,557,9776,390,603
6,362,8436,293,6536,312,1076,227,6536,234,609
6,238,0406,188,4156,227,6546,209,9896,247,791
6,336,7106,217,1536,416,1676,243,1136,283,581
6,247,7906,260,9536,267,4696,588,8826,742,873
6,918,6556,547,3716,938,9896,598,9646,923,526
6,273,5446,309,0486,420,1966,443,5586,439,689
6,378,9896,848,1816,634,7356,299,2896,299,290
6,425,6546,902,2556,623,1016,406,1296,505,916
6,457,8096,550,8956,457,8127,152,9626,428,133
7,216,9567,080,8957,442,3177,182,4377,357,485
7,387,36811/607,9767,618,1247,654,64111/607,980
7,611,22511/607,97811/735,96111/685,0747,637,582
7,419,2477,384,13111/763,4466,224,7806,235,212
6,280,6436,284,1476,214,2446,071,7506,267,905
6,251,2986,258,2856,225,1386,241,9046,299,786
6,866,7896,231,7736,190,9316,248,2496,290,862
6,241,9066,565,7626,241,9056,451,2166,231,772
6,274,0566,290,8616,248,2486,306,6716,331,258
6,110,7546,294,1016,416,6796,264,8496,254,793
6,245,2466,855,2646,235,2116,491,8336,264,850
6,258,2846,312,6156,228,6686,180,4276,171,875
6,267,9046,245,2476,315,9147,169,3166,526,658
7,210,7677,390,4217,547,0956,665,0946,450,605
6,512,5966,654,1447,125,0906,687,0227,072,076
7,092,1257,215,4437,136,1957,077,4946,877,834
6,969,1397,469,9837,283,2806,912,0677,277,205
7,154,6377,591,5227,070,2516,851,78210/636,211
10/636,2476,843,5457,079,2867,064,8677,065,247
7,027,1777,218,4157,064,8736,954,2767,061,644
7,092,1277,059,6957,537,2977,177,0527,270,394
7,463,3737,188,9217,187,4697,196,8207,429,092
7,283,2817,251,0517,245,3997,413,2737,372,598
7,382,4887,365,8747,349,1257,336,39711/834,637
11/853,0197,456,99612/015,48512/030,7977,571,541
11/305,27311/305,27511/305,1527,416,6297,469,987
6,231,1486,293,6586,614,5606,238,0336,312,070
6,238,1116,378,9706,196,7396,270,1826,152,619
7,006,1436,876,3946,738,0966,970,1866,287,028
6,412,99311/033,1457,466,3417,477,28711/672,878
7,204,9417,282,1647,465,34211/845,6727,278,727
7,417,1417,452,9897,367,6657,138,3917,153,956
7,423,1457,456,2777,550,5857,122,0767,148,345
7,470,3157,572,3277,658,7927,709,63311/482,985
11/454,89911/583,9427,559,9837,671,19411/831,962
11/831,9637,699,92011/832,6377,416,2807,252,366
7,488,0517,360,8657,275,8117,628,4687,334,874
7,393,0837,475,9657,578,5827,591,53910/922,887
7,472,98410/922,8747,234,7957,401,8847,328,975
7,293,8557,410,2507,401,9007,527,3577,410,243
7,360,8717,661,7937,708,3727,147,7927,175,774
7,404,6257,350,90311/766,7137,631,95612/018,040
7,635,17812/037,05411/482,98011/563,68411/482,967
11/482,96611/482,9887,681,0007,438,3717,465,017
7,441,8627,654,6367,458,6597,455,37611/124,158
11/124,19611/124,19911/124,16211/124,20211/124,197
11/124,1987,284,92111/124,1517,407,2577,470,019
7,645,0227,392,95011/124,1497,360,8807,517,046
7,236,27111/124,17411/124,19411/124,1647,465,047
7,607,77411/124,16611/124,15011/124,17211/124,165
7,566,18211/124,18511/124,18411/124,1827,715,036
11/124,17111/124,1817,697,1597,595,90411/124,191
11/124,1597,466,9937,370,9327,404,61611/124,187
11/124,18911/124,1907,500,2687,558,9627,447,908
11/124,1787,661,8137,456,9947,431,4497,466,444
11/124,1797,680,51211/187,97611/188,0117,562,973
7,530,4467,628,4677,572,0777,465,04812/023,815
12/035,41411/228,54011/228,5007,668,54011/228,530
11/228,49011/228,53111/228,50411/228,53311/228,502
11/228,5077,708,20311/228,5057,641,1157,697,714
7,654,44411/228,4847,499,76511/228,51811/228,536
11/228,4967,558,56311/228,50611/228,51611/228,526
11/228,53911/228,53811/228,52411/228,5237,506,802
7,724,39911/228,5277,403,79711/228,5207,646,503
11/228,5117,672,66411/228,51511/228,53711/228,534
11/228,49111/228,49911/228,50911/228,4927,558,599
11/228,51011/228,50811/228,51211/228,51411/228,494
7,438,2157,689,2497,621,4427,575,1727,357,311
7,380,7097,428,9867,403,7967,407,09211/228,513
7,637,4247,469,82911/228,5357,558,5977,558,598
12/035,4196,238,1156,386,5356,398,3446,612,240
6,752,5496,805,0496,971,3136,899,4806,860,664
6,925,9356,966,6367,024,9957,284,8526,926,455
7,056,0386,869,1727,021,8436,988,8456,964,533
6,981,8097,284,8227,258,0677,322,7577,222,941
7,284,9257,278,7957,249,9047,364,28611/863,246
11/863,14511/865,6506,087,6386,340,2226,041,600
6,299,3006,067,7976,286,9356,044,6466,382,769
6,787,0516,938,9907,588,6937,416,2827,481,943
11/861,28211/861,2847,678,6677,152,9727,513,615
6,390,6056,322,1956,612,1106,480,0896,460,778
6,305,7886,426,0146,364,4536,457,7956,315,399
6,338,5487,040,7366,938,9926,994,4256,863,379
6,540,3196,994,4216,984,0197,008,0436,997,544
6,328,4316,991,3107,465,0077,140,7236,328,425
6,982,1847,267,4237,134,7417,066,5777,152,945
7,303,6897,021,7446,991,3207,155,9117,464,547
6,595,6247,152,9437,125,1037,328,9717,290,857
7,285,4377,229,1517,341,3317,237,87311/329,163
7,545,2517,465,4057,213,9076,417,75711/482,951
7,581,8197,695,1087,530,6697,556,3447,387,364
7,517,0377,467,8517,654,6387,556,3487,581,817
7,481,51811/869,6707,095,3097,556,3577,465,028
12/017,8966,854,8256,623,1066,672,7076,575,561
6,817,7006,588,8857,075,6776,428,1396,575,549
6,846,6926,425,9717,063,9936,383,8336,955,414
6,412,9086,746,1056,953,2366,412,9047,128,388
6,398,3436,652,0716,793,3236,659,5906,676,245
7,201,4606,464,3326,659,5936,478,4066,978,613
6,439,6936,502,3066,966,1116,863,3696,428,142
6,874,8686,390,5916,799,8286,896,3587,018,016
7,380,9056,328,4176,322,1946,382,7796,629,745
6,565,1936,609,7866,609,7876,439,9086,684,503
6,843,5516,764,1666,561,6177,328,9676,557,970
6,546,6287,407,2696,652,0746,820,9687,175,260
6,682,1747,303,2626,648,4536,834,9326,682,176
6,998,0626,767,0777,278,7176,755,5097,347,537
6,692,1087,407,2716,672,7097,303,2637,086,718
7,429,0976,672,7107,465,0346,669,3347,322,686
7,152,9587,281,7826,824,2467,264,3366,669,333
7,357,4896,820,9677,306,3266,736,4897,264,335
6,719,4067,222,9437,188,4197,168,1666,974,209
7,086,7196,974,2107,195,3387,252,7757,101,025
7,597,4237,533,9637,469,9957,587,8237,587,822
7,658,4727,401,9037,416,2847,722,16811/852,986
7,441,8767,543,9147,562,9667,513,6077,533,973
11/763,44011/763,44211/246,6877,645,0267,322,681
7,708,38711/246,7037,712,8847,510,2677,465,041
11/246,7127,465,0327,401,8907,401,9107,470,010
11/246,7027,431,4327,465,0377,445,3177,549,735
7,597,4257,661,8007,712,8697,712,8767,712,859
11/829,96111/829,96211/829,96311/829,96611/829,967
11/829,96811/829,96911/946,83911/946,83811/946,837
7,597,4317,156,5087,159,9727,083,2717,165,834
7,080,8947,201,4697,090,3367,156,4897,413,283
7,438,3857,083,2577,258,4227,255,4237,219,980
7,591,5337,416,2747,367,6497,118,1927,618,121
7,322,6727,077,5057,198,3547,077,5047,614,724
7,198,3557,401,8947,322,6767,152,9597,213,906
7,178,9017,222,9387,108,3537,104,6297,455,392
7,370,9397,429,0957,404,6217,261,4017,461,919
7,438,3887,328,9727,322,6737,306,3247,306,325
7,524,0217,399,0717,556,3607,303,2617,568,786
7,517,0497,549,7277,399,05311/737,0807,467,849
7,556,3497,648,22611/782,5937,404,62311/945,157
11/951,0957,461,92011/954,90611/954,9497,645,005
7,303,9307,401,4057,464,4667,464,46511/860,538
11/860,53911/860,5407,659,1417,618,8427,638,349
11/877,6677,658,9777,246,8867,128,4007,108,355
6,991,3227,287,8367,118,1977,575,2987,364,269
7,077,4936,962,4027,686,4297,147,3087,524,034
7,118,1987,168,7907,172,2707,229,1556,830,318
7,195,3427,175,2617,465,0357,108,3567,118,202
7,510,2697,134,7447,510,2707,134,7437,182,439
7,210,7687,465,0367,134,7457,156,4847,118,201
7,111,9267,431,4337,018,0217,401,9017,468,139
7,128,4027,387,3697,484,83211/490,0417,506,968
7,284,8397,246,8857,229,1567,533,9707,467,855
7,293,8587,520,5947,588,3217,258,4277,556,350
7,278,71611/603,8257,524,0287,467,8567,469,996
7,506,9637,533,9687,556,3547,524,0307,581,822
7,533,9647,549,72911/842,9507,543,9167,717,543
12/025,6217,448,7297,246,8767,431,4317,419,249
7,377,6237,328,9787,334,8767,147,3067,261,394
7,611,2187,637,5937,438,39012/017,2867,654,645
11/482,9777,491,91111/764,8087,376,27311/756,625
11/756,6267,400,76911/756,62811/756,6297,568,622
11/756,63110/944,04311/202,2517,466,4407,249,901
7,477,98711/478,5907,503,4937,156,2897,178,718
7,225,9797,380,7127,540,4297,584,40211/084,806
7,721,9487,079,7126,825,9457,330,9746,813,039
7,190,4746,987,5066,824,0447,038,7976,980,318
6,816,2747,102,7727,350,2366,681,0456,678,499
6,679,4206,963,8456,976,2206,728,0007,110,126
7,173,7226,976,0356,813,5586,766,9426,965,454
6,995,8597,088,4596,720,9857,286,1136,922,779
6,978,0196,847,8837,131,0587,295,8397,406,445
7,533,0316,959,2986,973,4507,150,4046,965,882
7,233,9247,707,0827,593,8997,175,0797,162,259
6,718,0617,464,8807,012,7106,825,9567,451,115
7,222,0987,590,5617,263,5087,031,0106,972,864
6,862,1057,009,7386,989,9116,982,8077,518,756
6,829,3876,714,6786,644,5456,609,6536,651,879
10/291,5557,293,2407,467,1857,415,6687,044,363
7,004,3906,867,8807,034,9536,987,5817,216,224
7,506,1537,162,2697,162,2227,290,2107,293,233
7,293,2346,850,9316,865,5706,847,96110/685,583
7,162,44210/685,5847,159,7847,557,9447,404,144
6,889,8967,174,0566,996,2747,162,0887,388,985
7,417,7597,362,4637,259,8847,167,2707,388,685
6,986,45910/954,1707,181,4487,590,6227,657,510
7,324,9897,231,2937,174,3297,369,2617,295,922
7,200,5917,693,82811/020,26011/020,32111/020,319
7,466,4367,347,35711/051,0327,382,4827,602,515
7,446,89311/082,94011/082,8157,389,4237,401,227
6,991,1536,991,1547,589,8547,551,3057,322,524
7,408,6707,466,43911/206,7787,571,19311/222,977
7,327,4857,428,0707,225,4027,577,42811/349,143
7,450,2647,580,69811/442,42811/454,9027,271,931
11/520,1707,430,05811/706,96411/739,0327,421,337
7,336,3897,539,93711/830,8497,460,71311/866,394
11/934,07711/951,8747,660,01112/023,86012/023,005
7,466,4357,068,3827,007,8516,957,9216,457,883
7,044,38111/203,2057,094,9107,091,3447,122,685
7,038,0667,099,0197,062,6516,789,1946,789,191
7,529,9367,278,0187,360,0897,526,6477,467,416
6,644,6426,502,6146,622,9996,669,3856,827,116
7,011,1287,416,0096,549,9356,987,5736,727,996
6,591,8846,439,7066,760,1197,295,3327,064,851
6,826,5476,290,3496,428,1556,785,0166,831,682
6,741,8716,927,8716,980,3066,965,4396,840,606
7,036,9186,977,7466,970,2647,068,3897,093,991
7,190,4917,511,8477,663,78010/962,4127,177,054
7,364,28210/965,73310/965,93310/974,7427,468,809
7,180,6097,538,7937,466,4387,292,3637,515,292
7,576,8767,414,7417,202,95911/653,21911/706,309
7,573,5887,466,4347,688,4576,982,7986,870,966
6,822,6396,474,8886,627,8706,724,3746,788,982
7,263,2706,788,2936,946,6726,737,5917,091,960
7,369,2656,792,1657,105,7536,795,5936,980,704
6,768,8217,132,6127,041,9166,797,8957,015,901
7,289,8827,148,64410/778,05610/778,05810/778,060
7,515,1867,567,27910/778,06210/778,06110/778,057
7,096,1997,286,8877,400,9377,474,9307,324,859
7,218,9787,245,2947,277,0857,187,3707,609,410
7,660,49010/919,3797,019,3197,593,6047,660,489
7,043,0967,148,4997,463,2507,590,31111/155,557
11/193,4817,567,24111/193,48211/193,4797,336,267
7,388,2217,577,3177,245,7607,649,52311/495,814
11/495,8237,657,1287,523,67211/495,82011/653,242
7,358,69711/829,93611/839,4947,650,1977,533,816
7,613,53311/866,3367,580,7647,580,7657,445,394
7,605,5577,055,7397,233,3206,830,1966,832,717
7,182,2477,120,8537,082,5626,843,42010/291,718
6,789,7317,057,6086,766,9446,766,9457,289,103
7,412,6517,299,9697,264,1737,108,1927,549,595
7,111,7917,077,3336,983,8787,564,6057,134,598
7,431,2196,929,1866,994,2647,017,8267,014,123
7,134,6017,150,3967,469,8307,017,8237,025,276
7,284,7017,080,7807,376,8847,334,7397,380,727
11/842,9487,542,62912/025,7467,604,18212/025,748
12/025,74912/025,75012/025,75112/025,75412/025,756
12/025,75912/025,76012/025,76112/025,76212/025,764
12/025,76512/025,76612/025,76712/025,76810/492,169
7,469,0627,359,5517,444,0217,308,1487,630,962
10/531,2297,630,5537,630,55410/510,3917,660,466
7,526,1287,630,5517,463,7797,697,7616,957,768
7,456,8207,170,4997,106,8887,123,2396,982,701
6,982,7037,227,5276,786,3976,947,0276,975,299
7,139,4317,048,1787,118,0256,839,0537,015,900
7,010,1477,133,5576,914,5937,437,6716,938,826
7,278,5667,123,2456,992,6627,190,3467,417,629
7,468,7247,382,3547,715,0357,221,78111/102,843
7,213,7567,362,3147,180,5077,263,2257,287,688
7,530,50111/753,57011/782,59611/865,71112/036,904
11/856,06111/856,06211/856,06411/856,06611/672,522
11/672,95011/672,94711/672,89111/672,95411/672,533
11/754,31011/754,32111/754,32011/754,31911/754,318
11/754,31711/754,31611/754,31511/754,31411/754,313
11/754,31211/754,31112/015,50712/015,50812/015,509
12/015,51012/015,51112/015,51212/015,5136,593,166
7,132,6796,940,0887,119,3577,307,2726,755,513
6,974,2046,409,3237,055,9306,281,9126,893,109
6,604,8106,824,2426,318,9207,210,8676,488,422
6,655,7866,457,8106,485,1356,796,7316,904,678
6,641,2537,125,1066,786,6587,097,2736,824,245
7,222,9476,918,6496,860,5816,929,3517,063,404
6,969,1507,004,6526,871,9386,905,1946,846,059
6,997,6267,303,2567,029,0986,966,6257,114,794
7,207,6467,077,4967,284,8317,357,4847,152,938
7,182,4347,182,4307,306,3177,032,9937,325,905
7,407,2597,357,4757,172,2667,258,4307,128,392
7,210,8667,306,3227,591,5297,384,1277,427,123
7,354,2087,416,2727,416,2777,357,5837,712,866
11/779,84511/782,5897,690,76111/940,3027,455,391
7,465,01412/019,5837,686,4167,517,0537,468,284
7,341,3307,372,1457,425,0527,287,8317,510,268
12/017,8186,804,0306,807,3156,771,8116,683,996
7,271,9367,304,7716,965,6917,058,2197,289,681
7,187,8077,181,0637,366,3517,471,4137,349,572
12/025,63310/727,1627,377,6087,399,0437,121,639
7,165,8247,152,94210/727,1577,181,5727,096,137
7,302,5927,278,0347,188,2827,592,82910/727,180
10/727,17910/727,19210/727,2747,707,6217,523,111
7,573,3017,660,99810/754,53610/754,93810/727,160
7,171,3237,278,6977,465,0057,360,1317,519,772
7,328,11511/749,75011/749,7497,467,8397,610,163
7,369,2706,795,2157,070,0987,154,6386,805,419
6,859,2896,977,7516,398,3326,394,5736,622,923
6,747,7606,921,14410/884,8817,092,1127,192,106
7,457,0017,173,7396,986,5607,008,0337,551,324
7,222,7807,270,3917,150,5107,525,6777,388,689
7,407,2477,398,9167,571,90611/743,6627,654,628
7,611,2207,524,01811/743,6577,556,3537,568,788
7,578,5697,677,6867,195,3287,182,42211/650,537
11/712,5407,374,2667,427,1177,448,7077,281,330
10/854,5037,328,95610/854,5097,188,9287,093,989
7,377,6097,600,84310/854,49810/854,5117,390,071
10/854,52510/854,5267,549,7157,252,3537,607,757
7,267,41710/854,5057,517,0367,275,8057,314,261
7,281,7777,290,8527,484,83110/854,52310/854,527
7,549,71810/854,5207,631,1907,557,94110/854,499
10/854,5017,266,6617,243,19310/854,51810/934,628
7,163,3457,322,6667,566,1117,434,91011/735,881
11/748,48311/74912311/766,0617,465,01611/772,235
11/778,5697,467,8367,465,0027,524,00711/937,239
7,472,9787,556,33111/961,9617,543,8086,924,907
6,712,4526,416,1606,238,0436,958,8266,812,972
6,553,4596,967,7416,956,6696,903,7666,804,026
7,259,8896,975,4297,518,6347,301,5677,576,775
7,274,4857,139,0847,173,7357,068,3947,286,182
7,086,6447,250,9777,146,2817,023,5677,136,183
7,083,2546,796,6517,061,6437,057,7586,894,810
6,995,8717,085,0107,092,1267,123,3827,061,650
7,466,3536,986,5736,974,2127,307,7567,173,737
7,557,8287,246,8687,399,0767,137,6997,576,776
7,148,9947,077,49711/176,3727,248,37611/225,158
7,306,3217,173,7297,372,60111/478,6077,426,044
11/545,5027,517,0807,468,8167,466,4527,385,713
7,585,0677,609,39711/779,8847,468,80711/872,637
7,715,0497,448,74811/544,76411/544,76511/544,772
11/544,77411/544,7757,425,04811/544,76611/544,767
7,384,1287,604,3217,722,1637,681,9707,425,047
7,413,2887,465,0337,452,0557,470,0027,722,161
7,475,9637,448,7357,465,0427,448,7397,438,399
11/293,7947,467,8537,461,9227,465,0207,722,185
7,461,91011/293,8287,270,4947,632,0327,475,961
7,547,0887,611,23911/293,81911/293,8187,681,876
11/293,81611/838,8757,703,9037,703,9007,703,901
7,722,17011/640,35911/640,36011/640,35511/679,786
11/872,7147,448,7347,425,0507,364,2637,201,468
7,360,8687,234,8027,303,2557,287,8467,156,511
10/760,2647,258,4327,097,2917,645,02510/760,248
7,083,2737,367,6477,374,3557,441,8807,547,092
10/760,2067,513,59810/760,2707,198,3527,364,264
7,303,2517,201,4707,121,6557,293,8617,232,208
7,328,9857,344,2327,083,2727,261,4007,461,914
7,431,4417,311,3877,303,25811/706,3227,517,050
7,708,39111/749,15711/779,84811/782,59011/855,152
11/855,15111/870,32711/934,7807,513,59311/951,193
12/017,3277,611,23412/036,8827,621,6207,669,961
7,331,6637,360,8617,328,9737,427,1217,407,262
7,303,2527,249,8227,537,3097,311,3827,360,860
7,364,2577,390,0757,350,8967,429,0967,384,135
7,331,6607,416,2877,488,0527,322,6847,322,685
7,311,3817,270,4057,303,2687,470,0077,399,072
7,393,0767,681,9677,588,3017,249,8337,547,098
7,703,8867,467,86011/944,4537,467,8617,658,466
12/003,95212/007,8187,712,8827,658,4797,524,016
7,490,9277,331,6617,524,0437,300,1407,357,492
7,357,4937,566,1067,380,9027,284,8167,284,845
7,255,4307,390,0807,328,9847,350,9137,322,671
7,380,9107,431,4247,470,0067,585,0547,347,534
7,441,8657,469,9897,695,1087,530,6697,556,344
7,387,3647,517,0377,467,8517,654,6387,556,348
7,581,8177,481,51811/869,6707,095,3097,556,357
7,465,02812/017,8966,854,8256,623,1066,672,707
6,575,5616,817,7006,588,8857,075,6776,428,139
6,575,5496,846,6926,425,9717,063,9936,383,833
6,955,4146,412,9086,746,1056,953,2366,412,904
7,128,3886,398,3436,652,0716,793,3236,659,590
6,676,2457,201,4606,464,3326,659,5936,478,406
6,978,6136,439,6936,502,3066,966,1116,863,369
6,428,1426,874,8686,390,5916,799,8286,896,358
7,018,0167,380,9056,328,4176,322,1946,382,779
6,629,7456,565,1936,609,7866,609,7876,439,908
6,684,5036,843,5516,764,1666,561,6177,328,967
6,557,9706,546,6287,407,2696,652,0746,820,968
7,175,2606,682,1747,303,2626,648,4536,834,932
6,682,1766,998,0626,767,0777,278,7176,755,509
7,347,5376,692,1087,407,2716,672,7097,303,263
7,086,7187,429,0976,672,7107,465,0346,669,334
7,322,6867,152,9587,281,7826,824,2467,264,336
6,669,3337,357,4896,820,9677,306,3266,736,489
7,264,3356,719,4067,222,9437,188,4197,168,166
6,974,2097,086,7196,974,2107,195,3387,252,775
7,101,0257,597,4237,533,9637,469,9957,587,823
7,587,8227,658,4727,401,9037,416,2847,722,168
11/852,9867,441,8767,543,9147,562,9667,513,607
7,533,97311/763,44011/763,44211/246,6877,645,026
7,322,6817,708,38711/246,7037,712,8847,510,267
7,465,04111/246,7127,465,0327,401,8907,401,910
7,470,01011/246,7027,431,4327,465,0377,445,317
7,549,7357,597,4257,661,8007,712,8697,712,876
7,712,85911/829,96111/829,96211/829,96311/829,966
11/829,96711/829,96811/829,96911/946,83911/946,838
11/946,8377,597,4317,156,5087,159,9727,083,271
7,165,8347,080,8947,201,4697,090,3367,156,489
7,413,2837,438,3857,083,2577,258,4227,255,423
7,219,9807,591,5337,416,2747,367,6497,118,192
7,618,1217,322,6727,077,5057,198,3547,077,504
7,614,7247,198,3557,401,8947,322,6767,152,959
7,213,9067,178,9017,222,9387,108,3537,104,629
7,455,3927,370,9397,429,0957,404,6217,261,401
7,461,9197,438,3887,328,9727,322,6737,306,324
7,306,3257,524,0217,399,0717,556,3607,303,261
7,568,7867,517,0497,549,7277,399,05311/737,080
7,467,8497,556,3497,648,22611/782,5937,404,623
11/945,15711/951,0957,461,92011/954,90611/954,949
7,645,0057,303,9307,401,4057,464,4667,464,465
11/860,53811/860,53911/860,5407,659,1417,618,842
7,638,34911/877,6677,658,9777,246,8867,128,400
7,108,3556,991,3227,287,8367,118,1977,575,298
7,364,2697,077,4936,962,4027,686,4297,147,308
7,524,0347,118,1987,168,7907,172,2707,229,155
6,830,3187,195,3427,175,2617,465,0357,108,356
7,118,2027,510,2697,134,7447,510,2707,134,743
7,182,4397,210,7687,465,0367,134,7457,156,484
7,118,2017,111,9267,431,4337,018,0217,401,901
7,468,1397,128,4027,387,3697,484,83211/490,041
7,506,9687,284,8397,246,8857,229,1567,533,970
7,467,8557,293,8587,520,5947,588,3217,258,427
7,556,3507,278,71611/603,8257,524,0287,467,856
7,469,9967,506,9637,533,9687,556,3547,524,030
7,581,8227,533,9647,549,72911/842,9507,543,916
7,717,54312/025,6217,448,7297,246,8767,431,431
7,419,2497,377,6237,328,9787,334,8767,147,306
7,261,3947,611,2187,637,5937,438,39012/017,286
7,654,64511/482,9777,491,91111/764,8087,376,273
11/756,62511/756,6267,400,76911/756,62811/756,629
7,568,62211/756,63110/944,04311/202,2517,466,440
7,249,9017,477,98711/478,5907,503,4937,156,289
7,178,7187,225,9797,380,7127,540,4297,584,402
11/084,8067,721,9487,079,7126,825,9457,330,974
6,813,0397,190,4746,987,5066,824,0447,038,797
6,980,3186,816,2747,102,7727,350,2366,681,045
6,678,4996,679,4206,963,8456,976,2206,728,000
7,110,1267,173,7226,976,0356,813,5586,766,942
6,965,4546,995,8597,088,4596,720,9857,286,113
6,922,7796,978,0196,847,8837,131,0587,295,839
7,406,4457,533,0316,959,2986,973,4507,150,404
6,965,8827,233,9247,707,0827,593,8997,175,079
7,162,2596,718,0617,464,8807,012,7106,825,956
7,451,1157,222,0987,590,5617,263,5087,031,010
6,972,8646,862,1057,009,7386,989,9116,982,807
7,518,7566,829,3876,714,6786,644,5456,609,653
6,651,87910/291,5557,293,2407,467,1857,415,668
7,044,3637,004,3906,867,8807,034,9536,987,581
7,216,2247,506,1537,162,2697,162,2227,290,210
7,293,2337,293,2346,850,9316,865,5706,847,961
10/685,5837,162,44210/685,5847,159,7847,557,944
7,404,1446,889,8967,174,0566,996,2747,162,088
7,388,9857,417,7597,362,4637,259,8847,167,270
7,388,6856,986,45910/954,1707,181,4487,590,622
7,657,5107,324,9897,231,2937,174,3297,369,261
7,295,9227,200,5917,693,82811/020,26011/020,321
11/020,3197,466,4367,347,35711/051,0327,382,482
7,602,5157,446,89311/082,94011/082,8157,389,423
7,401,2276,991,1536,991,1547,589,8547,551,305
7,322,5247,408,6707,466,43911/206,7787,571,193
11/222,9777,327,4857,428,0707,225,4027,577,428
11/349,1437,450,2647,580,69811/442,42811/454,902
7,271,93111/520,1707,430,05811/706,96411/739,032
7,421,3377,336,3897,539,93711/830,8497,460,713
11/866,39411/934,07711/951,8747,660,01112/023,860
12/023,0057,466,4357,068,3827,007,8516,957,921
6,457,8837,044,38111/203,2057,094,9107,091,344
7,122,6857,038,0667,099,0197,062,6516,789,194
6,789,1917,529,9367,278,0187,360,0897,526,647
7,467,4166,644,6426,502,6146,622,9996,669,385
6,827,1167,011,1287,416,0096,549,9356,987,573
6,727,9966,591,8846,439,7066,760,1197,295,332
7,064,8516,826,5476,290,3496,428,1556,979,075
7,132,0566,832,8286,860,5906,905,6206,786,574
6,824,2527,097,2826,997,5456,971,7346,918,652
6,978,9906,863,1057,454,6177,194,62910/791,792
6,890,0596,988,7856,830,3157,246,8817,125,102
7,028,4747,066,5756,986,2027,044,5847,210,762
7,032,9927,140,7207,207,6567,285,1707,416,275
7,008,0417,011,3907,048,8687,014,7857,131,717
7,284,8267,331,1017,182,4367,104,6317,240,993
7,290,8597,556,3587,172,2657,284,8377,066,573
7,364,2707,152,9497,334,8777,380,9137,326,357
7,156,4927,566,1107,331,6537,287,8347,637,594
7,413,6717,571,9837,284,3267,524,0277,556,352
7,604,3147,585,0507,591,5347,537,3017,588,316
7,722,16211/865,66811/874,1687,467,85012/021,086
12/015,4417,438,3916,824,2577,270,4756,971,811
6,878,5646,921,1456,890,0527,021,7476,929,345
6,811,2426,916,0876,905,1956,899,4166,883,906
6,955,4287,284,8346,932,4596,962,4107,033,008
6,962,4097,013,6417,204,5807,032,9976,998,278
7,004,5636,910,7556,969,1426,938,9947,188,935
7,380,3397,134,7406,997,5377,004,5676,916,091
7,077,5886,918,7076,923,5836,953,2956,921,221
7,001,0087,168,1677,210,7597,337,5327,331,659
7,322,6806,988,7907,192,1207,168,7897,004,577
7,052,1206,994,4267,258,4187,014,2987,328,977
7,370,9417,152,9557,097,2927,207,6577,152,944
7,147,3037,338,1477,134,6087,264,3337,093,921
7,077,5907,147,2977,377,6217,387,3637,380,908
7,387,5737,077,5077,172,6727,175,7767,086,717
7,101,0207,347,5357,201,4667,404,6207,152,967
7,182,4317,210,6667,252,3677,287,8377,467,842
7,374,6956,945,6307,018,2946,910,0146,659,447
6,648,3217,082,9806,672,5847,073,5516,830,395
7,289,7277,001,0116,880,9226,886,9156,644,787
6,641,2557,066,5806,652,0827,284,8336,666,544
6,666,5436,669,3326,984,0236,733,1046,644,793
6,723,5756,953,2356,663,2257,076,8727,059,706
7,185,9717,090,3356,854,8276,793,97410/636,258
7,222,9296,739,7017,073,8817,155,8237,219,427
7,008,5036,783,2166,883,8906,857,7267,347,952
6,641,2566,808,2536,827,4286,802,5876,997,534
6,959,9826,959,9816,886,9176,969,4736,827,425
7,007,8596,802,5946,792,7546,860,1076,786,043
6,863,3787,052,1147,001,0077,551,20110/729,157
6,948,7946,805,4356,733,1167,391,4357,008,046
6,880,9187,066,5746,983,5956,923,5277,275,800
7,163,2767,156,4956,976,7516,994,4307,014,296
7,059,7047,160,7437,175,7757,287,8397,097,283
7,140,7227,664,6477,610,2037,080,8937,093,920
7,270,4927,128,0937,052,1137,055,9347,367,729
7,278,7967,419,2507,083,2637,145,5927,025,436
7,455,3907,258,4217,396,1087,332,0517,226,147
7,448,7257,195,3397,524,0327,618,1227,284,838
7,293,8567,350,9017,604,3257,325,9017,588,327
7,467,8547,431,4257,708,3807,669,9647,465,011
7,517,0557,465,0247,347,5367,380,5807,441,873
7,506,9697,571,9727,635,1777,661,7957,370,942
7,322,6797,607,82611/779,8477,585,06611/847,240
7,527,2097,517,1647,562,96711/874,1567,669,979
7,470,0057,465,02711/961,6627,654,64212/015,157
7,568,79112/017,9267,641,3147,465,0297,597,435
7,067,0676,776,4766,880,9147,086,7096,783,217
7,147,7916,929,3527,144,0956,820,9746,918,647
6,984,0167,192,1256,824,2516,834,9396,840,600
6,786,5737,144,5196,799,8356,959,9756,959,974
7,021,7406,935,7186,938,9836,938,9917,226,145
7,140,7196,988,7887,022,2506,929,3507,011,393
7,004,5667,175,0976,948,7997,143,9447,310,157
7,029,1006,957,8117,073,7247,055,9337,077,490
7,055,9407,484,8407,234,6457,032,9997,066,576
7,229,1507,086,7287,246,8797,284,8257,140,718
7,284,8177,144,0987,044,5777,284,8247,284,827
7,189,3347,055,9357,152,8607,588,3237,591,547
7,334,8687,213,9897,341,3367,364,3777,300,141
7,114,8687,168,7967,159,9677,328,9667,152,805
7,431,4297,609,4057,133,7997,380,9127,441,875
7,152,9567,128,3997,147,3057,287,7027,325,904
7,246,8847,152,9607,380,9297,441,8677,470,003
7,465,0227,467,8597,401,8957,270,3996,857,728
6,857,7296,857,7306,989,2927,126,2166,977,189
6,982,1897,173,3327,026,1766,979,5996,812,062
6,886,7517,511,7447,471,3137,001,7936,866,369
6,946,7437,322,6756,886,9187,059,7207,306,305
7,350,8877,334,8557,360,8507,347,5176,951,390
6,981,7656,789,8816,802,5927,029,0976,799,836
7,048,3527,182,2677,025,2796,857,5716,817,539
6,830,1986,992,7917,038,8096,980,3237,148,992
7,139,0916,947,1737,101,0346,969,1446,942,319
6,827,4276,984,0216,984,0226,869,1676,918,542
7,007,8526,899,4206,918,6656,997,6256,988,840
6,984,0806,845,9786,848,6876,840,5126,863,365
7,204,5826,921,1507,128,3966,913,3477,008,819
6,935,7366,991,3177,284,8367,055,9477,093,928
7,100,8347,270,3967,187,0867,290,8567,032,825
7,086,7217,159,9687,010,4567,147,3077,111,925
7,334,8677,229,1547,458,6767,370,9387,328,994
7,341,6727,549,7247,467,8487,278,7117,290,720
7,314,2667,431,0657,357,4887,513,6047,537,323
7,287,7067,533,9677,556,3517,470,99511/785,108
7,373,0837,362,9717,597,4217,350,90611/764,778
7,556,3567,581,81511/839,5417,506,9657,549,730
7,506,96611/866,30711/866,3407,540,59111/869,722
11/869,6947,464,88111/945,2447,549,7257,581,683
7,568,79011/965,71011/962,0507,547,0937,568,775
7,556,3467,469,09612/030,7557,568,79412/036,279
7,562,962

BACKGROUND OF THE INVENTION

[0008]

The Applicant has developed a wide range of printers that employ pagewidth printheads instead of traditional reciprocating printhead designs. Pagewidth designs increase print speeds as the printhead does not traverse back and forth across the page to deposit a line of an image. The pagewidth printhead simply deposits the ink on the media as it moves past at high speeds. Such printheads have made it possible to perform full colour 1600 dpi printing at speeds in the vicinity of 60 pages per minute, speeds previously unattainable with conventional inkjet printers.

[0009]

Printing at these speeds consumes ink quickly and this gives rise to problems with supplying the printhead with enough ink. Not only are the flow rates higher but distributing the ink along the entire length of a pagewidth printhead is more complex than feeding ink to a relatively small reciprocating printhead.

[0010]

Printhead integrated circuits are typically attached to an ink manifold using an adhesive film. It would be desirable to provide a film, which optimizes this attachment process so as to provide an printhead assembly exhibiting minimal ink leakages.

SUMMARY OF THE INVENTION

[0011]

In a first aspect the present invention provides a laminated film for attachment of one or more printhead integrated circuits to an ink supply manifold, said film having a plurality of ink supply holes defined therein, said laminated film comprising:

    • a central polymeric film;
    • a first adhesive layer for bonding a first side of said film to said ink supply manifold; and
    • a second adhesive layer for bonding a second side of said film to said one or more printhead integrated circuits, said central polymeric film being sandwiched between said first and second adhesive layers,
      wherein a first melt temperature of said first adhesive layer is at least 10° C. less than a second melt temperature of said second adhesive layer.

[0015]

Optionally, said first melt temperature is at least 20° C. less than said second melt temperature.

[0016]

Optionally, said central polymeric film is a polyimide film.

[0017]

Optionally, said first and second adhesive layers are epoxy films.

[0018]

Optionally, a total thickness of said film is in the range of 40 to 200 microns.

[0019]

Optionally, said central polymeric film has a thickness in the range of 20 to 100 microns.

[0020]

Optionally, said first and second adhesive layers each have a thickness in the range of 10 to 50 microns.

[0021]

Optionally, each ink supply hole has a length dimension in the range of 50 to 500 microns, and a width dimension in the range of 50 to 500 microns.

[0022]

In a further aspect there is provided a film package comprising:

    • the laminated film for attachment of one or more printhead integrated circuits to an ink supply manifold, said film having a plurality of ink supply holes defined therein, said laminated film comprising:
    • a central polymeric film;
    • a first adhesive layer for bonding a first side of said film to said ink supply manifold; and
    • a second adhesive layer for bonding a second side of said film to said one or more printhead integrated circuits, said central polymeric film being sandwiched between said first and second adhesive layers,
      wherein a first melt temperature of said first adhesive layer is at least 10° C. less than a second melt temperature of said second adhesive layer.
      ; and
    • first and second protective liners, each of said liners being removeably attached to a respective adhesive layer.

[0028]

Optionally, each protective liner is a polyester film.

[0029]

In another aspect the present invention provides a printhead assembly comprising:

    • an ink manifold having a plurality of ink outlets defined in a manifold bonding surface;
    • one or more printhead integrated circuits, each printhead integrated circuit having a plurality of ink inlets defined in a printhead bonding surface; and
    • a laminated film sandwiched between said manifold bonding surface and said one or more printhead bonding surfaces, said film having a plurality of ink supply holes defined therein, each ink supply hole being aligned with a respective ink outlet and an ink inlet, said laminated film comprising:
      • a central polymeric film;
      • a first adhesive layer bonded to said manifold bonding surface; and
      • a second adhesive layer bonded to said one or more printhead bonding surfaces, said central polymeric film being sandwiched between said first and second adhesive layers,
        wherein a first melt temperature of said first adhesive layer is at least 10° C. less than a second melt temperature of said second adhesive layer.

[0036]

Optionally, each ink supply hole is substantially free of any adhesive.

[0037]

Optionally, said first and second adhesive layers each have a uniform thickness along a longitudinal extent of said printhead assembly.

[0038]

Optionally, a first bonding surface of said first adhesive layer and a second bonding surface of said second adhesive layer are uniformly planar along a longitudinal extent of said printhead assembly.

[0039]

Optionally, the printhead assembly comprising a plurality of printhead integrated circuits butted end on end along a longitudinal extent of said ink supply manifold.

[0040]

Optionally, said plurality of printhead integrated circuits define a printhead having a uniformly planar ink ejection face.

[0041]

Optionally, said printhead assembly exhibits a leakage rate of less than 5 mm3per minute when charged with air at 10 kPa, said leakage rate being measured after soaking said printhead assembly in ink at 90° C. for one week.

[0042]

Optionally, a plurality of ink inlets are defined by an ink supply channel extending longitudinally along said printhead bonding surface, and wherein a plurality of ink supply holes are aligned with one ink supply channel, each of said plurality of ink supply holes being spaced apart longitudinally along said ink supply channel.

[0043]

Optionally, said ink supply manifold is an LCP molding.

[0044]

In another aspect there is provided a pagewidth printer comprising a stationary printhead assembly comprising:

    • an ink manifold having a plurality of ink outlets defined in a manifold bonding surface;
    • one or more printhead integrated circuits, each printhead integrated circuit having a plurality of ink inlets defined in a printhead bonding surface; and
    • a laminated film sandwiched between said manifold bonding surface and said one or more printhead bonding surfaces, said film having a plurality of ink supply holes defined therein, each ink supply hole being aligned with a respective ink outlet and an ink inlet, said laminated film comprising:
      • a central polymeric film;
      • a first adhesive layer bonded to said manifold bonding surface; and
      • a second adhesive layer bonded to said one or more printhead bonding surfaces, said central polymeric film being sandwiched between said first and second adhesive layers,
        wherein a first melt temperature of said first adhesive layer is at least 10° C. less than a second melt temperature of said second adhesive layer.

[0051]

In a second aspect the present invention provides a method of attaching one or more printhead integrated circuits to an ink supply manifold, said method comprising the steps of:

    • (a) providing a laminated film having a plurality of ink supply holes defined therein, said laminated film comprising a central polymeric film sandwiched between first and second adhesive layers, wherein a first melt temperature of said first adhesive layer is at least 10° C. less than a second melt temperature of said second adhesive layer;
    • (b) aligning said film with said ink supply manifold such that each ink supply hole is aligned with a respective ink outlet defined in a manifold bonding surface of said ink supply manifold;
    • (b) bonding said first adhesive layer to said manifold bonding surface by applying heat and pressure to an opposite side of said film;
    • (c) aligning said one or more printhead integrated circuits with said film such that each ink supply hole is aligned with an ink inlet defined in a printhead bonding surface of each printhead integrated circuit; and
    • (d) bonding said one or more printhead integrated circuits to said second adhesive layer.

[0057]

Optionally, in step (b), said second adhesive layer is protected by a removeable protective liner.

[0058]

Optionally, said protective liner is removed prior to step (c).

[0059]

Optionally, in step (b), said first adhesive layer reaches its melt temperature and said second adhesive layer does not reach its melt temperature.

[0060]

Optionally, said first melt temperature is at least 20° C. less than said second melt temperature.

[0061]

Optionally, in step (b), the applied heat corresponds to said first melt temperature.

[0062]

Optionally, substantially no adhesive flows into said ink supply holes during at least step (b).

[0063]

Optionally, step (c) comprises the step of optically locating a centroid of each ink supply hole, wherein said locating step is facilitated by the absence of adhesive from said ink supply holes.

[0064]

Optionally, each ink supply hole has a length dimension in the range of 50 to 500 microns, and a width dimension in the range of 50 to 500 microns.

[0065]

Optionally, said laminated film maintains its structural integrity after step (b), such that said second adhesive layer maintains a uniform thickness along its longitudinal extent.

[0066]

Optionally, said laminated film maintains its structural integrity after step (b), such that a second bonding surface defined by said second adhesive layer maintains uniform planarity along its longitudinal extent.

[0067]

Optionally, step (d) comprises heating each printhead integrated circuit and positioning each heated printhead integrated circuit on said second bonding surface.

[0068]

Optionally, an adhesive bonding time in step (d) is less than 2 seconds by virtue of said uniform planarity of said second bonding surface.

[0069]

Optionally, a plurality of printhead integrated circuits are individually aligned and bonded to said second adhesive layer, said plurality being positioned such that they butt together end on end along a longitudinal extent of said ink supply manifold.

[0070]

Optionally, a plurality of ink inlets are defined by an ink supply channel extending longitudinally along said printhead bonding surface, and wherein a plurality of ink supply holes are aligned with one ink supply channel, each of said plurality of ink supply holes being spaced apart longitudinally along said ink supply channel.

[0071]

Optionally, said central polymeric film is a polyimide film.

[0072]

Optionally, said first and second adhesive layers are epoxy films.

[0073]

Optionally, a total thickness of said laminated film is in the range of 40 to 200 microns.

[0074]

Optionally, said central polymeric film has a thickness in the range of 20 to 100 microns.

[0075]

Optionally, said first and second adhesive layers each have a thickness in the range of 10 to 50 microns.

[0076]

In a third aspect the present invention provides a printhead assembly comprising:

    • an ink manifold having a plurality of ink outlets defined in a manifold bonding surface;
    • one or more printhead integrated circuits, each printhead integrated circuit having a plurality of ink inlets defined in a printhead bonding surface; and
    • an adhesive film sandwiched between said manifold bonding surface and said one or more printhead bonding surfaces, said film having a plurality of ink supply holes
    • defined therein, each ink supply hole being aligned with an ink outlet and an ink inlet,
      wherein said printhead assembly exhibits a leakage rate of less than 10 mm3per minute when charged with air at 10 kPa, said leakage rate being measured after soaking said printhead assembly in ink at 90° C. for one week.

[0081]

Optionally, said leakage rate is less than 1 mm3per minute.

[0082]

Optionally, said leakage rate is less than 0.2 mm3per minute.

[0083]

Optionally, each ink supply hole is substantially free of any adhesive.

[0084]

Optionally, each ink supply hole has a length dimension in the range of 50 to 500 microns, and a width dimension in the range of 50 to 500 microns.

[0085]

Optionally, a total thickness of said adhesive film is in the range of 40 to 200 microns.

[0086]

Optionally, said ink supply manifold is an LCP molding.

[0087]

In a further aspect there is provided a printhead assembly comprising a plurality of printhead integrated circuits butted end on end along a longitudinal extent of said ink supply manifold.

[0088]

Optionally, a plurality of ink inlets are defined by an ink supply channel extending longitudinally along said printhead bonding surface, and wherein a plurality of ink supply holes are aligned with one ink supply channel, each of said plurality of ink supply holes being spaced apart longitudinally along said ink supply channel.

[0089]

Optionally, each printhead bonding surface has a plurality of ink supply channels defined therein, each ink supply channel defining a plurality of ink inlets.

[0090]

Optionally, said adhesive film is a laminated film comprising:

    • a central polymeric film;
    • a first adhesive layer bonded to said manifold bonding surface; and
    • a second adhesive layer bonded to said one or more printhead bonding surfaces,
    • said central polymeric web being sandwiched between said first and second adhesive layers.

[0095]

Optionally, a first melt temperature of said first adhesive layer is at least 10° C. less than a second melt temperature of said second adhesive layer.

[0096]

Optionally, said first and second adhesive layers each have a uniform thickness along a longitudinal extent of said printhead assembly.

[0097]

Optionally, a first bonding surface of said first adhesive layer and a second bonding surface of said second adhesive layer are uniformly planar along a longitudinal extent of said printhead assembly.

[0098]

Optionally, said central polymeric film is a polyimide film.

[0099]

Optionally, said first and second adhesive layers are epoxy films.

[0100]

Optionally, said central polymeric film has a thickness in the range of 20 to 100 microns.

[0101]

Optionally, said first and second adhesive layers each have a thickness in the range of 10 to 50 microns.

[0102]

In another aspect there is provided the printhead assembly which is a pagewidth printhead assembly.

[0103]

In a further aspect the present invention provides a pagewidth printer comprising a stationary printhead assembly comprising:

    • an ink manifold having a plurality of ink outlets defined in a manifold bonding surface;
    • one or more printhead integrated circuits, each printhead integrated circuit having a plurality of ink inlets defined in a printhead bonding surface; and
    • an adhesive film sandwiched between said manifold bonding surface and said one or more printhead bonding surfaces, said film having a plurality of ink supply holes defined therein, each ink supply hole being aligned with an ink outlet and an ink inlet,
      wherein said printhead assembly exhibits a leakage rate of less than 10 mm3per minute when charged with air at 10 kPa, said leakage rate being measured after soaking said printhead assembly in ink at 90° C. for one week.

BRIEF DESCRIPTION OF THE DRAWINGS

[0107]

Embodiments of the invention will now be described by way of example only with reference to the accompanying drawings, in which:

[0108]

FIG. 1 is a front and side perspective of a printer embodying the present invention;

[0109]

FIG. 2 shows the printer of FIG. 1 with the front face in the open position;

[0110]

FIG. 3 shows the printer of FIG. 2 with the printhead cartridge removed;

[0111]

FIG. 4 shows the printer of FIG. 3 with the outer housing removed;

[0112]

FIG. 5 shows the printer of FIG. 3 with the outer housing removed and printhead cartridge installed;

[0113]

FIG. 6 is a schematic representation of the printer's fluidic system;

[0114]

FIG. 7 is a top and front perspective of the printhead cartridge;

[0115]

FIG. 8 is a top and front perspective of the printhead cartridge in its protective cover;

[0116]

FIG. 9 is a top and front perspective of the printhead cartridge removed from its protective cover;

[0117]

FIG. 10 is a bottom and front perspective of the printhead cartridge;

[0118]

FIG. 11 is a bottom and rear perspective of the printhead cartridge;

[0119]

FIG. 12 shows the elevations of all sides of the printhead cartridge;

[0120]

FIG. 13 is an exploded perspective of the printhead cartridge;

[0121]

FIG. 14 is a transverse section through the ink inlet coupling of the printhead cartridge;

[0122]

FIG. 15 is an exploded perspective of the ink inlet and filter assembly;

[0123]

FIG. 16 is a section view of the cartridge valve engaged with the printer valve;

[0124]

FIG. 17 is a perspective of the LCP molding and flex PCB;

[0125]

FIG. 18 is an enlargement of inset A shown in FIG. 17;

[0126]

FIG. 19 is an exploded bottom perspective of the LCP/flex PCB/printhead IC assembly;

[0127]

FIG. 20 is an exploded top perspective of the LCP/flex PCB/printhead IC assembly;

[0128]

FIG. 21 is an enlarged view of the underside of the LCP/flex PCB/printhead IC assembly;

[0129]

FIG. 22 shows the enlargement of FIG. 21 with the printhead ICs and the flex PCB removed;

[0130]

FIG. 23 shows the enlargement of FIG. 22 with the printhead IC attach film removed;

[0131]

FIG. 24 shows the enlargement of FIG. 23 with the LCP channel molding removed;

[0132]

FIG. 25 shows the printhead ICs with back channels and nozzles superimposed on the ink supply passages;

[0133]

FIG. 26 in an enlarged transverse perspective of the LCP/flex PCB/printhead IC assembly;

[0134]

FIG. 27 is a plan view of the LCP channel molding;

[0135]

FIGS. 28A and 28B are schematic section views of the LCP channel molding priming without a weir;

[0136]

FIGS. 29A, 29B and 29C are schematic section views of the LCP channel molding priming with a weir;

[0137]

FIG. 30 in an enlarged transverse perspective of the LCP molding with the position of the contact force and the reaction force;

[0138]

FIG. 31 shows a reel of the IC attachment film;

[0139]

FIG. 32 shows a section of the IC attach film between liners;

[0140]

FIG. 33A-C are partial sections showing various stages of traditional laser-drilling of an attachment film; and

[0141]

FIGS. 34A-C are partial sections showing various stages of double laser-drilling of an attachment film;

[0142]

FIGS. 35A-D are longitudinal sections of a schematic printhead IC attachment process;

[0143]

FIGS. 36A and 36B are photographs of ink supply holes in two different attachment films after a first bonding step; and

[0144]

FIGS. 37A and 37B are longitudinal sections of a schematic printhead IC attachment process in accordance with the present invention.

DETAILED DESCRIPTION OF THE PREFERRED EMBODIMENTS

[0000]

Overview

[0145]

FIG. 1 shows a printer 2 embodying the present invention. The main body 4 of the printer supports a media feed tray 14 at the back and a pivoting face 6 at the front. FIG. 1 shows the pivoting face 6 closed such that the display screen 8 is its upright viewing position. Control buttons 10 extend from the sides of the screen 8 for convenient operator input while viewing the screen. To print, a single sheet is drawn from the media stack 12 in the feed tray 14 and fed past the printhead (concealed within the printer). The printed sheet 16 is delivered through the printed media outlet slot 18.

[0146]

FIG. 2 shows the pivoting front face 6 open to reveal the interior of the printer 2. Opening the front face of the printer exposes the printhead cartridge 96 installed within. The printhead cartridge 96 is secured in position by the cartridge engagement cams 20 that push it down to ensure that the ink coupling (described later) is fully engaged and the printhead ICs (described later) are correctly positioned adjacent the paper feed path. The cams 20 are manually actuated by the release lever 24. The front face 6 will not close, and hence the printer will not operate, until the release lever 24 is pushed down to fully engage the cams. Closing the pivoting face 6 engages the printer contacts 22 with the cartridge contacts 104.

[0147]

FIG. 3 shows the printer 2 with the pivoting face 6 open and the printhead cartridge 96 removed. With the pivoting face 6 tilted forward, the user pulls the cartridge release lever 24 up to disengage the cams 20. This allows the handle 26 on the cartridge 96 to be gripped and pulled upwards. The upstream and downstream ink couplings 112A and 112B disengage from the printer conduits 142. This is described in greater detail below. To install a fresh cartridge, the process is reversed. New cartridges are shipped and sold in an unprimed condition. So to ready the printer for printing, the active fluidics system (described below) uses a downstream pump to prime the cartridge and printhead with ink.

[0148]

In FIG. 4, the outer casing of the printer 2 has been removed to reveal the internals. A large ink tank 60 has separate reservoirs for all four different inks. The ink tank 60 is itself a replaceable cartridge that couples to the printer upstream of the shut off valve 66 (see FIG. 6). There is also a sump 92 for ink drawn out of the cartridge 96 by the pump 62. The printer fluidics system is described in detail with reference to FIG. 6. Briefly, ink from the tank 60 flows through the upstream ink lines 84 to the shut off valves 66 and on to the printer conduits 142. As shown in FIG. 5, when the cartridge 96 is installed, the pump 62 (driven by motor 196) can draw ink into the LCP molding 64 (see FIGS. 6 and 17 to 20) so that the printhead ICs 68 (again, see FIGS. 6 and 17 to 20) prime by capillary action. Excess ink drawn by the pump 62 is fed to a sump 92 housed with the ink tanks 60.

[0149]

The total connector force between the cartridge contacts 104 and the printer contacts 22 is relatively high because of the number of contacts used. In the embodiment shown, the total contact force is 45 Newtons. This load is enough to flex and deform the cartridge. Turning briefly to FIG. 30, the internal structure of the chassis molding 100 is shown. The bearing surface 28 shown in FIG. 3 is schematically shown in FIG. 30. The compressive load of the printer contacts on the cartridge contacts 104 is represented with arrows. The reaction force at the bearing surface 28 is likewise represented with arrows. To maintain the structural integrity of the cartridge 96, the chassis molding 100 has a structural member 30 that extends in the plane of the connector force. To keep the reaction force acting in the plane of the connector force, the chassis also has a contact rib 32 that bears against the bearing surface 28. This keeps the load on the structural member 30 completely compressive to maximize the stiffness of the cartridge and minimize any flex.

[0000]

Print Engine Pipeline

[0150]

The print engine pipeline is a reference to the printer's processing of print data received from an external source and outputted to the printhead for printing. The print engine pipeline is described in detail in U.S. Ser. No. 11/014,769 filed Dec. 20, 2004, the disclosure of which is incorporated herein by reference.

[0000]

Fluidic System

[0151]

Traditionally printers have relied on the structure and components within the printhead, cartridge and ink lines to avoid fluidic problems. Some common fluidic problems are deprimed or dried nozzles, outgassing bubble artifacts and color mixing from cross contamination. Optimizing the design of the printer components to avoid these problems is a passive approach to fluidic control. Typically, the only active component used to correct these were the nozzle actuators themselves. However, this is often insufficient and or wastes a lot of ink in the attempt to correct the problem. The problem is exacerbated in pagewidth printheads because of the length and complexity of the ink conduits supplying the printhead ICs.

[0152]

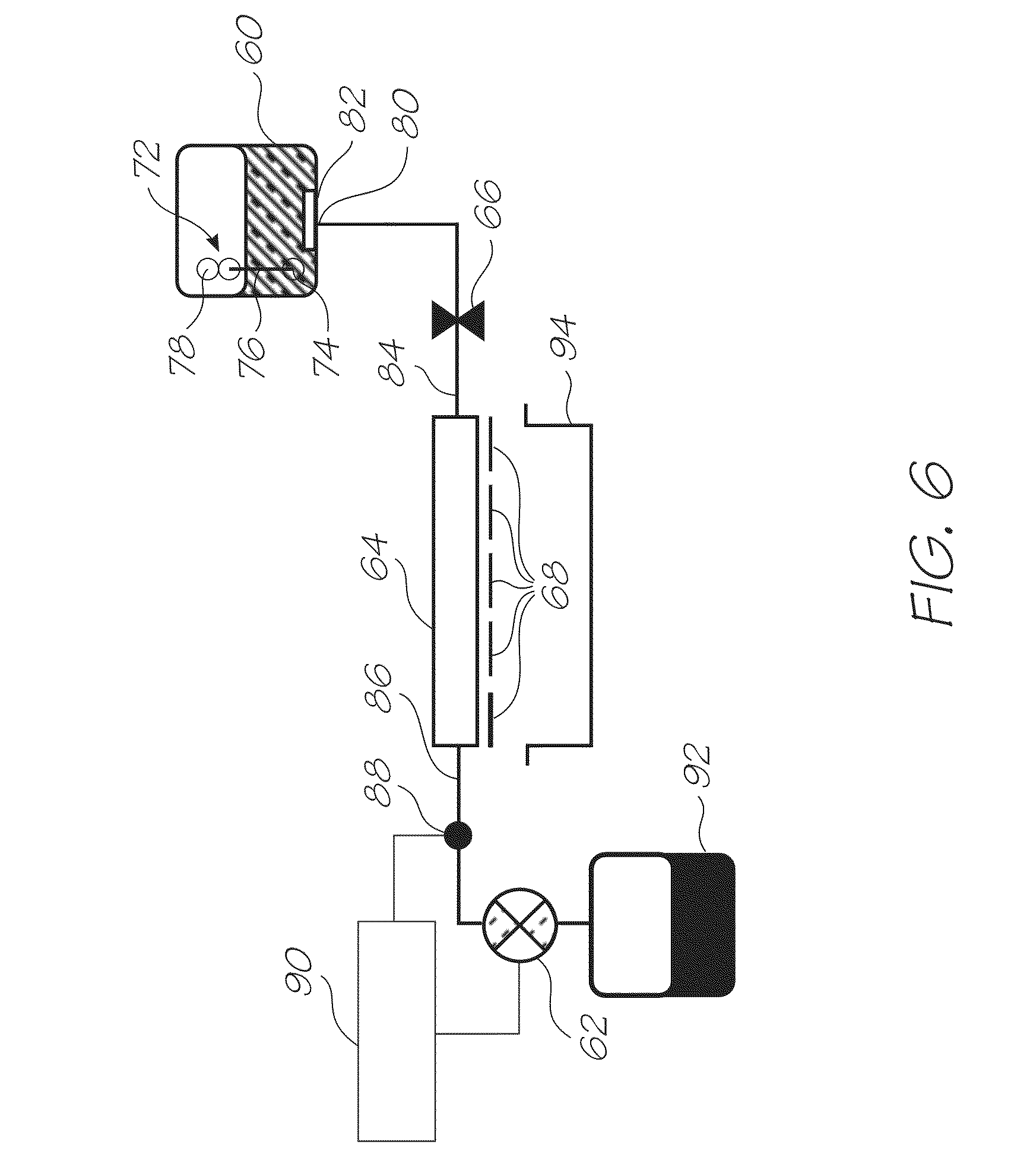
The Applicant has addressed this by developing an active fluidic system for the printer. Several such systems are described in detail in U.S. Ser. No. 11/677,049 the contents of which are incorporated herein by reference. FIG. 6 shows one of the single pump implementations of the active fluidic system which would be suitable for use with the printhead described in the present specification.

[0153]

The fluidic architecture shown in FIG. 6 is a single ink line for one color only. A color printer would have separate lines (and of course separate ink tanks 60) for each ink color. As shown in FIG. 6, this architecture has a single pump 62 downstream of the LCP molding 64, and a shut off valve 66 upstream of the LCP molding. The LCP molding supports the printhead IC's 68 via the adhesive IC attach film 174 (see FIG. 25). The shut off valve 66 isolates the ink in the ink tank 60 from the printhead IC's 66 whenever the printer is powered down. This prevents any color mixing at the printhead IC's 68 from reaching the ink tank 60 during periods of inactivity. These issues are discussed in more detail in the cross referenced specification U.S. Ser. No. 11/677,049.

[0154]

The ink tank 60 has a venting bubble point pressure regulator 72 for maintaining a relatively constant negative hydrostatic pressure in the ink at the nozzles. Bubble point pressure regulators within ink reservoirs are comprehensively described in co-pending U.S. Ser. No. 11/640,355 incorporated herein by reference. However, for the purposes of this description the regulator 72 is shown as a bubble outlet 74 submerged in the ink of the tank 60 and vented to atmosphere via sealed conduit 76 extending to an air inlet 78. As the printhead IC's 68 consume ink, the pressure in the tank 60 drops until the pressure difference at the bubble outlet 74 sucks air into the tank. This air forms a forms a bubble in the ink which rises to the tank's headspace. This pressure difference is the bubble point pressure and will depend on the diameter (or smallest dimension) of the bubble outlet 74 and the Laplace pressure of the ink meniscus at the outlet which is resisting the ingress of the air.

[0155]

The bubble point regulator uses the bubble point pressure needed to generate a bubble at the submerged bubble outlet 74 to keep the hydrostatic pressure at the outlet substantially constant (there are slight fluctuations when the bulging meniscus of air forms a bubble and rises to the headspace in the ink tank). If the hydrostatic pressure at the outlet is at the bubble point, then the hydrostatic pressure profile in the ink tank is also known regardless of how much ink has been consumed from the tank. The pressure at the surface of the ink in the tank will decrease towards the bubble point pressure as the ink level drops to the outlet. Of course, once the outlet 74 is exposed, the head space vents to atmosphere and negative pressure is lost. The ink tank should be refilled, or replaced (if it is a cartridge) before the ink level reaches the bubble outlet 74.

[0156]

The ink tank 60 can be a fixed reservoir that can be refilled, a replaceable cartridge or (as disclosed in RRC001US incorporated by reference) a refillable cartridge. To guard against particulate fouling, the outlet 80 of the ink tank 60 has a coarse filter 82. The system also uses a fine filter at the coupling to the printhead cartridge. As filters have a finite life, replacing old filters by simply replacing the ink cartridge or the printhead cartridge is particularly convenient for the user. If the filters are separate consumable items, regular replacement relies on the user's diligence.

[0157]

When the bubble outlet 74 is at the bubble point pressure, and the shut off valve 66 is open, the hydrostatic pressure at the nozzles is also constant and less than atmospheric. However, if the shut off valve 66 has been closed for a period of time, outgassing bubbles may form in the LCP molding 64 or the printhead IC's 68 that change the pressure at the nozzles. Likewise, expansion and contraction of the bubbles from diurnal temperature variations can change the pressure in the ink line 84 downstream of the shut off valve 66. Similarly, the pressure in the ink tank can vary during periods of inactivity because of dissolved gases coming out of solution.

[0158]

The downstream ink line 86 leading from the LCP 64 to the pump 62 can include an ink sensor 88 linked to an electronic controller 90 for the pump. The sensor 88 senses the presence or absence of ink in the downstream ink line 86. Alternatively, the system can dispense with the sensor 88, and the pump 62 can be configured so that it runs for an appropriate period of time for each of the various operations. This may adversely affect the operating costs because of increased ink wastage.

[0159]

The pump 62 feeds into a sump 92 (when pumping in the forward direction). The sump 92 is physically positioned in the printer so that it is less elevated than the printhead ICs 68. This allows the column of ink in the downstream ink line 86 to ‘hang’ from the LCP 64 during standby periods, thereby creating a negative hydrostatic pressure at the printhead ICs 68. A negative pressure at the nozzles draws the ink meniscus inwards and inhibits color mixing. Of course, the peristaltic pump 62 needs to be stopped in an open condition so that there is fluid communication between the LCP 64 and the ink outlet in the sump 92.

[0160]

Pressure differences between the ink lines of different colors can occur during periods of inactivity. Furthermore, paper dust or other particulates on the nozzle plate can wick ink from one nozzle to another. Driven by the slight pressure differences between each ink line, color mixing can occur while the printer is inactive. The shut off valve 66 isolates the ink tank 60 from the nozzle of the printhead IC's 68 to prevent color mixing extending up to the ink tank 60. Once the ink in the tank has been contaminated with a different color, it is irretrievable and has to be replaced.

[0161]

The capper 94 is a printhead maintenance station that seals the nozzles during standby periods to avoid dehydration of the printhead ICs 68 as well as shield the nozzle plate from paper dust and other particulates. The capper 94 is also configured to wipe the nozzle plate to remove dried ink and other contaminants Dehydration of the printhead ICs 68 occurs when the ink solvent, typically water, evaporates and increases the viscosity of the ink. If the ink viscosity is too high, the ink ejection actuators fail to eject ink drops. Should the capper seal be compromised, dehydrated nozzles can be a problem when reactivating the printer after a power down or standby period.

[0162]

The problems outlined above are not uncommon during the operative life of a printer and can be effectively corrected with the relatively simple fluidic architecture shown in FIG. 6. It also allows the user to initially prime the printer, deprime the printer prior to moving it, or restore the printer to a known print ready state using simple trouble-shooting protocols. Several examples of these situations are described in detail in the above referenced U.S. Ser. No. 11/677,049.

[0000]

Printhead Cartridge

[0163]

The printhead cartridge 96 is shown in FIGS. 7 to 16A. FIG. 7 shows the cartridge 96 in its assembled and complete form. The bulk of the cartridge is encased in the cartridge chassis 100 and the chassis lid 102. A window in the chassis 100 exposes the cartridge contacts 104 that receive data from the print engine controller in the printer.

[0164]

FIGS. 8 and 9 show the cartridge 96 with its snap on protective cover 98. The protective cover 98 prevents damaging contact with the electrical contacts 104 and the printhead IC's 68 (see FIG. 10). The user can hold the top of the cartridge 96 and remove the protective cover 98 immediately prior to installation in the printer.

[0165]

FIG. 10 shows the underside and ‘back’ (with respect to the paper feed direction) of the printhead cartridge 96. The printhead contacts 104 are conductive pads on a flexible printed circuit board 108 that wraps around a curved support surface (discussed below in the description relating to the LCP moulding) to a line of wire bonds 110 at one side if the printhead IC's 68. On the other side of the printhead IC's 68 is a paper shield 106 to prevent direct contact with the media substrate.

[0166]

FIG. 11 shows the underside and the ‘front’ of the printhead cartridge 96. The front of the cartridge has two ink couplings 112A and 112B at either end. Each ink coupling has four cartridge valves 114. When the cartridge is installed in the printer, the ink couplings 112A and 112B engage complementary ink supply interfaces (described in more detail below). The ink supply interfaces have printer conduits 142 which engage and open the cartridge valves 114. One of the ink couplings 112A is the upstream ink coupling and the other is the downstream coupling 112B. The upstream coupling 112A establishes fluid communication between the printhead IC's 68 and the ink supply 60 (see FIG. 6) and the downstream coupling 112B connects to the sump 92 (refer FIG. 6 again).

[0167]

The various elevations of the printhead cartridge 96 are shown in FIG. 12. The plan view of the cartridge 96 also shows the location of the section views shown in FIGS. 14, 15 and 16.

[0168]

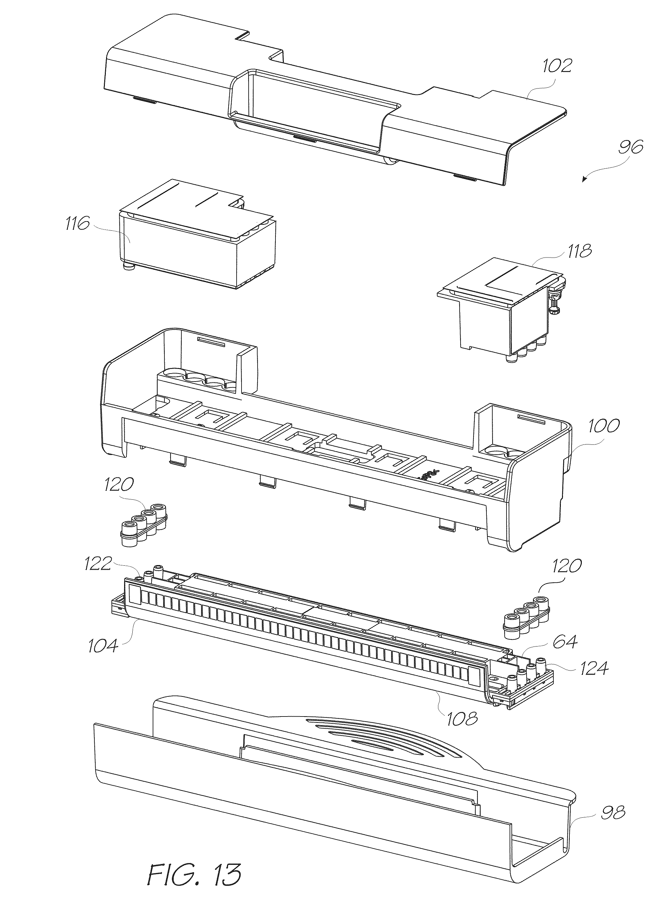
FIG. 13 is an exploded perspective of the cartridge 96. The LCP molding 64 attaches to the underside of the cartridge chassis 100. In turn the flex PCB 108 attaches to the underside of the LCP molding 64 and wraps around one side to expose the printhead contacts 104. An inlet manifold and filter 116 and outlet manifold 118 attach to the top of the chassis 100. The inlet manifold and filter 116 connects to the LCP inlets 122 via elastomeric connectors 120. Likewise the LCP outlets 124 connect to the outlet manifold 118 via another set of elastomeric connectors 120. The chassis lid 102 encases the inlet and outlet manifolds in the chassis 100 from the top and the removable protective cover 98 snaps over the bottom to protect the contacts 104 and the printhead IC's (see FIG. 11).

[0000]

Inlet and Filter Manifold

[0169]

FIG. 14 is an enlarged section view taken along line 14-14 of FIG. 12. It shows the fluid path through one of the cartridge valves 114 of the upstream coupling 112A to the LCP molding 64. The cartridge valve 114 has an elastomeric sleeve 126 that is biased into sealing engagement with a fixed valve member 128. The cartridge valve 114 is opened by the printer conduit 142 (see FIG. 16) by compressing the elastomeric sleeve 126 such that it unseats from the fixed valve member 128 and allows ink to flow up to a roof channel 138 along the top of the inlet and filter manifold 116. The roof channel 138 leads to an upstream filter chamber 132 that has one wall defined by a filter membrane 130. Ink passes through the filter membrane 130 into the downstream filter chamber 134 and out to the LCP inlet 122. From there filtered ink flows along the LCP main channels 136 to feed into the printhead IC's (not shown).

[0170]

Particular features and advantages of the inlet and filter manifold 116 will now be described with reference to FIG. 15. The exploded perspective of FIG. 15 best illustrates the compact design of the inlet and filter manifold 116. There are several aspects of the design that contribute to its compact form. Firstly, the cartridge valves are spaced close together. This is achieved by departing from the traditional configuration of self-sealing ink valves. Previous designs also used an elastomeric member biased into sealing engagement with a fixed member. However, the elastomeric member was either a solid shape that the ink would flow around, or in the form of a diaphragm if the ink flowed through it.

[0171]

In a cartridge coupling, it is highly convenient for the cartridge valves to automatically open upon installation. This is most easily and cheaply provided by a coupling in which one valve has an elastomeric member which is engaged by a rigid member on the other valve. If the elastomeric member is in a diaphragm form, it usually holds itself against the central rigid member under tension. This provides an effective seal and requires relatively low tolerances. However, it also requires the elastomer element to have a wide peripheral mounting. The width of the elastomer will be a trade-off between the desired coupling force, the integrity of the seal and the material properties of the elastomer used.

[0172]

As best shown in FIG. 16, the cartridge valves 114 of the present invention use elastomeric sleeves 126 that seal against the fixed valve member 128 under residual compression. The valve 114 opens when the cartridge is installed in the printer and the conduit end 148 of the printer valve 142 further compresses the sleeve 126. The collar 146 unseals from the fixed valve member 128 to connect the LCP 64 into the printer fluidic system (see FIG. 6) via the upstream and downstream ink coupling 112A and 112B. The sidewall of the sleeve is configured to bulge outwardly as collapsing inwardly can create a flow obstruction. As shown in FIG. 16, the sleeve 126 has a line of relative weakness around its mid-section that promotes and directs the buckling process. This reduces the force necessary to engage the cartridge with the printer, and ensures that the sleeve buckles outwardly.

[0173]

The coupling is configured for ‘no-drip’ disengagement of the cartridge from the printer. As the cartridge is pulled upwards from the printer the elastomeric sleeve 126 pushes the collar 146 to seal against the fixed valve member 128. Once the sleeve 126 has sealed against the valve member 128 (thereby sealing the cartridge side of the coupling), the sealing collar 146 lifts together with the cartridge. This unseals the collar 146 from the end of the conduit 148. As the seal breaks an ink meniscus forms across the gap between the collar and the end of the conduit 148. The shape of the end of the fixed valve member 128 directs the meniscus to travel towards the middles of its bottom surface instead of pinning to a point. At the middle of the rounded bottom of the fixed valve member 128, the meniscus is driven to detach itself from the now almost horizontal bottom surface. To achieve the lowest possible energy state, the surface tension drives the detachment of the meniscus from the fixed valve member 128. The bias to minimize meniscus surface area is strong and so the detachment is complete with very little, if any, ink remaining on the cartridge valve 114. Any remaining ink is not enough a drop that can drip and stain prior to disposal of the cartridge.

[0174]

When a fresh cartridge is installed in the printer, the air in conduit 150 will be entrained into the ink flow 152 and ingested by the cartridge. In light of this, the inlet manifold and filter assembly have a high bubble tolerance. Referring back to FIG. 15, the ink flows through the top of the fixed valve member 128 and into the roof channel 138. Being the most elevated point of the inlet manifold 116, the roof channels can trap the bubbles. However, bubbles may still flow into the filter inlets 158. In this case, the filter assembly itself is bubble tolerant.

[0175]

Bubbles on the upstream side of the filter member 130 can affect the flow rate—they effectively reduce the wetted surface area on the dirty side of the filter membrane 130. The filter membranes have a long rectangular shape so even if an appreciable number of bubbles are drawn into the dirty side of the filter, the wetted surface area remains large enough to filter ink at the required flow rate. This is crucial for the high speed operation offered by the present invention.

[0176]

While the bubbles in the upstream filter chamber 132 can not cross the filter membrane 130, bubbles from outgassing may generate bubbles in the downstream filter chamber 134. The filter outlet 156 is positioned at the bottom of the downstream filter chamber 134 and diagonally opposite the inlet 158 in the upstream chamber 132 to minimize the effects of bubbles in either chamber on the flow rate.

[0177]

The filters 130 for each color are vertically stacked closely side-by-side. The partition wall 162 partially defines the upstream filter chamber 132 on one side, and partially defines the downstream chamber 134 of the adjacent color on the other side. As the filter chambers are so thin (for compact design), the filter membrane 130 can be pushed against the opposing wall of the downstream filter chamber 134. This effectively reduces the surface are of the filter membrane 130. Hence it is detrimental to maximum flowrate. To prevent this, the opposing wall of the downstream chamber 134 has a series of spacer ribs 160 to keep the membrane 130 separated from the wall.

[0178]

Positioning the filter inlet and outlet at diagonally opposed corners also helps to purge the system of air during the initial prime of the system.

[0179]

To reduce the risk of particulate contamination of the printhead, the filter membrane 130 is welded to the downstream side of a first partition wall before the next partition wall 162 is welded to the first partition wall. In this way, any small pieces of filter membrane 130 that break off during the welding process, will be on the ‘dirty’ side of the filter 130.

[0000]

LCP Molding/Flex PCB/Printhead ICs

[0180]

The LCP molding 64, flex PCB 108 and printhead ICs 68 assembly are shown in FIGS. 17 to 33. FIG. 17 is a perspective of the underside of the LCP molding 64 with the flex PCB and printhead ICs 68 attached. The LCP molding 64 is secured to the cartridge chassis 100 through countersunk holes 166 and 168. Hole 168 is an obround hole to accommodate any miss match in coefficients of thermal expansion (CTE) without bending the LCP. The printhead ICs 68 are arranged end to end in a line down the longitudinal extent of the LCP molding 64. The flex PCB 108 is wire bonded at one edge to the printhead ICs 68. The flex PCB 108 also secures to the LCP molding at the printhead IC edge as well as at the cartridge contacts 104 edge. Securing the flex PCB at both edges keeps it tightly held to the curved support surface 170 (see FIG. 19). This ensures that the flex PCB does not bend to a radius that is tighter than specified minimum, thereby reducing the risk that the conductive tracks through the flex PCB will fracture.

[0181]

FIG. 18 is an enlarged view of Inset A shown in FIG. 17. It shows the line of wire bonding contacts 164 along the side if the flex PCB 108 and the line of printhead ICs 68.

[0182]

FIG. 19 is an exploded perspective of the LCP/flex/printhead IC assembly showing the underside of each component. FIG. 20 is another exploded perspective, this time showing the topside of the components. The LCP molding 64 has an LCP channel molding 176 sealed to its underside. The printhead ICs 68 are attached to the underside of the channel molding 176 by adhesive IC attach film 174. On the topside of the LCP channel molding 176 are the LCP main channels 184. These are open to the ink inlet 122 and ink outlet 124 in the LCP molding 64. At the bottom of the LCP main channels 184 are a series of ink supply passages 182 leading to the printhead ICs 68. The adhesive IC attach film 174 has a series of laser drilled supply holes 186 so that the attachment side of each printhead IC 68 is in fluid communication with the ink supply passages 182. The features of the adhesive IC attach film are described in detail below with reference to FIG. 31 to 33.

[0183]

The LCP molding 64 has recesses 178 to accommodate electronic components 180 in the drive circuitry on the flex PCB 108. For optimal electrical efficiency and operation, the cartridge contacts 104 on the PCB 108 should be close to the printhead ICs 68. However, to keep the paper path adjacent the printhead straight instead of curved or angled, the cartridge contacts 104 need to be on the side of the cartridge 96. The conductive paths in the flex PCB are known as traces. As the flex PCB must bend around a corner, the traces can crack and break the connection. To combat this, the trace can be bifurcated prior to the bend and then reunited after the bend. If one branch of the bifurcated section cracks, the other branch maintains the connection. Unfortunately, splitting the trace into two and then joining it together again can give rise to electro-magnetic interference problems that create noise in the circuitry.

[0184]

Making the traces wider is not an effective solution as wider traces are not significantly more crack resistant. Once the crack has initiated in the trace, it will propagate across the entire width relatively quickly and easily. Careful control of the bend radius is more effective at minimizing trace cracking, as is minimizing the number of traces that cross the bend in the flex PCB.

[0185]

Pagewidth printheads present additional complications because of the large array of nozzles that must fire in a relatively short time. Firing many nozzles at once places a large current load on the system. This can generate high levels of inductance through the circuits which can cause voltage dips that are detrimental to operation. To avoid this, the flex PCB has a series of capacitors that discharge during a nozzle firing sequence to relieve the current load on the rest of the circuitry. Because of the need to keep a straight paper path past the printhead ICs, the capacitors are traditionally attached to the flex PCB near the contacts on the side of the cartridge. Unfortunately, they create additional traces that risk cracking in the bent section of the flex PCB.

[0186]

This is addressed by mounting the capacitors 180 (see FIG. 20) closely adjacent the printhead ICs 68 to reduce the chance of trace fracture. The paper path remains linear by recessing the capacitors and other components into the LCP molding 64. The relatively flat surface of the flex PCB 108 downstream of the printhead ICs 68 and the paper shield 172 mounted to the ‘front’ (with respect to the feed direction) of the cartridge 96 minimize the risk of paper jams.

[0187]

Isolating the contacts from the rest of the components of the flex PCB minimizes the number of traces that extend through the bent section. This affords greater reliability as the chances of cracking reduce. Placing the circuit components next to the printhead IC means that the cartridge needs to be marginally wider and this is detrimental to compact design. However, the advantages provided by this configuration outweigh any drawbacks of a slightly wider cartridge. Firstly, the contacts can be larger as there are no traces from the components running in between and around the contacts. With larger contacts, the connection is more reliable and better able to cope with fabrication inaccuracies between the cartridge contacts and the printer-side contacts. This is particularly important in this case, as the mating contacts rely on users to accurately insert the cartridge.

[0188]

Secondly, the edge of the flex PCB that wire bonds to the side of the printhead IC is not under residual stress and trying to peel away from the bend radius. The flex can be fixed to the support structure at the capacitors and other components so that the wire bonding to the printhead IC is easier to form during fabrication and less prone to cracking as it is not also being used to anchor the flex.

[0189]

Thirdly, the capacitors are much closer to the nozzles of the printhead IC and so the electro-magnetic interference generated by the discharging capacitors is minimized.

[0190]

FIG. 21 is an enlargement of the underside of the printhead cartridge 96 showing the flex PCB 108 and the printhead ICs 68. The wire bonding contacts 164 of the flex PCB 108 run parallel to the contact pads of the printhead ICs 68 on the underside of the adhesive IC attach film 174. FIG. 22 shows FIG. 21 with the printhead ICs 68 and the flex PCB removed to reveal the supply holes 186. The holes are arranged in four longitudinal rows. Each row delivers ink of one particular color and each row aligns with a single channel in the back of each printhead IC.

[0191]

FIG. 23 shows the underside of the LCP channel molding 176 with the adhesive IC attach film 174 removed. This exposes the ink supply passages 182 that connect to the LCP main channels 184 (see FIG. 20) formed in the other side of the channel molding 176. It will be appreciated that the adhesive IC attach film 174 partly defines the supply passages 182 when it is stuck in place. It will also be appreciated that the attach film must be accurately positioned, as the individual supply passages 182 must align with the supply holes 186 laser drilled through the film 174.

[0192]

FIG. 24 shows the underside of the LCP molding with the LCP channel molding removed. This exposes the array of blind cavities 200 that contain air when the cartridge is primed with ink in order to damp any pressure pulses. This is discussed in greater detail below.

[0000]

Printhead IC Attach Film

[0000]

Laser Ablated Film

[0193]

Turning briefly to FIGS. 31 to 33, the adhesive IC attachment film is described in more detail. The film 174 may be laser drilled and wound onto a reel 198 for convenient incorporation in the printhead cartridge 96. For the purposes of handling and storage, the film 174 has two protective liners (typically PET liners) on either side. One is an existing liner 188B that is already attached to the film prior to laser drilling. The other is a replacement liner 192, which replaces an existing liner 188A, after the drilling operation.

[0194]

The section of the laser-drilled film 174 shown in FIG. 32 has some of the existing liner 188B removed to expose the supply holes 186. The replacement liner 192 on the other side of the film replaces an existing liner 188A after the supply holes 186 have been laser drilled.

[0195]

FIGS. 33A to 33C show in detail how the film 174 is manufactured by laser ablation. FIG. 33A shows in detail the laminate structure of the film prior to laser-drilling. The central web 190 is typically a polyimide film and provides the strength for the laminate. The web 190 is sandwiched between first and second adhesive layers 194A and 194B, which are typically epoxy layers. The first adhesive layer 194A is for bonding to the LCP channel molding 176. The second adhesive layer 194B is for bonding to the printhead ICs 68. In accordance with the present invention, the first adhesive layer 194A has a melt temperature which is at least 10° C. less than the melt temperature of the second adhesive layer 194B. As described in more detail below, this difference in melt temperatures vastly improves control of the printhead IC attachment process and, consequently, improves the performance of the film 174 in use.

[0196]

For the purposes of film storage and handling, each adhesive layer 194A and 194 B is covered with a respective liner 188A and 188B. The central web 190 typically has a thickness of from 20 to 100 microns (usually about 50 microns). Each adhesive layer 194A and 194B typically has a thickness of from 10 to 50 microns (usually about 25 microns).

[0197]

Referring to FIG. 33B, laser-drilling is performed from the side of the film defined by the liner 188A. A hole 186 is drilled through the first liner 188A, the epoxy layers 194A and 194B and the central web 190. The hole 186 terminates somewhere in the liner 188B, and so the liner 188B may be thicker than the liner 188A (e.g. liner 188A may be 10-20 microns thick; liner 188B may be 30-100 microns thick).

[0198]

The foraminous liner 188A on the laser-entry side is then removed and replaced with a replacement liner 192, to provide the film package shown in FIG. 33C. This film package is then wound onto a reel 198 (see FIG. 31) for storage and handling prior to attachment. When the printhead cartridge is assembled, suitable lengths are drawn from the reel 198, the liners removed, and the film 174 adhered to the underside of the LCP channel molding 176 such that the holes 186 are in registration with the correct ink supply passages 182 (see FIG. 25).

[0199]

Laser drilling is a standard method for defining holes in polymer films. However, a problem with laser drilling is that it deposits a carbonaceous soot 197 in and around the drilling site (see FIGS. 33B and 33C). Soot around a protective liner may be easily dealt with, because this is usually replaced after laser drilling. However, soot 197 deposited in and around the actual supply holes 186 is potentially problematic. When the film is compressed between the LCP channel molding 176 and printhead ICs 68 during bonding, the soot may be dislodged. Any dislodged soot 197 represents a means by which particulates may enter the ink supply system and potentially block nozzles in the printhead ICs 68. Moreover, the soot is surprisingly fast and cannot be removed by conventional ultrasonication and/or IPA washing techniques.

[0200]

From analysis of laser-drilled films 174, it has been observed by the present Applicants that the soot 197 is generally present on the laser-entry side of the film 174 (i.e. the epoxy layer 194A and central web 190), but is usually absent from the laser-exit side of the film (i.e. the epoxy layer 194B).

[0000]

Double-Pass Laser Ablated Film

[0201]

The Applicant has found, surprisingly, that double-pass laser ablation of the ink supply holes 186 eliminates the majority of soot deposits 197, including those on the laser-entry side of the film. The starting point for double-pass laser ablation is the film shown in FIG. 33A.

[0202]

In a first step, a first hole 185 is laser-drilled from the side of the film defined by the liner 188A. The hole 185 is drilled through the liner 188A, the epoxy layers 194A and 194B, and the central web 190. The hole 185 terminates somewhere in the liner 188B. The first hole 185 has smaller dimensions than the intended ink supply hole 186. Typically each length and width dimension of the first hole 185 is about 10 microns smaller than the length and width dimensions of the intended ink supply hole 186. It will be seen from FIG. 34A that the first hole 185 has soot 197 deposited on the first liner 188A, the first epoxy layer 194A and the central web 190.

[0203]

In a second step, the first hole 185 is reamed by further laser drilling so as to provide the ink supply hole 186 having the desired dimensions. The reaming process generates very little soot and the resulting ink supply hole 186 therefore has clean sidewalls as shown in FIG. 34B.

[0204]

Finally, and referring to FIG. 34C, the first liner 188A is replaced with a replacement liner 192 to provide a film package, which is ready to be wound onto a reel 198 and used subsequently for attaching printhead ICs 68 to the LCP channel molding 176. The second liner 188B may also be replaced at this stage, if desired.

[0205]

Comparing the films shown in FIGS. 33C and 34C, it will be appreciated that the double laser ablation method provides a film 174 having much cleaner ink supply holes 186 than simple laser ablation. Hence, the film is highly suitable for attachment of printhhead ICs 68 to the LCP channel molding 176, and does not contaminate ink with undesirable soot deposits.

[0000]

Printhead IC Attachment Process

[0206]

Referring to FIGS. 19 and 20, it will be appreciated that the printhead IC attachment process is a critical stage of printhead fabrication. In the IC attachment process, a first adhesive surface of the laser-drilled film 174 is initially bonded to the underside of LCP channel molding 176, and then the printhead ICs 68 are subsequently bonded to an opposite second adhesive surface of the film 174. The film 174 has epoxy-adhesive layers 194A and 194B on each side, which melt and bond under the application of heat and pressure.

[0207]

Since the LCP channel molding 176 has very poor thermal conductivity, application of heat during each of the bonding processes must be provided via the second surface of the film 174, which is not in contact with the LCP channel molding.

[0208]

Control of the bonding processes is critical for optimal printhead performance, both in terms of the positioning of each printhead IC 68 and in terms of supply of ink to the printhead ICs. A typical sequence of printhead IC attachment steps, using a prior art film 174 (as described in US Publication No. 2007/0206056) is shown schematically in longitudinal section in FIGS. 35A-D. Referring to FIG. 35A, the film 174 is initially aligned with LCP channel molding 176 so that ink supply holes 186 are in proper registration with ink outlets defined in a manifold bonding surface 175. The ink outlets take the form of ink supply passages 182, as described above. The first adhesive layer 194A faces the manifold bonding surface 175, whilst the opposite side of the film is protected with the protective liner 188B.

[0209]

Referring to FIG. 35B, bonding of the film 174 to the manifold bonding surface 175 proceeds by applying heat and pressure from a heating block 302. A silicone rubber pad 300 separates the heating block 302 from the film liner 188B so as to prevent any damage to the film 174 during bonding. During bonding, the first epoxy layer 194A is heated to its melt temperature and bonds to the bonding surface 175 of the LCP channel molding 176.

[0210]

As shown in FIG. 35C, the liner 188B is then peeled from the film 174 to reveal the second epoxy layer 194B. Next, the printhead IC 68 is aligned with the film 174 ready for the second bonding step. FIG. 35C illustrates several problems, which are typically manifest in the first bonding step. Since the epoxy layers 194A and 194B are identical in prior art films, both of these layers melt during the first bonding step. Melting of the second epoxy layer 194B is problematic for many reasons. Firstly, some of the epoxy adhesive 199 is squeezed out from the second epoxy layer 194B and lines the laser-drilled ink supply holes 186. This decreases the area of the ink supply holes 186, thereby increasing ink flow resistance in the completed printhead assembly. In some cases, ink supply holes 186 may become completely blocked during the bonding process, which is very undesirable.

[0211]

FIG. 36B shows an actual photograph of one of the ink supply holes 186 suffering from the epoxy “squeeze-out” problem. Outer perimeter walls 310 show the original dimensions of the laser drilled hole 186. The light-colored material 312 within the perimeter walls 310 is adhesive, which has squeezed into the ink supply hole 186 during bonding to the LCP channel molding 176. Finally, the central dark area defined by perimeter walls 314 shows the effective cross-sectional area of the ink supply hole 186 after bonding. In this example, the original laser-drilled ink supply hole 186 has dimensions of 400 microns×130 microns. After bonding and epoxy “squeeze-out”, these dimensions were reduced to 340 microns×80 microns. Notwithstanding the significant problems of increased ink flow resistance, the blurred edges of the ink supply hole 186 are problematic for the second bonding step, because the printhead ICs 68 must be aligned accurately with the ink supply holes 186. In automated printhead fabrication, a specialized alignment device uses optical means to locate a centroid of each ink supply hole 186. Optical location of each centroid is made more difficult when edges of each ink supply hole 186 are blurred by squeezed-out epoxy. Consequently, alignment errors are more likely.

[0212]

A second problem with the second epoxy layer 194B melting is that the film 174 loses some of its overall structural integrity. As a consequence, the film 174 tends to billow or sag into the ink supply passages 182 defined in the LCP channel molding 176. FIG. 35C illustrates sagging portions 198 of the film 174 after the first bonding step. The present Applicant has coined the term “tenting” to describe this phenomenon. “Tenting” is particularly problematic, because the bonding surface 195 of the second adhesive layer 194B loses its planarity. This loss of planarity is further exacerbated by thickness variations in the second adhesive layer 194B, resulting from the epoxy “squeeze-out” problem. The combination of “tenting” and thickness variations in the second adhesive layer 194B reduces the contact area of its bonding surface 195, and leads to problems in the second bonding step.

[0213]

In the second bonding step, shown in FIG. 35D, each printhead IC 68 is heated to about 250° C. and then positioned accurately on the second adhesive layer 194B. Accurate alignment of the printhead IC 68 with the film 174 ensures that the ink supply channel 218, in fluid communication with nozzles 69, is placed over its corresponding ink supply holes 186. One ink supply channel 218 is shown in longitudinal section in FIG. 35D, although it will be appreciated (from FIG. 25) that each printhead IC 68 may have several rows of ink supply channels.

[0214]

As a result of epoxy “squeeze-out”, the second adhesive layer 194B, having an original thickness of about 25 microns, may have its thickness reduced to 5 to 10 microns in some regions. Such significant thickness variations in the second adhesive layer 194B can lead to skewed printhead IC placement, in which one end of the printhead IC 68 is raised relative to the other end. This is clearly undesirable and affects print quality. A further problem with a non-planar bonding surface 195 is that relatively long bonding times of about 5 seconds are typically required, and each printhead IC 68 needs to be pressed relatively far into the second adhesive layer 194B.

[0215]

The most significant problem associated with printhead assemblies where “tenting” occurs in the adhesive film 174 is that the seal provided by the film may be imperfect. The present Applicant has developed a leak test to determine the effectiveness of the seal provided by the film 174 in a printhead assembly. In this test, the printhead assembly is initially soaked in ink at 90° C. for one week. After ink soaking and flushing, one color channel of the printhead assembly is then charged with air at 10 kPa, and the rate of air leakage from this color channel is measured. Leakages may occur by transfer of air to other color channels in the printhead (via the film 174) or by direct losses of air to the atmosphere. In this test, a typical printhead assembly fabricated using the IC attachment film described in US Publication No. 2007/0206056 has a leakage rate of about 300 mm3per minute or greater.

[0216]

In light of the above-mentioned problems, the present invention provides an improved printhead IC attachment process, where these problems are minimized. The improved IC attachment process follows essentially the same steps as those described above in connection with FIGS. 35A-D. However, the design of the film 174 reduces the problems associated with the first bonding step and, equally importantly, reduces the consequential problems associated with the second bonding step. In the present invention, the film 174 still comprises a central polymeric web 190 sandwiched between first and second adhesive layers 194A and 194B. (For convenience, corresponding parts of the film 174 have the same labels used in the preceding description). However, in contrast with previous film designs, the first and second epoxy layers 194A and 194B are differentiated in the film according to the present invention. In particular, the epoxy layer 194A has a melt temperature, which is at least 10° C. less than the melt temperature of the second epoxy layer 194B. Typically, the difference in melt temperatures is at least 20° C. or at least 30° C. For example, the first epoxy layer 194A may have a melt temperature in the range of 80 to 130° C., whilst the second epoxy layer may have a melt temperature in the range of 140 to 180° C. The skilled person will readily be able to select adhesive films (e.g. epoxy films) meeting the criteria of the present invention. Suitable adhesive films for use in the laminate film 174 are Hitachi DF-XL9 epoxy film (having a melt temperature of about 120° C.) and Hitachi DF-470 epoxy film (having a melt temperature of about 160° C.).

[0217]

With films according to the present invention, the first bonding step (illustrated by FIG. 35B) can be controlled so that no melting of the second adhesive layer 194B occurs during bonding of the first adhesive layer 194A to the bonding surface 195 of the LCP channel molding 176. Typically, the temperature of the heating block 302 matches the melt temperature of the first adhesive layer 194A. Consequently, “squeeze-out” of the first adhesive layer is minimized or eliminated altogether. Furthermore, minimal or no “tenting” occurs during the bonding process.

[0218]

Referring to FIG. 37A, there is shown a bonded LCP/film assembly using the film 174 according to the present invention. In contrast with the assembly shown in FIG. 35C, it can be seen that no “tenting” in the film 174 has occurred, and that the second adhesive layer 194B has uniform planarity and thickness. FIG. 36A shows an actual photograph of one of the ink supply holes 186 after bonding to the LCP channel molding 176 using a film 174 according to the present invention. The definition of the ink supply hole 186 is dramatically improved compared to the ink supply hole shown in FIG. 36B, and it can be seen that no epoxy “squeeze-out” has occurred. Consequently, there is no undesirable increase in ink flow resistance through the hole shown in FIG. 36A, and optical location of the hole's centroid can be performed with minimal errors.

[0219]

Moreover, with the problems associated with the first bonding step minimized, the consequential problems associated with the second bonding step are also minimized. As shown in FIG. 37A, the second adhesive layer 194B has a planar bonding surface 195, and has minimal thickness variations. Accordingly, printhead IC placement and bonding is significantly improved, with the result that relatively short bonding times of about 1 second can be employed. The planar bonding surface 195 shown in FIG. 37A also means that printhead ICs 68 do not need to be pressed far into the second adhesive layer 194B to provide sufficient bonding strength, and skewed printhead ICs 68 are less likely to result from the attachment process.

[0220]

Referring to FIG. 37B, the printhead assembly resulting from the improved printhead IC attachment process has excellent seals around each ink supply hole 186, largely as a result of the absence of “tenting” and epoxy “squeeze-out”. In the Applicant's leak tests described above, the printhead assembly shown in FIG. 37B (fabricated using the film 174 according to the present invention) exhibited a remarkable 3000-fold improvement compared to the printhead assembly shown in FIG. 35D. After soaking in ink at 90° C. for one week, the measured leakage rate for the printhead assembly shown in FIG. 37B was about 0.1 mm3per minute, when charged with air at 10 kPa. The leak tests demonstrate the significant advantages of the present invention when compared with the printhead assembly described in, for example, US Publication No. 2007/0206056.

[0000]

Enhanced Ink Supply to Printhead IC Ends

[0221]

FIG. 25 shows the printhead ICs 68, superimposed on the ink supply holes 186 through the adhesive IC attach film 174, which are in turn superimposed on the ink supply passages 182 in the underside of the LCP channel molding 176. Adjacent printhead ICs 68 are positioned end to end on the bottom of the LCP channel molding 176 via the attach film 174. At the junction between adjacent printhead ICs 68, one of the ICs 68 has a ‘drop triangle’ 206 portion of nozzles in rows that are laterally displaced from the corresponding row in the rest of the nozzle array 220. This allows the edge of the printing from one printhead IC to be contiguous with the printing from the adjacent printhead IC. By displacing the drop triangle 206 of nozzles, the spacing (in a direction perpendicular to media feed) between adjacent nozzles remains unchanged regardless of whether the nozzles are on the same IC or either side of the junction on different ICs. This requires precise relative positioning of the adjacent printhead ICs 68, and the fiducial marks 204 are used to achieve this. The process can be time consuming but avoids artifacts in the printed image.

[0222]

Unfortunately, some of the nozzles at the ends of a printhead IC 68 can be starved of ink relative to the bulk of the nozzles in the rest of the array 220. For example, the nozzles 222 can be supplied with ink from two ink supply holes. Ink supply hole 224 is the closest. However, if there is an obstruction or particularly heavy demand from nozzles to the left of the hole 224, the supply hole 226 is also proximate to the nozzles at 222, so there is little chance of these nozzles depriming from ink starvation.

[0223]

In contrast, the nozzles 214 at the end of the printhead IC 68 would only be in fluid communication with the ink supply hole 216 were it not for the ‘additional’ ink supply hole 210 placed at the junction between the adjacent ICs 68. Having the additional ink supply hole 210 means that none of the nozzles are so remote from an ink supply hole that they risk ink starvation.

[0224]

Ink supply holes 208 and 210 are both fed from a common ink supply passage 212. The ink supply passage 212 has the capacity to supply both holes as supply hole 208 only has nozzles to its left, and supply hole 210 only has nozzles to its right. Therefore, the total flowrate through supply passage 212 is roughly equivalent to a supply passage that feeds one hole only.

[0225]

FIG. 25 also highlights the discrepancy between the number of channels (colors) in the ink supply—four channels—and the five channels 218 in the printhead IC 68. The third and fourth channels 218 in the back of the printhead IC 68 are fed from the same ink supply holes 186. These supply holes are somewhat enlarged to span two channels 218.

[0226]

The reason for this is that the printhead IC 68 is fabricated for use in a wide range of printers and printhead configurations. These may have five color channels—CMYK and IR (infrared)—but other printers, such this design, may only be four channel printers, and others still may only be three channel (CC, MM and Y). In light of this, a single color channel may be fed to two of the printhead IC channels. The print engine controller (PEC) microprocessor can easily accommodate this into the print data sent to the printhead IC. Furthermore, supplying the same color to two nozzle rows in the IC provides a degree of nozzle redundancy that can used for dead nozzle compensation.

[0000]

Pressure Pulses

[0227]

Sharp spikes in the ink pressure occur when the ink flowing to the printhead is stopped suddenly. This can happen at the end of a print job or a page. The Assignee's high speed, pagewidth printheads need a high flow rate of supply ink during operation. Therefore, the mass of ink in the ink line to the nozzles is relatively large and moving at an appreciable rate.

[0228]

Abruptly ending a print job, or simply at the end of a printed page, requires this relatively high volume of ink that is flowing relatively quickly to come to an immediate stop. However, suddenly arresting the ink momentum gives rise to a shock wave in the ink line. The LCP molding 64 (see FIG. 19) is particularly stiff and provides almost no flex as the column of ink in the line is brought to rest. Without any compliance in the ink line, the shock wave can exceed the Laplace pressure (the pressure provided by the surface tension of the ink at the nozzles openings to retain ink in the nozzle chambers) and flood the front surface of the printhead IC 68. If the nozzles flood, ink may not eject and artifacts appear in the printing.

[0229]

Resonant pulses in the ink occur when the nozzle firing rate matches a resonant frequency of the ink line. Again, because of the stiff structure that define the ink line, a large proportion of nozzles for one color, firing simultaneously, can create a standing wave or resonant pulse in the ink line. This can result in nozzle flooding, or conversely nozzle deprime because of the sudden pressure drop after the spike, if the Laplace pressure is exceeded.

[0230]

To address this, the LCP molding 64 incorporates a pulse damper to remove pressure spikes from the ink line. The damper may be an enclosed volume of gas that can be compressed by the ink. Alternatively, the damper may be a compliant section of the ink line that can elastically flex and absorb pressure pulses.

[0231]

To minimize design complexity and retain a compact form, the invention uses compressible volumes of gas to damp pressure pulses. Damping pressure pulses using gas compression can be achieved with small volumes of gas. This preserves a compact design while avoiding any nozzle flooding from transient spikes in the ink pressure.

[0232]

As shown in FIGS. 24 and 26, the pulse damper is not a single volume of gas for compression by pulses in the ink. Rather the damper is an array of cavities 200 distributed along the length of the LCP molding 64. A pressure pulse moving through an elongate printhead, such as a pagewidth printhead, can be damped at any point in the ink flow line. However, the pulse will cause nozzle flooding as it passes the nozzles in the printhead integrated circuit, regardless of whether it is subsequently dissipated at the damper. By incorporating a number of pulse dampers into the ink supply conduits immediately next to the nozzle array, any pressure spikes are damped at the site where they would otherwise cause detrimental flooding.

[0233]

It can be seen in FIG. 26, that the air damping cavities 200 are arranged in four rows. Each row of cavities sits directly above the LCP main channels 184 in the LCP channel molding 176. Any pressure pulses in the ink in the main channels 184 act directly on the air in the cavities 200 and quickly dissipate.

[0000]

Printhead Priming

[0234]

Priming the cartridge will now be described with particular reference to the LCP channel molding 176 shown in FIG. 27. The LCP channel molding 176 is primed with ink by suction applied to the main channel outlets 232 from the pump of the fluidic system (see FIG. 6). The main channels 184 are filled with ink and then the ink supply passages 182 and printhead ICs 68 self prime by capillary action.

[0235]

The main channels 184 are relatively long and thin. Furthermore the air cavities 200 must remain unprimed if they are to damp pressure pulses in the ink. This can be problematic for the priming process which can easily fill cavities 200 by capillary action or the main channel 184 can fail to fully prime because of trapped air. To ensure that the LCP channel molding 176 fully primes, the main channels 184 have a weir 228 at the downstream end prior to the outlet 232. To ensure that the air cavities 200 in the LCP molding 64 do not prime, they have openings with upstream edges shaped to direct the ink meniscus from traveling up the wall of the cavity.

[0236]

These aspects of the cartridge are best described with reference FIGS. 28A, 28B and 29A to 29C. These figures schematically illustrate the priming process. FIGS. 28A and 28B show the problems that can occur if there is no weir in the main channels, whereas FIGS. 29A to 29C show the function of the weir 228.

[0237]

FIGS. 28A and 28B are schematic section views through one of the main channels 184 of the LCP channel molding 176 and the line of air cavities 200 in the roof of the channel. Ink 238 is drawn through the inlet 230 and flows along the floor of the main channel 184. It is important to note that the advancing meniscus has a steeper contact angle with the floor of the channel 184. This gives the leading portion of the ink flow 238 a slightly bulbous shape. When the ink reaches the end of the channel 184, the ink level rises and the bulbous front contacts the top of the channel before the rest of the ink flow. As shown in FIG. 28B, the channel 184 has failed to fully prime, and the air is now trapped. This air pocket will remain and interfere with the operation of the printhead. The ink damping characteristics are altered and the air can be an ink obstruction.

[0238]

In FIG. 29A to 29C, the channel 184 has a weir 228 at the downstream end. As shown in FIG. 29A, the ink flow 238 pools behind the weir 228 and rises toward the top of the channel. The weir 228 has a sharp edge 240 at the top to act as a meniscus anchor point. The advancing meniscus pins to this anchor 240 so that the ink does not simply flow over the weir 228 as soon as the ink level is above the top edge.

[0239]

As shown in FIG. 29B, the bulging meniscus makes the ink rise until it has filled the channel 184 to the top. With the ink sealing the cavities 200 into separate air pockets, the bulging ink meniscus at the weir 228 breaks from the sharp top edge 240 and fills the end of the channel 184 and the ink outlet 232 (see FIG. 29C). The sharp to edge 240 is precisely positioned so that the ink meniscus will bulge until the ink fills to the top of the channel 184, but does not allow the ink to bulge so much that it contacts part of the end air cavity 242. If the meniscus touches and pins to the interior of the end air cavity 242, it may prime with ink. Accordingly, the height of the weir and its position under the cavity is closely controlled. The curved downstream surface of the weir 228 ensures that there are no further anchor points that might allow the ink meniscus to bridge the gap to the cavity 242.

[0240]

Another mechanism that the LCP uses to keep the cavities 200 unprimed is the shape of the upstream and downstream edges of the cavity openings. As shown in FIGS. 28A, 28B and 29A to 29C, all the upstream edges have a curved transition face 234 while the downstream edges 236 are sharp. An ink meniscus progressing along the roof of the channel 184 can pin to a sharp upstream edge and subsequently move upwards into the cavity by capillary action. A transition surface, and in particular a curved transition surface 234 at the upstream edge removes the strong anchor point that a sharp edge provides.

[0241]

Similarly, the Applicant's work has found that a sharp downstream edge 236 will promote depriming if the cavity 200 has inadvertently filled with some ink. If the printer is bumped, jarred or tilted, or if the fluidic system has had to reverse flow for any reason, the cavities 200 may fully of partially prime. When the ink flows in its normal direction again, a sharp downstream edge 236 helps to draw the meniscus back to the natural anchor point (i.e. the sharp corner). In this way, management of the ink meniscus movement through the LCP channel molding 176 is a mechanism for correctly priming the cartridge.

[0242]

The invention has been described here by way of example only. Skilled workers in this field will recognize many variations and modification which do not depart from the spirit and scope of the broad inventive concept. Accordingly, the embodiments described and shown in the accompanying figures are to be considered strictly illustrative and in no way restrictive on the invention.

Как компенсировать расходы
на инновационную разработку
Похожие патенты