A system and method for identifying and separating handwritten text from machine printed text in a document having a combination of handwritten text and machine printed text. In one embodiment, the present invention is installed as an intelligent printing control interface in a conventional computer and allows any document generated by any application to be selectively processed to remove any handwritten text prior to printing of the document, under the control of the user. In an alternative embodiment, the present invention is installed as an intelligent printing control interface in a conventional digital copy machine, which allows any document being copied to be selectively processed to remove any handwritten text prior to printing of the document, under the control of the user. The present invention employs a handwriting separation method which uses Hidden Markov Models to identify regions as either handwritten text or machine printed text.
1. A system for printing documents, comprising:
means for generating digital documents having handwritten text and machine printed text and for generating a request to print at least one of said digital documents; an intelligent printing control interface coupled to receive and selectively process said request to remove said handwritten text, said intelligent printing control interface comprising a virtual printer driver for receiving said request, a printing control panel for determining whether to process said request, and a handwriting separation module for selectively processing said request, under control of said printing control panel, to remove said handwritten text; and means coupled to said intelligent printing control interface for printing said selectively processed request; wherein said handwriting separation module processes said request by segmenting the digital image into a plurality of text blocks, computing an observation sequence for each of said text blocks, computing a first probability for each of said text blocks that said observation sequence would appear in a predetermined Hidden Markov Model for machine printed text, computing a second probability for each of said text blocks that said observation sequence would appear in a predetermined Hidden Markov Model for handwritten text, comparing said first probability and said second probability for each of said text blocks, marking said text block as machine printed text if said first probability is greater than said second probability, marking said text block as handwritten text if said second probability is greater than said first probability, and removing said marked handwritten text. 2. A system for copying documents, comprising:
a scanner for generating a digital document having handwritten text and machine printed text and for generating a request to print said digital document; an intelligent printing control interface coupled to receive and selectively processes said request to remove said handwritten text, said intelligent printing control interface comprising a virtual printer driver for receiving said request, a printing control panel for determining whether to process said request, and a handwriting separation module for selectively processing said request, under control of said printing control panel, to remove said handwritten text; and a printer coupled to said intelligent printing control interface for printing said selectively processed request; wherein said handwriting separation module processes said request by segmenting the digital image into a plurality of text blocks, computing an observation sequence for each of said text blocks, computing a first probability for each of said text blocks that said observation sequence would appear in a predetermined Hidden Markov Model for machine printed text, computing a second probability for each of said text blocks that said observation sequence would appear in a predetermined Hidden Markov Model for handwritten text, comparing said first probability and said second probability for each of said text blocks, marking said text block as machine printed text if said first probability is greater than said second probability, marking said text block as handwritten text if said second probability is greater than said first probability, and removing said marked handwritten text. 3. A method of separating handwritten text from machine printed text in a digital image containing a mixture of handwritten text and machine printed text, comprising the steps of:
A. segmenting the digital image into a plurality of text blocks; B. computing an observation sequence for each of said text blocks; C. computing a first probability for each of said text blocks that said observation sequence would appear in a predetermined Hidden Markov Model for machine printed text; D. computing a second probability for each of said text blocks that said observation sequence would appear in a predetermined Hidden Markov Model for handwritten text; E. comparing said first probability and said second probability for each of said text blocks; F. marking said text block as machine printed text if said first probability is greater than said second probability; and G. marking said text block as handwritten text if said second probability is greater than said first probability. 4. The method of 5. The method of generating connecting components within the digital image; and grouping said connected components into a plurality of text blocks. 6. The method of determining if each pair of neighboring connected components are on the same line; for a given pair of neighboring connected components on the same line, determining if said pair of neighboring connected components are adjacent to each other; for a given pair of neighboring connected components adjacent to each other, determining if said pair of neighboring connected components have the same height; and if said pair of neighboring connected components have the same height, merging said pair of neighboring connected components together into a single text block. 7. The method of identifying minimum vertical coordinates for each of said pair of connected components; determining if the difference between said minimum vertical coordinates of said neighboring connected components is less than a first predetermined threshold determining; and when the difference between said minimum vertical coordinates of said neighboring connected components is less than a first predetermined threshold determining, marking said pair of connected components as being on the same line. 8. The method of identifying maximum and minimum horizontal coordinates for each of said neighboring connected components; determining if the difference between said maximum horizontal coordinate of a first of said neighboring connected components and said minimum horizontal coordinate of a second of said neighboring connected components is less than a second predetermined threshold; determining if the difference between said maximum horizontal coordinate of said second of said neighboring connected components and said minimum horizontal coordinate of said first of said neighboring connected components is less than said second predetermined threshold; and when the difference between said maximum horizontal coordinate of said first of said neighboring connected components and said minimum horizontal coordinate of said second of said neighboring connected components is less than said second predetermined threshold or when the difference between said maximum horizontal coordinate of said second of said neighboring connected components and said minimum horizontal coordinate of said first of said neighboring connected components is less than said second predetermined threshold, marking said pair of connected components as being adjacent to each other. 9. The method of identifying maximum and minimum vertical coordinates for each of said neighboring connected components; determining the difference between the maximum and minimum vertical coordinate of a first of said neighboring connected components less the difference between the maximum and minimum coordinates of a second of said neighboring connected components is less than a third predetermined threshold; and when the difference between the maximum and minimum vertical coordinate of said first of said neighboring connected components less the difference between the maximum and minimum coordinates of said second of said neighboring connected components is less than a third predetermined threshold, marking said pair of connected components as having the same height. 10. A method for copying and printing documents, comprising the steps of:
generating a digital image of a document having both handwritten text and machine printed text; generating a request to print said digital image; processing said request to selectively remove said handwritten text, said step of processing said request further comprises the steps of:
A. segmenting said digital image into a plurality of text blocks; B. computing an observation sequence for each of said text blocks; C. computing a first probability for each of said text blocks that said observation sequence would appear in a predetermined Hidden Markov Model for machine printed text; D. computing a second probability for each of said text blocks that said observation sequence would appear in a predetermined Hidden Markov Model for handwritten text; E. comparing said first probability and said second probability for each of said text blocks; F. marking said text block as machine printed text if said first probability is greater than said second probability; and G. marking said text block as handwritten text if said second probability is greater than said first probability; and transmitting said selectively processed request to a printer for printing thereof.
The invention relates generally to a system and method for processing images having a mixture of machine printed text and handwritten annotations to remove such handwritten notations. It is common for a document that has been sent to a printer and/or placed in a copier for copying to contain a mixture of contents, i.e., machine-printed text and add-on information overlaid over the original contents. Examples of add-on information include handwritten notes, signatures, stamps, etc. (collectively “handwritten annotations”). In many cases, a user may intentionally want to print only the original contents, e.g., a letter for review without handwritten notes. However, until now it has been difficult to print such documents without including the annotations. In a conventional computer system, as shown in The prior art is limited in its ability to remove handwritten annotations from a document having machine printed text and annotations. In a first method, a marker or template is placed on the document being processed to assist in locating the handwritten annotation, see e.g., U.S. Pat. No. 5,631,9084 which places a magnetic ink character recognition line on a bank check for use in locating the handwritten signature. The first method requires special apparatus to locate the marker or template. In a second method, handwritten annotations are identified and separated from machine printed text for separate processing. However, the prior art is limited in its ability to handle complex cases where a document contains a mixture of machine printed text and handwritten annotations, and where the handwritten annotations are mixed with the machine printed text, i.e., where the handwritten annotations do not appear only in regions of white space in the original document such as margins. Hidden Markov Models (HMM) have use in many applications. One of the most successful applications is speech recognition, but it has also been applied to optical character recognition and keyword identification. In summary, as an overview of HMM theory, it is important to note that in natural language, there is an embodied Markovian structure. For example, the probability of seeing a letter “u” after letter “q” is usually greater than seeing “u” after any of the other letters. A process that has a property that the conditional probability of a current event giving past and present events depends only on the most recent event is a Markov process. In a discrete Markov process, each state corresponds to an observable deterministic event. But in a Hidden Markov Model, the output of each state corresponds to an output probability distribution. The method of the present invention is based on the theory of Hidden Markov Models (HMM). The unknown OCR knowledge is treated as hidden states and a decision is made based upon the observation sequences that come from these states. It is therefore an object of the present invention to provide a system and method for the automatic separation of handwritten annotations from machine printed text. It is an additional object of this invention to provide a system and method for the automatic separation of handwritten annotations from machine printed text that is based on a Hidden Markov Model. It is a further object of this invention to provide a system and method for the automatic separation of handwritten annotations from machine printed text embodied within a conventional digital copy machine. It is another object of this invention to provide a method for the automatic separation of handwritten annotations from machine printed text within documents sent for printing on a conventional printer. Various other objects, advantages and features of the present invention will become readily apparent from the ensuing detailed description and the novel features will be particularly pointed out in the appended claims. These and other objectives are realized by the present invention, which is a system and method for printing or copying documents having a mixture of handwritten text and machine printed text such that the printed document contains only machine printed text. In particular, the first embodiment of the present invention comprises means for generating digital documents having handwritten text and machine printed text and for generating a request to print at least one of the digital documents, an intelligent printing control interface connected to the means for generating which receives the request and selectively processes the request to remove the handwritten text, and means connected to the intelligent printing control interface for printing the selectively processed request. The intelligent printing control interface further comprises a virtual printer driver for receiving the request, a printing control panel for determining whether to process the request, and a handwriting separation module for selectively processing the request, under control of the printing control panel, to remove the handwritten text. Further, the handwriting separation module processes the request by segmenting the digital image into a plurality of text blocks, computing an observation sequence for each of the text blocks, computing a first probability for each of the text blocks that the observation sequence would appear in a predetermined Hidden Markov Model for machine printed text, computing a second probability for each of the text blocks that the observation sequence would appear in a predetermined Hidden Markov Model for handwritten text, comparing the first probability and the second probability for each of the text blocks, marking the text block as machine printed text if the first probability is greater than the second probability, marking the text block as handwritten text if the second probability is greater than the first probability, and removing the marked handwritten text. In an alternative embodiment, the present invention comprises a system for copying documents, comprising a scanner for generating a digital document having handwritten text and machine printed text and for generating a request to print the digital document, an intelligent printing control interface connected to the scanner which receives the request and selectively processes the request to remove the handwritten text, and a printer connected to the intelligent printing control interface for printing the selectively processed request. The present invention also comprises a method for separating handwritten text from machine printed text in a digital image containing a mixture of handwritten text and machine printed text comprises the steps of segmenting the digital image into a plurality of text blocks, computing an observation sequence for each of the text blocks, computing a first probability for each of the text blocks that the observation sequence would appear in a predetermined Hidden Markov Model for machine printed text, computing a second probability for each of the text blocks that the observation sequence would appear in a predetermined Hidden Markov Model for handwritten text, comparing the first probability and the second probability for each of the text blocks, marking the text block as machine printed text if the first probability is greater than the second probability, and marking the text block as handwritten text if the second probability is greater than the first probability. The handwriting separation method of the present invention further comprises the step of post-processing the digital image after each of the text blocks are marked as either machine printed text or handwritten text to correct single errors. In particular, the segmenting step of the handwriting separation method comprises the steps of generating connecting components within the digital image, and grouping the connected components into a plurality of text blocks. Further, the grouping step of the handwriting separation method comprises the steps of determining if each pair of neighboring connected components are on the same line, then for a given pair of neighboring connected components on the same line, determining if the pair of neighboring connected components are adjacent to each other. Next, for a given pair of neighboring connected components adjacent to each other, the method determines if the pair of neighboring connected components have the same height, and if the pair of neighboring connected components have the same height, the pair of neighboring connected components are merged together into a single text block. The following detailed description, given by way of example and not intended to limit the present invention solely thereto, will best be understood in conjunction with the accompanying drawings in which: Referring now to the drawings and in particular When installed in a computer system, IPCI 295 may be installed so that its operations are known to the user (i.e., the IPCI “aware” mode) or so that its operations are invisible to the user (i.e., the IPCI “blind” mode). In the “aware” mode, the user must select a dedicated “IPCI Printer” to take advantage of the handwriting separation capabilities. In the “blind” mode, the user selects any of the available printers and then configures the handwriting separation capabilities using the printer preferences for the selected printer. As discussed above, virtual printer driver 290 accepts print commands from GDI 210 and passes them to the destination device (i.e., third party printer driver 220, spooler 230, port monitor 240 and printer 250). In addition, virtual printer driver 290 removes handwritten annotations in the document being printed. For speed of performance and to simplify implementation, this is done by overlaying the original document content with a blank bitmap at detected handwriting regions. Alternatively, as shown in User interface control panel 280 provides a user an interface to configure the operation of IPCI 295 when necessary. For example, a user may want to enable or disable the handwriting separation capability of the system. When used in conjunction with a computer system, user interface control panel 280 can be an add-on property sheet to an existing third party printer user interface. It can be invoked when configuring an IPCI printer (i.e., in the “aware” mode), or configuring the operation of any third party printers with IPCI installed (i.e., the “blind” mode). When used in conjunction with a printer/copier system, user interface control panel 280 is controlled through the user interface of the system in a conventional manner (e.g., the printer/copier includes configuration menus that are accessed through a display screen and a keypad/mouse or a touchscreen interface). To identify handwritten annotations, the statistical variations of appropriate features are considered. The projection profile for a letter is defined as a vertical projection of image pixels within its bounding box. Examples of projection profiles are shown in When analyzing a projection profile, for example, if the projection along neighboring characters is computed, the changes in projection along the neighboring characters in a machine printed character can be considered as a Markov chain. However, since a similar projection profile may arise from one of a large number of letters, it is not possible to simply use Markov models. In a hidden Markov model, the observation is a probabilistic function of the state. The HMM is a doubly embedded stochastic process with an underlying stochastic process that is hidden, namely the identity of the character. For example, let N be the number of states in the model and M the number of distinct observation symbols per state. A is the state transition probability matrix, where
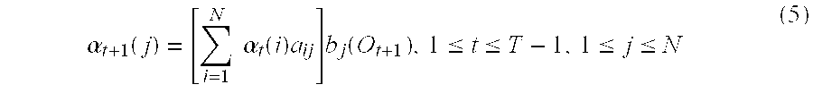
Given the observation sequence O=O1O2. . . OTand the Markov model λ=A, B, π, the probability P(O|λ) is to be computed. The procedure used is the so-called Forward-Backward Procedure. If the forward variable is set as at(i)=P(O=O1O2. . . Ot, qt=Si|λ), i.e., at(i) is the probability of the partial observation sequence, O=O1O2. . . Ot(until time t) and the state at t is Si, given the model λ. The forward procedure is as follows:
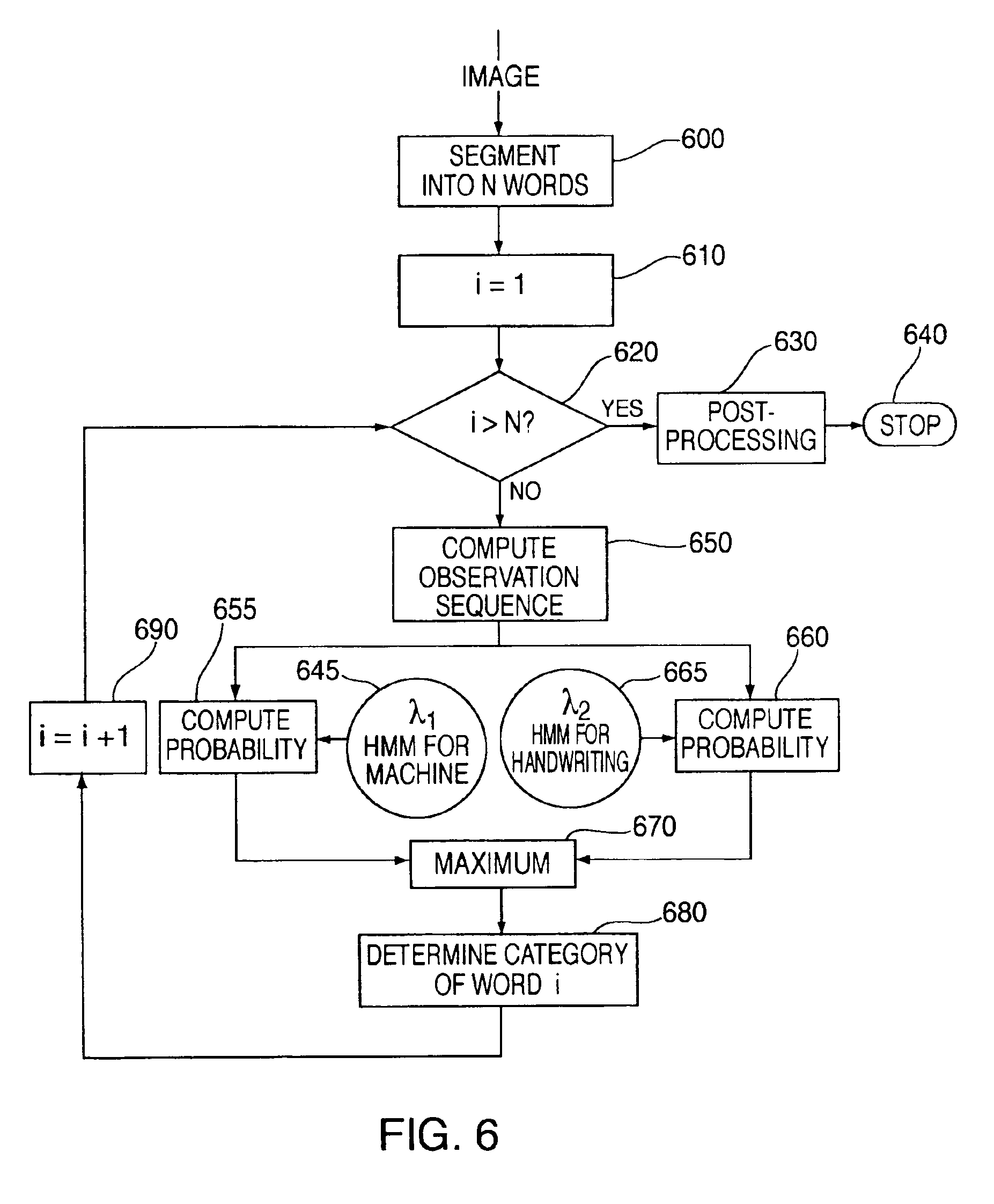
The handwriting separation method of the present invention relies on the identification and segmentation of text blocks in the image in order for HMM to work on the word level. A number of algorithms for segmentation of text blocks are known to those of ordinary skill in the art. However, in the present invention, connected components are first generated. Then, a simple grouping method is used, as follows: Given two connected components represented by their bounding boxes (x1_min, x1_max, y1_min, y1_max) and (x2_min, x2_max, y2_min, y2_max) respectively, where x represents the horizontal coordinates and y represents the vertical coordinates in a coordinate system where the origin is in the upper left corner, (x_min, y_min) represent top left corner of the bounding box and (x_max, y_max) represent the lower right corner. The following three conditions are checked:
The first condition is for grouping bounding boxes on the “same” line. The second condition is for adjacency and the third ensures that two bounding boxes have the “same” height. Here, “same” stands for a certain degree of closeness, which is set by the predetermined thresholds T0, T1, and T2. If the above conditions are met, the two components are merged and the resulting coordinates of the newly merged box become:
In segmentation, small components (e.g., a dash) are eliminated before grouping. At the word level, a segmented word may consist of several individual letters that are represented by bounding boxes. An observation sequence is obtained at the word level by concatenating projection profiles from individual letters that are within the word. In the model used for the handwriting separation method of the present invention, B62 hidden states are used that correspond to the B52 upper and lower case Latin characters and to the 10 numerical digits, and 10 symbols are used which correspond to 10 levels of projection values in observation sequences. Thus, the states are the unknown letters and the observation sequence is a probabilistic function of the states. In this model, element aijof the state transition probability matrix A is the transition probability between two neighboring letters within a word; i.e., element bjof B is the probability of a symbol occurring in a given letter or digit, and element πiof π is the probability that the word starts with that letter or digit. Once all words within the document are classified independently from the HMMs, some error may remain, i.e., handwritten text may be classified as machine printed text and vice versa. Thus, in handwritten annotation method of the present invention, post-processing may optionally be applied to correct single errors, based on the majority of classification results. First, for each classified word, three numbers are computed, as follows:
The following rules are then developed based on the values of MN, HN, and ML:
In all other cases considered during postprocessing, the status of the word being considered remains the same. Training is used to obtain the HMM model for machine printed text (λ1) and handwritten text (λ2). The computation of models can be done only once in the training process. In training, the probability matrices A and π are obtained from samples of ASCII text. The matrix B is computed from a set of scanned bitmap images of various styles of letters and digits. The matrices A and π are the same for both machine and handwriting models. Matrix B has to be computed separately for machine and handwriting. In training Matrix B, several samples of the same letter (state) are obtained. For every sample of each letter, an observation sequence is calculated and the probability is computed on an averaging basis. As seen in The results of testing the handwriting separation method of the present invention are shown in In the preferred embodiment of the handwriting separation method of the present invention, the classification step is performed on a word-by-word basis, and is thus robust and efficient in terms of processing time. Further, this method does not require global information of the contents of a page, and can operate even when the machine printed text varies in font style and size and the handwriting appears anywhere on within document. Various applications exist for the method of the present invention, which detects handwritten annotations on a document consisting of machine printed text and such annotations. One such application is document recognition. The handwritten annotations and machine printed text within the same document are separated and passed to appropriate recognition engines such as OCR for the machine printed text and ICR for the handwritten annotations, for efficient recognition. Another application for the separation of handwritten annotations is form processing and bank check processing where only the handwritten annotation is of interest. Other applications include automatic version control where changes made to the original document are tracked, the secure transmission and printing of original document content, and efficient archiving of documents based on document content, in which original content is stored initially and only incremental changes to the document (such as add-on handwritten annotations) are saved thereafter. While the present invention has been particularly shown and described with reference to the preferred embodiments and various aspects thereof, it will be appreciated by those of ordinary skill in the art that various changes and modifications may be made without departing from the spirit and scope of the invention. It is intended that the appended claims be interpreted as including the embodiments described herein, the alternatives mentioned above, and all equivalents thereto.FIELD OF THE INVENTION
BACKGROUND OF THE INVENTION
SUMMARY OF THE INVENTION
BRIEF DESCRIPTION OF THE DRAWINGS
DETAILED DESCRIPTION OF THE PREFERRED EMBODIMENTS
so that aijis the probability that state Siat time t change to state Sjat time t+1. B is the observation symbol probability matrix, where
bj(k) is the probability that one observes symbol νkat time t given that the state is Sjat time t. π is the initial state distribution, i.e.,
πi
is the probability of being at state Siat time t=1.
α1(
From induction, it is clear that atdecreases as t increases. If the observation sequence is too long, the a would go beyond the capacity of the machine. So scaling is applied in real application. Although not discussed in specific detail here, scaling within a Hidden Markov Model is well understood to one of ordinary skill in the art.
x_min=min(x1_min, x2_min)
x_max=max(x1_max, x2_max)
y_min=min(y1_min, y2_min)
y_max=max(y1_max, y2_max)