An apparatus includes a rotatable chuck for supporting a substrate and a splash guard. The splash guard surrounds the chuck and surrounds a substrate mounted on the chuck. The splash guard has a portion that deflects fluid being flung off the substrate by centrifugal action in a manner so as to not splash back onto the substrate. The splash guard is moveable between a process position in which the upper annular edge of the splash guard extends above the chuck and a substrate on the chuck, and a load/unload position in which the splash guard is tilted so that one side of the upper annular edge is below an upper edge of the chuck. The movement of the splash guard facilitates loading and unloading of a substrate.
1. An apparatus for cleaning and drying a substrate comprising: a rotatable substrate support; a process bowl surrounding and spaced outwardly from the substrate support, the process bowl having a slot through which the substrate may be moved; and a splash guard positioned within the process bowl around the substrate support and around the substrate mounted on the substrate support, the splash guard configured to be moveable between at least a first position and a second position, the splash guard having a portion configured to deflect fluid flung off the substrate by centrifugal action so that the fluid does not splash back onto the substrate. 2. The apparatus of 3. The apparatus of 4. The apparatus of 5. The apparatus of 6. The apparatus of 7. The apparatus of 8. The apparatus of 9. The apparatus of 10. The apparatus of 11. The apparatus of 12. The apparatus of 13. The apparatus of 14. The apparatus of 15. The apparatus of 16. The apparatus of 17. A method of processing a substrate in an apparatus, the apparatus having a rotatable substrate support, and a processing device, the method comprising: providing a moveable splash guard; positioning the splash guard so that the substrate can be loaded onto the substrate support; rotating the substrate; processing the substrate with the processing device; and moving the splash guard to a position where it can deflect away from a surface of the substrate fluids flung off of the surface during the processing of the substrate wherein positioning step further comprises positioning the substrate onto the substrate support by moving the substrate through a slot in a process bowl wherein the process bowl is spaced outwardly from the substrate support. 18. A method of drying a substrate comprising: providing a rotatable chuck for supporting a substrate, and a splash guard surrounding the chuck and in position to surround a substrate mounted on the chuck, the splash guard having a portion configured to deflect fluid being flung off the substrate by centrifugal action in a manner so as to not splash back onto the substrate, moving the splash guard to a load/unload position in which the splash guard is tilted so that on side of an upper annular edge is below an upper edge of the chuck; loading the substrate on the rotatable chuck; and moving the splash guard to a process position in which the upper annular edge of the splash guard extends above the chuck and extends above a substrate on the chuck wherein moving step further comprises moving the splash guard to a position where the splash guard blocks a slot in a process bowl spaced outwardly from the substrate support to prevent fluid flung off of the surface of the substrate from being expelled through the slot. 19. The method of 20. A method of processing a substrate in a cleaning and drying apparatus, the apparatus having a rotatable substrate support positioned in a process bowl, the process bowl having a slot and being spaced outwardly from the substrate support, a megasonic transmitter, a drying assembly, and a moveable splash guard, the drying assembly comprising a support arm, a fluid dispensing outlet and a vapor dispensing outlet, the method comprising: moving the splash guard to a first position where the top of the splash guard is at an elevation below the slot; loading the substrate onto the substrate support by moving the substrate through the slot; moving the splash guard to a second position where a portion of the splash guard that faces the slot in the process bowl is at the same elevation as the slot and where portion of the splash guard that faces the megasonic transmitter is at an elevation below the megasonic transmitter; moving the megasonic transmitter to a position over the substrate and applying megasonic energy to the substrate through the megasonic transmitter; moving the drying assembly to a position over the substrate; moving the splash guard to a third position where the splashguard can deflect fluids off a surface of the substrate away from the surface during the drying process. 21. The method of
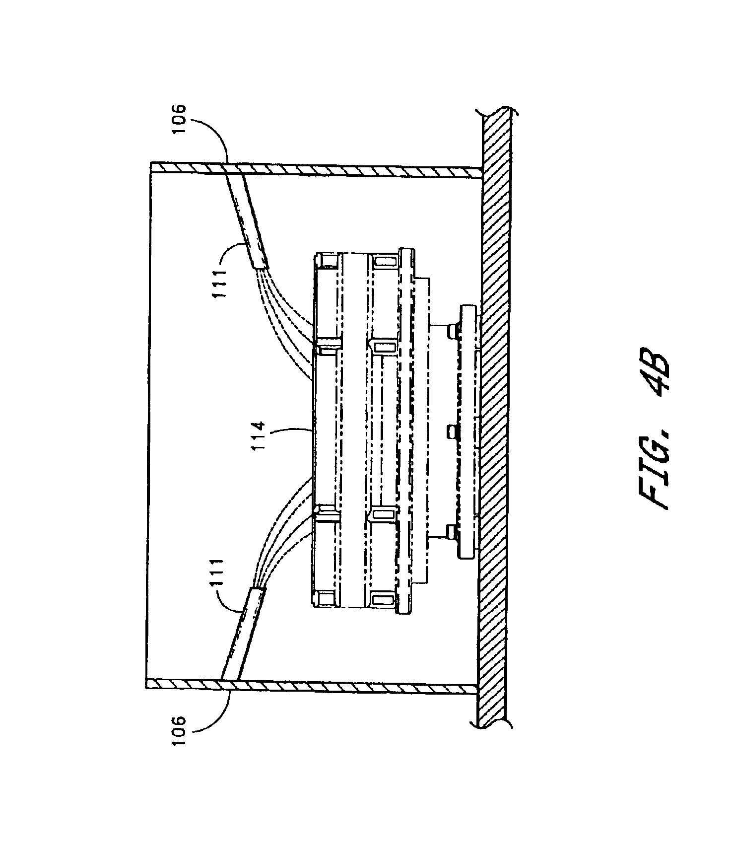
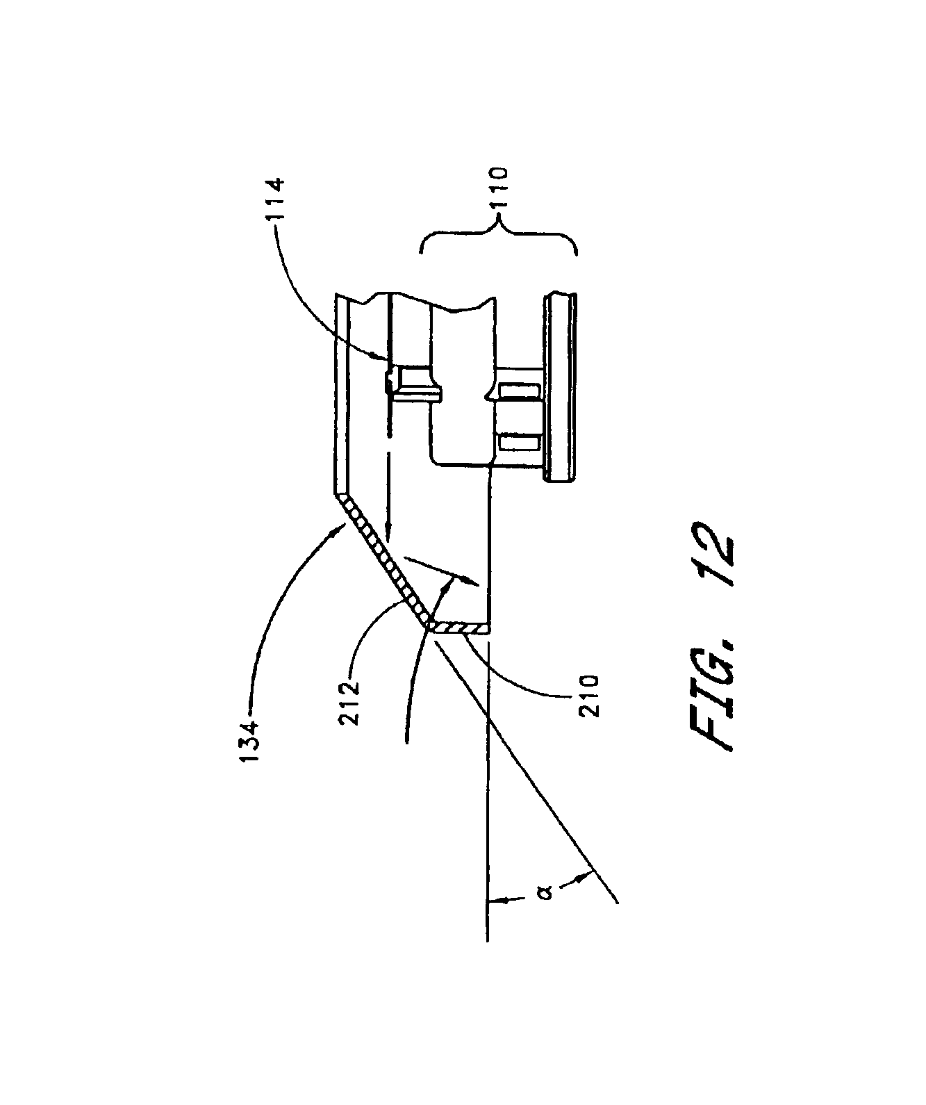
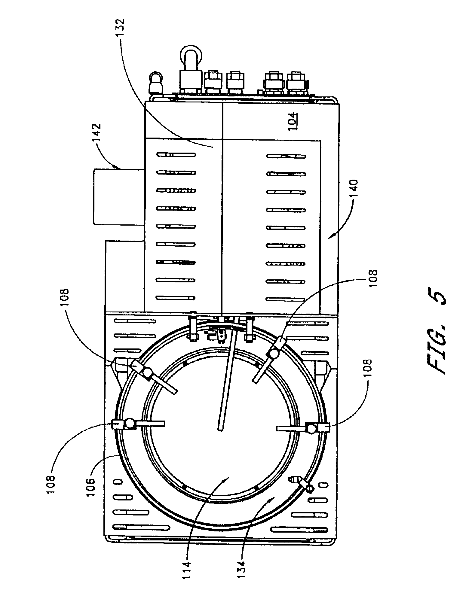
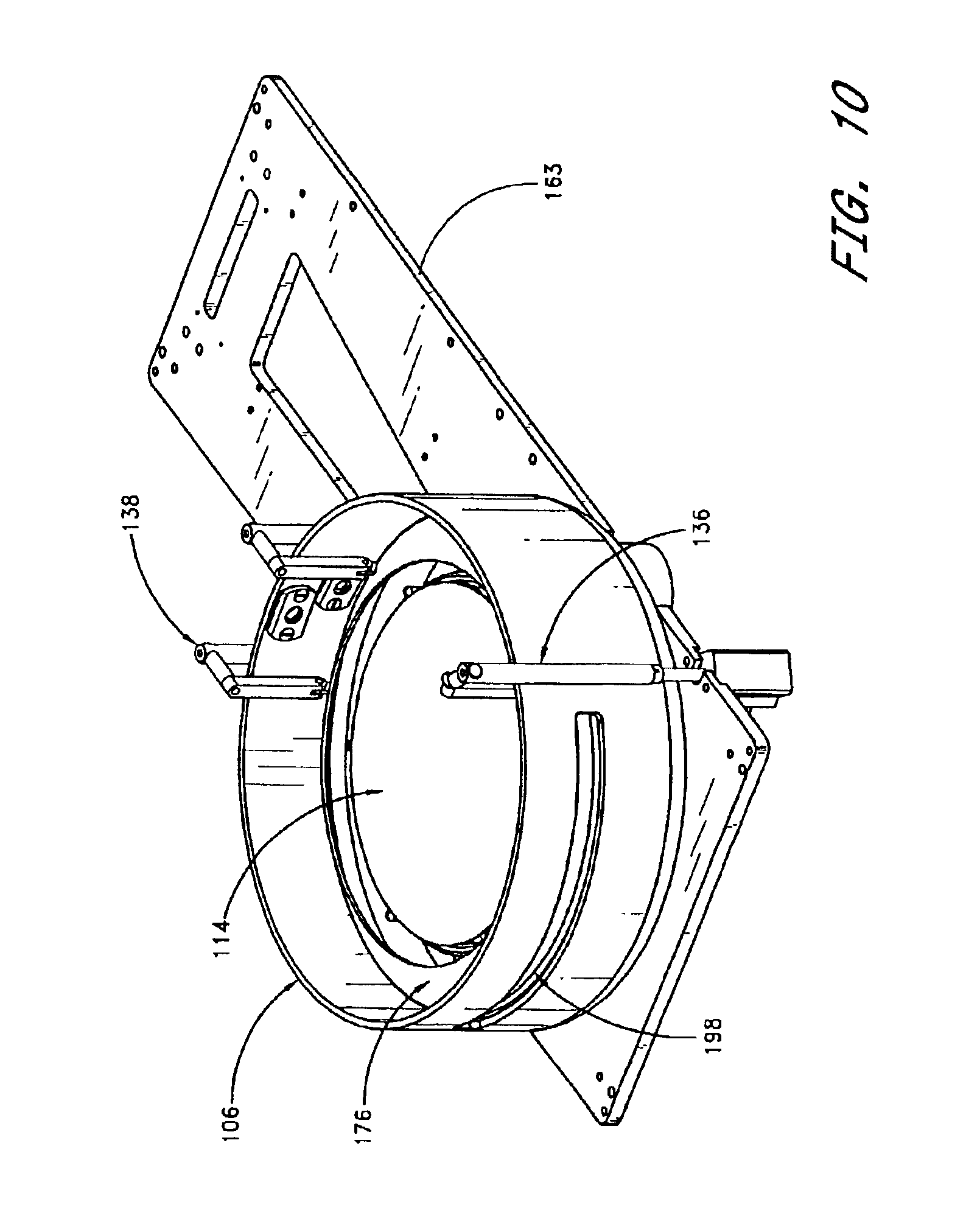
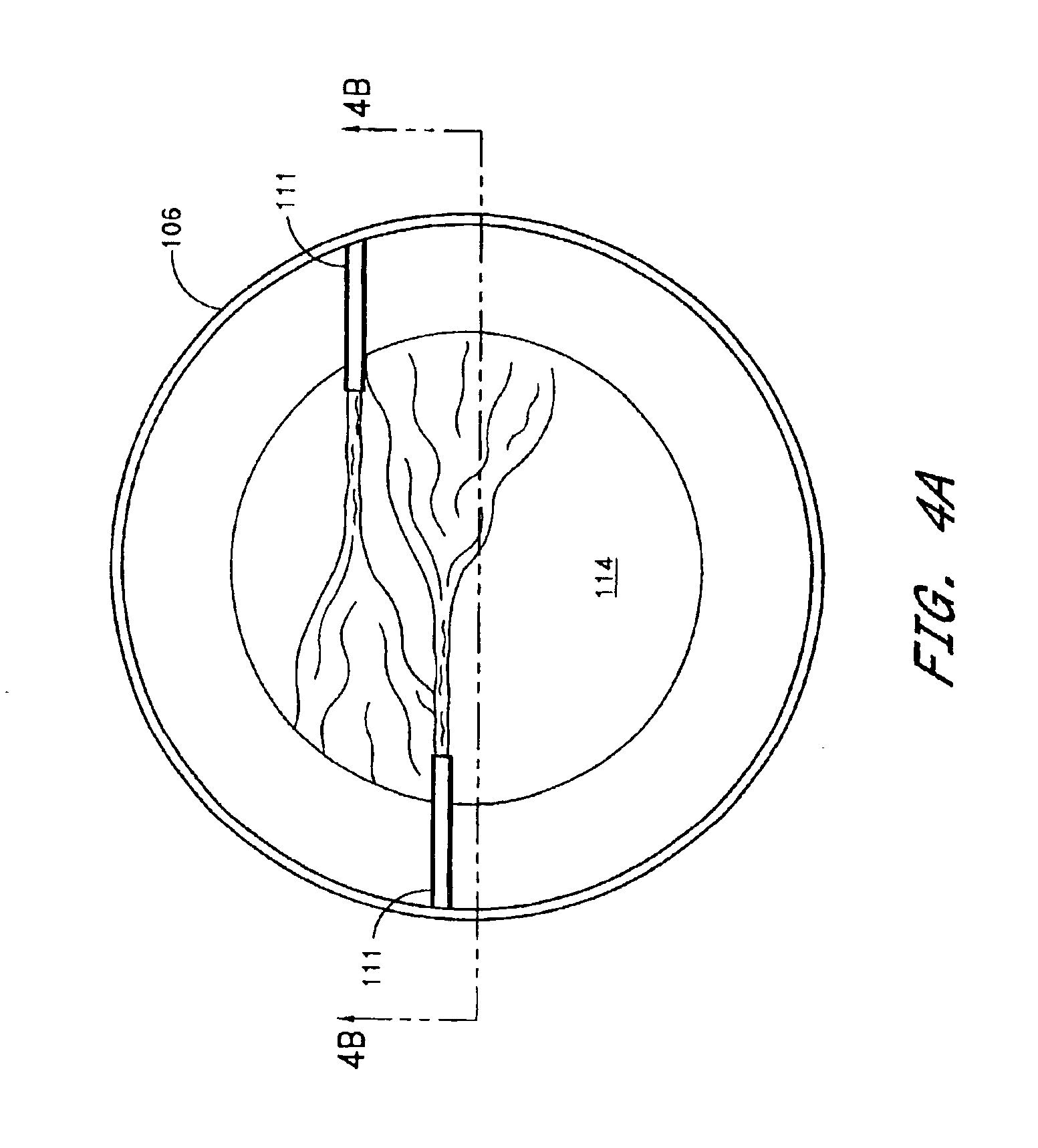
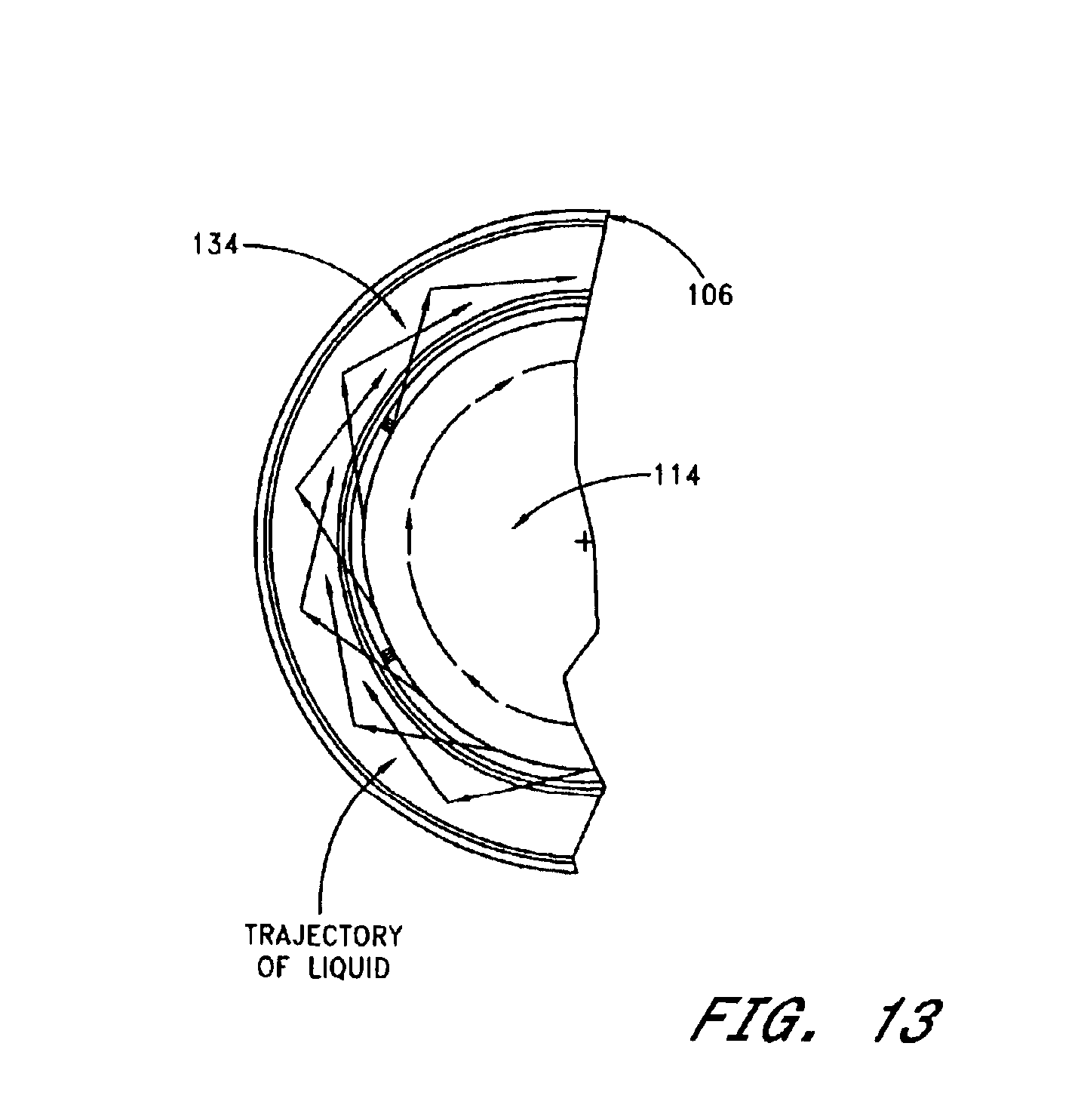
This application claims the benefit of U.S. Provisional Application No. 60/297,736, filed Jun. 12, 2001, and claims the benefit of U.S. Provisional Application No. 60/304,920, filed Jul. 11, 2001, and also claims the benefit of U.S. Provisional Application No. 60/316,725, filed Aug. 30, 2001, the entirety of all of which are hereby incorporated by reference. 1. Field of the Invention This invention relates to an apparatus and method for cleaning semiconductor substrates or other such items requiring extremely high levels of cleanliness. 2. Description of the Related Art Semiconductor substrates can be cleaned by propagating acoustic energy, such as megasonic energy, into a layer of cleaning solution on the surface of the substrate. Megasonic cleaning systems use this cleaning solution layer to propagate megasonic energy, i.e. acoustic energy at frequencies much greater than ultrasonic. This energy is directed toward the surface of the substrate and thereby removes, safely and effectively, particles from the substrate surface without the negative side effects associated with ultrasonic cleaning. In the past, such cleaning systems have been designed to process substrates in batches, typically cleaning 25 substrate at once. The benefit of this batch cleaning became less important as substrate size increased because single substrate capacity increased. Also, substrate processors began working with more delicate devices, which required more careful handling than was possible in batch cleaning. The greater value per substrate and the more delicate nature of the devices produced on the substrates created a great need for single wafer processing equipment. Single substrate megasonic cleaning equipment for processing the larger substrates carrying more delicate devices have been developed to meet this need. One such single substrate cleaning system incorporates a probe and a transducer and is described in U.S. Pat. No. 6,140,744 and commercially available from Verteq Inc. of Santa Ana, Calif. One cleaning apparatus described therein comprises an elongate probe configured to propagate megasonic energy to a surface of a substrate by way of a meniscus of liquid extending between the probe and the substrate. Because the energy is transmitted through a meniscus of liquid, the process is a “wet” process and it requires the probe to be positioned very close to the substrate surface. After this “wet” cleaning process, the substrate must be dried prior to further processing. Various methods of drying the substrate have been tried and have generally involved spinning the substrate and thereby forcing the liquid off the substrate surface via centrifugal forces arising from the spinning. Unfortunately, this drying method has its drawbacks, such as the tendency of liquid on a surface to leave behind residue, e.g. water spots. In the past, such spots were not of great concern to the simpler devices being produced on the substrates. However, as already mentioned, the devices processed on substrates have become more delicate, and therefore more sensitive to contaminants of all kinds, including water spots. Moreover, substrate processors have become more aware of sources of process variation, which translate into variation in performance of the devices and yield variation. One such source of these variations is contaminants, including drying residue. Therefore, careful control of the drying conditions has been investigated by some. European patent application publication EP0905747A1 to IMEC discloses a drying apparatus that exploits rotational and Marangoni effects to improve drying performance. As mentioned above, the rotation of the substrate subjects the liquid to centrifugal forces, which tend to force the liquid from the center of the substrate toward its edge, and ultimately off of the surface. Simultaneously, a surface tension reducing vapor creates the so called Marangoni effect that reduces the tendency of the liquid to adhere to the substrate surface, i.e. reduces the liquid surface tension. This reduces the tendency of the liquid to remain on the substrate surface long enough to evaporate from the surface and therefore helps to produce a residue free drying process. While the IMEC apparatus has achieved satisfactory substrate drying results in the laboratory, the concept has not been implemented into a commercial application. Another issue presented by wet spin cleaning and drying of substrates is the containment and disposal of the process liquids involved, for example, various acids, bases, solvents, and de-ionized water. Some of these liquids may harm workers or damage other equipment in the vicinity of the cleaning apparatus if the workers or equipment come into contact with the process liquids. Thus, full containment and removal of the process liquids is necessary to maintain a safe working environment and protect valuable equipment. However, a critical design consideration for any machine in substrate processing is process time, or through-put. This is in part because substrate processing must be done in very clean, and thus very expensive, fabrication facilities. As a result, substrate processors prefer to maximize the output of existing facilities rather than expanding those facilities or building new ones. Thus, fast through-put is preferred. Therefore, a need exists for an improved cleaning method and apparatus that will improve the drying performance in a single wafer processing application and will improve throughput for performing substrate cleaning and drying operations. In one embodiment, the present invention is an apparatus for drying a substrate that includes a rotatable chuck for supporting a substrate and a splash guard. The splash guard surrounds the chuck and surrounds a substrate mounted on the chuck. The splash guard has a portion that deflects fluid being flung off the substrate by centrifugal action in a manner so as to not splash back onto the substrate. The splash guard is moveable between a process position in which the upper annular edge of the splash guard extends above the chuck and a substrate on the chuck, and a load/unload position in which the splash guard is tilted so that one side of the upper annular edge is below an upper edge of the chuck. The movement of the splash guard facilitates loading and unloading of a substrate. In another embodiment, the present invention is an apparatus for cleaning and drying a substrate that includes a rotatable substrate support, a process bowl, and a splash guard. The process bowl surrounds and is spaced outwardly from the substrate support. The process bowl has a slot through which the substrate may be moved. The splash guard is positioned within the process bowl around the substrate support and around the substrate mounted on the substrate support. The splash guard is moveable between at least a first position and a second position. The splash guard has a portion that deflects fluid flung off the substrate by centrifugal action so that the fluid does not splash back onto the substrate. In another embodiment, the present invention is an apparatus for drying a substrate that includes a rotatable substrate support and a splash guard. The splash guard surrounds the substrate support and the substrate mounted on the substrate support. The splash guard has a mesh portion configured to deflect fluid being flung off the substrate by centrifugal action in a manner so as to not splash back onto the substrate. In another embodiment, the present invention is embodied in a method of drying a substrate. A rotatable chuck for supporting a substrate and a splash guard surrounding the chuck and a substrate mounted on the chuck are provided. The splash guard has a portion configured to deflect fluid being flung off the substrate by centrifugal action in a manner so as to not splash back onto the substrate. The splash guard is moved to a load/unload position in which the splash guard is tilted so that one side of an upper annular edge is below an upper edge of the chuck. The substrate is loaded on the rotatable chuck. The splash guard is moved to a process position in which the upper annular edge of the splash guard extends above the chuck and extends above a substrate on the chuck. In another embodiment, a method of processing a substrate in an apparatus employs a rotatable substrate support and a processing device. A moveable splash guard is provided. The splash guard is positioned so that the substrate can be loaded onto the substrate support. The substrate is rotated. The substrate is processed with the processing device. The splash guard is moved to a position where it can deflect away from a surface of the substrate fluids flung off of the surface during the processing of the substrate. In another embodiment, a method of processing a substrate in a cleaning and drying apparatus employs a rotatable substrate support positioned in a process bowl. The process bowl has a slot and is spaced outwardly from the substrate support. The apparatus also has a megasonic transmitter, a drying assembly, and a moveable splash guard. The drying assembly has a support arm, a fluid dispensing outlet, and a vapor dispensing outlet. The splash guard is moved to a first position where the top of the splash guard is at an elevation below the slot. The substrate is loaded onto the substrate support by moving it through the slot. The splash guard is moved to a second position where a portion of the splash guard that faces the slot in the process bowl is at the same elevation as the slot and where a portion of the splash guard that faces the megasonic transmitter is at an elevation below the megasonic transmitter. The megasonic transmitter is moved to a position over the substrate and megasonic energy is applied to the substrate through the megasonic transmitter. The drying assembly is moved to a position over the substrate. The splash guard is moved to a third position where it can deflect fluids flung off a surface of the substrate away from the surface during the drying process. A plurality of dispensers 108 are mounted to the vertical portion of the bowl 106, i.e. the bowl side wall, and extend toward the bowl's center. Each of the dispensers 108 has an outlet through which fluid is dispensed. These dispensers 108 may be pivotably mounted to brackets which have the shape of an inverted “J”, the inside curve of which is configured to receive the top surface of the bowl. In this way, the elevation of the dispenser may be fixed. The dispensers 108 are connected to gas or liquid supply lines (not shown) which provide cleaning media to the surface desired to be cleaned. The position of the dispensers with respect to the other components is relates to controlling the cleaning operation in some embodiments, and will be discussed in more detail below. A substrate chuck 110 of a substrate chuck assembly 112 is also positioned within the process bowl 106 and is configured to receive and support a substrate 114 during processing in the cleaning apparatus 100 (See The side wall of the bowl 106 near the rear-most portion of the bowl comprises at least one aperture. These apertures provide access to the processing chamber of the process bowl 106 for any of a number of processing devices, e.g., the aperture provides access for a cleaning assembly 118 and/or a substrate drying assembly 120, also referred to herein as the drying assembly 120. There may also be two or more apertures in the rear portion sidewall, one to provide access for the drying assembly 120 and one to provide access for the cleaning assembly 118. Other suitable processing devices can also be incorporated into the apparatus 100. The cleaning assembly 118 may include a rod-like probe coupled to a megasonic transducer. As mentioned above, a rod-like probe coupled to a megasonic transducer is described in more detail in U.S. Pat. No. 6,140,744, which is hereby incorporated by reference. As described therein, a probe 122 is configured to propagate megasonic energy to the surface of the substrate 114 by way of a meniscus of liquid extending between the probe and the substrate 114 to loosen particles on the substrate. The probe 122 must be positioned close enough to the substrate 114 so that a meniscus of liquid extends between the probe and the substrate. Preferably this distance is about one-tenth of an inch, or about 2.5 millimeters, creating a meniscus of the same height except that the liquid also covers a small lower edge of the probe. In one form of the invention, the liquid forming the meniscus is applied to the surface of the substrate 114 by suitable dispensers 108. Although a rod-like probe is illustrated in connection with the preferred embodiment described herein, a transmitter of any suitable shape will also work. Control of the liquid interface between the probe 122 and the substrate 114 (the meniscus) can enhance the cleaning performance of the cleaning and drying apparatus 100. There are several variables which influence the amount of energy that may be propagated through the liquid to the surface of the substrate 114, including the height of the meniscus, the absence or presence of surface waves impacting the probe 122, the fluid flow properties of the cleaning media, the ability to dispense the cleaning media in a pulsing (i.e., a flow-rate variable) fashion, the frequency of the acoustic energy applied to the probe, the availability of a dispenser to apply a loading media to the probe 122 to dampen the energy of the probe, and other factors. The acoustic energy propagated through the meniscus can be controlled by carefully positioning the cleaning liquid dispensers so that the liquid that they dispense does not substantially interfere with the operation of the probe. Such interference can occur, for example, when the thickness of the meniscus proximate the probe varies substantially. This can occur, for example, if surface waves are created in the liquid meniscus proximate the probe 122. One way to reduce the interference of the dispensed liquid with the propagation of energy is to position the dispensers so that the dispenser nozzles dispense the cleaning liquid onto a portion of the substrate that is not near the probe. The dispensers 108 may be positioned at any desired location around the circumference of the bowl 106, and their location may be defined as a number of degrees between 0 and 360 with respect to a reference location, such as the probe 122 forming a part of the cleaning assembly 118. More specifically, if the probe 122 is the reference location, then 90 degrees is the location that is one-quarter the way around the bowl 106 from the probe in the clockwise direction as viewed from the top. Propagation of energy through the meniscus can be controlled by creating a liquid dispenser location map for the substrate cleaning apparatus 100. A dispenser location map can be created by dividing the 360 degree range of cleaning dispenser locations around the circumference of the bowl 106 into at least two circumferential zones. The circumferential zones may or may not be physically distinct features of the process bowl 106. In one preferred embodiment, the range of nozzle positions is divided into five circumferential zones (see FIG. 2). A zone 150 can include the position of the probe 122, i.e., the reference location at zero degrees. The zone 150 could extend clockwise around the bowl 106 from about 315 degrees to about 90 degrees. A zone 152 can be located adjacent to the zone 150, extending clockwise around the bowl 106 from about 270 degrees to about 315 degrees. A zone 154 can be located adjacent to the zone 152, extending clockwise around the bowl 106 from about 235 degrees to about 270 degrees. A zone 156 can be located adjacent to the zone 154, extending clockwise around the bowl 106 from about 135 degrees to about 235 degrees. A zone 158 is located between the zone 156 and the zone 150, extending from about 90 degrees to about 135 degrees. In one embodiment, the cleaning fluid dispensers 108 are positioned in any of the zones 152, 154, 156, or 158. More preferably, the cleaning fluid dispensers 108 are positioned in any of zones 154, 156, or 158. Still more preferably, the cleaning fluid dispensers are positioned in either zone 154 or zone 158. In another variation, the zone 150 can be subdivided into two sub-zones. The first sub-zone extends clockwise from about 315 degrees to about 45 degrees, and the second sub-zone extends from about 45 degrees to about 90 degrees. In this embodiment, the cleaning fluid dispensers 108 are positioned in any of the zones 152, 154, 156, 158, or the second sub-zone of the zone 150 extending from about 45 degrees to about 90 degrees. More preferably, the cleaning fluid dispensers 108 are positioned in any of zones 154, 156, or 158. Still more preferably, the cleaning fluid dispensers are positioned in either zone 154 or zone 158. The cleaning fluid dispensers 108 dispense liquid in a direction that is preferably generally perpendicular to a vertical plane passing through the longitudinal axis of the probe 122. However, the dispensers may be made adjustable to a range of dispense angles with respect to the probe. For example, the dispensers 108 can be rotated about a vertical axis passing through the base of the dispenser 108. The range of rotation can be about thirty degrees to the right of and about thirty degrees to the left of a horizontal line perpendicular to the vertical plane passing through the probe 122. This may improve the control of the meniscus in one or more of the radial zones 152-158. For example, in the zone 152, an angle of thirty degrees to the right of the horizontal line perpendicular to the vertical plane passing through the probe 122 may be preferred. As shown in The dispenser 109 in the apparatus 100 provides several advantages. One advantage related to the probe dampening described above involves tuning the probe 122. Each probe has slightly different cleaning performance. As a result, prior to installing the probe into the apparatus 100, the probe 122 preferably is tuned. Furthermore, a specific substrate type used by a customer may be very sensitive to the energy applied to it, and, as a result, too much energy could cause damage to that type of substrate. Accordingly, the probe 122 may need to be tuned to the customer's substrate type. Probe tuning involves operating the probe at a variety of frequency to find the frequency that provides the best cleaning performance. Sometimes, however, adjusting the frequency of the power applied to the probe 122 does not provide enough tuning resolution, i.e., adjacent frequency steps are too large to produce the desired cleaning performance. In that case, the probe dampening technique described above can be used in combination with frequency adjustments to properly tune the probe. As mentioned above, it is desirable to reduce throughput for cleaning substrates on the apparatus 100. As discussed in more detail below, in connection with Another advantage provided by adding the dispenser 109 is that liquid from the dispenser 109 can be used to rinse the probe 122. By rinsing the probe 122, contaminants picked up by the probe 122 during the cleaning of a prior substrate 114 can be reduced prior to the cleaning of a subsequent substrate 114. By reducing contaminants on the probe 122, cleaning of the subsequent substrate 114 by the apparatus 100 will be more effective and more efficient. The meniscus may further be controlled by carefully controlling the fluid flow properties of the cleaning media directed at the substrate 114 by the nozzles of the dispensers 108. These properties are controlled by selecting a preferred nozzle inner diameter. Varying the nozzle diameter affects the fluid flow of the cleaning media. For example, for a cleaning liquid supplied to the nozzle at a constant pressure, smaller nozzles tend to produce higher cleaning fluid velocities. The preferred fluid pressure for cleaning liquid supplied to the nozzle is in a range between about 2 and about 30 pounds per square inch, or between about 13,700 newton per square meter and about 206,800 newton per square meter. Higher fluid velocities tend to interfere more with the cleaning capability of the probe. Thus, the nozzle size preferably is controlled. In order to clean adequately, the nozzle size is preferably greater than about 0.125 inches, or about 3.2 millimeters, in one embodiment. The cleaning media dispenser nozzle size is preferably greater than about 0.25 inches, or about 6.4 millimeters, in another embodiment. The cleaning media dispenser nozzle size is most preferably about 0.25 inches, or about 6.4 millimeters. As mentioned, the flow velocity of the liquid exiting the nozzle increases with smaller nozzle sizes for the same volumetric flow rate. Because the distance between the nozzle and the substrate is fixed, varying the nozzle size may require that the trajectory of the liquid be varied. Thus, for a 0.125 inch nozzle, the trajectory of the nozzle and the liquid as it initially exits the nozzle is approximately fifteen degrees below the horizon. By contrast, for a 0.25 inch nozzle, the trajectory of the nozzle and initial trajectory of the liquid is between about thirty degrees and about forty-five degrees above the horizon, see FIG. 3B. Another variable which can increase cleaning efficiency is the capability to pulse the application of cleaning media to the substrate. This pulsing preferably involves turning the dispensing nozzle on and off at regular intervals. More generally, it could involve varying the volumetric flow rate of the media exiting the dispenser. For a given dispenser geometry, and for liquid cleaning medium, the flow velocity is adjusted by varying the fluid pressure. Thus, the dispensers preferably can be controlled to apply liquid to the substrate in a pulsing manner. In the pulsing mode, the cleaning media dispensing nozzles preferably are cycled at a frequency between 0.1 hertz and 0.5 hertz, i.e., a period ranging from 2 seconds to 10 seconds. Alternately, the fluid pressure could be varied between, for example, between about 30 pounds per square inch, or about 206,900 newton per square meter, and about 2 pounds per square inch, or about 13,700 newton per square meter. More preferably, the pressure could be varied between about 10 pounds per square inch, or about 69,000 newton per square meter, and about 2 pounds per square inch, or 13,700 newton per square meter. Pulsing could be achieved using other techniques. For example, pulsing application of fluid to the substrate could also be achieved by varying the fluid flow rate between the preferred maximum flow rate and a lesser, non-zero flow rate. Other variables which can be used to control the manner in which acoustic energy propagates through the meniscus include the height of the meniscus, the frequency of the energy applied to the probe, and other factors. As discussed above, the frequency applied to the probe 122 can be adjusted in order to tune the probe 122. This process yields a preferred operating frequency for the probe 122 that might correspond to the highest cleaning efficiency. The probe 122 can operate at a wide range of frequencies, for example, between about 500 kilohertz (“kHz”) and about 1.5 megahertz (MHz). The probe 122 can also operate very well in a frequency range between about 825 kHz and about 850 kHz. The probe 122 can also operate very well within a frequency range from about 836 kHz to about 844 kHz. The probe 122 can operate very well at about 836 kHz or about 844 kHz. As discussed below in more detail, the apparatus 100 further comprises a controller 147, which is programmable to apply megasonic energy to the probe at one or more of the frequency ranges described above. As discussed above, the preferred operating frequency of an individual probe 122 can depend on several factors, for example, the actual dimensions of the probe 122, the overall dimensions of the entire cleaning assembly 118, the substrate application and other factors. As discussed above in connection with loading the probe 122, when the cleaning application involves substrates 114 carrying very delicate structures, the preferred operational frequency of megasonic energy applied to the probe 122 can be altered from the frequency corresponding to the highest cleaning efficiency. This other frequency can reduce the possibility of the probe 122 damaging delicate structures on the substrate 114. The probe 122 is extendible into and retractable out of the bowl 106 through one of the apertures in the side wall of the bowl 106. For example, as shown by the arrow 124, the assembly 118 is movable in a radial direction. The assembly 118 preferably may be extended outward from the rear-most side wall of the process bowl 106 until it reaches about the center or just beyond the center of the substrate 114. On the other hand, when the assembly 118 is retracted, most of the probe 122 is received beneath the cover 132. As described in the above-noted U.S. Pat. No. 6,140,744, megasonic energy applied to a transducer coupled to the probe 122 propagates through the probe 122, and through the meniscus of liquid onto the substrate 114 to loosen particles on the substrate 114 while the substrate 114 is rotating. In the preferred embodiment, the process bowl 106 also comprises a second aperture for receiving drying assembly 120. The assembly 120 may include a drying head 128, which is described in greater detail in European Patent application publication EP0905747A1. As described therein, the drying assembly 120 has a substrate drying assembly support arm 130 mounted to be moveable radially with respect to the substrate 114 into and out of a position closely spaced above the upper surface (the device side) of the substrate 114 supported on the chuck 110. The drying assembly 120 includes an outlet that applies, or dispenses, liquid to the surface of the substrate and also includes an outlet that applies, or dispenses, tensioactive vapor to the surface of the substrate 114. The drying vapor outlet is positioned radially beyond the drying liquid outlet. The drying assembly 120 is designed to be extendible through the rear-most side wall of the process bowl 106 toward and just beyond the center of the processing chamber of the process bowl 106. The drying assembly 120 also resides primarily under the cover 132 when retracted. The operation of the drying assembly 120 and the cleaning assembly 118 can be carefully controlled in order to sufficiently clean the substrate 114 at a satisfactory speed. This control is described in connection with a method described below. The drying assembly 120 dries the surface of the substrate 114 through centrifugal action and by displacing the processing liquids on the surface with a tensioactive liquid that reduces the surface tension of the processing liquids. A moveable splash guard 134 is also located in the process bowl 106, and is discussed in greater detail with respect to Referring now to Referring now to The tubular shaft 166 provides access for tubing, wiring, mechanical components and the like 170 which may perform cleaning of the bottom side of the substrate 114. For example, a bottom-side fluid dispenser 171 can extend upwardly through the tubular shaft 166 into a position to be able to apply liquid to the bottom surface of the substrate 114 (see FIG. 9B). As shown in When the motor 160 is driven in a controlled manner, the rotation of the motor 160 is transferred through the belt 164 to the cassette 162 causing the cassette 162 and the substrate chuck 110 to also rotate in a controlled manner. The substrate chuck 110 also comprises a plurality of substrate support posts 176. The posts 176 extend upwardly from an upper surface of the horizontal portion, or lower portion, 172. The posts 176 are described in more detail below. In the preferred embodiment, the substrate chuck 110 is fixed in the direction perpendicular to the surface of the plate 163, vertically fixed in the arrangement shown. Other substrate chucks configured to telescope (i.e. to be movable in the direction of the axis of rotation) are known could be implemented in this substrate cleaning system as well. As shown in By so supporting the substrate 114, a space is created underneath the substrate 114 which may be accessed by the various components 170. The substrate support posts 176 provide a passive restraint of the substrate 114. The passive restraint may comprise a notch which is located on the side of the post closest to the axis of a rotation of the bearing cassette 162. This notch comprises a horizontal portion and a vertical portion. The horizontal portion provides a surface upon which the substrate 114 rests. Therefore, the horizontal portion of the support post 176 provides a passive restraint in the vertical direction against the force of gravity. The vertical portion provides a surface upon which the outer edge of the substrate 114 may be pressed by the rotation of the substrate chuck 110. Therefore, the vertical portion of the support post 176 provides a passive restraint in the form of centripetal force in the horizontal direction. Of course other devices could be used to hold the substrate in position, such as a mechanism actuated by the rotation of the chuck 110. Such a mechanism would press against the substrate to hold it in place when the substrate is rotating, but release it when it is not. Referring to Also mounted to the support plate 163 are the supports 136, 138 supporting the moveable splash guard 134. The supports 136, 138 are vertically actuatable and as they are raised, the splash guard 134 correspondingly also is raised relative to the fixed elevation of the substrate 114 when positioned on the substrate chuck 110. As shown, the supports 136, 138 may comprise one or more hinges 139 to facilitate the movement of the splash guard 134. Of course other numbers of moveable supports could also be used to move the splash guard 134. Referring now to Referring to Referring to Finally, referring to Referring to As may be seen in Referring now to Another variation comprises a splash guard having at least two mesh sections. In this arrangement, a second mesh section is positioned generally concentrically around a first mesh section. Generally, the first mesh section will have apertures and open area equal to or larger than the apertures and open areas of the second mesh. The second mesh can have about a 1 mm aperture with about a 44 percent open area. In another variation, the second mesh can have about a 0.3 mm aperture with a 36 percent open area. In still another variation, the first mesh section can have about a 1 mm aperture with about a 44 percent open area and the second mesh can have about a 0.3 mm aperture with about a 36 percent open area. Yet another variation involves using a mesh portion similar to mesh portion 234 in conjunction with an annular splash guard similar to the guard 134. As with the splash guard 134, the splash guard 230 may be attached to supports 136 and 138 that are vertically actuatable. Together with the hinges 139, the supports 136, 138 permit the mesh-type splash guard 230 to be moved as the splash guard 134 is moved, as shown in Referring now to The drive modules 144, 146 are driven by a controller 147 which positions the probe 122 or the drying head 128 radially with respect to the substrate 114. For example, the probe 122 is inserted or retracted radially from the processing chamber of the process bowl 106 by the drive module 144. The drive module 144 is connected to the cleaning assembly 118 and moves it radially with respect to the substrate 114 such that the end of the probe 122 extends toward or is retracted away from the center of the substrate 114. The drive module 144 also can retract the probe 122 so that it is outside of the outer diameter of the substrate 114. Similarly, the drive module 146 can extend the drying head 128 to a position at an elevation above the substrate 114 but within its radius and can also retract the cleaning head 128. The controller 147 which actuates the drive modules 144, 146 can be used to implement various control strategies to maximize performance of the cleaning apparatus 100. Different control strategies may be selected depending upon many factors, for example, the size of the substrate, the cleaning solution used, the sensitivity of the structures being constructed on the surface of the substrate, and the degree of cleanliness required, among others. These control strategies can be illustrated graphically, for example on a two-dimensional graph. As shown in Another example control strategy is illustrated in Referring to The cleaning and drying apparatus 100 described above can be controlled to provide a satisfactory cleaning and drying process as illustrated by one preferred embodiment in FIG. 20. The process begins at a start block 300. Then, at a process block 302, the drive module 144 positions the probe 122 closely spaced above an upper surface of the substrate 114, which is positioned in and rotating with the chuck 110. Next at a process block 304, fluid is applied to the substrate 114 to create a meniscus between the probe 122 and the substrate 114. Then, in a process block 306 megasonic energy is applied to the probe 122 to cause it to propagate the megasonic energy through the meniscus to the substrate 114. The megasonic energy applied to the substrate 114 loosens particles on the substrate 114. The megasonic energy is strongest in the region of the probe 122. Therefore, it is preferred that the substrate 114 rotate beneath the probe at a first rate so that the entire upper surface of the substrate 114 is exposed to the megasonic energy. In one variation, the process steps 304 and 306 may be combined. In that case, megasonic energy is applied to the probe 122 as the probe is being extended over the substrate 114. This variation may further include applying liquid to the probe 122 through the dispenser 109 while the megasonic energy is being applied to the probe and while the probe is being extended over the substrate 114. Next in a process block 308 the probe 122 is retracted at or near the completion of a cleaning operation. In yet another variation, the process blocks 304, 306, and 308 could all be combined so that megasonic energy is applied to the surface of the substrate 114 through the probe 122 while the probe 122 is being extended, while it is stationary over the substrate surface, and while it is being retracted. In each of these stages, it may be desired to apply loading liquid to the probe 122 through the dispenser 109 to reduce the power applied to the surface of the substrate 114, to tune the probe 122, or for other reasons. Then, in a process block 310, the substrate 114 is rinsed with a suitable liquid. One preferred rinsing liquid is de-ionized water. In another variation, the process block 310 could include a chemical treatment, such as a treatment with hydrofluoric acid. Then, in a process block 312 the substrate drying assembly support arm 130 is moved into position closely spaced above the substrate 114. The process block 312 is preferably at least partially performed concurrently with the process block 308. As described above, the drying assembly 120 includes an outlet for applying liquid to the upper surface of the substrate and also includes an outlet for applying a drying vapor to the upper surface of the substrate. Next, in a process block 314, the substrate drying assembly support arm 130 is positioned so that the liquid applying outlet of the drying assembly 120 is located approximately over the center of the substrate 114. Any of the process blocks 308-320 could include increasing the rate of rotation of the substrate 114 to a second rate. The second rate of rotation of the substrate 114 is preferably much greater than the first rate of rotation of the substrate 114. At higher rates of rotation, processing liquid is flung off the substrate surfaces at a higher velocity. This increases the likelihood of splash-back. As mentioned above in connection with Then, in a process block 316, liquid is applied to the substrate 114 through the liquid applying outlet of the drying head 128. In one advantageous alternative, the process block 316 is implemented at least partially concurrently with the process block 314. In this way, the liquid is applied to the substrate 114 through the liquid applying outlet of the drying head 128 while the substrate drying assembly support arm 130 is moved to the center of the substrate 114. In a process block 318, the substrate drying assembly support arm 130 is retracted to a position where the drying outlet of the drying head 128 is positioned over the center of the substrate 114. In a process block 320, the tensioactive vapor is applied to the substrate 114 as the substrate 114 rotates. The vapor applied at the process block 320 dries the center of the substrate 114 due to the rotation and by the action of the vapor on the liquid on the surface of the substrate 114. In a process block 322 the substrate drying assembly support arm 130 is retracted radially outwardly at a controlled rate to the periphery of the substrate 114. As the substrate drying assembly support arm 130 is being withdrawn, liquid is applied to the substrate 114 through the liquid outlet of the drying head 128. The control of the retraction is discussed in more detail below. In the process block 322 the drying head 128 applies tensioactive vapor to the substrate 114 through the vapor applying outlet following the application of liquid. Then in a process block 324, when the drying head 128 approaches the periphery of the substrate, the application of liquid to the upper surface of the substrate 114 is stopped. In a process block 326, the retraction of the substrate drying assembly support arm 130 is stopped near the periphery of the substrate 114. In the process step 326 the rotational speed of the substrate 114 is also greatly increased. This tends to dry a lower surface of the substrate 114 by centrifugal action. Then, in a process block 328, the application of drying vapor to the substrate 114 is stopped before the drying head 128 is retracted beyond the outer periphery of the substrate 114. In an end block 330, the drying head 128 is retracted to the home position, the rotation of the substrate 114 is stopped, and the process is completed. As mentioned above, one important consideration applied to the single wafer cleaning apparatus is through-put. Consequently, the process embodied in process steps 300-330 can be optimized to minimize cleaning, rinsing, and drying time. To this end, it will be appreciated that some of the above process blocks could be combined with the process still implementing the invention. For example, in one variation of the above process, process blocks 308, 310, and 312 are carried out at least partially concurrently. In another variation of the process described above, process blocks 318 and 320 could be carried out partially concurrently. Also, although the lower-numbered process blocks noted above generally begin before the higher-numbered blocks, many of the blocks are executed at least partially concurrently. The process described above can be incorporated into a wide variety of cleaning and drying recipes. For example, one drying recipe for an 8 inch, or a 200 millimeter, substrate begins after the probe 122 is retracted in the process block 308. The process block 310 commences by rotating the substrate at the second rate, e.g. 300 RPM (the first rate of rotation being that required by the cleaning assembly 118). This second rate is maintained for 29 seconds. In the process block 310 the substrate 114 is rinsed for 5 seconds. The process block 310 also can include a hydrofluoric acid exposure. The process block 312, which moves the substrate drying assembly support arm 130 toward a location over the center of the substrate 114, begins 4 seconds before the end of process block 310. In the process block 314, the substrate drying assembly support arm 130 is positioned so that the liquid applying outlet of the drying head 128 is located approximately over the center of the substrate 114. At the process block 316, liquid is applied to the substrate 114 through the liquid applying outlet of the drying head 128. This continues until process block 324. At the process block 318, the substrate drying assembly support arm 130 is retracted. When process block 318 is completed the drying outlet of the drying head 128 is positioned over the center of the substrate 114. At the process block 320, the tensioactive vapor is applied to the substrate 114. Next, at the process block 322, the substrate drying assembly support arm 130 is retracted radially outwardly while liquid and vapor are applied to the substrate 114 through the liquid and vapor outlets of the drying head 128 respectively. Next at the process block 324 the application of liquid to the substrate 114 is stopped. The retraction of the drying head 128 is stopped at the process block 326. Still at the process block 326 the rotational speed of the substrate 114 is greatly increased so as to dry a lower surface of the substrate 114. This increased speed is preferably 1000 revolutions per minute (RPM) or higher and is more preferably 1800 RPM. Finally, at the process block 328 the application of vapor to the substrate 114 is stopped and the drying head 128 is retracted beyond the outer periphery of the substrate 114. As mentioned, the above recipe is for an 8 inch, or a 200 millimeter, substrate. It will be recognized that the times may vary for different applications, including different substrate sizes. The cleaning apparatus disclosed herein also exploits a relationship between the rate of rotation of the substrate 114 and the rate at which the drive module 146 retracts the drying head 128. Generally, the faster the rotation, the faster the retraction can be. In some embodiments, it is desired to provide adequate drying in the shortest time. Referring now to Two advantageous process windows governing the rate of retraction of the substrate drying assembly support arm 130 and the rate of rotation of the substrate 114 are further illustrated in The blanket and patterned process windows shown in It has been found that some areas or zones in the substrate dry faster than others areas or zones. Referring now to Alternately for patterned substrates, as illustrated in It will be appreciated by one of ordinary skill in the art that the invention can also be embodied in control strategies that employ other numbers of zones and other locations on the substrate 114. It will also be appreciated that the retraction rate of the substrate drying assembly support arm 130 could be zero mm per second, i.e. the arm could be held still, for a period of time in one or more of the zones. Referring now to The cleaner 702 also includes a rear portion 706 that is vertically thicker than the forward portion 704. The rear portion 706 includes a device for rotating the support 110, such as the servomotor 160, and one or more liquid or gas supply lines for conducting fluid to the dispenser 108. The rear portion 706 also includes a drive module 144 for moving the probe, as well as connections for applying megasonic energy to the probe. The system 700 includes a second substrate cleaner 722. Like the substrate cleaner 702, the cleaner 722 includes a forward portion 724 and a rear portion 726 that is vertically thicker than the forward portion 724. In the system 700, the second cleaner 722 can be stacked below the first cleaner 702 with the forward portions being vertically aligned and the rear portions being vertically aligned. In this position, a space 730 is formed between the forward portions 704, 724 to permit ample gas flow into the space 730 between the forward portions of the cleaners. Stacking the first substrate cleaner 702 and the second substrate cleaner 722 reduces the cleanroom floor space which must be dedicated to cleaning and drying. The vertical thickness of the bowl area is minimized by several related techniques. Utilizing the vertically fixed support chuck facilitates this by having the substrate handling robot provide the necessary vertical movement when transporting a substrate. A mechanism for vertically moving the chuck requires greater vertical space, which interferes with the air-flow to the substrate area. The slot 198 in the process bowl 106 enables use of the robot without increasing the space requirements because space beneath the substrate is desirable for applying liquid to the substrate lower surface. The moveable splash guard 134 permits the use of the slot 198 for substrate transfer. As shown in The cleaner housing portion 806 provides a space 820 where the cleaners 702, 722 are mounted. Each of the cleaners 702, 722 advantageously can be mounted on at least one drawer slide 822 comprising a cleaner fixture 824 mounted to the cleaner 722 or the cleaner 702, a translating portion 826, and a frame fixture 828 mounted to the frame 802. The fixtures 824, 828 can be configured to slidably interface with the translating portion 826. The fixtures 824, 828 preferably also are configured to support the weight of the cleaner 722 when it is within the housing portion 806 and when it is pulled out, as shown in The plumbing and pneumatic support cabinet housing portion 808 provides a space 840 in which a plumbing and pneumatic support cabinet 841 can be positioned. The cabinet 841 can include, for example, various liquid and gas hook-up lines, control lines, and the like. At least one external hook-up panel 842 can be provided to simplify the connection, maintenance, and exchange of the various fluid lines. Also, a control panel 844 can be provided to enhance the connection of a controller and one or more gauges for monitoring the performance of the cleaners 702, 722. The pneumatic support cabinet 841 may include a shielding portion 860, one or more facility pass-through panels 862, and a pneumatic control signal panel 864. The shielding portion 860 shields the cleaners 702, 722 from the various components positioned within the cabinet 841 and also protects the components within the cabinet. The facility pass-through panels 862 provide one ore more convenient hook-up ports 866 for connecting the various fluid supply lines to the cleaners 702, 722. The pneumatic control signal panel 864 provides convenient pneumatic control hook-ups for the cleaners 702, 722. It should be recognized that various modifications may be made to the embodiments illustrated without departing from the scope of the invention, and all such changes are intended to fall within the scope of the invention, as defined by the attended claims.CROSS-REFERENCE TO RELATED APPLICATIONS
BACKGROUND OF THE INVENTION
SUMMARY OF THE INVENTION
BRIEF DESCRIPTION OF THE DRAWINGS
DETAILED DESCRIPTION OF THE PREFERRED EMBODIMENT