A method and device for the evaluation of signals of a sensor, in particular of a microwave sensor, is proposed for the detection of the thickness, mass, density and/or moisture of at least one fiber sliver moving relative to the sensor on drafting equipment. A high-frequency unit assigned to the sensor produces a number of first digital signals in digital form of the current state of the (at least one) fiber sliver. The method according to the invention is characterized in that a second digital signal, representing the current sliver thickness or sliver mass of the (at least one) fiber sliver and which is then used to control the drafting equipment and/or to judge the fiber sliver quality, is formed according to an algorithm from the first digital signals made available. In addition a suitable device for the evaluation of the signals of a sensor is proposed.
1. A method for evaluating the signals of a sensor to determine properties of fiber sliver being processed in drafting equipment on a textile machine, said method comprising the steps of:
conveying at least one fiber sliver within a range of at least one sensor connected to a high-frequency unit on the drafting equipment; producing first digital signals per unit of time from the high-frequency unit measuring a state of the fiber sliver in digital form; forming second digital signals according to a predetermined first algorithm using the first digital signals, the second digital signals quantifying at least one of sliver thickness or sliver mass of the fiber sliver; and using the second digital signals to perform at least one of controlling the drafting equipment or judging the fiber quality. 2. A method as in 3. A method as in 4. A method as in 5. A method as in 6. A method as in 7. A method as in 8. A method in 9. A method as in 10. A method as in 11. A method as in 12. A method as in 13. A method as in 14. A method as in 15. A method in 16. A method in 17. A method as in 18. A method as in 19. A method as in 20. A method as in 21. A method as in 22. A method as in 23. A method as in 24. A device for determining and evaluating properties of fiber sliver being processed in a textile machine, said device comprising:
drafting equipment having an inlet and an outlet for receiving at least one fiber sliver, said drafting equipment drafting said at least one fiber sliver; at least one sensor located proximal to at least one of said inlet or said outlet of said drafting equipment, said at least one sensor gathering information about said fiber sliver; a first high-frequency unit connected to said at least one sensor and proximal to said sensor, said first high-frequency unit producing first digital signals representing a state of said fiber sliver; a first processor card operably connected to said first high-frequency unit for receiving said first digital signals, said first processor card producing second digital signals according to a predetermined first algorithm using said first digital signals, said second digital signals quantifying at least one of sliver thickness or sliver mass of said fiber sliver. 25. A device as in 26. A device as in 27. A device as in 28. A device as in 29. A device as in 30. A device as in 31. A device as in 32. A device as in 33. A device as in 34. A device as in 35. A device as in 36. A device as in 37. A device as in 38. A device as in 39. A device as in 40. A device as in 41. A device as in 42. A device as in 43. A device as in
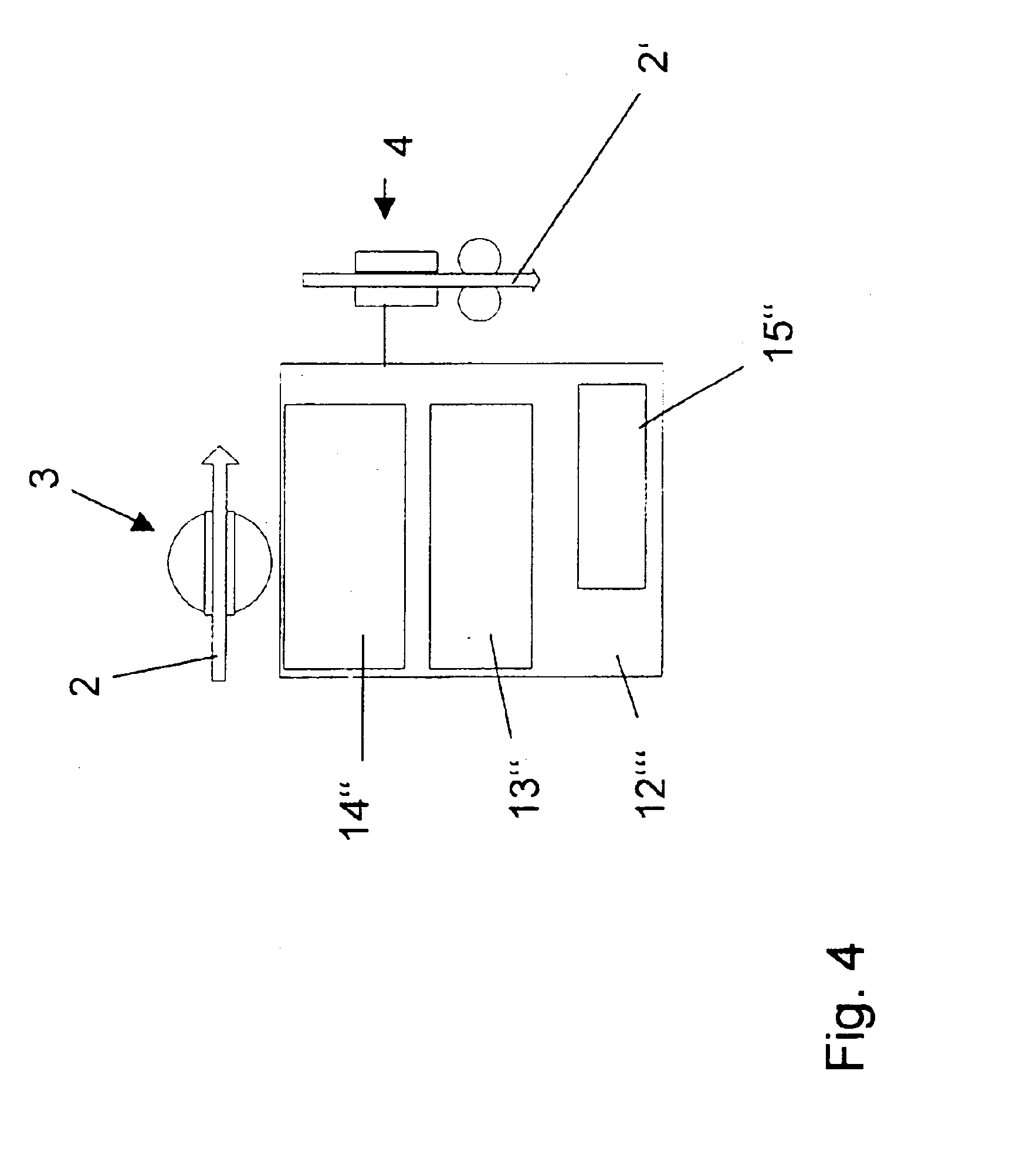
The invention relates to a process to evaluate signals of a sensor, in particular of a microwave sensor to detect thickness, mass, density and/or moisture of at least one fiber sliver moving in relation to the sensor on drafting equipment, whereby a high-frequency device assigned to the sensor produces a number of first signals in digital form concerning the current state of the (at least one) fiber sliver, as well as to a device for the evaluation of the signals of such a sensor. In addition, the invention relates to a textile machine with such a device. In the textile industry, fiber slivers with a cross section consisting of a plurality of individual fibers are often measured for thickness, mass, density and/or moisture. This is necessary, e.g., in the area of drafting equipment in order to draft one or several fiber slivers to reduce the number or mass of their fibers in the cross-section of fiber slivers. It is then often the goal to produce an especially uniform fiber sliver, i.e., as much as possible, a fiber sliver with the same number of fibers or mass in the cross-section over its entire length. Drafting equipment of this type is used, for example, at the output of cards, in draw frames or spinning machines. In order to be able to level the sliver mass fluctuations of the fiber slivers, sliver sensors are provided, for example, on draw frames to measure sliver thickness or sliver mass and its fluctuations and to transmit this information to a control unit. At least one of the drafting elements of the draw frame is actuated by the control unit. In addition, an inspection is conducted frequently at the output of the drafting equipment to check whether the drafting process has taken place as desired, i.e., whether the mass of the fiber sliver has been leveled out. To measure the sliver thickness fluctuation, mechanical scanning in particular is known. This mechanical scanning is at a disadvantage at extremely high delivery speeds of over 1,000 meters per minute, as is common in modern high-performance draw frames. Furthermore, the intensive mechanical compression required with mechanical sensors has a negative effect on the subsequent drafting process. In addition to mechanical scanning of the sliver thickness fluctuations, scanning systems such as optical rays that penetrate the sliver thickness without contact, capacitive or pneumatic measuring methods, X-rays or similar methods have become known. These methods have however individual disadvantages that made them seem unsuited until now for continuous industrial application in the textile industry. A microwave sensor has found to be an especially advantageous sensor to measure fiber sliver quality. The thickness, mass, density and/or moisture of one or several fiber slivers moving in relation to the sensor can be ascertained very reliably by means of microwave sensors. The sensor supplies a large number of signals per time unit, providing information on the current state of the (at least one) fiber sliver. The signals are transmitted in digital form and per time unit by the microwave sensor, or more precisely, by the microwave resonator, to a downstream high-frequency installation. In such a case, the fact that as the time-dependent signals are assigned to the proper location in the fiber sliver, a great computing expenditure is disadvantageously required because of the great quantity of data supplied. Furthermore, the assignment of the signals to the point on the (at least one) fiber sliver must take place exactly at the point in time at which it is in the drafting equipment. This is difficult to achieve by means of a microwave sensor and at reasonable cost, especially with very rapidly running fiber slivers. Furthermore, if a microwave sensor such as is known for the measuring of moisture of cigarette paper is used in a conventional textile machine, e.g., a draw frame of model RSB-D 35 of the Rieter company, the first digital signals delivered by the output of the high-frequency device are analyzed for frequency shift and half-intensity width, and the corresponding values are converted by means of a D/A converter into analog signals, and these analog signals are then switched to the leveling computer of the draw frame which is provided at its input with an A/D converter. The digital output data of the leveling computer is then in turn converted into analog signals by means of a D/A converter, and are locked on to the analog input of the servo leveler which controls the lower input and central rollers. This expensive procedure is costly and subject to errors, because of the occurrence of the undesirable phase shift and quantization errors. It is therefore a principal object of the present invention to create a precise and economical evaluation method and a corresponding device by which the microwave technology can be used in the evaluation of the fiber sliver state. Additional objects and advantages of the invention will be set forth in part in the following description or may be obvious from the description, or may be learned through practice of the invention. According to the invention, the microwave sensor or its assigned high-frequency device supplies a number of first signals in digital form per time unit, from which second digital signals are formed according to a predetermined algorithm, and these indicate the current sliver thickness or sliver mass of the (at least one) fiber sliver. The first signals, representing the evolution of the resonance curve, contain information regarding phase shift and half-intensity width of the resonance signals of the microwave sensor. From these signals and based on mathematical correlations, the appertaining sliver thicknesses or sliver masses can be calculated in the form of second digital signals. By contrast with the state of the art, no individual parameters for frequency shift and half-intensity width are thereby transmitted in analog form. Instead, a second digital signal indicating the current sliver mass or sliver thickness is transmitted. These second digital signals are subsequently used to level the drafting equipment and/or to judge the fiber sliver quality at the inlet or outlet of the drafting equipment. Hereby, the second digital signals are used in an especially preferred embodiment without interim D/A conversion to calculate leveling values, designated as third signals in this terminology, to adjust the controllable drafting equipment. This calculation can be made for reasons of cost with the same processors that also clocks the high-frequency device and/or produces the second digital signals. In an alternative embodiment, a separate processor is used to produce the third digital signals. The term “second digital signals” (for values of sliver thickness or sliver mass) and “third digital signals”for leveling values must of course be understood in the sense that digital intermediate signals can be produced between the first and the second or the second and the third signal. Between the first and the second digital signals as well as, preferably, between the second and the third digital signals, only a purely digital processing of the signals supplied by the sensor takes place, thus no conversion into analog signals takes place. The predetermined algorithm for conversion of the first set into the second digital signals and possibly the algorithm for conversion of the second into the third digital signals is selected depending on the fiber state analysis requirements, the speed of the passage of the fiber sliver through the sensor and the processing speed of the computers using the algorithm. With the method according to the invention, the number of first digital signals can be reduced to a few second digital signals. In general, the number of the second signals is therefore considerably lower than the number of the first signals, e.g., {fraction (1/50)} of the first signals. As a result, a smaller flow of data has to be handled by the computer's microprocessor. The evaluated second signals can thus be transmitted more rapidly to the leveling system. In addition, the fiber sliver leveling system can react with greater precision if the number of the signals to be processed is lower. The number of data can also be reduced in case of quality monitoring at the outlet of the textile machine. It is, however, advantageous in forming the second digital signals from the first digital signals not to effect such a great reduction, or not to effect any reduction at all, but to process more information, or all of the information so that, at a scanning rate of, e.g., 10 kHz, highly precise CV value calculations and spectrograms in the short-wave wavelength range can be obtained. With the economical utilization of only one processor to calculate the second digital signals from the data of a sensor on the inlet side on the one hand (with data reduction) and a sensor on the outlet side on the other hand (without data reduction), a relatively great computing capacity is available for quality control of the data of the sensor on the outlet side. In this manner, thick and thin spots can be detected precisely at the outlet. The algorithm for the formation of the second signals is advantageously a function of the fiber sliver speed. This means, e.g., in case of the fiber sliver running past the sensor at a higher speed, that a greater number of second signals per time unit is needed than when the fiber sliver is produced at a lower delivery speed. For some specific applications, it is advantageous if the algorithm for the formation of the second signals is dependent upon the material of the fiber sliver. Viscose, cotton, polyester or other materials react very differently to the drafting forces in the drafting equipment. The difference in processing the first digital signals can provide compensation regarding speed of signal processing or magnitude of the signals. It is especially advantageous if a predetermined number of first signals are skipped while taking into account material speed, and if the signal thus selected serves as the second signal. This means that only single signals are selected from the large number of first digital signals available. This reduces the number of signals and thereby the expense for further processing. If, for instance, only every 50thfirst signal is selected, the cost of further processing is correspondingly lower. With a great number of applications, this nevertheless leads to very good results and information on the state of the (at least one) fiber sliver. In another advantageous embodiment, the mean value is formed from a predetermined number of first digital signals that represents the second digital signal. Brief fluctuations in the state of the (at least one) fiber sliver that may be disregarded for further processing or evaluation of the fiber sliver(s) are averaged in this manner and provide sufficient description of the state of the fiber sliver. Based on the skipped first signals or on those constituting the mean value of a predetermined length of the (at least one) fiber sliver, it can be assumed that a measured value for the characterization of the fiber sliver state is produced for this predetermined length. A length from 1 to 10 mm of the (at least one) fiber sliver within which at least one state signal is to be produced has been shown to be advantageous. A reduction of data is also possible alternatively or in addition in the transition from the second to the third digital signals. The above explanations for the transition from the first digital signals to second digital signals can be applied to the transition from the second digital signals to the third digital signals. In suitably designed systems that must process the second or the third signal, it may be advisable to convert the second or third digital signal into an analog signal before its further utilization. In the case of a third digital signal, it can be transmitted following analog conversion, e.g., to a servo controller that drives individual drafting rollers of the drafting equipment at varying speed via a differential motion gear. In an alternative embodiment, individual drives, located in corresponding control circuits where the leveling controls receive the signals, are provided for the drafting rolls. Instead of being converted into an analog signal, the third signal can be further processed as a digital signal in an advantageous embodiment, preferably, with a controller having digital inputs serving to adjust at least one drafting roller. The controller can again be a servo controller in this case, or a controller for an individual drive. In the device to evaluate signals of a sensor according to the invention, its resonator is assigned the mentioned high-frequency equipment for the production of a first digital signal from high-frequency signals of the microwave sensor. A microwave card in particular represents such a high-frequency device. In addition, the device according to the invention is provided with a processor unit for the production of the second and possibly the third digital signal, whereby the second digital signal represents the current sliver thickness or sliver mass. The sensor can be located at the inlet and/or at the outlet of the drafting equipment. If it is located at the inlet of the drafting equipment, it serves in particular for the measuring of the (at least one) entering fiber sliver and for the control of the speed of drafting rollers of the drafting equipment. At the outlet, the sensor is used to check the quality of the drafted fiber sliver. In addition, the signal can be used to control the drafting equipment. If the high-frequency device is located in immediate proximity of the sensor, it is possible to use an especially short cable connection between the sensor and the high-frequency device. The cable transmitting the high-frequency signals acts as an antenna and could corrupt the signals if it is too long. This would affect the precision of fiber sliver measuring. Since modern drafting equipment functions with great precision, this would lead to unreliable measuring results, in particular on the high-precision leveling draw frames. In case of an outlet sensor, the immediate proximity of the sensor and the high-frequency device provides, furthermore, considerable advantages regarding precision of quality information on the outgoing fiber sliver when the first digital signals produced by the high-frequency device are processed into second digital signals without any data reduction. It has been shown to be especially advantageous to keep the distance between the high-frequency device and the sensor, in particular the cable length between high-frequency device and sensor as short as possible, but not longer than 1.5 m. With the shorter the cable, the analog microwave resonance signals can be transmitted to the high-frequency device more precisely and with less transmission errors, thus producing a correspondingly precise measurement of the fiber sliver. It is especially advantageous if the high-frequency devices and/or the processor units are connected to each other via communication lines for inlet and outlet sensor. The respective results of the evaluation of the fiber sliver states upstream of the drafting equipment and downstream of the drafting equipment can be compared and, if necessary, can be corrected. This also provides the possibility of forming a closed control circuit in order to achieve precise leveling of the fiber sliver. It is especially economical if the high-frequency devices and/or processor units for inlet and outlet sensor are combined into one component. Since the resonators of the microwave sensors, contrary to conventional sensors, can be located very close to the drafting equipment, it is possible to use correspondingly short cable lengths, so that no interference signals take effect or are produced. For this reason, it is possible to combine the high-frequency devices and the processor units of the inlet and outlet sensors into one component. Reaction speeds based on processing times and production costs are thereby influenced favorably. By using a correspondingly advanced technology, it is also possible, and in individual cases advantageous, if one single high-frequency device or one single processor unit is used for both the inlet and outlet sensors. If the high-frequency device and the processor unit are designed so that they are able to process the input signals with sufficient speed, it may suffice to use only one device and unit that would serve the inlet sensor as well as the outlet sensor. With a rational division of the computing and memory capacity for the data of the inlet sensor on the one hand and the outlet sensor on the other hand, the costs of additional high-frequency devices and processor units can thus be saved. An efficient division of the memory and computing capacity is also advisable in case that one processor unit is assigned to the production of the second as well as of the third signals (as well as, if necessary, the clocking of the high-frequency device) originating in the signals of an inlet sensor. If, for example, only every fifth signal of the first digital signals is produced to produce the second digital signal, as a rule sufficient computing capacity is left to calculate the third digital signals, i.e., the leveling values. The inlet sensor serves advantageously to produce signals used for the control of the drafting equipment. The outlet sensor serves in general to produce signals for quality monitoring of the drafted fiber sliver. These signals can be used in addition to control the drafting equipment. The digital data transfer is advantageously realized at least in part by means of bus systems, e.g., by means of CAN bus connections. Additional advantages of the invention are described through the following examples of embodiments. Reference will now be made in detail to the presently preferred embodiments of the invention, one or more examples of which are shown in the figures. Each example is provided to explain the invention, and not as a limitation of the invention. In fact, features illustrated or described as part of one embodiment can be used with another embodiment to yield still a further embodiment. It is intended that the present invention cover such modifications and variations. At the inlet of the drafting equipment 1, an inlet sensor 3 is installed. The inlet sensor 3 functions with microwave technology and determines the state of the entering fiber sliver or slivers 2. The signal produced by the processing unit 12 downstream of the inlet sensor 3 is transmitted to the controls 5 of the machine. In the block diagram shown here, the signal of a processing unit 12′ downstream of the one outlet sensor 4 is also transmitted to the controls 5. The optional outlet sensor 4 is in this case located at the outlet of the drafting equipment 1. It is not necessary in every case that an inlet sensor 3 as well as an outlet sensor 4 be installed on the drafting equipment 1. Normally, the outlet sensor 4 is required only where the drafting result of the drafting equipment 1 is to be checked and evaluated or is to be used to control the drafting equipment 1. The signal digitally processed in the processing unit 12 is transmitted from its output to the controls 5 of a leveling system 6. If the controls 5 have an analog input, the signal is either converted accordingly already in the processing unit 12 or only in the controls 5. This analog signal of the leveling system 6 is transmitted to a servo amplifier or servo regulator 8 and thereby to a connected servomotor 9. The servomotor 9 drives parts of the drafting equipment 1 via a differential motion gear 10 at varying speeds in order to level out different states of the fiber slivers 2 at the inlet of the drafting equipment 1. The signal of the processing unit 12′ of the microwave outlet sensor 4 is transmitted to a quality monitor 7 that can be integrated in a not shown embodiment also in the processing unit 12′. Here, statistical evaluations or visual displays of the obtained drafting result can be produced. Alternatively or in addition, these results can flow into the leveling system 6 or into a control of the drafting equipment 1. The servicing and/or visualization of the desired and obtained drafting results as well as the entering of different parameters is effected via an operator interface 11 connected to the controls 5. The outlet sensor 4 functions with a similar design as the inlet sensor 3. The signals of the outlet sensor 4 are transmitted to the microwave card 13′ which produce the first digital signals. These first digital signals are finally further processed in the processor card 14′ into second digital signals in accordance with an algorithm that is predetermined here too, and may possibly deviate from the inlet sensor 3. These further processed second signals serve to monitor the quality of the delivered fiber sliver 2′ and also represent the sliver thickness or sliver mass. Power supply and possibly additional inputs and outputs are indicated by box 15′. The algorithm for the production of the second digital signals are preferably designed for data reduction of the first digital signals, whereby, e.g., individual first digital signals are skipped or averaged. Thereby, computer capacities can be saved or can be used for other tasks, e.g., the calculation of third digital signals and/or the clocking of the microwave card(s), 13. The formation of the third digital signals from the second digital signals can also make use of data reduction. Furthermore, the algorithm can be a function of the speed of the (at least one) fiber sliver 2 and be independent of its material for the formation of the second signal and/or the third signal. In the embodiments shown in the figures, the clocking of the microwave card is preferably also assumed by one of the processor units or processor cards shown. It is possible, for example, with the present invention, to effect automatic machine adjustments in a pre-operational phase, in particular to pre-set at least roughly the starting point for leveling and the leveling intensity on an autoleveling drafting equipment. The present invention is not limited to the examples of embodiments shown. In particular, devices other than microwave sensors can be operated according to the process of the invention. Also other combinations that are not described here are covered by the subclaims of the present invention. The invention can be applied in particular with cards, draw frames and combing machines with drafting equipment. It will be appreciated by those skilled in the art that various modifications and variations can be made in the present invention without departing from the scope of the invention. It is intended that the present invention include such modifications and variations as come within the scope of the appended claims and their equivalents.FIELD OF THE INVENTION
BACKGROUND OF THE INVENTION
OBJECTS AND SUMMARY OF THE INVENTION
BRIEF DESCRIPTION OF THE DRAWINGS
DETAILED DESCRIPTION