An attachable book mirror device enables the reader of a textual document to view the facial expressions of the young adult, child, toddler, or baby who is listening in close proximity to the reader. The listener can also view the mechanical lip movements of the reader to thereby shorten process of learning to read. The attachable book mirror includes a shell for housing the optically human visual spectrum reflective material that is pivotally connected to a base used to attach to the covers of books or any other suitable document. The reflective material can be adjusted in any allowable position, holding its last position due to certain equal but opposite forces that are generated by certain internal components such as a spring contained within the base that helps create a lasting static contact frictional force. An adjustable light may be pivotally attached to the book mirror.
1. A device for obtaining visual feedback while reading a document to another individual, comprising:
a gripping member for attaching to a portion of the document; and a reflective member attached to the gripping member at a preselected fixed orientation that cannot be changed. 2. The device of 3. The device of 4. The device of 5. A device for obtaining visual feedback while reading a document to another individual, comprising:
a gripping member for attaching to a portion of the document, the gripping member comprising:
a first substantially flat member; and a second substantially flat member disposed substantially parallel to the first substantially flat member, the first and second substantially flat members defining a slot for receiving the portion of the document; a convex mirror; and an adjustable mounting coupling the convex mirror to the gripping member, wherein the convex mirror is adjustable to an obtuse angle orientation with respect to the document. 6. The device of 7. A the device for obtaining visual feedback while reading a document to another individual, comprising:
a gripping member for attaching to a portion of the document, the gripping member comprising:
a first substantially flat member; and a second substantially flat member disposed substantially parallel to the first substantially flat member, the first and second substantially flat members defining a slot for receiving the portion of the document; a substantially flat reflective member; and an adjustable mounting coupling the reflective member to the gripping member at a selected orientation, wherein the adjustable mounting comprises a ball and socket connection. 8. The device of 9. The device of 10. A device for obtaining visual feedback while reading a document to another individual, comprising:
a gripping member for attaching to a portion of the document, the gripping member comprising;
a first substantially flat member; and a second substantially flat member disposed substantially parallel to the first substantially flat member, the first and second substantially flat members defining a slot for receiving the portion of the document; a substantially flat reflective member; an adjustable mounting coupling the reflective member to the gripping member at a selected orientation; and a light adjustably mounted to the device. 11. A device for obtaining visual feedback while reading a document to another individual, comprising:
a gripping member for attaching to a portion of the document, the gripping member comprising:
a first substantially flat member; and a second substantially flat member disposed substantially parallel to the first substantially flat member, the first and second substantially flat members defining a slot for receiving the portion of the document; a convex mirror; and an adjustable mounting coupling the convex mirror to the gripping member at a selected orientation. 12. A method of a reader sharing a document reading experience with a listener, comprising:
attaching a reflective device to the document; orienting the reflective device so that the reader and listener see each other in the reflective device; and reading the document. 13. The method of activating an illuminating device associated with the reflective device to illuminate the document. 14. The method of 15. The method of 16. The method of 17. The method of 18. A device for visual, nontextual communication while reading to another, comprising:
a convex mirror; a means for attaching the convex mirror to a document, the means for attaching comprising: a first substantially flat member; a second substantially flat member disposed substantially parallel to the first substantially flat member, the first and second substantially flat members defining a slot for receiving a portion of the document; and a means for adjusting an orientation of the convex mirror to allow a reader and a listener to see each others faces. 19. The device of 20. A method of a reader reading a document, comprising:
attaching a reflective device to the document; orienting the reflective device so that the reader sees his face in the reflective device; and reading the document. 21. The method of activating an illuminating device associated with the reflective device to illuminate the document. 22. The method of 23. The method of 24. The method of 25. The method of 26. A device for obtaining visual feedback while reading a document to another individual, comprising:
a gripping member for attaching to a portion of the document; a reflective member attached to the gripping member, wherein the reflective member is at an obtuse angle orientation with respect to the document; and a light adjustably mounted to the device. 27. The device of a first substantially flat member; and a second substantially flat member disposed substantially parallel to the first substantially flat member, the first and second substantially flat members defining a slot for receiving the portion of the document.
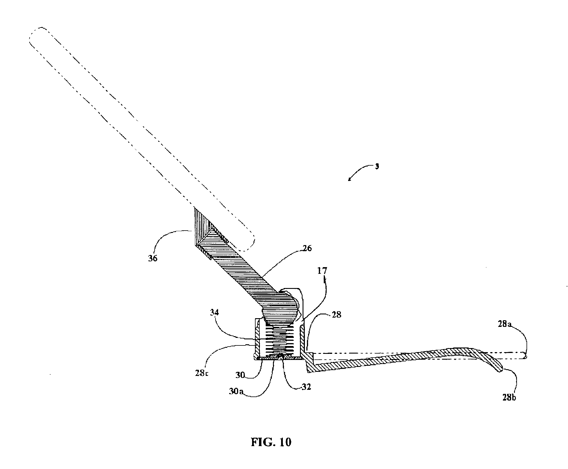
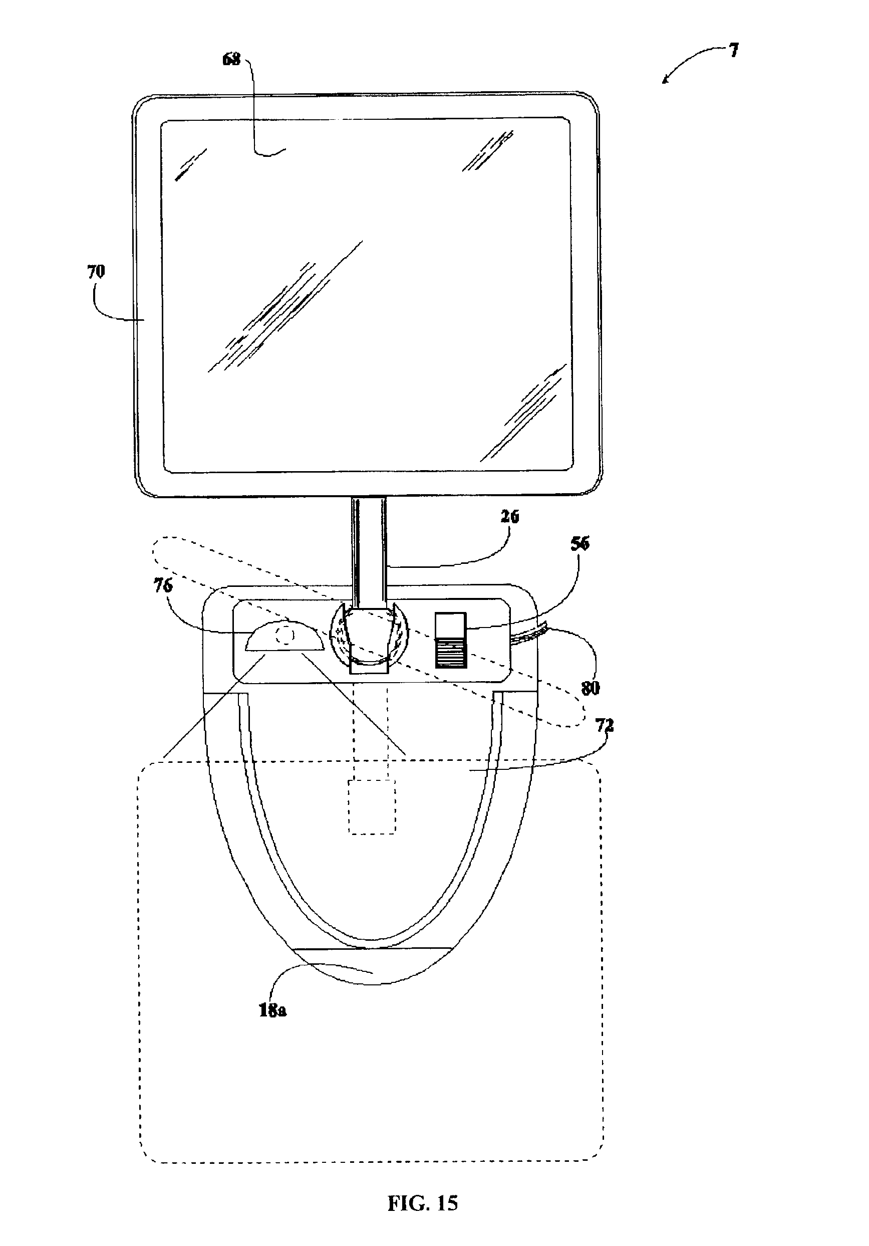
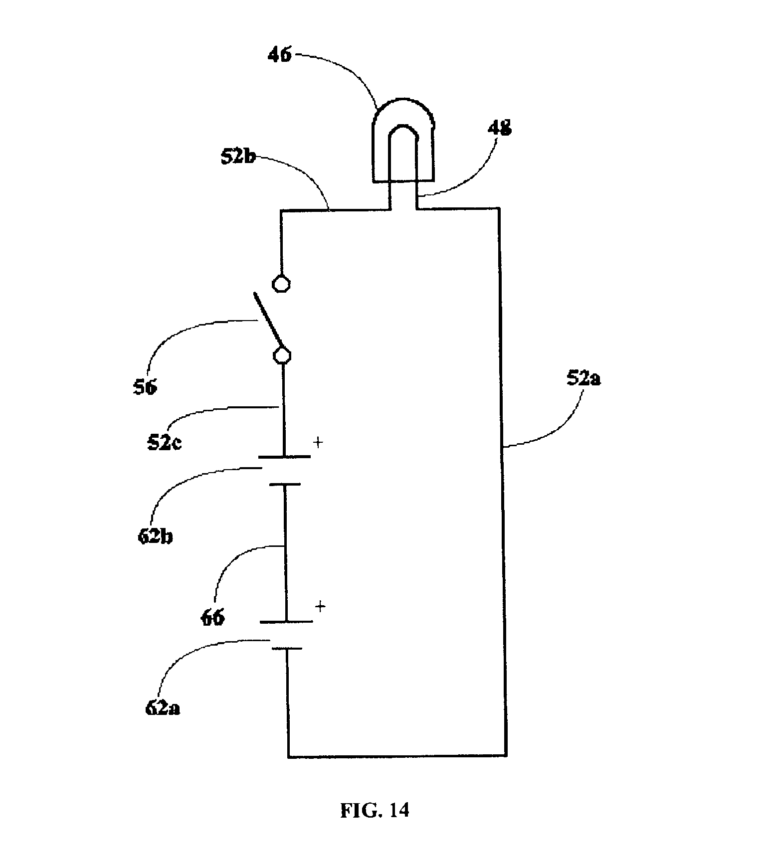
The present application hereby claims the benefit of the provisional patent application of the same title to Pat Marshall, Ser. No. 60/369,132, filed on Apr. 1, 2002. The present invention relates to a reflective viewing device for two individuals to view each others faces while reading a book, and in particular, to a book light incorporating a mirror. Many parents read bedtime stories to their children and don't realize all of the wonderful and amazing facial expressions that their children are creating while being read to. This problem is solved when a child is sitting on a parent's lap and the book mirror invention is attached to the book's cover. Then the parent or child can adjust the invention's position and the book's position until they both locate each other's reflections while using the mirror. The reader is now ready to read the pages of the book while glancing periodically at the listener. Likewise, while the reader is articulating words from the pages of the book or magazine, the listener can use the mirror to correlate lip movements of the reader with the audio words currently being spoken. U.S. Pat. No. 4,637,631 discloses a combined book and mirror. However, this device is only good for one book and the mirror has to be manufactured into alternating pages of the book. Obviously, this wastes an entire page, or a part of a page, that would normally have been used by the adult to read to the child. Another disadvantage is that this device is inherently thicker and heavier than a book with a similar quantity of pages but without any mirrors. And, the device is inherently rigid and does not allow for adjustments of the mirror only without moving the book's position. This limits the reader and listener to clearly see each other's face while being comfortably situated in any position. Likewise, there are now children's books on the market that have a mirror incorporated into the back cover of the book. It is believed that the orientation of such a mirror is suitable for the viewer to see his own face rather than to have a reader and listener see each other's faces. These books also suffer from some of the same, previously disclosed, disadvantages of U.S. Pat. No. 4,637,631. For example, every page of the book now has to have a large enough hole so each person can see each other's reflection in the mirror. This, again, wastes space that should normally be dedicated to words and/or pictures for the reader and listener. Moreover, the entire book has to be held in an orientation that allows the reader and listener to see each other in the mirror. Other art, such as U.S. Pat. No. 2,473,938, discloses a combined photograph album and music box. Also, U.S. Pat. No. 170,042 discloses a photograph album which has been modified such that articles may be inserted into the book. Book-lights of various types are, of course, well known in the prior art. Most all of these lights are of standard size and are adapted to be clamped or attached to the back cover of a book. For example, U.S. Pat. No. 5,695,271, U.S. Pat. No. 4,598,340, and U.S. Pat. No. 4,869,529 all disclose book light devices that attach to the cover for the purpose of illuminating pages of a book. However, none of these discloses a mirror that is designed and manufactured as an integral part of the whole product. Consequently, a significant need exists for mirror that may be easily attached to a book. The present invention addresses these and other problems in the prior art by providing a mirror device that attaches to readable documents that allows a reader and a listener to view both the reading material and see each others face at the same time. Thereby, the enjoyment and learning potential of reading is enhanced by providing a flexible means for conveying nonverbal communication within a verbal communication media. Being attachable and portable, such a mirror device may enhance reading of a wide variety of books and similar documents. In one aspect of the invention, a device enhances reading a book to another individual by having a gripping member that attaches to the book and having a reflective member at a preselected orientation that reflect the face of one of the individuals to the other. For example, the preselected orientation may be permanently set at an angle typically convenient for seeing each other. Moreover, the reflective member may have a degree of curve to it (i.e., convex) allowing for each party to be in a range of respective orientations while still being visible to the other. Another object of the present invention is to create a more enjoyable environment for persons reading books orally to other individuals being their subjects. The present invention accomplishes this by providing an apparatus and means for the reader of the book to clearly view the facial expressions and reactions of the person being read to. This invention allows the person reading any book to visually enjoy the many wonderful and inquisitive facial expressions emanating from their subject. In addition, the person reading the book will now be allowed to see if the young adult, child, toddler, or baby is understanding what they are currently listening to. For instance, a parent may ask a questions regarding the material contained within the book, and watches as the child searches for or deduces the answer (e.g., “How many yellow birds are there?”, “Can you find the umbrella?”). If not, the person reading the book, or and other suitable text document, can respond to the feedback, such as by then pausing and rearticulating the previously spoken audio words in the hopes of helping the subject. Thereby, a parent may diagnose why a child is having difficulty, such as a short attention span, and adjust the reading based on visual confirmation that the child is listening. Another object the invention is to decrease the learning curve for young readers and handicapped readers by allowing them to visually see their teacher's mouth who is articulating words from the pages of any document in any language around the world. Therefore it is yet another object of this invention to provide a means for the person being read to view the mechanical lip motions of the reader of the document in the hopes of correlating the visual and audio information together to words that are currently being orally articulated from pages of any book. It is therefore an objective of this invention to provide an apparatus comprising a base, a top shell hingedly attached to the base, and a first reflective surface secured to the top shell. The base is arranged to be releasable attachable to an information carrier such as a book, magazine or other printed media, picture, illustration, graphic or artistic work, or other recorded information. It is also another object of this invention to allow the person being read to be comfortably positioned on the lap of, or in close proximity to, the reader of the pages of the book. It is yet another object of this invention to allow the attachable reflective surface device to be adjusted for any angle for the purpose of viewing facial expressions of both the reader and the person being read to. It is another object of this invention to provide a portable book light and mirror combination for the purpose of illuminating reading material in dimly lit areas. Lastly, there are several versions of the previously discussed circuits and mechanical parts and configurations that were not disclosed. However, it shall be assumed that all other versions become obvious to anyone skilled in the art and who understands the embodiments of this document. These and other objects and advantages of the present invention shall be made apparent from the accompanying drawings and the description thereof. The accompanying drawings, which are incorporated in and constitute a part of this specification, illustrate embodiments of the invention, and, together with the general description of the invention given above, and the detailed description of the embodiments given below, serve to explain the principles of the present invention. Refer to It is well know in the art that lip reading is possible and that all people, whether handicapped or not, benefit from watching the mechanical motions of the human mouth while speaking. Furthermore, the adjustable book mirror 1 will help the child 8 associate the mechanical motions of her adult's 6 lips with the words that she is currently vocalizing. Consequently, this adjustable book mirror 1 invention will also help the child 8 learn to read and speak the language of the adult 6. It should be appreciated that the adjustable book mirror 1 may advantageously be used by a single individual, whereupon the facial expressions of the reader are reflected back to the reader. The visual feedback to the reader enhances rehearsing speeches and performances. For the hearing impaired, the visual feedback would be useful in verifying proper pronunciation of the words. The adjustable book mirror 1 advantageously incorporates a light 2, which may project light onto the book to aid in reduced lighting situations and/or onto the faces of the adult 6 and child 8. To further enhance the reading experience, the adjustable book mirror 1 may further incorporate an audio player 7, such as a radio, digitally recorded audio device, etc. to provide a soothing melody. It will be appreciated by those of skill in the art having the benefit of the present invention that the book mirror 1 may incorporate a reflective surface having many characteristics, some of which are described in greater detail below. For example, a reflective surface may have a preset orientation with respect to a gripping member that attaches to the book, with the orientation selected as typically convenient for each individual to see the other. This simplified connection between the gripping member and reflective member provides economical advantages. In addition, a convex reflective surface may be particularly appropriate with such a fixed orientation so that each individual may be at a range of positions relative to each other and the book, yet be in view of the other. Refer now to Refer to The mounted mirror 12 and top shell 14 and bottom shell form a male hinge section which is inserted into a female hinge section 18 Next, the user attaches the adjustable book mirror 1 to the book by sliding the base over the book's back cover. The user accomplishes this by inserting the tip of the base 18, which has a chamfer edge 18 Refer to Next the rubber pad 20 must now be glued to the base 18 and allowed to sufficiently dry. Then the assembled mirror 12 and top shell 14, and bottom shell 16 can now be inserted into the two female hinge sections 18 When all adhesives have thoroughly dried, the user may now attach the adjustable book mirror 1 to the book by sliding the base over the book's back cover. The user does this by inserting the chamfer edge 18 Refer to Refer now to Now refer now to Refer to Refer now to A suitable metal or plastic spring 34 is then inserted up into the inside of the capsule 28 To close the opening and hold the spring 34 and tubular arm 26 firmly in place, a cover 30 is then next inserted up into the opening in the bottom of capsule 28 As can be seen, the spring 34 is compressed to apply a static force on the tubular arm 26 after final adjustment of the mirror assembly 17 by the user. The spring 34 is used to apply pressure to the round bottom of the tubular arm 26 which is prevented from going any further by the top inside of the capsule 28 All previously mentioned plastic parts, such as the female receptacle 36, the tubular arm 26, the cover 30, and the pivoting base anchor 28 can all be made from standard plastic-injection molding processes. The spring 34, if made of metal, can be manufactured using normal spring manufacturing machines. Likewise, the metal screws 32 can all be manufactured from any standard screw-molding machines. Refer now to Refer now to The on/off power switch 56 is shown inserted into a slot in the modified top shell 38. Also, the minor 12 is held in place when the modified top shell 38 and a modified bottom shell 40 are both glued firmly together and allowed to dry. The light assembly consists of a light bulb 46 which is held in place by a light socket 48 which is mounted to the inner side of the book light top shell 44. A clear-plastic lens 50 is inserted into the book light top shell 44 to help protect fingers from possibly getting burned. This whole assembly is connected to the rest of the invention though the use of a couple of steel pins (not shown). An electrical wire 52 Refer now to Refer now to It will be appreciated that a pivoting adjustable mounting may used such as a ball-and-socket joint as depicted in Refer now to While the present invention has been illustrated by description of several embodiments and while the illustrative embodiments have been described in considerable detail, it is not the intention of the applicant to restrict or in any way limit the scope of the appended claims to such detail. Additional advantages and modifications may readily appear to those skilled in the art. For example, although injection plastic molding is described in some instances as economical method of manufacture, it will be appreciated that a broad range of materials and fabrication methods may be employed.REFERENCE TO RELATED APPLICATIONS
FIELD OF THE INVENTION
BACKGROUND OF THE INVENTION
BRIEF SUMMARY OF THE INVENTION
BRIEF DESCRIPTION OF THE FIGURES
DETAILED DESCRIPTION OF THE INVENTION