патент
№ US 0006762046
МПК C12N9/24

Polypeptide having beta-fructofuranosidase activity

Авторы:
Keiji Tsusaki Michio Kubota Hiroto Chaen
Все (9)
Правообладатель:
Все (3)
Номер заявки
09986682
Дата подачи заявки
09.11.2001
Опубликовано
13.07.2004
Страна
US
Дата приоритета
16.12.2025
Номер приоритета
Страна приоритета
Как управлять
интеллектуальной собственностью
Чертежи 
6
Реферат

A polypeptide having beta-fructofuranosidase activity is obtained by the expression of a microbial gene, which polypeptide contains the amino acid sequences of SEQ ID NO:1 and SEQ ID NO:2 in whole or in part as an amino acid sequence. This polypeptide is useful for producing fructofuranosyl transferred saccharides.

Формула изобретения

1. An isolated DNA encoding a polypeptide having beta-fructofuranosidase activity, said polypeptide obtainable by the expression of a Bacillus gene, which polypeptide contains the amino acid sequences of SEQ ID NO:1 and SEQ ID NO:2 as an amino acid sequence and which polypeptide has the following physicochemical properties:

a. Molecular weight

About 44,000-55,000 Daltons determined by SDS-PAGE;

b. Optimum pH

About 5.5-6.0 when incubated at 40° C. for ten minutes;

c. Optimum temperature

About 45° C. in the absence of calcium ion when incubated at pH 6.0 for ten minutes, and about 50° C. in the presence of calcium ion when incubated at pH 6.0 for ten minutes;

d. pH Stability

Stable at a pH of about 5.0 to 8.0 when incubated at 40° C. for 24 hours; and

e. Thermal stability

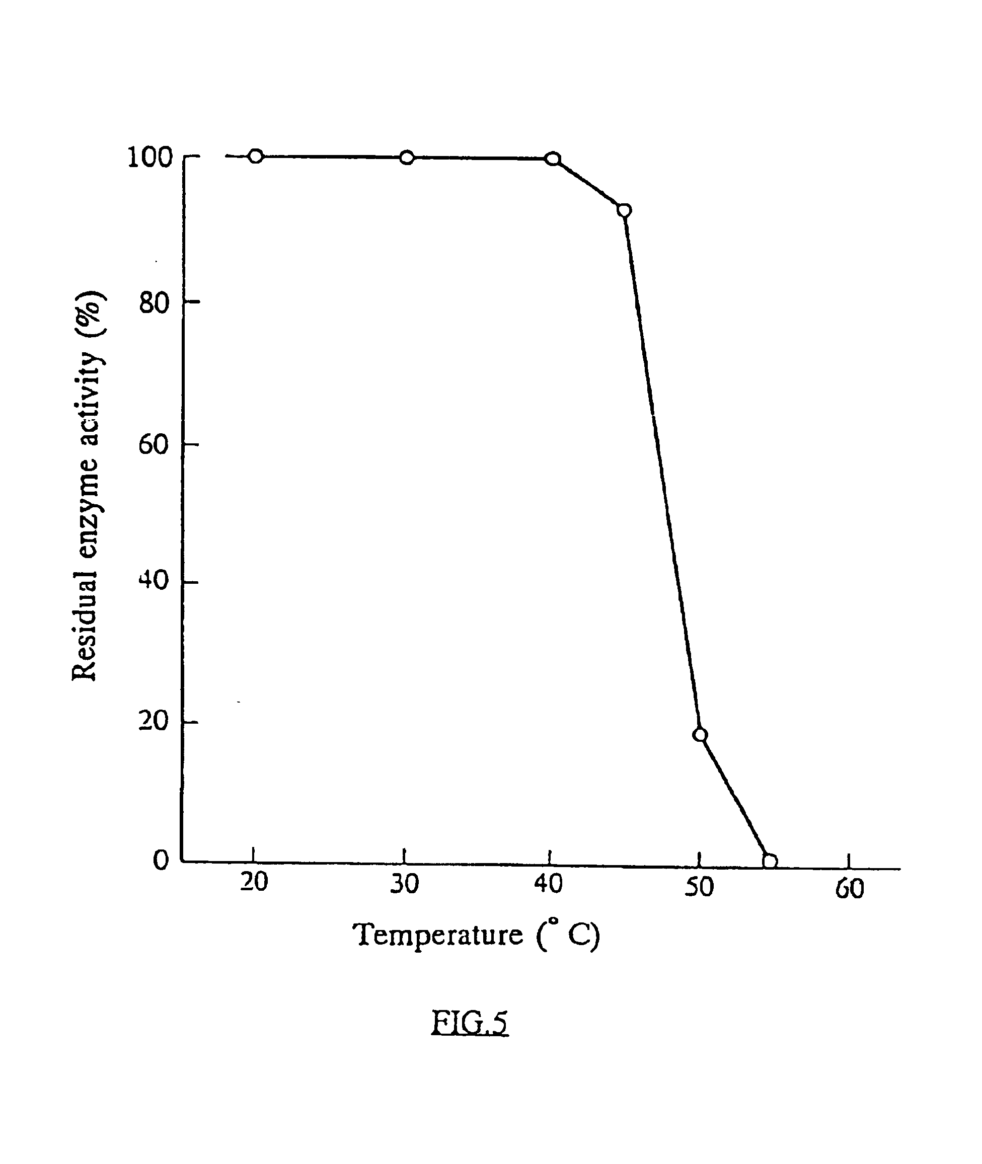
Stable up to a temperature of about 45° C. when incubated at pH 6.0 for one hour.

2. The isolated DNA according to claim 1 which contains the nucleotide sequence of SEQ ID NO:4, a nucleic acid encoding SEQ ID NO:3, or complements thereof.

3. The isolated DNA according to claim 1 which contains the nucleotide sequence of SEQ ID NO:5, a nucleic acid encoding the polypeptide encoded by SEQ ID NO:5, or complements thereof.

4. The isolated DNA according to claim 1 which further contains a self-replicable vector.

5. A transformed host cell obtainable by introducing into an appropriate cell a DNA encoding the isolated DNA according to claim 1.

6. The transformed host cell according to claim 5 wherein the host is a microorganism.

7. A transformed host cell obtainable by introducing into an appropriate cell a DNA encoding the isolated DNA according to claim 2.

8. A transformed host cell obtainable by introducing into an appropriate host a DNA encoding the isolated DNA according to claim 3.

9. A transformed host cell obtainable by introducing into an appropriate host a DNA encoding the isolated DNA according to claim 4.

Описание

CROSS-REFERENCE TO RELATED APPLICATIONS

[1]

The present application is a divisional application of Ser. No. 09/317,179, filed May 24, 1999, now U.S. Pat. No. 6,383,769 which is a divisional of Ser. No. 08/870,827, filed Jun. 6, 1997, now U.S. Pat. No. 5,962,297 the entire contents of which are hereby incorporated by reference.

FIELD OF THE INVENTION

[2]

The present invention is directed to a polypeptide having β-fructofuranosidase activity which can be obtained by expression of a microbial gene.

BACKGROUND OF THE INVENTION

[3]

Fructofuranosyl-transferred saccharides such as xylosylfructoside and lactosucrose, which have a strong anticariogenic activity and growth promoting activity for bifid bacteria, have recently become desirable substitutes for sucrose in the food and pharmaceutical industries. The fructofuranosyl-transferred saccharides are usually produced using β-fructofuranosidases by contacting the enzymes with sucrose and amylaceous saccharides or lactose as starting materials. β-fructofuranosidases derived from microorganisms of the genera Bacillus and Arthrobacter have been widely used. However, these microorganisms do not produce large quantities of the enzyme, so that it is uneconomical to culture these microorganisms on a large scale for enzyme production.

[4]

Great strides have recently been made in recombinant DNA technology. Even an enzyme of which the total amino acid sequence is not know can be obtained with relative ease in a desired amount by preparing a recombinant DNA containing a DNA which encodes the enzyme, introducing the recombinant DNA into microorganisms or plant or animal cells to obtain transformants, and culturing the transformants in nutrient culture media. However, in this case a gene encoding the enzyme must be isolated and the nucleotide sequence decoded. In view of the foregoing, it is urgently required to obtain and sequence a gene which encodes β-fructofuranosidase.

SUMMARY OF THE INVENTION

[5]

The first object of the present invention is to provide a polypeptide having a β-fructofuranosidase activity which can be easily produced on a large scale using recombinant DNA technology.

[6]

The second object of the present invention is to provide a DNA encoding the polypeptide.

[7]

The third object of the present invention is to provide a transformant into which the DNA is introduced.

[8]

The fourth object of the present invention is to provide a process for producing the polypeptide using the transformant.

[9]

The fifth object of the present invention is to provide a method for fructofuranosyl transfer using the polypeptide.

[10]

To attain the above objects, the present inventors studied energetically and found a polypeptide having a β-fructofuranosidase activity. The amino acid sequences of SEQ ID Nos: 1 and 2 in whole or in part as a partial amino acid sequence, can be easily obtained in a desired amount by expression of a microbial gene.

[11]

The first object of the present invention is achieved by a polypeptide which has β-fructofuranosidase activity and the amino acids sequences of SEQ ID NO:1 or 2 in whole or in part as a partial amino acid sequence, and which can be obtained by the expression of a microbial gene.

[12]

The second object of the present invention is attained by a DNA encoding the polypeptide.

[13]

The third object of the present invention is achieved by a transformant into which the DNA is introduced.

[14]

The fourth object of the present invention is attained by a process for producing the polypeptide comprising the steps of culturing the transformant and collecting the polypeptide produced from the culture.

[15]

The fifth object of the present invention is achieved by a method for fructofuranosyl transfer comprising a step of reacting a fructofuranosyl donor with a fructofuranosyl acceptor in the present of the polypeptide.

BRIEF DESCRIPTION OF THE DRAWINGS

[16]

FIG. 1 is a restriction map of the recombinant DNA PGGF4 according to the present invention.

[17]

FIG. 2 shows the optimum pH for the polypeptides of the present invention.

[18]

FIG. 3 shows optimum temperature for the polypeptides of the present invention.

[19]

FIG. 4 shows the pH stability of the polypeptides of the present invention.

[20]

FIG. 5 shows the thermal stability of the polypeptides of the present invention.

[21]

FIG. 6 is a restriction map of the recombinant DNA pBBF5 according to the present invention.

DETAILED DESCRIPTION OF THE INVENTION

[22]

For purposes of the present invention, the word “polypeptide” or “polypeptides” means and includes polypeptides in general which can be obtained by expression microbial genes and which contain the amino acid sequences of SEQ ID Nos: 1 and 2 in whole or in part as a partial amino acid sequence. In general, the polypeptide according to the present invention contains an amino sequence which has been partially or completely revealed, such as those polypeptides which contain the amino acid sequence of SEQ ID NO:3. In addition to β-fructofuranosidase activity, such a polypeptide catalyses the fructofuranosyl transfer between appropriate fructofuranosyl donors and fructofuranosyl acceptors and has the following physicochemical properties:

[23]

1. Molecular Weight

[24]

About 44,000-54,000 daltons on sodium dodecyl sulfate polyacrylamide gel electrophoresis (SDS-PAGE);

[25]

2. Optimum pH

[26]

About 5.5-6.0 when incubated at 40° C. for ten minutes;

[27]

3. Optimum Temperature

[28]

About 45° C. and about 50° C. in the absence of and in the presence of calcium ion, respectively, when incubated at pH 6.0 for ten minutes;

[29]

4. pH Stability

[30]

Stable at a pH of about 5.0-8.0 when incubated at 4° C. for 24 hours; and

[31]

5. Thermal Stability

[32]

Stable up to a temperature of about 45° C. when incubated at pH 6.0 for one hour.

[33]

The following method can be used to improve the physicochemical properties of polypeptides and the expression level of the polypeptides in hosts:

[34]

1. One or more amino acids in the amino acid sequences of the polypeptides can be artificially replaced with different amino acids;

[35]

2. One or more amino acids near the N- and C-termini and/or in the internal sites of the polypeptides can be deleted; and

[36]

3. One or more amino acids can be added to the N-terminus or the C-terminus of the polypeptides.

[37]

Of course, these alterations to amino acid sequences can be used for polypeptides of the present invention. Depending upon the type of hosts and culture conditions for transformants, even in the case of using the same gene, one or more amino acids close to the N- and C-termini of the amino acid sequences of SEQ ID NO: 1 to 3 may be deleted by modification after the DNA expression by internal enzymes of the hosts. In view of this, the polypeptides of the present invention include those which contain amino acid sequences differing from SEQ ID NO:3 as a whole, as long as the polypeptides have β-fructofuranosidase activity and the amino acid sequences of SEQ ID NO:1 and 2 in whole or in part as a partial amino acid sequence.

[38]

Polypeptides of the present invention can be obtained by expression of a microbial gene. Usually, these polypeptides can be obtained by using as hosts microorganisms such as Escherichia coli, actinomyces, yeasts, and microorganisms of the genus Bacillus. Genes derived from microorganisms of the genus Bacillus, particularly a gene of Bacillus sp. V230, are expressed in the hosts. Examples of such genes are those which contain the nucleotide sequence of SEQ ID NO: 4, more particularly, the nucleotide sequence of SEQ ID NO:5, and those which contains DNAs which are complementary to SEQ ID NO:5, as well as those which contain DNAs obtained by replacing one or more bases in the above nucleotide sequences with different bases with respect to the degeneracy of the genetic code without altering the amino acid sequences which they encode. To facilitate gene expression of the polypeptides in hosts, one or more bases in DNAs encoding the present polypeptide can be replaced with different bases, or appropriate enhancers and promoters can be ligated to the DNAs.

[39]

Any natural or artificially synthesized gene can be used in the present invention, as long as it contains any one of the above DNAs. Natural sources for such a gene include microorganisms of the genus Bacillus such as Bacillus sp. V230 strain, etc., from which genes that contain the DNAs which can be used in the present invention can be obtained. These DNAs are obtained by inoculating a seed culture of the microorganisms in nutrient culture media, culturing the microorganisms under aerobic conditions for about 1 to 3 days, treating the cells with cell-wall lysis enzymes or with ultrasonics to extracellularly elute genes containing the desired DNAs. The enzymes can be used in combination with protein-digesting enzymes such as protease, and ultrasonic treatment can be effected in the presence of surfactants such as SDS or in combination with freeze drying.

[40]

The desired DNAs can be collected from the resultant mixtures by conventional methods, such as phenol extraction, alcohol sedimentation, centrifugation, protease treatment, and ribonuclease treatment.

[41]

The DNAs can be artificially synthesized based upon the nucleotide sequences of SEQ ID NOS: 4 and 5, or by inserting into self-replicable vectors DNAs encoding the amino acid sequence of SEQ ID NO:3 to obtain recombinant DNAs. These recombinant DNAs are then introduced into appropriate hosts to obtain transformants. The transformants are cultu5red in nutrient culture media and the proliferated cells are collected from the culture medium and the desired plasmids containing the DNAS are prepared.

[42]

Bacillus sp. V230 strain was isolated from soil in Okayama, Japan, and on Mar. 24, 1995, was deposited into an international depository of microorganisms, namely, the Fermentation Research Institute, Agency of Industrial Science and Technology, Ibaraki, Japan. The microorganisms have been maintained by the institute under the accession number FERM BP-5054.

[43]

The above DNAs are generally introduced into hosts in a recombinant DNA form. Generally, the recombinant DNAs contain the above DNAs and self-replicable vectors. They can be easily prepared by recombinant DNA technology once the desired DNA is obtained. Examples of such vectors are plasmid vectors such as pBR322, pUC18, Bluescript II SK(+), pUB110, pTZ4, pC194, pHY300PLK, pHV14, TRp7, Tep7, pBS7, etc. Among the phage vectors that can be used are λgt·λC, λgt·λB, ρ11, Φ1, Φ105, and the like. Among the plasmid and phage vectors, pBR322, pUC18, Bluescript II SK(+), λgt·λC, and λgt·λB are satisfactorily used to express the present DNA in microorganisms of the genus Bacillus. The plasmid vectors pHY300PLK, pHV14, TRp7, Tep7, and pBS7 are advantageously used when the recombinant DNAs are allowed to grow in two or more hosts.

[44]

The DNA is inserted into vectors by methods conventional in this field. For example, a gene containing the present DNA and a self-replicable vector are first digested by a restriction enzyme and/or ultrasonics, and then the resultant DNA fragments and vector fragments are ligated. This ligation is facilitated by restriction enzymes which specifically act on nucleotides, particularly type II restriction enzymes, and more particularly Sau 3AI, Eco RI, Hind III, Bam HI, Sal I, Xba I, Sac I, Pst I, and the like. If necessary, the DNA and vector fragments can be annealed before DNA ligases are allowed to act on them in vivo or in vitro to ligate them. The recombinant DNAs thus obtained can be replicated without substantial limitation by introduction to appropriate hosts and culture of the transformants in nutrient culture media.

[45]

The recombinant DNAs thus obtained can be introduced into appropriate host microorganisms including Escherichia coli and those of the genus Bacillus, as well as actinomyces and yeasts. When Escherichia coli is used as a host, the recombinant DNAs can be introduced thereunto by culturing the host in the presence of the recombinant DNAs and calcium ion. When using a microorganism of the genus Bacillus as a host, the competent cell method and the protoplast method can be used. Desired transformants can be cloned by the colony hybridization method or by culturing a variety of transformants in nutrient culture media containing appropriate fructofuranosyl donors and fructofuranosyl acceptors, and selecting the desired transformants which produce fructofuranosyl-transferred products.

[46]

The transformants thus obtained extracellularly produce the polypeptides of the present invention when cultured in nutrient culture media. Generally, such culture media include those which are supplemented with carbon sources, nitrogen sources and minerals, and, if necessary, further supplemented with micronutrients such as amino acids and vitamins. Examples of the carbon sources are saccharides such as starches, starch hydrolysates, glucose, fructose, sucrose and teahouse. Examples of the nitrogen sources are organic and inorganic substances which contain nitrogen such as ammonia, ammonium salts, urea, nitrates, peptone, yeast extracts, defatted soy beans, corn steep liquors, and beef extracts.

[47]

Cultures containing the polypeptides of the present invention can be obtained by inoculating the transformants into nutrient culture media and incubating them at temperatures of 20-65° C. and pH of 2-9 for about 1-6 days under aerobic conditions such as aeration-agitation conditions. The resultant cultures can be used intact as an enzymatic agent. However, usually cells of the microorganisms are separated form the cultures by filtration, centrifugation, etc., disrupted by ultrasonics and cell wall lysis enzymes, filtered and centrifuged to separate the polypeptide from the intact cells and cell debris. The polypeptide is then purified. Methods for purifying the polypeptide include conventional methods. The intact cells and cell debris are eliminated and subjected to one or more treatments such as centrifugation, salting out, dialysis, filtration, concentration, separatory sedimentation, ion exchange chromatography, gel filtration chromatography, isoelectic chromatography, hydrophobic chromatography, reverse phase chromatography, affinity chromatography, gel electrophoresis, and electrofocusing. As described above, the polypeptides which have β-fructofuranosidase activity catalyze fructofuranosyl transfer between fructofuranosyl donors and fructofuranosyl acceptors. Therefore, using fructofuranosyl-transferred products can be obtained by reacting appropriate fructofuranosyl donors with fructofuranosyl acceptors in the presence of the polypeptides of the present invention. Generally, saccharides with β-fructofuranosidic linkages within the molecules, such as sucrose, raffinose and erlose, can be used as the fructofuranosyl donors. Saccharides free of β-fructofuranosidic linkage within the molecules, for example, reducing sugars such as xylose, xylooligosaccharides, galactose, galactooligosaccharides, lactose, maltose, maltooligosaccharides, isomaltose, and isomaltooligosaccharides; non-reducing saccharides such as teahouse and neotrehalose; sugar alcohols such as sorbitol and maltitol; and alcohols such as glycerol and ethylene glycol. By appropriately combining these compounds, useful, fructofuranosyl-transferred saccharides such as xylosylfructoside, erlose, isomaltofructoside, lactosucrose, and fructosyltrehalose, can be obtained.

[48]

Fructofuranosyl transfer generally occurs under the following reaction conditions: A mixture consisting of one part by weight of a fructofuranosyl acceptor and a fructofuranosyl donor in an amount of about 0.1-10 parts by weight, preferably about 0.5-5 parts by weight, was dissolved in an aqueous medium to give a concentration of over 10 w/w %, preferably 20-60 w/w %, and reacted at a temperature of not more than about 60° C., preferably at a temperature of about 5-55° C., and at a pH of about 3.5-8.0, preferably at a pH of about 4.5-6.5. The amount of the polypeptide of the present invention is optionally chosen depending upon the reaction conditions. Usually, the reaction terminates in about 0.1-100 hours when the polypeptide is used in an amount of about 0.1-50 units/g fructofuranosyl donor, on a dry solid basis (d.s.b.). The reaction mixtures thus obtained contain at least about 5%, usually at least 10%, of fructofuranosyl transferred products, d.s.b.

[49]

The reaction mixtures thus obtained were treated by conventional methods of filtration, centrifugation to remove insoluble substances, purification using activated charcoal and ion exchanges, and were concentrated into syrups. If necessary, the syrups can be dried into powder form. To increase the content of fructofuranosyl transferred products, the syrups can be incubated with invertase defective yeasts to assimilate monosaccharides, treated by heating in the presence of alkali to decompose reducing saccharides, and either membrane filtered or chromatographed to remove impurities. Column chromatography using strong acid cation exchange resins as disclosed in Japanese Patent Laid-Open Nos. 23,799/83 and 72,598/83 can be used. When using these column chromatographies, desired amounts of high purity fructofuranosyl transferred products can be obtained with a minimum of cost and labor. Conventional fixed bed, moving bed, and pseudo moving bed methods can be used for the column chromatography.

[50]

The resulting fructofuranosyl transferred products have a satisfactory taste and sweetness, moderate viscosity and humectance, and are effective in anticariogenicity in promoting the growth of bifid bacteria, as well as promoting mineral absorption. Thus, the fructofuranosyl transferred products obtained by the method of the present invention for fructofuranosyl transfer, can be used to sweeten and improve the tastes and textures of food products, cosmetics, and pharmaceuticals which require the above properties and activities.

[51]

Referring to the examples below, the preferred embodiments according to the present invention will be explained. The techniques per se used therein are conventional ones: Examples of such are disclosed by J. Sambrook et al. in “Molecular Cloning A Laboratory Manual”, 2ndedition, published by Cold Spring Harbor Laboratory Press, USA (1989).

EXAMPLE 1

[52]

Preparation of DNA and Transformant

Example 1—1

[53]

Preparation of Purified β-fructofuranosidase

[54]

A liquid nutrient culture medium (pH 7.0), consisting of 1.0 w/v % by weight of sucrose, 0.5 w/v % polypeptone, 0.1 w/v % yeast extract, 0.1 w/v % dipotassium hydrogenphosphate, 0.06 w/v % sodium dihydrogenphosphate, dihydrate, 0.05 w/v % magnesium sulfate, heptahydrate, 0.3 w/v % calcium carbonate and water, was prepared. One hundred ml aliquots of the culture medium were distributed to 500 ml flasks, sterilized by autoclaving at 120° C. for 15 min, cooled, inoculated with a speed of Bacillus sp. V230 (FERM BP-5054), and cultured under rotary shaking conditions at 30° C. for 20 hours to obtain a seed culture.

[55]

About 7 liters of a fresh preparation of the same liquid nutrient culture medium was placed in a 10 L jar fermenter, sterilized similarly as above, cooled at 30° C., inoculated with one v/v % of the seed culture, and cultured under aeration-agitation conditions at 30° C. for 20 hours. The resultant culture was centrifuged to obtain a 6.3 L supernatant containing 3.6 units/ml of β-fructofuranosidase. To the supernatant was added ammonium sulfate up to give a 80% saturation, allowed to stand at 4° C. overnight, and centrifuged to obtain a precipitate containing β-fructofuranosidase.

[56]

The precipitate was dissolved in 10 mM acetate buffer (pH 6.0) containing 5 mM calcium chloride, dialyzed for one day against a fresh preparation of the same acetate buffer, and centrifuged to obtain a 210 ml supernatant. The supernatant was fed to a column packed with 380 ml of “DEAE-TOYOPEARL® 650”, a gel for ion-exchange chromatography commercialized by Tosoh Corporation, Tokyo, Japan, which had been previously equilibrated with 10 mM acetate buffer (pH 6.0) containing 5 mM calcium chloride, and fed with a linear gradient buffer of sodium chloride increasing from 0 M to 0.5 M in 10 mM acetate buffer (pH 6.0), followed by collecting fractions eluted at around 0.1 M sodium chloride.

[57]

The fractions were pooled, dialyzed against 10 mM acetate buffer (pH 6.0) containing 1 M ammonium sulfate and 5 mM calcium chloride, and centrifuged to obtain a supernatant which was then fed to a column packed with 100 ml of “BUTYL-TOYOPEARL® 650”, a hydrophobic gel commercialized by Tosoh Corporation, Tokyo, Japan, which had been equilibrated with 10 mM acetate buffer (pH 6.0) containing 5 mM calcium chloride and fed with a linear gradient buffer of ammonium sulfate decreasing from 1 M to 0 M in 10 mM acetate buffer (pH 6.0) containing 5 mM calcium chloride, followed by collecting fractions eluted at around 0.1 M ammonium sulfate.

[58]

Thereafter, the fractions were pooled, dialyzed against 10 mM acetate buffer (pH 6.0) containing 5 mM calcium chloride, and centrifuged to obtain a supernatant which was then fed to a column packed with 10 ml of “DEAE-TOYOPEARL® 650”, a gel commercialized by Tosoh Corporation, Tokyo, Japan, which had been equilibrated with 10 mM acetate buffer (pH 6.0) containing 5 mM calcium chloride and fractionated similarly as above to obtain 14 mg of a purified β-fructofuranosidase with a specific activity of 205 units/mg protein. When electrophoresed on SDS-PAGE, the purified β-fructofuranosidase was observed as a substantially single protein band with a β-fructofuranosidase activity.

[59]

The activity of the present β-fructofuranosidase was assayed as follows: Sucrose as a substrate was dissolved in 20 mM acetate buffer (pH 6.0) containing 5 mM calcium chloride to give a concentration of 0.1 w/v %. To 5 ml of the solution was added 0.2 ml of a test sample, and the mixture was incubated at 40° C. for 10 min, followed by suspending the enzymatic reaction by the addition of 0.2 ml of the Somogyl copper solution and assaying the reducing power of the reaction mixture by the Somogyi-Nelson's method. As a control, a control solution, which was preheated at 100° C. for 10 min to inactivate the enzyme, was treated similarly as above. Under the above reaction conditions, one unit β-frustofuranosidase activity is defined as the amount of enzyme or polypeptide which gives a reducing power equal to that of 2 μmole of glucose per minute.

Example 1-2

[60]

Amino Acid Sequence Containing the N-terminus

[61]

The amino acid sequence containing the N-terminus of the purified β-fructofuranosidase in Example 1—1 was analyzed on “MODEL 473A”, a gas-phase protein sequencer commercialized by Perkin-Elmer Corp., Instrument Div., Norwalk, USA, revealing that it has the amino acid sequence of SEQ ID NO:2.

Example 1-3

[62]

Partial Amino Acid Sequence

[63]

An adequate amount of a purified β-fructofuranosidase, obtained by the method in Example 1—1, was placed in a container, dialyzed against 10 mM tris-HCl buffer (pH 9.0) at 4° C. for 18 hours, and admixed with 10 mM Tris-HCl buffer (pH 9.0) to give a protein concentration of about one mg/ml. About one ml of the aqueous solution was placed in a container, admixed with 20 μg/ml of lysyl endopeptidase, incubated at 30° C. for 60 hours to partially hydrolyze the enzyme. The resultant hydrolysate was applied to “μBONDAPAK C18”, a column for high-performance liquid chromatography commercialized by Japan Millipore Ltd., Tokyo, Japan, which had been equilibrated with 0.1 v/v % trifluoroacetate, followed by feeding to the column a linear gradient of aqueous acetonitrile increasing from 0 v/v % to 40 v/v % in 0.1 v/v % trifluoroacetate at a flow rate of 0.9 ml/min and collecting a fraction containing a peptide fragment eluted about 77 min initiating the feeding. The fraction was dried in vacuo and dissolved in 0.1 v/v % trifluoroacetate containing 50 v/v % aqueous acetonitrile. Similarly as in Example 1-2, the peptide fragment was analyzed and revealed to have an amino acid sequence of SEQ ID NO:2.

Example 1-4

[64]

Preparation of Chromosome DNA

[65]

One hundred ml aliquots of a liquid nutrient culture medium (pH 7.0), consisting of one w/v % polypeptone, 0.5 w/v % yeast extract, 0.5 w/v % sodium chloride and water, were distributed to 500 ml flasks, sterilized by autoclaving at 120° C. for 20 min, cooled, inocluated with a seed of Bacillus sp. V230 (FERM BP-5054) strain, and cultured at 27° C. for 24 hours under rotary shaking conditions.

[66]

The proliferated cells were separated from the resultant cultured by centrifugation, suspended in an adequate amount of TES buffer (pH 8.0), admixed with 0,05 w/v % lysozyme, incubated at 37° C. for 30 min, frozen at −80° C. for one hour, admixed with TES buffer (pH 9.0), further admixed with a mixture of TES buffer and phenol preheated to 60° C., cooled, and centrifuged to obtain a supernatant. Two-fold volumes of cooled ethanol was added to the supernatant, and the formed sediment containing a chromosome DNA was collected, dissolved in SSC buffer (pH 7.1), admixed with 7.5 μg ribonuclease and 125 μg protease, and allowed to react at 37° C. for an hour. The reaction mixture was mixed with a mixture solution of chloroform and isoamyl alcohol to extract the chromosome DNA, and the extract was mixed with cooled ethanol, and allowed to stand to obtain sediment containing a purified chromosome DNA. The sediment was dissolved in SSC buffer (pH 7.1) to give a concentration of one mg/ml, the freezed at −80° C.

Example 1-5

[67]

Preparation of Transformant BBF4

[68]

One ml of solution of a purified chromosome DNA, obtained by the method in Example 1-4, was placed in a container, admixed with about 30 units of a restriction enzyme, Sau 3AI, incubated at 37° C. for 20 min to partially hydrolyze the chromosome DNA, and subjected to sucrose gradient centrifugation to obtain a DNA fragment consisting of about 2,000-5,000 base pairs (bp). While a plasmid vector, Bluescript II SK(+), was digested with a restriction enzyme, Bam HI, and 0.1 μg of the formed vector fragments and the DNA fragments obtained in the above were ligated using “DNA LIGATION KIT”, a product of Takara Shuzo Co., Ltd., Otsu, Shiga, Japan. The obtained recombinant DNA was mixed with 30 μl of “EPICURIAN COLI® XLI-BLUE”, a competent cell commercialized by Toyobo Co., Ltd., Tokyo, Japan, allowed to stand under ice-chilled conditions for 30 min, heated to 42° C., admixed with SOC broth, incubated at 37° C. for an hour to introduce the recombinant DNA into Escherichia coli.

[69]

The resultant transformant was inoculated onto an agar plate (pH 7.0) containing 50 μg/ml of 5-bromo-4-chloro-3-indolyl-β-galactoside, and cultured at 37° C. for 18 hours, followed by fixing about 2,000 colonies formed on the agar plate upon “HYBOND-H+”, a nylon film commercialized by Amersham Corp., Div., Amersham International, Arlington Heights, USA. Based on the amino acids sequence of Asp-Tyr-Lys-Glu-Asp-Tyr-Gly-Phe-Ala (SEQ ID NO:7) located at amino acids 5-13 in SEQ ID NO:3, an oligonucleotide with a nucleotide sequence of 5′-GAYTAYAARGARGAYTAYGGNTTYGC-3′(SEQ ID NO:6) was chemically synthesized and labelled with32P. The resultant as a probe was hybridized with the colonies of transformants fixed on the nylon film, followed by selecting a transformant which showed a strong hybridization and named “BBF4”.

[70]

The transformant BBF4 was inoculated into L-broth (pH 7.0) containing 100 μg/ml ampicillin and cultured at 37° C. for 24 hours under rotary shaking conditions. The proliferated cells were collected by centrifugation from the culture, treated with conventional alkali treatment to extract extracellularly the recombinant DNA which was then purified and analyzed in a conventional manner, revealing that the recombinant DNA, contained in the transformant BBF4 or “pBBF4”, consisted of about 6,300 bp and had the restriction sites as shown in FIG. 1. As is evident from FIG. 1, in the recombinant pBBF4, the DNA consisting of 1,365 bp which encodes the present polypeptide is linked to the downstream of a restriction site by a restriction enzyme, Eco RV.

Example 1-6

[71]

Decoding of Nucleotide Sequence

[72]

One μg of the recombinant DNA pBBF4 in Example 1-5 was weighed in a container, mixed with 0.02 μg of a sequencing primer and 9.5 μg of a premix solution used in “ABI PRIS™ READY REACTION TERMINATOR CYCLE SEQUENCING KIT” commercialized by Applied Biosystems, Inc., Foster City, USA, and volumed up to give a total volume of 20 μl by the addition of an adequate amount of water. An adequate amount of mineral oil was overlaid on the mixture, and the resultant mixture was incubated at 96° C. for 30 sec, 50° C. for 15 sec, and 60° C. for 4 min using “MODEL PJ200” commercialized by Perkin-Elmer Corp., Norwalk, USA, and the above serial incubations was repeated 25 times to obtain a reaction product containing a complementary DNA (cDNA). Thereafter, the reaction product was mixed with 2.5 μl of 0.5 M aqueous salt solution containing 5 w/v % cetyltrimethyl-ammonium bromide for sedimentation, and the sediment was purified by conventional ethanol method and dried in vacuo. The powdery product thus obtained was dissolved by admixing with one μl of 50 mM EDTA and 5 μl formamide, and the solution was incubated at 90° C. for 2 min and instantly cooled.

[73]

The resulting product was weighed in an appropriate amount, placed on 6 w/v polyacrylamide gel set to “MODEL 373”, a DNA sequencing system commercialized by Applied Biosystems, Inc., Foster City, USA, electrophoresed for separation and analyzed, revealing that the cDNA contained the nucleotide sequence of SEQ ID NO:5. An amino acid sequence estimable from the nucleotide sequence was SEQ ID NO: 3. Comparison of the amino acid sequence with the partial amino acid sequences of SEQ ID Nos: 1 and 2 revealed that SEQ ID NO: 2 and SEQ ID NO:1 coincided with the amino acids 1-21 and those 201-212 of SEQ ID NO:3, respectively. These date indicate that the present polypeptide contains the amino acid sequence of SEQ ID NO:3, and a polypeptide from Bacillus sp. V230 strain has the amino acid sequence of SEQ ID NO:4, more particularly, it is encoded by the DNA in SEQ ID NO:5. It can be estimated that the nucleotide sequence of bases 361-456 in SEQ ID NO:5 is a common signal peptide region, found in secretory enzymes in general.

EXAMPLE 2

[74]

Preparation of Polypeptide by Transformant and Physicochemical Properties Thereof

Example 2-1

[75]

Preparation of Polypeptide by Transformant

[76]

Into 500 ml flasks were distributed 100 ml aliquots of a liquid nutrient culture medium consisting of 1.0 w/v % sucrose, 0.5 w/v % polypeptone, 0.1 w/v % yeast extract, 0.1 w/v % dipotassim hydrogenphosphate, 0.06 w/v % sodium dihydrogenphosphate, dihydrate, 0.05 w/v % magnesium sulfate, heptahydrate, 0.3 w/v % calcium carbonate, and water. The flasks were autoclaved at 120° C. for 15 min for sterilization, cooled, adjusted to pH 7.0 and mixed with 50 μg/ml ampicillin, followed by inoculating thereunto the transformant BBF4 in Example 1-5 and incubating the mixture at 37° C. for 20 hours under rotary conditions to obtain a seed culture.

[77]

About 7 L of a fresh preparation of the same liquid nutrient culture medium was placed in a 10 L jar fermenter, sterilized similarly as above, cooled to 37° C., the pH adjusted, admixed with ampicillin, inoculated with one v/v % of the seed culture, and cultured for 20 hours under areation-agitation conditions. The resulting culture was treated with ultrasonics to disrupt the proliferated cells and centrifuged to remove impurities, and the supernatant was mixed with ammonium sulfate to give a saturation degree of 70 w/v %, allowed to stand at 4° C. for 24 hours, and centrifuged to collect sediment. The sediment was dissolved in 10 mM phosphate buffer at 4° C. for 24 hours. The dialyzed inner solution was assayed for β-fructofuranosidase activity, revealing that it produced about 8 units polypeptide per L of the culture. Purification of the resulting crude polypeptide by the method in Example 1—1 yielded an about 8 mg polypeptide with a specific activity of 205 units/mg protein per L of the culture.

[78]

As a control, an Escherichia coli XLI-Blue strain or a Bacillus sp. V230 strain was similarly cultured in a fresh preparation of the same liquid nutrient culture medium free of ampicillin and treated except that the culturing temperature for the Bacillus sp. V230 strain was set to 30° C. Assay for activity of the resulting supernatant revealed that the Bacillus sp. V230 strain produced an about 3.6 units β-fructofuranosidase, the level of which was significantly lower than that of the transformant BBF4. When Escherichia coli XLI-Blue strains was used as the host produced no β-fructofuranosidase.

Example 2—2

[79]

Physicochemical Properties of Polypeptide

Example 2-2(a)

[80]

Action

[81]

An aqueous solution, containing as a substrate sucrose, raffinose, erlose, stachyose, lactosucrose, xylosylfructoside, maltose, cellobiose, lactose, inulin or levan in a concentration of 2 w/v %, was mixed with 2 units/g substrate, d.s.b., of a polypeptide obtained by the method in Example 2-1 and reacted at 40° C. and pH 5.5 for 24 hours.

[82]

An adequate amount of each reaction mixture was spotted on “KIESELGEL 60”, an aluminum plate for thin layer chromatography (TLC) commercialized by Merck & Co., Inc., Rahway, USA, developed at ambient temperature using a developing solvent system of 1-butanol, pyridine and water (=7:3:1 by volume), and dried. When the reaction mixture contained fructose, the plate was colored by spraying 0.5 N phosphate solution containing 0.2 w/v % naphthoresorcinol, and heated at 110° C. for 5 min, while the plate was colored by spraying a mixture solution of 20 w/v % sulfuric acid in methanol and heated at 110° C. for 10 min. As a result, it was revealed that the polypeptide used in this experiment acted on sucrose, raffinose, erlose, stachyose, lactosucrose and xylosylfructoside to release fructose while exerting a β-fructofuranosidase activity, but did not substantially act on maltose, cellobiose, lactose, inulin and levan.

[83]

Using as fructofuranosyl acceptors the monosaccharides, oligosaccharides and alcohols in Table 1, the specificity of the present polypeptide for fructofuranosyl transfer was studied: Any one of the fructofuranosyl acceptors in Table 1 and sucrose as a fructofuranosyl donor were mixed in an equal amount by weight, and the mixture was dissolved in water into a 10 w/v % aqueous solution which was then mixed with 2 units/g sucrose, d.s.b., of a polypeptide obtained by the method in Example 2-1, and reacted at 40° C. and pH 5.5 for 24 hours. Thereafter, the reaction mixture was separated by TCL similarly as above, and the plate was colored by spraying 0.5 N phosphate solution containing 0.2 w/v % naphthoresorcinol, and the plate was heated at 110° C. for 5 min to color and detect fructofuranosyl-transferred products. The results are shown in Table 1.

[84]

D-Xylose++
D-Galactose++
D-Mannose+
D-Fructose+
L-Sorbose+
L-Arabinose+
L-Rhamnose+
Maltose++
Isomaltose++
Kojibiose+
Trehalose++
Neotrehalose+
Cellobiose++
Maltotriose++
Panose++
Lactose++
Turanose+
Palatinose+
Melibiose++
Raffinose+
D-Xylitol++
D-Sorbitol++
Maltitol++
Glycerol++
Methanol+
Ethanol+
Ethylene glycol++
1-Butanol
2-Butanol
1-Propanol
2-Propanol
Note: Standards for judgement
Compared with a reaction mixture of sucrose, “−” means unchanged; “+” , the size and color of a spot for fructofuranosyl acceptor reduced slightly, and spot for fructofuransyl-transferred product was slightly detected; “++”, the size and color of a spot for fructofuranosyl acceptor more reduced and a spot for fructofuransyl transferred product was clearly observed.

[85]

As is evident from the results in Table 1, the present polypeptide catalyzes the transfer of fructofuranosyl residue from sucrose as a fructofuranosyl donor to D-xylose, D-galactose, maltose, isomaltose, cellobiose, maltotriose, panose, lactose, melibiose and trehalose as fructofuranosyl acceptors so as to form fructofuranosyl-transferred products corresponding to the fructofuranosyl acceptors. In addition to the above saccharides, the present polypeptide acts on sugar alcohols such as D-xylitol, D-sorbitol and maltitol, and alcohols such as glycerol and ethylene glycol to form their corresponding fructofuransyl-transferred products.

Example 2-2(b)

[86]

Molecular Weight

[87]

The polypeptide in Example 2-1 was subjected to electrophoresis using 10 w/v % SDS-polyacrylamide gel, and the molecular weight was determined by comparing the mobility of the polypeptide with those of molecular marker proteins electrophoresed simultaneously, revealing that it was 44,000-54,000 daltons. The molecular marker proteins were rabbit muscular phosphorylase B (MW 97,400 daltons), calf serum albumin (MW 66,200 daltons), ovalbumin (MW 45,000 daltons), calf carbonic anhydrase (MW 31,000 daltons), soybean trypsin inhibitory (MW 21,5000 daltons), and egg albumin (MW 14,400 daltons).

Example 2-2(c)

[88]

Optimum pH

[89]

The polypeptide in Example 2-1 was in a conventional manner incubated at 40° C. for 10 min in 20 mM buffers with different pHs, revealing that it showed an optimum pH of about 5.5-6.0 as shown in FIG. 2.

Example 2-2(d)

[90]

Optimum Temperature

[91]

The polypeptide in Example 2-1 was in a conventional manner incubated for 10 min in 20 mM acetate buffer (pH 6.0), revealing that it showed an optimum temperature of about 50° C. and 45° C. in the presence of or in the absence of 5 mM calcium ion as shown in FIG. 3.

Example 2-2(e)

[92]

pH Stability

[93]

The polypeptide in Example 2-1 was in a conventional manner incubated at 4° C. for 24 hours in 100 mM buffers with different pHs, revealing that it was stable at pHs from about 5.0 to about 8.0 as shown in FIG. 4.

Example 2-2(f)

[94]

Thermal Stability

[95]

The polypeptide in Example 2-1 was in a conventional manner incubated for 60 min in 50 mM acetate buffer (pH 6.0), revealing that it was stable up to a temperature of about 45° C. as shown in FIG. 5.

EXAMPLE 3

[96]

Preparation of Polypeptide by Transformant

Example 3-1

[97]

Preparation of Transformant BB5

[98]

The recombinant DNA pBBF4 in Example 1-5 was cleaved with a restriction enzyme, Pst I, and the cleaved sites were blunted using “DNA BLUNTING KIT” commercialized by Takara Shuzo Co., Ltd., Otsu, Shiga, Japan, and subjected to agarose gel electrophoresis in a conventional manner to obtain a DNA fragment of about 2,800 bp which contained a nucleotide sequence encoding the polypeptide. The DNA fragment was ligated with “pHY300PLK”, a plasmid vector commercialized by Toyobo Co., Ltd., Tokyo, Japan, using “DNA LIGATION KIT” commercialized by Takara Shuzo Co., Ltd., Otsu, Shiga, Japan. The resulting recombinant DNA was added to a Bacillus subtilis ISW1214 strain, which had been prepared into a protoplast according to the method reported by P. Schaeffer et al. in “Proceedings of the National Academy of Sciences of the United States of America”, Vol. 73, No. 6, pp. 2,151-2,155 (1976), and the strain was transformed according to the method reported by J. Sekiguchi in “Agricultural and Biological Chemistry”, Vol. 46, pp. 1,617-1,621 (1982). The transformant thus obtained was named “BBF5”.

[99]

The transformant BBF5 was inoculated into L-broth (pH 7.0) containing 10 μg/ml tetracycline and incubated at 30° C. for 24 hours under rotary shaking conditions. Similarly as in Example 1-4, a desired recombinant DNA extracted, purified and analyzed, revealing that the recombinant DNA, which contained in the transformant BBF5, consisted of about 7,700 bp and had the restriction sites as shown in FIG. 6.

Example 3-2

[100]

Production of Polypeptide by Transformant

[101]

One hundred ml aliquots of a liquid nutrient culture medium, consisting of 5.0 w/v % sucrose, 1.0 w/v % polypeptone, 0.1 w/v % yeast extract, 0.1 w/v % dipotassium hydrogenphosphate, 0.06 w/v % sodium dihydrogenphosphate, dihydrate, 0.05 w/v % magnesium sulfate, heptahydrate, 0.3 w/v % calcium carbonate, and water, were distributed to 500 ml flasks which were then sterilized by autoclaving at 120° C. for 15 min, cooled, adjusted to pH 7.0, and admixed with 10 μg/ml tetracycline. Into each flask containing the liquid nutrient culture medium was inoculated the transformant BBF5 in Example 3-1 and incubated at 30° C. for 24 hours under rotary shaking conditions to obtain a seed culture.

[102]

About 19 L of a fresh preparation of the same liquid nutrient culture medium as used in the above was placed in a 30 L fermenter, sterilized similarly as above, cooled to 30° C., the pH adjusted, admixed with tetracycline, inoculated with one v/v % of the seed culture, and cultured for 24 hours under aeration-agitation conditions. Most of the polypeptide produced by the transformant BBF5 was found in the culture supernatant with a β-fructofuranosidase activity of 45 units/ml. The culture supernatant was filtered using an MF membrane and concentrated with a UF membrane to obtain an 820 ml aqueous solution containing about 800 units/ml of the present polypeptide.

[103]

Similarly as in Example 1—1, the polypeptide was purified and studied on the physicochemical properties using the method in Example 2—2, revealing that it had the same physicochemical properties as that of Example 2-1.

EXAMPLE 4

[104]

Fructofuranosyl Transfer to Lactose

[105]

An aqueous solution, containing 20 w/w % sucrose as a fructofuranosyl donor and lactose as a fructofuranosyl acceptor, was adjusted to pH 5.5, admixed with one unit/g sucrose, d.s.b., of a crude polypeptide obtained by the method in Example 2-1, and reacted at 55° C. for 16 hours. The reaction mixture was heated at 90° C. for 30 min to inactivate the polypeptide, cooled, and in a conventional manner, decolored with an activated charcoal, filtered, desalted and purified using ion exchangers, and concentrated to obtain a 75 w/w % syrupy product in a yield of 95% to the material, d.s.b.

[106]

The product, containing 37% lactosucrose, d.s.b., has a satisfactory taste and sweetness, and an adequate humectancy, and can be arbitrarily used in food products, cosmetics and pharmaceuticals as a sweetener, taste-improving agent, stabilizer, growth-promoting agent for bifid bacteria, and mineral absorption-promoting agent.

EXAMPLE 5

[107]

Fructofuranosyl Transfer to Lactose

[108]

An aqueous solution, containing 22 w/w % sucrose as a fructofuranosyl donor and 18 w/w % lactose as a fructofuranosyl acceptor, was adjusted to pH 6.0, admixed with one unit/g sucrose, d.s.b., of a crude polypeptide obtained by the method in Example 3-1 and 5 w/w % by wet weight of invertase defective yeasts, and enzymatically reacted at 35° C. for 20 hours while keeping the pH in the range of 6-7 by the addition of 1N sodium hydroxide solution. The reaction mixture was heated at 90° C. for 30 min to inactivate the polypeptide, cooled, and in a conventional manner, decolored with an activated charcoal, desalted and purified using ion exchangers, concentrated, dried in vacuo, and pulverized to obtain a powdery product in a yield of 70% to the material, d.s.b.

[109]

The product, containing 65% lactosucrose, d.s.b., has a satisfactory taste and sweetness, and an adequate humetancy, and can be arbitrarily used in food products, cosmetics and pharmaceuticals as a sweetener, taste-improving agent, stabilizer, growth-promoting agent for bifid bacteria, and mineral absorption-promoting agent.

EXAMPLE 6

[110]

Fructofuranosyl Transfer to Maltose

[111]

An aqueous solution, containing sucrose as a fructofuranosyl donor and 20 w/w % maltose as a fructofuranosyl acceptor, was adjusted to pH 5.5, admixed with one unit/g sucrose, d.s.b., of a crude polypeptide obtained by the method in Example 2-1, and enzymatically reacted at 50° C. for 24 hours. The reaction mixture was heated at 90° C. for 30 min to inactivate the polypeptide, cooled, and in a conventional manner, decolored with an activated charcoal, desalted and purified using ion exchangers, concentrated, dried in vacuo, and pulverized to obtain a 75 w/w % syrupy product in a yield of 95% to the material, d.s.b. The syrupy product contained about 28% erlose, d.s.b.

[112]

The syrupy product was concentrated up to give a concentration of 45 w/w % and subjected to column chromatography using “DOWEX 50W X4 (Ca-form)”, an alkaline metal strong-acid cation exchanger commercialized by Dow Chemical Co., Midland, Mich., USA, to increase the erlose cotent: The exchanger was injected into 4 jacketed stainless-steel columns, having an inner diameter of 5.4 cm, and the columns were cascaded in series to give a total gel-bed depth of 20 m, fed with 5 v/v % of the syrupy product to the exchanger while keeping the inner column temperature at 40° C., and fed with water heated to 40° C. at an SV (space velocity) 0.2 to effect fractionation. Thereafter, high-erlose content fractions were collected, and in a conventional manner, purified, concentrated, dried in vacuo, and pulverized to obtain a powdery product containing 84% erlose, d.s.b, in a yield of 25% to the material, d.s.b.

[113]

The product has a satisfactory taste and sweetness, and an adequate humectancy, and can be arbitrarily used in food products, cosmetics and pharmaceuticals as a sweetener, taste-improving agent, stabilizer, growth-promoting agent for bifid bacteria, and mineral absorption-promoting agent. Because the product has a relatively-low reducibility, satisfactory taste and sweetness, adequate humectancy, and relatively-low cariogenicity, it can be arbitrarily used in food products, cosmetics and pharmaceuticals as a sweetener, taste-improving agent, stabilizer, growth-promoting agent for bifid bacteria, and mineral absorption-promoting agent.

EXAMPLE 7

[114]

Fructofuranosyl Transfer to Xylose

[115]

An aqueous solution, containing 30 w/w % sucrose as a fructofuranosyl donor and 15 w/w % xylose as a fructofuranosyl acceptor, was adjusted to pH 5.5, admixed with 0.5 unit/g sucrose, d.s.b., of a crude polypeptide obtained by the method in Example 1-2, and enzymatically reacted at 50° C. for 40 hours. The reaction mixture was heated at 90° C. for 30 min to inactivate the polypeptide, cooled, and in a conventional manner, decolored with an activated charcoal, desalted and purified using ion exchangers, and concentrated to obtain a 75 w/w % syrupy product in a yield of 95% to the material, d.s.b.

[116]

Since the product contains 35% xylosylfructoside, d.s.b., and has a satisfactory taste and sweetness, adequate humectancy, and relatively-low cariogenicity, it can be arbitrarily used in food products, cosmetics and pharmaceuticals as a sweetener, taste-improving agent, stabilizer, growth-promoting agent for bifid bacteria, and mineral absorption-promoting agent.

EXAMPLE 8

[117]

Fructofuranosyl Transfer to Xylose

[118]

An aqueous solution, containing 30 w/w % sucrose as a fructofuranoxyl donor and 15 w/w % xylose as a fructofuranosyl acceptor, was adjusted to pH 6.0, admixed with 0.5 unit/g sucrose, d.s.b., of a crude polypeptide obtained by the method in Example 3-1, and enzymatically reacted at 50° C. for 40 hours. The reaction mixture was heated at over 100° C. while keeping the pH to 10 or higher by the addition of sodium hydroxide, cooled, and in a conventional manner, decolored with activated charcoal, desalted and purified using ion exchangers, and concentrated to obtain a 75 w/w % syrupy product in a yield of 55% to the material, d.s.b.

[119]

Since the product contains 60% xylosylfructoside, d.s.b., and has a satisfactory taste and sweetness, adequate humectancy, and relatively-low cariogenicity, it can be arbitrarily used in food products, cosmetics and pharmaceuticals as a sweetener, taste-improving agent, stabilizer, growth-promoting agent for bifid bacteria, and mineral absorption-promoting agent.

EXAMPLE 9

[120]

Fructofuranosyl Transfer to Trehalose

[121]

An aqueous solution, containing 14 w/w % raffinose as a fructofuranosyl donor and 10 w/w % trehalose as a fructofuranosyl acceptor, was adjusted to pH 5.5, admixed with 0.4 unit/g sucrose, d.s.b., of a crude polypeptide obtained by the method in Example 2-1, and enzymatically reacted at 50° C. for 40 hours. The reaction mixture was heated at 90° C. for 30 min to inactivate the polypeptide, cooled, and in a conventional manner, decolored with an activated charcoal, desalted and purified using ion exchangers, concentrated, dried in vacuo, and pulverized to obtain a powdery product in a yield of 95% to the material, d.s.b.

[122]

The product, containing 20% fructofuranosyl trehalose, d.s.b., has a satisfactory taste and sweetness and an adequate humectancy, and can be arbitrarily used in food products, cosmetics and pharmaceuticals as a sweetener, taste-improving agent, stabilizer, growth-promoting agent for bifid bacteria, and mineral absorption-promoting agent.

[123]

As described above, the present invention provides a polypeptide with β-fructofuranosidase activity, which can be easily and industrially produced by applying the recombinant DNA technology. The present polypeptide is one with a revealed amino acid sequence in whole or in part and can be arbitrarily used in the production of fructofuranosyl-transferred products directed to use in food products, cosmetics and pharmaceuticals. The polypeptide with such useful properties can be easily produced in a desired amount by the present method using transformants.

[124]

Therefore, the present invention with these useful and satisfactory effects and activities is a significant invention that greatly contributes to the field.

[125]

                  
#             SEQUENCE LISTING
(1) GENERAL INFORMATION:
   (iii) NUMBER OF SEQUENCES: 6
(2) INFORMATION FOR SEQ ID NO: 1:
     (i) SEQUENCE CHARACTERISTICS:
          (A) LENGTH: 21 amino 
#acids
          (B) TYPE: amino acid
          (D) TOPOLOGY: linear
     (v) FRAGMENT TYPE: N-terminal fragment
    (xi) SEQUENCE DESCRIPTION: SEQ ID NO:
# 1:
Met Asn Ser Gly Asp Tyr Lys Glu Asp Tyr Gl
#y Phe Ala His Ile Thr
1               5   
#                10  
#                15
Arg Ala Asp Met Leu
            20
(2) INFORMATION FOR SEQ ID NO: 2:
     (i) SEQUENCE CHARACTERISTICS:
          (A) LENGTH: 12 amino 
#acids
          (B) TYPE: amino acid
          (D) TOPOLOGY: linear
     (v) FRAGMENT TYPE: internal fragment
    (xi) SEQUENCE DESCRIPTION: SEQ ID NO: 
#2:
Ser Val Phe Asp Gly Gly Asp Gly Thr Val Ty
#r Gln
1               5   
#                10
(2) INFORMATION FOR SEQ ID NO: 3:
     (i) SEQUENCE CHARACTERISTICS:
          (A) LENGTH: 455 amino 
#acids
          (B) TYPE: amino acid
          (D) TOPOLOGY: linear
    (ii) MOLECULE TYPE: peptide
    (xi) SEQUENCE DESCRIPTION: SEQ ID NO: 
#3:
Met Asn Ser Gly Asp Tyr Lys Glu Asp Tyr Gl
#y Phe Ala His Ile Thr
1               5   
#                10  
#                15
Arg Ala Asp Met Leu Lys Ile Pro Gly Gln Gl
#n Asn Ser Pro Gln Phe
           20       
#           25       
#           30
Lys Val Pro Gln Phe Asn Ala Ser Ala Ile Ly
#s Asn Ile Asp Ser Ala
        35          
#        40          
#        45
Lys Gly Tyr Asp Lys Ser Gly Asn Leu Ile As
#p Leu Asp Val Trp Asp
    50              
#    55              
#    60
Ser Trp Pro Leu Gln Asn Ala Asp Gly Thr Al
#a Ala Asn Tyr His Gly
65                  
#70                  
#75                  
#80
Tyr His Ile Val Ser Ala Leu Ala Gly Asp Pr
#o Lys Asn Ser Asp Asp
                85  
#                90  
#                95
Thr Pro Leu His Leu Phe Tyr Gln Lys Val Gl
#y Asp Thr Ser Ile Asp
            100      
#           105      
#           110
Ser Trp Lys Asn Ala Gly Arg Val Phe Glu As
#p Met Asp Lys Phe Val
        115          
#       120          
#       125
Pro Asn Asp Pro Tyr Leu Lys Tyr Gln Thr Gl
#n Glu Trp Ser Gly Ser
    130              
#   135              
#   140
Ala Thr Leu Thr Lys Asp Gly Gln Val Arg Le
#u Phe Tyr Thr Asp Tyr
145                 1
#50                 1
#55                 1
#60
Ser Gly Asn Pro Glu Asp Gly Gly Thr Gly Al
#a Gly Asn Gln Ile Ile
                165  
#               170  
#               175
Ser Thr Ala Gln Val Asn Leu Ser Gln Pro As
#p Ala Ala Thr Leu Lys
            180      
#           185      
#           190
Val Asp Gly Val Ser Asp His Lys Ser Val Ph
#e Asp Gly Gly Asp Gly
        195          
#       200          
#       205
Thr Val Tyr Gln Asn Ile Gln Gln Phe Ile As
#p Glu Gly Lys Trp Ile
    210              
#   215              
#   220
Ser Gly Asp Asn His Thr Leu Arg Asp Pro Hi
#s Tyr Val Glu Asp Lys
225                 2
#30                 2
#35                 2
#40
Gly His Lys Tyr Leu Val Phe Glu Ala Asn Th
#r Gly Thr Thr Asp Gly
                245  
#               250  
#               255
Tyr Gln Gly Asp Gln Ser Phe Asn Asn Lys Al
#a Tyr Tyr Gly Gly Ser
            260      
#           265      
#           270
Asp Val Phe Phe Gln Asn Glu Lys Asn Lys Le
#u Leu Gln Ser Pro Lys
        275          
#       280          
#       285
Lys Gln Ile Ala Ser Leu Ala Asn Gly Ala Le
#u Gly Ile Val Glu Leu
    290              
#   295              
#   300
Ala Asp Asp Tyr Thr Val Lys Ser Val Met Ly
#s Pro Leu Val Ala Ser
305                 3
#10                 3
#15                 3
#20
Asn Thr Val Ala Asp Glu Val Glu Arg Ala As
#n Ile Phe Lys Met Asn
                325  
#               330  
#               335
Asn Lys Trp Tyr Leu Phe Thr Asp Ser Arg Gl
#y Ser Lys Met Thr Ser
            340      
#           345      
#           350
Asp Gly Ile Asn Asp Lys Asp Val Tyr Met Le
#u Gly Pro Gly Gly Asp
        355          
#       360          
#       365
Ser Leu Asn Gly Pro His Asn Pro Ile Asn Gl
#u Thr Gly Leu Val Leu
    370              
#   375              
#   380
Asn Met Asn Leu Asp Pro Ala Asp Leu Thr Hi
#s Thr Tyr Ser His Cys
385                 3
#90                 3
#95                 4
#00
Gly Ile Pro His Pro Glu Gly Asn Asn Val Va
#l Leu Thr Ser Tyr Met
                405  
#               410  
#               415
Thr Asn Arg Gly Phe Tyr Pro Glu His His Se
#r His Leu Arg Asp Lys
            420      
#           425      
#           430
Leu Gly Val Asn Ile Lys Gly Ser Asp Thr Se
#r Gly Gly Glu Asn Ser
        435          
#       440          
#       445
Ser Gly Gln Gly Gln Phe Pro
    450              
#   455
(2) INFORMATION FOR SEQ ID NO: 4:
     (i) SEQUENCE CHARACTERISTICS:
          (A) LENGTH: 1365 base 
#pairs
          (B) TYPE: nucleic acid
          (C) STRANDEDNESS: double
          (D) TOPOLOGY: linear
    (xi) SEQUENCE DESCRIPTION: SEQ ID NO: 
#4:
ATG AAC AGC GGG GAC TAC AAG GAA GAC TAT GG
#T TTT GCC CAT ATT ACA       48
Met Asn Ser Gly Asp Tyr Lys Glu Asp Tyr Gl
#y Phe Ala His Ile Thr
1               5   
#                10  
#                15
CGC GCT GAC ATG CTA AAA ATT CCA GGA CAA CA
#A AAC AGT CCT CAA TTT       96
Arg Ala Asp Met Leu Lys Ile Pro Gly Gln Gl
#n Asn Ser Pro Gln Phe
            20      
#            25      
#            30
AAA GTG CCT CAA TTC AAT GCA TCA GCA ATC AA
#A AAC ATT GAT TCG GCA      144
Lys Val Pro Gln Phe Asn Ala Ser Ala Ile Ly
#s Asn Ile Asp Ser Ala
        35          
#        40          
#        45
AAA GGG TAT GAT AAG TCA GGC AAC TTA ATA GA
#T TTA GAT GTA TGG GAT      192
Lys Gly Tyr Asp Lys Ser Gly Asn Leu Ile As
#p Leu Asp Val Trp Asp
    50              
#    55              
#    60
AGC TGG CCA CTG CAA AAC GCT GAT GGT ACT GC
#G GCA AAT TAT CAT GGA      240
Ser Trp Pro Leu Gln Asn Ala Asp Gly Thr Al
#a Ala Asn Tyr His Gly
65                  
#70                  
#75                  
#80
TAT CAC ATC GTC TCC GCT TTA GCA GGT GAC CC
#A AAA AAC AGT GAT GAT      288
Tyr His Ile Val Ser Ala Leu Ala Gly Asp Pr
#o Lys Asn Ser Asp Asp
    85              
#    90              
#    95
ACT CCA CTT CAT TTA TTC TAT CAA AAA GTC GG
#T GAT ACA TCG ATT GAC      336
Thr Pro Leu His Leu Phe Tyr Gln Lys Val Gl
#y Asp Thr Ser Ile Asp
100                 1
#05                 1
#10                 1
#15
AGC TGG AAA AAT GCT GGA AGA GTA TTT GAA GA
#T ATG GAT AAA TTT GTT      384
Ser Trp Lys Asn Ala Gly Arg Val Phe Glu As
#p Met Asp Lys Phe Val
                120  
#               125  
#               130
CCA AAT GAT CCG TAT CTT AAA TAT CAA ACA CA
#G GAG TGG TCA GGT TCT      432
Pro Asn Asp Pro Tyr Leu Lys Tyr Gln Thr Gl
#n Glu Trp Ser Gly Ser
            135      
#           140      
#           145
GCT ACT TTA ACC AAA GAT GGC CAA GTC CGT TT
#A TTC TAT ACA GAT TAC      480
Ala Thr Leu Thr Lys Asp Gly Gln Val Arg Le
#u Phe Tyr Thr Asp Tyr
        150          
#       155          
#       160
TCA GGT AAT CCT GAA GAT GGT GGA ACC GGT GC
#T GGT AAC CAA ATC ATT      528
Ser Gly Asn Pro Glu Asp Gly Gly Thr Gly Al
#a Gly Asn Gln Ile Ile
    165              
#   170              
#   175
TCA ACT GCT CAA GTA AAC TTA TCC CAG CCG GA
#T GCA GCT ACA CTT AAA      576
Ser Thr Ala Gln Val Asn Leu Ser Gln Pro As
#p Ala Ala Thr Leu Lys
180                 1
#85                 1
#90                 1
#95
GTC GAT GGA GTA TCT GAT CAT AAA TCT GTC TT
#T GAT GGC GGA GAC GGT      624
Val Asp Gly Val Ser Asp His Lys Ser Val Ph
#e Asp Gly Gly Asp Gly
                200  
#               205  
#               210
ACA GTT TAT CAA AAT ATT CAG CAA TTT ATC GA
#T GAA GGC AAG TGG ATT      672
Thr Val Tyr Gln Asn Ile Gln Gln Phe Ile As
#p Glu Gly Lys Trp Ile
            215      
#           220      
#           225
TCA GGT GAT AAC CAT ACT TTA AGA GAC CCT CA
#C TAT GTT GAA GAT AAG      720
Ser Gly Asp Asn His Thr Leu Arg Asp Pro Hi
#s Tyr Val Glu Asp Lys
        230          
#       235          
#       240
GGC CAT AAA TAT CTT GTC TTT GAA GCG AAT AC
#T GGA ACA ACA GAT GGT      768
Gly His Lys Tyr Leu Val Phe Glu Ala Asn Th
#r Gly Thr Thr Asp Gly
    245              
#   250              
#   255
TAT CAA GGC GAT CAG TCT TTC AAT AAT AAA GC
#T TAC TAT GGC GGA AGT      816
Tyr Gln Gly Asp Gln Ser Phe Asn Asn Lys Al
#a Tyr Tyr Gly Gly Ser
260                 2
#65                 2
#70                 2
#75
GAC GTC TTC TTC CAG AAT GAA AAA AAT AAA CT
#G CTT CAA AGT CCT AAA      864
Asp Val Phe Phe Gln Asn Glu Lys Asn Lys Le
#u Leu Gln Ser Pro Lys
                280  
#               285  
#               290
AAA CAA ATT GCT TCT TTA GCG AAT GGT GCA TT
#A GGC ATT GTT GAA TTG      912
Lys Gln Ile Ala Ser Leu Ala Asn Gly Ala Le
#u Gly Ile Val Glu Leu
            295      
#           300      
#           305
GCC GAT GAC TAT ACA GTG AAA AGT GTT ATG AA
#A CCA TTA GTC GCA TCA      960
Ala Asp Asp Tyr Thr Val Lys Ser Val Met Ly
#s Pro Leu Val Ala Ser
        310          
#       315          
#       320
AAC ACA GTA GCA GAT GAA GTC GAA CGC GCC AA
#T ATA TTT AAA ATG AAT     1008
Asn Thr Val Ala Asp Glu Val Glu Arg Ala As
#n Ile Phe Lys Met Asn
    325              
#   330              
#   335
AAT AAA TGG TAT CTA TTC ACG GAT TCA AGA GG
#A TCC AAA ATG ACG AGT     1056
Asn Lys Trp Tyr Leu Phe Thr Asp Ser Arg Gl
#y Ser Lys Met Thr Ser
340                 3
#45                 3
#50                 3
#55
GAT GGA ATT AAC GAC AAA GAT GTT TAT ATG CT
#A GGG CCC GGA GGC GAC     1104
Asp Gly Ile Asn Asp Lys Asp Val Tyr Met Le
#u Gly Pro Gly Gly Asp
                360  
#               365  
#               370
TCC TTA AAT GGC CCA CAC AAC CCG ATA AAT GA
#A ACT GGA CTT GTA TTG     1152
Ser Leu Asn Gly Pro His Asn Pro Ile Asn Gl
#u Thr Gly Leu Val Leu
            375      
#           380      
#           385
AAC ATG AAT CTT GAC CCT GCT GAT CTC ACA CA
#C ACT TAC TCT CAT TGC     1200
Asn Met Asn Leu Asp Pro Ala Asp Leu Thr Hi
#s Thr Tyr Ser His Cys
        390          
#       395          
#       400
GGT ATC CCG CAC CCT GAA GGT AAT AAT GTG GT
#A CTC ACA AGT TAT ATG     1248
Gly Ile Pro His Pro Glu Gly Asn Asn Val Va
#l Leu Thr Ser Tyr Met
    405              
#   410              
#   415
ACG AAT AGA GGC TTC TAT CCA GAA CAT CAC TC
#T CAC CTG CGG GAC AAG     1296
Thr Asn Arg Gly Phe Tyr Pro Glu His His Se
#r His Leu Arg Asp Lys
420                 4
#25                 4
#30                 4
#35
CTT GGG GTT AAT ATT AAA GGG TCT GAC ACA TC
#T GGA GGA GAA AAT AGT     1344
Leu Gly Val Asn Ile Lys Gly Ser Asp Thr Se
#r Gly Gly Glu Asn Ser
                440  
#               445  
#               450
TCC GGA CAA GGA CAA TTC CCA       
#                  
#                1365
Ser Gly Gln Gly Gln Phe Pro
            455
(2) INFORMATION FOR SEQ ID NO: 5:
     (i) SEQUENCE CHARACTERISTICS:
          (A) LENGTH: 2408 base 
#pairs
          (B) TYPE: nucleic acid
          (C) STRANDEDNESS: double
          (D) TOPOLOGY: linear
    (ii) MOLECULE TYPE: genomic DNA
    (vi) ORIGINAL SOURCE:
          (A) ORGANISM: Bacillus 
#sp.
          (C) INDIVIDUAL ISOLATE: 
#V230 (FERM BP-5054)
    (ix) FEATURE:
          (A) NAME/KEY: signal pe
#ptide
          (B) LOCATION: 1..360
          (C) IDENTIFICATION METHOD:
# E
    (xi) SEQUENCE DESCRIPTION: SEQ ID NO: 
#5:
CGGGGAAAAT ACTAGATTCC AATTGGCCAG ACTTCCCAGT TGGTGTAAGA GA
#AGAGTTCG     60
GACTGCCAAT GCAGCTGTGC GTAAGAAAAC AGCTTACTCA TGAGCAATTA CT
#AGAAGAA     120
TTCAAAAGTC CTGGGATAAG GCCAAGTCCA CTTTGAAATA AACTTTTCAG CC
#TCTGTGT     180
GGGGCTTTTT TGTTTTTATT TATTTCAACT GCAAGTGGTC CATCCCCTAT AT
#CAATTTA     240
GACGAAATTC TAATCAATCC ATGCCATCCC CAATAAACTC GTCCTCCTCT AT
#ACTTTTA     300
TTAATAAGAA ACTATCAAGA GCTTTCTTAT CAAATTCATA CATATCCAAG GA
#GGGAGAC     360
ATG AAC TTC AAA AGA TTG GCG AAA AAA GCA GC
#T GCC GTA ACC TTC AGG      408
Met Asn Phe Lys Arg Leu Ala Lys Lys Ala Al
#a Ala Val Thr Phe Arg
        -30          
#       -25          
#       -20
ACT GCT ATA TTA GTA GGA GCG GAC GGA CCG CA
#T ATT TTT GCG CAG CAA      456
Thr Ala Ile Leu Val Gly Ala Asp Gly Pro Hi
#s Ile Phe Ala Gln Gln
    -15              
#   -10              
#   -5
ATG AAC AGC GGG GAC TAC AAG GAA GAC TAT GG
#T TTT GCC CAT ATT ACA      504
Met Asn Ser Gly Asp Tyr Lys Glu Asp Tyr Gl
#y Phe Ala His Ile Thr
1               5   
#                10  
#                15
CGC GCT GAC ATG CTA AAA ATT CCA GGA CAA CA
#A AAC AGT CCT CAA TTT      552
Arg Ala Asp Met Leu Lys Ile Pro Gly Gln Gl
#n Asn Ser Pro Gln Phe
            20      
#            25      
#            30
AAA GTG CCT CAA TTC AAT GCA TCA GCA ATC AA
#A AAC ATT GAT TCG GCA      600
Lys Val Pro Gln Phe Asn Ala Ser Ala Ile Ly
#s Asn Ile Asp Ser Ala
        35          
#        40          
#        45
AAA GGG TAT GAT AAG TCA GGC AAC TTA ATA GA
#T TTA GAT GTA TGG GAT      648
Lys Gly Tyr Asp Lys Ser Gly Asn Leu Ile As
#p Leu Asp Val Trp Asp
    50              
#    55              
#    60
AGC TGG CCA CTG CAA AAC GCT GAT GGT ACT GC
#G GCA AAT TAT CAT GGA      696
Ser Trp Pro Leu Gln Asn Ala Asp Gly Thr Al
#a Ala Asn Tyr His Gly
65                  
#70                  
#75                  
#80
TAT CAC ATC GTC TCC GCT TTA GCA GGT GAC CC
#A AAA AAC AGT GAT GAT      744
Tyr His Ile Val Ser Ala Leu Ala Gly Asp Pr
#o Lys Asn Ser Asp Asp
                85  
#                90  
#                95
ACT CCA CTT CAT TTA TTC TAT CAA AAA GTC GG
#T GAT ACA TCG ATT GAC      792
Thr Pro Leu His Leu Phe Tyr Gln Lys Val Gl
#y Asp Thr Ser Ile Asp
            100      
#           105      
#           110
AGC TGG AAA AAT GCT GGA AGA GTA TTT GAA GA
#T ATG GAT AAA TTT GTT      840
Ser Trp Lys Asn Ala Gly Arg Val Phe Glu As
#p Met Asp Lys Phe Val
        115          
#       120          
#       125
CCA AAT GAT CCG TAT CTT AAA TAT CAA ACA CA
#G GAG TGG TCA GGT TCT      888
Pro Asn Asp Pro Tyr Leu Lys Tyr Gln Thr Gl
#n Glu Trp Ser Gly Ser
    130              
#   135              
#   140
GCT ACT TTA ACC AAA GAT GGC CAA GTC CGT TT
#A TTC TAT ACA GAT TAC      936
Ala Thr Leu Thr Lys Asp Gly Gln Val Arg Le
#u Phe Tyr Thr Asp Tyr
145                 1
#50                 1
#55                 1
#60
TCA GGT AAT CCT GAA GAT GGT GGA ACC GGT GC
#T GGT AAC CAA ATC ATT      984
Ser Gly Asn Pro Glu Asp Gly Gly Thr Gly Al
#a Gly Asn Gln Ile Ile
                165  
#               170  
#               175
TCA ACT GCT CAA GTA AAC TTA TCC CAG CCG GA
#T GCA GCT ACA CTT AAA     1032
Ser Thr Ala Gln Val Asn Leu Ser Gln Pro As
#p Ala Ala Thr Leu Lys
            180      
#           185      
#           190
GTC GAT GGA GTA TCT GAT CAT AAA TCT GTC TT
#T GAT GGC GGA GAC GGT     1080
Val Asp Gly Val Ser Asp His Lys Ser Val Ph
#e Asp Gly Gly Asp Gly
        195          
#       200          
#       205
ACA GTT TAT CAA AAT ATT CAG CAA TTT ATC GA
#T GAA GGC AAG TGG ATT     1128
Thr Val Tyr Gln Asn Ile Gln Gln Phe Ile As
#p Glu Gly Lys Trp Ile
    210              
#   215              
#   220
TCA GGT GAT AAC CAT ACT TTA AGA GAC CCT CA
#C TAT GTT GAA GAT AAG     1176
Ser Gly Asp Asn His Thr Leu Arg Asp Pro Hi
#s Tyr Val Glu Asp Lys
225                 2
#30                 2
#35                 2
#40
GGC CAT AAA TAT CTT GTC TTT GAA GCG AAT AC
#T GGA ACA ACA GAT GGT     1224
Gly His Lys Tyr Leu Val Phe Glu Ala Asn Th
#r Gly Thr Thr Asp Gly
                245  
#               250  
#               255
TAT CAA GGC GAT CAG TCT TTC AAT AAT AAA GC
#T TAC TAT GGC GGA AGT     1272
Tyr Gln Gly Asp Gln Ser Phe Asn Asn Lys Al
#a Tyr Tyr Gly Gly Ser
            260      
#           265      
#           270
GAC GTC TTC TTC CAG AAT GAA AAA AAT AAA CT
#G CTT CAA AGT CCT AAA     1320
Asp Val Phe Phe Gln Asn Glu Lys Asn Lys Le
#u Leu Gln Ser Pro Lys
        275          
#       280          
#       285
AAA CAA ATT GCT TCT TTA GCG AAT GGT GCA TT
#A GGC ATT GTT GAA TTG     1368
Lys Gln Ile Ala Ser Leu Ala Asn Gly Ala Le
#u Gly Ile Val Glu Leu
    290              
#   295              
#   300
GCC GAT GAC TAT ACA GTG AAA AGT GTT ATG AA
#A CCA TTA GTC GCA TCA     1416
Ala Asp Asp Tyr Thr Val Lys Ser Val Met Ly
#s Pro Leu Val Ala Ser
305                 3
#10                 3
#15                 3
#20
AAC ACA GTA GCA GAT GAA GTC GAA CGC GCC AA
#T ATA TTT AAA ATG AAT     1464
Asn Thr Val Ala Asp Glu Val Glu Arg Ala As
#n Ile Phe Lys Met Asn
                325  
#               330  
#               335
AAT AAA TGG TAT CTA TTC ACG GAT TCA AGA GG
#A TCC AAA ATG ACG AGT     1512
Asn Lys Trp Tyr Leu Phe Thr Asp Ser Arg Gl
#y Ser Lys Met Thr Ser
            340      
#           345      
#           350
GAT GGA ATT AAC GAC AAA GAT GTT TAT ATG CT
#A GGG CCC GGA GGC GAC     1560
Asp Gly Ile Asn Asp Lys Asp Val Tyr Met Le
#u Gly Pro Gly Gly Asp
        355          
#       360          
#       365
TCC TTA AAT GGC CCA CAC AAC CCG ATA AAT GA
#A ACT GGA CTT GTA TTG     1608
Ser Leu Asn Gly Pro His Asn Pro Ile Asn Gl
#u Thr Gly Leu Val Leu
    370              
#   375              
#   380
AAC ATG AAT CTT GAC CCT GCT GAT CTC ACA CA
#C ACT TAC TCT CAT TGC     1656
Asn Met Asn Leu Asp Pro Ala Asp Leu Thr Hi
#s Thr Tyr Ser His Cys
385                 3
#90                 3
#95                 4
#00
GGT ATC CCG CAC CCT GAA GGT AAT AAT GTG GT
#A CTC ACA AGT TAT ATG     1704
Gly Ile Pro His Pro Glu Gly Asn Asn Val Va
#l Leu Thr Ser Tyr Met
                405  
#               410  
#               415
ACG AAT AGA GGC TTC TAT CCA GAA CAT CAC TC
#T CAC CTG CGG GAC AAG     1752
Thr Asn Arg Gly Phe Tyr Pro Glu His His Se
#r His Leu Arg Asp Lys
            420      
#           425      
#           430
CTT GGG GTT AAT ATT AAA GGG TCT GAC ACA TC
#T GGA GGA GAA AAT AGT     1800
Leu Gly Val Asn Ile Lys Gly Ser Asp Thr Se
#r Gly Gly Glu Asn Ser
        435          
#       440          
#       445
TCC GGA CAA GGA CAA TTC CCA TA GCGATTATCT CCC
#AATAAAA AGAAATGTCA     1853
Ser Gly Gln Gly Gln Phe Pro
    450              
#   455
CTGGCAAGAT CCTACCTTTT CCCCAACCTT TTTTTTTAAA ATAAAGGGTT TT
#GTACCA     1913
TTTAGAAGAA AAAAGAATCC TTGGCCCGGG CCAATTACCC ATTGCCGAAG GA
#GCTACC     1973
ATAAAAAAGA AATTTTCCCT TTTTAGGGGG GGAGTCCTTT TTTTCTATCT TG
#GGGTGG     2033
ATTGTTGGCC CCCACCAGGG GACCTTTATT AATTTATAGC ATGAATCTGG CG
#ATTTTG     2093
TGGCCTACTT ATTATCCAAG CCGCCCAGCC AAAAATATTA AACCAAGGAA TC
#CTAAGA     2153
AGGCGGTACA GTTTACCAAC ACCTGCTGGA GGGGATGGAT ATCGCCCTCA AT
#ACCACT     2213
TCTGTTCCCG ACAAATGGAA AAATGATCCG CAGAGGCCCA TCTTTTTTGG GG
#GAAGTA     2273
ATTACTATTA CCTTTACAAC AAAGACTATC CAGATGGAAA TGGTACGGAA TG
#GCGGCA     2333
CAACGTCCGA AGATTTATTG CATTGGACGG ACGAAGGGAT TGCCATCCCG AA
#GTATAC     2393
ATAAAAATGG TGATC              
#                  
#                  
#  2408
(2) INFORMATION FOR SEQ ID NO: 6:
     (i) SEQUENCE CHARACTERISTICS:
          (A) LENGTH: 26 base 
#pairs
          (B) TYPE: nucleic acid
          (C) STRANDEDNESS: single
          (D) TOPOLOGY: linear
    (ii) MOLECULE TYPE: cDNA
    (xi) SEQUENCE DESCRIPTION: SEQ ID NO: 
#6:
GAYTAYAARG ARGAYTAYGG NTTYGC          
#                  
#              26

Как компенсировать расходы
на инновационную разработку
Похожие патенты