The invention provides optical projection lithography methods, photolithography photomasks, and optical photolithography mask blanks for use in optical photolithography systems utilizing deep ultraviolet light (DUV) wavelengths below 300 nm, such as DUV projection lithography systems utilizing wavelengths in the 248 nm region and the 193 nm region. The invention provides improved production of lithography patterns by inhibiting polarization mode dispersion of lithography light utilizing low birefringence mask blanks and photomasks.
1. A method of making a lithography photomask blank having a longest dimension length L, comprising the steps of: providing a fused silica SiO2glass preform disk having a preform disk diameter D and a preform disk height H with D>H, said diameter D lying in a plane defined by a preform disk x-axis and a preform disk y-axis, said x-axis and said y-axis oriented normal to said disk height H, said disk height H in alignment with a preform disk z-axis, identifying an inclusion free region said inclusion free region free of inclusions having a diameter greater than 1 μm, maintaining the preform disk x-axis, y-axis and z-axis orientation while removing the inclusion free region from said preform disk to provide a photomask blank preform having a photomask blank preform x-axis, said photomask blank preform x-axis in alignment with said preform disk x-axis, a photomask blank preform y-axis, said photomask blank preform y-axis in alignment with said preform disk y-axis, and a photomask blank preform z-axis, said photomask blank preform z-axis in alignment with said preform disk z-axis and forming said photomask blank preform into a lithography photomask blank having a longest dimension length L, wherein the photomask blank preform has a birefringence ≦2 nm/cm, and a fictive temperature of about 1050±50° C. 2. A method as claimed in 3. A method as claimed in 4. A method as claimed in 5. A method as claimed in 6. A method as claimed in 7. A method as claimed in 8. A method as claimed in 9. A method as claimed in 10. A method as claimed in 11. A method as claimed in 12. A method as claimed in 13. A method as claimed in 14. A method as claimed in 15. A method as claimed in 16. A method as claimed in 17. A method as claimed in 18. A method as claimed in
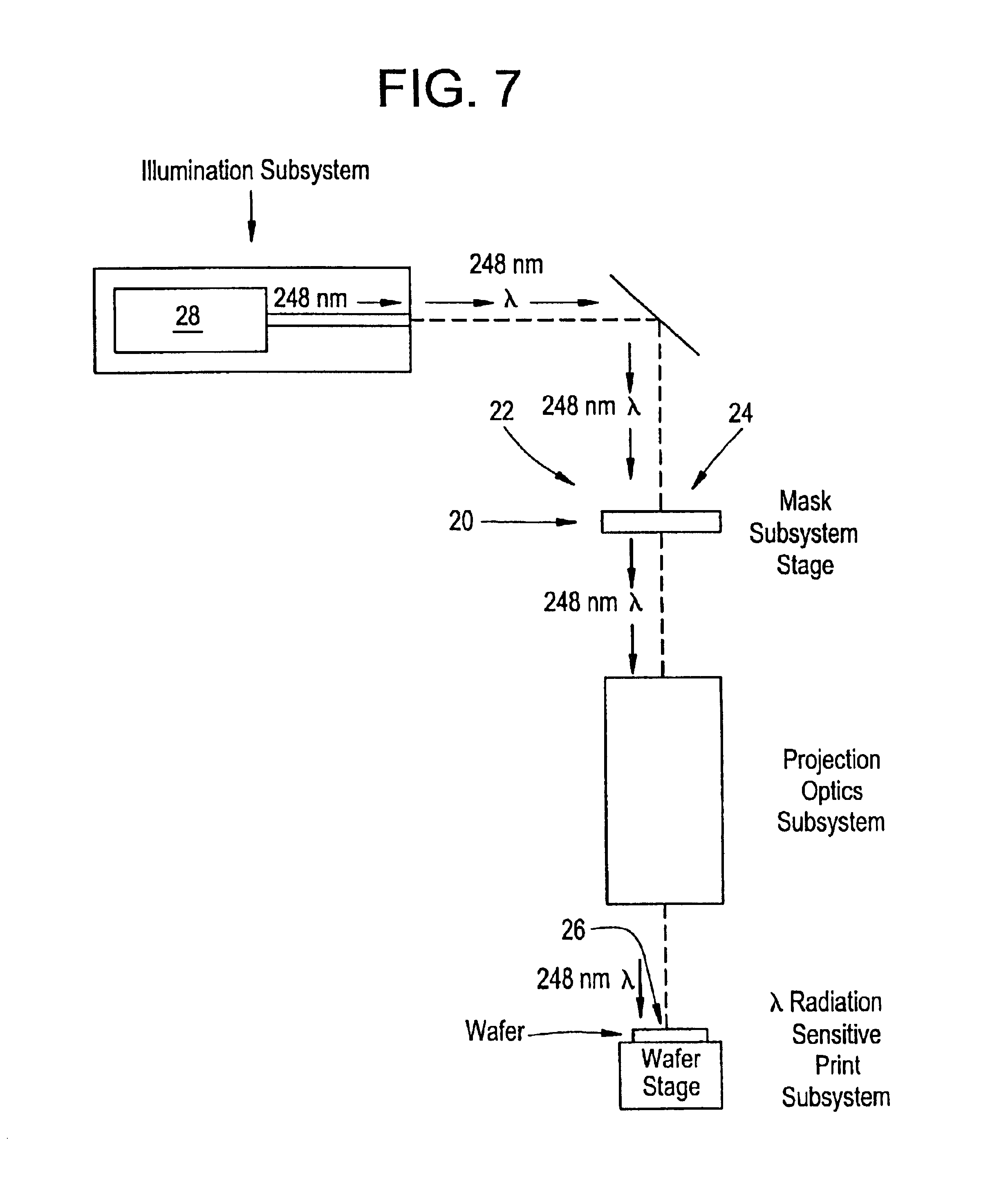
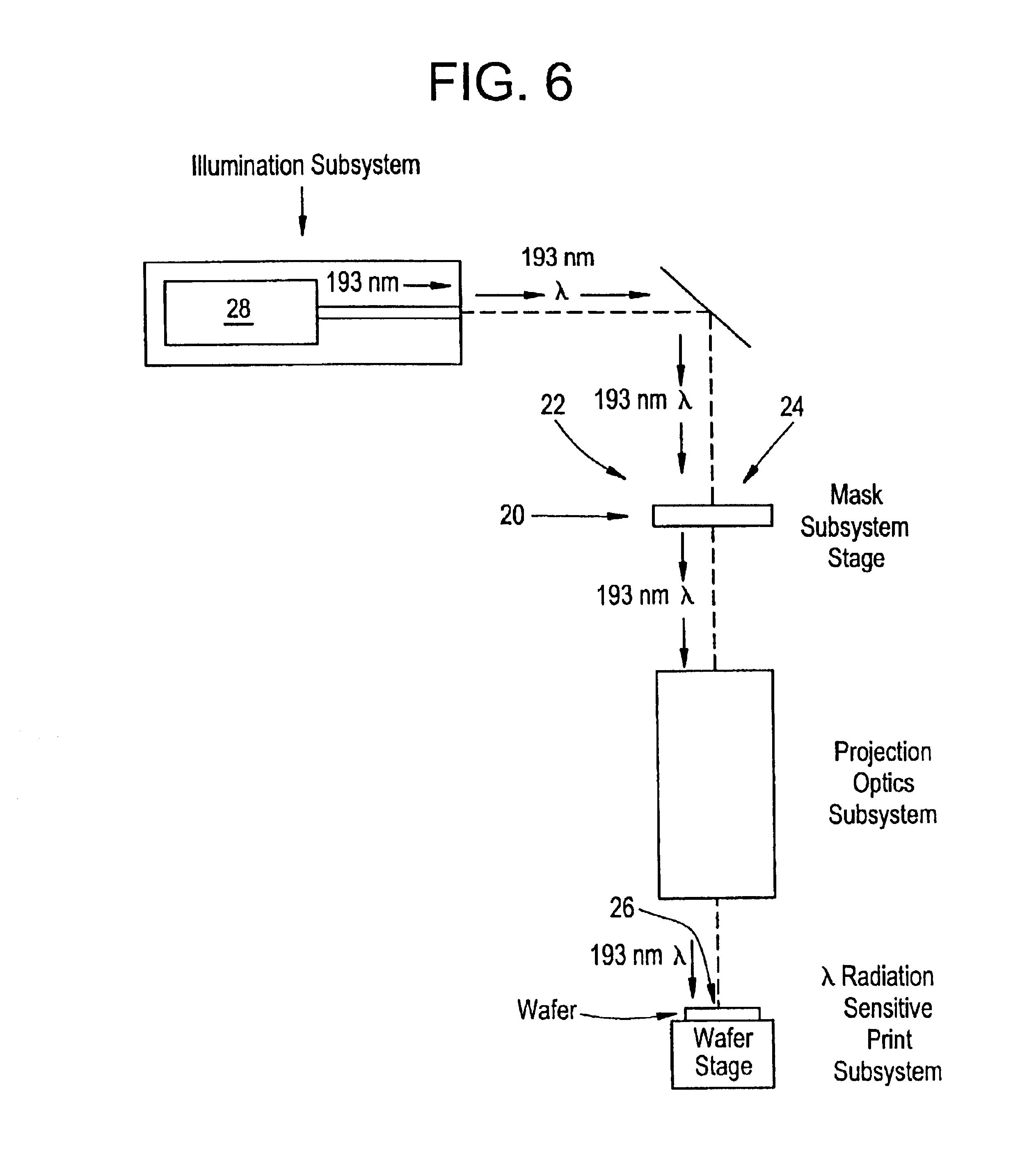
This application is a divisional of U.S. application Ser. No. 10/067,490, filed Feb. 4, 2002, now U.S. Pat. No. 6,475,682, entitled PHOTOLITHOGRAPHY METHOD, PHOTOLITHOGRAPHY MASK BLANKS, AND METHOD OF MAKING, by R. S. Priestley et al., which, in turn, is a divisional of U.S. application Ser. No. 09/458,254, filed Dec. 9, 1999, now U.S. Pat. No. 6,410,182, entitled PHOTOLITHOGRAPHY METHOD, PHOTOLITHOGRAPHY MASK BLANKS, AND METHOD OF MAKING, by R. S. Priestley et al. 1. Field of the Invention The present invention relates generally to optical projection lithography methods and photolithography photomasks, and particularly to optical photolithography mask blanks for use in optical photolithography systems utilizing deep ultraviolet light (DUV) wavelengths below 300 nm, such as DUV projection lithography systems utilizing wavelengths in the 248 nm region and the 193 nm region. 2. Technical Background Projection optical photolithography methods/systems that utilize the deep ultraviolet wavelengths of light below 300 nm provide benefits in terms of achieving smaller feature dimensions. Such methods/systems that utilize deep ultraviolet wavelengths in the 248 nm and the 193 nm wavelength regions have the potential of improving the manufacturing of integrated circuits with smaller feature sizes but the commercial use and adoption of deep UV in high volume mass production of integrated circuits has been slow. Part of the slow progression to DUV by the semiconductor industry has been due to the lack of economically manufacturable photomask blanks with high quality optical performance. For the benefit of deep ultraviolet photolithography in the 248 nm region such as the emission spectrum DUV window of a KrF excimer lasers and the 193 nm region such as the ArF excimer laser emission spectrum to be utilized in the manufacturing of integrated circuits there is a need for mask blanks that have beneficial optical properties and chemical durability that can be manufactured economically and utilized in photomasks. Photomask blanks used in such lithography methods/systems are different from the other optical elements of the system such as lenses and mirrors in that the photomasks are generally very thin and play a unique part in the system in terms of providing a substrate for integrated circuit patterns that are projected through the system. Patterns of the integrated circuits to be made are formed on the photomask blanks, so that an image of the pattern on the photomask blank can be projected through the lithography system and printed on a surface of an integrated circuit semiconductor wafer. Photomask blanks must meet very strict requirements for dimensional stability to avoid warping and shrinking and for optical properties such as high transmission in order to ensure the extreme accuracy required to form very fine integrated circuit patterns and inhibit the distortion there of. The present invention overcomes problems in the prior art and provides a means for economically manufacturing high quality improved photomask blanks and high performance masks that can be used to improve the manufacturing of integrated circuits with deep ultraviolet wavelengths. One aspect of the present invention is a photolithography method and system for producing patterns having feature sizes ≦0.25 microns. The photolithography method includes providing an illumination subsystem for producing and directing below 300 nm wavelength ultraviolet radiation λ and providing a mask subsystem with a transmitting photolithography mask which includes a low birefringence fused silica SiO2glass wafer with photolithography pattern depictions with the SiO2glass wafer having a glass birefringence ≦2 nm/cm. The method further includes providing a projection optics subsystem and a radiation sensitive print subsystem, aligning the subsystems and illuminating the mask with the ultraviolet radiation λ such that the pattern depictions of the low birefringence glass wafer mask are projected onto the radiation sensitive print media wherein polarization mode dispersion of the ultraviolet radition λ is inhibited. In another aspect, the present invention includes a below three hundred nanometer wavelength ultraviolet photolithography mask for producing patterns with feature sizes ≦0.25 microns with the mask including a fused silica SiO2glass substrate wafer having a glass birefringence ≦2 nm/cm. The glass wafer preferably has a chlorine concentration <1 ppm Cl. The glass substrate wafer preferably has an internal transmission ≧99.5%/cm at 248 nm, an internal transmission ≧99%/cm at 193 nm, transmission variations at 248 nm and at 193 nm no greater than 1%, and a homogeneity Δn ≦50 ppm. In a further aspect, the present invention includes a method of making a lithography glass wafer photomask blank having a longest dimension length L. The method includes providing a fused silica SiO2glass preform disk having a preform disk diameter D and a preform disk height H with D>H, with diameter D lying in a plane defined by a preform disk x-axis and a preform disk y-axis, with the x-axis and the y-axis oriented normal to disk height H and disk height H in alignment with the preform disk z-axis. The method includes identifying a region in the preform disk that is preferably free of inclusion having a diameter greater than 1 μm. The method further includes maintaining the x-axis, y-axis, and z-axis orientation of the preform disk while removing the region from the preform disk to provide a photomask blank preform having a photomask blank preform x-axis, the photomask blank preform x-axis in alignment with the preform disk x-axis, a photomask blank preform y-axis which is in alignment with the preform disk y-axis, and a photomask blank preform z-axis which is in alignment with the preform disk z-axis. The method includes forming the photomask blank preform into a lithography photomask blank having a longest dimension length L. The invention further includes a below three hundred nanometer wavelength ultraviolet lithography light polarization mode dispersion inhibiting photolithography mask blank for producing lithography patterns while inhibiting polarization mode dispersion of transmitted ultraviolet lithography light. The inventive polarization mode dispersion inhibiting mask blank comprises a fused silica SiO2glass wafer having a longest dimension L, a thickness T, a mask blank x-axis, a mask blank y-axis, and a mask blank z-axis. The length L lies in a plane defined by the mask blank x-axis and the mask blank y-axis, the thickness T normal to the plane defined by the mask blank x-axis and y-axis and parallel with the mask blank z-axis. The mask blank has a first refractive index nx, along the mask blank x-axis and a second refractive index nxalong the mask blank y-axis wherein |nx−ny|≦1 ppm. Preferably the mask blank has highly uniform DUV transmission across its face. Additional features and advantages of the invention will be set forth in the detailed description which follows, and in part will be readily apparent to those skilled in the art from that description or recognized by practicing the invention as described herein, including the detailed description which follows, the claims, as well as the appended drawings. It is to be understood that both the foregoing general description and the following detailed description are merely exemplary of the invention, and are intended to provide an overview or framework for understanding the nature and character of the invention as it is claimed. The accompanying drawings are included to provide a further understanding of the invention, and are incorporated in and constitute a part of this specification. The drawings illustrate various embodiments of the invention, and together with the description serve to explain the principals and operation of the invention. Reference will now be made in detail to the present preferred embodiments of the invention, examples of which are illustrated in the accompanying drawings. An exemplary embodiment of a glass wafer lithography photomask blank of the present invention is shown in In accordance with the invention, the present invention for a photolithography method for producing lithography patterns includes the step of providing an illumination subsystem for producing and directing a ≦300 nm UV radiation λ. The method includes providing a mask subsystem with a mask stage and a transmitting photolithography mask 22 which includes a low birefringence fused silica SiO2glass wafer 20 with photolithography pattern depictions 24. Measured at 632.8 nm glass wafer 20 has a less than 5 nm/cm birefringence, preferably a glass birefringence ≦2 nm/cm. Glass wafer 20 preferably has a glass birefringence ≦1 nm/cm, and more preferably ≦0.5 nm/cm. Preferably glass wafer 20 is a non-piece-annealed glass member which preferably has not been annealed in its glass wafer blank physical form. The method includes providing a projection optics subsystem and providing a λ radiation sensitive print subsystem, which includes a radiation sensitive print media 26. As shown in In a preferred method, providing low birefringence fused silica SiO2glass wafer 20 includes providing a glass wafer 20 which consists essentially of silicon and oxygen. Providing low birefringence fused silica SiO2glass wafer 20 preferably includes providing an SiO2glass wafer that has a chlorine concentration that is less than 1 ppm Cl, and more preferably is chlorine free and consists essentially of Si and O. In a preferred embodiment of the invention SiO2glass wafer 20 is a non-piece-annealed glass wafer in that the glass piece glass wafer 20 has not been annealed in its glass wafer physical form state. It is preferred that the low birefringence of glass wafer 20 is not achieved by annealing glass wafer 20. In a preferred embodiment the glass is annealed in a preform physical state that is distinct from and larger than the glass wafer glass piece, preferably with the glass being annealed as a fused silica SiO2glass preform disk, with the physical size of the glass preform that is annealed being considerably larger than that of glass wafer 20 (much larger volume and much larger longest dimension; at least twice preferably at least thrice, more preferably at least quadruple). A preferred glass wafer 20 is provided when piece annealing is not used to achieve low birefringence. In a preferred embodiment providing glass wafer 20 includes providing a SiO2glass wafer which has an optical homogeneity (Δn) ≦50 ppm and a uniform λ transmission across the wafer with transmission at λ across the face of the wafer having a variation ≦1.5%. Preferably λ transmission across face 30 of glass wafer 20 varies ≦1%. In a preferred embodiment providing glass wafer 20 includes providing a SiO2glass wafer which has an internal transmission ≧99.5%/cm at 248 nm and an internal transmission ≧99%/cm at 193 nm. In a further preferred embodiment the method includes providing a SiO2glass wafer with 248 nm internal transmission ≧99.5%/cm and 193 nm internal transmission ≧99%/cm, a glass birefringence ≦1 nm/cm, a chlorine concentration <1 ppm Cl, a 248 nm transmission variation ≦1% and a 193 run transmission variation ≦1%, and a homogeneity (Δn) ≦5 ppm. With the SiO2glass being chlorine free and having a homogenous Si and O composition improved transmission, transmission uniformity, and low birefringence, SiO2glass wafer 20 has beneficial optical properties in addition to beneficial glass chemistry which provides for improved manufacturing of mask 22 and its use in lithography. Such a glass wafer 20 is utilized to minimize detrimental polarization based dispersion problems while being economically manufacturable. In the preferred method providing the mask subsystem and illuminating photolithography mask 22 with ultraviolet radiation λ includes inhibiting the polarization mode dispersion of ultraviolet radiation λ through the glass wafer with the glass wafer having a glass birefringence measured at 632.8 nm that is less than 5 nm/cm. Preferably polarization dispersion is inhibited with a glass wafer birefringence ≦2 nm/cm, more preferably ≦1 nm/cm, and most preferably ≦0.5 nm/cm. In a further aspect, the invention includes a below three hundred-nanometer wavelength ultraviolet photolithography mask for producing patterns with feature sizes ≦0.25 microns. The mask includes a fused silica SiO2glass substrate wafer having a glass birefringence ≦2 nm/cm as measured at 632.8 nm. The mask preferably has a chlorine concentration <1 ppm Cl. The mask preterably has an internal transmission ≧99.5%/cm at 248 nm and an internal transmission ≧99%/cm at 193 nm, a transmission variation ≦1% at 248 nm and 193 nm, and a homogeneity (Δn) that is ≦50 ppm. In a preferred embodiment the mask fused silica SiO2glass substrate wafer 20 has a chemical durability weight loss ≦0.453 mg/cm2from submersed exposure to a 95° C. temperature 5% NaOH solution by weight in water for an exposure time length of about 6 hours. Preferably the fused silica SiO2glass substrate wafer has a chemical durability weight loss ≦0.015 mg/cm2from water exposure to 95° C. deionized H2O wafer for 24 hours, ≦0.230 mg/cm2from exposure to 25° C. 10% HF solution by weight in water for 20 minutes, ≦0.010 mg/cm2from exposure to 95° C. 5% HCl solution by weight in water for 24 hours, and ≦0.46 mg/cm2from exposure to 95° C. 5% NaOH solution by weight in water for 6 hours. Such a fused silica SiO2glass substrate wafer 20 has a chemical resistivety that provides for beneficial and economic processing into a mask. Such beneficial chemical resistivety is preferably achieved by insuring that fused silica SiO2glass is halogen free and has less than 1 ppm Cl. Preferably fused silica SiO2glass substrate wafer 20 consists essentially of silicon and oxygen, and most preferably is halogen free. Halogen free fused silica SiO2glass substrate wafer 20 is preferably free of Cl and F, and has less than 1 ppm Cl. Preferably wafer 20 has less than 1 ppm F. Preferably the fused silica SiO2glass contains less than 1500 ppm OH by weight, and more preferably ≦1000 ppm OH. Preferably wafer 20 consisting essentially of Si and O has an OH content of 500 to 1000 ppm, and more preferably 800 to 1000 ppm OH. In addition to 500 to 1000 ppm OH, the fused silica SiO2glass preferably contains less than 1000 ppb of impurities other than OH. More preferably the fused silica SiO2glass contains from 800 to 1000 ppm OH and from 100 to 1000 ppb impurities other than OH. A preferred below 300 nm UV photomask has a fused silica SiO2glass substrate wafer with an OH concentration which varies less than 200 ppm, more preferably the variation in OH in the glass wafer is less than 100 ppm. Preferably the glass wafer is formed from a fused silica SiO2glass preform disk 32 with a variation in OH less than 200 ppm, most preferably ≦100 ppm. In a preferred embodiment fused silica SiO2glass substrate wafer 20 contains ≦0.5 ppm by weight Cl, and most preferably any trace contaminate Cl ions are substantially homogeneously distributed throughout the glass substrate wafer. In a preferred embodiment fused silica SiO2glass substrate wafer 20 contains <1 ppm by weight Na, preferably with any trace contaminate Na ions substantially homogeneously distributed throughout the glass substrate wafer. Preferably the glass has ≦0.5 ppm wt. S. In addition to the preferred fused silica SiO2glass consisting essentially of Si and O, it is preferred that fused silica SiO2glass contains less than 1500 ppm OH by weight, ≦0.05 ppm wt. Li, ≦0.35 ppm wt. B, ≦0.1 ppm wt. F, ≦3.3 ppm wt. Na, ≦0.2 ppm wt. Mg, ≦0.3 ppm wt. Al, ≦0.15 ppm wt. P, ≦0.5 ppm wt. S, ≦0.45 ppm wt. Cl, ≦2.5 ppm wt. K, ≦1.5 ppm wt. Ca, ≦0.15 ppm wt. Ti, ≦0.04 ppm wt. V, ≦0.5 ppm wt. Cr, ≦0.02 ppm wt. Mn, ≦1.3 ppm wt. Fe, ≦0.02 ppm wt. Co, ≦0.06 ppm wt. Ni, ≦0.01 ppm wt. Cu, ≦0.5 ppm wt. Zn, ≦0.1 ppm wt. Ga, ≦0.5 ppm wt. Ge, ≦0.05 ppm wt. Zr, ≦0.15 ppm wt. Mo, ≦0.1 ppm wt. Sn, ≦0.1 ppm wt. Sb, ≦0.1 ppm wt. Pb, ≦0.05 ppm wt. Bi. Such trace contaminate levels can be measured such as by glow discharge mass spectroscopy and sputtered neutrals mass spectroscopy where the glass forms a cathode of a low pressure discharge in argon and the positive ions are extracted through a small slit and accelerated into a high resolution mass spectrometer. A glow discharge mass spectroscopy—sputtered neutrals mass spectroscopy of a mask wafer 20 sample indicated that the fused silica SiO2glass sample had such low contaminate levels of ≦0.05 ppm wt. Li, ≦0.32 ppm wt. B, ≦0.1 ppm wt. F, ≦3.3 ppm wt. Na, ≦0.17 ppm wt. Mg, ≦0.27 ppm wt. Al, ≦0.13 ppm wt. P, ≦0.5 ppm wt. S, ≦0.45 ppm wt. Cl, ≦2.5 ppm wt. K, ≦1.5 ppm wt. Ca, ≦0.12 ppm wt. Ti, ≦0.0035 ppm wt. V, ≦0.5 ppm wt. Cr. ≦0.0015 ppm wt. Mn, ≦1.3 ppm wt. Fe, ≦0.011 ppm wt. Co, ≦0.059 ppm wt. Ni, ≦0.00 ppm wt. Cu, ≦0.5 ppm wt. Zn, ≦0.1 ppm wt. Ga, ≦0.5 ppm wt. Ge, ≦0.05 ppm wt. Zr, ≦0.15 ppm wt. Mo, ≦0.1 ppm wt. Sn, ≦0.1 ppm wt. Sb, ≦0.1 ppm wt. Pb, ≦0.05 ppm wt. Bi. In a preferred embodiment fused silica SiO2glass substrate wafer 20 of the photolithography mask contains less than 3×1017molecules of H2per cm3. More preferably fused silica SiO2wafer 20 contains from about 0.5×1017to about 3×1017molecules of H2/cm3, and most preferably from 1×1017to 2.5×1017molecules of H2/cm3. In a preferred embodiment photolithography mask fused silica SiO2glass substrate wafer 20 has a fictive temperature of about 1050° C. ±50° C. and more preferably a fictive temperature in the range from 1050 to 1060° C. In a preferred embodiment of the mask wafer 20 has high measured external transmission at both 248 nm and 193 nm through the thickness T of the wafer. In a preferred embodiment fused silica SiO2glass substrate wafer 20 has a measured external transmission at 248 nm of at least 92% preferably for a wafer thickness T of at least 6.35 mm and more preferably for a wafer thickness of at least 9 mm. In a preferred embodiment fused silica SiO2glass substrate wafer 20 has a measured external transmission at 193 nm of at least 90% preferably for a wafer thickness T of at least 6.35 mm and more preferably for a wafer thickness of at least 9 mm. In a preferred embodiment a wafer 20 with a thickness of 6.35 mm the measured external transmission at 193 nm is at least 90.3%. In a further embodiment a wafer 20 with a thickness of 9 mm the measured external transmission at 193 nm is at least 90%. In a preferred embodiment fused silica SiO2glass substrate wafer 20 has an absolute refractive index of about 1.50860 at 248 nm and about 1.56084 at 193 mn. Preferably fused silica SiO2glass substrate wafer 20 is free of inclusions which have a dimension greater than about one micron. Being free of inclusions ≧1 μm provides mask 22 with preferred optical performance. In a preferred embodiment glass substrate wafer 20 has a glass birefringence ≦1 nm/cm, more preferably ≦0.5 nm/cm. Such low birefringence glass substrate wafers inhibit the polarization mode dispersion of lithography radiation λ that travels through the glass. The invention includes a method of making a lithography photomask blank having a longest dimension length L that includes providing a fused silica SiO2glass preform disk having a preform disk diameter D and a preform disk height H with D>H. As shown in With the inventive method the fused silica SiO2glass preform 32 has a flat geometry, preferably a flat disk shape versus a tall columnary shape where the height, in the z axis orientation, is larger than the base dimension in the xy plane. Such a preform with a flat geometry shape versus a tall geometry shape provide a preferred photomask blank with uniform optical characteristics including low birefringence that provide improved lithography performance. In a preferred embodiment providing fused silica SiO2glass preform disk 32 includes providing preform disk 32 with a longest dimension diameter D that is greater than or equal to twice the height H (D≧2H), more preferably with D≧3H, and most preferably D≧4H. In a preferred embodiment of the method, providing fused silica SiO2glass preform disk 32 includes providing a high purity Si containing feedstock, delivering the high purity Si containing feedstock to a conversion site, converting the delivered feedstock into SiO2soot, depositing the SiO2soot on a revolving refractory horizontally oriented collection cup, concurrently with the soot deposition consolidating the SiO2soot into a high purity fused SiO2glass body, supporting the high purity fused SiO2glass body with the collection cup, and annealing the glass body to provide the fused silica SiO, glass preform disk 32. FIG. 10 and Along with such high temperatures which allow the glass body to flow in a preferred embodiment cup 46 is constructed with sloping side walls as shown in In a preferred embodiment fused silica SiO2glass preform disk 32 is annealed inside a furnace 42 after the formation of glass body 48 is completed and production and deposition of soot 44 is ended. In a preferred method of making lithography photomask blank 20, the glass is not annealed after removal from preform disk 32 in that photomask blank preform 36 and individual blanks 20 are not annealed. In the preferred embodiment any birefringence present in the glass is reduced in the large physical size of preform disk 32 and body 48 and not during processing after the preform disk, such that resulting photomask blanks are low birefringence photomask blanks with glass birefringence less than 2 nm/cm. Preferably the low birefringence of the photomask blank is achieved by annealing the glass in the preform disk 32 state or before and is not annealed thereafter. In an alternative embodiment photomask blank preform 36 is annealed after removal from disk 32, and lithography photomask blank 20 is not annealed but has a glass birefringence ≦2 nm/cm. Preferably the method avoids physically distorting, working and kneading the glass at soften glass temperatures. In a preferred embodiment of the method the SiO2producing feedstock is halide-free and providing fused silica SiO2glass preform 32 preferably includes providing a high purity halide-free Si containing siloxane feedstock, delivering the siloxane feedstock to conversion site 42,converting the delivered siloxane into SiO2soot 44, depositing the SiO2soot and concurrently consolidating the SiO2soot into a fused SiO2glass body. Siloxane feedstocks such as polymethyl siloxanes, preferably cyclic polymethyl siloxanes, most preferably octamethylcyclotetrasiloxane, decamethylcyclopentasiloxane, and hexamethylcyclotrisiloxane (D3, D4, D5) are preferred as high purity Si containing feedstock for their high content of Si atoms, heat producing capability, relatively low production of diluting gaseous by products which lower soot deposition efficiency, and that they are halide and chlorine free. Preferred burners, for use with converting such halide-free siloxane feedstocks are disclosed in Corning Incorporated's PCT International Patent Application No. PCT/US99/21658 In the making of lithography photomask blanks having a largest dimension length L, it is preferred that providing a fused silica SiO2glass preform disk 32 includes providing a preform disk 32 having diameter D such that D is more than twice the longest dimension length L. Preferably D≧3 L, more preferably D≧4L, and most preferably D≧5L. By forming photomask blanks from much larger glass preform bodies the photomask blanks have beneficial optical and lithography characteristics including low birefringence. In a preferred practice, disk diameter D and the lithography photomask blank length L are related by 12 L≧D≧4L, more preferably 10 L≧D≧5L, and the photomask blank length L is oriented parallel to the preform disk diameter D and the photomask blank thickness T is oriented parallel to the preform disk height H. Forming photomask blank preform 36 into lithography photomask blanks 20 preferably includes cutting a plurality of photomask blanks from preform 36 and polishing the cut photomask blanks. The invention further includes forming a lithographic pattern on photomask blank 20 and transmitting below three hundred nanometer wavelength radiation through said photomask blank. An alternative method of making preform 32 into photomask blanks 20 is shown in The invention includes a below three hundred nonaometer wavelength ultraviolet lithography light polarization mode dispersion inhibiting photolithography mask blank for producing lithography patterns while inhibiting polarization mode dispersion of transmitted ultraviolet lithography light. The polarization mode dispersion inhibiting mask blank is comprised of a fused silica SiO2glass wafer 20 having a longest dimension length L, a thickness T, a mask blank x-axis, a mask blank y-axis, a mask blank z-axis. The length L lies in a plane defined by the mask blank x-axis and the mask blank y-axis, with the thickness T normal to the x-axis y-axis (xy) plane. The thickness T is parallel with the mask blank z-axis. Mask blank 20 has a first refractive index nxin the x-axis direction along said mask blank x-axis and a second refractive index nyin the y-axis direction along said mask blank y-axis wherein the absolute value of nxminus nyis less than or equal to 1 ppm. Preferably 193 nm and 248 nm transmission through the mask is uniform across the face (xy plane) of mask blank 20. In a preferred embodiment mask blank 20 has a uniform transmission through the mask with a maximum 193 nm transmission trans193ymaxand a minimum 193 transmission trans193xminin the x-axis direction along the mask blank x-axis with (trans193xmax−trans193xmin) ≦1%. Additionally transmission through the mask is uniform with a maximum 193 nm transmission trans193ymaxand a minimum 193 nm transmission trans193yminin the y-axis direction along the mask blank y-axis with (trans193ymax−trans193ymin) ≦1%. Beneficial uniform transmission of 193 nm lithography light through the thickness of mask blank 20 viewed across the xy plane face of the mask is achieved with such minimal differences of maximum and minimum transmission across the xy face with transmission variation ≦1%. In addition to such uniform transmission of 193 nm wavelength light, mask blank 20 preferably has uniform 248 nm wavelength transmission through the mask thickness across its face. Mask blank 20 has a maximum 248 nm transmission trans248xmaxand a minimum 248 nm transmission trans248xminalong the mask blank x-axis, a maximum 248 nm transmission trans248ymaxand a minimum 248 nm transmission trans248yminalong the mask blank y-axis with (trans248xmax−trans248xmin) ≦1% and (trans248ymax−trans248ymin) ≦1%. Also the difference between the maxs and between the mins is small with |trans248xmax−trans248ymax|≦1% and |trans248xmin−trans248ymin|≦1%. Such uniform 248 nm and 193 nm transmission through the mask thickness T in the z-axis direction as viewed across the xy plane face of the mask blank provide improved optical performance in the use of the photolithography method/system. Such uniform transmission as viewed and mapped out across the xy plane insures that IC pattern is uniformly transmitted to the projection optics and results in improved 193 nm/248 nm wavelength exposure of the IC pattern on the radiation sensitive wafer. The preferred method of making mask blanks 20 from considerably larger preforms 32 unexpectalitly results in mask blanks with such optical performance uniformity including uniform 193 nm and 248 nm transmission and low birefringence with minimal differences in refractive index. Additionally a benefit is achieved not only in uniformity within a mask blank itself, but also uniformity in performance from mask blank piece to mask blank piece is achieved. Preferably polarization mode dispersion inhibiting photolithography mask blank 20 is free of inclusions having a dimension greater than one micron. Preferably the fused silica SiO2glass wafer mask blank 20 consists essentially of Si and O. Preferably the fused silica SiO2glass contains less than 1 ppm Cl, has an OH content less than 1500 ppm OH, and a hydrogen content less than 3×1017molecules of H2/cm3. Preferably the OH concentration of the glass varies less than 100 ppm, and if any trace levels of Cl are in the glass the Cl concentration varies less than 0.5 ppm Cl, with the glass most preferably having less than 0.5 ppm Cl. Preferably the glass has a low sulfur contamination level with S concentration ≦0.5 ppm. Such low contamination levels of the fused silica SiO2glass ensure beneficial optical performance of the mask blank and provide beneficial chemical and physical properties. Preferably mask blank 20 has a chemical durability weight loss ≦0.453 mg/cm2from submersed exposure to a 95° C. temperature 5% NaOH solution by weight in water for a length of 6 hours. The invention includes high performance fused silica below 300 nm lithography mask blanks that have a combination of a wide array of property specifications including beneficial optical, chemical, and physical properties. The beneficial combination of the properties of mask blanks 20 and the fused silica SiO2glass material of the blanks is preferably dictated by the production methods used to manufacture the blanks. The redistilled high purity octamethylcyclotetrasiloxane feedstock, conversion site furnace 42, rotation and oscillation of cup 46 and glass body 48, and the relatively large shape and size of preform disk 32 provide a mask blank 20 with a beneficial combination of properties including 193 nm and 248 nm transmission, resistance to induced absorption and birefringence, optical uniformity low birefringence, low attenuation, and good chemical and processing durability. Mask blank 20 has a preferable low birefringence range in combination with preferred ranges of optical, chemical, and physical characteristics, preferably with good 193 nm and 248 nm transmission and radiation damage resistance. Birefringence is a measure of the refractive index difference between two orthogonal or perpendicular axes. A linearly polarized beam of light propagating in the ‘z’ direction through a transparent birefringent medium will propagate with a velocity ‘vx’ if its electric field is polarized in the ‘x’ direction. If the beam is sent along the same optical path with its electric field now polarized in the ‘y’ direction, it will propagate with a velocity of ‘vy’. The velocity difference between the two directions is a result of a refractive index difference between the two directions. Polarized along the ‘x’ axis causes the beam to see a refractive index of ‘nx’ while along the ‘y’ axis the beam sees a refractive index of ‘ny’. Birefringence is the difference between ‘nx’ and ‘ny’, or ‘nx’−‘ny’. In optical elements such as photomasks, birefringence can change the polarization of the beam from its optimal state and subsequently degrade the system performance, such as causing localized illumination non-uniformity. For designs such as lithography stepper systems which utilize a linearly polarized beam and containing a polarization sensitive optical elements, this adverse effect is especially damaging. Using a system (with 632.8 nm light) capable of measuring birefringence down to 0.25 nm/cm a variety of photomask blank substrates were analyzed. Such analysis can be performed using a system such as disclosed in co-filed U.S. Patent application entitled Automated System For Measurement Of An Optical Property by Richard Priestley, which is incorporated by reference. The analysis showed that commercially available photomask blank substrates typically have birefringence values ranging between 5-20 nm/cm, and the present inventive mask blanks 20 have preferable birefringence values below 5 nm/cm, and most preferably below 2 nm/cm. The preferred mask blank 20 has less than 1 ppm Cl, with the chlorine free fused silica SiO2glass providing radiation damage resistance in addition to beneficial chemical durability, low birefringence, and uniform transmission. The improved chemical durability of the chlorine free fused silica SiO2glass is an advantage for mask blanks 20 in terms of resistance to subsurface damage during polishing, particularly chemical/mechanical finishing, improved surface finish capability, and rate of material etching. The preferred mask blank 20 has 193 nm and 248 nm DUV transmissions uniformity that varies ≦1 5% more preferably ≦1%, and has a homogeneity (Δn) ≦50 ppm, preferably ≦5 ppm, most preferably ≦1 ppm. The inventive method of making mask blank 20 preferably achieves such high transmission uniformity and high homogeneity utilizing relatively large preforms 32, particularly compared to the relatively small size of mask blank 20. In a preferred practice of the invention preform disk 32 has a diameter greater than 20 inches (50 cm) such as D about 3 to 5 feet (0.91 to 1.5 meters) and a height H of about 6 to 10 inches (15 to 25 cm) with the mask blanks 20 made therefrom having a longest dimension L≦12 inches (30 cm) such as blank dimensions of about 10 inches ×10 inches (25 cm ×25 cm), about 9 inches ×9 inches (22.8 cm×22.8 cm) and about 6 inches ×6 inches (15 cm×15 cm), with thickness T of about ¼ inch (0.63 cm). Numerous mask blanks 20 can be cut from the larger preform disk 32, with the large preform disk size providing improved transmission uniformity and homogeneity, particularly compared to commercially available photomask substrates formed from small preform columns that have near net preform dimensions close to the dimensions of the photomask substrates. Preferably mask blank 20 has a birefringence (measured at 632.8 nm) ≦5 nm/cm, more preferably ≦2 nm/cm; a chlorine concentration ≦1 ppm; an internal transmission Ti ≧99.5% per cm at 248 nm and Ti ≧99.0% per cm at 193 nm; a transmission uniformity which varies ≦1.5%, most preferably ≦1.0%. It will be apparent to those skilled in the art that various modifications and variations can be made to the present invention without departing from the spirit and scope of the invention. Thus, it is intended that the present intention cover the modifications and variations of this invention provided they come within the scope of the appended claims and their equivalents.BACKGROUND OF THE INVENTION
BRIEF DESCRIPTION OF THE DRAWINGS
SUMMARY OF THE INVENTION
DETAILED DESCRIPTION OF THE PREFERRED EMBODIMENTS