A wafer processing system employing a single-wafer load lock with integrated cooling unit is disclosed. The small volume of the single-wafer load lock allows for fast pump down and vent cycles. By integrating a cooling unit within the load lock, system throughput is further increased by eliminating the need to move a newly processed wafer to a separate cooling unit before moving the wafer to the load lock.
1. A system for processing a semiconductor wafer comprising: a loading station for semiconductor wafers; a plurality of single-wafer load locks, each of the load locks comprising a floor and a ceiling and containing one and only one wafer holder, the wafer holder being adapted to hold one and only one wafer, each of the load locks further containing a cooling unit and a plurality of pins for supporting the wafer, said cooling unit comprising a channel for circulating a liquid coolant; a first robot for moving the wafer between the loading station and the single-wafer load locks; a semiconductor processing reactor; and a transfer chamber in communication with the reactor and the single-wafer load locks, the transfer chamber comprising a second robot for moving the wafer between the single-wafer load locks and the reactor, wherein said pins define wafer pickup and placement points for said first and second robots, said placement and pick-up points being fixed and coincident with each other. 2. The system of 3. A system for processing a semiconductor wafer comprising: a loading station for semiconductor wafers; a single-wafer load lock, the load lock comprising a floor and a ceiling and containing one and only one wafer holder, the wafer holder being adapted to hold one and only one wafer, the load lock further containing a cooling unit, said cooling unit comprising a channel for circulating a liquid coolant; a front end module in communication with the single wafer load lock, the front end module containing a first robot for moving the wafer between the loading station and the single-wafer load lock; a semiconductor processing reactor; and a transfer chamber in communication with the reactor and the single-wafer load lock, the transfer chamber containing a second robot for moving the wafer between the single-wafer load lock and the reactor, wherein the single-wafer load lock further comprises a first portal leading to the front end module and a second portal leading to the transfer chamber, the first and second portals being displaced laterally from each other at opposite sides of the single wafer load lock. 4. The system of 5. A system for processing a semiconductor wafer comprising: a loading station for semiconductor wafers; a single-wafer load lock, the load lock comprising a floor and a ceiling and containing one and only one wafer holder, the wafer holder being adapted to hold one and only one wafer, the load lock further containing a cooling unit, said cooling unit comprising a channel for circulating a liquid coolant; a first robot for moving the wafer between the loading station and the single-wafer load lock; a semiconductor processing reactor; and a transfer chamber in communication with the reactor and the single-wafer load lock, the transfer chamber having a second robot for moving the wafer between the single-wafer load lock and the reactor, wherein the single-wafer load lock is capable of being pumped down from atmospheric pressure to vacuum in ten seconds or less. 6. A system for processing a semiconductor wafer comprising: a loading station for semiconductor wafers; a single-wafer load lock, the load lock comprising a floor and a ceiling and containing one and only one wafer holder, the wafer holder being adapted to hold one and only one wafer, the load lock further containing a cooling unit, said cooling unit comprising a channel for circulating a liquid coolant; a first robot for moving the wafer between the loading station and the single-wafer load lock; a semiconductor processing reactor; and a transfer chamber in communication with the reactor and the single-wafer load lock, the transfer chamber having a second robot for moving the wafer between the single-wafer load lock and the reactor, wherein the single-wafer load lock is capable of being vented from vacuum to atmospheric pressure in ten seconds or less. 7. A single-wafer load lock for use in a semiconductor wafer processing system, the load lock comprising a floor and a ceiling and containing one and only one wafer holder, the wafer holder being adapted to hold one and only one wafer, the load lock further containing a cooling unit and a plurality of pins for supporting the wafer, said cooling unit comprising a channel for circulating a liquid coolant, said pins defining fixed pick-up and placement points where external robots place wafers into and pick up wafers from said load lock, said pick-up and placement points being coincident with each other. 8. The single-wafer load lock of 9. The single-wafer load lock of 10. The single-wafer load lock of 11. A single-wafer load lock for use in a semiconductor wafer processing system, the load lock comprising a floor and a ceiling and containing one and only one wafer holder, the wafer holder being adapted to hold one and only one wafer, the load lock further containing a cooling unit, said cooling unit comprising a channel for circulating a liquid coolant, said load lock further comprising a first portal and a second portal, the first and second portals being displaced laterally from each other at opposite sides of the single wafer load lock. 12. The load lock of
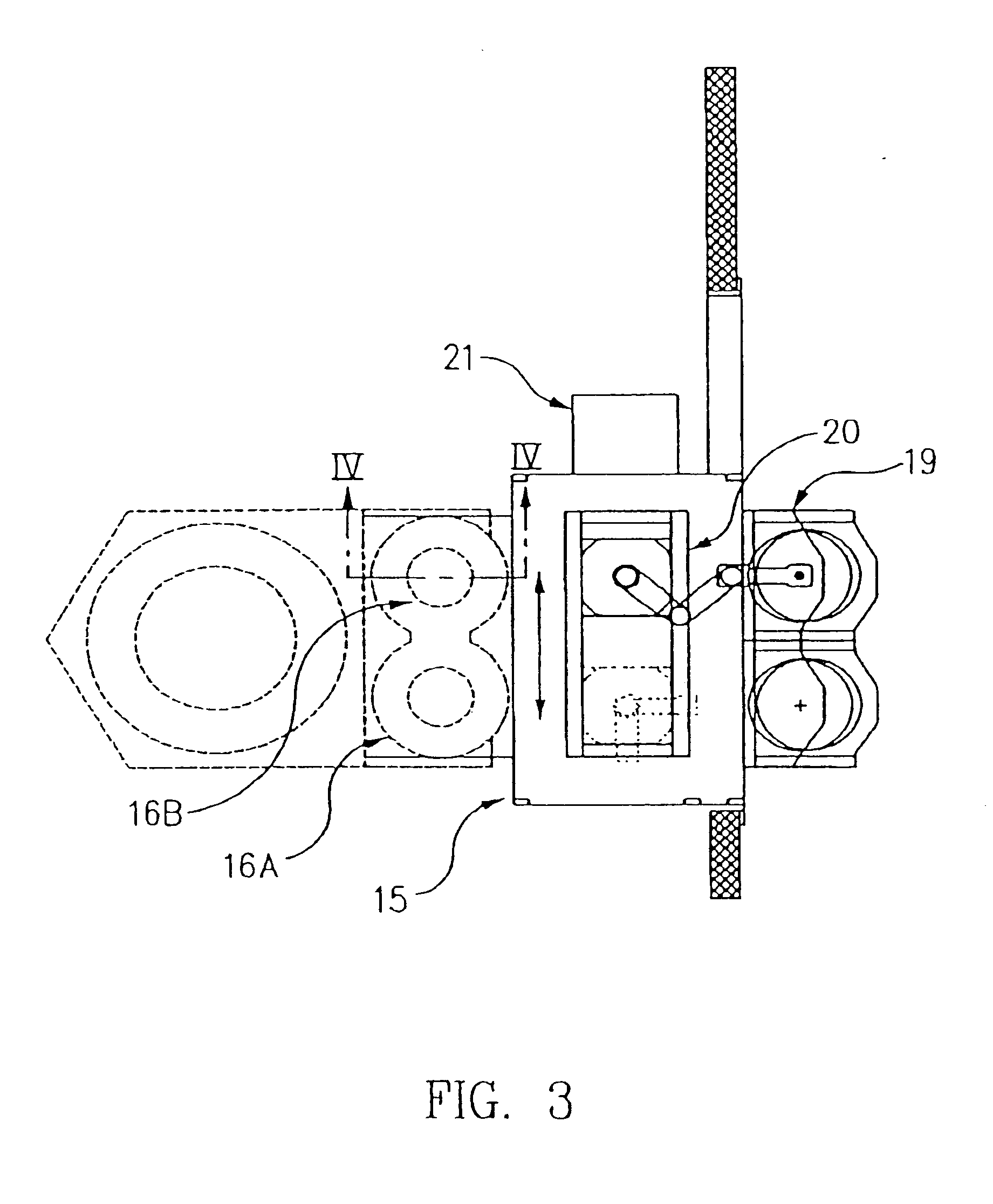
This application is a continuation of application Ser. No. 09/346,258, filed Jun. 30, 1999, now U.S. Pat. No. 6,431,807, which is incorporated herein by reference in its entirety. This application claims priority from U.S. Provisional Application No. 60/092,242 filed Jul. 10, 1998. 1. Field of the Invention The invention generally relates to semiconductor device manufacturing equipment. 2. Description of the Related Art In the semiconductor industry, special wafer processing systems are used to convert bare semiconductor wafers into working devices. Typically, the wafer processing system has a reactor for processing wafers and a wafer handling system for moving wafers to and from the reactor. The reactor or process module is where wafer processing such as film deposition or etching occurs. The wafer handling system is mechanically coupled to the reactor and has a dock on which wafers can be loaded from the factory floor. Once loaded onto the dock, wafers are transferred to and from reactors using mechanical manipulators such as robots. A typical wafer handling sequence for wafer processing system 1 is as follows. Wafer cassette or carrier 10 is moved from input stage 5 into load lock 7A by an indexer robot 28A. Pressure within load lock 7A is decreased using a vacuum pump (not shown). When the desired pressure differential between transfer module 6 and load lock 7A is reached, a wafer 11 is picked up from wafer carrier 10 and then transferred to reactor 2 by vacuum robot 9. Wafer 11 is then processed inside reactor 2. When processing is completed, wafer 11 is moved from reactor 2 and placed into a cooling station 8 by vacuum robot 9. Cooling of wafer 11 is required because wafer processing temperatures can reach as high as 650° C. whereas wafer carrier 10 typically has a limitation of 70° C., beyond which deformation begins. When cooled, vacuum robot 9 transfers wafer 11 from cooling station 8 and into its original wafer carrier (carrier 10) inside load lock 7A. The other wafers in carrier 10 are processed in a similar manner. After all wafers originally contained in wafer carrier 10 have been processed, load lock 7A is vented to atmospheric pressure, after which cassette 10 is transferred from load lock 7A back into input stage 5. Load locks 7A and 7B function as transition chambers between transfer chamber 6, which is maintained under vacuum, and input stage 5, which is under atmospheric pressure. Load locks 7A and 7B are referred to as batch load locks because they accommodate multiple wafers, typically in a carrier, at a time. Because load locks 7A and 7B do not have an integral cooling unit, cooling station 8 must be provided within transfer chamber 6. Providing cooling station 8 outside load lock 7A significantly cuts down on the number of wafers that can be processed within a given amount of time because vacuum robot 9 has to move a processed wafer to cooling station 8 before moving the processed wafer into load lock 7A. U.S. Pat. No. 5,512,320 to Turner et. al., incorporated herein by reference, discloses a batch load lock with an integral metallic carrier for cooling processed wafers. In Turner, as in any batch load locks, an elevator is required for incrementally raising each shelf of the metallic carrier to the same level as the vacuum robot or an external atmospheric robot. Because Turner's elevator must be precisely controlled for proper wafer exchange with the vacuum and atmospheric robots, the elevator is essentially a robot which not only complicates but also raises the cost of the wafer processing system. Further, Turner suffers from the same problems associated with batch load locks in the prior art. In a batch load lock, pump down and vent operations take time because batch load locks must have a volume large enough to accommodate multiple wafers. The long pump down and vent times of the batch load lock adversely affect the wafer processing system's throughput or the number of wafers that the system can process within a given amount of time. This throughput problem is compounded when the system is used with partially filled wafer carriers, as is the case in many factories, specially those involved in custom device fabrication. The large volume and large internal surface area of batch load locks raise micro-contamination problems. The walls of a load lock adsorb moisture every time the load lock is vented and exposed to atmospheric pressure. This moisture outgasses at operating pressures, creating partial pressure build-up of gases such as, for example, H2O , N2, or O2in the transfer chamber and the reactor. The larger the load lock, the greater the chance of micro-contaminants entering the transfer chamber and reactor. Further, the load lock must be pumped down to a pressure slightly lower than that of the transfer chamber to prevent micro-contaminants from getting into the transfer chamber. Obtaining this lower pressure takes time in a batch load lock because of its large volume. In order to alleviate the throughput problems associated with batch load locks, some batch load lock systems transfer multiple wafers at a time from the input stage to the load locks. A problem with this approach is that moving multiple wafers at a time increases the chance of wafer handling errors or breakage. Further, all ancillary wafer operations such as wafer alignment, wafer ID reading, and metrology must be performed inside the load lock or transfer chamber under vacuum. This leads to increased complexity and implementation cost. Thus, there is a clear need for a wafer processing system that has better throughput, has better contamination control, and is less expensive to implement than those in the prior art. The invention provides for a modular wafer processing system. In accordance with the invention, the modular wafer processing system includes a single-wafer load lock with an integrated cooling unit. The provision for an integrated cooling unit provides for increased system throughput because processed wafers can be directly transferred from the reactor and into the load lock. Throughput is further increased by reducing the volume of the single-wafer load lock to allow for fast pump down and vent times. The present invention may be better understood, and its numerous objects, features, and advantages made apparent to those skilled in the art by referencing the accompanying drawings. The use of the same reference symbols in different drawings indicates similar or identical items. WTS 14 further includes a front end module 15 and a transfer module 17. Front end module 15 includes a loading station 19 for loading and unloading of wafers which are typically in a wafer carrier. Loading station 19 can accommodate commercially available interfaces such as pod loaders or open cassette stages. Front end module 15 also includes an atmospheric robot for moving wafers between loading station 19 and single-wafer load locks 16A and 16B. Atmospheric robot 20 is a conventional 3-axis robot mounted on a fourth translation axis for movement in the direction shown by arrow 29. An example of atmospheric robot 20 is the model 400 Series from Equipe Technologies of Sunnyvale, Calif. The use of other robot configurations are also possible. To minimize wafer handling errors and to simplify wafer ancillary operations, atmospheric robot 20 is designed to pick up one wafer at a time from loading station 19. As shown in As shown in SWLL 16A's small volume provides for maximum system throughput. Because SWLL 16A has a volume of about 5.0 liters, for example, it is capable of pump down and vent times of 10 seconds or less. In contrast, batch load locks typically have a volume greater than 90 liters and can take as long as 3 minutes to pump down or vent. The fast pump down and vent times of SWLL 16A reduce the amount of time a wafer spends in the system (wafer cycle time). Short wafer cycle times provide for high system throughput. Appendix 1 shows load and unload time calculations for various load lock architectures while Appendix 2 shows the corresponding cycle times. Note that although SWLL 16A must be loaded and unloaded 25 times in a 25 wafer run, only the first load and unload cycle affects system throughput. This is because SWLL16A can pump down and vent faster than the vacuum robot can move a wafer from SWLL16A to a reactor and from a reactor to SWLL16A. In other words, vacuum robot 22 does not have to wait for SWLL16A to be available. Thus, a batch load lock's capability to process multiple wafers in a single load and unload cycle does not compensate for the batch load lock's long pump down and vent times. As shown in Pedestal 24 supports the wafer while SWLL 16A is being pumped down to vacuum or vented to atmospheric pressure. For cooling the wafer, pedestal 24 is water cooled using conventional methods. For example, plumbing can be routed through pedestal lift 25 to supply water to cooling channels within pedestal 24. U.S. Pat. No. 5,512,320 to Turner et. al., incorporated herein by reference, also discloses liquid cooling means. Other cooling methods can also be used without detracting from the merits of the present invention. Because a cooling unit in the form of water cooled pedestal 24 is integrated within SWLL 16A, vacuum robot 22 can move a processed wafer directly to SWLL 16A instead of having to move the processed wafer to a separate cooling station, saving a move step and increasing throughput. In comparing the architectures of WTS 14 and wafer handler 3 (shown in FIG. 1), it is evident that WTS 14 requires the wafer to be moved by vacuum robot 22 only twice whereas wafer handler 3 requires the wafer to be moved 3 times. Assuming each wafer movement takes 10 seconds, throughput for WTS 14 and wafer handler 3 can be calculated as shown in Table 1. Thus, considering vacuum robot 22 as the limiting component of WTS 14, the present invention can realize an increased throughput of 60 wafers per hour (180 wph-120 wph), or a 50% increase over wafer handler 3. Pedestal 24 can also be constructed with a plurality of concentric grooves (not shown) that can be used to vacuum hold the wafer. During vent operations, vacuum can be applied to the outer groove to get better heat transfer between the wafer and pedestal 24. Pedestal lift 25 provides vertical travel for pedestal 24 to allow the wafer to be lifted from or placed on pins 27 during wafer exchange. Unlike the elevators or indexer robots used in batch load locks, pedestal lift 25 only has an up and a down position. Those skilled in the art will appreciate that a two position lift does not need precise control and can be actuated using, for example, low-cost conventional pneumatic methods. Further, pins 27 define a fixed wafer pick-up or placement point for both vacuum robot 22 and atmospheric robot 20, simplifying robot alignment requirements in the system. Wafer transfer and processing according to the teachings of the present invention are now described. A wafer carrier containing pre-processed wafers is loaded onto loading station 19 shown in FIG. 2. Ancillary wafer operations such as wafer mapping, wafer ID reading, and metrology are performed on the pre-processed wafers. Atmospheric robot 20 then picks up a single pre-processed wafer from loading station 19 and places the pre-processed wafer through door 23 onto pins 27 within SWLL 16A or SWLL 16B, whichever is available. If an optional wafer aligner is installed, the pre-processed wafer is moved to the aligner in location 21 shown in The above detailed description is provided to illustrate the specific embodiments of the present invention and is not intended to be limiting. It is to be understood that numerous variations and modifications within the scope of the present invention are possible. For example, robots and cooling methods which are different from that disclosed herein can be used without detracting from the merits of the present invention. Further, the invention can be used for moving wafers in a variety of semiconductor manufacturing applications. The invention is set forth in the following claims:CROSS REFERENCE TO RELATED APPLICATION
BACKGROUND OF THE INVENTION
SUMMARY OF THE INVENTION
BRIEF DESCRIPTION OF THE DRAWINGS
DESCRIPTION OF THE PREFERRED EMBODIMENT(S)
WTS 14 2 20 180 Wafer Handler 3 3 30 120