патент
№ US 0006603470
МПК G06F17/50

Compression of surface normals in three-dimensional graphics data

Авторы:
Michael F. Deering
Правообладатель:
Все (3)
Номер заявки
08963863
Дата подачи заявки
04.11.1997
Опубликовано
05.08.2003
Страна
US
Дата приоритета
17.12.2025
Номер приоритета
Страна приоритета
Как управлять
интеллектуальной собственностью
Реферат

A system and method for compression of surface normals in three-dimensional graphics data. The method comprises compressing a normal by identifying the location of a first point located at the intersection of the surface of a predetermined sphere (centered on the origin of a set of x-y-z axes) and a vector extended from the origin in a direction specified by the coordinate values of the normal. Identification of the first point includes specifying an index value and one or mapping values. The index value is usable during decompression to identify a second point on the sphere from a plurality of points in a predetermined surface region (such as a predetermined sextant of a predetermined octant region). In one embodiment, the index includes a theta component and a phi component which are usable to locate the second point. The theta component value is measured about the y axis to the second point while the phi component value is measured latitudinally from a plane defined by y=0 to the second point. The one or more mapping values include a sextant value which translates the second point to a third point by performing foldings about the planes x=y, y=z, and x=z within the predetermined octant. The one or more mapping values also include an octant value which is usable to locate the first point from the third point by identifying one or more sign bits of the fist point. Delta-encoding of normals is also disclosed.

Формула изобретения

1. A computer-implemented method for compressing three-dimensional graphics data including a first three-dimensional surface normal corresponding to a three-dimensional graphics object, said method comprising:

receiving first three-dimensional surface normal data which represents said first surface normal,

compressing said first three-dimensional surface normal data into a first number of bits by:

generating a first subset of said first number of bits to indicate which one of a first plurality of subsets of all possible three-dimensional normals includes said first three-dimensional surface normal, wherein said compressing produces compressed first surface normal data; and

storing said compressed first surface normal data.

2. The method of claim 1, further comprising generating a second subset of said first number of bits to indicate which one of a second plurality of subsets includes said first surface normal, wherein said second plurality of subsets consist of all possible three-dimensional normals in the subset indicated by said first plurality of bits.

3. The method of claim 2, further comprising generating a third subset of said first number of bits to indicate which one of a plurality of three-dimensional normals encoded in a table correspond most closely to said first three-dimensional surface normal, wherein said plurality of three-dimensional surface normals are within said indicated second subset.

4. The method of claim 2, wherein said second plurality of subsets are symmetrical.

5. The method of claim 2, wherein said second plurality of subsets are symmetrical and contiguous.

6. The method of claim 2, wherein each of said second plurality of subsets represents a sextant of an octant, wherein said octant corresponds to the indicated one of the first plurality of subsets.

7. The method of claim 1, wherein each of said first plurality of subsets is an octant of a surface of a sphere representing all possible normalized three-dimensional surface normals, wherein said first surface normal is normalized.

8. The method of claim 1, wherein each of said first plurality of subsets represents a sextant of a sphere representing all possible three-dimensional surface normals.

9. The method of claim 1, wherein said storing said compressed first surface normal data includes storing said compressed first surface normal data in a memory, wherein said compressed first surface normal data requires reduced memory space as compared to said first surface normal data.

10. The method of claim 1, further comprising transmitting said compressed first surface normal data across a network.

11. The method of claim 1, wherein said graphical object includes one or more geometric primitives, and wherein said fast surface normal corresponds to one of said one or more geometric primitives.

12. The method of claim 1, wherein said graphical object includes one or more geometric primitives each including one or more vertices, wherein said first surface normal corresponds to one of said one or more vertices of said one or more geometric primitives.

13. The method of claim 1, wherein said first plurality of subsets of all possible three-dimensional normals are symmetrical.

14. The method of claim 1, wherein said first plurality of subsets of all possible three-dimensional normals are contiguous.

15. The method of claim 1, wherein said second plurality of subsets are contiguous.

16. The method of claim 1, further comprising selecting a second subset of said first number of bits to indicate which one of a plurality of three-dimensional normals encoded in a table correspond most closely to said first three-dimensional surface normal, wherein said plurality of three-dimensional surface normals are within said selected second subset.

17. The method of claim 1, wherein said first plurality of subsets are symmetrical and contiguous.

18. The method of claim 1, further comprising:

encoding an index value, wherein said index value is usable to select a particular set of coordinate magnitude values from a predetermined plurality of sets of coordinate magnitude values within said indicated first subset.

19. The method of claim 1, wherein said storing comprises storing said compressed first surface normal data on a computer-readable medium.

20. The method of claim 1, wherein said first surface normal data includes x, y, and z components.

21. The method of claim 1, further comprising:

receiving second surface normal data which represents a second three-dimensional surface normal;

compressing said second surface normal data by delta-encoding said second surface normal data relative to said first surface normal data, wherein said compressing said second surface normal data produces compressed second surface normal data;

storing said compressed second surface normal data.

22. The method of claim 21, wherein said compressing said second surface normal data includes delta-encoding each of a plurality of component values with respect to a corresponding plurality of component values for said first surface normal data.

23. The method of claim 22, wherein said compressing said second surface normal data includes quantizing each of said plurality of delta-encoded component values to a lesser number of bits.

24. The method of claim 23, wherein compressing said second surface normal data further includes perfonming a variable-length encoding of each of said quantized plurality of delta-encoded component values.

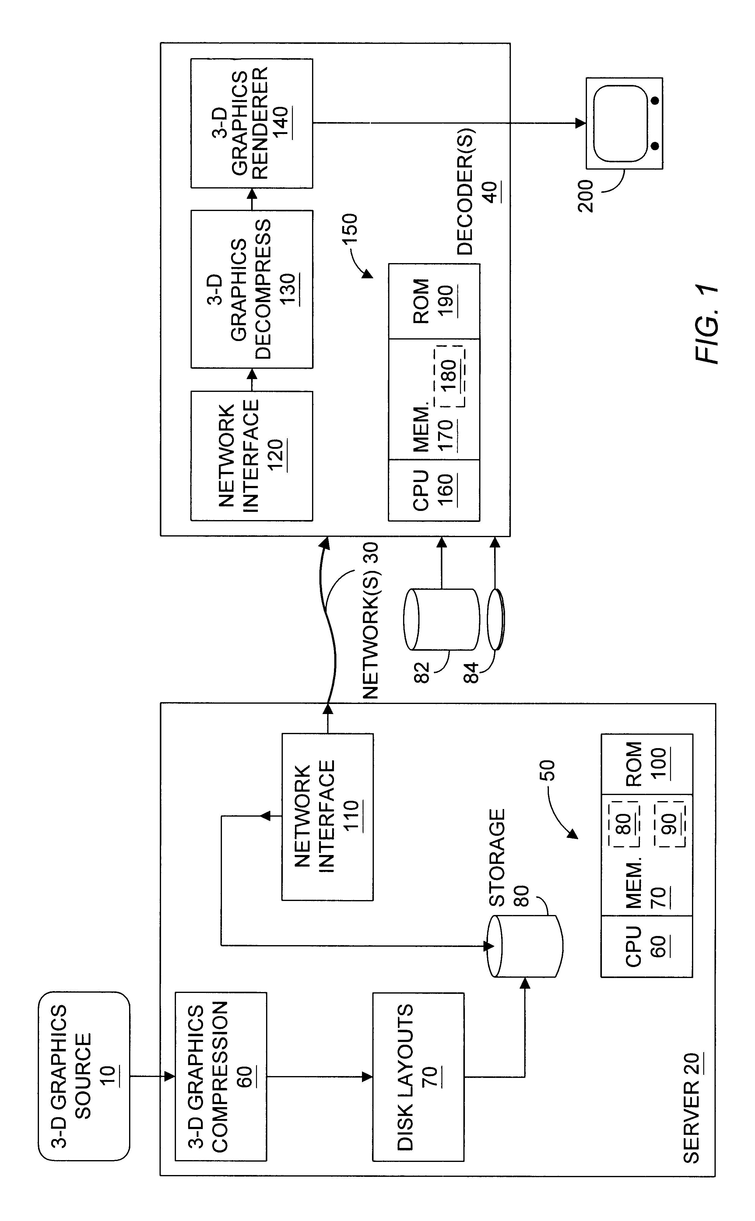
25. The method of claim 1, further comprising:

receiving second three-dimensional surface normal data which represents a second surface normal;

compressing said second surface normal data by generating a delta angle θ value and a delta angle φ value, wherein said delta angle θ value is delta-encoded with respect to an angle θ that corresponds to said first surface normal, and wherein said delta angle φ value is delta-encoded with respect to an angle φ that corresponds to said first surface normal, and wherein said compressing said second surface normal data produces compressed second surface normal data; and

storing said compressed second surface normal data.

26. The method of claim 25, wherein said compressing said second surface normal data includes quantizing said delta angle φ value and said delta angle θ value to a lesser number of bits.

27. The method of claim 26, wherein compressing said second surface normal data further includes performing a variable-length encoding of said quantized delta angle φ value and said quantized delta angle θ value.

28. A computer-implemented method for compressing a first three-dimensional surface normal corresponding to a graphical object, the method comprising:

receiving first surface normal data which represents the first surface normal;

compressing said first three-dimensional surface normal data into a first number of bits by:

selecting a first subset of said first number of bits to indicate which one of a first plurality of subsets of all possible three-dimensional normals includes said first three-dimensional surface normal, wherein said wherein said compressing produces compressed first surface normal data; and

transferring said compressed first surface normal data.

29. The method of claim 28, wherein said compressed first surface normal data is usable to generate decompressed normal data corresponding to said first surface normal data.

30. The method of claim 29, wherein said decompressed normal data substantially approximates said flat surface normal data.

31. The method of claim 28, wherein said fist surface normal is usable in rendering said graphical object on a display.

32. The method of claim 28, wherein said compressing said first surface normal data includes utilizing geometric characteristics of said first surface normal.

33. The method of claim 28, wherein said compressing said first surface normal data includes encoding information identifying a location of a first point on a surface of a predetermined sphere.

34. The method of claim 33, wherein said predetermined sphere is centered on an origin of a first set of coordinate axes which define a first coordinate space, and wherein said first surface normal data includes a first set of coordinate values.

35. The method of claim 34, wherein an intersection of said surface of said predetermined sphere and a vector extending from said origin of said first set of coordinate axes in a direction specified by said first set of coordinate values substantially approximates said location of said first point.

36. The method of claim 34, wherein said location of said first point on said surface of said predetermined sphere corresponds to said first set of coordinate values.

37. The method of claim 36, wherein said encoding information identifying said location of said first point includes:

encoding an index value usable to select an intermediate set of coordinate magnitude values from a predetermined plurality of sets of coordinate magnitude values.

38. The method of claim 37, wherein said predetermined plurality of sets of coordinate magnitude values correspond to predetermined points within a predetermined sextant of a predetermined octant of said predetermined sphere, and wherein said intermediate set of coordinate magnitude values corresponds to a second point within said predetermined sextant of said predetermined octant.

39. The method of claim 37, wherein said encoding information identifying said location of said first point includes:

encoding a sextant value usable to generate a final set of coordinate magnitudes values which correspond to magnitudes of said first set of coordinate values.

40. The method of claim 39, wherein said intermediate set of coordinate magnitude values correspond to a second point within said predetermined sextant of said predetermined octant;

and wherein said sextant value specifies a first sextant within said predetermined octant of said predetermined sphere, and wherein said sextant value is usable to generate magnitudes of said first set of coordinate values from said intermediate set of coordinate magnitude values by mapping said second point to a third point within said first sextant.

41. The method of claim 37, wherein said encoding information identifying said location of said first point includes:

encoding an octant value usable to represent one or more sign bits of said first set of coordinate values.

42. A computer-implemented method for compressing a first surface normal corresponding to a graphical object, comprising:

receiving first surface normal data representing said first surface normal;

compressing said first surface normal data by encoding information identifying a location of a first point on a surface of a predetermined sphere, wherein said compressing includes generating an index value and one or more mapping values;

storing said index value and said one or more mapping values;

wherein said index value is usable to select a fist set of intermediate surface normal data from a plurality of sets of intermediate surface normal data;

and wherein said one or more mapping values are usable to generate decompressed surface normal data from said intermediate surface normal data.

43. The method of claim 42, wherein said first surface normal is usable in rendering said graphical object on a display.

44. The method of claim 42, wherein said graphical object includes one or more geometric primitives, and wherein said first surface normal corresponds to one of said one or more geometric primitives.

45. The method of claim 42, wherein said predetermined sphere is centered on an origin of a first set of coordinate axes which define a first coordinate space, and wherein said first surface normal data includes a first set of coordinate values.

46. The method of claim 45, wherein an intersection of said surface of said predetermined sphere and a vector extending from said origin of said first set of coordinate axes in a direction specified by said first set of coordinate values substantially approximates said location of said first point.

47. The method of claim 45, wherein said location of said first point on said surface of said predetermined sphere corresponds to said fist set of coordinate values.

48. The method of claim 47, wherein said plurality of sets of intermediate surface normal data includes a plurality of sets of coordinate values, wherein said plurality of sets of coordinate values correspond to a plurality of points located within a predetermined surface region of said predetermined sphere.

49. The method of claim 48, wherein said first set of intermediate surface normal data includes an intermediate set of coordinate values identifying a second point included in said plurality of points.

50. The method of claim 49, wherein said decompressed surface normal data includes a final set of coordinate values substantially equal to said first set of coordinate values.

51. The method of claim 50, wherein said one or more mapping values include a first mapping value and a second mapping value.

52. The method of claim 51, wherein said first mapping value specifies a permutation of coordinate values within said intermediate set of coordinate values usable to generate magnitudes of said final set of coordinate values.

53. The method of claim 52, wherein said second mapping value specifies one or more sign bits of said final set of coordinate values.

54. The method of claim 51, wherein said first coordinate space is an xyz coordinate space, said first set of coordinate axes includes an x axis, a y axis, and a z axis, said first set of coordinate values includes an x coordinate component, a y coordinate component, and a z coordinate component, and wherein said predetermined surface region is a predetermined sextant region of a predetermined octant region.

55. The method of claim 54, wherein said first mapping value is a sextant value representative of one of six sextant regions of said predetermined octant region, wherein said sextant value is usable to permute magnitudes of said x coordinate component, said y coordinate component, and said z coordinate component in order to generate magnitudes of said final set of coordinate values.

56. The method of claim 55, wherein said second mapping value is an octant value specifying a first octant region of said predetermined sphere, wherein said octant value is usable to generate one or more sign bits of said final set of coordinate values.

57. The method of claim 56, wherein said one or more sign bits of said final set of coordinate values correspond to sign bits of points located within said first octant region of said predetermined sphere.

58. The method of claim 54, wherein said first mapping value is a sextant value representative of a first sextant region of said predetermined octant region, wherein said sextant value specifies performing foldings about the planes x=y, y=z, and x=z in order to generate magnitudes of said final set of coordinate values.

59. The method of claim 49, wherein said index value includes a plurality of index component values usable to locate said second point within said predetermined surface region of said predetermined sphere.

60. The method of claim 59, wherein said plurality of index component values includes a first angular index component and a second angular index component, wherein said first angular index component is a latitude value of said second point within said predetermined surface region, and wherein said second angular index component is a longitude value of said second point within said predetermined surface region.

61. A computer-implemented method for compressing a first three-dimensional surface normal corresponding to a graphical object, comprising:

receiving first three-dimensional surface normal data representing said first surface normal;

compressing said first surface normal data by encoding information identifying a location of a first point on a surface of a predetermined sphere, wherein said surface of said predetermined sphere represents all possible normalized three-dimensional surface normals wherein said compressing includes generating an index value and one or more mapping values;

transferring said index value and said one or more mapping values;

wherein said index value is usable to select a first set of intermediate surface normal data from a plurality of sets of intermediate surface normal data;

and wherein said one or more mapping values are usable to generate decompressed surface normal data from said intermediate surface normal data.

62. A computer-implemented method for compressing a first three-dimensional surface normal corresponding to a graphical object, comprising:

generating data representing a plurality of points located on a surface of a predetermined sphere, wherein said surface of said sphere represents all possible three-dimensional surface normals;

storing data representing a subset of said plurality of points in a normal look-up table;

receiving first surface normal data which represents said first surface normal;

compressing said first surface normal data by encoding an index value and one or more mapping values;

storing said index value and said one or more mapping values;

wherein said index value is usable to select intermediate surface normal data from said data representing said subset of said plurality of points stored in said normal look-up table;

and wherein said one or mapping values are usable to generate decompressed surface normal data from said intermediate surface normal data.

63. The method of claim 62, wherein said subset of said plurality of points are located in a predetermined surface region of said predetermined sphere, wherein said predetermined surface region represents a subset of all possible three-dimensional surface normals.

64. The method of claim 63, wherein said data representing said subset of said plurality of points includes coordinate values for each of said subset of said plurality of points.

65. The method of claim 63, wherein said first surface normal data includes a first set of coordinate values.

66. The method of claim 64, wherein said intermediate surface normal data includes an intermediate set of coordinate values.

67. The method of claim 65, wherein said decompressed surface normal data includes a final set of coordinate values substantially equal to said first set of coordinate values.

68. The method of claim 66, wherein said predetermined surface region is a predetermined sextant region of a predetermined octant region of said predetermined sphere.

69. The method of claim 68, wherein said index value includes a plurality of index component values usable to specify locations of points within said predetermined surface region.

70. The method of claim 69, wherein said plurality of index component values includes a first angular index component and a second angular index component wherein said first angular index component is a latitude value of said second point within said predetermined surface region, and wherein said second angular index component is a longitude value of said second point within said predetermined surface region.

71. The method of claim 69, wherein said one or more mapping values include a sextant value representative of one of six sextant regions of said predetermined octant region, wherein said sextant value is usable to permute magnitudes of said x coordinate component, said y coordinate component, and said z coordinate component in order to generate magnitudes of said final set of coordinate values.

72. The method of claim 71, wherein said fist mapping value is a sextant value representative of a first sextant region of said predetermined octant region, wherein said sextant value specifies performing folding about the planes x=y, y=z, and x=z in order to generate magnitudes of said final set of coordinate values.

73. The method of claim 72, wherein said one or more mapping values include an octant value specifying a first octant region of said predetermined sphere, wherein said octant value is usable to generate one or more sign bits of said final set of coordinate values.

74. The method of claim 62, wherein said first surface normal is usable in rendering said graphical object on a display.

75. The method of claim 62, wherein said predetermined sphere is centered on an origin of a first set of coordinate axes which define a first coordinate space, and wherein said first surface normal data includes a first set of coordinate values.

76. The method of claim 75, wherein said location of said first point on said surface of said predetermined sphere corresponds to said first set of coordinate values.

77. A system for compressing a first three-dimensional surface normal corresponding to a graphical object, comprising:

a memory configured to store first surface normal data representing said first surface normal;

a processor coupled to said memory, wherein said processor is configured to compress said first surface normal data by utilizing characteristics of said first surface normal, thereby producing compressed first surface normal data, wherein said processor is configured to compress said first three-dimensional surface normal data into a first number of bits by generating a first subset of said first number of bits to indicate which one of a first plurality of subsets of all possible three-dimensional normals includes said first three-dimensional surface normal, wherein said compressing produces compressed first surface normal data, wherein said processor is configured to store said compressed first surface normal data in said memory.

78. The system of claim 77, wherein said compressed first surface normal data is usable to generate decompressed normal data corresponding to said first surface normal data.

79. The system of claim 78, wherein said decompressed normal data substantially approximates said first surface normal data.

80. The system of claim 77, wherein said decompressed normal data comprises said first surface normal data.

81. The system of claim 77, further comprising a display, wherein said first surface normal is usable in rendering said graphical object on said display.

82. The system of claim 77, wherein said first surface normal data comprises a first act of coordinate values, and wherein said compressed first surface normal data is usable to generate a decompressed set of coordinate values corresponding to said first set of coordinate values.

83. The system of claim 77, wherein said graphical object includes one or more geometric primitives, and wherein said first surface normal corresponds to one of said one or more geometric primitives.

84. The system of claim 77, wherein said graphical object includes one or more geometric primitives each including one or more vertices, wherein said first surface normal corresponds to one of said one or more vertices of said one or more geometric primitives.

85. The system of claim 77, wherein said processor is configured to utilize geometric characteristics of said first surface normal in order to compress said first surface normal data.

86. A system for compressing a first three-dimensional surface normal corresponding to a graphical object, comprising:

a processor coupled to receive first surface normal data corresponding to said first surface normal, wherein said processor is configured to compress said first surface normal data by utilizing characteristics of said first surface normal, wherein said processor is configured to compress said first three-dimensional surface normal data into a first number of bits by generating a first subset of said first number of bits to indicate which one of a first plurality of subsets of all possible three-dimensional normals includes said first three-dimensional surface normal, wherein said compressing produces compressed first surface normal data, thereby producing compressed first surface normal data, and wherein said processor is configured to transfer said compressed first surface normal data.

87. The system of claim 86, wherein said compressed first surface normal data is usable to generate decompressed normal data corresponding to said first surface normal data.

88. The system of claim 87, wherein said decompressed normal data substantially approximates said first surface normal data.

89. The system of claim 86, wherein said processor is configured to utilize geometric characteristics of said first surface normal in order to compress said first surface normal data.

90. A system for compressing a first three-dimensional surface normal corresponding to a graphical object, comprising:

a memory configured to store first surface normal data representing said first surface normal;

a processor coupled to said memory, wherein said processor is configured to compress said first surface normal data by utilizing characteristics of said first surface normal, thereby producing compressed first surface normal data, wherein said processor is configured to compress said first three-dimensional surface normal data into a first number of bits by generating a first subset of said first number of bits to indicate which one of a first plurality of subsets of all possible three-dimensional normals includes said first three-dimensional surface normal, wherein said compressing produces compressed first surface normal data, wherein said processor is configured to store said compressed first surface normal data in said memory;

wherein said processor is configured to delta-encode said compressed first surface normal data with respect to previously specified normal data.

91. The system of claim 90, wherein said compressing said first surface normal data includes utilizing geometric characteristics of said first surface normal.

92. A system for compressing a first three-dimensional surface normal corresponding to a graphical object, comprising:

a memory configured to store first surface normal data representing said first surface normal;

a processor coupled to said memory, wherein said processor is configured to compress said first surface normal data by encoding information identifying a location of a first point on a surface of a predetermined sphere, wherein said surface of said predetermined sphere represents all possible three-dimensional surface normals, wherein said compressing produces compressed first surface normal data, wherein said processor is configured to store said compressed first surface normal data in said memory.

93. The system of claim 92, wherein said predetermined sphere is centered on an origin of a first set of coordinate axes which define a first coordinate space, and wherein said first surface normal data includes a first set of coordinate values.

94. The system of claim 93, wherein an intersection of said surface of said predetermined sphere and a vector extending from said origin of said first set of coordinate axes in a direction specified by said fist set of coordinate values substantially approximates said location of said first point.

95. The system of claim 93, wherein said location of said first point on said surface of said predetermined sphere corresponds to said first set of coordinate values.

96. The system of claim 95, wherein said information identifying said location of said first point includes an index value and one or more mapping values.

97. The system of claim 96, wherein said index value is usable to select a first set of intermediate surface normal data from a plurality of sets of intermediate surface normal data.

98. The system of claim 97, wherein said one or more mapping values are usable to generate decompressed surface normal data from said first set of intermediate surface normal data.

99. The system of claim 97, wherein said plurality of sets of intermediate surface normal data are a plurality of sets of coordinate values corresponding to a plurality of points located in a predetermined surface region of said predetermined sphere, and wherein said first set of intermediate surface normal data is a first set of intermediate coordinate values corresponding to a second point in said predetermined surface region.

100. The system of claim 99, wherein said one or more mapping values are usable to generate a final set of coordinate values from said first set of intermediate coordinate values, wherein said final set of coordinate values are approximately equal to said first set of coordinate values.

101. The system of claim 100, wherein said one or more mapping values include a first mapping value and a second mapping value.

102. The system of claim 101 wherein said first mapping value specifies a permutation of coordinate magnitude values within said first set of intermediate coordinate values usable to generate magnitudes of said final set of coordinate values.

103. The system of claim 102, wherein said second mapping value specifies one or more sign bits of said final set of coordinate values.

104. The system of claim 101, wherein said predetermined surface region is a predetermined sextant region of a predetermined octant region.

105. The system of claim 104, wherein said first mapping value is a sextant value specifying a first sextant within said predetermined octant region, wherein said sextant value is usable to permute an order of said intermediate coordinate magnitude values in order to generate magnitudes of said final set of coordinate values.

106. The system of claim 105, wherein said second mapping value is an octant value specifying a first octant of said predetermined sphere, wherein said octant value is usable to specify one or more sign bits of said final set of coordinate values.

107. The system of claim 99, wherein said index value includes a plurality of index component values usable to specify a location of said second point within said predetermined surface region.

108. The system of claim 107, wherein said plurality of index component values includes a first angular index component and a second angular index component, wherein said first angular index component is a latitude value of said second point within said predetermined surface region, and wherein said second angular index component is a longitude value of said second point within said predetermined surface region.

109. A memory media which stores program instructions for compressing a first surface normal corresponding to a graphical object, wherein said program instructions are executable to implement the steps of:

receiving first surface normal data which represents said first surface normal;

compressing said first three-dimensional surface normal data into a first number of bits by:

selecting a first subset of said first number of bits to indicate which one of a first plurality of symmetrical subsets of all possible three-dimensional normals includes said first three-dimensional surface normal, wherein said compressing produces compressed first surface normal data; and

storing said compressed first surface normal data.

110. The memory media of claim 109, wherein said compressing said first surface normal data includes utilizing geometric characteristics of said first surface normal.

111. The memory media of claim 109, wherein said compressing includes delta-encoding said first surface normal data relative to previously specified surface normal data.

112. A memory media which stores program instructions for compressing a three-dimensional first surface normal corresponding to a graphical object, wherein said program instructions are executable to implement the steps of:

receiving first three-dimensional surface normal data which represents said first surface normal;

compressing said first surface normal data into a first number of bits by:

selecting a first subset of said first number of bits to indicate which one of a first plurality of symmetrical subsets of all possible three-dimensional normals includes said first three-dimensional surface normal, wherein said compressing produces compressed first surface normal data; and

transferring said compressed first surface normal data.

113. The memory media of claim 112, wherein said compressing sad first surface normal data includes utilizing geometric characteristics of said first surface normal.

114. The memory media of claim 112, wherein said compressing said first surface normal data includes encoding information identifying a location of a first point on a surface of a predetermined sphere, wherein said surface of said predetermined sphere represents all possible normalized three-dimensional normals.

115. A memory media which stores program instructions for compressing a first three-dimensional surface normal corresponding to a graphical object, wherein said program instructions are executable to implement the steps of:

receiving first three-dimensional surface normal data which represents said first three-dimensional surface normal;

compressing said first surface normal data by encoding information identifying a location of a first point on a surface of a predetermined sphere, wherein said surface of said sphere represents all possible three-dimensional surface normals, wherein said compressing produces compressed first surface normal data;

storing said compressed first surface normal data.

116. The memory media of claim 115, wherein said predetermined sphere is centered on an origin of a first set of coordinate axes which define a first coordinate space, and wherein said first surface normal data includes a first set of coordinate values.

117. The memory media of claim 115, wherein said information identifying said location of said first point includes an index value and one or more mapping values.

118. The memory media of claim 117, wherein said index value is usable to select an intermediate set of coordinate values from a plurality of predetermined sets of coordinate values, wherein said plurality of predetermined sets of coordinate values correspond to points located in a predetermined surface region of said predetermined sphere, and wherein said intermediate set of coordinate values corresponds to a second point located within said predetermined surface region.

119. The memory media of claim 118, wherein said index value includes a plurality of index component values, wherein each of plurality of index component values is indicative of an angular value usable to determine said location of said first point within said predetermined surface region of said predetermined sphere.

120. The memory media of claim 119, wherein said plurality of index component values includes a first angular index component and a second angular index component, wherein said first angular index component is a latitude value of said second point within said predetermined surface region, and wherein said second angular index component is a longitude value of said second point within said predetermined surface region.

121. The memory media of claim 118, wherein said one or more mapping values are usable to map said intermediate set of coordinate values to a final set of coordinate values, wherein said final set of coordinate values are substantially equal to said first set of coordinate values.

122. The memory media of claim 121, wherein said predetermined surface region is a predetermined sextant region of a predetermined octant region of said surface of said predetermined sphere.

123. The memory media of claim 122, wherein said one or more mapping values include a sextant value usable for permuting an order of said intermediate set of coordinate values to generate magnitudes of said final set of coordinate values.

124. The memory media of claim 122, wherein said one or more mapping values include an octant value usable for generating one or more sign bits of said final set of coordinate values.

125. A memory media storing a compressed representation of first surface normal data corresponding to a first three-dimensional surface normal, wherein said first three-dimensional surface normal corresponds to a graphical object, wherein said compressed representation is generated by compressing a first set of three-dimensional surface normal data into a first number of bits by:

selecting a first subset of said first number of bits to indicate which one of a first plurality of symmetrical subsets of all possible three-dimensional normals includes said first three-dimensional surface normal.

126. The memory media of claim 125, wherein said compressed representation is generated utilizing geometric characteristics of said first surface normal.

127. The memory media of claim 125, wherein said compressed representation is generated by encoding information identifying a location of a first point on a surface of a predetermined sphere.

128. The memory media of claim 127, wherein said information identifying said location of said first point includes an index value and one or more mapping values.

129. A system for compressing a first three-dimensional surface normal corresponding to a graphical object, comprising:

a receiving means for receiving first three-dimensional surface normal data which represents said first surface normal;

a compressing means for compressing said first surface normal data utilizing characteristics of said first surface normal, wherein said compressing produces compressed first surface normal data by compressing a first set of three-dimensional surface normal data into a first number of bits by selecting a first subset of said first number of bits to indicate which one of a first plurality of symmetrical subsets of all possible three-dimensional normals includes said first three-dimensional surface normal; and

a storing means for storing said compressed first surface normal data.

130. The system of claim 129, wherein said compressing means is configured to utilize geometric characteristics of said first surface normal in producing said compressed first surface normal data.

131. The system of claim 129, wherein said compressing means is configured to delta-encode said first surface normal data relative to previously specified surface normal data.

132. The system of claim 129, wherein said compressing means is configured to compress said first surface normal data by encoding information identifying a location of a first point on a surface of a predetermined sphere.

133. A system for compressing a first three-dimensional surface normal corresponding to a graphical object, comprising:

a receiving means for receiving first three-dimensional surface normal data which represents said first three-dimensional surface normal;

a compressing means for compressing said first surface normal data by compressing a first set of three-dimensional surface normal data into a first number of bits by selecting a first subset of said first number of bits to indicate which one of a first plurality of symmetrical subsets of all possible three-dimensional normals includes said first three-dimensional surface normal, wherein said compressing produces compressed first surface normal data; and

a transferring means for storing said compressed first surface normal data.

134. The system of claim 133, wherein said compressing means is configured to utilize geometric characteristics of said first surface normal in producing said compressed first surface normal data.

135. The system of claim 133, wherein said compressing means is configured to delta-encode said first surface normal data relative to previously specified surface normal data.

136. The system of claim 133, wherein said compressing means is configured to compress said first surface normal data by encoding information identifying a location of a first point on a surface of a predetermined sphere.

137. A computer-implemented method for compressing a first three-dimensional vector, comprising:

receiving data corresponding to said first three-dimensional vector;

compressing said data corresponding to said first three-dimensional vector by encoding information identifying a location of a first point on a surface of a predetermined sphere, wherein said compressing produces compressed three-dimensional vector data, and wherein said predetermined sphere represents all possible three-dimensional surface normals;

storing said compressed three-dimensional vector data.

138. The method of claim 137, wherein said predetermined sphere is centered on an origin of a first set of coordinate axes which define a first coordinate space, and wherein said data corresponding to said first three-dimensional vector includes a first set of coordinate values.

139. The method of claim 138, wherein said location of said first point is approximated by an intersection of said surface of said predetermined sphere and a vector extended from said origin of said first set of coordinate axes in a direction specified by said first three-dimensional vector.

140. The method of claim 138, wherein said location of said first point on said surface of said predetermined sphere is specified by said fat set of coordinate values.

141. The method of claim 140, wherein said compressing said data corresponding to said first three-dimensional vector includes specifying an index value and one or more mapping values.

142. The method of claim 141, wherein said index value is usable to select an intermediate set of coordinate values from a plurality of predetermined sets of coordinate values, wherein said intermediate set of coordinate values correspond to a second point on said surface of said predetermined sphere.

143. The method of claim 142, wherein each of said plurality of predetermined sets of coordinate values correspond to a point within a predetermined surface region of said predetermined sphere.

144. The method of claim 142, wherein said one or more mapping values are usable to generate magnitudes of a final set of coordinate values from said intermediate get of coordinate values, wherein said final set of coordinate values correspond to said first point.

145. The method of claim 144, wherein said predetermined surface region of said predetermined sphere is a predetermined sextant region of a predetermined octant region.

146. The method of claim 144, wherein said one or more mapping values include an octant value for specifying one or more sign bits of components of said first three-dimensional vector.

147. The method of claim 144, wherein said one or more mapping values include a sextant value which is usable to permute coordinate components of said intermediate set of coordinate values in order to generate said magnitudes of said final set of coordinate values.

Описание

[1]

This application is a divisional of U.S. patent application Ser. No. 08/511,294, filed Aug. 4, 1995, entitled “Method and Apparatus for Geometric, Compression of Three-Dimensional Graphics Data”, by Michael F. Deering now U.S. Pat. No. 5,793,371.

FIELD OF THE INVENTION

[2]

The present invention relates generally to compressing three-dimensional graphics data, and more particularly to methods and apparatuses that provide lossy high compression ratios for three-dimensional geometry compression.

BACKGROUND OF THE INVENTION

[3]

Modern three-dimensional computer graphics use geometry extensively to describe three-dimensional objects, using a variety of graphical representation techniques. Computer graphics find wide use in applications ranging from computer assisted design (“CAD”) programs to virtual reality video games. Complex smooth surfaces in of objects can be succinctly represented by high level abstractions such as trimmed non-uniform rational splines (“NURBs”), and often detailed surface geometry can be rendered using texture maps. But adding more realism requires raw geometry, usually in the form of triangles. Position, color, and normal components of these triangles are typically represented as floating point numbers, and describing an isolated triangle can require upwards of 100 bytes of storage space.

[4]

Understandably, substantial space is necessary for three-dimensional computer graphics objects to be stored, e.g., on a computer hard disk or compact disk read-only memory (“CD-ROM”). Similarly, considerable time in necessary for such objects to be transmitted, e.g., over a network, or from disk to main memory.

[5]

Geometry compression is a general space-time trade-off, and offers advantages at every level of a memory/interconnect hierarchy. A similar systems problem exists for storage and transmission of two-dimensional pixel images. A variety of lossy and lossless compression and decompression techniques have been developed for two-dimensional pixel images, with resultant decrease in storage space and transmission time. Unfortunately, the prior art does not include compression/decompression techniques appropriate for three-dimensional geometry, beyond polygon reduction techniques. However, the Ph.D. thesis entitled Compressing the X Graphics Protocol by John Danskin, Princeton University, 1994 describes compression for two-dimensional geometry.

[6]

Suitable compression can greatly increase the amount of geometry that can be cached, or stored, in the fast main memory of a computer system. In distributed networked applications, compression can help make shared virtual reality (“VR”) display environments feasible, by greatly reducing transmission time.

[7]

Most major machine computer aided design (“MCAD”) software packages, and many animation modeling packages use constructive solid geometry (“CSG”) and free-form NURBS to construct and represent geometry. Using such techniques, regions of smooth surfaces are represented to a high level with resulting trimmed polynomial surfaces. For hardware rendering, these surfaces typically are pre-tessellated in triangles using software before transmission to rendering hardware. Such software pre-tessellation is done even on hardware that supports some form of hardware NURBS rendering.

[8]

However, many advantages associated with NURBS geometric representation are for tasks other than real-time rendering. These non-rendering tasks include representation for machining, interchange, and physical analysis such as simulation of turbulence flow. Accurately representing trimming curves for NURBS is very data intensive, and as a compression technique, trimmed NURBS can not be much more compact than pre-tessellated triangles, at least at typical rendering tessellation densities. Finally, not all objects are compactly represented by NURBS. Although many mechanical objects such as automobile hoods and jet turbine blades have large, smooth areas where NURBS representations can be advantageous, many objects do not have such areas and do not lend themselves to such representation. Thus, while NURBS will have many applications in modelling objects, compressed triangles will be far more compact for many classes of application objects.

[9]

Photo-realistic batch rendering has long made extensive use of texture map techniques to compactly represent fine geometric detail. Such techniques can include color texture maps, normal bump maps, and displacement maps. Texture mapping works quite well for large objects in the far background, e.g., clouds in the sky, buildings in the distance. At closer distances, textures work best for three-dimensional objects that are mostly flat, e.g., billboards, paintings, carpets, marble walls, and the like. More recently, rendering hardware has begun to support texture mapping, and real-time rendering engines can also apply these techniques.

[10]

However, texture mapping results in a noticeable loss of quality for nearby objects that are not flat. One partial solution is the “signboard”, in which a textured polygon always swivels to face the observer. But when viewed in stereo, especially head-tracked VR stereo, nearby textures are plainly perceived as flat. In these instances, even a lower detail but fully three-dimensional polygonal representation of a nearby object would be much more realistic.

[11]

Polyhedral representation of geometry has long been supported in the field of three-dimensional raster computer graphics. In such representation, arbitrary geometry is expressed and specified typically by a list of vertices, edges, and faces. As noted by J. Foley, et al. in Computer Graphics: Principles and Practice, 2nd ed., Addison-Wesley, 1990, such representations as winged-edge data structures were designed as much to support editing of the geometry as display. Vestiges of these representations survive today as interchange formats, e.g., Wavefront OBJ. While theoretically compact, some compaction is sacrificed for readability by using ASCII data representation in interchange files. Unfortunately, few if any of these formats can be directly passed as drawing instructions to rendering hardware.

[12]

Another historical vestige in such formats is the support of N-sided polygons, a general primitive form that early rendering hardware could accept. However, present day faster rendering hardware mandates that all polygon geometry be reduced to triangles before being submitted to hardware. Polygons with more than three sides cannot in general be guaranteed to be either planar or convex. If quadrilaterals are accepted as rendering primitives, it is to be accepted that they will be arbitrarily split into a pair of triangles before rendering.

[13]

Modern graphics languages typically specify binary formats for the representation of collections of three-dimensional triangles, usually as arrays of vertex data structures. Thus, PHIGS PLUS, PEX, XGL, and proposed extensions to OpenGL are of this format form, and will define the storage space taken by executable geometry.

[14]

It is known in the art to isolate or chain triangles in “zigzag” or “star” strips. For example, Iris-GL, XGL, and PEX 5.2 define a form of generalized triangle strip that can switch from a zigzag to star-like vertex chaining on a vertex-by-vertex basis, but at the expense of an extra header word per vertex in XGL and PEX. A restart code allows multiple disconnected strips of triangles to be specified within one array of vertices.

[15]

In these languages, all vertex components (positions, colors, normals) may be specified by 32-bit single precision IEEE floating point numbers, or 64-bit double precision numbers. The XGL, IrisGL, and OpenGL formats also provide some 32-bit integer support. The IrisGL and OpenGL formats support vertex position component inputs as 16-bit integers, and normals and colors can be any of these as well as 8-bit components. In practice, positions, colors, and normals can be quantized to significantly fewer than 32 bits (single precision IEEE floating point) with little loss in visual quality. Such bit-shaving may be utilized in commercial three-dimensional graphics hardware, providing there is appropriate numerical analysis support.

[16]

In summation, there is a need for graphics compression that can compress three-dimensional triangles, and whose format may be directly passed as drawing instructions to rendering hardware. Preferably such compression should be readily implementable using real-time hardware, and should permit decompression using software or hardware.

[17]

The present invention discloses such compression.

SUMMARY OF THE PRESENT INVENTION

[18]

According to the present invention, geometry is first represented as a generalized triangle mesh, which structure allows each instance of a vertex in a linear stream preferably to specify an average of between ⅓ triangle and 2 triangles. Individual positions, colors, and normals are quantized, with a variable length compression being applied to individual positions, colors, and normals. Quantized values are delta-compression encoded between neighbors to provide vertex traversal orders, and mesh buffer references are created. Histograms of delta-positions, delta-normals and delta-colors are created, after which variable length Huffman tag codes, as well as delta-positions, delta-normals and delta-colors are created. The compressed output binary stream includes the output Huffman table initializations, ordered vertex traversals, output tags, and the delta-positions, delta-normals, and delta-colors.

[19]

Decompression reverses this process. The decompressed stream of triangle data may then be passed to a traditional rendering pipeline, where it can be processed in full floating point accuracy, and thereafter displayed or otherwise used.

[20]

Other features and advantages of the invention will appear from the following description in which the preferred embodiments have been set forth in detail, in conjunction with the accompanying drawings.

BRIEF DESCRIPTION OF THE DRAWINGS

[21]

FIG. 1 depicts a generalized network system over which three-dimensional graphics compressed according to the present invention may be transmitted, and decompressed for user viewing;

[22]

FIG. 2 depicts a generalized triangular mesh data structure, and generalized mesh buffer representation of surface geometry, according to the present invention;

[23]

FIG. 3 depicts six-way sign-bit and eight-way octant symmetry in a unit sphere, used to provide forty-eight way reduction in table look-up size, according to the present invention;

[24]

FIG. 4A depicts a vertex command in a geometry compression instruction set, according to the present invention;

[25]

FIG. 4B depicts a normal command in a geometry compression instruction set, according to the present invention;

[26]

FIG. 4C depicts a color command in a geometry compression instruction set, according to the present invention;

[27]

FIG. 4D depicts a mesh buffer reference command in a geometry compression instruction set, according to the present invention;

[28]

FIG. 4E depicts a set state instruction in a geometry compression instruction set, according to the present invention;

[29]

FIG. 4F depicts a set table command instruction in a geometry compression instruction set, according to the present invention;

[30]

FIG. 4G depicts a pass through command instruction in a geometry compression instruction set, according to the present invention;

[31]

FIG. 4H depicts a variable length no-op command instruction in a geometry compression instruction set, according to the present invention;

[32]

FIG. 4I depicts tag and Δ-position data structure, according to the present invention;

[33]

FIGS. 4J-1 and 4J-2 depict alternative tag and Δ-normal data structure, according to the present invention;

[34]

FIG. 4K depicts tag and Δ-color data structure, according to the present invention;

[35]

FIG. 5 is a flowchart of method steps in a geometry compression algorithm, according to the present invention;

[36]

FIG. 6 is a block diagram of decompressor hardware, suitable for use with the present invention;

[37]

FIG. 7 is a detailed overall block diagram of a decompressor unit suitable for decompressing data compressed according to the present invention;

[38]

FIG. 8 is a detailed block diagram of the input block shown in FIG. 7;

[39]

FIG. 9 is a detailed block diagram of the barrel shifter unit shown in FIG. 7;

[40]

FIG. 10 is a detailed block diagram of the position/color processor unit shown in FIG. 7;

[41]

FIG. 11A is a detailed block diagram of the normal processor unit shown in FIG. 7;

[42]

FIG. 11B is a detailed block diagram showing the decoder, fold, and ROM look-up components associated with the normal processor unit of FIG. 11A;

[43]

FIG. 12 is a block diagram showing interfaces to a mesh buffer, as shown in FIG. 10 and/or FIG. 11A;

[44]

FIG. 13A depicts interfaces to Huffman tables;

[45]

FIG. 13B depicts a preferred format for entry of the Huffman table data;

[46]

FIG. 14A depicts a vertex instruction;

[47]

FIG. 14B depicts vertex component data formats;

[48]

FIG. 14C depicts the format for the set normal instruction;

[49]

FIG. 14D depicts a set color instruction;

[50]

FIG. 14E depicts a mesh buffer reference instruction;

[51]

FIG. 14F depicts a set state instruction;

[52]

FIG. 14G depicts a set table instruction;

[53]

FIG. 14H depicts a passthrough instruction;

[54]

FIG. 14I depicts a variable-length NOP instruction; and

[55]

FIG. 14J depicts a skip 8 instruction.

DETAILED DESCRIPTION OF THE PREFERRED EMBODIMENT

[56]

A graphics compressor according to the present invention may be used to reduce the space needed to store three-dimensional graphics object, e.g., on a CD-ROM or the like, as well as to reduce the time needed to transmit a compressed three-dimensional graphics object, for example over a network. Before describing three-dimensional graphics compression per se, the overall environment in which the present invention may be practiced will be described with respect to FIG. 1.

[57]

FIG. 1 depicts a generalized network with which three-dimensional compression according to the present invention may advantageously be used, to decrease storage space and to decrease time to transmit compress three-dimensional graphics objects. Of course, three-dimensional graphics compression according to the present invention may be used in other environments as well, e.g., to reduce requirements to store three-dimensional graphics on CD-ROMs, to compress data in real-time, for example, in an interactive television environment.

[58]

As shown in FIG. 1, a source of three-dimensional graphics data 10 may be coupled to a server or encoder system 20 whose processed and compressed output is coupled over one or more networks 30 to one or more target clients or decoder systems 40. The network may be homogeneous, heterogeneous, or point-to-point.

[59]

Server 20 includes a central processing unit 50 that includes a central processor unit per se (“CPU”) 60 with associated main memory 70, a mesh buffer 80, a memory portion 90 that preferably contains an algorithm used to implement compression according to the present invention, and a region of read-only-memory (“ROM”) 100. ATTACHMENT 1 is a copy of a code listing for a preferred embodiment of a compression algorithm, according to the present invention. Alternatively, compression according to the present invention may be carried out in hardware as opposed to software.

[60]

Server 20 also includes a three-dimensional graphics compression unit 60, whose compressed output data is arranged by a disk layout unit 70 for storage onto storage disk unit 80, which may include one or more CD-ROMs. The server communicates over the network(s) 30 via network interface unit 110. Those skilled in the art will appreciate that server 20 may include a mechanism for arbitrating between a plurality of client-decoder requests for compressed data.

[61]

It is to be understood that the compressed three-dimensional graphics data on video disk or CD-ROM 80 need not be transmitted over a network. Disk or CD-ROM 80 may, for example, be mailed to a user wishing to access the compressed three-dimensional graphics information stored thereon. However, if transmitted, e.g., over a network, transmission time will be advantageously reduced because the compression substantially reduces the bit-size of the file to be transmitted. Lossy compression of three-dimensional geometric data according to the present invention can produce ratios of six:one to ten:one, with little loss in displayed object quality. Further, such compression can be included at relatively low cost into real-time three-dimensional rendering hardware, or can instead be implemented using purely software techniques. In a network environment, at the receiving end, decoder systems(s) 40 include a central processing system 150 that includes a CPU 160, memory 170, a portion of which 180 may include decompression software, and ROM 190. Three-dimensional graphics that have been compressed with the present invention may advantageously be decompressed using software, hardware, or a combination of each.

[62]

Decoder 40 further includes a network interface unit 120, a unit 130 that decompresses three-dimensional graphics data, and whose output is coupled to a three-dimensional graphics rendering unit 140. The thus-decompressed three-dimensional graphics image(s) may then be coupled to a viewer 200, or to another system requiring the decompressed graphics. Of course, unit 40 may be a standalone unit, into which three-dimensional graphics data, precompressed according to the present invention, may be coupled for decompression. Unit 40 may, for example, comprise a computer or workstation.

[63]

Applicant's patent application Ser. No. 08/511,294 filed Aug. 4, 1995, entitled METHOD AND APPARATUS FOR DECOMPRESSION OF COMPRESSED GEOMETRIC THREE-DIMENSIONAL GRAPHICS DATA, assigned to the assignee here, discloses a preferred method and system for decompressing data that has been compressed according to the present invention. Attached hereto as ATTACHMENT 2 is a code listing of a decompression algorithm with which such decompression may preferably be implemented.

[64]

The operation of three-dimensional graphics compression unit 60 will now be described. In the present invention, the first stage of geometry compression converts triangle data into an efficient linear strip form, namely a generalized triangle mesh. For a given fixed capacity of storage medium 80, a triangle mesh data structure is a near-optimal representation of triangle data. In the preferred embodiment, three-dimensional graphics object may be represented as three-dimensional triangular data, whose format after conversion causes each linear strip vertex, on average, to specify from about ⅓ triangles to about 2 triangles.

[65]

Further, a generalized triangle strip structure permits compact representation of geometry while maintaining a linear data structure. Stated differently, the compressed geometry can be extracted by a single monotonic scan over the vertex array data structure. This feature is advantageous for pipelined hardware implementations.

[66]

FIG. 2 depicts a generalized triangle mesh data structure, and generalized mesh buffer representation of surface geometry. Such a mesh data structure may be used in three-dimensional geometry compression, although by confining itself to linear strips, a generalized triangle strip format wastes a potential factor of two in space.

[67]

The geometry shown in FIG. 2, for example, can be represented by one triangle strip, but many interior vertices will appear twice in the strip.

[68]

In FIG. 2, a generalized triangle strip may be defined as follows, where the R denotes restart, 0 denotes replace oldest, M denotes replace middle, and a trailing letter p denotes push into mesh buffer. The number following a capital letter is a vertex number, and a negative number is the mesh buffer reference, in which −1 denotes the most recent pushed vertex.

[69]

R6, O1, O7, O2, O3, M4, M8, O5, O9, O10, M11

[70]

M17, M16, M9, O15, O8, O7, M14, O13, M6, O12, M18, M19, M20, M14, O21, O15, O22, O16, O23, O17, O24, M30, M29, M28, M22, O21, M20, M27, O26, M19, O25, O18

[71]

Using the same nomenclature, a generalized triangle mesh may be defined as follows:

[72]

R6p, O1, O7p, O2, O3, M4, M8p, O5, O9p, O10, M11, M17p, M16p, M−3, O15p, O-5, O6, M14p, O13p, M9, O12, M18p, M19p, M20p, M−5, O21p, O-7, O22p, O-9, O23, O-10, O-7, M30, M29, M28, M-1, O-2, M-3, M27, O26, M-4, O25, O-5

[73]

It is to be noted that a vertex reference advantageously can be considerably more compact (e.g., be represented by fewer bits) than a full vertex specification.

[74]

Geometry compression according to the present invention explicitly pushes old vertices (e.g., vertices with a trailing letter “p” above) into a queue associated with mesh buffer memory 80 (see FIG. 1). These old vertices will later be explicitly referenced when the old vertex is desired again. This approach provides a fine control that supports irregular meshes of nearly any shape. In practice, buffer memory 80 has finite length, and in the preferred embodiment a maximum fixed queue length of 16 is used, which requires a 4-bit index. As used herein, the term “mesh buffer” shall refer to this queue, and the expression “generalized triangle mesh” will refer to a combination of generalized triangle strips and mesh buffer references.

[75]

The fixed size of mesh buffer 80 requires all tessellators/re-strippers for compressed geometry to break-up any runs longer than sixteen unique references. However, as geometry compression typically will not be programmed directly at the user level but rather by sophisticated tessellators/reformatters, this restriction is not onerous. Sixteen old vertices can in fact permit avoiding re-specification of up to about 94% of the redundant geometry.

[76]

FIG. 2 also is an example of a general mesh buffer representation of surface geometry. Geometry compression language supports the four vertex replacement codes of generalized triangle strips, namely: replace oldest, replace middle, restart clockwise, and restart counterclockwise. Further, the language adds an additional bit in each vertex header to indicate whether or not this vertex should be pushed into the mesh buffer. In the preferred embodiment, the mesh buffer reference command has a 4-bit field to indicate which old vertex should be re-referenced, along with the 2-bit vertex replacement code. Mesh buffer reference commands do not contain a mesh buffer push bit; old vertices can only be recycled once.

[77]

In practice, geometry rarely is comprised purely of positional data. In general, a normal, and/or color, and/or texture map coordinate are also specified per vertex. Accordingly, in the preferred embodiment, entries into mesh buffer 80 contain storage for all associated per-vertex information, specifically including normal and color and/or texture map coordinate.

[78]

For maximum storage space efficiency, when a vertex is specified in the data stream, per vertex normal and/or color information preferably is directly bundled with the position information. Preferably, such bundling is controlled by two state bits: bundle normals with vertices (BNV), and bundle colors with vertices (BCV). FIG. 4E depicts a command structure including bits, among others. When a vertex is pushed into the mesh buffer, these bits control if its bundled normal and/or color are pushed as well.

[79]

It should be noted that compression according to the present invention is not limited to triangles, and that vectors and dots may also be compressed. Lines, for example, are a subset of triangles, in which replacement bits are MOVE and DRAW. An output vertex is then a vertex that represents one end point of a line whose other vertex is the most recently, previously omitted vertex. For dots, the replacement bits are DRAW, and an output vertex is the vertex.

[80]

When CPU 52 executes a mesh buffer reference command, this process is reversed. That is, the two bits specify whether a normal and/or color should be inherited, or read, from the mesh buffer storage 80, or obtained from the current normal or current color. Software 58 preferably includes explicit commands for setting these two current values. An exception to this rule exists, however, when an explicit “set current normal” command is followed by a mesh buffer reference, with the BNV state bit active. In this situation, the former overrides the mesh buffer normal, to allow compact representation of hard edges in surface geometry. Analogous semantics are also defined for colors, allowing compact representation of hard edges in surface colors.

[81]

Two additional state bits control the interpretation of normals and colors when the stream of vertices is converted into triangles. A replicate normals over triangle (RNT) bit indicates that the normal in the final vertex that completes a triangle should be replicated over the entire triangle. A replicate colors over triangle (RCT) bit is defined analogously, as shown in the command structure of FIG. 4E.

[82]

Compression of image xyz positions will now be described. Use of the 8-bit exponent associated with 32-bit IEEE floating-point numbers allows positions to range in size from sub-atomic particles to billions of light years. But for any given tessellated object, the exponent is actually specified just once by a current modeling matrix, and object geometry is effectively described within a given modeling space using only a 24-bit fixed-point mantissa. In many cases far fewer bits are needed for visual acceptance. Thus applicant's geometry compression language supports variable quantization of position data down to one bit.

[83]

At the other extreme, empirical visual tests as well as well as consideration of semiconductor hardware implementation indicate that no more than 16 bits of precision per component of position is necessary for nearly all cases.

[84]

Assume, however, that the position and scale of local modeling space per object are specified by full 32-bit or 64-bit floating-point coordinates. Using sufficient numerical care, multiple such modeling spaces may be combined together to form seamless geometry coordinate systems with much greater than 16-bit positional precision.

[85]

Most geometry is local. Thus, within a 16-bit (or less) modeling space for each object, the difference (Δ) between adjacent vertices in the generalized mesh buffer stream is likely to be less than 16 bits in significance. If desired, one may construct a histogram representing bit length of neighboring position delta's in a batch of geometry, and based upon this histogram assign a variable length code to compactly represent the vertices. As will be described, preferably customized Huffman coding is used to encode for the positional delta's in the geometry compression.

[86]

Compression of red-blue-green-alpha (“RBGA”) colors will now be described. Color data are treated similarly to positions, but with a smaller maximum accuracy. Thus, RGBA color data are first quantized to 12-bit unsigned fraction components that are absolute linear reflectivity values (in which 1.0 represents 100% reflectivity). An additional parameter allows color data effectively to be quantized to any amount less than 12 bits. By way of example, colors may all be within a 5—5—5 RGB color space, as shown in FIG. 4C. The optional α field is controlled by a color a present (“CAP”) state bit shown in FIG. 4E. On the final rendered image individual pixel colors are still interpolated between the quantized vertex colors, and also typically are subject to lighting.

[87]

As a design decision, it was decided to use the same delta-coding for color components as is used for positions. The area of color data compression is where geometry compression and traditional image compression confront the most similar problems. However, many advanced image compression techniques were avoided for geometry color compression because of the difference in focus.

[88]

For example, the JPEG image compression standard relies upon assumptions about viewing of the decompressed data that cannot be made for geometry compression. For example, in image compression, it is known a priori that the pixels appear in a perfectly rectangular array, and that when viewed, each pixel subtends a narrow range of visual angles. By contrast, in geometry compression, the relationship between the viewer and the rasterized geometry is unpredictable.

[89]

In image compression, it is known that the spatial frequency of the displayed pixels upon on the viewer's eyes is likely higher than the color acuity of the human visual system. For this reason, colors are commonly converted to YUV space so that the UV color components can be represented at a lower spatial frequency than the Y (intensity) component.

[90]

Usually digital bits representing sub-sampled UV components are divided among two or more pixels. However, geometry compression cannot take advantage of this because there is no fixed display scale of the geometry relative to the viewer's eye. Further, given that compressed triangle vertices are connected to four to eight or more other vertices in the generalized triangle mesh, there is no consistent way of sharing “half” the color information across vertices.

[91]

Similar arguments apply for the more sophisticated transforms used in traditional image compression, such as the discrete cosine transform. These transforms assume a regular (rectangular) sampling of pixel values, and require a large amount of random access during decompression.

[92]

It is known in the art to use pseudo-color look-up tables, but such tables would required a fixed maximum size, and would represent a relatively expensive resource for real-time processing. While pseudo-color indices could yield slightly higher compression ratios for certain scenes, the RGB model is more generalized and considerably less expensive to implement.

[93]

In the RGB model used in the present invention, RBG values are represented as linear reflectance values. Theoretically, if all effects of lighting could be known a priori, one or two representation bits could be dropped if the RGB components had been represented in a nonlinear, or perceptually linear space (sometime referred to as gamma corrected space). In practice, lighting effects tend not to be predictable, and on-the-fly conversion from nonlinear light to linear light would require considerable hardware resources.

[94]

The compression of surface normals will now be described. Traditionally 96-bit normals (three 32-bit IEEE floating-point numbers) were used in calculations to determine 8-bit color intensities. Theoretically, 96 bits of information could be used to represent 296different normals, spread evenly over the surface of a unit sphere. The resultant extremely high accuracy represents a normal projecting in any direction every 2−46radians.

[95]

But for IEEE floating-point normalized normals, the exponent bits are effectively unused. Given the constraint Nx2+Ny2+Nz2=1, at least one of Nx, Ny, or Nzmust be in the 0.5 to 1.0 range. During rendering, this normal will be transformed by a composite modeling orientation matrix: Nx=Nx·T0,0+Ny·T0,1+Nz·T0,2Ny=Nx·T1,0+Ny·T1,1+Nz·T1,2Nz=Nx·T2,0+Ny·T2,1+Nz·T2,2

[96]

Assuming a typical implementation in which lighting is performed in world coordinates, the view transform is not involved in the processing of normals. If the normals have been pre-normalized, then to avoid redundant re-normalization of the normals, the composite modeling transformation matrix T is typically pre-normalized to divide out any scale changes. Thus:

[97]

T0,02+T1,02+T2,02=1, etc.

[98]

During normal transformation, floating-point arithmetic hardware effectively truncates all additive arguments to the accuracy of the largest component. The result is that for a normalized normal undergoing transformation by a scale preserving modeling orientation matrix, the numerical accuracy of the transformed normal value is reduced to no more than 24-bit fixed-point accuracy in all but a few special cases.

[99]

By comparison, even 24-bit normal components would still provide higher angular accuracy than the repaired Hubble space telescope. In practice, some systems utilize only 16-bit normal components are used. In empirical tests with 16-bit normal components, applicant determined that results from an angular density of 0.01 radians between normals were not visually distinguishable from finer representations. This was about 100,000 normals distributed over a unit sphere. In rectilinear space, these normals still require high representation accuracy and as a design choice 16-bit components including one sign and one guard bit were decided upon. This still requires 48 bits to represent a normal, but since only 100,000 specific normals are of interest, theoretically a single 17-bit index could denote any of these normals.

[100]

The use of normals as indices, and the resultant advantages provided will now be described. One method of converting an index of a normal on the unit sphere back into a Nx, Ny, Nzvalue is with a table look-up, the table being loaded into memory 70 perhaps. Although table size is potentially large, the requisite size can be substantially reduced by taking advantage of a 48-way symmetry present in the unit sphere.

[101]

More particularly, as shown by FIG. 3, the unit sphere is symmetrical by sign bits in the eight quadrants by sign bits. By allowing three of the normal representation bits to be the three sign bits of the xyz components of a normal, it then is only necessary to represent one eighth of the unit sphere.

[102]

As shown by FIG. 3, each octant of the unit sphere can be divided into six identical components by folding about the planes x=y, x=z, and y=z. The six possible sextants are encoded with another three bits, which leaves only {fraction (1/48)} of the sphere remains to be represented.

[103]

Utilizing the above-noted symmetry reduces the look-up table size by a factor of 8×6=48. Instead of storing 100,000 entries, the look-up table need store only about 2,000 entries, a size small enough to be an on-chip ROM look-up table, stored perhaps within ROM 59 (see FIG. 1). Indexing into the look-up table requires 11 address bits, which when added to the previously described two 3-bit fields results in a 17-bit field to describe all three normal components.

[104]

Representing a finite set of unit normals is equivalent to positioning points on the surface of the unit sphere. Although no perfectly equal angular density distribution exists for large numbers of points, many near-optimal distributions exist. Theoretically, a distribution having the above-described type of 48-way symmetry could be used for the decompression look-up table associated with the three-dimensional geometry decompression unit 130 (see FIG. 1).

[105]

However, several additional constraints mandate a different choice of encoding. First, a scalable density distribution is desired, e.g., a distribution in which setting in the look-up table more low order address bits to “0” still results in fairly even normal density on the unit sphere. Otherwise a different look-up table for every encoding density would be required. Secondly, a Δ-encodable distribution is desired in that adjacent vertices in geometry statistically have normals that are nearby on the surface of the unit sphere. Nearby locations on the two-dimensional space of the unit-sphere surface are most succinctly encoded by a two-dimensional offset. It is desirable to have a distribution in which such a metric exists. Finally, although computational costs associated with the normal encoding process are not critically important, distributions having lower encoding costs are still preferred.

[106]

For these reasons the present invention utilizes a distribution having a regular grid in the angular space within one sextant of the unit sphere. As such, rather than a monolithic 11-bit index, all normals within a sextant are advantageously represented with two 6-bit orthogonal angular addresses. This configuration then revises the previous bit-total to 18-bits. As was the case for positions and colors, if more quantization of normals is acceptable, these 6-bit indices can be reduced to fewer bits, and thus absolute normals can be represented using anywhere from 18 to as few as 6 bits. However, as described below, this space preferably is Δ-encoded to further reducing the number of bits required for high quality representation of normals.

[107]

Normal encoding parameterization will now be described. Points on a unit radius sphere are parameterized using spherical coordinates by angles θ and φ, where θ is the angle about the y axis and φ is the longitudinal angle from the y=0 plane. Equation (1) governs mapping between rectangular and spherical coordinates as follows:

[108]

x= cos θ. cos φy= sin φz= sin θ.cos φ  (1)

[109]

Points on the sphere are folded first by octant, and then by sort order of xyz into one of six sextants. All table encoding takes place in the positive octant in the region bounded by the half spaces:

[110]

x≳z z≳y y≳0

[111]

As shown in FIG. 3, the described triangular-shaped patch runs from 0 to π/4 radians in θ, and from 0 to a maximum 0.615479709 radians in φ.

[112]

Quantized angles are represented by two n-bit integers {circumflex over (θ)}nand {circumflex over (φ)}n, where n is in the range of 0 to 6. For a given n, the relationship between indices θ and φ is: Θ(Θ^n)=arcsin tan(ϕmax·(n-Θ^n)2nϕ(ϕ^n)=ϕmax·ϕ2n(2)

[113]

Equations (2) show how values of {circumflex over (θ)}nand {circumflex over (φ)}ncan be converted to spherical coordinates θ and φ, which in turn can be converted to rectilinear normal coordinate components via equation (1).

[114]

To reverse the process, e.g. to encode a given normal N into {circumflex over (θ)}nand {circumflex over (φ)}n, one cannot simply invert equation (2). Instead, the N must be first folded into the canonical octant and sextant, resulting in N′. Then N′ must be dotted with all quantized normals in the sextant. For a fixed n, the values of {circumflex over (θ)}nand {circumflex over (φ)}nthat result in the largest (nearest unity) dot product define the proper encoding of N. Other, more efficient methods for finding the correct values of {circumflex over (θ)}nand {circumflex over (φ)}nexist, for example indexing through the table to set φ, and then jumping into θ.

[115]

At this juncture, the complete bit format of absolute normals can be given. The uppermost three bits specify the octant, the next three bits the sextant, and finally two n-bit fields specify {circumflex over (θ)}nand {circumflex over (φ)}n. The 3-bit sextant field takes on one of six values, the binary codes for which are shown in FIG. 3.

[116]

Some further details are in order. The three normals at the corners of the canonical patch are multiply represented, namely 6, 8, and 12 times. By employing the two unused values of the sextant field, these normals can be uniquely encoded as 26 special normals.

[117]

This representation of normals is amenable to Δ-encoding, at least within a sextant, although with some additional work, this can be extended to sextants that share a common edge. The Δ code between two normals is simply the difference in {circumflex over (θ)}nand {circumflex over (φ)}n, namely Δ{circumflex over (θ)}nand Δ{circumflex over (φ)}n.

[118]

Applicant's use of compression tags will now be described. Many techniques are known for minimally representing variable-length bit fields but for the geometry compression according to the present invention, a variation of a conventional Huffman algorithm is used.

[119]

The Huffman compression algorithm takes in a set of symbols to be represented, along with frequency of occurrence statistics (e.g., histograms) of those symbols. From this, variable length, uniquely identifiable bit patterns are generated that allow these symbols to be represented with a near-minimum total number of bits, assuming that symbols do occur at the frequencies specified.

[120]

Many compression techniques, including JPEG, create unique symbols as tags to indicate the length of a variable-length data-field that follows. This data field is typically a specific-length delta value. Thus, the final binary stream consists of (self-describing length) variable length tag symbols, each immediately followed by a data field whose length is associated with that unique tag symbol.

[121]

In the present invention, the binary format for geometry compression uses this technique to represent position, normal, and color data fields. For geometry compression, these <tag, data> fields are immediately preceded by a more conventional computer instruction set op-code field. These fields, along with potential additional operand bits, will be referred to as geometry instructions (see FIGS. 4A-4K).

[122]

Traditionally, each to be compressed value is assigned its own associated label, e.g. an xyz Δ position would be represented by three tag-value pairs. But since the Δxyz values are not uncorrelated, a denser, simpler representation can be attained. In general, the xyz Δ's statistically point equally in all directions in space. Thus, if n is the number of bits needed to represent the largest of the Δ's, then statistically the other two Δ values require an average of n-1.4 bits for their representation. The preferred embodiment therefore uses a single field-length tag to indicate the bit length of Δx, Δy, and Δz. although other design choices could have been made.

[123]

Unfortunately, using this approach prevents taking advantage of another Huffman technique to save somewhat less than one more bit per component. However, the implemented embodiment outweighs this disadvantage by not having to specify two additional tag fields (for Δy and Δz). A further advantage is that using a single tag field permits a hardware decompression engine to decompress all three fields in parallel, if desired.

[124]

Similar arguments hold for A's of RGBA values, and. accordingly a single field-length tag is used to indicate bit-length of the R, G, B and, if present, α, fields.

[125]

Absolute and Δ normals are also parameterized by a single value (n) that can be specified by a single tag. To facilitate high-speed, low-cost hardware implementations, the length of the Huffman tag field was limited to six bits, a relatively small value. A 64-entry tag look-up table allows decoding of tags in one clock cycle. One table exists for positions, another table exists for normals, and yet another table exists for colors (and optionally, also for texture coordinates). Each table contains the length of the tag field, the length of the data field(s), a data normalization coefficient, and an absolute/relative bit.

[126]

For reasonable hardware implementation, an additional complication must be addressed. As described below, all instruction are broken-up into an eight-bit header, and a variable length body, sufficient information being present in the header to determine the body length. But the header of one instruction must be placed in the data stream before the body of the previous instruction to give the hardware time to process the header information. For example, the sequence . . . B0 H2B1 H2B2 H3. . . has to be encoded as . . . H1 B0 H2 B1 H3 B2. . . .

[127]

The geometry compression instruction set used in the preferred embodiment will now be described with respect to FIGS. 4A-4K. FIG. 4A depicts a vertex command that specifies a Huffman compressed Δ-encoded position, as well as possibly a normal and/or color, depending on bundling bits (BNV and BCV). Two additional bits specify a vertex replacement code (REP), and another bit controls mesh buffer pushing of this vertex (MBP).

[128]

As shown in FIG. 4B, a normal command specifies a new current normal and the color command shown in FIG. 4C depicts a new current color. The normal command and color command each use Huffman encoding of Δ values.

[129]

The mesh buffer reference command structure is shown in FIG. 4D. The mesh buffer reference command allows any of the sixteen most recently pushed vertices (and associated normals and/or colors) to be referenced as the next vertex. As further shown in FIG. 4D, A 2-bit vertex replacement (“REP”) code is also specified.

[130]

FIG. 4E depicts the set state instruction that updates the five state bits: RNT, RCT, BNV, BCV, and CAP.

[131]

FIG. 4F depicts a set table command, which is used to set entries to the entry value specified in one of the three Huffman decoding tables (Position, Normal, or Color).

[132]

FIG. 4G depicts a passthrough command that allows additional graphics state not controlled directly by geometry compression to be updated in-line.

[133]

FIG. 4H depicts a variable length no-op (“VNOP”) command that allows fields within the bit stream to be aligned to 32-bit word boundaries. This permits aligned fields to be efficiently patched at run-time by the general CPU 52.

[134]

FIGS. 4I, 4J and 4K respectively depict tag and Δ-position data structure, tag and Δ-normal data structure, and tag and Δ-color data structure.

[135]

Those skilled in the art will recognize that instruction sets other than what has been described above may instead be used to implement the present invention.

[136]

The ratio of the time required for compression relative to decompression is an important measure for many forms of compression. In practice, it is acceptable for off-line image compression to take up to perhaps sixty-times more time than decompression, but for real-time video conferencing, the ratio should be one.

[137]

Advantageously, geometry compression does not have this real-time requirement. Even if geometry is constructed on the fly, most geometry creating techniques, e.g., CSG, require orders of magnitude more time than needed for displaying geometry. Also, unlike continuous images found in movies, in most applications of geometry compression a compressed three-dimensional object will be displayed for many sequential frames before being discarded. Should the three-dimensional object require animating, animation is typically done with modeling matrices. Indeed for a CD-based game, it is quite likely that an object will be decompressed billions of times by customer-users, but will have been compressed only once by the authoring company.

[138]

Like some other compression systems, geometry compression algorithms can have a compression-time vs. compression-ratio trade-off. For a given quality target level, as allowable time for compression increases, the compression ratio achieved by a geometry compression system increases. There exists a corresponding “knob” for quality of the resulting compressed three-dimensional object, and lower the quality knob, the better the compression ratio achieved.

[139]

Aesthetic and subjective judgment may be applied to geometry compression. Some three-dimensional objects will begin to appear bad when target quantization of normals and/or positions is slightly reduced, whereas other objects may be visually unchanged even with a large amount of quantization. Compression can sometimes cause visible artifacts, but in other cases may only make the object look different, not necessarily lower in quality. In one experiment by applicant, an image of an elephant actually begin to appear more realistic, with more wrinkle-like skin, as the image normals were quantized more. Once a model has been created and compressed, it can be put into a library, to be used as three-dimensional clip-art at the system level.

[140]

While many aspects of geometry compression are universal, the above-described geometry compression instruction set has been somewhat tailored to permit low-cost, high-speed hardware implementations. (It is understood that a geometry compression format designed purely for software decompression would be somewhat different.). The preferred geometry compression instruction set is especially amenable to hardware implementation because of the one-pass sequential processing, limited local storage requirements, tag look-up (as opposed to a conventional Hamming bit-sequential processing), and use of shifts, adds, and look-ups to accomplish most arithmetic steps.

[141]

FIG. 5 is a flowchart outlining method steps in a geometry compression algorithm routine, according to the present invention. Such routine may be stored in memory 80 and executed under control of CPU 60 (see FIG. 1).

[142]

At step 200, an object is represented by an explicit group of triangles to be compressed, along with quantization thresholds for positions, normals, and colors. At step 210, a topological analysis of connectivity is made, and hard edges are marked in normals and/or color, if such information is not already present.

[143]

At step 220, vertex traversal order and mesh buffer references are created, and at step 230 histograms of Δ-positions, Δ-normals, and Δ-colors is created. At step. 240, separate variable length Huffman tag codes are assigned for the Δ-positions, Δ-normals, and Δ-colors, based upon histographs.

[144]

At step 250, a binary output stream is generated by first outputting Huffman table initialization, after which the vertices are traversed in order. Appropriate tags and Δ's are output for all values.

[145]

Applicant has implemented a Wavefront OBJ format compressor that supports compression of positions and normals, and creates full generalized triangle strips, but does not yet implement a full meshifying algorithm. Future embodiments will explore variable precision geometry, including fine structured updates of the compression tables. The present compressor expends time calculating geometric details already known to the tessellator, and ultimately it is hoped to generate compressed geometry directly. However, even its present unoptimized state, applicant's software can compress about 3,000 triangles/second in many cases.

[146]

At the user end, it is of course desirable to decompress the compressed data, and the above-referenced patent application describes a preferred manner of such decompression. An applicable geometry decompression algorithm is set forth in ATTACHMENT 2, and may be outlined as follows:

[147]

(1) Fetch the rest of the next instruction, and the first 8 bits of the following instruction;

[148]

(2) Using the tag table, expand any compressed value fields to full precision;

[149]

(3A) If values are relative, add to current value; otherwise replace;

[150]

(3B) If mesh buffer reference, access old values;

[151]

(3C) If other command, do housekeeping.

[152]

(4) If normal, pass index through ROM table to obtain full values.

[153]

(5) Output values in generalized triangle strip form to next stage.

[154]

Applicant has implemented a software decompressor that successfully decompresses compressed geometry at a rate of about 10,000 triangles/second. Hardware designs are in progress, a simplified block diagram can be seen in FIG. 6. The rate of hardware decompression may in the range of tens of millions of triangles/second.

[155]

Before describing decompression, it is helpful to examine the results of the above-described compression techniques. Table 1, shown below, describes these results for several graphical objects: a triceratops, a Spanish galleon, a Dodge Viper, a '57 Chevy, and an insect. Generally speaking, Table 1 shows that positional quantization much above 24 bits (from an original 32 bits per z/y/z coordinate) has no significant visible effects unless zooming is performed on the object. Positional quantization to 24 bits is denoted herein as “P72” (24×3). Furthermore, normal coordinates may be reduced from 96 bits (32 bits per coordinate) to as little as 36 bits (12 bits per coordinate) with little visible change. Normal quanitization to 12 bits per coordinate is denoted herein as “N36” (12×3). While the location of specular highlights may differ slightly with normal quanitzation, it is not visually apparent that such changes are reductions in quality.

[156]

Without zooming into the object, positional quantization much above 24-bits has essentially no significant visible effect. As the normal quantization is reduced, the positions of specular highlights on the surfaces are offset slightly. However, it is not visually apparent that such changes are reductions in quality, at least above 12 bits per normal. The quantization parameters were photographed with the objects, and otherwise even applicant could not distinguish between the original and most compressed versions of the same object.

[157]

Table 1 summarizes compression and other statistics for these objects. Column 1 notes the object in question, column 2 represents the number of A's, and column three the Δ-strip length. The fourth column represents system overhead per vertex (overhead being everything beyond position tag/data, and normal tag/data). The “xyz quant” column denotes quantization thresholds, and the sixth column depicts the number of bits/xyz. “Bits/tri” ninth column depicts bits per triangle.

[158]

The results in Table 1 are measured actual compression data except for estimated mesh buffer results, which are shown in parenthesis. No actual mesh buffer results were present in that applicant's prototype software compressor did not yet implement a full meshifying algorithm. The estimate (in parenthesis) assumes a 46% hit ratio in the mesh buffer.

[159]

In Table 1, the right-most column shows compression ratio performance achieved over existing executable geometry formats. Although total byte count of the compressed geometry is an unambiguous number, in stating a compression ratio some assumptions must be made about the uncompressed executable representation of the object. Applicant assumed optimized generalized triangle strips, with both positions and normals represented by floating-point values to calculate “original size” data for Table 1.

[160]

To demonstrate the effect of pure 16-bit fixed point simple strip representation, Table 1 also shows byte count for the mode of OpenGL. As shown, average strip length decreased in the range of 2-3. Few if any commercial products take advantage of generalized triangle strips, and thus Table 1 considerably understates potential memory space savings.

[161]

triceratops6,03915.97.54830.81816.855.9179,70442,1904.3X
(35.0)(28,380)(8.9X)
triceratops6,03915.97.53017.81211.038.0179,70427.1596.7X
(24.4)(18,388)(9.8X)
galleon5,57712.17.53021.91210.841.0169,08428,5366.0X
(27.2)(18,907)(9.0X)
Vipor58,20323.87.53820.11410.937.51,698,118272,130 6.3X
(25.0)(181,644) (9.4X)
57 Chevy31,78212.97.53317.31310.935.8958,180141,830 8.8X
(24.3)(98,281)(10.0X) 
insect283,7833.07.53922.81511.051.59,831,5281,896,283  5.8X
(33.9)(1,115,534)  (8.9X)

[162]

While certainly statistical variation exists between objects with respect to compression ratios, general trends are nonetheless noted. When compressing using the highest quality setting of the quantization knobs (P48/N18), compression ratios are typically about six. As ratios approach nearly then, most objects begin to show visible quantization artifacts.

[163]

In summation, geometry compression according to the present invention can represent three-dimensional triangle data with a factor of six to ten times fewer bits than required with conventional techniques. Applicant's geometry compression algorithm may be implemented in real-time hardware, or in software. For a fixed number of triangles, compression can minimize the total bit-size of the representation, subject to quality and implementation trade-offs. The resultant geometry-compressed image suffers only slight losses in object quality, and may be decompressed using software or hardware implementations. If three-dimensional rendering hardware contains a geometry decompression unit, application geometry may be stored in memory in compressed format. Further, data transmission may use the compressed format, thus improving effective bandwidth for a graphics accelerator system, including shared virtual reality display environments. The resultant compression can substantially increase the amount of geometry cacheable in main memory.

[164]

To promote a fuller understanding of the role of the present invention, especially in a compression-decompression system, decompression of data that have been compressed according to the present invention will now be described in detail. The following description of decompression is taken from applicant's earlier-referenced patent application.

[165]

FIG. 7 is a detailed block diagram of the decompressor unit 130, shown in FIG. 1. As shown in FIG. 7, unit 130 includes a decompression input first-in-first-out register (“FIFO”) 200 whose inputs include control signals and a preferably 32-bit or 64-bit data stream, which signals and data stream preferably come from an accelerator port data FIFO (“APDF”) in interface unit 120 (see FIG. 1). The APDF portion of interface 120 includes a controller that signals the size of the incoming data stream to unit 130. FIFO 200 provides output to an input block state machine 220 and to an input block 210, state machine 220 and input block unit 210 communicating with each other.

[166]

Output from block 210 is coupled to a barrel shifter unit 240 and to a Huffman table set 230, the output from the Huffman look-up being coupled to state machine 220. Opcode within state machine 220 processes the values provided by the Huffman tables 230 and outputs data to the barrel shifter unit 240. State machine 220 also provides an output to data path controller 260, which outputs a preferably 12-bit wide signal to a tag decoder unit 294 and also outputs data to the barrel shifter unit 240 and to a normal processor 270, and a position/color processor 280.

[167]

Barrel shifter unit 240 outputs to the normal processor 270 and to a position/color processor 280. The outputs from processors 270 and 280 are multiplexed by output multiplexer unit 290 into a preferably 48-bit wide signal that is provided to a format converter 292.

[168]

Decompression unit 130 generates a preferably 12-bit tag that is sent to tag decoder 294 in parallel with either 32-bits or 48-bits (for normals), that are sent to the format converter 292. These data streams provide instructions that generate output to format converter 292. A preferably 32-bit read-back path is used to read-back the state of the unit.

[169]

Table 2, below, shows interface signals used to implement a preferred embodiment of a decompression unit 130:

[170]

id_data64IData inputs from APDF
id_tag12IData on inputs is valid from APDF
fd_stall 1IStall signal from format converter
di_busy 1OBusy signal to status register
di_faf 1OFifo-almost-full signal-to-input FIFO
df_data48OData output to formal converter
df_tag12OTag output to tag decoder
du_context32OContext output to UPA section

[171]

Table 3, below, shows output data formats provided by unit 130. As described herein, vertex, mesh buffer reference, and passthrough instructions generate transactions from decompression unit 130. Vertex and mesh buffer reference instructions send data to the format converter, and each generates a header indicating vertex replacement policy for the current vertex, followed by component data. Each of these instructions always generates position data and, depending upon the value of the state register, may contain color or normal data. All three of the normal components preferably are sent in parallel, whereas each position and color component is separately sent. A passthrough instruction sends preferably 32-bits of data to the collection buffer.

[172]

Header32.
Positions.15
Colors.15
Normals1.14 (x3)
Passthrough32.

[173]

FIG. 8 is a detailed block diagram of the input block 210 depicted in FIG. 7. A preferably 64-bit input register 300 receives data from the APDF portion of interface 130, with 32-bits or 64-bits at a time being loaded into register 300. Register 300 outputs preferably 32-bits at a time via multiplexer 310 to a first barrel shifter 320 whose output passes through a register 330 into a merge unit 340. The 64-bit output from merge unit 340 is input to data register 350, part of whose output is returned as input to a second barrel shifter 360. The output from second barrel shifter 360 is passed through a register 370 and is also input to merge unit 340. First barrel shifter 320 aligns data to the tail of the bit-aligned data stream being recycled from data register 350 through second barrel shifter 360. The second barrel shifter 360 shifts-off the used bits from data register 350.

[174]

FIG. 9 is a detailed block diagram of barrel shifter unit 240, shown in FIG. 7. In overview, barrel shifter unit 240 expands the variable-length position, color, and normal index components to their fixed-point precisions. Data into unit 240 from unit 210 and/or 220 is input to a register 400 whose output is shown as defining opcode and/or data units 410, 420, 430, 440, 450, and 460, which are input to a multiplexer unit 470.

[175]

Multiplexer unit 470 input A is used for the X component of the vertex instruction, input B is used for the set normal instruction and the first component of the set color instructions, and input C is used for the remaining components of the vertex and set color instructions. Unit 240 further includes a barrel shift left register 480 coupled to receive tag_len data and to output to register 490, whose output in turn is input to a barrel shift right register 500 that is coupled to receive data_len data. Register 500 outputs to a mask unit 510 that is coupled to receive shift data and whose output is coupled to register 520, which outputs v_data. The output of data block 460 is coupled to a register 530 whose output is coupled to a second register 540, which outputs pt_data.

[176]

An appropriate table within Huffman tables 230 (see FIG. 7) provides values of tag_len, data_len, and shift into units 480, 500 and 510, respectively. Barrel shift left unit 480 shifts the input data left by 0 to 6 bits (tag_len), thus shifting off the Huffman tag. By contrast, barrel shift right register 500 shifts the data to the right by 0 to 16 bits (16 - data_len), and sign extends the data, thus bringing the data to its full size. Mask unit 510 masks off the lower ‘shift’ bits to clamp the data to the correct quantization level.

[177]

FIG. 10 depicts in greater block diagram detail the position/color processor unit 280, shown in FIG. 7. Processor unit 280 generates final position or color component values. As shown in FIGS. 7 and 9, processor unit 280 receives a preferably 16-bit value (v_data) from the barrel shifter unit 240, specifically mask unit 510 therein.

[178]

If the abs_rel bit from the Huffman table 230 is set to relative, the incoming data are added by combiner unit 600 to the appropriate current stored data. The new value passes through multiplexer 610, and is stored back into the register 620, and is sent along to the output multiplexer 290, shown in FIG. 7. However, if the abs_rel bit is set to absolute, the incoming data bypasses adder 600 is latched into the register 620, and is also sent out to the output multiplexer 290.

[179]

As shown in FIG. 10, the position/color processor unit 280 further includes a position/color mesh buffer 630 that is coupled to receive the input to register 620. The output from mesh buffer 630 is coupled to multiplexer gates, collectively 640, whose outputs reflect current values of x, y, z, r, g, b and α. A register set, collectively shown as 650, provides these current values to the input of a multiplexer 660, whose output is coupled to the adder 600. Processor unit 280 further includes a register 670 that receives and outputs pt_data from barrel shifter unit 240.

[180]

As shown in FIG. 7, normal processor unit 270 also outputs data to the output multiplexer 290. FIG. 11A depicts in detail the sub-units comprising normal processor unit 270. As seen in FIG. 7 and FIG. 9, the normal processor unit 270 receives an 18-bit normal index as three separate components: sextant/octant, u and v, or encoded Δu and Δv components from mask unit 510 in barrel shifter unit 240. If the value is a Δ-value (relative), the Δu and Δv are added to the current u and v values by respective adders 710. The intermediate values are stored and are also passed on to a fold unit 800 associated with decoder-fold-rom unit 272 (see FIG. 11B).

[181]

As shown in FIG. 11A, the normal processor unit 270 further includes registers 712, 714, 716, 718, 720, 722, 724, 726 which hold respective octant, sextant, u and v values, curr_oct, curr_sext, curr_u and curr_v values. Also present in unit 270 are multiplexers 740, 742, 744, 746, 748, 750, 752, 754, 756, 758 and 760, 1's complementing units 770, 772, latch-flipflop units 780, 782, 784 for holding respective v, u, and uv information, further adders 790, 792, and a normal mesh buffer 794 coupled to receive curr_normal input components.

[182]

With reference to FIGS. 11A and 11B, for an absolute reference, the u and v values are passed directly to fold unit 800. The octant and sextant portions of the index are sent to decoder 810, within unit 272. Decoder 810 controls multiplexer 820 (which select constants), as well as multiplexers 840, 842, 844, 860, 862, 864, which reorder components, and invert signs (using 2's complement units 850, 852, 854).

[183]

Fold unit 800 uses the u and v components of the normal index, from unit 270, to calculate the address into the normal look-up table ROM 830. The octant and sextant fields, from unit 270, drive a decoder 810 that determines sign and ordering of components output from the ROM look-up table 830. Decoder 810 also handles special case normals not included in the normal ROM look-up table 830.

[184]

FIG. 12 depicts interfaces to a mesh buffer, as shown in FIG. 10 and/or FIG. 11A. Preferably, mesh buffer 794 is implemented as a register file and a pointer to the current location. Data is input to the mesh buffer FIFO at the position of the current location pointer. However, random access to any of the 16 locations is allowed when reading the data out of the FIFO by indexing off this pointer: address=(curr_loc_ptr−index) mod 16.

[185]

FIG. 13A depicts interfaces to Huffman tables, e.g., tables 230 in FIG. 7. Huffman tables are used to decode the Huffman tags preceding the compressed data. Three Huffman tables are used: one for position, for color, and for normal data, with each table preferably holding 64 entries.

[186]

FIG. 13B depicts a preferred format for entry of position and color data in the Huffman tables, while FIG. 13C depicts the preferred format for normal table entries. The instruction format for loading the Huffman tables in the compressed data stream is described later herein.

[187]

Several instructions generate data for the format converter 292, shown in FIG. 7, and appropriate tags must be generated for this data so the format converter can correctly process the data. Table 4, below, shows tags generated for the different data components. The components that show two tags may set the launch bit, and the second tag shows the value with the launch bit set.

[188]

Header0x020
X0x011
Y0x012
Z0x013/0x413
Nx/Ny/Nz0x018/0x418
R0x014
G0x015
B0x016/0x416
A0x017/0x417
U0x0c0/0x4c0
V0x01c/0x41c

[189]

Input block state machine 220 (see FIG. 7) includes a preferably six-bit state register that holds information about the processing state of the decompression unit. Preferably, the following state bits are defined:

[190]

Bit 5: tex—Texture values in place of color

[191]

Bit 4: rnt—Replicate normal per vertex

[192]

Bit 3: rct—Replicate color per vertex

[193]

Bit 2: bnv—Normal bundled with vertex

[194]

Bit 1: bcv—Color bundled with vertex

[195]

Bit 0: cap—Color includes alpha (α)

[196]

Position/Color processor unit 280 (see FIGS. 7 and 10) preferably includes three 16-bit registers, curr_x, curr_y, and curr_z, which contain the current position components, X, Y, and Z, and are only updated by vertex instructions.

[197]

Normal processor unit 270 (see FIGS. 7 and 11A) preferably includes three six-bit registers, curr_oct, curr_sext, curr_u, curr_v) that contain the current normal. The first register holds the 3-bit sextant and octant fields, and the remaining two registers contain the u and v coordinates for the normal. These values are written using the set normal instruction, or they are updated by the vertex instruction if the bnv bit is set in the state register.

[198]

Position/color processor 280 further preferably includes four 16-bit registers, curr_r, curr_g, curr_b, curr_a, which contain the current color components, red, green, blue and alpha (α). These components are set using the se5t color instruction, or they are updated by the vertex instruction if the bcv bit is set in the state register. Preferably, alpha is valid only if the cap bit is set in the state register. The test bit is set when processing texture components, in which case only red and green are valid.

[199]

A preferred instruction set implementing decompression of data compressed according to the present invention will now be described. FIG. 14A depicts the vertex instruction format, an instruction that uses variable-length Huffman encoding to represent a vertex. Position information is always present in this instruction.

[200]

(REP) The vertex replacement policy is as follows:

[201]

00 —Restart clockwise

[202]

01 —Restart counter-clockwise

[203]

10 —Replace middle

[204]

11 —Replace oldest

[205]

(M) —mesh buffer push:

[206]

0 —No push

[207]

1 —Push

[208]

With reference to FIG. 14A, the position data consists of a variable-length Huffman tag (0 to 6 bits) followed by three data fields of equal length for the X, Y, and Z components which are either Δ-values or absolute values. The data_len field for the entry in the position Huffman table gives the length of each of the X, Y, and Z fields, the tag_len entry gives the length of the tag, and the abs_rel entry tells whether the data is absolute data or is relative to the previous vertex. The shift entry from the Huffman table gives the quantization level (number of trailing zeroes) for the data.

[209]

If the bnv bit is set in the state register, a normal is included. The encoded normal has a Huffman tag followed by either two variable-length data fields for Δu and Δv, or a fixed-length field for the sextant and octant (6 bits) followed by two variable-length fields for u and v. The former encoding is for delta encodings of normals, while the latter encoding is for absolute encodings. The data_len, tag_len, abs_rel, and shift fields from the normal Huffman table are used similarly as entries from the position table.

[210]

FIG. 14B depicts vertex component data formats. If the bcv bit in the state register is set, color is included with the vertex. The color is encoded similar the position, using three or four fields, but how the fields are used is determined by the tag table. If tagged absolute, then x, y, z, r, g, b data is used. Absolute normals are used with sectant and octant fields. However, if the tag table indicates relative, delta normals are used, and it suffices to send latitude and longitude data (e.g., θ and Φ, also referred to herein as u and v.

[211]

With further reference to FIG. 14B, a Huffman tag is followed by three equal length fields for R, G, and B. The cap bit in the state register indicates whether an additional field for α is included. The data_len, tag_len, abs_rel, and shift fields from the color Huffman table are used similarly as for entries from the position and normal tables.

[212]

The states of the vertex instruction set are as follows:

[213]

1. Latch next opcode; output X; shift barrel shift right unit 500 (see FIG. 9) by ptag_len+pdata_len−pquant+2.

[214]

2. Merge; output Header.

[215]

3. Output Y; shift barrel shift right unit 500 (see FIG. 9) by pdata_len−pquant.

[216]

4. Merge

[217]

5. Output Z; shift barrel shift right unit 500 (see FIG. 9) by pdata_len−pquant.

[218]

6. Merge.

[219]

a. If (bnv)

[220]

i. if (absolute normal), goto 7,

[221]

ii. else goto 9. /*relative normal*/

[222]

b. else If (rnt), goto 21,

[223]

c. else If (bcv) goto 13,

[224]

d. else If (rct) goto 22,

[225]

e. else Merge; branch to next instruction.

[226]

7. Latch next opcode; output sextant/octant; shift barrel shift right unit 500 (see FIG. 9) by ntag_len+6.

[227]

8. Merge.

[228]

9. Output U.

[229]

a. If (absolute normal), shift barrel shift right unit 500 (see FIG. 9) by ndata_len−nquant.

[230]

b. else/*relative normal*/, latch next opcode; shift Bs2 by ntag_len+ndata_len−nquant

[231]

10. Merge.

[232]

11. Output V.

[233]

12. Merge.

[234]

a. If (bcv), goto 13,

[235]

b. else If (rct), goto 22,

[236]

c. else Merge; branch to next instruction.

[237]

13. Latch next opcode; output R.; shift barrel shift right unit 500 (see FIG. 9) by ctag_len+cdata_len−cquant.

[238]

14. Merge

[239]

15. Output G; shift barrel shift right unit 500 (see FIG. 9) by cdata_len−cquant.

[240]

16. Merge; if (tex), branch to next instruction.

[241]

17. Output B; shift barrel shift right unit 500 (see FIG. 9) by cdata_len−cquant.

[242]

18. Merge; if (cap) branch to next instruction.

[243]

19. Output A; shift barrel shift right unit 500 (see FIG. 9) by cdata_len−cquant.

[244]

20. Merge; branch to next instruction.

[245]

21. Output curr_normal.

[246]

a. If (bcv), goto 13,

[247]

b. else If (rct), goto 22,

[248]

c. else Merge; branch to next instruction.

[249]

22. Output curr_r.

[250]

23. Output curr_g. If (tex), Merge; branch to next instruction

[251]

24. Output curr_b. If (cap), Merge; branch to next instruction.

[252]

25. Output curr_a. Merge branch to next instruction.

[253]

FIG. 14C depicts the format for the set normal instruction. The set normal instruction sets the value of the current normal registers. The normal data is encoded similarly as is normal data in the vertex instruction, described herein. The states of the set normal instruction are as follows:

[254]

If (absolute normal)

[255]

1. Latch next opcode; output sextant/octant; shift barrel shift right unit 500 (see FIG. 9) by ntag_len+8.

[256]

2. Merge.

[257]

3. Output U; shift barrel shift right unit 500 (see FIG. 9) by ndata_len−nquant.

[258]

4. Merge.

[259]

5. Output V; shift barrel shift right unit 500 (see FIG. 9) by ndata_len+nquant.

[260]

6. Merge; branch to next instruction.

[261]

else/*relative normal*/

[262]

1. Latch next opcode; output dU; shift barrel shift right unit 500 (see FIG. 9) by n_tag_len+ndata_len−nquant.

[263]

2. Merge.

[264]

3. Output dV; shift barrel shift right unit 500 (see FIG. 9) by ndata_len−nquant.

[265]

4. Merge; branch to next instruction.

[266]

FIG. 14D depicts the set color instruction, an instruction that sets the value of the current color registers. Encoding of the color data is similar to encoding of the color data in the vertex instruction. The states of the set color instruction are as follows:

[267]

1. Latch next opcode; output R; shift barrel shift right unit 500 (see FIG. 9) by ctag_len+cdata_len−cquant +2.

[268]

2. Merge.

[269]

3. Output G; shift barrel shift right unit 500 (see FIG. 9) by cdata_len−cquant.

[270]

4. Merge. If (tex), branch to next instruction.

[271]

5. Output B; shift barrel shift right unit 500 (see FIG. 9) by cdata_len−cquant.

[272]

6. Merge. If (−cap) branch to next instruction.

[273]

7. Output A; shift barrel shift right unit 500 (see FIG. 9) by cdata_len−cquant.

[274]

8. Merge; branch to next instruction.

[275]

FIG. 14E is a preferred format for the mesh buffer reference instruction. This instruction causes data from an entry in the mesh buffer to be sent out to the format converter as the next vertex. With reference to FIG. 14E, the index indicates the entry from the mesh buffer to send. The newest entry in the mesh buffer has index 0, and the oldest has index 15. REP, the above-described replacement policy for the vertex instruction, is the same as used for the mesh buffer reference instruction. The states for the mesh buffer reference instruction are as follows:

[276]

1. Latch next opcode; output Header; shift barrel shift right unit 500 (see FIG. 9) by 9.

[277]

2. Output X from mesh buffer.

[278]

3. Output Y from mesh buffer.

[279]

4. Output Z from mesh buffer.

[280]

a. If (bnv or rnt) goto 5,

[281]

b. else If (bcv or rct) goto 6,

[282]

c. else Merge; branch to next instruction.

[283]

5. If (bnv), output Normal from mesh buffer, else if (rnt) output curr_normal.

[284]

a. If (bnv or rct) goto 6,

[285]

b. else Merge; branch to next instruction.

[286]

6. If (bcv), output R from mesh buffer, else if (rct) output curr_r.

[287]

7. If (bcv), output G from mesh buffer, else if (rct) output curr_g. If (tex), Merge; branch to next instruction.

[288]

8. If (bcv), output B from mesh buffer, else if (rct) output curr_b. If (cap), Merge; branch to next instruction.

[289]

9. If (bcv), output A from mesh buffer, else if (rct) output curr_a. Merge; branch to next instruction.

[290]

FIG. 14F depicts the set state instruction, which sets the bits the decompression unit state register. The states for the set state instruction are as follows:

[291]

1. Latch next opcode; shift barrel shifter 2 by 11 bits.

[292]

2. Merge; branch instruction

[293]

FIG. 14G depicts the set table instruction, which sets Huffman table entries. The table selection is as follows:

[294]

00 —Position table

[295]

01 —Color table

[296]

10 —Normal table

[297]

11 —Undefined

[298]

The tag length is derived from the address. The nine bits in the entry field correspond to the absolute/relative bit, data length, and shift amount fields of the Huffman table entries. (The preferred format of the Huffman table entries has been described earlier herein.) The states of the set table instruction are as follows:

[299]

1. Latch next opcode; send address and entry to Huffman tables; shift barrel shift right unit 500 (see FIG. 9) by 23.

[300]

2. Merge; branch to next instruction.

[301]

Table 5, below, shows the preferred Huffman Table Fill Codes.

[302]

0tttttt 16tttttt
10ttttt 25ttttt0-ttttt1
110tttt 44tttt00-tttt11
1110ttt 83ttt000-ttt111
11110tt162tt0000-tt1111
111110t321t00000-t11111
1111110640Entire table

[303]

FIG 14H depicts the passthrough instruction, which allows passthrough data to be encoded in the compressed-data stream. The length of the instruction preferably is 64-bits. Aligning successive passthrough instructions to a 64-bit boundary allows for patching of passthrough data in the encoded stream. The states for the passthrough instruction are as follows:

[304]

1. Latch next opcode; read address shift barrel shift right unit 500 (see FIG. 9) by 32 bits.

[305]

2. Merge.

[306]

3. Output data, shift barrel shift right unit 500 (see FIG. 9) by 32 bits.

[307]

4. Merge; branch to next instruction.

[308]

FIG. 14I depicts the variable-length NOP (“VNOP) instruction, which encodes a variable number of 0 bits in the data stream. The five-bit count shown in FIG. 14I designates the number of 0 bits that follow. This instruction is implicitly used for the start of the data stream. This instruction may also be used to pad the data stream to 32-bit or 64-bit boundaries, or encoding regions, for later patching. The states for this instruction are:

[309]

1. Latch next opcode; read count; barrel shift right unit 500 (see FIG. 9) by 13 bits;

[310]

2. Merge.

[311]

3. Barrel shift right unit reads “count” positions;

[312]

4. Merge; branch to next instruction.

[313]

FIG. 14J shows the skip 8 instruction, whose states are:

[314]

1. Latch next opcode; shift barrel shift right unit 500 (see FIG. 9) by 16 bits;

[315]

2. Merge; branch to next instruction.

[316]

It will be appreciated that it may be advantageous to reduce bandwidth requirements between devices by not decompressing a data stream at a single point in a decompression system. It will be appreciated that parallel decompression of a data stream may be implemented by providing an additional command advising the arrival of a given number of data words that may be processed in parallel.

[317]

The presence of such parallel opportunities may be recognized by the presence of mark bits, at which occurrence the stated number of data words may be shuttled to other processors within the system for parallel decompression. Further, it is then permissible to jump ahead the given number of words in the data stream to arrive at the next data that is not eligible for parallel processing.

[318]

Further, morphing capability may be implemented to eliminate any abrupt perception gap in viewing a decompressed three-dimensional object. Within the decompressed data stream, it is possible to specify vertices as linear or other interpolations of vertices that are actually present or have previously been decompressed. Assume, for example, that the three-dimensional object is a tiger. At a far distance, no teeth are present in the tiger's mouth, yet at near distance teeth are present. The result is a seamless transition such that as distance to the tiger shrinks, the teeth grow, with no sudden change seen between a toothless tiger and a toothed tiger.

[319]

Modifications and variations may be made to the disclosed embodiments without departing from the subject and spirit of the invention as defined by the following claims.

Как компенсировать расходы
на инновационную разработку
Похожие патенты