патент
№ US 0006569679
МПК A01K67/027

Producer cell that generates adenoviral vectors encoding a cytokine and a conditionally lethal gene

Авторы:
Jack R. Barber Harry E. Gruber Douglas J. Jolly
Все (9)
Правообладатель:
Все (3)
Номер заявки
08471645
Дата подачи заявки
06.06.1995
Опубликовано
27.05.2003
Страна
US
Дата приоритета
16.12.2025
Номер приоритета
Страна приоритета
Как управлять
интеллектуальной собственностью
Реферат

The present invention provides recombinant viral vectors carrying a vector construct which directs the expression of a gene product (e.g., HSVTK) that activates a compound with little or no cytotoxicity into a toxic product. Also provided are methods of destroying or inhibiting pathogenic agents in a warm blooded animal, comprising the step of administering to the animal a viral vector such as that described above, in order to inhibit or destroy the pathogenic agent.

Формула изобретения

1. A producer cell that generates an adenoviral vector that infects human cells, said adenoviral vector comprising a first and a second recombinant gene operably linked to control sequence(s), said first recombinant gene being a conditionally lethal gene that encodes a conditionally lethal gene product, said conditionally lethal gene product converting a prodrug to a cytotoxic agent, said second recombinant gene encoding a human cytokine, the expression of said first and second recombinant genes being controlled by the control sequence(s) operably linked hereto.

2. The producer cell of claim 1, wherein said prodrug is a purine-based or pyrimidine-based drug.

3. The producer cell of claim 2, wherein said conditionally lethal gene product is selected from the group consisting of a thymidine kinase, a cytosine deaminase, and E. coli guanine phosphoribosyl transferase.

4. The producer cell of claim 1, wherein said cytokine is selected from the group consisting of IL-1, IL-2, IL-3, IL-4, IL-5, IL-6, IL-7, IL-8, IL-9, IL-10, IL-11 GM-CSF, and gamma-interferon.

5. The producer cell of claim 3, wherein said gene product is a thymidine kinase.

6. The producer cell of claim 5, wherein said thymidine kinase is a herpes simplex thymidine kinase.

7. The producer cell of claim 6, wherein said prodrug is selected from the group consisting of ganciclovir, acyclovir, FIAU, FIAC, DHPG, AZT and ddC.

8. The producer cell of claim 3, wherein said gene product is cytosine deaminase.

9. The producer cell of claim 8, wherein said prodrug is 5-fluorocytosine.

10. The producer cell of claim 3, wherein said gene product is E. coli guanine phosphoribosyl transferase.

11. The producer cell of claim 10, wherein said prodrug is thioxanthine.

12. The producer cell of claim 4, wherein said cytokine is gamma-interferon.

13. producer cell that generates an adenoviral vector that infects human cells, said adenoviral vector comprising a first and a second recombinant gene operably linked to control sequence(s), said first gene comprising a gene encoding a thymidine kinase, said thymidine kinase activating a prodrug into a cytotoxic agent, said second recombinant gene encoding a human cytokine, the expression of said first and second recombinant genes being controlled by the control sequence(s) operably linked thereto.

14. The producer cell of claim 13, wherein said prodrug is a purine-based or pyrimidine-based drug.

15. The producer cell of claim 13, wherein said thymidine kinase is herpes simplex thymidine kinase.

16. The producer cell of claim 13, wherein said cytokine is gamma-interferon.

17. A producer cell that generates a replication defective and recombinant adenoviral vector that infects human cells, said replication defective and recombinant adenoviral vector comprising a first and a second recombinant gene operably linked to control sequence(s), said first recombinant gene encoding a thymidine kinase which activates a prodrug to a cytotoxic agent, said second recombinant gene encoding a human cytokine, said genes being expressed when said adenoviral vector infects a human cell, the expression of said first and second recombinant genes being controlled by the control sequence(s) operably linked thereto.

18. The producer cell of claim 17, wherein said thymidine kinase is herpes simplex virus thymidine kinase.

19. The producer cell of claim 18, wherein said prodrug is selected from the group consisting of ganciclovir, acyclovir, FIAU, FIAC, DHPG, AZT and ddC.

20. The producer cell of claim 17, wherein said control sequence is a tissue or event specific promoter.

21. The producer cell of claim 17, wherein said cytokine is gamma interferon.

22. The producer cell of claim 4, wherein said cytokine is GM-CSF.

23. The producer cell of claim 4, wherein said cytokine is IL-2.

24. A producer cell that generates an adenoviral vector that infects human cells, said adenoviral vector comprising a first and a second recombinant gene operably linked to transcriptional control sequences, said first recombinant gene being a conditionally lethal gene that encodes a conditionally lethal gene product, said conditionally lethal gene product converting a prodrug to a cytotoxic agent, said second recombinant gene encoding a human cytokine, the expression of said first and second recombinant genes being controlled by the transcriptional control sequences operably linked thereto, one of said transcriptional control sequences comprising an internal ribosomal entry site (IRES).

Описание

CROSS-REFERENCE TO RELATED APPLICATION

[1]

This application is a division of U.S. patent application Ser. No. 08/155,944, filed Nov. 18, 1993 now abandoned; which was a continuation-in-part of U.S. patent application Ser. No. 07/565,606, filed Aug. 10, 1990, now abandoned; which was a continuation-in-part of U.S. patent application Ser. No. 07/395,932, filed Aug. 18, 1989 now abandoned; which was a continuation-in-part of U.S. patent application Ser. No. 07/170,515, filed Mar. 21, 1988, now abandoned.

TECHNICAL FIELD

[2]

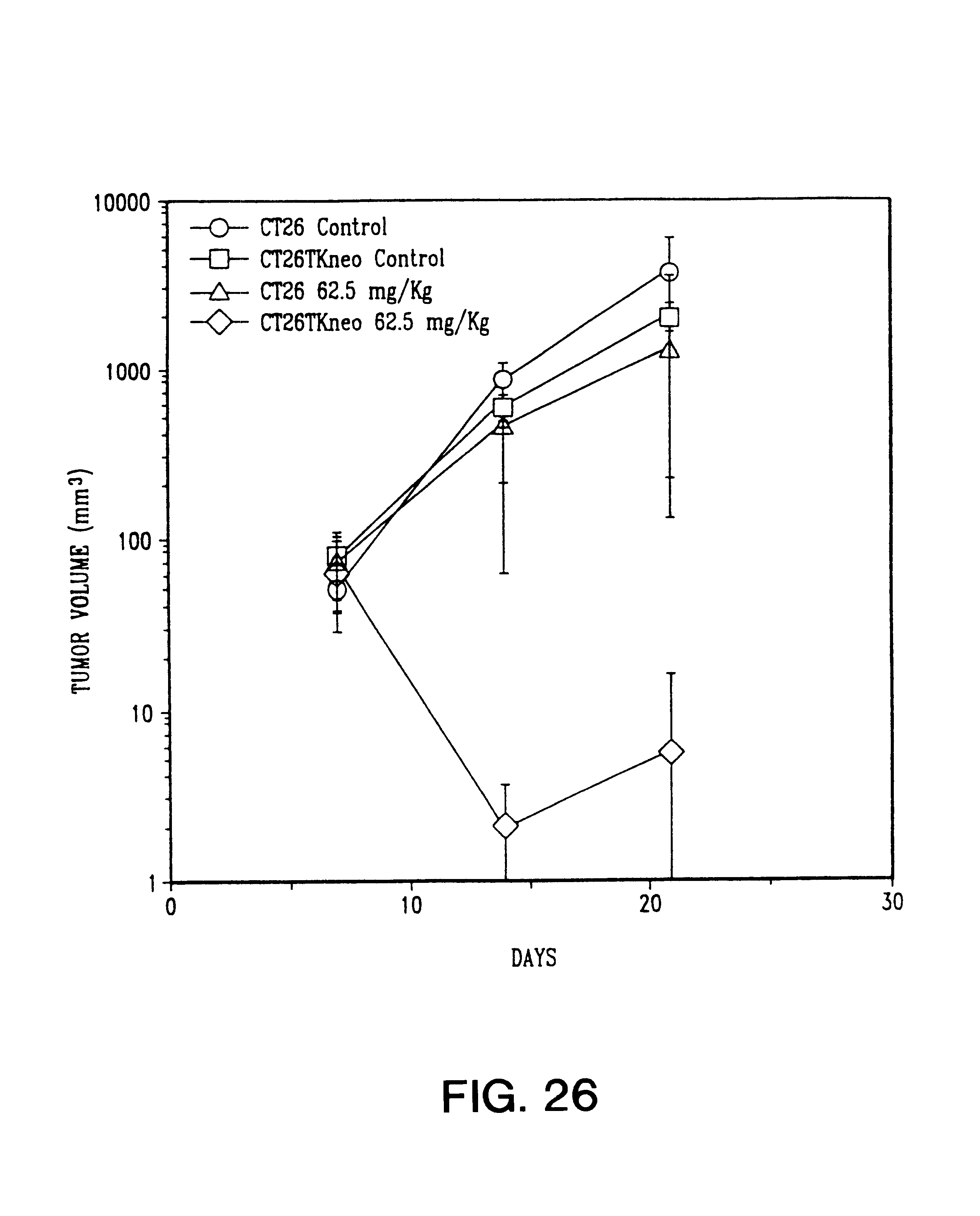
The present invention relates generally to viral vectors, and more specifically, to recombinant viral vectors which are capable of delivering vector constructs to susceptible target cells. These vector constructs are typically designed to deliver a gene product which is capable of activating a compound with little or no activity into an active product.

BACKGROUND OF THE INVENTION

[3]

Although many bacterial diseases are, in general, easily treated with antibiotics, very few effective treatments exist for many viral, cancerous, and other diseases, including genetic diseases. For example, cancer now accounts for one-fifth of the total mortality in the United States, and is the second leading cause of death. Briefly, cancer is typically characterized by the uncontrolled division of a population of cells. This uncontrolled division typically leads to the formation of a tumor, which may subsequently metastasize to other sites.

[4]

Cancer, in general, represents a class of diseases which are very difficult to treat. For example, although primary solid tumors can generally be treated by surgical resection, a substantial number of patients that have solid tumors also possess micrometastases beyond the primary tumor site. If treated with surgery alone, many of these patients will experience recurrence of the cancer. Therefore, in addition to surgery many cancers are now also treated with cytotoxic chemotherapeutic drugs (e.g., vincristine, vinblastine, cisplatin, methotrexate, 5-FU, etc.) and/or radiation therapy. One difficulty with this approach however, is that radiotherapeutic and chemotherapeutic agents are toxic to normal tissues, and often create life-threatening side effects. In addition, these approaches often have extremely high failure/remission rates (up to 90% depending upon the type of cancer).

[5]

Various other therapies have thus been attempted, in an effort to bolster or augment an individual's own immune system to eliminate cancer cells. Several such therapies have utilized bacterial or viral components as adjuvants, in order to stimulate the immune system to destroy the tumor cells. Examples of such components include BCG, endotoxin, mixed bacterial vaccines, interferons (α, β, and γ), interferon inducers (e.g., Brucella abortus, and various viruses), and thymic factors (e.g., thymosin fraction 5, and thymosin alpha-1) (see generally “Principles of Cancer Biotherapy,” Oldham (ed.), Raven Press, New York, 1987). Such agents have generally been useful as adjuvants and as nonspecific stimulants in animal tumor models, but have not yet proved to be generally effective in humans.

[6]

Lymphokines have also been utilized in the treatment of cancer. Briefly, lymphokines are secreted by a variety of cells, and generally have an effect on specific cells in the generation of an immune response. Examples of lymphokines include Interleukins (IL)-1, -2, -3, and -4, as well as colony stimulating factors such as G-CSF, GM-CSF, and M-CSF. Recently, one group has utilized IL-2 to stimulate peripheral blood cells in order to expand and produce large quantities of cells which are cytotoxic to tumor cells (Rosenberg et al., N. Engl. J. Med. 313:1485-1492, 1985).

[7]

Others have suggested the use of antibody-mediated anti-cancer therapies. Briefly, antibodies may be developed which recognize certain cell surface antigens that are either unique, or more prevalent on cancer cells compared to normal cells. These antibodies, or “magic bullets,” may be utilized either alone or conjugated with a toxin in order to specifically target and kill tumor cells (Dillman, “Antibody Therapy,” Principles of Cancer Biotherapy, Oldham (ed.), Raven Press, Ltd., New York, 1987). For example, Ball et al. (Blood 62:1203-1210, 1983) treated several patients with acute myelogenous leukemia with one or more of several monoclonal antibodies specific for the leukemia, resulting in a marked decrease in circulating leukemia cells during treatment. Similarly, others have utilized toxin-conjugated antibodies therapeutically to treat a variety of tumors, including, for example, melanomas, colorectal carcinomas, prostate carcinomas, breast carcinomas, and lung carcinomas (see Dillman, supra). One difficulty however, is that most monoclonal antibodies are of murine origin, and thus hypersensitivity against the murine antibody may limit its efficacy, particularly after repeated therapies. Common side effects include fever, sweats and chills, skin rashes, arthritis, and nerve palsies.

[8]

Therefore cancer has, as a general rule, been very difficult to treat utilizing either conventional or experimental pharmaceutical compositions.

[9]

Likewise, viral diseases have been very difficult to treat with conventional pharmaceutical compositions. In general, such pharmaceuticals have lacked specificity, exhibit a high overall toxicity, and have generally been found to be therapeutically ineffective.

[10]

Other techniques which have been developed for treating viral diseases involve the elicitation of an immune response to a pathogenic agent (i.e., the virus) through the administration of a noninfectious form of the virus (such as a killed virus), thereby providing antigens which act as an immunostimulant. Such an approach has proved useful for certain viruses (e.g., polio) but not for other viruses (e.g., HIV).

[11]

A more recent approach for treating viral diseases, such as acquired immunodeficiency syndrome (AIDS) and related disorders, involves blocking receptors on cells susceptible to infection by HIV from receiving or forming a complex with viral envelope proteins. For example, Lifson et al. (Science 232:1123-1127, 1986) demonstrated that antibodies to CD4 (T4) receptors inhibited cell fusion (syncytia) between infected and noninfected CD4 presenting cells invitro. A similar CD4 blocking effect using monoclonal antibodies has been suggested by McDougal et al. (Science 231:382-385, 1986). Alternatively, Pert et al. (Proc. Natl. Acad. Sci. USA 83:9254-9258, 1986) reported the use of synthetic peptides to bind T4 receptors and block HIV infection of human T-cells, and Lifson et al. (J. Exp. Med. 164:2101, 1986) reported blocking both syncytia and virus/T4 cell fusion by using a lectin which interacts with a viral envelope glycoprotein, thereby blocking it from being received by CD4 receptors.

[12]

An alternative technique for inhibiting a pathogenic agent, such as a virus (which transcribes RNA), is to provide antisense RNA which complements at least a portion of the transcribed RNA, thereby inhibiting translation (To et al., Mol. Cell. Biol. 6:758, 1986).

[13]

A major shortcoming, however, of the techniques described above is that they do not readily lend themselves to control the time, location or extent to which a drug, antigen, blocking agent or antisense RNA is utilized. In particular, since the above techniques require exogenous application of the treatment agent (i.e., exogenous to the sample in an in vitro situation), they are not directly responsive to the presence of the pathogenic agent. For example, it may be desirable to have an immunostimulant expressed in increased amounts immediately following infection by the pathogenic agent. In addition, in the case of antisense RNA, large amounts would be required for useful therapy in an animal, which under current techniques would be administered without regard to the location at which it is actually needed, that is, in cells infected with the pathogenic agent.

[14]

As an alternative to exogenous application, techniques have been suggested for producing treatment agents endogenously. More specifically, proteins expressed from viral vectors based on DNA viruses, such as adenovirus, simian virus 40, bovine papilloma, and vaccinia viruses, have been investigated. By way of example, Panicali et al. (Proc. Natl. Acad. Sci. USA 80:5364, 1983) introduced influenza virus hemagglutinin and hepatitis B surface antigens into the vaccinia genome and infected animals with the virus particles produced from such recombinant genes. Following infection, the animals acquired immunity to both the vaccinia virus and the hepatitis B antigen.

[15]

A number of difficulties however have been experienced to date with viral vectors based upon DNA viruses. These difficulties include: (a) the production of other viral proteins which may lead to pathogenesis or the suppression of the desired protein; (b) the capacity of the vector to uncontrollably replicate in the host, and the pathogenic effect of such uncontrolled replication; (c) the presence of wild-type virus which may lead to viremia; and (d) the transitory nature of expression in these systems. These difficulties have virtually precluded the use of viral vectors based on DNA viruses in the treatment of viral, cancerous, and other nonbacterial diseases, including genetic diseases.

[16]

Due to the nontransitory nature of their expression in infected target cells, retroviruses have been suggested as a useful vehicle for the treatment of genetic diseases (for example, see F. Ledley, The Journal of Pediatrics 110:1, 1987). However, in view of a number of problems, the use of retroviruses in the treatment of genetic diseases has not yet been widely accepted. Such problems relate to: (a) the apparent need to infect a large number of cells in inaccessible tissues (e.g. brain); (b) the need to cause these vectors to express in a very controlled and permanent fashion; (c) the lack of cloned genes; (d) the irreversible damage to tissue and organs due to metabolic abnormalities; and (e) the availability of other partially effective therapies in certain instances.

[17]

The present invention provides novel compositions and methods for treating a variety of diseases (e.g., viral diseases, cancer, genetic diseases and others), and further provides other, related advantages.

SUMMARY OF THE INVENTION

[18]

Briefly stated, the present invention provides recombinant viral vectors and methods of using such vectors for the treatment of a wide variety of pathogenic agents. Within one aspect of the invention, recombinant viral vectors are provided carrying a vector construct which directs the expression of a gene product capable of activating an otherwise inactive precursor into an active inhibitor of a pathogenic agent. Within one embodiment of the invention, the pathogenic agent is a virus-infected cell. Within another embodiment, the gene product is Herpes Simplex Virus Thymidine Kinase or Varicella Zoster Virus Thymidine Kinase. Within yet another embodiment, the inactive precursor is AZT.

[19]

Within another aspect of the present invention, recombinant viral vectors are provided carrying a vector construct which directs the expression of a gene product that activates a compound with little or no cytotoxicity into a toxic product. Within other aspects, recombinant viral vectors are provided carrying a vector construct which directs the expression of a gene product that activates a compound with little or no cytotoxicity into a toxic product in the presence of a pathogenic agent, thereby affecting localized therapy to the pathogenic agent. Within one embodiment, the gene product is Herpes Simplex Virus Thymidine Kinase, or Varicella Zoster Virus Thymidine Kinase. Within other embodiments, the gene product is selected from the group consisting of E. coli guanine phosphoribosyl transferase, alkaline phosphatase, fungal cytosine deaminase, carboxypeptidease G2, and Penicillin-V amidase. Within yet other embodiments, the pathogenic agent is a virus-infected cell, a cell infected with bacteria, a tumor cell, or a cell infected with a parasite.

[20]

Within other aspects of the invention, recombinant viral vectors are provided which direct the expression of a protein that is toxic upon processing or modification by a protein derived from a pathogenic agent. Within one embodiment, the protein which is toxic upon processing or modification is proricin.

[21]

Within yet another aspect of the invention, recombinant viral vectors are provided carrying a vector construct comprising a cytotoxic gene under the transcriptional control of an event-specific promoter, such that upon activation of the event-specific promoter the cytotoxic gene is expressed. Within various embodiments, the event-specific promoter is a cellular thymidine kinase promoter, or a thymidylate synthase promoter. Within another embodiment, the event-specific promoter is activated by a hormone. Within yet other embodiments, the cytotoxic gene is selected from the group consisting of ricin, abrin, diptheria toxin, cholera toxin, gelonin, pokeweed, antiviral protein, tritin, Shigella toxin, and Pseudomonas exotoxin A.

[22]

Within another aspect of the present invention, recombinant viral vectors are provided comprising a cytotoxic gene under the transcriptional control of a tissue-specific promoter, such that upon activation of the tissue-specific promoter the cytotoxic gene is expressed. Within various embodiments, the tissue-specific promoter is the phosphoenopyruvate carboxykinase (PEPCH) promoter, HER2/neu promoter; casein promoter, IgG promoter, Chorionic Embryonic Antigen promoter, elastase promoter, porphobilinogen deaminase promoter, insulin promoter, growth hormone factor promoter, tyrosine hydroxylase promoter, albumin promoter, alphafetoprotein promoter, acetyl-choline receptor promoter, alcohol dehydrogenase promoter, α or β globin promoter, T-cell receptor promoter, the osteocalcin promoter the IL-2 promoter, IL-2 receptor promoter, whey (wap) promoter, and the MHC Class II promoter.

[23]

Within yet another aspect of the present invention, viral vectors are provided carrying a vector construct comprising a cytotoxic gene under the transcriptional control of both an event-specific promoter and a tissue-specific promoter, such that the cytotoxic gene is maximally expressed only upon activation of both the event-specific promoter and the tissue-specific promoter. Representative event-specific and tissue-specific promoters have been discussed above. Within one preferred embodiment, the event-specific promoter is thymidine kinase, and the tissue-specific promoter is selected from the group consisting of the casein promoter and the HER2/neu promoter.

[24]

Within other aspects of the invention, viral vectors similar to those described above are provided, except that, in place of (or in addition to) the vector construct which directs the expression of acytotoxic gene, the viral vector carries a vector construct which directs the expression of a gene product that activates a compound with little or no cytotoxicity into a toxic product.

[25]

Within other aspects of the present invention, the vector contructs described above may also direct the expression of additional non-vector derived genes. Within one embodiment the non-vector derived gene encodes a protein, such as an immune accessory molecule. Representative examples of immune accessory molecules include IL-1, IL-2, IL-3, IL-4, IL-5, IL-6, IL-7, IL-8, IL-9, IL-10, IL-11, IL-12, B7, B7-2, GM-CSF, CD3, ICAM-1, β-microglobulin, LFA-3, HLA Class I, and HLA Class II molecules. Within one preferred embodiment, the protein is gamma-interferon.

[26]

Within other aspects of the present invention, methods are provided for inhibiting or destroying pathogenic agents in a warm-blooded animal, comprising administering to a warm-blooded animal a recombinant viral vector as described above, such that the pathogenic agent is inhibited or destroyed. As utilized herein, it should be understood that the term “destroyed” refers to the destruction of cells which are responsible for a disease state, which destruction may result in only partial destruction of the disease (e.g., tumors may be only partially destroyed). Within various embodiments, the recombinant viral vector is administered in vivo, or alternatively, ex vivo. Within yet other embodiments, the pathogenic agent is a virus-infected cell, a cell infected with bacteria, or a tumor cell.

[27]

Within other aspects of the present invention, producer cells are provided which generate a recombinant viral vector as described above. Within another aspect, methods are provided for destroying pathogenic agents in a warm blooded animal, comprising administering to the animal such producer cells, in order to destroy the pathogenic agent.

[28]

Within another aspect of the present invention, methods are provided for destroying a pathogenic agent in a warm blooded animal, comprising the step of administering to the warm blooded animal nucleic acids which encode a gene product that activates a compound with little or no cytotoxicity into a toxic product such that the pathogenic agent is destroyed.

[29]

Within yet another aspect of the invention, pharmaceutical compositions are provided, comprising a recombinant viral vector as described above, in combination with a pharmaceutically acceptable carrier or diluent.

[30]

These and other aspects of the present invention will become evident upon reference to the following detailed description and attached drawings. In addition, a number of patents, patent applications, and other publications are disclosed below which describe in more detail certain procedures or compositions (e.g., plasmids, etc.), and are therefore incorporated by reference in their entirety.

BRIEF DESCRIPTION OF THE DRAWINGS

[31]

FIG. 1 is a schematic illustration of p31N2R5(+).

[32]

FIG. 2 is a schematic illustration of pN2R3(−).

[33]

FIG. 3 is a schematic illustration of p31N25Δ(+).

[34]

FIG. 4 is a schematic illustration of pN2R3(+).

[35]

FIG. 5 is a schematic illustration of pN2R5(−).

[36]

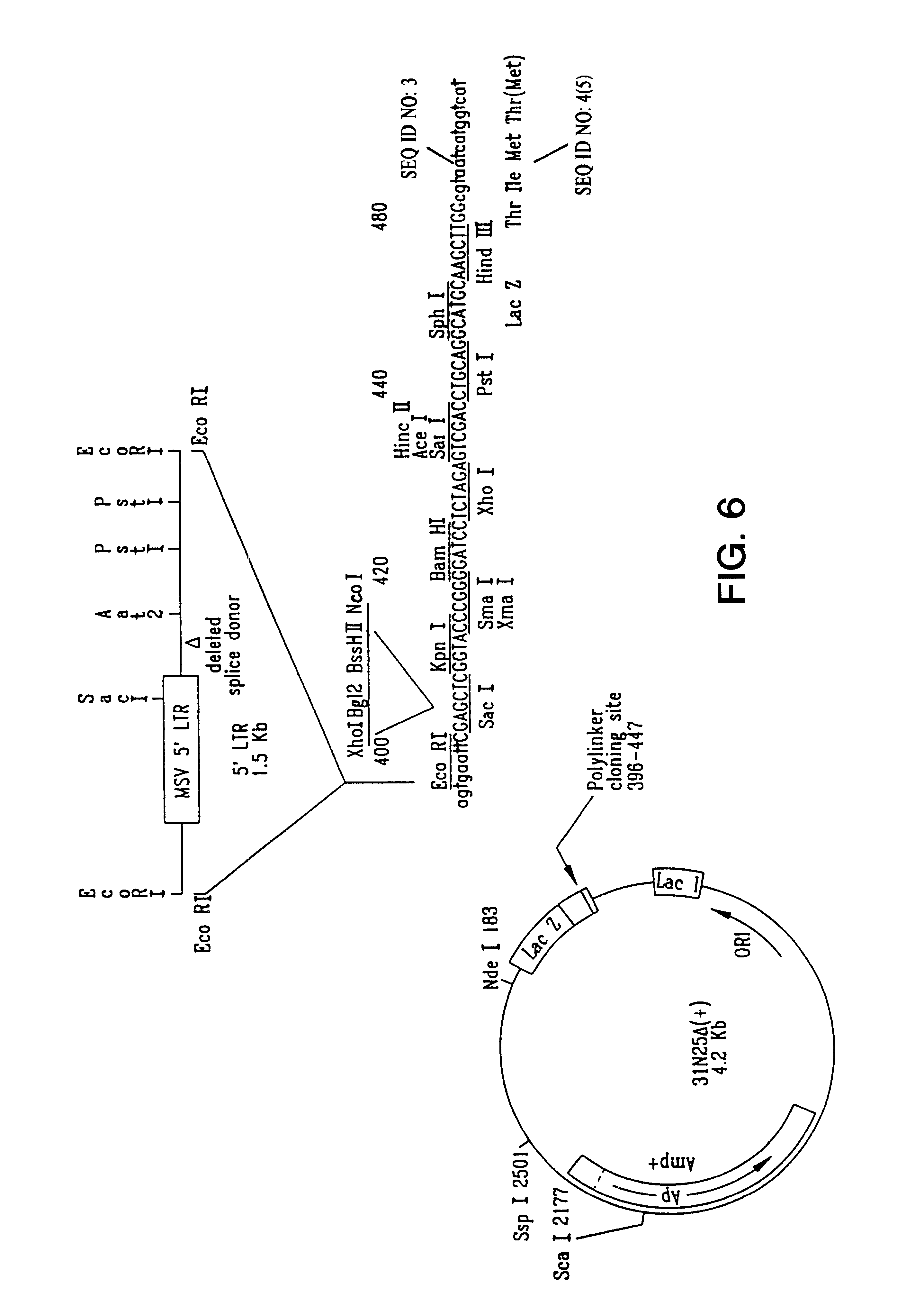
FIG. 6 is a schematic illustration of p31N25Δ(+).

[37]

FIG. 7 is a schematic illustration of pTKΔA.

[38]

FIG. 8 is a schematic illustration of pPrTKΔA.

[39]

FIG. 9 is a schematic illustration of pTK-1 and pTK-3.

[40]

FIG. 10 is a schematic illustration of pTK2 and pTK-2(ClaI).

[41]

FIG. 11 is a schematic illustration of pKTVIHAX.

[42]

FIG. 12 is a schematic illustration of pKTVIH-5 and pKTVIH5 Neo.

[43]

FIG. 13 is a schematic illustration of the construction of pMHM-1 LTR and pMHMB.

[44]

FIG. 14 is a schematic illustration of pMHMTKNeo.

[45]

FIG. 15 is a schematic illustration of pSTK(−).

[46]

FIG. 16 is a schematic illustration of pCRS/CAR(−).

[47]

FIG. 17 is a schematic illustration of pRRKTVIH.

[48]

FIG. 18 is a schematic illustration of tathis and anti-tat.

[49]

FIG. 19 is a bar graph which illustrates the effect of ACV toxicity in cells containing conditionally lethal vectors.

[50]

FIG. 20 is a bar graph which illustrates the effect of ddC on HIV infection.

[51]

FIG. 21 is a bar graph which illustrates the effect of AZT on HIV infection.

[52]

FIG. 22 is a bar graph which illustrates the effect of Ganciclovir on CT26, CT26 βgal and CT26TK Neo cells.

[53]

FIG. 23 is a graph which illustrates the effect of tumor volume over time in a Ganciclovir dose study of mice injected with CT26TK Neo.

[54]

FIG. 24 is a series of four photographs of mice, illustrating the effect of different dose regimens of Ganciclovir on intraperitoneal tumor growth.

[55]

FIG. 25 is a series of four photographs of mice, illustrating the effect of different dose regimens of Ganciclovir on subcutaneous tumor growth.

[56]

FIG. 26 is a graph illustrating the effect of Ganciclovir in CT26 versus CT26TK Neo cells.

[57]

FIG. 27 is a graph illustrating the effect of Ganciclovir on in vivo transduced CT26 cells by injection of TK-3 virus containing the HSVTK gene.

[58]

FIG. 28 is a schematic illustration of pKT1-TK.

[59]

FIG. 29 is a schematic illustration of pKT1/Hbe/TK.

[60]

FIG. 30 is a schematic illustration of pmγTK and phγTK.

DETAILED DESCRIPTION OF THE INVENTION

[61]

Prior to setting forth the invention, it may be helpful to an understanding thereof to first set forth definitions of certain terms that will be used hereinafter.

[62]

“Vector construct” refers to an assembly which is capable of directing the expression of the sequence(s) or gene(s) of interest. The vector construct must include transcriptional promoter/enhancer or locus defining element(s), or other elements which control gene expression by other means such as alternate splicing, nuclear RNA export, post-translational modification of messenger, or post-transcriptional modification of protein. In addition, the vector construct must include a sequence which, when transcribed, is operably linked to the sequence(s) or gene(s) of interest and acts as a translation initiation sequence. Optionally, the vector construct may also include a signal which directs polyadenylation, a selectable marker such as Neo, TK, hygromycin, phleomycin, histidinol, or DHFR, as well as one or more restriction sites and a translation termination sequence. In addition, if the vector construct is placed into a retrovirus, the vector construct must include a packaging signal, long terminal repeats (LTRs), and positive and negative strand primer binding sites appropriate to the retrovirus used (if these are not already present).

[63]

“Pathogenic agent” refers to a cell which is responsible for a disease state. Representative examples of pathogenic agents include tumor cells, autoreactive immune cells, hormone secreting cells, cells which lack a function that they would normally have, cells that have an additional inappropriate gene expression which does not normally occur in that cell type, and cells infected with bacteria, viruses, or other intracellular parasites. In addition, as used herein “pathogenic agent” may also refer to a cell which over-expresses or inappropriately expresses a retroviral vector (e.g., in the wrong cell type), or which has become tumorigenic due to inappropriate insertion into a host cell's genome.

[64]

“Tissue-specific promoter” refers to transcriptional promoter/enhancer or locus defining elements, or other elements which control gene expression as discussed above, which are preferentially active in a limited number of tissue types. Representative examples of such tissue-specific promoters include the PEPCK promoter, HER2/neu promoter, casein promoter, IgG promoter, Chorionic Embryonic Antigen promoter, elastase promoter, porphobilinogen deaminase promoter, insulin promoter, growth hormone factor promoter, tyrosine hydroxylase promoter, albumin promoter, alphafetoprotein promoter, acetyl-choline receptor promoter, alcohol dehydrogenase promoter, α or β globin promoters, T-cell receptor promoter, or the osteocalcin promoter.

[65]

“Event-specific promoter” refers to transcriptional promoter/enhancer or locus defining elements, or other elements which control gene expression as discussed above, whose transcriptional activity is altered upon response to cellular stimuli. Representative examples of such event-specific promoters include thymidine kinase or thymidilate synthase promoters, α or β interferon promoters and promoters that respond to the presence of hormones (either natural, synthetic or from other non-host organisms, e.g., insect hormones).

[66]

As noted above, the present invention provides recombinant viral vectors and methods of using such vectors for the treatment of a wide variety of pathogenic agents. Within one aspect of the invention, recombinant viral vectors are provided carrying a vector construct which directs the expression of a gene product capable of activating an otherwise inactive precursor into an active inhibitor of a pathogenic agent. As will be evident to one of skill in the art given the disclosure provided herein, a wide variety of inactive precursors may be converted into active inhibitors of a pathogenic agent. For example, antiviral nucleoside analogues such as AZT or ddC are metabolized by cellular mechanisms to the nucleotide triphosphate form in order to specifically inhibit retroviral reverse transcriptase, and thus viral replication (Furmam et al., Proc. Natl. Acad. Sci. USA 83:8333-8337, 1986). Recombinant viral vectors which direct the expression of a gene product (e.g., a protein) such as Herpes Simplex Virus Thymidine Kinase (HSVTK) or Varicella Zoster Virus Thymidine Kinase (VZVTK) which assists in metabolizing antiviral nucleoside analogues to their active form are therefore useful in activating nucleoside analogue precursors (e.g., AZT or ddC) into their active form.

[67]

Within one embodiment of the invention, the HSVTK gene may be expressed under the control of a constitutive macrophage or T-cell-specific promoter, and introduced into macrophage or T-cells. Constitutive expression of HSVTK results in more effective metabolism of nucleotide analogues such as AZT or ddC to their biologically active nucleotide triphosphate form, and thereby provides greater efficacy, delivery of lower doses, less generalized toxicity, and higher potency against productive infection. Additional nucleoside analogues whose nucleotide triphosphate forms show selectivity for retroviral reverse transcriptase but, as a result of the substrate specificity of cellular nucleoside and nucleotide kinases are not phosphorylated, may also be utilized within the context of the present invention. A detailed description of several representative viral vectors is set forth in more detail below in Example 1.

[68]

Within a related aspect of the present invention, recombinant viral vectors are provided carrying a vector construct which directs the expression of a gene product that activates a compound with little or no cytotoxicity into a toxic product. Briefly, a wide variety of gene products which either directly or indirectly activate a compound with little or no cytotoxicity into a toxic product may be utilized within the context of the present invention. Representative examples of such gene products include HSVTK and VZVTK which selectively monophosphorylate certain purine arabinosides and substituted pyrimidine compounds, converting them to cytotoxic or cytostatic metabolites. More specifically, exposure of the drugs ganciclovir, acyclovir, or any of their analogues (e.g., FIAU, FIAC, DHPG) to HSVTK, phosphorylates the drug into its corresponding active nucleotide triphosphate form.

[69]

Representative examples of other gene products which may be utilized within the context of the present invention include: E. coli guanine phosphoribosyl transferase which converts thioxanthine into toxic thioxanthine monophosphate (Besnard et al., Mol. Cell. Biol. 7:4139-4141, 1987); alkaline phosphatase, which will convert inactive phosphorylated compounds such as mitomycin phosphate and doxorubicin-phosphate to toxic dephosphorylated compounds; fungal (e.g., Fusarium oxysporum) or bacterial cytosine deaminase which will convert 5-fluorocytosine to the toxic compound 5-fluorouracil (Mullen, PNAS 89:33, 1992); carboxypeptidase G2 which will cleave the glutamic acid from para-N-bis (2-chloroethyl) aminobenzoyl glutamic acid, thereby creating a toxic benzoic acid mustard; and Penicillin-V amidase, which will convert phenoxyacetabide derivatives of doxorubicin and melphalan to toxic compounds (see generally, Vrudhula et al., J. of Med. Chem. 36(7):919-923, 1993; Kern et al., Canc. Immun. Immunother. 31(4):202-206, 1990).

[70]

Within a related aspect of the present invention, recombinant viral vectors are provided carrying a vector construct which directs the expression of a gene product that activates a compound with little or no cytotoxicity into a toxic product in the presence of a pathogenic agent, thereby affecting localized therapy to the pathogenic agent. In this case, expression of the gene product from the recombinant viral vector is limited to situations wherein an entity associated with the pathogenic agent, such as an intracellular signal identifying the pathogenic state, is present, thereby avoiding destruction of nonpathogenic cells. This cell-type specificity may also be conferred at the level of infection, by targeting recombinant virus carrying the vector to cells having or being susceptible to the pathogenic condition.

[71]

Within one aspect of this method, recombinant viral vectors are provided carrying a vector construct comprising a cytotoxic gene under the transcriptional control of an event-specific promoter, such that upon activation of the event-specific promoter the cytotoxic gene is expressed. Numerous event-specific promoters may be utilized within the context of the present invention, including for example, promoters which are activated by cellular proliferation (or are otherwise cell-cycle dependent) such as the thymidine kinase or thymidilate synthase promoters (Merrill, Proc. Natl. Acad. Sci. USA 86:4987-91, 1989; Deng et al., Mol. Cell. Biol. 9:4079-82, 1989); promoters such as the a or β interferon promoters which are activated when a cell is infected by a virus (Fan and Maniatis, EMBO J. 8(1):101-110, 1989; Goodbourn et al. Cell 45:601-610, 1986); and promoters which are activated by the presence of hormones (e.g., estrogen response promoters; see Toohey et al., Mol. Cell. Biol. 6:4526-38, 1986).

[72]

Within a preferred embodiment, a recombinant viral vector (preferably, but not necessarily, a recombinant MLV retrovirus) carries a vector construct containing a cytotoxic gene expressed from an event-specific promoter, such as a cell cycle-dependent promoter (e.g., human cellular thymidine kinase or transferrin receptor promoters), which will be transcriptionally active primarily in rapidly proliferating cells, such as tumors. In this manner, rapidly replicating cells which contain factors capable of activating transcription from these promoters are preferentially destroyed by the cytotoxic agent produced by the vector construct.

[73]

Within another aspect of this method, recombinant viral vectors are provided comprising a cytotoxic gene under the transcriptional control of a tissue-specific promoter, such that upon activation of the tissue-specific promoter the cytotoxic gene is expressed. A wide variety of tissue-specific promoters may be utilized within the context of the present invention. Representative examples of such promoters include: liver-specific promoters such as phosphoenolpyruvate carboxykinase. (“PEPCK”) (Hatzogiou et al., J. Biol. Chem. 263: 17798-808, 1988; Benvenisty et al., Proc. Natl. Acad. Sci. USA 86:1118-22, 1989; Vaulont et al., Mol. Cell. Biol. 9:4409-15, 1989); B cell specific promoters such as the IgG promoter; breast carcinoma or hepatocellular carcinoma specific promoters such as Carcinoembryonic Antigen promoter (CEA) (Schrewe et al., Mol and Cell. Biol. 10:2738, 1990); pancreatic acinar cell specific promoters such as the elastase promoter (Swift et al., Genes Develop. 3:687-96, 1989); breast epithelial specific promoters such as the casein promoter (Doppler et al., Proc. Natl. Acad. Sci. USA 86:104-08, 1989); erythoid specific-transcription promoters which are active in erythroid cells, such as the porphobilinogen deaminase promoter (Mignotte et al., Proc. Natl. Acad. Sci. USA 86:6458-52, 1990); α or β globin specific promoters (van Assendelft et al., Cell 56:969-77, 1989, Forrester et al., Proc. Natl. Acad. Sci. USA 86:543943, 1989); promoters which regulate skeletal muscle such as the myo-D binding site (Burden, Nature 341:716, 1989; Weintraub et al., Proc. Natl. Acad. Sci. USA 86:5434-38, 1989); promoters which are specific for β cells of the pancrease, such as the insulin promoter (Ohlsson et al., Proc. Natl. Acad. Sci. USA 85:4228-31, 1988; Karlsson et al., Mol. Cell. Biol. 9:823-27, 1989); promoters which are specific for the pituitary gland, such as the growth hormone factor promoter (Ingraham et al., Cell 55:519-29, 1988; Bodner et al., Cell 55:505-18, 1988); promoters which are specific for melanosomes, such as the tyrosine hydroxylase promoter; liver-specific promoters such as the albumin promoter and the alphafetoprotein promoter (Feuerman et al., Mol. Cell. Biol. 9:4204-12, 1989; Camper and Tilghman, Genes Develop. 3:537-46, 1989); breast carcinoma specific promoters such as the HER2/neu promoter (Tal et al., Mol. and Cell. Biol. 7:2597, 1987); liver-specific promoters such as the alcohol dehydrogenase promoter (Felder, Proc. Natl. Acad. Sci. USA 86:5903-07, 1989); T-cell specific promoters such as the T-cell receptor promoter (Anderson et al., Proc. Natl. Acad. Sci. USA 85:3551-54, 1988; Winoto and Baltimore, EMBO J. 8:729-33, 1989); bone-specific promoters such as the osteocalcin promoter (Markose et al., Proc. Natl. Acad. Sci. USA 87:1701-1705, 1990; McDonnell et al., Mol. Cell. Biol. 9:3517-23, 1989; Kerner et al., Proc. Natl. Acad. Sci. USA 86:4455-59, 1989) the IL-2 promoter, IL-2 receptor promoter, the whey (wap) promoter, and the MHC Class II promoter.

[74]

A variety of other elements which control gene expression may also be utilized within the context of the present invention, including for example locus-defining elements such as the β-globin gene and the T cell marker CD2. In addition, elements which control expression at the level of splicing and nuclear export are the β-globin intron sequences, the rev and rre elements in HIV-1, and the CTE element in the D-type masonpfizer monkey retrovirus.

[75]

Within preferred embodiments of the invention, the gene producing the cytotoxic agent is under control of a tissue-specific promoter, where the tissue specificity corresponds to the tissue of tumor origin. Since the viral vector preferentially integrates into the genome of replicating cells (for example, normal liver cells are not replicating, while those of a hepatocarcinoma are), these two levels of specificity (viral integration/replication and tissue-specific transcriptional regulation) lead to preferential killing of tumor cells.

[76]

Within yet another related aspect of the present invention, viral vectors are provided carrying a vector construct comprising a cytotoxic gene under the transcriptional control of both an event-specific promoter and a tissue-specific promoter, such that the cytotoxic gene is maximally expressed only upon activation of both the event-specific promoter and the tissue-specific promoter. In particular, by utilizing such vectors, the cytotoxic gene product is expressed only in cell types satisfying both criteria (e.g., in the example above, combined promoter elements are functional only in rapidly dividing liver cells). Within preferred embodiments of the invention, the number of transcriptional promoter elements may also be increased, in order to improve the stringency of cell-type specificity.

[77]

Transcriptional promoter/enhancer elements as discussed above need not necessarily be present as an internal promoter (lying between the viral LTRs for retroviruses), but may be added to or replace the transcriptional control elements in the viral LTRs which are themselves transcriptional promoters, such that condition-specific (i.e., event or tissue specific) transcriptional expression will occur directly from the modified viral LTR. In this case, either the condition for maximal expression will need to be mimicked in retroviral packaging cell lines (e.g., by altering growth conditions, supplying necessary transregulators of expression or using the appropriate cell line as a parent for a packaging line), or the LTR modification is limited to the 3′ LTR U3 region, to obtain maximal recombinant viral titres. In the latter case, after one round of infection/integration, the 3′ LTR U3 is now also the 5′ LTR U3, giving the desired tissue-specific expression. Similarly, for other viral vectors, the promoters may be exogenous, or hybrids with normal viral promoter elements.

[78]

A wide variety of cytotoxic genes may be utilized within the context of the present invention. Representative examples include proteins such as ricin (Lamb et al., Eur. J. Biochem. 148:265-270, 1985), abrin (Wood et al., Eur. J. Biochem. 198:723-732, 1991; Evensen, et al., J. of Biol. Chem. 266:6848-6852, 1991: Collins et al., J. of Biol. Chem. 265:8665-8669, 1990; Chen et al., Fed. of Eur. Biochem Soc. 309:115-118, 1992), diphtheria toxin (Tweten et al., J. Biol. Chem. 260:10392-10394, 1985), cholera toxin (Mekalanos et al., Nature 306:551-557, 1983; Sanchez & Holmgren, PNAS 86:481-485, 1989), gelonin (Stirpe et al., J. Biol. Chem. 255:6947-6953, 1980), pokeweed antiviral protein (Irvin, Pharmac. Ther. 21:371-387, 1983), antiviral protein (Barbieri et al., Biochem. J. 203:55-59, 1982; Irvin et al., Arch. Biochem. & Biophys. 200:418-425, 1980; Irvin, Arch Biochem. & Biophys. 169:522-528, 1975), tritin, Shigella toxin (Calderwood et al., PNAS 84:4364-4368, 1987; Jackson et al., Microb. Path. 2:147-153, 1987), and Pseudomonas exotoxin A (Carroll and Collier, J. Biol. Chem. 262:8707-8711, 1987), herpes simplex virus thymidine kinase (HSVTK) (Field et al., J. Gen. Virol. 49:115-124, 1980), and E. coli. guanine phosphoribosyl transferase.

[79]

Within other embodiments of the invention, the cytotoxic gene may be an antisense sequence which inhibits, for example, tumor cell growth, viral replication, or a genetic disease by preventing the cellular synthesis of critical proteins needed for cell growth. Examples of such antisense sequences include antisense thymidine kinase, antisense dihydrofolate reductase (Maher and Dolnick, Arch. Biochem. & Biophys. 253:214-220, 1987; Bzik et al., PNAS 84:8360-8364, 1987), antisense HER2 (Coussens et al., Science 230:1132-1139, 1985), antisense ABL (Fainstein, et al., Oncogene 4:1477-1481, 1989), antisense Myc (Stanton et al., Nature 310:423425, 1984) and antisense ras, as well as antisense sequences which block any of the enzymes in the nucleotide biosynthetic pathway. In addition, cytotoxic genes may encode tumor proliferation inhibitors such as p53, retinoblastoma (Rb), and MCC and APC for colorectal carcinoma.

[80]

Within a further embodiment of the invention antisense RNA may be utilized as a cytotoxic gene in order to induce a potent Class I restricted response. Briefly, in addition to binding RNA and thereby preventing translation of a specific mRNA, high levels of specific antisense sequences may be utilized to induce the increased expression of interferons (including gamma-interferon), due to the formation of large quantities of double-stranded RNA. The increased expression of gamma interferon, in turn, boosts the expression of MHC Class I antigens. Preferred antisense sequences for use in this regard include actin RNA, myosin RNA, and histone RNA. Antisense RNA which forms a mismatch with actin RNA is particularly preferred.

[81]

Within other aspects of the invention, recombinant viral vectors are provided carrying a vector construct which directs the expression of a gene product that activates a compound with little or no cytotoxicity into a toxic product. Within preferred embodiments of the invention, the recombinant viral vectors direct the expression of a gene product that activates a compound with little or no cytotoxicity into a toxic product in the presence of a pathogenic agent, thereby affecting localized therapy to the pathogenic agent.

[82]

For example, within one embodiment of the invention, the recombinant viral vector carries a vector construct which directs the expression of the herpes simplex virus thymidine kinase (“HSVTK”) gene downstream, and under the transcriptional control of an HIV promoter (which is known to be transcriptionally silent except when activated by HIV tat protein). Briefly, expression of the tat gene product in human cells infected with HIV and carrying the vector construct causes increased production of HSVTK. The cells (either in vitro or in vivo) are then exposed to a drug such as ganciclovir, acyclovir or its analogues (FIAU, FIAC, DHPG). As noted above, these drugs are known to be phosphorylated by HSVTK (but not by cellular thymidine kinase) to their corresponding active nucleotide triphosphate forms. Acyclovir and FIAU triphosphates inhibit cellular polymerases in general, leading to the specific destruction of cells expressing HSVTK in transgenic mice (see Borrelli et al., Proc. Natl. Acad. Sci. USA 85:7572, 1988). Those cells containing the recombinant vector and expressing HIV tat protein are selectively killed by the presence of a specific dose of these drugs.

[83]

Within one embodiment of the invention, expression of the conditionally lethal HSVTK gene may be made even more HIV-specific by including cis-acting elements in the transcript (“CRS/CAR”), which require an additional HIV gene product, rev, for optimal activity (Rosen et al., Proc. Natl. Acad. Sci. USA 85:2071, 1988). Such a tat- and, rev-responsive vector (RRKTVIH) has been constructed (see FIG. 17) and amphotrophic virus has been generated. More generally, cis elements present in mRNAs have been shown in some cases to regulate mRNA stability or translatability. Sequences of this type (i.e., post-transcriptional regulation of gene expression) may be used for event- or tissue-specific regulation of vector gene expression. In addition, multimerization of these sequences (i.e., rev-responsive “CRS/CAR” or tat-responsive “TAR” elements for HIV) may be utilized in order to generate even greater specificity.

[84]

It should be noted that all these kinds of conditional activation of an inactive precursor into an active product in cells may also be achieved using other viral vectors such as adeno-associated viral vectors, including those with a shorter term effect, e.g., adenovirus vectors and others mentioned below. Such vectors are capable of efficiently entering cells and expressing proteins encoded by the vector over a period of time from a couple of days to a month or so. This period of time should be sufficient to allow killing of cells which are infected by both HIV and the recombinant virus, leading to HIV dependent activation of expression of a gene carried by the recombinant virus. This gene expression would then allow conversion of an inactive precursor into an active (e.g., lethal) product. In addition, physical methods of gene transfer may be utilized if they are sufficiently efficient.

[85]

In a manner similar to the preceding embodiment, vector constructs may be generated which carry a gene for phosphorylation, phosphoribosylation, ribosylation, or other metabolism of a purine- or pyrimidine-based drug. Such genes may have no equivalent in mammalian cells, and might come from organisms such as a virus, bacterium, fungus, or protozoan. Representative examples include: E. coli guanine phosphoribosyl transferase (“gpt”) gene product, which converts thioxanthine into thioxanthine monophosphate (see Besnard et al., Mol. Cell. Biol. 7:4139-4141, 1987); alkaline phosphatase, which will convert inactive phosphorylated compounds such as mitomycin phosphate and doxorubicin-phosphate to toxic dephosphorylated compounds; fungal (e.g., Fusarium oxysporum) or bacterial cytosine deaminase which will convert 5-fluorocytosine to the toxic compound 5-fluorouracil (Mullen, PNAS 89:33, 1992); carboxypeptidase G2 which will cleave the glutamic acid from para-N-bis (2-chloroethyl) aminobenzoyl glutamic acid, thereby creating a toxic benzoic acid mustard; and Penicillin-V amidase, which will convert phenoxyacetabide derivatives of doxorubicin and melphalan to toxic compounds. Conditionally lethal gene products of this type have potential application to many presently known purine- or pyrimidine-based anticancer drugs, which often require intracellular ribosylation or phosphorylation in order to become effective cytotoxic agents. The conditionally lethal gene product could also metabolize a nontoxic drug, which is not a purine or pyrimidine analogue, to a cytotoxic form (see Searle et al., Brit. J. Cancer 53:377-384, 1986).

[86]

Mammalian viruses in general tend to have “immediate early” genes which are necessary for subsequent transcriptional activation from other viral promoter elements. Gene products of this nature are excellent candidates for intracellular signals (or “identifying agents”) of viral infection. Thus, conditionally lethal genes from transcriptional promoter elements responsive to these viral “immediate early” gene products could specifically kill cells infected with any particular virus. Additionally, since the human α and β interferon promoter elements are transcriptionally activated in response to infection by a wide variety of nonrelated viruses, the introduction of vectors expressing a conditionally lethal gene product like HSVTK, for example, from these viral-responsive elements (VRE) could result in the destruction of cells infected with a variety of different viruses.

[87]

Within other aspects of the invention, recombinant viral vectors are provided which carry a gene specifying a product which is not in itself toxic, but when processed or modified by a protein, such as a protease specific to a viral or other pathogen, is converted into a toxic form. For example, the recombinant retrovirus could carry a gene encoding a proprotein for ricin A chain, which becomes toxic upon processing by the HIV protease. More specifically, a synthetic inactive proprotein form of the toxic ricin or diphtheria A chains could be cleaved to the active form by arranging for the HIV virally encoded protease to recognize and cleave off an appropriate “pro” element.

[88]

Within yet another aspect of the invention, viral vectors are provided which express a “reporting product” on the surface of the target cells in response to the presence of an identifying agent in the cells (such as HIV tat protein). This surface protein can be recognized by a cytotoxic agent, such as antibodies for the reporting protein, or by cytotoxic T-cells. In a similar manner, such a system can be used as a detection system to simply identify those cells having a particular gene which expresses an identifying protein, such as the HIV tat gene.

[89]

Within other aspects of the present invention, recombinant viral vectors are provided which direct the expression of a vector construct which encodes a ribozyme which will cleave and inactivate RNA molecules essential for viability of the vector infected cell. By making ribozyme production dependent on an intracellular signal corresponding to the pathogenic state, such as HIV tat, toxicity is specific to the pathogenic state.

Generation of Recombinant Viral Vectors

[90]

As noted above, the present invention provides compositions and methods comprising recombinant viral vectors. Particularly preferred recombinant viral vectors for use within the present invention include recombinant retroviral vectors and recombinant adenovirus vectors. The construction of recombinant retroviral vectors is described in greater detail in an application entitled “Recombinant Retroviruses” (U.S. Ser. No. 07/586,603, filed Sep. 21, 1990, which is hereby incorporated by reference in its entirety). These recombinant retroviral vectors may be used to generate transduction competent retroviral vector particles by introducing them into appropriate packaging cell lines (see U.S. Ser. No. 07/800,921, which is hereby incorporated by reference in its entirety). Similarly, adenovirus vectors may also be readily prepared and utilized given the disclosure provided herein (see also Berkner, Biotechniques 6:616-627, 1988, and Rosenfeld et al., Science 252:431-434, 1991, WO 93/07283, WO 93/06223, and WO 93/07282.) In particular, proceeding in a 5′ to 3′ direction, an adenovirus (Ad) genome, which is a DNA based genome, has four structural units designated as early (E) regions 1-4, i.e., E1, E2, E3 and E4, and five late (L) regions designated as L1 through, L5. Berkner at 616. The genome is capped by an inverted terminal repeat (ITR) sequence of approximately 100-165 bp, depending upon stereotype. Berkner at 617.

[91]

The E1 region is divided into two subregions, an E1a region and an E1b region. Berkner at 616. The E1a region contains the major transcriptional activators, such as the major late promoter (MLP). Id. at 616. The E1a region is also involved in transcriptional transactivation of viral and cellular genes as well as transcriptional repression of other sequences. Id. The E1b region is involved in protecting DNA sequences during viral infection. Id. Mutations in E1b sequences exhibit diminished late viral mRNA accumulations as well as impairment in blocking host cellular transport normally observed late in adenovirus infection. Id. at 616-617.

[92]

The combined E1a and E1b subregions (i.e., the E1 region) represent the only adenovirus sequences required for cellular transformation. Berkner at 616. The E2 region encodes proteins required for viral replication. Id. at 617. The E3 region is totally dispensable for growth in vitro and is involved in suppressing cellular immunity in vivo. Id. The E4 region plays a role in viral DNA replication, late mRNA synthesis, host cell protein synthesis shut off and viral assembly. Id.

[93]

At least part of the ITR is required for replication. Berkner at 617 citing Bernstein et al., “Template Requirements for in vivo Replication of Adenovirus DNA,” Mol. Cell. Biol., 6:2115-2124 (1986); Hay et al., “Replication of Adenoviruses Minichromosomes,” J. Mol. Biol., 175:493-510 (1984); Hay, et al., “The Origin of Adenovirus DNA Replication: Minimal DNA Sequence Requirement In vivo,” EMBO J. 4:421-426 (1985); and Hay et al., “Viable Viruses With Deletions in The Left Inverted Terminal Repeat Define the Adenovirus Origin Of DNA Replication,” J. Gen. Virol., 67:321-332 (1986). The ITR sequences alone are not sufficient for replication in human cells. Berkner at 617.

[94]

There are forty-one serotypes of adenovirus. Berkner at 618. Of these, extensive genetic and biochemical characterization have been performed on Ad2 and Ad5. Id. at 618. Based upon these studies, it is theoretically possible to substitute up to 7.5 kb of heterologous sequences into an adenovirus, generating a viable, conditional, helper-independent Ad vector. Id. at 618. This result is due to the large genome size, to deletions which can be made in the dispensable E3 region and in E1 using complementation on 293 cells, and to the fact that Ad recombinants of 106 mμ (i.e., 38 kb) in size can be packaged into virions. Id. at 618-620. As of the time of Berkner (1988), the longest reported insert contained in a viable Ad recombinant was 5 kb. Berkner at 620 citing Ghosh-Choudhury, “Protein IX, a Minor Component of the Human Adenovirus Capsid, Is Essential For the Packaging of Full Length Genomes,” EMBO J. 6:1733-1739 (1987).

[95]

The advantages of adenoviruses as potential vectors for human gene therapy are as follows: (i) recombination is rare; (ii) there were no known associations of human malign ancies with adenoviral infections despite common human infection with adenoviruses; (iii) the virus genome (which is a linear, double stranded piece of DNA). can be manipulated to accommodate foreign genes of up to 7.0 to 7.5 Kb in length and vaccine. Rosenfield, “Adenovirus—Mediated Transfer of a Recombinant α1-antitrypsin Gene to the Lung Epithelium In Vivo,” Science, 252: 431-434 (Apr. 19, 1991) at 431, col. 2.

[96]

Efficient transformation of host cells has been observed for recombinant adenoviruses having substitutions in the E1 region by DNA sequences encoding neomycin resistance or the SV40 early region (i.e., T antigen). Berkner at 623-624 citing van Doren, et al., “Efficient Transformation of Human Fibroblasts by Adenovirus-simean Virus 40 Recombinants,” Mol. Cell. Biol., 4:1653-1656 (1984) and van Doren, et al., “Infection of Eukaryotic cells by helper-independent recombinant adenoviruses: Early region 1 is not obligatory for integration of viral DNA, J. Virol. 50:606-614 (1984).

[97]

Similarly, Rosenfield (1991) discloses a recombinant adenovirus having the gene encoding human α1-antitrypsin successfully infected rat lung epithelium and expressed the α1-antitrypsin gene. The recombinant adenovirus of Rosenfield had a deletion in the E3 region (that permits encapsidation of the recombinant genome) and a deletion of portions of the E1a coding sequence (that impairs viral replication) but contains an insert of a α1-antitrypsin expression cassette. See Rosenfield at FIG. 1. The human α1-antitrypsin expression cassette consisted of the 5′ ITR and origin of replication followed by the encapsidation signal, the E1a enhancer, the Ad2 major late promoter (MLP), the Ad2 tripartite leaders 1-3, the α1-antitrypsin gene and an SV40 polyadenylation signal. Id. In Rosenfield, the above described vector construct was used to successfully infect and express human α1-antitrypsin in rat lungs in vitro and in vivo. In addition, other cells infected by recombinant adenoviruses having E1 deletions include human fibroblasts [van Doren, J. Virology, 50:606-614 (1984)]; and tk mouse cells transformed to a tk+ phenotype by an E1 region-deleted Ad recombinant substituted in the E3 region by the tk gene. See Berkner at 624, col. 1 citing Haj-Ahmad, et al., J. Virol., 57:267-274 (1986).

[98]

Adenoviral transformants having E3 deletions replaced with genomic inserts are also useful in transforming eukaryotic cells. See Berkner at page 642, citing to Ghosh-Choudhury, Biochem. Biophys. Res. Scam., 147:964-973 (1987) for transforming CHO cells to express DHFR; and citing to Karlson, EMBO J. 5:2377-2385 (1986) for using Ad transformants to transfer NeoRto hematopoietic cells. Karlson reflects the utility of adenoviruses in delivering two genes, e.g., the NeoRinserted in the E3 deletion and a β-globin or α-β hybrid globin gene in the E1 region, which genes were expressed in a tissue-specific manner. See Berkner at 624, col. 1 discussing Karlson.

[99]

The transformation efficiency of adenoviral vectors is higher than obtained using DNA transfection, but significantly less than obtained with retroviruses. Berkner at 624, col. 1. Adenoviruses offer certain advantages over retroviruses, including no rearrangement of intron-containing genes or inhibition due to polyadenylation signals, as observed with the latter. Id. at cols. 1-2.

[100]

For Ad transformants having gene inserts that are expressed during the late phases of the adenoviral infection (e.g., E3 or later), the adenoviral tripartite leader sequence is required to obtain any translation. Berkner at 624, col. 3. Seventy fold differences in translation are observed between constructs having a small portion of the tripartite leader sequence versus the same gene proceeded by almost all of the tripartite leader sequence. Berkner at 624, col. 3. Thus, adenoviral vectors may be readily prepared and utilized given the above described disclosure and the knowledge in the art.

[101]

Vector constructs of the present invention may also be utilized with other viral vectors, including for example poliovirus (Evans et al., Nature 339:385-388, 1989, and Sabin, J. of Biol. Standardization 1:115-118, 1973); rhinovirus (Arnold, J. Cell. Biochem. L401-405, 1990); pox viruses, such as canary pox virus or vaccinia virus (Fisher-Hoch et al., PNAS 86:317-321, 1989; Flexner et al., Ann. N.Y. Acad. Sci. 569:86-103, 1989; Flexner et al., Vaccine 8:17-21, 1990; U.S. Pat. Nos. 4,603,112 and 4,769,330; WO 89/01973); SV40 (Mulligan et al., Nature 277:108-114, 1979); influenza virus (Luytjes et al., Cell 59:1107-1113, 1989; McMicheal et al., The New England Journal of Medicine 309:13-17, 1983; and Yap et al., Nature 273:238-239, 1978); parovirus such as adeno-associated virus (Samulski et al., Journal of virology 63:3822-3828, 1989, and Mendelson et al., Virology 166:154-165, 1988); herpes (Kit, Adv. Exp. Med. Biol. 215:219-236, 1989); SV40; HIV; measles (EP 0 440,219); corona virus and Sindbis virus (Xiong et al., Science 234:1188-1191, 1989; U.S. Pat. Nos. 5,091,309 and 5,217,879).

[102]

Within other aspects of the present invention, the vector contructs described above may also direct the expression of additional non-vector derived genes. Within one embodiment, the non-vector derived gene encodes a protein, such as an immune accessory molecule. Representative examples of immune accessory molecules include IL-1, IL-2, IL-3, IL-4, IL-5, IL-6, IL-7 (U.S. Pat. No. 4,965,195), IL-8, IL-9, IL-10, IL-11, IL-12, B7, B7-2, GM-CSF, CD3 (Krissanen et al., Immunogenetics 26:258-266, 1987), ICAM-1 (Simmons et al., Nature 331:624-627, 1988), β-microglobulin (Parnes et al., PNAS 78:2253-2257, 1981), LFA3 (Wallner et al., J. Exp. Med. 166(4):923-932, 1987), HLA Class I, and HLA Class II molecules. Within one preferred embodiment, the non-vector derived gene encodes gamma-interferon.

[103]

Sequences which encode the above-described non-vector derived genes (e.g., immune accessory molecules), as well as the cytotoxic genes discussed above, may be readily obtained from a variety of sources. For example, plasmids which contain sequences that encode immune accessory molecules may be obtained from a depository such as the American Type Culture Collection (ATCC, 10801 University Blvd., Manassas, VA 20110-2209), or from commercial sources such as British Bio-Technology Limited (Cowley, Oxford England). Representative sources sequences which encode the above-noted anti-tumor agents include BBG 12 (containing the GM-CSF gene coding for the mature protein of 127 amino acids), BBG 6 (which contains sequences encoding gamma interferon), ATCC No. 39656 (which contains sequences encoding TNF), ATCC No. 20663 (which contains sequences encoding alpha interferon), ATCC Nos. 31902, 31902 and 39517 (which contains sequences encoding beta interferon), ATCC No 67024 (which contains a sequence which encodes Interleukin-1), ATCC Nos. 39405, 39452, 39516, 39626 and 39673 (which contains sequences encoding Interleukin-2), ATCC Nos. 59399, 59398, and 67326 (which contain sequences encoding Interleukin-3), ATCC No. 57592 (which contains sequences encoding Interleukin4), ATCC Nos. 59394 and 59395 (which contain sequences encoding Interleukin-5), and ATCC No. 67153 (which contains sequences encoding Interleukin-6). It will be evident to one of skill in the art that one may utilize either the entire sequence of the protein, or an appropriate portion thereof which encodes a protein having biological activity.

[104]

Alternatively, known cDNA sequences which encode cytotoxic genes or other non-vector derived genes may be obtained from cells which express or contain such sequences. Briefly, within one embodiment mRNA from a cell which expresses the gene of interest is reverse transcribed with reverse transcriptase using oligo dT or random primers. The single stranded cDNA may then be amplified by PCR (see U.S. Pat. Nos. 4,683,202, 4,683,195 and 4,800,159. See also PCR Technology: Principles and Applications for DNA Amplification, Erlich (ed.), Stockton Press, 1989 all of which are incorporated by reference herein in their entirety) utilizing oligonucleotide primers complementary to sequences on either side of desired sequences. In particular, a double stranded DNA is denatured by heating in the presence of heat stable Taq polymerase, sequence specific DNA primers, ATP, CTP, GTP and TTP. Double-stranded DNA is produced when synthesis is complete. This cycle may be repeated many times, resulting in a factorial amplification of the desired DNA.

[105]

Sequences which encode the above-described genes may also be synthesized, for example, on an Applied Biosystems Inc. DNA synthesizer (e.g., ABI DNA synthesizer model 392 (Foster City, Calif.)).

Pharmaceutical Compositions

[106]

Within another aspect of the invention, pharmaceutical compositions are provided, comprising a recombinant viral vector as described above, in combination with a pharmaceutically acceptable carrier or diluent. Such pharmaceutical compositions may be prepared either as a liquid solution, or as a solid form (e.g., lyophilized) which is suspended in a solution prior to administration. In addition, the composition may be prepared with suitable carriers or diluents for either surface administration, injection, oral, or rectal administration.

[107]

Pharmaceutically acceptable carriers or diluents are nontoxic to recipients at the dosages and concentrations employed. Representative examples of carriers or diluents for injectable solutions include water, isotonic saline solutions which are preferably buffered at a physiological pH (such as phosphate-buffered saline or Tris-buffered saline), mannitol, dextrose, glycerol, and ethanol, as well as polypeptides or proteins such as human serum albumin. A particularly preferred composition comprises a vector or recombinant virus in 10 mg/ml mannitol, 1 mg/ml HSA, 20 mM Tris, pH 7.2, and 150 mM NaCl. In this case, since the recombinant vector represents approximately 1 mg of material, it may be less than 1% of high molecular weight material, and less than 1/100,000 of the total material (including water). This composition is stable at −70° C. for at least six months.

[108]

Pharmaceutical compositions of the present invention may also additionally include factors which stimulate cell division, and hence, uptake and incorporation of a recombinant retroviral vector. Representative examples include Melanocyte Stimulating Hormone (MSH), for melanomas or epidermal growth factor for breast or other epithelial carcinomas.

[109]

Particularly preferred methods and compositions for preserving recombinant viruses are described in U.S. applications entitled “Methods for Preserving Recombinant Viruses” (U.S. Ser. No. 08/135,938, filed Oct. 12, 1993, and U.S. Ser. No. 08/153,342, filed Nov. 15, 1993, which are incorporated herein by reference in their entirety).

Methods of Administration

[110]

Within other aspects of the present invention, methods are provided for inhibiting or destroying pathogenic agents in a warm-blooded animal, comprising administering to a warm-blooded animal a recombinant viral vector as described above, such that the pathogenic agent is inhibited or destroyed. Within various embodiments of the invention, recombinant viral vectors may be administered in vivo, or ex vivo as described in greater detail below. Alternatively, the cytotoxic genes, gene products, vector constructs or viral vectors of the present invention may also be administered to a patient by a variety of other methods. Representative examples include transfection by various physical methods, such as lipofection (Felgner et al., Pros Natl. Acad. Sci. USA 84:7413-7417, 1989), direct DNA injection (Acsadi et al., Nature 352:815-818, 1991); microprojectile bombardment (Williams et al., PNAS 88:2726-2730, 1991); liposomes of several types (see e.g., Wang et al., PNAS 84:7851-7855, 1987); CaPO4(Dubensky et al., PNAS 81:7529-7533, 1984); DNA ligand (Wu et al, J. of Biol. Chem. 264:16985-16987, 1989); administration of nucleic acids alone (WO 90/11092); or administration of DNA linked to killed adenovirus (Curiel et al., Hum. Gene Ther. 3: 147-154, 1992).

[111]

Within one embodiment of the invention, a patient suffering from a non-metastatic, but otherwise untreatable tumor such as glioblastoma, astrocytoma, or other brain tumor, may be treated by injecting purified, concentrated HSVTK vector directly into the tumor. The vector is preferentially integrated and expressed in tumor cells since only growing cells are transducible with retroviral vectors. The vector may express HSVTK in an unregulated fashion or, to promote greater tumor specificity, may express HSVTK from a tissue or event specific promoter which is preferentially expressed in the tumor. For instance, a vector which expresses HSVTK from the CEA promoter may be utilized to treat breast or liver carcinomas. Multiple injections (>10) of vector (approximately 1 ml with a titer of 1×107-1×108cfu) can be delivered over an extended period of time (>3 months) since the purified vector contains non-immunogenic quantities of protein (<1 mg protein per 1×107cfu). Thus, injections may continue until a large fraction of the tumor cells have become transduced. Vector may be delivered stereotactically before or after debulking surgery or chemotherapy. After in vivo transduction has occurred, the transduced tumor cells may be eliminated by treating the patient with pro-drugs which are activated by HSVTK, such as acyclovir or ganiclovir.

[112]

Within another aspect of the present invention, methods are provided for destroying pathogenic agents in a warm blooded animal, comprising administering to the animal Vector Producing Cells (also termed “VCLS” or “producer cells”), in order to destroy the pathogenic agent. Within a preferred embodiment, the VCLs may be injected directly into a tumor, thereby allowing for the continual production of retroviral vector in vivo and an increasein the efficiency of transduction.

[113]

One difficulty with the direct injection of VCLs however, is that in certain instances a very potent immune response may result, thus making such therapy feasible for only a very short term (<2 weeks). Therefore, within preferred embodiments of the invention the immune response against VCLs may be minimized by selecting packaging cell lines made from autologous or HLA-matched human cells. In addition, in order to further limit the immune response against viral structural proteins expressed by the VCLS, the cells may be enclosed in a structure, such as a bead or a bag, which has a semi-permeable membrane, allowing vector particles to diffuse into the tumor, but preventing host immune cells from passing through the membrane and thereby generating an immune response. Methods which decrease the immune response allow additional time for in vivo transduction to occur, and thus improves the therapy. In each case, the VCL is preferably destroyed by treatment with acyclovir or ganiclovir after it has accomplished its role in the in vivo transduction of cells.

[114]

Within another embodiment of the invention, metastatic, but highly localized cancers such as ovarian, neuroblastoma and cervical carcinomas (which are metastatic, but typically remain localized to the peritoneal cavity) may be treated according to the methods of the present invention. Within this embodiment, vector or VCLs may be injected directly into the peritoneal cavity. Within a particularly preferred approach, rapidly growing tumors are preferentially transduced in vivo by a HSVTK vector, and may be subsequently destroyed by administering acyclovir or ganiclovir to the patient.

[115]

Within yet another embodiment of the invention, viral vectors or VCLS may be injected into the pleural cavity for the treatment of pleural carcinomatosis arising from lung, breast or colon carcinomas, or by intrathecal injection for the treatment of meningeal carcinomatosis.

[116]

Within another embodiment of the invention, patients with metastatic, disseminated cancer may also be treated according to the methods of the present invention. For instance, primary pancreatic carcinomas or colorectal carcinomas that have metastasized to, for example, the liver, may be injected directly with viral vector or VCL of the present invention by inserting a syringe, possibly targeted by stereotaxis, through the body wall. Tumors in the lung or colon may similarly be accessed by bronchoscopy or sigmoidoscopy, respectively. Tumor cells which have been transduced in vivo by, for example, a vector which expresses HSVTK, may then be destroyed by administration of acyclovir or ganciclovir to the patient.

[117]

Within preferred embodiments of the invention, in addition to administration of a cytotoxic gene or gene products (e.g., HSVTK) as described above, a variety of additional therapeutic compositions may be co-administered or sequentially administered to a warm-blooded animal, in order to inhibit or destroy a pathogenic agent. Such therapeutic compositions may be administered directly, or, within other embodiments, expressed from independent vector constructs. Alternatively, a single vector which directs the expression of both a cytotoxic gene or gene product, and a gene which encodes the therapeutic composition (e.g., a non-vector derived gene as discussed above) may be administered to the warm-blooded animal, in order to inhibit or destroy a pathogenic agent. Within a particularly preferred embodiment, vector or VCLs which deliver and express both the HSVTK gene and a gene coding for an immune accessory molecule, such as human γ-IFN, may be administered to the patient. In such a construct, one gene may be expressed from the vector LTR and the other may utilize an additional transcriptional promoter found between the LTRs, or may be expressed as a polycistronic mRNA, possibly utilizing an internal ribosome binding site. One example of such a provector is found in Example 10. After in vivo gene transfer, the patient's immune system is activated due to the expression of γ-IFN. After this has occurred, the overall tumor burden itself may be reduced by treating the patient with acyclovir or ganiclovir, allowing more effective immune attack of the tumor. Infiltration of the dying tumor with inflammatory cells, in turn, increases immune presentation and further improves the patient's immune response against the tumor.

[118]

In addition to cancer, as noted above the methods of the present invention may be utilized to destroy or inhibit other pathogenic agents. For example, viral vectors of the present invention may be administered to human T-cell and/or macrophage/monocyte cell lines, in order to increase their resistance to HIV in the presence of AZT or ddC, as compared to the same cells without viral vector treatment. Treatment with AZT may be at lower than normal levels to avoid toxic side effects, but still efficiently inhibit the spread of HIV.

[119]

Within a preferred embodiment of the invention, susceptible T-cells or monocytes may be targeted with vectors which carry VSV G, HIV env or hybrid env, in order to direct absorption of vector particles to CD4+ cells. For example, viral vectors may be targeted by producing vector particles which will infect cells using the HIV env protein (gp120) as a receptor. Such HIV-tropic viruses may, within preferred embodiments be produced from an MLV-based packaging cell line constructed from cells which have naturally high levels of CD4 protein (for example, Sup T1 cells) and/or CD26 protein in their cell membrane, or from any cell type “engineered” to express such proteins. The resultant virions, which form by budding from the cell membrane itself, contain the CD4 (and/or CD26) proteins in their membrane. Since membranes containing CD4 (and CD26) are known to fuse with membranes carrying HIV env, these virions should fuse with cells containing HIV env and result in the specific infection of HIV-infected cells which have gp120 on their surface. Such a packaging cell line may require the presence of an MLV env protein to allow proper virion assembly and budding to result in infectious virions. If so, an MLV env which does not infect human cells (such as ecotropic env) would be used such that viral entry will occur only through the CD4 (and/or CDCC)/HIV env interaction and not through the MLV env cell receptor, which would presumably not depend upon the presence of HIV-env for infection. Alternatively, the requirement for MLV env may be satisfied by a hybrid envelope where the amino-terminal binding domain has been replaced by the amino-terminal HIV-env binding domain of CD4 and/or CD26. This inversion of the normal virus-receptor interaction can be used for all types of viruses whose corresponding cellular receptor has been identified.

[120]

As will be understood by one of ordinary skill in the art given the disclosure provided herein, any of the vector constructs described herein may be delivered not only as a viral vector, but as direct nucleic acid vectors. Such vectors may be delivered utilizing any appropriate physical method of gene transfer.

[121]

The following examples are offered by way of illustration, and not by way of limitation.

EXAMPLES

Example 1

A. Construction of Plasmids Containing Vector LTR Sequences

[122]

All of the following retroviral vectors are based on the N2 vector (Keller et al., Nature 318:149-154, 1985). Briefly, 5′ and 3′ Eco RI LTR fragments (2.8 and 1.0 kb, respectively) (Armentano, J. vir. 61:1647, 1987; Eglitis, Science 230:1395, 1985) are initially subcloned into the Eco RI site of plasmids SK+ (Stratagene, San Diego, Calif.) and pUC31. pUC31 is a modification of pUC19 (Stratagene, San Diego, Calif.) carrying additional restriction sites (Xho I, Bgl II, BssH II, and Nco I) between the Eco RI and Sac I sites of the polylinker. Plasmid N2R3+/− is thereby created from ligation of the SK+plasmid with the 1.0 kb 3′ LTR fragment. The plasmids p31N2RS+/− and p31N2R3+/− are constructed from the ligation of pUC31 with the 2.8 kb 5′ LTR and packaging signal (Ψ) or the 1.0 kb 3′ LTR fragment, respectively. In each case N2 refers to the vector source, R refers to the fact that the fragment is an Eco RI fragment, 5 and 3 refer to 5′ or 3′ LTRs, and + or − refers to the orientation of the insert (see FIGS. 1-6 for examples of LTR subclones).

[123]

In one case, a 1.2 kb Cla I/Eco RI 5′ LTR and Ψ fragment from N2 is subcloned into the same sites of an SK+vector. This vector is designated pN2CR5. In another case, the 5′ LTR containing a 6 bp deletion of the splice donor sequence (Yee et al., Cold Spring Harbor, Quantitative Biology, 51:1021, 1986) is subcloned as a 1.8 kb Eco RI fragment into pUC31. This vector is designated p31N25Δ[+], FIG. 6.

B. Construction of Plasmids Containing HSVTK and HIV Promoter

[124]

The coding region and transcriptional termination signals of HSV-1 thymidine kinase gene (HSVTK) are isolated as a 1.8 kb Bgl II/Pvu II fragment from plasmid 322TK (3.5 kb Bam HI fragment of HSV-1 (McKnight et al.) cloned into Bam HI of pBR322 (ATCC No. 31344)) and cloned into Bgl II/Sma I-digested pUC31. This construct is designated pUCTK. For constructs which require deletion of the terminator signals, pUCTK is digested with Sma I and Bam HI and the 0.3 kb fragment containing the (A)nsignal is removed. The remaining coding sequences and sticky-end Bam HI overhang are reconstituted with a double-stranded oligonucleotide made from the following oligomers:

[125]

5′ GAG AGA TGG GGG AGG CTA ACT GAG 3′ (SEQUENCE ID. NO. 1)

[126]

5′ GAT CCT CAG TTA GCC TCC CCC ATC TCT C 3′ (SEQUENCE ID. NO. 2)

[127]

The resulting construct is designated pTK Δ A, FIG. 7.

[128]

For diagnostic purposes, the oligos are designed to destroy the Sma I site while maintaining the Ava I site without changing the translated protein.

[129]

The plasmid pPrTKΔA (FIG. 8), which contains the HSVTK promoter and coding sequence (lacking an (A)nsignal), is constructed as follows.

[130]

1. pTKΔa is linearized with Bgl II treated with alkaline phosphatase, and gel purified.

[131]

2. A 0.8 kg fragment contained the HSVTK transcriptional promoter is isolated as a Bam HI/Bgl II fragment from p322TK

[132]

3. Products from (1) and (2) are ligated, transformed into bacteria, and positive clones are screened for the proper orientation of the promoter region. A resultant clone is designated pPrTKΔA (FIG. 8).

[133]

The 0.6 kb HIV promoter sequences are cloned as a Dra I/Hind III fragment from pCV-1 (Arya et al., Science 229:69-73, 1985) into Hinc 11/Hind III-cut SK+. The resulting construct is designated pSKHL.

C. Construction of Retroviral Provectors Expressing HSVTK from a Constitutive Promoter

[134]

The retroviral provectors pTK-1, pTK-2 and pTK-3 are constructed essentially as described below.

[135]

1. The 5 kb Xho I/Hind III 5′ LTR and plasmid sequences are isolated from p31N2R5(+) (FIG. 1).

[136]

2. HSVTK coding sequences lacking transcriptional termination sequences are isolated as a 1.2 kb Xho I/Bam HI fragment from pTKΔA (FIG. 2).

[137]

3. 3′ LTR sequences are isolated as a 1.0 kb Bam HI/Hind III fragment from pN2R3(−) (FIG. 2).

[138]

4. The fragments from steps 1-3 are mixed, ligated, transformed into bacteria, and individual clones identified by restriction enzyme analysis. The construct is designated TK-1 (FIG. 9).

[139]

5. pTK-3 is constructed by linearizing TK-1 with Bam HI, filling in the 5′ overhang and blunt-end ligating a 5′-filled Cla I/Cla I fragment containing the bacterial lac UV5 promoter, SV40 early promoter, plus Tn5 Neorgene obtained from pAFVXM retroviral vector (Krieger et al., Cell 39:483, 1984; St. Louis et al., PNAS 85:3150, 1988). Kanamycin-resistant clones are isolated and individual clones are screened for the proper orientation by restriction enzyme analysis (see FIG. 9).

[140]

pTK-2 is constructed essentially as follows (see FIG. 10):

[141]

1. The plasmid p31N2R5(+) (FIG. 1) is cut with Xho I and Hind III.

[142]

2. A 2.0 kb fragment containing the HSVTK coding sequence (lacking its (A)nsequence) and the HSVTK transcriptional promoter is isolated from Xho I/Hind III cut pPrTRΔ (FIG. 8).

[143]

3. Isolating the 3′ LTR as a 1.0 kb fragment from Bam HI/Hind III cut pN2R3(−) (FIG. 2).

[144]

4. The fragments from 1, 2 and 3 above are ligated, transformed into bacteria, and amprclones of the appropriate structure identified by restriction enzyme analysis.

[145]

These constructs are used to generate infectious recombinant vector particles in conjunction with a packaging cell line.

D. Construction of pKTVIHAX

[146]

The retroviral vector pKTVIHAX is constructed essentially as described below (see FIG. 11).

[147]

1. The 9.2 kb Asu II/Xho I fragment is isolated from N2 vector DNA (Keller et al., Nature 318:149, 1985).

[148]

2. The 0.6 kb Xho I/Bam HI promoter fragment is isolated from plasmid pSKHL from Example 1B.

[149]

3. The 0.3 kb Bgl II/Acc I and 1.5 kb Acc I/Acc I fragment are purified from pUCTK from Example 1B.

[150]

4. The fragments from 1, 2, and 3 are ligated, transformed into bacteria, and appropriate ampicillin resistant clones of the given structure identified by restriction enzyme analysis.

E. Construction of pKTVIH-5 and pKTVIH5 Neo Retroviral Vectors

[151]

The retroviral vectors pKTVIH-5 and pKTVIH5 Neo are constructed essentially as described below (see FIG. 12).

[152]

1. The 5′ LTR and vector fragment is isolated as a 4.5 kb Xho I/Bam HI fragment from vector p31N25Δ(+) (FIG. 6).

[153]

2. The 3′ LTR is isolated as a 1.0 kb Apa I/Bam HI fragment from pN2R3(+) (FIG. 4).

[154]

3. The 0.6 kb HIV promoter element is isolated from pSKHL as an Apa I/Eco RI fragment from Example 1B.

[155]

4. The HSVTK coding sequence and transcriptional termination sequences are isolated as a 1.8 kb Eco RI/Sal I fragment from pUCTK from Example 1B.

[156]

5. The fragments from 1-4 are combined, ligated, transformed into bacteria, and clones of the desired construct are identified by restriction enzyme analysis. The construct is designated pKTVIH-5, FIG. 12.

[157]

6. Plasmid pKTVIH5 Neo is constructed by linearizing pKTVIH5 with Cla I; mixing with a 1.8 kb Cla I fragment containing the bacterial lac UV5 promoter, SV40 early promoter, and Tn5 Neormarker obtained from pAFVXM, ligating, transforming bacteria and selecting for kanamycin resistance. Clones with the insert in the indicated orientation are identified by restriction analysis (FIG. 12).

F. Construction of MHMTK Neo Retroviral Vector

[158]

The retroviral vector MHMTK Neo is constructed essentially as described below (see FIG. 14).

[159]

1. Construction of intermediate plasmid MHM-1 LTR.

[160]

a) Plasmid pN2CR5 from Example 1A is linearized by partial digestion with Fok I, the 5′ overhang filled in with deoxynucleotide triphosphates using Klenow DNA polymerase, and Hind III linkers inserted. After transformation into bacteria, a clone with a Hind III linker inserted in the MLV LTR Fok I site is identified by restriction enzyme analysis. This plasmid is designated pN2CR5FH.

[161]

b) Plasmid pN2CR5FH is linearized with Nhe I, the 5′ overhang filled in with Klenow polymerase digested with Hind III, and the 4.3 kb fragment with promoterless LTR sequences isolated.

[162]

c) 0.5 kb Eco RV/Hind III HIV promoter sequences are isolated from pSKHL from Example 1B.

[163]

d) b and c are mixed, ligated, used to transform bacteria, and the structure of MHM-1 is confirmed by restriction enzyme analysis (see FIG. 13).

[164]

2. The 0.7 kb Eco RV/Bal I fragment isolated from MHM-1 is repaired and subcloned into the Eco RV site of plasmid I30B. I30B is a modified IBI30 plasmid containing additional Bgl II, Bst II, Nco I and Nde I sites in the polylinker). After transformation into bacteria, clones with the desired orientation are identified by restriction enzymne analysis. This construct is designated pMHMB.

[165]

3. Plasmid pMHMB is digested with Apa I and Xho I and the 0.8 Kb fragment (to be used as the 3′ LTR) was gel purified.

[166]

4. MHM-1 LTR is digested with Apa I/Bam HI and the 1.8 kb MHM-1 LTR (FIG. 13) packaging sequence gel purified.

[167]

5. The 2.8 kb Bgl II/Sal I fragment containing the HSVTK coding region upstream of the SV40 early promoter driving Neorobtained from pTK-3 (see FIG. 9).

[168]

6. 3-5 are mixed, ligated, used to transform bacteria, and desired clones are identified by restriction enzyme analysis.

[169]

This vector and similar vectors which contain inducible elements in their LTR's result in an added safety feature. Briefly, since the LTR is inactive in the absence of HIV, insertional downstream activation of undesirable host genes (such as proto-oncogenes) does not occur. However, tat expression in the packaging cell line allows facile manipulation of the virion in tissue culture.

G. Construction of RRKTVIH Retroviral Vector

[170]

The retroviral vector RRKTVIH is constructed essentially as described below (see FIG. 17).

[171]

1. The 9.2 kb Asu II/Xho I fragment is isolated from N2 vector DNA (Keller et al., Nature 318:145, 1985).

[172]

2. The 0.6 kb Xho I/Eco RI HIV promoter fragment is isolated from plasmid pSKHL from Example 1B.

[173]

3. The HIV rev responsive HSVTK (RRTK) is constructed in the following manner:

[174]

a) The HSVTK gene is subcloned as a 1.8 kb Hinc II/Pvu II fragment into the Eco RV site of vector SK+. This construct is designated pSTK(−). (FIG. 15.)

[175]

b) The 1.8 kb Kpn I/Hind III fragment which contains the CRS/CAR elements from HIV IIIB env is repaired and blunt-end ligated into the Sma I site of vector I30B. This construct is designated pCRS/CAR(−). I30B is a modified IBI30 plasmid containing the same additional restriction sites as for pUC31 with an Nde I site instead of the IBI30 Xho I site.

[176]

c) The 3.6 kb BssH II/Eco RI fragment containing vector and HSVTK polyadenylation signals is isolated from pSTK−,

[177]

d) The 1.8 kb Bam HI/BssH II CRS/CAR fragment is isolated from pCRS/CAR- (FIG. 16).

[178]

e) The 1.2 Eco RI/Bam HI coding sequence fragment is isolated from pTKΔA (FIG. 7).

[179]

f) c, d and e are ligated and desired recombinant vector constructs are screened by restriction enzyme analysis.

[180]

4. Rev-responsive HSVTK is isolated as a 3.6 kb Eco RI/Cla I fragment.

[181]

5. 1, 2 and 4 are ligated and appropriate recombinants identified by restriction enzyme analysis.

H. Construction of Tat and Anti-tat Expression Vectors

[182]

The expression vector tat and anti-tat are constructed essentially as described below (see FIG. 18). These vectors are used as pseudo-HIV to test-activate tat-dependent HSVTK vectors.

[183]

1. The Hisrexpression vector pBamHis is linearized with Bam HI and treated with calf intestinal alkaline phosphatase.

[184]

2. The Sac I site of pCV-1 (Arya et al., Science 229:69-73, 1985) is mutagenized to a Bam HI site and the 350 bp Bam HI coding sequence of HIV tat is isolated.

[185]

3. The fragments purified in steps 1 and 2 are mixed, ligated, used to transform bacteria, and clones with tat in both orientations (expressing tat or the “anti-sense” tat) are identified by restriction enzyme analysis.

[186]

These constructs are used to generate infectious recombinant vector particles in conjunction with a packaging cell line such as PA317 (ATCC No. 9078) essentially as follows. Briefly, 10 μg of plasmid provector is transfected by calcium phosphate precipitation onto Ψ2 cells, and the supernatents used to infect PA317 cells. These vectors are genetically stable and result in predictable proviral structure as judged by Southern blot analysis of restriction-enzyme-digested genornic DNA from individual clones of infected cells (39/40 clones tested had proviruses of the expected size).

Example 2

Packaging of Vector Constructs

[187]

The biological properties of these retroviral vectors are described hereinafter. The HIV tat gene (“tathis” vector—see FIG. 18) is transfected into mouse PA317 cells. Five individual histidinol-resistant subclones are obtained, designated TH 1-5 which express HIV tat. These cells are thus an experimental approximation of HIV infected cells. The vectors KTVIHAX (from Example 1D), KTVIH5Neo (from Example 1E), and MHMTYNeo (from Example 1F), are subsequently introduced by infection into these tat-expressing cell lines as well as their parent cell line lacking tat. Cell viability is then determined in various concentrations of the HSVTK-specific cytotoxic drug, acyclovir (ACV). The data are reported here as LD50 (the drug concentration at which 50% toxicity is observed) interpolated from graphs of viable cells vs ACV concentration. The parental cell line containing the HSVTK vectors but lacking tat (non-HIV-infected model) showed no detectable toxicity by ACV at the concentrations tested. These cells thus require 100 μM ACV or greater for cytotoxicity. This is true also for these cells lacking the vectors. Thus the vectors alone, ACV alone, or even the vector +ACV is not cytotoxic. However, cell lines which express HIV tat (the experimental representation of an HIV infection) are effectively killed by ACV (FIG. 21). This is true to varying degrees for all three vectors tested. These data indicate that HIV-infected cells will be killed in the presence of ACV and “potentiator” vectors.

[188]

In an analogous experiment, vectors KTVIHAX and KTVIH5 Neo are introduced by infection into human T-cell and monocyte cell lines Sup T1 (Science 234:1123), H9, HL60 (ATCC No. CCL240), H9 (ATCC No. HTB 176), and U937 (ATCC No. CRL1593) cells. Subsequently, these cells are infected with tathis or anti-tat vectors, selected in histidinol, and cell viability determined at various concentrations of the ACV analog, Fluoro-iodo-arabinoside-uridine (FIAU). The LD50reported in Table 1 (below) indicate that a vector dependent increase in FIAU toxicity occurs in the absence of HIV tat but is increased an additional ten- to twentyfold when tat is present. This indicates that although there is a baseline HSVTK expression in all but HL60 cells, expression is even greater in the presence of HIV tat. Addition of the HSVTK vectors alone had no detectable increase in ACV toxicity in HL60 cells in the absence of HIV tat.

[189]

HIV tat inducibility of FIAU cytotoxicity in human
monocyte and T-cell lines infected with conditionally
lethal recombinant retroviral vectors
Cell TypeVectorstatLD50FIAU (1M)
HL6050
(“monocyte”)+50
KTVIHAX50
KTVIHAX+<0.2
KTVIH5Neo50
KTVIH5Neo+<0.2
U93710
(“monocyte”)KTVIHAX0.5
KTVIHAX+0.05
KTVIH5Neo0.5
KTVIH5Neo+0.05
Sup T110
(“T-cell”)+5
KTVIHAX0.5
KTVIHAX+0.05
KTVIH5Neo0.5
KTVIH5Neo+0.05
H910
(”T-cell”)KTVIHAX2
KTVIHAX+0.2
KTVIH5Neo1
KTVIH5Neo+0.05

[190]

Similarly, HIV infection of human T-cell line H9 containing HSVTK vector KTVIHAX +/− FIAU show a fivefold preferential inhibition of infection (through cell killing) in the presence of FIAU. Cultures are first treated with vector, then challenged with HIV for 4 days with or without FIAU. Viral supernatants are then titered using the soluble alkaline phosphatase assay described below.

[191]

Soluble Alkaline Phosphatase Assay

[192]

Medium was removed from infected cells, microfuged for 10 seconds, and then heated to 68° C. for 10 minutes to destroy endogenous phosphatases. The medium was then microfuged for 2 minutes and an aliquot (10-50 μl) removed for assay. 100 μl of buffer (1 M diethanolamine, pH 9.8; 0.5 Mm MgCl2; 10 mM L-homoarginine) was added and then 20 μl of 120 mM p-nitrophenylphosphate (in buffers) was added. The A405of the reaction mixture was monitored using an automatic plate reader.

[193]

FIGS. 20 and 21 depict typical results of a time course of HIV infection of Sup T1 cells using the alkaline phosphatase assay in the presence of varying concentrations of antiviral drugs. The “+” and “−” on day 6 indicate the presence or absence of syncytia respectively.

Example 3

Construction of PBH-1 and pMγ-IFN/TK Vectors

[194]

pRRTK from Example 1G is digested with Xho I and Bam HI in order to obtain a 1.2 Kb fragment containing the HSVTK gene. This fragment is ligated into pSP72 (Promega Corp., Madison, Wis.) at the Xho I and Bam HI restriction sites found in the polylinker. This plasmid is designated pRRTK-B. pRRTK-B is digested with Xho I and Cla I to obtain a 1.2 Kb fragment containing the HSVTK gene. This fragment is then ligated into KT-3 (the construction of this vector is described in WO 91/02805) after digestion with Xho I and Cla I site removal of the Kb HIV gag/prot fragment by gel purification. This plasmid is designated pBH-1.

Example 4

Construction of DA/TK-3, DA/BH-1, DA mγ-IFN/TK and HA hγ-IFN/TK Producer Cell Lines

[195]

Ten micrograms of pTK-3 DNA (FIG. 9) and 10 μg of pMLP-G DNA (the construction of this vector is described in WO 92/14829) is cotransfected into 293 2-3 (a cell line derived from 293 cells ATCC No. CRL 1573, WO 92/05266) using a standard CaPO4method. Forty-eight hours after transfection, the supernatant is collected and filtered through a 0.45 μm syringe filter. This supernatant contains G-pseudotyped TK-3 vector which is used to infect freshly prepared DA (a cell line derived from D-17 ATCC No. CCL 183, WO 92/05266) cells. Twenty-four hours after adding the viral supernatant, the DA cells are placed under G-418 selection (800 μg/ml). After 7-9 days, a G-418 selected non-clonal pool is obtained and designated DA/TK-3. High titer clones can be identified by limited dilution cloning and screening individual isolates for the highest titer whose vector also expresses HSVTK. This can be accomplished by determining Neo colony forming units by transducing a cell line which lacks cellular thymidine kinase such as 3T3TK or Hela TK and placing the cells in geneticin and HAT medium. The number of colonies growing under these conditions would reflect the number of transduced cells expressing Neo and HSVTK.

[196]

DA/BH-1 VCL was generated identically to DA/TK-3 with pBH-1 substituted for pTK-3. The generation of VCL for mγ-IFN/TK and hγ-IFN/TK is complicated by the fact that the vector does not contain a readily selectable drug resistance marker (such as Neo). The only known selection for HSVTK utilizes HAT medium with cells that lack endogenous TK (TK−). There are several ways by which VCLs for provectors such as mγ-IFN/TK and hγ-IFN/TK can be generated.

[197]

1. The PCL used to generate the VCL may be TK−. For instance, DA cells (TK+) could be grown in the presence of bromodeoxy uridine. This nucleotide analog is toxic specifically for cells that express TK and thus a rare mutant in the TK gene of DH would be selected for in culture. The frequency of this mutant could be increased by prior mutagenesis by physical means such as UV or γ irradiation or by chemical means such as exposure to chemical mutagen. Once the TK− variant of DA is generated, cells transduced with vectors such was mγ-IFN/TK or hγ-IFN/TK are selected for in HAT medium.

[198]

2. Selection in TK+ cells may be possible in some cell lines that contain relatively low levels of endogenous TK and may express the vector HSVTK at relatively high levels. This may be particularly true if HSVTK is expressed using a very active transcriptional promoter, e.g., the TK expressed from the LTR or CMV immediate early promoter. In this case, a modified HAT medium with below standard levels of thymidine may preferentially rescue transduced cells from the aininoperterin toxicity of HAT medium.

[199]

3. Selection for cells that express HSVTK may occur even in cells that express cellular TK (“dominant selection”) since the substrate specificity of HSVTK is much broader than that of cellular TK This difference can be exploited to select for HSVTK by using a selective medium similar to that used for the selection of Eco gpt (Stuhlmann et al., PNAS 81:7151, 1984). This selective medium utilized mycophenolic acid (Sigma Chem. Co., St. Louis, Mo.) to inhibit purine nucleotide biosynthesis resulting in cell death. If the cell expresses HSVTK, purine nucleosides such as xanthosine, may be phosphorylated by HSVTK to yield XMP, a precursor to both AMP and GMP. Thus, cells which express HSVTK may be selected in the same medium used for Eco gpt selection, with xanthosine substituted for xanthine.

[200]

4. VCLs may also be generated by selecting for the expression of vector genes other than the HSVTK gene. For example, VCLs containing vectors (KT1/TK) which express membrane bound proteins such may be sorted by fluorescence activated cell sorting. Alternatively, hγ-IFN/TK transduced VCLs may be sorted by the known increase of MHC class I and class II (as long as the PCL is human, since γ-IFN is highly species specific).

[201]

5. Further, clonal VCLs may be generated and identified in the absence of selection. This approach utilized the VSVG pseudotyped vector generated on 293 2-3 as described above, except that the DA cells will be transduced at high M.O.I. For example, 1 ml of vector generated by transient transfection (approximately 1×105cfu/ml on 3T3TK−) is used to transduce 1×104cells 1 time, 3 times, or 10 times to ensure that the majority of cells are transduced in at least 1 culture. The cells are then cloned by limiting dilution and individual isolates screened for high titer on 3T3TK− cells (or Hela TK− if xenotropic vector) in HAT medium.

Example 5

Determination of The Effect of Ganciclovir on CT26 With or Without TK-3

[202]

In order to determine whether or not ganciclovir had an effect on CT26 cells that were transduced with DA/TK-3 (CT26 TKneo), CT26 TKneo cells were seeded into six 10 cm2plates at a density of 2.5×106per plate. As contrasts, each of two other cell types, CT26 and CT26 Bgal (this cell line was transduced with a virus carrying the reporter gene β-galactosidase from E. coli.), were also seeded into six 10 cm2plates as controls. Five plates of each cell type were treated twice per day for four consecutive days with medium containing ganciclovir concentrations of 100 ug/ml, 50 ug/ml, 25 ug/ml, 12.5 ug/ml and 6.25 ug/ml. One plate of each cell type was left untreated. Afterwards, the cells were removed from each dish using trypsinedta, resuspended in DMEM with 10% FBS and counted. The data in FIG. 22 shows that even the lowest dose of ganciclovir had a dramatic cytotoxic effect on the CT26 TKneo cells. This dose of ganciclovir (6.25 ug/ml) or even the next higher dose (12.5 ug/ml) did not have an effect on either the CT26 or CT26 Bgal cells. However, beginning at a ganciclovir dose of 25 ug/ml, a dose-dependent decrease in cell growth could be seen, although CT26 TK Neo cells were always more sensitive to the drug.

Example 6

Determination of a Ganciclovir Dose for the Treatment of Mice Injected With CT26 TK Neo Cells

[203]

In order to test whether in vivo transduction of a murine tumor could be used to treat the disease, an experiment was performed to determine the optimal concentration of ganciclovir necessary to eliminate a tumor that was transduced and selected in vitro to assure 100% transduction. Colon tumor 26, CT6, (Brattain, Baylor College of Medicine, Houston, Tex.) cells are transduced with G-pseudotyped TK-3 vector. Twenty-four hours after adding the viral supernatant, the CT26 cells are placed under G-418 selection (450 μg/ml). After 10 days incubation, a G-418 selected pool is obtained and designated CT26TK Neo. Twelve groups of 3 mice each are injected with 2×105CT26TK Neo cells. Six groups of mice are injected with these cells intraperitoneally (I.P.) and six groups of mice are injected subcutaneously (S.C.). Two other groups of 3 mice each are injected with 2×105unmodified CT26 cells (as a control) either I.P. or S.C.

[204]

Ten days after the injection of the CT26 or CT26TK Neo cells into these groups of mice, several concentrations of ganciclovir treatment are initiated. Each dose regimen consists of 2 daily AM and PM I.P. injections of ganciclovir. The experiment is summarized in Table A below.

[205]

1CT26I.P.0
2CT26 TKneoI.P.0
3CT26 TKneoI.P.15.63
4CT26 TKneoI.P.31.25
5CT26 TKneoI.P.32.5
6CT26 TKneoI.P.125.0
7CT26 TKneoI.P.250.0
8CT26 TKneoI.P.500.0
9CT26Subq.0
10CT26 TKneoSubq.0
11CT26 TKneoSubq.15.63
12CT26 TKneoSubq.31.25
13CT26 TKneoSubq.62.5
14CT26 TKneoSubq.125.0
15CT26 TKneoSubq.250.0
16CT26 TKneoSubq.500.0

[206]

After 5 days, all of the mice in the 125 mg/Kg, 250 mg/Kg and 500 mg/Kg treated groups were dead due to the toxic effects of ganciclovir. Mice in the 15.63 mg/Kg, 31.25 mg/Kg and 62.5 mg/Kg treated groups were treated for an additional 7 days and were able to tolerate the treatment. Tumor measurements were made for 23 days (FIG. 23). CT26TK Neo grew only slightly slower than unmodified CT26. Complete tumor regression was seen in the groups of mice treated with the 62.5 mg/Kg regimen. Partial tumor regression was seen in the 31.25 mg/Kg treated groups. Little or no effect was seen in the 15.63 mg/Kg treated groups as compared to the 2 untreated control groups. Even though there was some toxicity observed in the 62.5 mg/Kg groups, it was not life threatening and reversible upon the discontinuation of the treatments so this concentration was used for future studies (FIG. 23). After 24 days, the I.P. injected animals were sacrificed and evaluated. As seen in FIGS. 24 and 25 the optimal concentration for anti-tumor effect was similar whether the tumor was grown I.P. or S.C.

Example 7

Comparison of Cytotoxicity on CT26 and CT26TK Neo in Vivo Tumor Growth

[207]

In order to determine whether ganciclovir has an effect on the growth of unmodified CT26 tumor cells in vivo, 2 groups of 7 mice are injected S.C. with 2×105unmodified CT26 cells and 2 groups of 7 mice are injected S.C. with 2×105CT26TK Neo cells. Seven days after tumor implantation, one group of CT26 injected mice and one group of CT26TK Neo injected mice are placed on a twice daily (AM and PM) regimen of I.P. ganciclovir at 62.5 mg/Kg. These mice are treated for 12 days or until the CT26TK Neo injected animals have no detectable tumor burden. Tumor growth is monitored over a three week period. Mice injected with CT26 and treated with ganciclovir had tumors that were somewhat smaller than untreated mice injected with CT26, indicating a small HSVTK-independent inhibition of tumor growth (FIG. 26). However, a dramatic decrease in tumor burden was observed if, and only if, CT26 TKneo containing mice were treated with ganciclovir (FIG. 26).

Example 8

Injection of β-Gal Direct Vector Into Mice Injected With CT26 Tumor Cells

[208]

To assess whether tumor cells could become transduced in vivo by the direct injection of vector, a reporter vector that expresses the E. coli β-galatosidase gene (CB β-gal) was used. Five groups of two mice each are injected S.C. with 2×105CT 26 tumor cells. Another group of two mice are S.C. injected with the 2×105CT 26 β-gal-expressing cells as a control for β-gal staining. The injection area on each mouse was circled with water-resistant marker. Two days after tumor cell inoculation, mice are injected with 0.2 ml of either PBS plus polybrene (4 μg/ml), CB β-gal (5×106colony forming units (CFU) ml) with and without polybrene, or DAhγ-IFN #15 with and without polybrene. Mice in each group are injected with their respective inoculant every two days within the area marked by water-resistant marker. Each group receives a total of four injections. Two days after the last injections, tumors from each of the groups of mice are removed, minced, and seeded into two 10 cm2plates containing DMEM plus 10% FBS and antibiotics. These tumor explants are allowed to grow in vitro for one week. After one week one the cells are harvested, fixed with 2% formaldehyde and stained with X-gal overnight. The results of this experiment are presented below:

[209]

1. CT26 (PBS + polybrene)7.4 × 1062.4 × 1053.2%
2. CT26 β-gal6.2 × 1062.0 × 10631.6%
3. CT26 + β-gal vector w/o poly6.6 × 1068.8 × 10513.3%
4. CT26 + β-gal vector w/poly6.4 × 1061.3 × 10620.0%
5. CT26 + DA hγIFN #15 w/o poly6.9 × 1062.0 × 1052.9%
6. CT26 + DA hγIFN #15 w/poly1.3 × 1063.0 × 1042.7%

[210]

Due to the overnight staining, there was a substantial background staining of the unmodified CT26 or CT26 injected with h-IFN vector as a staining control (3%). Under these conditions, a maximum net of 17% of the cells stained (20 minus the 3% background). Given that the positive control (100% transduced) was only 28.6% stained itself, the 17% stain indicates that (17/28.6)×100 or 60% of the cells were transduced in vivo. It is important to note that the tumor cells being transduced were in log phase and that the multiplicity of infection (M.O.I.) therefore decreased with tumor growth. These results from this experiment were used to design the next experiment.

Example 9

In Vivo Transduction of CT26 Tumor Cells by TK-3 Direct Vector

[211]

This experiment is designed to demonstrate that TK-3 vector can deliver the HSVTK gene to a target cell in vivo and inhibit tumor growth in the presence of ganciclovir. Briefly, six groups of 10 mice are injected S.C. with 1×105CT26 tumor cells. In addition, one group of 10 mice is injected S.C. with 1×105CT26TK Neo cells as a control. The area of the S.C. injection is circled with a water-resistant marker. Twenty-four hours after tumor implantation, TK-3 or β-gal viral supernatants (0.2 ml) formulated with polybrene (4 μg/ml) are injected within the area marked by the water-resistant marker. Vector administration is continued for four consecutive days with one dose of vector per day. Each vector dose contained 2×105CFU/ml. Twenty-four hours after the last vector treatment, these mice are placed on a twice daily (AM and PM) injections of I.P. ganciclovir at 62.5 mg/Kg for 8 days. Finally, the mice receive a single dose of ganciclovir at 62.5 mg/Kg until the end of the experiment. Tumor growth was measured over a 4 week period (FIG. 27). The experiment is summarized in Table B below.

[212]

1CT26NoneNone
2CT26 TKneoNoneNone
3CT26 TKneoNone62.5 Mg/Kg
4CT26TK-3None
5CT26TK-362.5 Mg/Kg
6CT26CB BgalNone
7CT26CB Bgal62.5 Mg/Kg

[213]

The data indicate that a substantial rate of growth of CT26 occured only when the animal was injected with both TK-3 and ganciclovir. The level of inhibition was not as substantial as that observed for CT26 TKneo in vitro transduced and selected presumably in due to less than 100% in vivo transduction. Surprisingly, there was also a decrease in tumor growth when treated with the control vector, CB-β-gal and ganciclovir. This may indicate some inhibition of tumor growth due to the vector cell free supernatant itself, added with the previously observed small decrease caused by ganciclovir alone (FIG. 26). Regardless of that observation, the average tumor size is significantly smaller in the TK-3/ganciclovir treated animals than that of the CB-β-gal/ganciclovir treated animals (7 fold and 10 fold and 75-fold smaller, at the 14 and 21 day time points, respectively). Thus, it appears that in vivo transduction by direct injection of HSVTK expressing retroviral vectors can result in inhibition of tumor growth in combination with ganciclovir administration.

[214]

In addition to delivering a gene of interest in vivo using direct injection of vector, mice can be treated by injecting the vector producer cell line from a PCL such as DA into or around the tumor (or both). Varying numbers of irradiated of unirradiated vector producer cells can be injected with and without a polycationic reagent to improve transduction efficiencies. Control mice would be injected with diluent D17 (Parent, non-PCL) transduced with TK-3 and a CB-β-gal VCL. After sufficient time for in vivo transduction (approximately 2 weeks) ganciclovir injections would commence and efficacy would be determined by tumor measurements and/or overall survival.

Example 10

Construction of HSVTK Vector Containing Companion Genes Other Than a Resistance Marker

[215]

The purpose for designing retroviral vectors with fail-safe capabilities containing a conditionally lethal gene such as HSVTK is to allow control of expression of the therapeutic gene after it has been administered to patients. Cells expressing the herpes simplex thymidine kinase gene become sensitive to ganciclovir, whereas normal cells are unaffected (Moolten et al., Cancer Res. 46:5276, 1986). The length of time the therapeutic gene is expressed can be limited or shut down in case the modified cells become harmful.

[216]

Expression of HSVTK by the vector also confers sensitivity (e.g., to ganciclovir upon the vector producing cell line). If VCLs are directly injected for in vivo transduction, they can then be destroyed by ganciclovir after their purpose is accomplished.

A. Construction of the Retroviral Provector pKT1-TK Expressing HIV III/Benv and HSVI Thymidine Kinase

[217]

The retroviral provector pKT1-TK was constructed by first digesting TK-2 with Xho I, followed by Klenow treatment and dephosphorylation with calf intestine alkaline phosphatase. The treated linearized TK-2 was then ligated to phosphorylated Cla I linkers followed by transformation of bacteria. The correct individual clone was identified by restriction enzyme analysis and referred to as TK-2 (Cla I (FIG. 10)). A 2.0 kb Cla I fragment, containing both the TK promoter and TK coding sequences, was then isolated from TK-2 (Cla I). The KT1 retroviral vector (Recombinant Retroviruses Patent Application #586,603) containing the HIV IIIB env was prepared by digesting with Cla I, followed by treatment with calf intestine alkaline phosphatase, and gel purified on a 1% agarose gel. The isolated 2.0 kb Cla I fragment from TK-2 was then ligated to the pretreated KT1 vector, transformed into bacteria, and correct individual clones identified by restriction enzyme analysis. The resulting retroviral vector was named KT1-TK (see FIG. 28). Of course, other promoters such as the CMV immediate early promoter could be used instead of the HSVTK promoter. A vector of this nature may be used to induce immune responses against HIV env while allowing the investigator to destroy transduced cells at any time by administration of ganclovir.

B. Construction of the Retroviral Provector, pKT-HBc/TKt, Expressing the HBV Core Gene and HSV-1 Thymidine Kinase

[218]

A retroviral provector pKT-HBc/TK was generated by cutting the pKT1-HBc “Neoless” provector DNA (see U.S. application Ser. No. 08/102,132, filed Aug. 4, 1993) with Cla I. This was then ligated with the 2.0 kb Cla I fragment from pTK-2 (Cla I), used to transform bacteria, and individual isolates were screened for the correct orientation. See FIG. 29.

C. Construction of the Retroviral Vector, phγTK and pmγTK Expression of Human or Murine γ-IFN, Respectively, and the HSVTK Gene

[219]

The retroviral provectors, pmγTK and phγTK, could be generated in the following steps.

[220]

1. pKT-1 is cut with Cla I. The linearized plasmid is then treated with calf intestinal phosphatase (CIP) to remove the phosphoryl moiety at the Cla I site. After extraction of the CIP by phenol:chloroform extraction, the plasmid is cut with Xho I. The resultant 5 kb fragment containing the pUC vector, 5′ and 3′ LTRs, and packaging sequence would be gel purified from the smaller HIVenv and SVNeorfragments.

[221]

2. The coding sequences for murine or human γ-IFN are gel purified after cutting the plasmids pSP72mγ-IFN or pSP72hγ-IFN (see U.S. application Ser. No. 08/032,846, filed Mar. 17, 1993), respectively, with Cla I. The linearized plasmid is then treated with CIP to remove the phosphoryl moiety from the Cla I site. After extraction of the CIP by phenol:chloroform, the plasmid is cut with Xho I and the resultant 0.5 kb fragment purified by gel electrophoresis.

[222]

3. The HSVTK promoter and coding region will be isolated from Cla I cut pTK-2 (Cla I).

[223]

4. 1, 2 and 3 well mixed, ligaged, used to transform bacteria, and plasmid is clonal transformants will be screened for the proper orientation of the HSVTK promoter/gene. See FIG. 30.

[224]

From the foregoing, it will be appreciated that, although specific embodiments of the invention have been described herein for purposes of illustration, various modifications may be made without deviating from the spirit and scope of the invention. Accordingly, the invention is not limited except as by the appended claims.

[225]

Как компенсировать расходы
на инновационную разработку
Похожие патенты