A thermal insulating device, and process for making it, are presented. The inventive thermal insulating device is formed of a cylindrically shaped shell comprising multiple layers of a continuous spiral wound anisotropic flexible graphite sheet, the layers of spiral wound graphite sheet being separated by and bonded to a cured resin.
1. A thermal insulating device comprising a shell comprising multiple layers of a continuous spiral wound anisotropic flexible graphite sheet, the layers of spiral wound graphite sheet being separated by and bonded to and with a cured resin. 2. The thermal insulating device of 3. The thermal insulating device of 4. The thermal insulating device of 5. The thermal insulating device of 6. The thermal insulating device of 7. The thermal insulating device of 8. The thermal insulating device of 9. The thermal insulating device of
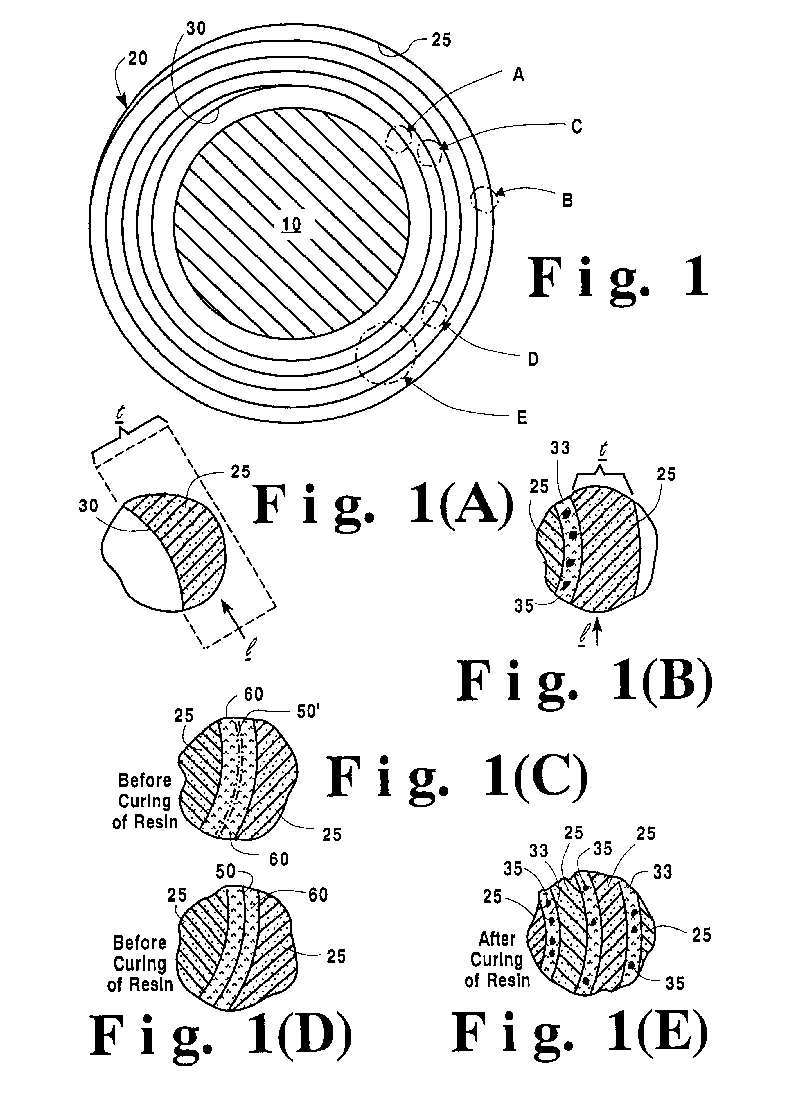
This application is a continuation-in-part of application Ser. No. 09/178,134, filed Oct. 23, 1998, now abandoned. The present invention relates to a thermal insulating device. More particularly, the present invention relates to a thermal insulating device useful for a high temperature reactor, such as a reactor that utilizes highly reactive chemical gases, such as inorganic halides, especially chlorine and fluorine, in a non-oxidizing atmosphere. The inventive thermal insulating device includes a shell comprising resin bonded spiral wound continuous flexible graphite sheet. Graphites are made up of layer planes of hexagonal arrays or networks of carbon atoms. These layer planes of hexagonally arranged carbon atoms are substantially flat and are oriented or ordered so as to be substantially parallel and equidistant to one another. The substantially flat, parallel equidistant sheets or layers of carbon atoms, usually referred to as basal planes, are linked or bonded together and groups thereof are arranged in crystallites. Highly ordered graphites consist of crystallites of considerable size: the crystallites being highly aligned or oriented with respect to each other and having well ordered carbon layers. In other words, highly ordered graphites have a high degree of preferred crystallite orientation. Graphites possess anisotropic structures and thus exhibit or possess many properties that are highly oriented, i.e. directional. Graphites may be characterized as laminated structures of carbon, that is, structures consisting of superposed layers or laminae of carbon atoms joined together by weak van der Waals forces. In considering the graphite structure, two axes or directions are usually noted, i.e. the “c” axis or direction and the “a” axes or directions. For simplicity, the “c” axis or direction may be considered as the direction perpendicular to the carbon layers. The “a” axes or directions may be considered as the directions parallel to the carbon layers or the directions perpendicular to the “c” direction. Natural graphites possess a high degree of orientation and hence anisotropy with respect to thermal and electrical conductivity and other properties. As noted above, the bonding forces holding the parallel layers of carbon atoms together are only weak van der Waals forces. Graphites can be treated so that the spacing between the superposed carbon layers or laminae can be appreciably opened up so as to provide a marked expansion in the direction perpendicular to the layers, that is, in the “c” direction and thus form an expanded or intumesced graphite structure in which the laminar character is substantially retained. Graphite flake which has been greatly expanded and more particularly expanded so as to have a final thickness or “c” direction dimension which is up to about 80 or more times the original “c” direction dimension can be formed without the use of a binder into cohesive or integrated sheets, e.g. webs, papers, strips, tapes, or the like. The formation of graphite particles which have been expanded to have a final thickness or “c” dimension which is up to about 80 or more times the original “c” direction dimension into integrated sheets without the use of any binding material is believed to be possible due to the excellent mechanical interlocking, or cohesion which is achieved between the voluminously expanded graphite particles. In addition to flexibility, the sheet material, as noted above, has also been found to possess a high degree of thermal anisotropy. Sheet material can be produced which has excellent flexibility, good strength and is highly resistant to chemical attack and has a high degree of orientation. Briefly, the process of producing flexible, binderless graphite sheet material comprises compressing or compacting under a predetermined load and in the absence of a binder, expanded graphite particles which have a “c” direction dimension which is up to about 80 or more times that of the original particles so as to form a substantially flat, flexible, integrated graphite sheet. Once compressed, the expanded graphite particles, which generally are worm-like or vermiform in appearance, will maintain the compression set. The density and thickness of the sheet material can be varied by controlling the degree of compression. The density of the sheet material can be within the range of from about 0.08 g/cm3to about 2.0 g/cm3. The flexible graphite sheet material exhibits an appreciable degree of anisotropy, with the degree of anisotropy increasing upon roll pressing of the sheet material to increased density. In roll pressed anisotropic sheet -material, the thickness, i.e. the direction perpendicular to the sheet surface comprises the “c” direction and the directions ranging along the length and width, i.e. along or parallel to the surfaces comprises the “a” directions. The present invention comprises a shell, preferably a self-supporting, cylindrically shaped shell, having two ends (denoted for the sake of convenience as “top” and “bottom”) useful, for instance, for surrounding a high temperature radiant heat source, such as a reactor in which highly chemically active gases are contained. The shell can be used as a heat shield to reflect radiant heat energy back to the reactor and to minimize loss of thermal energy due to conduction. The aforementioned shell comprises multiple layers formed from a continuous spiral wound sheet of anisotropic flexible graphite, bonded with a cured resin. The resin is coated on both sides of a thin sheet of heat decomposable carbon based material that during the fabrication process is co-extensive with the spiral wound sheet of flexible graphite and is cured in situ. The thin sheet of heat decomposable carbon based material provides a path for the escape of gases which develop in the course of in situ curing of the resin; this path, resulting from the aforesaid decomposition, is provided between the layers of the sheet of carbon-based material and spiral wound flexible graphite and further enables contact between resin applied on both, i.e. the opposite, sides of the sheet of heat decomposable carbon-based material in the course of in situ curing of the resin. This results in a strong continuous bonding layer of resin between, and co-extensive with, the spiral wound sheet of flexible graphite. In a further embodiment of the present invention, a second shell essentially identical to the first shell, except for being larger in cross-section, is provided. The second shell is positioned to surround the first shell so as to define an annular chamber therebetween, the annular chamber also having two ends (also conveniently denoted “top” and “bottom”) therebetween. Uncompressed particles of expanded graphite can be provided in the annular chamber as an insulating material, preferably so as to essentially fill the annular chamber. Other insulating materials that can be employed include carbon felt, graphite felt, rigid insulation, ceramic wool fibers, and even gases like argon or air. Indeed, insulation can also be provided by drawing a vacuum in the annular chamber. The annular chamber can be closed, at one or both of its ends, by one or more flexible sheets of graphite that are advantageously resin-bonded to one or both of the first and second shells. Preferably, the covering flexible sheets of graphite are themselves multi-layered, with the individual layers bonded together through resin, in the same manner as the shell is formed. As was the case with the inventive shell, the resin is coated on both sides of a thin sheet of heat decomposable carbon based material that during the fabrication process is co-extensive with the sheet of flexible graphite and is cured in situ. The thin sheet of heat decomposable carbon based material provides a path for the escape of gases which develop in the course of in situ curing of the resin; this path, resulting from the aforesaid decomposition, is provided between the layers of the flexible graphite and further enables contact between resin applied on both, i.e. the opposite, sides of the sheet of heat decomposable carbon-based material in the course of in situ curing of the resin. This results in a strong continuous bonding layer of resin between, and co-extensive with, the sheet of flexible graphite. Thus, in situ curing of the resin to bond the layers of flexible graphite sheet for the cover, and decompose the thin sheet of heat decomposable carbon based material is also preferred. FIGS. 1(A) to 1(E) show enlarged portions of FIG. 3 and Graphite is a crystalline form of carbon comprising atoms covalently bonded in flat layered planes with weaker bonds between the planes. By treating particles of graphite, such as natural graphite flake, with an intercalant of, e.g. a solution of sulfuric and nitric acid, the crystal structure of the graphite reacts to form a compound of graphite and the intercalant. The treated particles of graphite are hereafter referred to as “particles of intercalated graphite.” Upon exposure to high temperature, the intercalant within the graphite decomposes and volatilizes, causing the particles of intercalated graphite to expand in dimension as much as about 80 or more times its original volume in an accordion-like fashion in the “c” direction, i.e. in the direction perpendicular to the crystalline planes of the graphite. The exfoliated graphite particles are vermiform in appearance, and are therefore commonly referred to as worms. The worms may be compressed together into flexible sheets that, unlike the original graphite flakes, can be formed and cut into various shapes and provided with small transverse openings by deforming mechanical impact. Graphite starting materials suitable for use in the present invention include highly graphitic carbonaceous materials capable of reversibly intercalating alkali metals. These highly graphitic carbonaceous materials have a degree of graphitization above about 0.80 and most preferably about 1.0. As used in this disclosure, the term “degree of graphitization” refers to the value g according to the formula: where d(002) is the spacing between the graphitic layers of the carbons in the crystal structure measured in Angstrom units. The spacing d between graphite layers is measured by standard X-ray diffraction techniques. The positions of diffraction peaks corresponding to the (002), (004) and (006) Miller Indices are measured, and standard least-squares techniques are employed to derive spacing which minimizes the total error for all of these peaks. Examples of highly graphitic carbonaceous anode materials include synthetic graphites and natural graphites from various sources, as well as other carbonaceous materials such as petroleum cokes heat treated at temperatures above 2500° C., carbons prepared by chemical vapor deposition or pyrolysis of hydrocarbons and the like. The graphite starting materials used in the present invention may contain non-carbon components so long as the crystal structure of the starting materials maintains the required degree of graphitization. Generally, any carbon-containing material, the crystal structure of which possesses the required degree of graphitization, is suitable for use with the present invention. Such graphite preferably has an ash content of less than six weight percent. A common method for manufacturing graphite sheet or foil is described by Shane et al. in U.S. Pat. No. 3,404,061, the disclosure of which is incorporated herein by reference. In the typical practice of the Shane et al. method, graphite flakes are intercalated by dispersing the flakes in a solution containing an oxidizing agent such as a mixture of nitric and sulfuric acid. The intercalation solution contains oxidizing and other intercalating agents known in the art. Examples include those containing oxidizing agents and oxidizing mixtures, such as solutions containing nitric acid, potassium chlorate, chromic acid, potassium permanganate, potassium chromate, potassium dichromate, perchloric acid, and the like, or mixtures, such as for example, concentrated nitric acid and chlorate, chromic acid and phosphoric acid, sulfuric acid and nitric acid, or mixtures of a strong organic acid, e.g. trifluoroacetic acid, and a strong oxidizing agent soluble in the organic acid. The preferred intercalating agent is a solution of a mixture of sulfuric acid, or sulfuric acid and phosphoric acid, and an oxidizing agent, i.e., nitric acid, perchloric acid, chromic acid, potassium permanganate, hydrogen peroxide, iodic or periodic acids, or the like. Although less preferred, the intercalation solutions may contain metal halides such as ferric chloride, and ferric chloride mixed with sulfuric acid, or a halide, such as bromine as a solution of bromine and sulfuric acid or bromine in an organic solvent. After the flakes are intercalated, any excess solution is drained from the flakes. The quantity of intercalation solution retained on the flakes after draining may range from about 20 to 150 parts of solution by weight per 100 parts by weight of graphite flakes (pph) and more typically about 50 to 120 pph. Alternatively, the quantity of the intercalation solution may be limited to between about 10 to 50 parts of solution per hundred parts of graphite by weight (pph) which permits the washing step to be eliminated as taught and described in U.S. Pat. No. 4,895,713, the disclosure of which is also incorporated herein by reference. The intercalated graphite flakes are exfoliated by exposing them to an energy source, such as a heat source like a flame, or energy provided by infrared, microwave or radio frequency radiation. In the case of a flame, the intercalated graphite flakes are advantageously exposed for only a few seconds, preferably at a temperature greater than about 700° C., more typically about 1000° C. or higher. The exfoliated graphite particles, or worms, are then compressed and subsequently roll pressed into a densely compressed flexible graphite sheet of desired density and thickness and substantially increased anisotropy with respect to thermal conductivity and other physical properties. Suitable exfoliation methods and methods for compressing the exfoliated graphite particles into thin foils are disclosed in the aforementioned U.S. Pat. No. 3,404,061 to Shane et al. It is conventional to compress the exfoliated worms in stages with the product of the first or early stages of compression referred to in the art as “flexible graphite mat.” The flexible graphite mat is then further compressed by roll pressing into a standard density sheet or foil of preselected thickness. A flexible graphite mat may be thus compressed by roll pressing into a thin sheet or foil of between about 0.05 to 1.75 mm in thickness with a density approaching theoretical density, although a density of about 1.1 g/cm3is acceptable for most applications. Roll pressed flexible graphite sheet is known to be a relatively good thermal barrier in the direction (“c” axis) perpendicular to the parallel planar surfaces of the sheet. The thermal conductivity along and parallel to the sheet surfaces (“a” axes) is approximately twenty (20) or more times greater than through its thickness (“c” axis). With reference to In order to provide the spiral wound sheet with sufficient strength to be self-supporting in rugged high temperature environments, a thin layer of cured resin, advantageously an in situ cured phenolic resin, indicated at 33 in With reference to FIGS. 1(C), 1(D), a thin sheet of heat decomposable carbon based material or substrate, such as kraft paper as shown at 50 in The resulting shell is rigid, strong and resistant to corrosion, such as from highly reactive chemical gases, and the cured resin bonding does not significantly diminish the thermal properties of the spiral wound shell. In a further embodiment of the present invention, illustrated in In the practice of the present invention a suitable resin for use, such as a phenolic resin like PHYOPHEN 43703 Phenolic Resin in methanol solvent available from Occidental Chemical Corporation, North Tonawanda, N.Y. The resin is suitably cured by heating at 125° C. for 16 minutes and 300° C. for 16 hours. Kraft paper can be used as the heat decomposable, carbon based substrate 50. The substrate 50′ can be a PAN carbon fiber tissue or pitch fiber tissue available from Technical Fibre Products Limited, Cumbria, England. The above description is intended to enable the person skilled in the art to practice the invention. It is not intended to detail all of the possible variations and modifications that will become apparent to the skilled worker upon reading the description. It is intended, however, that all such modifications and variations be included within the scope of the invention that is defined by the following claims. The claims are intended to cover the indicated elements and steps in any arrangement or sequence that is effective to meet the objectives intended for the invention, unless the context specifically indicates the contrary.FIELD OF THE INVENTION
BACKGROUND OF THE INVENTION
SUMMARY OF THE INVENTION
BRIEF DESCRIPTION OF THE DRAWINGS
DETAILED DESCRIPTION OF THE INVENTION