A layer of gate oxide and polysilicon are deposited over the surface of a substrate, these layers are etched to create a dummy gate and a resistor. Spacers are formed on the dummy gate and the resistor, suitable impurities are implanted self-aligned with the dummy gate. A layer of dielectric is deposited and polished down to the surface of the dummy gate and the polysilicon resistor, the dummy gate is removed creating an opening in the layer of dielectric. A high-k dielectric is deposited over which a layer of metal is deposited, the surface of the layer of metal and high-k dielectric are polished down to the surface of the layer of dielectric leaving in place a metal gate electrode and a polysilicon resistor.
1. A method for simultaneous formation of a metal gate using a replacement gate process and a polysilicon resistor, comprising the steps of: providing a semiconductor substrate, said substrate having been provided with at least one active surface region surrounded by surface regions of electrical isolation; forming a layer of oxide on the surface of said substrate; forming a layer of polysilicon on the surface of said layer of oxide; patterning and etching said layer of polysilicon and said layer of oxide to form a dummy gate having sidewalls, further forming a resistor having sidewalls; forming spacers on said sidewalls of said dummy gate and on said sidewalls of said resistor; saliciding the surface of said dummy gate and said resistor, creating a salicided layer on the surface of said dummy gate and a salicided layer on the surface of said resistor; forming a blanket layer of dielectric over said dummy gate and said resistor and exposed surfaces of said substrate; planarizing said blanket layer of dielectric using chemical mechanical polishing process and stopping on said salicided surfaces of said dummy gate and said resistor; removing said salicided layer from the surface of said dummy gate and removing said dummy gate, forming a gate opening in said layer of dielectric; blanket depositing a layer of high-k dielectric over the surface of said layer of dielectric, including inside surfaces of said gate opening; blanket depositing a layer of metal over the surface of said layer of high-k dielectric; and planarizing said layer of metal and said layer of high-k dielectric down to the surface of said layer of dielectric. 2. The method of 3. The method of 4. The method of 5. The method of 6. The method of 7. The method of depositing a first layer of photoresist over the surface of said layer of dielectric; patterning said first layer of photoresist, removing said first layer of photoresist from above said dummy gate, exposing the surface of said dummy gate, further partially exposing the surface of said layer of dielectric, said partial exposure of the surface of said layer of dielectric being adjacent to the surface of said dummy gate; removing said salicided surface and said layer of polysilicon of said dummy gate using chlorine as a reactant gas, creating a first opening having a bottom surface in said layer of dielectric, partially exposing said layer of oxide at the bottom of said first opening; removing said layer oxide from the bottom surface of said first opening using CHF3/CF4or HF etch chemistry; and removing said patterned and etched first layer of photoresist from the surface of said layer of dielectric. 8. The method of depositing a first layer of photoresist over the surface of said layer of dielectric; patterning said first layer of photoresist, removing said photoresist from above said dummy gate, exposing the surface of said dummy gate, further partially exposing the surface of said layer of dielectric; removing said salicided surface and said layer of polysilicon of said dummy gate using chlorine as a reactant gas, creating a first opening having a bottom surface in said layer of dielectric, partially exposing said layer of oxide at the bottom of said first opening; removing said layer oxide from the bottom surface of said first opening using Ar/CF4as an etchant at a temperature of between about 120 and 160 degrees C. and a pressure of between about 0.30 and 0.40 Torr for a time of between about 33 and 39 seconds using a dry etch process; and removing said patterned and etched first layer of photoresist from the surface of said layer of dielectric. 9. The method of 10. A method for the simultaneous formation of a metal gate using a replacement gate process and a polysilicon resistor, comprising the steps of: providing a semiconductor substrate, said substrate having been provided with at least one active surface region surrounded by surface regions of electrical isolation; forming a layer of oxide on the surface of the substrate; forming a layer of polysilicon on the surface of said layer of oxide; patterning and etching said layer of polysilicon and said layer of oxide to form a dummy gate having sidewalls, further forming a resistor having sidewalls, said dummy gate being aligned with an active surface region of said substrate, said resistor being aligned with a region of electrical isolation in the surface of said substrate; selectively implanting impurity ions into said substrate using said dummy gate as an implant mask, forming Lightly Doped Diffusion (LDD) source and drain regions in the substrate that are self-aligned with said dummy gate; forming spacers on said sidewalls of said dummy gate and on said sidewalls of said resistor; implanting impurity ions into the surface of said substrate using said dummy gate and said spacers on said sidewalls of said dummy gate as an implant mask and performing a rapid thermal anneal to form source and drain regions in the substrate that are self-aligned with said dummy gate; saliciding the surface of said dummy gate and said resistor, creating a salicided layer on the surface of said dummy gate and a salicided layer on the surface of said resistor; forming a blanket layer of dielectric over said dummy gate and said resistor and exposed surfaces of said substrate; planarizing said blanket layer of dielectric using chemical mechanical polishing process and stopping on said salicided surfaces of said dummy gate and said resistor; removing said salicided layer from the surface of said dummy gate and removing said dummy gate, forming a gate opening in said layer of dielectric; blanket depositing a layer of high-k dielectric over the surface of said layer of dielectric, including inside surfaces of said opening, said layer of high-k dielectric comprising a dielectric selected from the group consisting of silicon nitride and Al3O3; blanket depositing a layer of metal over the surface of said layer of high-k dielectric, said metal comprising a metal selected from the group consisting of titanium and tungsten and copper and aluminum; and patterning and etching said layer of metal and said layer of high-k dielectric, creating a pattern of metal and high-k dielectric overlying said metal gate. 11. The method of 12. The method of 13. The method of 14. The method of 15. The method of 16. The method of depositing a first layer of photoresist over the surface of said layer of dielectric; patterning said first layer of photoresist, removing said photoresist from above said dummy gate, exposing the surface of said dummy gate, further partially exposing the surface of said layer of dielectric, said partial exposure of the surface of said layer of dielectric being adjacent to the surface of said dummy gate; removing said salicided surface and said layer of polysilicon of said dummy gate using chlorine as a reactant gas, creating a first opening having a bottom surface in said layer of dielectric, exposing said layer of oxide at the bottom of said first opening; removing said layer oxide from the bottom surface of said first opening using CHF3/CF4etch chemistry; and removing said patterned and etched first layer of photoresist from the surface of said layer of dielectric. 17. The method of depositing a first layer of photoresist over the surface of said layer of dielectric; patterning said first layer of photoresist, removing said photoresist from above said dummy gate, exposing the surface of said dummy gate, further partially exposing the surface of said layer of dielectric, said partial exposure of the surface of said layer of dielectric being adjacent to the surface of said dummy gate; removing said salicided surface and said layer of polysilicon of said dummy gate using chlorine as a reactant gas, creating a first opening having a bottom surface in said layer of dielectric, exposing said layer of oxide at the bottom of said first opening; removing said layer oxide from the bottom surface of said first opening using Ar/CF4as an etchant at a temperature of between about 120 and 160 degrees C. and a pressure of between about 0.30 and 0.40 Torr for a time of between about 33 and 39 seconds using a dry etch process; and removing said patterned and etched first layer of photoresist from the surface of said layer of dielectric. 18. The method of 19. The method of depositing a second layer of photoresist over the surface of said layer of metal; patterning and etching said second layer of photoresist, creating a pattern of photoresist that aligns with said dummy gate electrode; etching said layer of metal and said layer of high-k dielectric, leaving in place a pattern of said layer of metal and said layer of high-k dielectric that aligns with said metal gate; and removing said patterned second layer of photoresist from the surface of said patterned layer of metal.
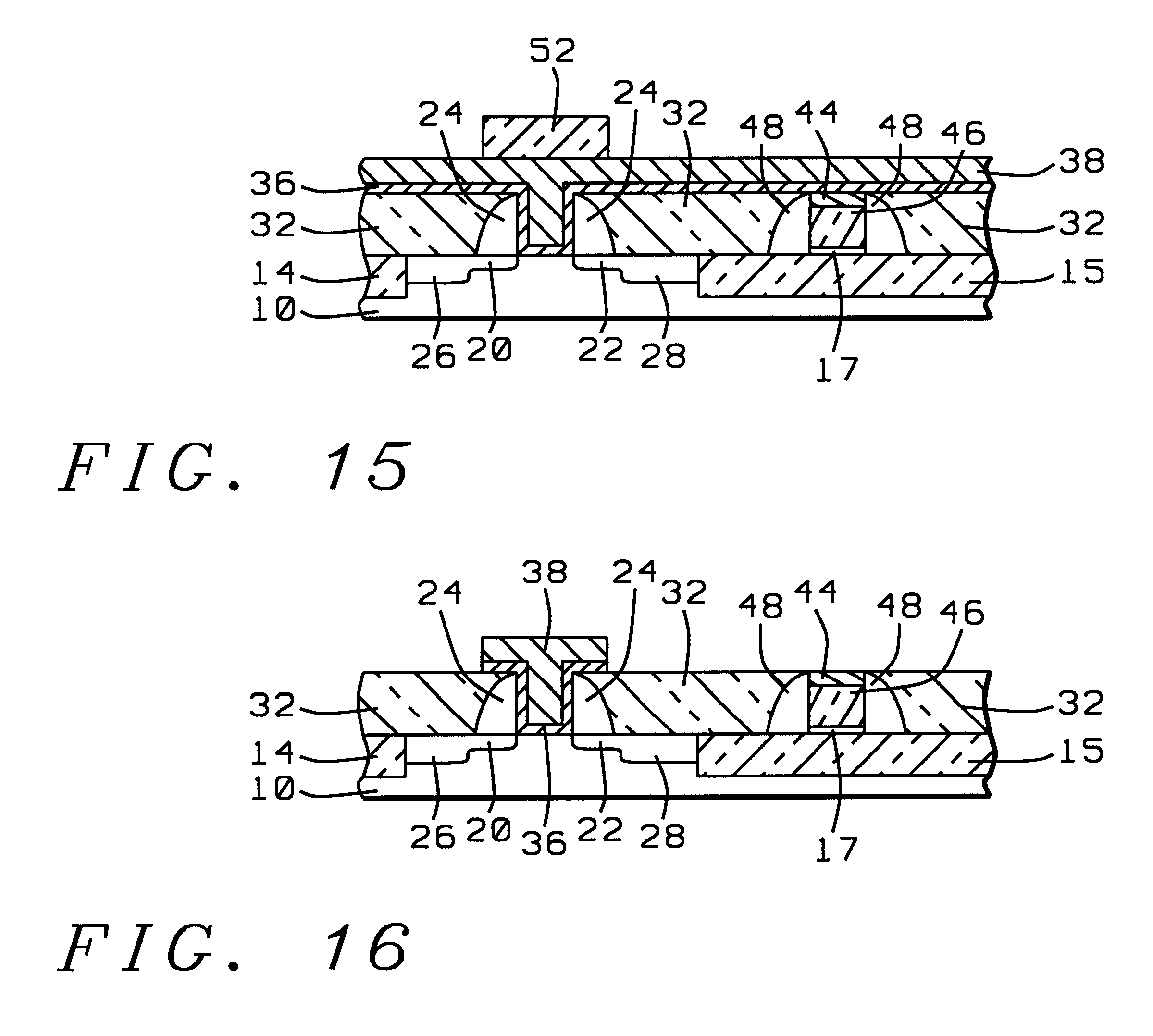
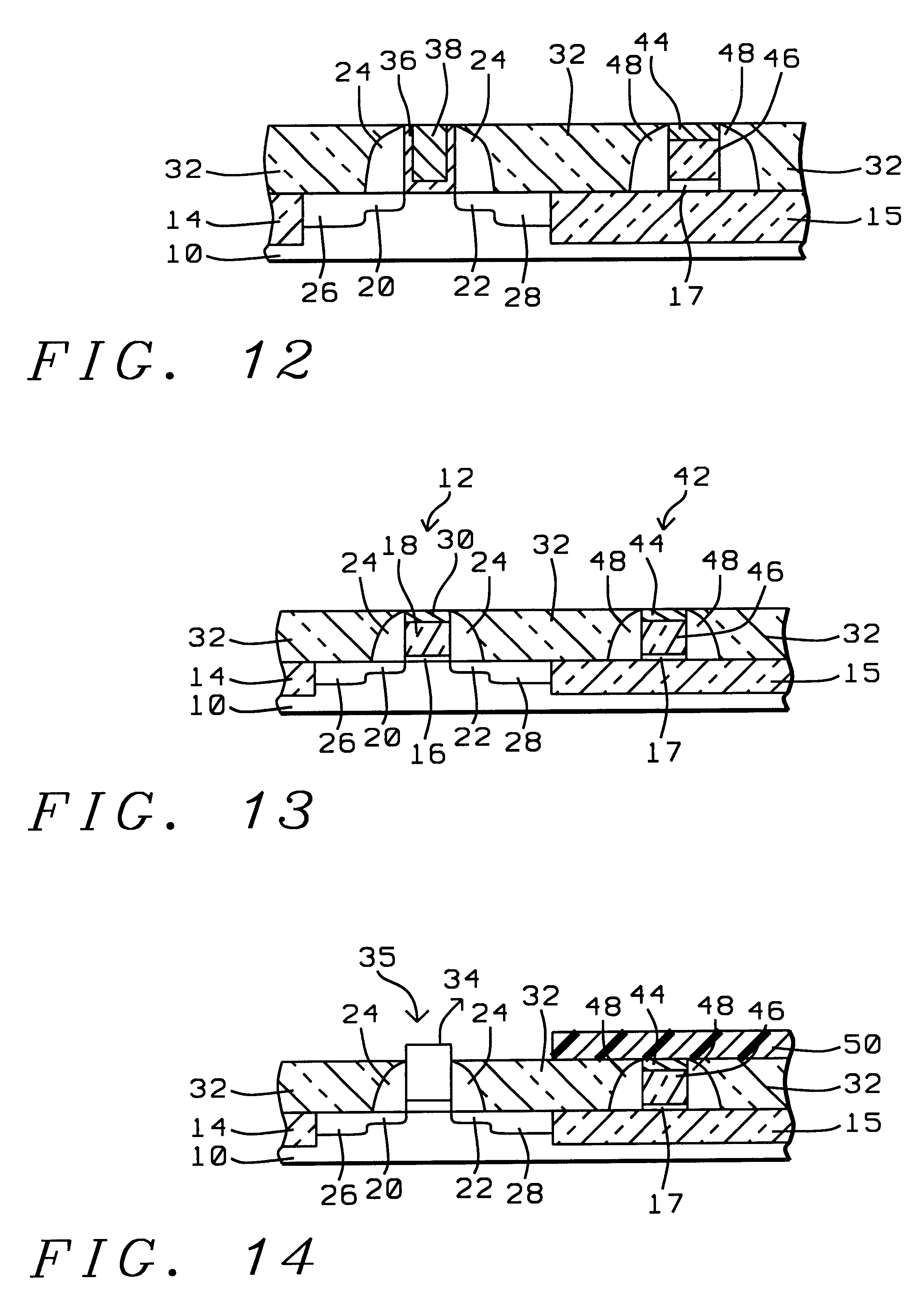
(1) Field of the Invention The invention relates to the fabrication of integrated circuit devices, and more particularly, to a method for the simultaneous formation of a metal gate for CMOS devices using a replacement gate process and a polysilicon resistor. (2) Description of the Prior Art Conventional methods of creating CMOS devices use gate electrodes of polysilicon that is deposited and patterned over a layer of gate oxide, in many applications the surface of the patterned and etched layer of polysilicon is salicided in order to meet requirements of low contact sheet resistivity. With the continued decrease in device and device feature dimensions, the polysilicon of the gate electrode is more prone to depletion of the polysilicon which results in a significant reduction in device performance. Polysilicon depletion results in increased resistivity of the layer of polysilicon, which in turn results in an increase of the voltage drop across the polysilicon gate electrode when this electrode is reverse mode biased. To address and largely negate this problem and in view of the fact that metal is a good conductor, the industry in increasingly turning to the use of metal to create gate electrodes. Metal however is susceptible to migration to surrounding regions under conditions of elevated temperature that can arise during the process of creating the CMOS device. The gate length of CMOS devices is the distance between the source and the drain regions of the device where this distance extends underneath the gate electrode. With the continued decrease in device dimensions, the gate length for sub-micron devices has been decreased to 0.25 μm or less. For such small gate length, the control of the Critical Dimension (CD) of this parameter becomes a challenge. To address this aspect of metal gate electrode design, the approach has been provided whereby a dummy gate is first created. This dummy gate uses a dielectric, such as silicon dioxide or a polymer, for the body of the gate. The area surrounding the gate electrode is shielded by the deposition of a layer of for instance oxide, an opening is created in this layer of oxide that aligns with the surface of the gate electrode after which the dummy gate is removed. The opening that is created in this manner can now be filled with new dielectrics first, for instance silicon dioxide or other high-k material, and filled with metal. Polishing of the surface of the deposited metal completes the creation of the sub-micron metal gate electrode. Critical in this process is the ability to control the end-point of the polishing step, since this end-point determines the height of the gate electrode and therefore the performance of the CMOS device. As part of creating semiconductor devices, resistors are frequently required that have a high value of resistivity. Conventional processes create the gate electrode and the high resistivity resistor as two different steps, that is the gate electrode is typically first created after which the resistor is created. This implies a duality of processing steps that incurs unnecessary processing cost. The prior art processing steps that are applied for the creation of a metal gate electrode will be described following. Referring to After the layer 16 of pad oxide has been created, a dummy gate electrode layer 18 is formed by depositing polysilicon. Conventional methods of photolithography and anisotropic etching are applied to the layers 16 of pad oxide and 18 of polysilicon to form the patterned layers 16 and 18 that are shown in cross section in FIG. 1. Lightly Doped (LDD) source implant 20 and drain implant 22 are performed next that are self-aligned with the gate structure 16/18 and that extend laterally along the surface of substrate 10 in the immediate adjacency of the gate electrode structure 16/18. Dependent on the type of device that is being created, that is a NMOS or a PMOS device, these implants are either n-type or p-type impurities. Gate spacers 24 typically have a thickness of between 300 and 2000 Angstrom. Source region 26 and drain region 28 are next formed in the surface of substrate 10. For NMOS devices, the implants for the source and drain regions use n-type impurities such as arsenic or phosphorous, for PMOS devices a p-type implant such as indium or boron can be used. The surface of the gate electrode structure 16/18 can next be salicided in order to reduce the contact resistance with the gate electrode. This saliciding of the surface of the gate electrode at the same time salicides the surface regions of the source and drain regions of the gate electrode. Layer 30 of the gate electrode has been highlighted as being a salicided layer since the process of salicidation can be performed simultaneously with saliciding the source and drain contact points of the gate structure. For the creation of layer 30 tungsten can be applied. Further shown in cross section in Referring now to Referring to The metal gate electrode that is shown. in cross section in The metal gate structure that is shown in cross section in U.S. Pat. No. 5,759,886 (Chung) shows a process for a metal silicide layer over poly gates. U.S. Pat. No. 6,121,078 (DeBrosse et al.), U.S. Pat. No. 4,212,684 (Brower), U.S. Pat. No. 6,033,963 (Huang et al.), U.S. Pat. No. 6,117,743 (Yeh et al.) show related patents. A principle objective of the invention is to create metal gate structures and polysilicon resistors during one processing sequence. Another objective of the invention is to eliminate negative impact of high temperature processing on the formation of metal gate structures. Yet another objective of the invention is to eliminate the need for the creation of polysilicon resistors as one separate processing sequence. A layer of gate oxide and polysilicon are deposited over the surface of a substrate, these layers are etched to create a dummy gate and a resistor. Spacers are formed on the dummy gate and the resistor, suitable impurities are implanted self-aligned with the dummy gate. A layer of dielectric is deposited and polished down to the surface of the dummy gate and the polysilicon resistor, the dummy gate is removed creating an opening in the layer of dielectric. A high-k dielectric is deposited over which a layer of metal is deposited, the surface of the layer of metal and high-k dielectric are polished down to the surface of the layer of dielectric leaving in place a metal gate electrode and a polysilicon resistor. Reference numbers that previously have been used for the explanation of prior art processing sequences following Referring to After the layer 16/17 of pad oxide has been created, a dummy gate electrode layer 18 and the polysilicon layer 46 are formed by depositing polysilicon to a thickness between about 12000 and 3000 Angstrom over the layer 16/17 of pad oxide. Conventional methods of photolithography and anisotropic etching are applied to the layers of pad oxide and of polysilicon to form the patterned layers 16, 18, 17 and 46 that are shown in cross section in FIG. 9. Layer 16 and 18 are part of gate electrode 12, layers 17 and 46 are part of the polysilicon resistor 42. Lightly Doped (LDD) source implant 20 and drain implant 22 are performed next that are self-aligned with the gate structure 16/18 and that extend laterally along the surface of substrate 10 in the immediate adjacency of the gate electrode structure 16/18. Dependent on the type of device that is being created, that is a NMOS or a PMOS device, these implants are n-type or p-type impurities that are implanted at an energy of between about 1 KeV and 100 KeV and a density between about 1E12 atoms/cm2and 5E15 atoms/cm2. Spacers 24 and 48 are next formed on the sidewalls of the gate structure 16/18 and the sidewalls of resistor 17/46 by a blanket deposition of a suitable gate spacer material followed by an isotropic etch back of the deposited gate spacer material. Gate spacers 24 typically have a thickness of-between 300 and 2000 Angstrom. Source region 26 and drain region 28 are next formed in the surface of substrate 10. For NMOS devices, the implant for the source and drain regions uses n-type impurities such as arsenic or phosphorous, for PMOS devices a p-type implant such as indium or boron can be used. Implant for the source and drain regions are typically performed at an energy of between about 1 KeV and 100 KeV and an impurity concentration of between about 1E15 atoms/cm2and 8E15 atoms/cm2. Impurity implants that have been performed into the surface of the substrate for the creation of source and drain regions can further be activated (further driven into the surface of the substrate) by performing a rapid thermal anneal after the implant has been completed. The surface of the gate electrode structure 16/18 and the surface of resistor 17/46 can next be salicided in order to reduce the contact resistance with the gate electrode. This saliciding of the surface of the gate electrode 16/18 and the surface of the resistor 17/46 also salicides the surface regions of the source (26) and drain (28) regions of the gate electrode 12. As an example can be cited the formation of a layer of titanium salicide on the surface of layer 18 of polysilicon of the gate electrode 12 and on the surface of layer 46 of the resistor 42. A layer of titanium can be deposited over the surface of the substrate to a thickness between about 300 to 600 A0at a temperature of 25 to 300 degrees C. using either rf. sputtering or CVD techniques. A first anneal is performed to the layer of titanium to convert the titanium to the salicided stage. The first anneal is a rapid thermal annealing in a temperature range of between about 600 and 800 degrees C. for a time between about 20 and 40 seconds in a nitrogen ambient. The unreacted titanium is then removed from the surface with an etchback using a wet NH4OH and H2O2solution. A CVD titanium can also be etched using a dry CF4and oxygen environment. A second anneal can be applied to transform the layer of titanium silicide (TiSi2) over the gate electrode region from the high resistivity phase to the low resistivity phase can be applied. The second anneal is a rapid thermal anneal in a temperature range of between about 800 and 900 degrees C. for a time between 20 and 40 seconds in an N2ambient. Layer 30 of the gate electrode 12 and layer 44 of resistor 42 have been highlighted as being salicided layers since the process of salicidation can be performed simultaneously with saliciding the source and drain contact points of the gate structure. For the creation of layer 30 and layer 42 tungsten can also be applied. A layer of tungsten can be selectively formed on the surface of the gate electrode 12 and the resistor 42 by CVD deposition at a temperature between about 300 degrees C. and 500 degrees C. and a pressure between about 50 mTorr and 500 mTorr using as source gasses SiH4and WF4with a flow ratio of between about 0.1 and 5.0 sccm between these two source gasses. Further shown in cross section in For layer 32 of dielectric the preferred dielectrics are silicon dioxide (doped or undoped), silicon oxynitride, parylene or polyimide, spin-on-glass, plasma oxide or LPCVD oxide. Referring now to Referring to From the cross sections that are shown in The metal gate electrode that is shown in cross section in The advantages that are provided by the invention can be summarized as follows: the invention creates a polysilicon resistor the invention creates the polysilicon resistor concurrent with the creation of a metal gate the invention eliminates the need for a separate processing step of depositing a layer of polysilicon for the creation of a polysilicon resistor, and for the formation of a polysilicon resistor, the processing steps of deposition of the polysilicon and subsequent impurity ion implants (to adjust values of resistivity of the resistor) may require processing conditions of high temperature processing. High temperature processing cannot be tolerated during the formation of metal gate structures. Although the invention has been described and illustrated with reference to specific illustrative embodiments thereof, it is not intended that the invention be limited to those illustrative embodiments. Those skilled in the art will recognize that variations and modifications can be made without departing from the spirit of the invention. It is therefore intended to include within the invention all such variations and modifications which fall within the scope of the appended claims and equivalents thereof.BACKGROUND OF THE INVENTION
SUMMARY OF THE INVENTION
BRIEF DESCRIPTION OF THE DRAWINGS
DESCRIPTION OF THE PREFERRED EMBODIMENTS