A QFP adapted to lowering the heat resistance and increasing the number of pins, and a method of producing the same. The QFP includes a heat-radiating metal plate having bumpers formed at the four corners thereof as a unitary structure, a semiconductor chip mounted on the heat-radiating metal plate, leads provided on the heat-radiating metal plate and surrounding the peripheries of the semiconductor chip, bonding wires for connecting the leads to the semiconductor chip, and a sealing resin member for sealing part of the semiconductor chip, inner leads of the leads, bonding wires and part of the heat-radiating metal plate. The tips of the bumpers integrally formed with the heat-radiating metal plate are positioned outside the tips of the outer leads that are protruding from the sealing resin member. In the QFP producing method, the heat-radiating metal plate having the bumpers and the lead frame having the leads are secured outside the sealing resin member.
1. A semiconductor device comprising: a heat sink having a chip mounting portion and four bumper portions which are integral with the heat sink, a semiconductor chip mounted on the chip mounting portion, a resin body of a tetragonal shape sealing the semiconductor chip, and a plurality of leads electrically connected with the semiconductor chip and each having an outer lead protruding from four sides of the resin body, wherein the four bumper portions protrude respectively from four corners of the resin body, the four bumper portions are each thicker and wider than each one of the outer leads, and a rear surface of each one of the outer leads is positioned lower than the rear surface of each one of the four bumper portions. 2. A semiconductor device according to a printed circuit board having a plurality or mounting pads and four land pads, wherein the four bumper portions are soldered to respective ones of said land pads, and the outer leads are soldered to respective ones of said plurality of mounting pads. 3. A semiconductor device according to the four land pads are each broader than each one of the plurality of mounting pads. 4. A semiconductor device according to the heat sink and four bumper portions have an integral flat rear surface protruding from the resin body, and each one of the outer leads is bent into a gull-wing shape. 5. A semiconductor device according to the semiconductor chip is adhered to said chip mounting portion of said heat sink by a solder. 6. A semiconductor device according to each one of the inner leads of said plurality of leads is arranged over the chip mounting portion, and the heat sink is formed by a different plate from the plurality of leads.
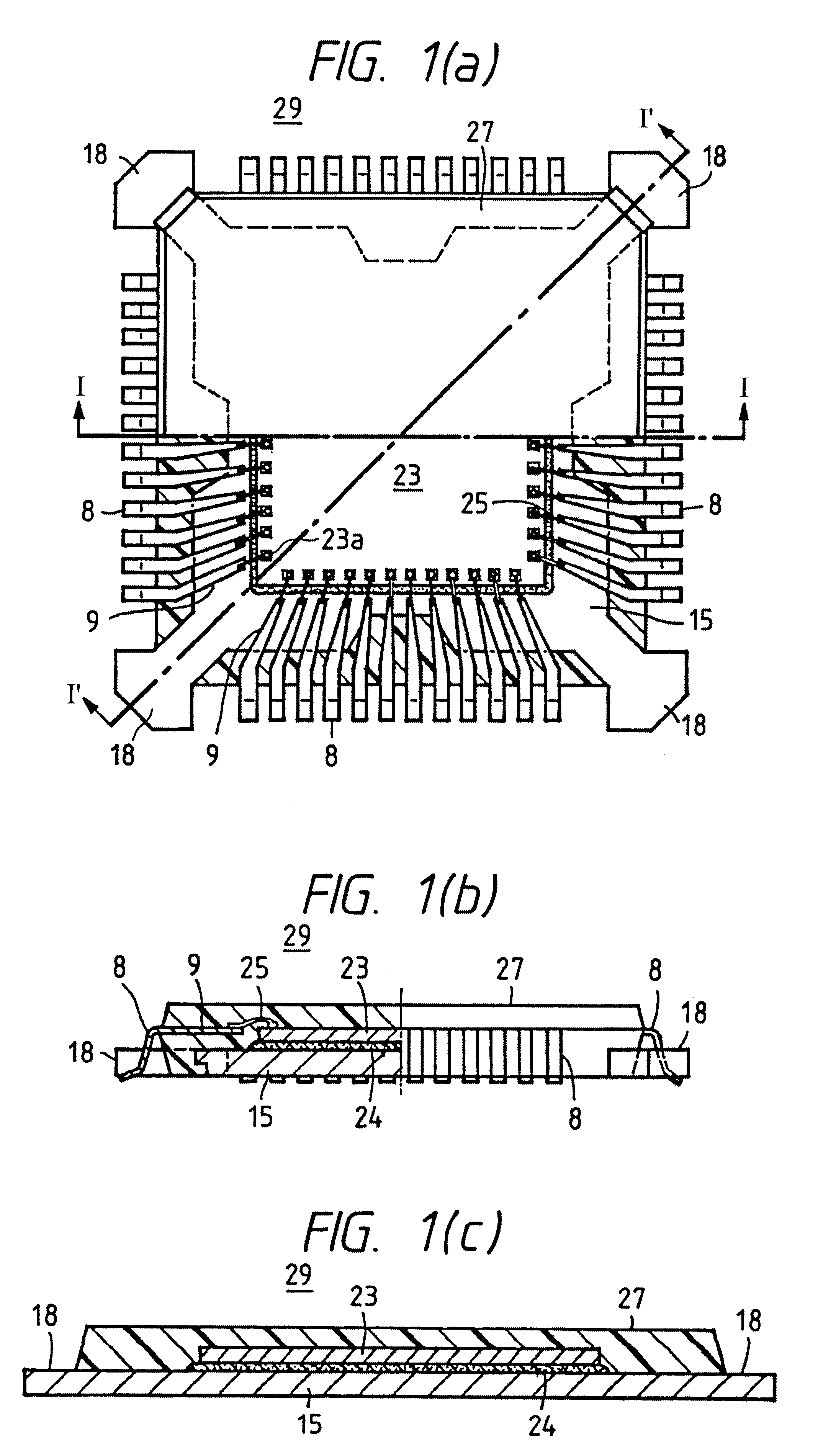
This is continuation application of U.S. Ser. No. 09/500,536, filed Feb. 9, 2000; which is a continuation application of U.S. Ser. No. 09/116,343, filed Jul. 16, 1998, now abandoned; which is a divisional application of U.S. Ser. No. 08/547,774, filed Oct. 25, 1995, now U.S. Pat. No. 5,808,359. The present invention relates to a technology for producing semiconductor devices and, particularly, to a semiconductor device equipped with a resin-sealed package of surface mount type, such as one which has many pins and a small heat resistance, and is small in size and is produced at a decreased cost. As ICs are now produced having many functions, and are highly densely fabricated and operate at high speeds, it has been desired to develop a surface mount resin-sealed package having many lead pins to a good heat-emitting property or a small heat resistance. A surface mount type resin-sealed package which is constituted as described below has been proposed in, for example, Japanese Patent Laid-Open No. 286558/1991. In such a package, the tabs to which a semiconductor pellet is bonded and heat-radiating fin leads are integrally formed together, and the heat-radiating fin leads and heat-radiating fins outwardly protruding from a sealing resin member of the package are integrally formed together. Moreover, a heat sink is buried in the package on the side of the back surface of the tabs, and is mechanically coupled to the heat-radiating fin leads inside the package. A QFP (quad flat package) which has a good heat-radiating property and whose outer leads are prevented from deforming has been disclosed in Japanese Patent Laid-Open No. 218262/1993. This QFP employs a lead frame, and tabs to which a semiconductor pellet is bonded and heat-radiating fin leads are formed integrally. The heat-radiating fin leads and heat-radiating fins outwardly protruding from the sealing resin member of the package are integrally formed, the tips of the heat-radiating fins being outwardly protruded beyond the tips of the outer leads. In the former device in which the heat sink and the heat-radiating fin leads are mechanically coupled together inside the sealing resin, however, the coupling portions impose a limitation upon the arrangement of leads and upon the number of pins. Besides, the pellet must be bonded, wires must be bonded and sealing with resin must be executed after a plurality of heat sinks are coupled to a series of lead frames, deteriorating the throughput of production. In the latter device in which the leads and the heat-radiating fins are constituted by a lead frame, a problem arises in that it is impossible to design a package having a sufficiently high heat-radiating performance. The object of the present invention is to provide a semiconductor device whose outer leads can be prevented from being deformed, yet with a high heat-radiating performance. Another object of the present invention is to provide a method of producing semiconductor devices at a low cost. The above and other objects as well as novel features of the present invention will become obvious from the description of the specification and the accompanying drawings. Among the inventions disclosed in this application, representative embodiments will be briefly described below. That is, the semiconductor device has a feature that the semiconductor pellet is bonded to a main surface of the heat sink which is partly buried in a sealing resin member of a square shape, and the heat sink has a plurality of bumpers formed integrally therewith, the bumpers protruding from the corners of the sealing resin member and having tips which are arranged on the outer sides of the row of tips of the outer leads which are led out from the four sides of the sealing resin member. A method of producing semiconductor devices comprises: a step of preparing a series of lead frames having unit lead frames which are arranged in a row and in each of which the outer leads and inner leads are radially arranged from the region where a semiconductor pellet is provided; a step of preparing a series of heat sinks having unit heat sinks which are arranged in a row, and having main surfaces to which the semiconductor pellets are to be bonded and a plurality of bumpers that are integrally formed together therewith; a step of coupling the series of lead frames and the series of heat sinks together outside at least a pair of bumpers of the unit heat sinks; a step of bonding the semiconductor pellets onto main surfaces of the unit heat sinks; a step for electrically connecting the electrodes of the semiconductor pellets to the inner leads with bonding wires thereto; a step of sealing the semiconductor pellets, inner leads, and at least the main surfaces of the unit heat sinks on the semiconductor pellet side with a resin; a step of cutting the series of lead frames to form the unit lead frames; and a step of cutting off the unit heat sinks from the series of heat sinks. According to the above-mentioned semiconductor device, the heat generated by the semiconductor pellet is conducted to the heat sink; i.e., the semiconductor pellet is cooled quite efficiently. Moreover, since the tips of bumpers arranged at the corners of the sealing resin member protrude outwardly beyond the tips of the outer leads, in case an external force is unexpectedly given to the package during the steps of production, during the shipment to the user, or while it is being mounted by the user, the bumpers absorb the external force, preventing the outer leads from being deformed. According to the above-mentioned method of producing semiconductor devices in which the coupling portion between the heat sink and the lead frame is not buried in the sealing resin member, no limitation is put on the layout of the inner leads by the coupling portion in the sealing resin member. Additionally, an increase in the degree of freedom of laying out the wirings permits the bumpers to be arranged, making it possible to produce even semiconductor devices that do not have leads for the heat-radiating fins. Since the heat sink is coupled to the lead frame, furthermore, the devices for fabricating the semiconductor pellets and inner leads of the prior art may be employed. Before being coupled, moreover, the heat sink is separate from the lead frame. Therefore, the thickness of only the heat sink can be easily increased, contributing to further enhancing the heat-radiating performance with ease. In the embodiment of The QFP 29 includes a silicon semiconductor pellet (hereinafter referred to as a pellet) 23, which has the shape of a square small plate and on the main surface of which is formed a semiconductor element, a heat sink 15 on which the pellet 23 is mounted, a plurality of inner leads 9 radially arranged along the four sides of the pellet 23, bonding wires 25 that electrically connect the inner leads 9 to electrode pads 23 A method of producing QFPs according to the present embodiment of the present invention will be described. In this embodiment, a series of lead frames 1 shown in The unit lead frame 2 includes a first outer frame (top rail) 3, a second-outer frame (bottom rail) 4, a third outer frame (side rail) 5, and a fourth outer frame (side rail) 6, these outer frames 3, 4, 5 and 6 forming a square shape. The first outer frame 3 and the second outer frame 4 have pilot holes 3 The lead frame 2 having four outer frames 3, 4, 5 and 6 is so formed as to surround a square region 7 for arranging a semiconductor pellet, the region 7 having a size corresponding to that of the pellet. A plurality of outer leads 8 are formed in parallel at regular intervals along the peripheries of the inner sides of the four outer frames 3, 4, 5 and 6, and the inner leads 9 are integrally coupled to the outer leads 8, respectively. The inner leads 9 are so arranged as to surround the region 7, and the tips on the inner side thereof are arranged nearly in a straight line along the sides of the region 7. Dam bars 10 are formed among the neighboring outer leads 8. In this embodiment, the QFPs are produced using a series of heat sink assemblies 11 shown in FIG. 3. The series of heat sink assemblies 11 are made of a plate made of a copper-containing material (copper or copper alloy) having a thickness which is about four times as large as the thickness of the series of lead frames 1, and are integrally formed by punching. The series of heat sink assemblies 11 are constituted by a plurality of unit heat sink assemblies 12 which are arranged in a row in the lateral direction, each heat sink assembly 12 being arranged to mate with the respective unit lead frame 2 of the series of lead frames 1. The series of heat sink assemblies 11 are constituted by a repetition of the same pattern with a region demarcated by dash-and-dot lines D—D, D′—D′ of The heat sink assembly 12 has a first outer frame (top rail) 13 and a second outer frame (bottom rail) 14, the two outer frames 13 and 14 being arranged in parallel. In the first outer frame 13 and in the second outer frame 14 is formed a heat sink 15 of nearly a square shape as a unitary structure, the heat sink 15 being smaller than the sealing resin member but larger than the pellet. On the main surface of the heat sink 15 on the bonding side of the pellet is deposited a film (not shown) for adequately bonding the pellet by electroplating with silver (Ag) as will be described later. A trapezoidal notch 16A is formed in a central portion of each of the four sides of the heat sink 15. Furthermore, a stepped portion 16B is formed on the side of the heat sink 15 in a manner that the upper surface protrudes. A bumper-hanging bar 17 is formed at each of the four corners of the heat sink 15. On the outer side of each bumper-hanging bar 17 is provided a bumper 18 which is formed in a shape of a square plate having a predetermined thickness. The bumpers 18 have such a size that the tips thereof are located on the outer sides of the tips of the outer leads that are bent in the form of a gull wing. The four bumpers 18 are integrally coupled to the first outer frame 13 and to the second outer frame 14, respectively, and the first outer frame 13 and the second outer frame 14 are integrally formed together with the bumpers 18, bumper-hanging bars 17 and the heat sink 15. In the first outer frame 13 and in the second outer frame 14 are arranged stepped portions 19 for floating the inner leads from the heat sink on the outer bumper of the bumpers 18 at three places except one side of the first outer frame 13, the stepped portions 19 being so formed by pressing that the upper surfaces thereof are in flush. The height of the stepped portion 19 is set to a minimum value at which an insulation gap between the inner leads and the heat sink 15 can be ensured. On the upper surfaces of the three stepped portions 19 of the first outer frame 13 and the second outer frame 14 are formed a pair of protuberances 13 A protruded portion 20 for arranging a sub-runner is outwardly formed near the positioning protuberance 13 The series of lead frames 1 and the series of heat sink assemblies 11 are integrally fabricated in a step of integration so that the individual units are superposed as shown in FIG. 4. That is, the lead frames 2 and the heat sink assemblies 12 are arranged and superposed vertically in such a way that the regions 7 for disposing the pellets are concentric with the heat sinks 15. In this case, coupling protuberances 13 The superposing work, insertion work and caulking work can be simultaneously executed for a plurality of lead frames 2 and heat sink assemblies 12. Therefore, these operations are executed very efficiently. In a coupled member 22 in which the lead frame 2 and the heat sink assembly 12 are superposed vertically as described above, the tips on the inner side of a group of inner leads 9 of the upper lead frame 2 are overlapped on the inside with the outer peripheral edges of the heat sink 15 of the lower heat sink assembly 12 by a predetermined length when viewed from above, and are floated above the upper surface of the heat sink 15 by the height of the stepped portion 19. In a pellet-bonding step, as shown in Referring to The bonding layer may be composed of a gold-silicon eutectic layer or a silver paste adhesive layer other than the solder layer. Here, it is desirable that the bonding layer formed does not hinder the conduction of heat from the pellet 23 to the heat sink 15. The bonding layer 24 of solder not only has a high heat conductivity but also is rich in softness, and absorbs mechanical stress that acts between the pellet 23 and the heat sink 15. After an integrated circuit made up of a group of semiconductor elements and wiring circuits is fabricated through an ordinary wafer processing step in the process of producing semiconductor devices, the pellet 23 is cut into a predetermined shape in the dicing step, thus producing a semiconductor device. The wires 25 are bonded at both ends to electrode pads 23 Using a transfer-molding device 30 in the step of sealing with the resin shown in The transfer-molding device 30 shown in In the mating surface of the lower force plate 32 is formed a pot 34 into which is inserted a plunger 35 that is moved back and forth by being driven by the cylinder device (not shown) so as to feed a resin which is a molding material. In the mating surface of the upper force plate 31 is formed a cull 36 opposed to the pot 34, and there are further formed a main runner 37 and a sub-runner 38 which communicate with each other. The end of the sub-runner 38 is connected to the gate 39 formed at a predetermined corner portion that will be described later in the upper cavity recessed portion 33 In this embodiment, four holes 40 for containing bumper-hanging bars are formed in the mating surface of the lower force plate 32 at four corners of the lower force cavity recessed portions 33 In the mating surface of the lower force plates 32 are further formed holes 42 for containing protruded portions on the outer side of the holes 41 for containing bumpers that correspond to the gates 39 of the upper force plates 31, the holes 42 being so provided as to be partly overlapped with the holes 41 for containing bumpers. The holes 42 for containing protruded portions correspond to the horizontal outlines of the protruded portions 20 of the heat sink assembly 12 and, hence, serve to contain the protruded portions 20. In the mating surface of the lower force plate 32 are further formed a pair of escape grooves 43 at both side suitably away both sides of the cavity recessed portion 33 On the other hand, in the mating surface of the upper force 31 are formed four protuberances 44 for filling the holes that contain bumper-hanging bars at four corners of the upper force cavity recessed portion 33 Protuberances 45 for filling the bumper-containing holes are formed on the outer sides of the protuberances 44 that fill the holes for containing bumper-hanging bars in the mating surface of the upper force plate 31, the protuberances 45 being formed integrally with the protuberances 44 that fill the holes for containing bumper-hanging bars. The horizontal outline of the protuberance 45 corresponds to the horizontal outline of the bumper 18 of the heat sink assembly 12 and, hence, the protuberance 45 serves, in cooperation with the bumper 18, to fill the hole 41. Moreover, protuberances 46 for filling the holes that contain protuberances are formed on the outer sides of the protuberances 45 for filling the holes that contain bumpers at positions corresponding to the gates 39 on the mating surface of the upper force plate 31, the protuberances 46 being formed continuously to the protuberances 45 for filling the holes that contain bumpers. The horizontal outline of the protuberance 46 corresponds to the horizontal outline of the protruded portion 20 of the heat sink assembly 12. Therefore, the protuberance 46 and the protruded portion 20 fill the hole 42. The sub-runner 38 is formed in the surface of the protrusion 46 mating with the protruded portion 20, and a gate 39 is formed in the surfaces of the protuberances 45, 44 continuous to the protuberance 46, which mate with the bumper 18 and the bumper-hanging bar 17. In the mating surface of the upper force plate 31 are further formed a pair of escape grooves 47 suitably away from both sides of the cavity recessed portion 33 Next, described below is a method of sealing the assembly 26 with the resin using the transfer-molding device 30. First, the assembly 26 is placed on the lower force plate 32. In this case, the heat sink 15 is contained in the lower force cavity recessed portion 33 Then, the upper force plate 31 and the lower force plate 32 are clamped together. When they are clamped together, the periphery of the dam bar 10 of the lead frame 2 is sandwiched from the upper and lower directions between the mating surfaces of the upper force plate 31 and the lower force plate 32. Moreover, the protuberances 44, 45 and 46 formed on the mating surface of the upper force plate 31 are fitted into the holes 40, 41 and 42 formed in the mating surface of the lower force plate 32, and the lower surfaces of the protuberances 44, 45 and 46 press the upper surfaces of the bumper-hanging bar 17, bumper 18 and protruded portion 20 that are contained in the holes 40, 41 and 42. In this state, the notches formed at the corners of the lower force cavity recessed portion 33 Then, a resin 48 which is to be molded is injected into the cavity 33 from a pot 34 by a plunger 35 via the main runner 37, sub-runner 38 and gate 39. The resin 48 flows through the sub-runner 38, flows along the upper surface of the protruded portion 20 of the heat sink assembly 12, and is injected into the cavity 33 through a passage surrounded by the protruded portion 20 and the gate 39 formed in the lower force plate 32. The cavity 33 is filled with the resin 48, which is then thermally set, and the sealing resin member 27 is formed. After the sealing resin member 27 is formed, the upper force plate 31 and the lower force plate 32 are opened. As the mold is opened, the sealing resin member 27 is pushed up by the ejector pins (not shown) and is parted from the upper force plate 31 and the lower force plate 32. During this parting, it is desirable that the ejector pins also push up portions of the heat sink 15 of the assembly 26. In such a way, the assembly 26 is molded, and parted, completing a molded article 28. The pellet 23, the inner leads 9, the wires 25, part of the heat sink 15, and part of the four bumper-hanging bars 17 of the molded article 28 are sealed inside the sealing resin member 27. That is, the main surface of each of the heat sink 15 and the bumper-hanging bars 17 is exposed from one main surface of the sealing resin member 27, and the other main surface and the side surfaces are buried inside the sealing resin member 27. Furthermore, four bumpers 18 are outwardly and radially protruded from the four corners of the sealing resin member 27. The flash of the runner and culls appearing during the transfer molding are removed in the removing step. Then, in the step of solder plating, the molded article 28 is plated with solder over all surfaces that are exposed from the sealing resin member 27. Since the series of lead frames 1 and the series of heat sink assemblies 11 in the molded article 28 are all electrically connected, the electroplating with solder is executed at one time. The molded article 28 is transferred to a step of cutting the leads. In this step, the dam bars 10 are cut off among the neighboring outer leads 8. The outer leads 8 are cut off from the outer frames 3, 4, 5 and 6, and are then bent in the form of a gull wing. The bumpers 18 are cut off from the outer frames 13 and 14. Here, it is desirable that the bumpers 18 and the outer frames 13, 14 are cut at right angles to the diagonal lines of the sealing member 27. By this cutting method, the shape of the bumpers 18 can be easily adjusted, and the edges of the bumpers 18 in parallel with the sides of the sealing resin member 27 can be always positioned on the outer sides of the tips of the outer leads 8, and maintained in position. Thus, the QFP 29 that is shown in The printed wiring board 50 shown in To mount the QFP 29 on the surface of the printed wiring board 50, soldering material (not shown) such as cream solder is applied to the mounting pads 52 and to the lands 53 by screen printing, or the like. In this case, the soldering material is applied to the lands 53 partly. Then, the flat portions of the outer leads 8 of the QFP 29, heat sink 15 and bumpers 18 are adhered to the mounting pads 52 and lands 53 to which the soldering material is applied. In this state, the soldering material is melted by a reflow solder processing, and then solidified. Due to this processing, soldered portions 54 and 55 are formed between the outer leads 8 and the mounting pads 52, between the heat sink 15 and the lands 53, and between the bumpers 18 and the lands 53. Thus, the QFP 29 is mounted on the surface, electrically, and mechanically connected to the printed wiring board 50. As the pellet 23 becomes hot due to the heat of solder reflow, the hear is conducted to the heat sink 15 since the pellet 23 is directly bonded to the heat sink 15. The heat sink 15 is thicker than the lead frame and has a large area and, hence, has a very low heat resistance. Therefore, the heat of the pellet 23 is conducted to the heat sink 15 highly efficiently, and the heat is dissipated from the heat sink 15 to the mounting board 50 and radiated to the air; i.e., the pellet 23 is efficiently cooled. The heat directly transferred to the heat sink 15 diffuses from the heat sink 15 to the four bumpers 18, and is further radiated into the air. The heat diffused into the heat sink 15 and to the bumpers 18, is then conducted to the lands 53 from the heat sink 15 and the four bumpers 18, and is transferred to the printed wiring board 50. Moreover, the heat of the pellet 23 is directly conducted to the heat sink 15 and is diffused to the whole sealing resin member 27 from the wide surface area of the heat sink 15. As described above, the QFP 29 of the present invention well radiates the heat and prevents the occurrence of reflow cracks. The above-mentioned embodiment has the following effects. (1) Since the pellet 23 is directly bonded to the heat sink 15, the heat of the pellet 23 is conducted to the heat sink 15, making it possible to improve the thermal stability. (2) Part of the heat sink 15 and the bumpers 18 integrally coupled to the corners of the heat sink 15 are outwardly exposed from the sealing resin member 27. Therefore, the heat absorbed by the heat sink 15 is emitted into the open air, making it possible to further enhance the effect mentioned in item (1). (3) The tips of the bumpers 18 disposed at four corners of the sealing resin member 27 outwardly protrude beyond the tips of the outer leads 8. Therefore, in case an external force is unexpectedly exerted on the package while the product is being assembled, being shipped to the user, or being mounted by the user, the bumpers 18 absorb the external force to prevent the outer leads 8 from deforming. (4) In the step of producing the QFP 29, the mechanical coupling portion 21 between the lead frame 2 and the heat sink assembly 12 is not buried inside the sealing resin member 27, and the layout of the inner leads 9 inside the sealing resin member 27 is not limited by the mechanically coupling portion 21. (5) Owing to the effect mentioned in item (4), the invention can be adapted even to a QFP that has neither heat-radiating fins nor heat-radiating fin leads for coupling the heat-radiating fins to the tabs. (6) The coupling between the lead frame 2 and the heat sink assembly 12 is accomplished by the mechanical coupling portion 21. Therefore, no gas generates during the coupling, and the pellet is prevented from being contaminated by the gas. (7) Since the heat sink assembly 12 is coupled to the lead frame 2, the assembling devices that execute the works of the pellet 23 and the inner leads 9 may be those used in the prior art. Moreover, since the lead frames 2 and the heat sink assemblies 12 are formed in series structures the productivity is raised. (8) Before being coupled, the heat sink assembly 12 is separate from the lead frame 2 and, hence, it is possible to fabricate a heat sink 15 and bumpers 18 having thicknesses larger than that of the lead frame 2. Accordingly, the heat-radiating performance can be further increased with ease. Since the lead frame 2 can be thinly formed, furthermore, the wiring density can be increased. In the foregoing was concretely described an embodiment of the present invention accomplished by the present inventors. It should, however, be noted that the invention is in no way limited to the above-mentioned embodiment only but can be modified in a variety of other ways without departing from the gist and scope of the invention. For instance, the shapes of the sealing resin member and the heat sink are not limited to squares only but may be tetragonal (for example, rectangular). In particular, the heat sink needs not be limited to a regular tetragon but may be circular or polygonal. The heat sink assemblies are not limited to the series structures but may be constituted in a single unit which may then be assembled on a series of lead frames. The mechanical coupling between the heat sink and the lead frame is not limited to caulking, but may be a weld using the soldering material. In this case, the coupling holes can be omitted. The heat sink is not limited to the structure in which it is partly buried in the sealing resin member but may have a structure that the heat sink is entirely buried in it. When the heat sink is partly exposed through the main surface of the sealing resin member, the external heat-radiating fins may be attached thereto. In such a case, the outer leads may be bent in the direction of the main surface on the side opposite to the heat sink. In the bumpers may be formed bolt-insertion holes and internal threads. The material for forming the heat sink assembly is not limited to the copper-type material but may be any other metal material having a good heat conductivity, such as an aluminum-type material (aluminum or alloy thereof) or the like. In particular, it is desirable to use a material having an excellent heat conductivity, such as silicon carbide (SiC), and having a coefficient of thermal expansion which is nearly equal to that of silicon which is a material of the pellet. In the foregoing embodiment, the heat sink and the bumpers are soldered to the lands of the printed wiring board. However, a sufficiently high heat-radiating performance is exhibited even when the heat sink and the bumpers are not soldered. Moreover, the heat sink may be used to serve as an electrically conducting member for the ground terminal and the feeder terminal. The foregoing description was made about the case where the invention accomplished by the present inventors was adapted to the QFP IC in the field of art which is the background of the invention. The invention, however, is in no way limited thereto only but can be adapted to surface-mount resin-sealed packages such as QFJ, QFI, etc., as well as to packages for power transistors and other electronic devices in general. In particular, the invention produces excellent effects when it is utilized for semiconductor devices which are required to be small in size, have many pins, be inexpensive, and have a high heat-radiating performance.BACKGROUND OF THE INVENTION
SUMMARY OF THE INVENTION
BRIEF DESCRIPTION OF THE DRAWINGS
DESCRIPTION OF THE PREFERRED EMBODIMENTS