A support for receiving and supporting stacked tiers of cylindrical roll stock is provided. The support can be either located on the base tier of the rolls, folded between tiers, or placed on the top tier, all to provide a rectangular stacked arrangement of the roll stock that is especially suited for storage or transport. The roll support includes a support body that is preferably formed from a resinous plastic, polymeric material, such as PET that includes a plurality of curved cradles and each curved cradle is sized for receiving a roll of cylindrical stock. A multiple of the support bodies combine to support a multiple of the rolls of cylindrical stock in a tiered array. Each support body can substantially support the weight of each roll of cylindrical stock received within its curved cradles. The weight of the support body is less than the supported weight of the roll of cylindrical stock. Additionally, the support can nest together in storage, with a minimum of increase in the nested stack height, when roll supports are added to the stack.
1. A support apparatus for receiving and supporting one or more pieces of roll stock, said support apparatus comprising: (a) a first elongated upper surface comprising a plurality of roll support cradle portions, each of said roll support cradle portions having an outward surface shaped in an arcuate segment of pre-selected dimensions adapted for securely receiving a piece of roll stock of substantially complementary shape; (b) a first pair of longitudinally running opposing sidewall portions, each of said opposing sidewall portions sloping inwardly and upwardly toward said first elongated upper surface; (c) a first base, said first base providing upward structural support to each of said opposing sidewall portions, which, in turn, each provide upward structural support for said first upper surface comprising a plurality of roll support cradle portions; (d) one or more support platforms in each of said roll support cradle portions, and wherein each of said one or more support platforms further comprises (i) first and second inwardly and downwardly sloping sidewall portions, each having a lower end portion and (ii) a transversely extending bottom support foot, said bottom support foot located adjacent said lower end portion of said first and said second inwardly and downwardly sloping sidewall portions, and (A) extending laterally across said roll support cradle portion, and (B) extending downwardly to a location substantially even with said first base. 2. The apparatus as set forth in claim 1, wherein each of said roll support cradle portions has a bottom portion, and wherein said bottom portion is elevated above said base. 3. The apparatus as set forth in claim 2, wherein said bottom portion of said roll support cradle portion is elevated about 0.25 inches above said base. 4. The apparatus as set forth in claim 1, wherein each of said opposing sidewall portions is angled upward and inward at an angle sigma (ε) of about 20 degrees. 5. The apparatus as set forth in claim 1, wherein each of said first and second inwardly and downwardly sloping sidewall portions of said support platforms is angled downwardly and inwardly at a preselected angle alpha and beta, respectively. 6. The apparatus as set forth in claim 5 wherein said angle alpha (α) is about 20 degrees. 7. The apparatus as set forth in claim 5 wherein said angle beta (β) is about 20 degrees. 8. The apparatus as set forth in claim 1, further comprising, between adjacent roll support cradle portions, a platform portion. 9. The apparatus as set forth in claim 8, wherein said platform portion further comprises a plurality of outwardly and upwardly protruding dimple portions. 10. The apparatus as set forth in claim 1, further comprising: (a) a second elongated upper surface comprising a plurality of roll support cradle portions, each of said roll support cradle portions having an outward surface shaped in an arcuate segment of pre-selected dimensions adapted for securely receiving a piece of roll stock of substantially complementary shape; (b) a second pair of longitudinally running opposing sidewall portions, each of said opposing sidewall portions sloping inwardly and upwardly toward said second elongated upper surface; (c) a second base, said second base providing upward structural support to each of said second pair of opposing sidewall portions, which, in turn, each provide upward structural support for said second upper surface comprising a plurality of roll support cradle portions; (d) a flexible attachment portion, said flexible attachment portion adapted to flexibly connect said first base to said second base so that said first (e) one or more support platforms in each of said roll support cradle portions, and wherein each of said one or more support platforms further comprises (i) first and second inwardly and downwardly sloping sidewall portions, each having a lower end portion and (ii) a transversely extending bottom support foot, said bottom support foot located adjacent said lower end portion of said first and said second inwardly and downwardly sloping sidewall portions, and (A) extending laterally across said roll support cradle portion, and (B) extending downwardly to a location substantially even with said first base. 11. The apparatus as set forth in claim 1, or in claim 10, wherein said apparatus in manufactured in a strong, flexible plastic material. 12. The apparatus as set forth in claim 11, wherein the plastic material is a polyethylene terephthalate. 13. The apparatus of claim 12, wherein said plastic material is a recycled plastic, material. 14. The apparatus as set forth in claim 11, wherein said apparatus is thermoformed. 15. The apparatus as set forth in claim 10, wherein a multiple of roll supports combine to support a multiple of rolls of roll stock, said rolls of roll stock supported by the roll supports to form a bottom tier of supported roll stock, and the bottom tier of the supported roll stock additionally supports a minimum of two additional tiers of the roll stock, and each of the two additional tiers of the cylindrical is also supported by additional roll supports.
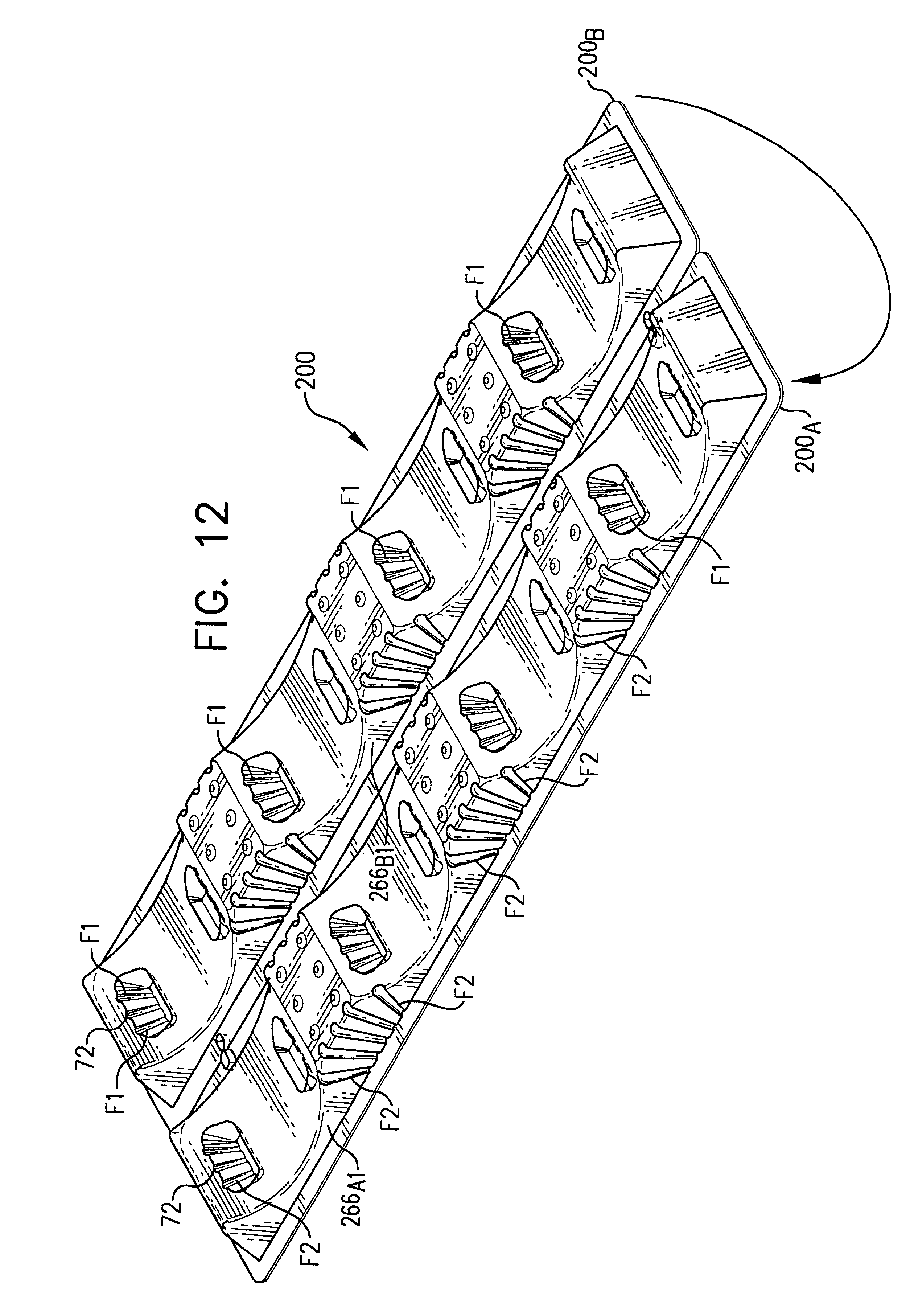
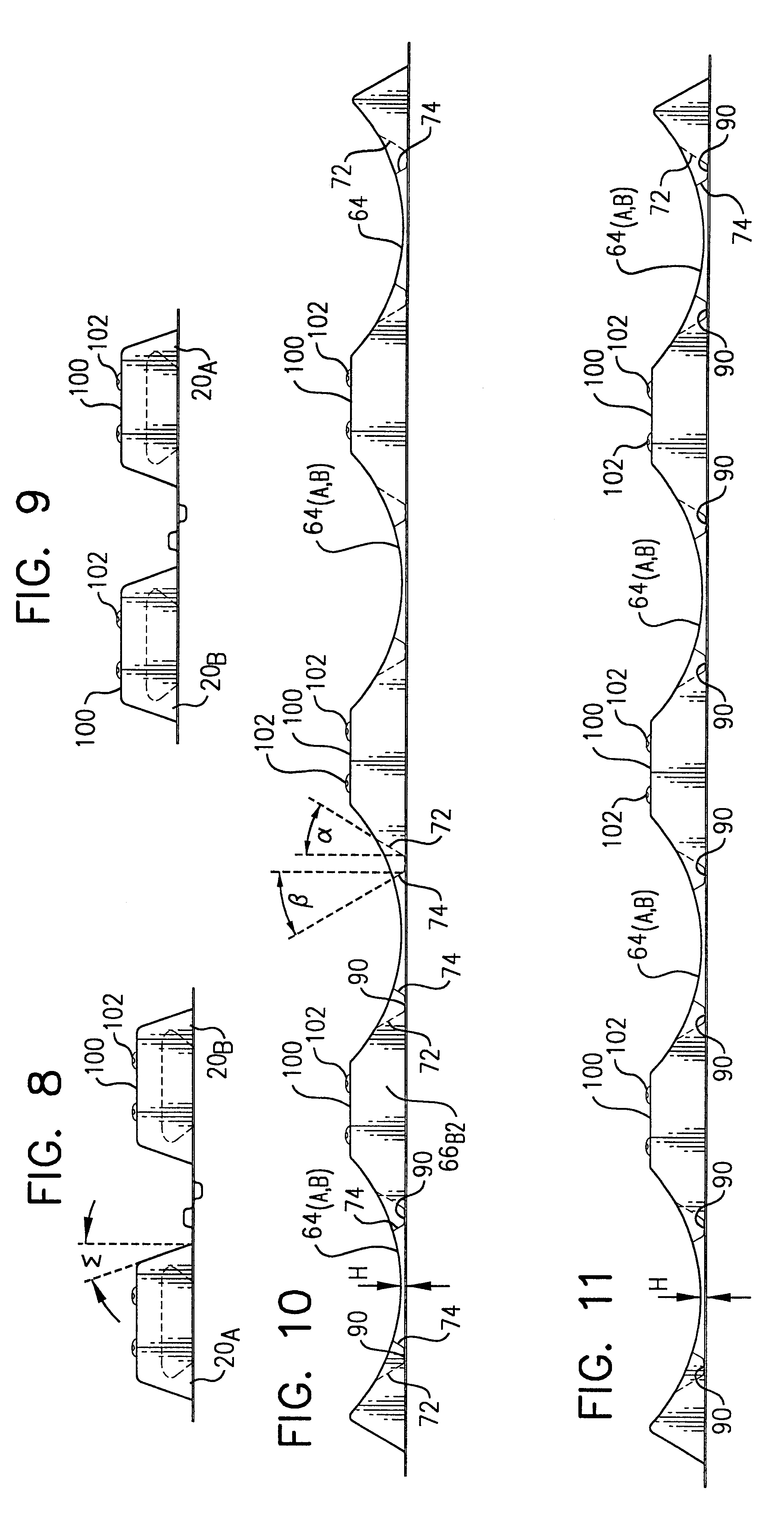
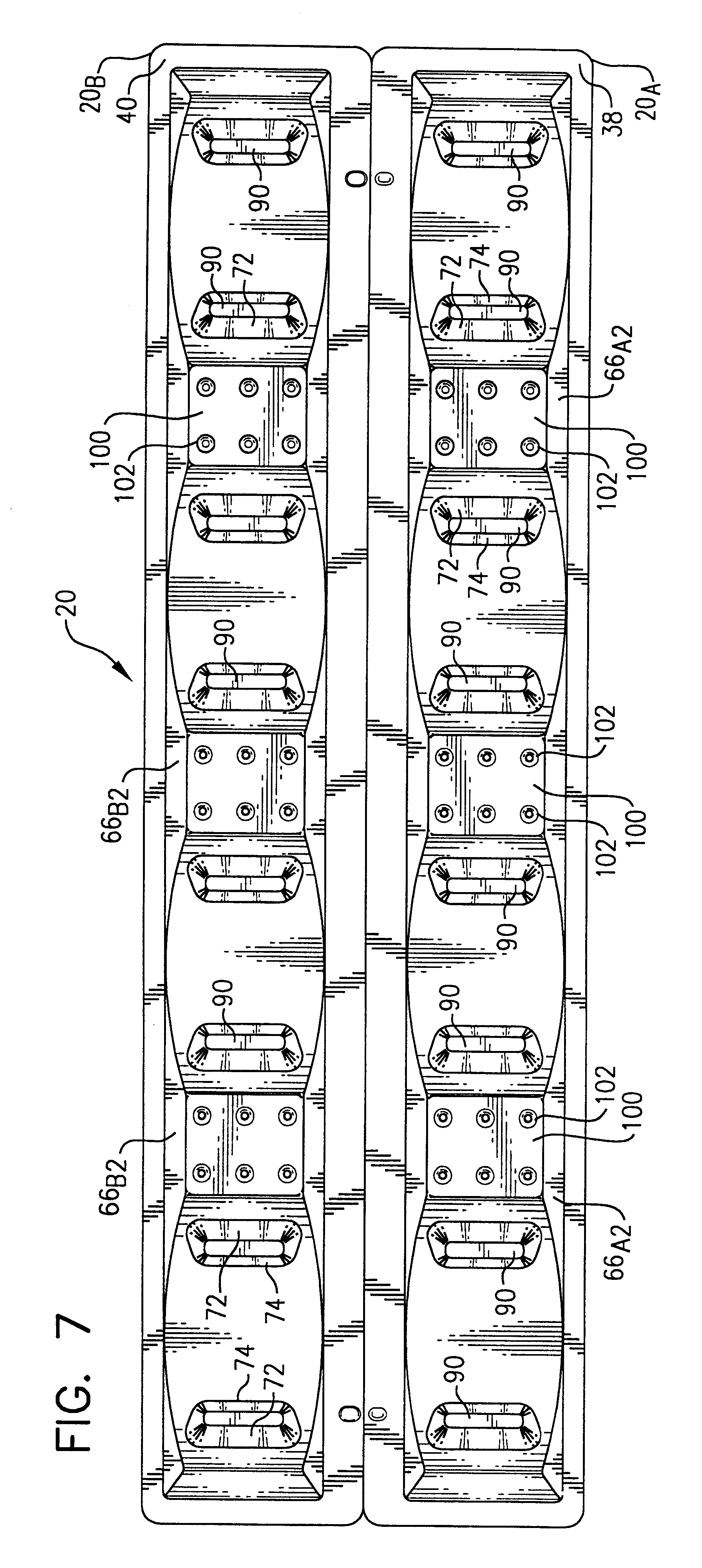
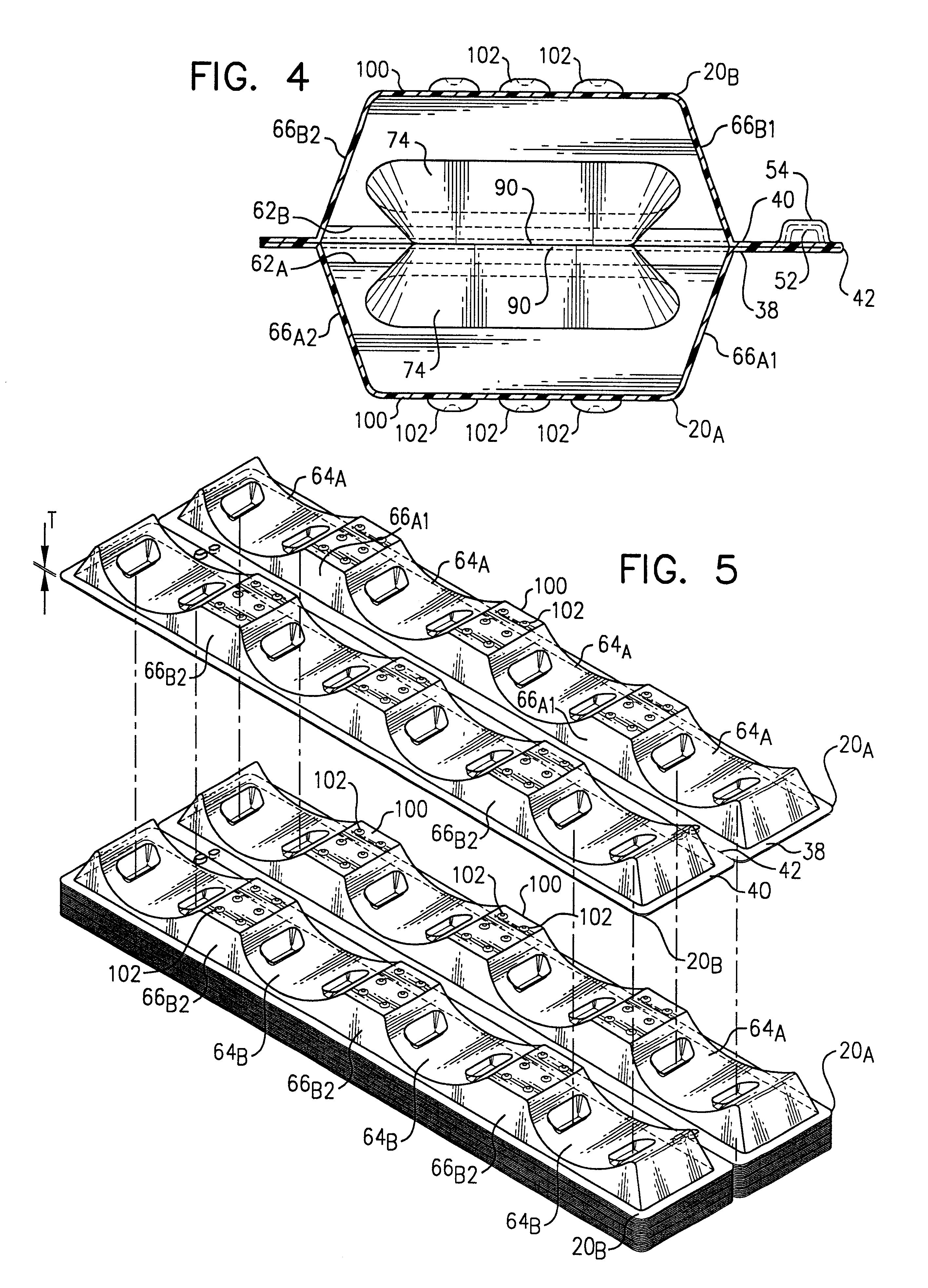
This application is a Continuation-In-Part of prior application Ser. No. 09/330,536, filed Jun. 11, 1999, now U.S. Pat. No. 6,209,839 the disclosure of which is incorporated herein in its entirety by this reference. The invention relates to stacking supports for roll stock, and more particularly to a compactly nestable, high strength, improved stacking support for roll stock. “Roll stock” is a term that is commonly used to describe cylindrical rolls or tubular rolls of a selected width of thin materials. Such items include paper products, plastic film products, thin gauge metals, roofing sheets, and various other thin materials. Importantly, these various cylindrical or tubular shaped rolls are typically shipped and stored on pallets. Most often, such storage is provided in tiers of rolls, and, most commonly, the rolls are horizontally oriented above the pallets. In order to stabilize and support the cylindrical or tubular rolls, stacking supports have typically been employed. Various U.S. patents show stacking supports for receiving stacked rolls of materials. One such disclosure is found in U.S. Pat. No. 4,195,732 to Bell, which teaches a support and spacing member for roll stock formed from expanded polystyrene foam. Similarly, U.S. Pat. No. 4,832,196 to Butler shows a roll support member that, like Bell the '732 patent, is formed utilizing expanded polystyrene foam. However, certain characteristics of the polystyrene foam make it less than ideal for use in roll stock supports. This is because expanded polystyrene is rather rigid, relatively brittle, and thus has a minimum of structural flexibility. Additionally, polystyrene foam rolls supports do not compactly nest together and thus storage of roll supports manufactured of polystyrene or similar plastic materials takes up considerable space. One alternative to polystyrene foam roll supports has been the development and use of roll supports made from papier-mâché. For example, U.S. Pat. No. 5,080,314 issued Jan. 14, 1992 to Moyer et al for a ROLL STACKER teaches a roll support formed of papier-mâché. Unfortunately, in many circumstances, papier-mâché is inadequate for roll stock supports. For example, the strength of papier-mâché roll stock supports rapidly degrades which they get wet. Consequently, papier-mâché roll sock supports must be protected from the weather, and even cannot be used in many humid environments. Such weather protection is especially difficult during transport, and requires that such supports be shipped within a fully enclosed container or trailer. Further, even though roll supports manufactured from papier-mâché have improved stackability over foam type roll supports, because papier-mâché roll stackers must be of substantial thickness to support the weight of many materials, it would nevertheless be desirable to develop a material that would further reduce the storage space requirements of roll supports, to free up warehouse space. Thus, there remains a need for a strong, weather-proof, preferably recyclable material which can be utilized in the production of compactly stackable roll supports which can be stored with minimal warehouse volume requirements. I have now developed a roll stacking support that can be fabricated in a high strength material suitable for high density storage of the roll stacking support, especially when compared to storage density of conventional stacking supports manufactured from foam or from molded pulp utilizing prior art roll support designs. Importantly, certain improved structural components of my roll stacking support design may be utilized to advantage in improving the performance of prior art roll supports made of materials such as papier-mâché. My novel roll support design provides a support for receiving and supporting stacked tiers of roll stock. My roll support is designed for use in roll support pairs, so that the pair of roll supports can be folded out and utilized side-to-side and located below a base tier of roll stock, or so that the pair of roll supports can be used in a back-to-back fashion and located between tiers or roll stock, or folded out in a side-by-side orientation and placed above a top tier of roll stock, all in order to provide a secure, stacked arrangement of the roll stock that is suited for storage or transport. Alternately, as single one of a pair can be used where appropriate at the base or at the top of a stack of roll stock. Importantly, successive pair sets of my roll supports in pile of such roll supports will nest tightly within a prior or lower pair set, thereby substantially reducing the storage space required for new or for used roll supports. It is preferable (but not mandatory) that roll supports provided utilizing my design configurations be thermoformed utilizing a recyclable plastic. To date, the most preferable structural material that I have found is the use of the polyethylene terephthalate (PET) type plastic. My roll support is preferably formed and provided in a side-by-side pair of support portions which are attached to each other along a flexible joint or hinge. Each roll support portion includes an elongated upper surface having a plurality of roll support cradle portions. Each of the roll support cradle portions has an outward surface shaped in an arcuate segment of pre-selected dimensions adapted for securely receiving a piece of roll stock of substantially complementary shape. A pair of longitudinally running opposing sidewall portions is provided in each roll support portion, and each of the opposing sidewall portions slope inwardly and upwardly toward the elongated upper surface. A base is provided in each of the roll support portions. The base provides upward structural support to each of the opposing sidewall portions, which, in turn, each provide upward structural support for the upper surface that has therein a plurality of roll support cradle portions. For enhanced structural strength, I provide one or more support platforms, and preferably two support platforms, in each of the roll support cradle portions. The support platforms each have first and second inwardly and downwardly sloping sidewall portions, and each of the sloping sidewall portions have a lower end portion. A transversely extending bottom support foot is provided at the lower reaches of the support platforms. The bottom support foot located adjacent to the lower end portion of the first and second inwardly and downwardly sloping sidewall portions, and the bottom support foot extends laterally across at least a portion of the roll support cradle portion. To assure structural strength, the bottom support foot extends downwardly to a location substantially even with said the base of the roll support portion. Also, the roll support cradle portions each have a bottom portion that is preferably elevated above the base of the respective roll support portion. To enhance compact nestability, I have found it advantageous to provide the opposing sidewall portions angled inward about 20 degrees from the vertical line perpendicular to the base of the roll support. Likewise, to enhance compact nestability, I have found it advantageous to provide inwardly and downwardly sloping sidewalls of the support platforms at angles of about 20 degrees from the vertical line perpendicular to the bottom support foot. My roll support is configured to receive and support horizontally stacked tiers of roll stock. The cradle surface is sized for receiving a preselected diameter of roll stock. The roll support functions to stabilize the tiered array of roll stock, usually located on a shipping pallet. A multiple of the roll supports are utilized to support a plurality of rolls of roll stock. Firstly, selected rolls of roll stock are supported by a lower tier of roll supports, to form a bottom tier of supported roll stock. The bottom tier of the supported roll stock then supports a plurality of roll supports oriented in a back-to-back configuration, which then supports yet an additional tier of roll stock. Each of the additional tiers of the roll stock is supported by additional roll supports. Each roll support is structurally able to support distributed portion of the weight of the roll stock that is received within its roll support cradle portions. Thus, my strong roll support design is an important improvement in roll supports for roll stock materials. The invention will be better understood by reference to the following detailed description taken in conjunction with the accompanying drawing, wherein: Attention is now directed to Preferably, my roll supports 20 are manufactured in pairs 20Aand 20Bwhich are flexibly joined or “hinged” along adjacent edge portions 34 and 36 of the respective base portions 38 and 40 of pairs 20Aand 20B. Ideally, the flexible joint 42 is formed by thinning the material of construction and allowing only a thin portion of material to connect the pairs 20Aand 20B, or, by allowing only longitudinally successive thin transverse strips to connect the adjoining sections 20Aand 20Bof the roll support pair 20. Note that reference arrow 50 shows how a first one 20Aof the pair of roll supports is folded under the second one 20Bof the pair of roll supports, to transform the pair from a side-by-side configuration to a back-to-back configuration. In this manner, a first alignment lock 52 in first roll support section 20Ais folded over in close fitting interlocking fashion with a second alignment lock 54 in second roll support section 20B. The pair of alignment locks 52 and 54, when configured as mating dimples as shown here and as further illustrated in As further illustrated in Another important property which is achieved by the use of PET is that my paired roll supports 20 can easily stack over a previous pair with only a slight increase in height. As shown in As earlier described in conjunction with My roll support portions 20A and 20B, or taken together as a joined roll support 20, are suited for receiving and supporting one or more pieces of roll stock of a selected diameter D and radius R. Each of the roll support portions 20A and 20B have a first elongated upper surface 60A and 60B, respectively, each having a plurality of roll support cradle portions 62A or 62B thereon. Each of the roll support cradle portions 62A and 62B have an outward surface 64A or 64B shaped in an arcuate segment of pre-selected dimensions adapted for securely receiving a piece of roll stock 22 of substantially complementary shape, i.e., preferably complementary diameter D or radius R. To support the roll support cradle portions 62A and 62B, a pair of longitudinally running opposing sidewall portions 66A1 and 66A2, and 66B1 and 66B2 are provided in each of portions 20A and 20B, respectively. When viewed in the side-by-side configuration (see To enhance structural strength, one or more support platforms 70 is provided in each of the roll support cradle portions 64A or 64B. Each of the support platforms 70 has first 72 (or long) and second 74 (or short) inwardly and downwardly sloping sidewall portions, each having a lower end portion 76 and 78, respectively (see FIG. 6). Also, the support platforms have opposing end wall portions 80 and 82. A transversely extending bottom support foot 90 is located adjacent the lower end portions 76 and 78 of the first 72 and second 74 inwardly and downwardly sloping sidewall portions. As indicated in The transversely extending bottom support foot 90 extends laterally across the respective roll support cradle portion 64A or 64B. Also, the bottom support foot 90 extends downwardly, when the roll supports are viewed in a side-by-side configuration, to a location substantially even with the height or plane of the respective base 38 or 40. Also, as shown in As can be seen in various figures, but is most evident in the side view shown in Also, as seen in As shown in the various figures, between adjacent roll support cradle portions, a platform portion 100 is provided. Preferably, a plurality of outwardly and upwardly protruding dimples 102 are located therein, to enhance structural strength. Finally, as depicted in The roll stock 22 supported by my roll supports can be any one of a variety of materials typically wrapped around a spool or core. This rolled material is conventionally placed in the cylindrical or tubular roll for storage, transport and eventual use. The rolled material can be any web material, plastic or film, such as polyethylene or cellophane. As an example, the packaging manufacturing and printing industry employs rolls of plastic film, typically polyethylene, to fabricate bags that receive a printed design or label. It is also possible to blend the material that forms the roll support 20 of the present invention from other, non-resinous materials, like wood fiber or carbon fiber. These blended or composite materials would be formulated to maintain the thin-walled, thermoformed, advantages as described for the present invention. The present invention has been described in language more or less specific as to structural features and process steps. While this invention is susceptible to embodiment in different forms, the specification illustrates preferred embodiments of the invention with the understanding that the present disclosure is to be considered an exemplification of the principles of the invention, and the disclosure is not intended to limit the invention to the particular embodiments described. Therefore, the invention is not to be limited except by the following claims, as appropriately interpreted in accordance with the doctrine of equivalents.TECHNICAL FIELD
BACKGROUND
SUMMARY
BRIEF DESCRIPTION OF THE DRAWING
DETAILED DESCRIPTION