патент
№ US 0006300112
МПК C12N15/09

beta-xylosidase, nucleotide sequence encoding it, and use thereof

Авторы:
Leendert Hendrik De Graaff Noël Nicolaas Maria Elisabeth Van Peij Henriëtta Catharina Van Den Broeck
Все (12)
Правообладатель:
Все (3)
Номер заявки
08981446
Дата подачи заявки
22.12.1997
Опубликовано
09.10.2001
Страна
US
Дата приоритета
15.12.2025
Номер приоритета
Страна приоритета
Как управлять
интеллектуальной собственностью
Чертежи 
5
Реферат

A nucleotide sequence is provided which encodes a peptide having beta-xylosidase activity and exhibits at least 30% amino acid identity with the amino acid sequence shown in SEQ ID NO. 1 and described in SEQ ID NO. 3 or hybridises under stringent conditions with a nucleotide sequence shown in SEQ ID NO. 1, or a part thereof having at least 15 nucleotides encoding an amino acid sequence shown in SEQ ID NO. 1 and described in SEQ ID NO. 3. Also provided is a peptide having beta-xylosidase activity and exhibiting at least 30% amino acid identity with the amino acid sequence shown in SEQ ID NO. 1 and described in SEQ ID NO. 3 or a part thereof having at least 8 amino acids shown in SEQ ID NO. 1 and described in SEQ ID NO. 3.

Формула изобретения

1. Recombinant cell derived from a host cell having a β-xylosidase gene, wherein said recombinant cell comprises a β-xylosidase gene that has been disrupted by a mutation in a nucleotide sequence of said β-xylosidase gene, said β-xylosidase gene prior to disruption encoding a peptide having β-xylosidase activity, said peptide comprising at least 60% amino acid identity in the primary sequence with the amino acid sequence of SEQ ID NO: 3.

2. Recombinant cell derived from a host cell having a β-xylosidase gene, wherein said recombinant cell comprises a β-xylosidase gene that has been disrupted by a mutation in a nucleotide sequence of said β-xylosidase gene, said nucleotide sequence hybridizing under stringent conditions with a nucleotide sequence of SEQ ID NO: 1.

3. A method for the production of a xylanolytic enzyme preparation, which is essentially free of β-xylosidase activity, comprising culturing said recombinant cell according to claim 1 and obtaining enzymes from the culture medium.

4. Method according to claim 3 wherein the preparation is an endoxylanase-containing preparation.

Описание

[1]

The present invention relates to a novel peptide having β-xylosidase activity, to a nucleotide sequence encoding such a peptide, and to the use of such a β-xylosidase-like peptide.

BACKGROUND

[2]

Beta-xylosidase (1,4-β-D-xylan-xylohydrolase; EC 3.2.1.37) is one of the xylanolytic enzymes. Xylans are a major constituent of the cell walls of plants, and are second only to cellulose. They are abundantly found in most land plants, especially in agricultural by-products such as straw, wheat-bran, corn cobs, cotton seed, etc. Xylan is a complex polymer consisting of a β-1,4-linked xylose polymer with arabino-furanose, glucuronic acid, methylglucuronic acid and acetyl side-groups. Endoxylanase (EC 3.2.1.8) randomly cleaves the β-1,4-bonds in the xylan backbone to yield oligosaccharides, xylobiose and xylose. Beta-xylosidase cleaves terminal xylose units from the non-reducing end of the xylose oligomers resulting from endoxylanase activity. α-Glucuronidase cleaves glucuronic acid side groups from backbone xylose units, whereas α-L-arabinofuranosidases (EC 3.2.1.55) cleave arabinose units from the xylan backbone and acetylesterases (EC 3.1.1.6) remove the acetyl side-groups.

[3]

Beta-xylosidase is also effective in transglycosylation reactions wherein monosaccharide units or alcohols are attached to or cleaved from xylose units. Beta-xylosidase is rate-limiting in xylan hydrolysis (Dekker 1983, Poutanen and Puls 1988).

[4]

The hydrolysing and transglycosylating reactions of β-xylosidases are economically important for the breakdown and utilisation of agricultural waste material e.g. in the production of xylose, xylose oligomers and xylitol, which are useful as sweeteners in foodstuffs, candies and medicaments, especially as a sugar substitute. Also, the enzyme or its products can be used as bread improvers and in the beer brewing industry.

[5]

Beta-xylosidases have been isolated from various sources including bacteria and fungi. For example, the purification of β-xylosidase from Aspergillus niger was reported by Rodionova et al. (1983); the molecular weight was reported to be 253,000 on the basis of gel filtration and 122,000 on the basis of SDS electrophoresis, whereas its isoelectric point was at pH 4.9.

[6]

Three endoxylanases and one β-xylosidase were isolated from Aspergillus awamori by Kormelink et al. (1993); the β-xylosidase had a molecular weight of 110,000, a pH optimum of 6.5 and a temperature optimum of 70° C.

[7]

Beta-D-xylosidase from rumen fungus Neocallirnastix frontalis was reported by Garcia-Campayo and Wood (1993) and had an apparent molecular weight (gel filtration) of 150,000, a pH optimum of 6.4 and a temperature optimum of 37° C. Utt et al (1991) report the sequencing of the xylB of the ruminal bacterium Butyrivibrio fibrisolvens encoding both β-xylosidase and α-arabinofuranosidase activities.

[8]

Known β-xylosidases have activity patterns that do not always correspond to the industrial needs. In particular it is often desirable that the enzyme has a high xylosidase specificity and low specificities for other substrates, such as glucosides and galactosides. Especially fungal β-xylosidases are highly advantageous for their activity levels and specificity patterns.

[9]

In order to be able to provide β-xylosidase-like enzymes having the desired activity patterns from the desired production organisms, sequence information of the β-xylosidase gene should be available. Up to now however, no sequence information on fungal β-xylosidases has been reported.

DESCRIPTION OF THE INVENTION

[10]

A novel β-xylosidase has now been found and its amino acid sequence as well as its encoding nucleotide sequence have been determined. The protein is denoted herein as xylD, whereas the encoding gene is denoted as xlnD. The primary structure of the novel β-xylosidase appears to be different form known β-xylosidase-like enzymes. Also, its activity pattern is different form known β-xylosidase-like enzymes, and its xylosidase activity is about two times higher than that of the β-xylosidase reported by Rodionova et al (supra).

[11]

Accordingly, the invention relates to a nucleotide sequence encoding a peptide having β-xylosidase activity and exhibiting at least 30% amino acid homology with the amino acid sequence shown in SEQ ID NO. 1 and described in SEQ ID NO. 3 or hybridising under stringent conditions with a nucleotide sequence shown in SEQ ID NO. 1, or a part thereof having at least 15, preferably at least 21, more preferably at least 24 or even at least 30 nucleotides encoding an amino acid sequence shown in SEQ ID NO. 1. By amino acid homology is meant here amino acid identity in the primary structure. Amino acid similarity is usually higher than the figures given for identity.

[12]

In this context, heterologous hybridisation conditions are as follows: hybridisation in 6×SSC (20×SSC per 1000 ml: 175.3 g NaCl, 107.1 g sodium citrate.-5H2O, pH 7.0), 0.1% SDS, 0.05% sodium pyrophosphate, 5* Denhardt's solution (100×Denhardt's solution per 500 ml: 10 g Ficoll-400, 10 g polyvinylpyrrolidone, 10 g Bovine Serum Albumin (Pentax Fraction V)) and 20 μg/ml denatured herring sperm DNA at 56° C. for 18-24 hrs followed by two 30 min. washes in 5×SSC, 0.1 % SDS at 56° C. and two 30 min. washes in 2×SSC, 0.1% SDS at 56° C.

[13]

The nucleotide sequence of the invention encodes a peptide having substantial β-xylosidase activity, i.e. it has β-xylosidase activity as its predominant enzymic activity, and thus may be used for the production of β-xylosidases or mutants thereof. The coding sequences may contain mutations (insertions, deletions or both) which serve to modify the structure and/or the activity of the expression product. For an active expression product, the minimum identity and/or the hybridisation characteristic as defined above should preferably be maintained. The nucleotide sequence may also correspond to regulating or signal sequences of β-xylosidases. For these uses, the nucleotide sequence comprises substantially the encoding or regulating sequences of the β-xylosidase. On the other hand, the nucleotide sequence may be used as a primer or probe in detecting β-xylosidase encoding sequences. For these uses, the sequence comprises at least 15, up to e.g. 60, consecutive nucleotides of the sequence of SEQ ID NO. 1.

[14]

The invention also relates to an isolated peptide having β-xylosidase activity and exhibiting at least 30% amino acid homology (identity) with the amino acid sequence shown in SEQ ID NO. 1 and described in SEQ ID NO. 3 or a part thereof, said peptide having no β-glucosidase and/or no β-galactosidase activity; essentially no β-glucosidase or β-galactosidase activity means that these activities are less than 2%, in particular less than 1% of the β-xylosidase activity. A peptide exhibiting at least 40%, preferably at least 60%, most preferably at least 75% amino acid identity with the amino acid sequence shown in SEQ ID NO. 1 and described in SEQ ID NO. 3 forms a preferred embodiment of the invention. Also part of the invention are peptides comprising a series of at least 8 contiguous amino acids of the amino acid sequence shown in SEQ ID NO.1. These can be produced by translating a nucleotide sequence as described above. Preferably the peptide has a contiguous series of at least 10, most preferably at least 12 amino acids from the sequence set forth in SEQ ID NO. 1and described in SEQ ID NO. 3.

[15]

The peptide according to the invention is especially from fungal origin, in particular from filamentous fungi, e.g. strains from the genera Aspergillus (especially A. niger, A.niger var tubigensis, A. niger var awarnori, A. niger var kawachii, A. oryzae, A. sydowii, A. japonicus, A. aculeatus, A. ochraceus, A. terreus, A. fumigatus, A. versicolor, A. flavus, A. phoenicis, A. nidulans, A. foetidus and A. carbonarius), Trichoderma (especially T. reesei, T viride, T. longibrachiatum, T. harzianum, T. kongingii, T. pseudokongii), Penicillium (P. wortrnani, P. pinophilum, P. janthinellum, P. citrinum, P. capsulatum, P. oxalicuni, P. verruculosum, P. chrysogenum), Humicola (H. thermophilium=Scytalidium thermophilium) and Fusariuni (F. oxysporum, F. solani).

[16]

Also, the invention concerns antibodies raised against a peptide as described above e.g. for purifying β-xylosidases and for determining the presence of β-xylosidases. The antibodies can be produced by immunisation with the peptide described above, using hybridoma techniques which are well-known to the skilled person.

[17]

Also claimed are expression vectors and plasmids containing the nucleotide sequences described above under the control of a homologous or heterologous promoter.

[18]

Furthermore, the invention is concerned with the use of these sequences for the production of β-xylosidases by different hosts under the control of its own, or heterologous regulatory sequences, or for the production of other peptides using the β-xylosidase promoter sequence. The expression vectors and host cells may contain multiple copies of the xylD-encoding sequences (altered or not with respect to SEQ ID NO. 1) and of other genes.

[19]

Host organisms may be homologous production strains or alternatively heterologous hosts. Suitable host organisms include fungi, yeasts, bacteria and plants. Examples are Aspergillus species, Trichoderma species, Bacillus species, Kluyveromyces species, Saccharomy,ces species and Fusariuni species. Particularly preferred are A. niger, A. niger var. tubigensis, A. niger var. awamori, A. oryzae, A. japonicus, A. carbonarius, A. aculeatus, T. reesei, T. viride, T. harzianunm, F. oxysporum, B. subtilis, B. licheniformis, K. lactis and S. cerevisiae. The host organism is preferably a food-grade organism.

[20]

Examples of own control regions and heterologous regulatory regions include fungal constitutive and/or inducible promoters such as the pyruvate kinase promoter (pkiA) and the glyceraldehyde-3-phosphate dehydrogenase (gpd) promoters. Examples of strong yeast promoters are alcohol dehydrogenase, 3-phosphoglycerate kinase and triose phosphate isomerase promoters. Examples of bacterial promoters are α-amylase, spo2 and promoters of extracellular protease genes.

[21]

The invention is furthermore concerned with the use of regulatory sequences contained in the 5′-noncoding part of SEQ ID NO.1 (nucleotides 1-854 or a part thereof) for expression of homologous or heterologous genes, e.g. xylanase, amylase, glucanase, oxidoreductases e.g. hexose oxidase, α-glucuronidase, lipase, esterase, ferulic acid esterase, proteases, or human interleukin-6, bovine (pro)chymosin, human lactoferrin, fungal phytase. A signal sequence of xlnD may be used in such constructs, as well as a suitable terminator, e.g. xlnD or trpC.

[22]

Further part of the invention is the use of the nucleotide sequence described above in such a manner as to disrupt the β-xylosidase gene of a host organism. To this end a nucleotide sequence containing a mutation which brings about a defunctionalisation of the β-xylosidase gene is introduced in the host cell. The mutation may be a deletion of one or more nucleotides, an insertion of one or more nucleotides, or a combination thereof.

[23]

The host cell—whether altered so as to produce or overproduce β-xylosidase or so as not to produce its β-xylosidase—may advantageously express or overexpress other relevant proteins, including enzymes, in particular other xylanolytic enzymes such as endoxylanases, and/or other enzymes such as amylases, glucanases, oxidoreductases such as hexose oxidase, α-glucuronidase, lipases, esterases, ferulic acid esterase and/or proteases. The corresponding genes may be under the control of homologous control regions or under the control region of the β-xylosidase gene contained in the nucleotide sequence described above.

[24]

An especially suitable protein to be expressed by the recombinant host cell according to the invention is the activating regulator of the xylanolytic pathway denoted as xylR. The target genes for this regulator comprise the genes xlnA, xlnB, xlnC (all three endoxylanase-encoding genes), xlnD and axeA. Thus, the host cells according to the invention containing the xlnR gene, i.e. capable of expressing xylR or an active equivalent thereof, are effective producers of β-xylosidase—in case they contain the active xlnD gene—or of other xylanolyitc enzymes including endoxylanases, excluding β-xylosidase—in case their xlnD gene has been defunctionalised. The nucleotide sequence of the xlnR gene is set forth in SEQ ID NO.2.

[25]

Also comprised by the invention is the use of the enzyme activity of the peptide in transglycosylation reactions of substrates contained in bread doughs and other bakery products, resulting in improved bread characteristics. This includes the use of the β-xylosidase as a bread improver in a manner known per se for enzymic bread improvers.

[26]

The β-xylosidases encoded by the present sequences can also be advantageously used for the production of xylose and xylose oligomers from wood and plant wastes and spent paper pulp, which xylose and oligomers are suitable as sweeteners. They can also be reduced to xylitol, which is also an effective bulk sweetener.

[27]

The host cells according to the invention, wherein the β-xylosidase gene has been disrupted, can be used e.g. in the production of enzymes and enzyme preparations e.g. to be added to animal feed. Animals, including poultry and pigs, have a poor metabolism for xylose (Schulte, 1991). Xylose which is absorbed over the gut wall occupies the urinary excretion system land thus xylose uptake is energetically dis-advantageous to the animal. Moreover, a high intake of xylose is known to cause cataracts, diarrhoea and anorexia. On the other hand xylose and xylo-oligomers can be fermented to short chain fatty acids, which is an energetic asset. Therefore hemicellulose-degrading enzymes in feed should produce xylo-oligomers and no xylose monomers, and thus the enzymes should have endoxylanase activity and no, or a reduced level of, β-xylosidase activity. Thus the inventions also pertains to the use of host cells, such as fungi, bacteria, yeasts and plants, having a defunctionalised β-xylosidase gene but being capable of effectively producing endoxylanase and optionally other, especially xylanolytic, enzymes, for the production of enzyme preparations free of β-xylosidase. The invention also comprises such xylanolytic enzyme preparations lacking β-xylosidase activity.

[28]

The β-xylosidase encoded by the nucleotide sequence of SEQ ID NO. 1 differs greatly from the β-xylosidase of A. niger reported by Rodionova et al. (1993), as is shown in table A.

[29]

Activity and inhibition of β-xylosidases of the invention
(X-I and X-II), compared to the β-xylosidase according
to Rodionova et al. (1983)
substrateX-IX-IIβ-xyl
activity (U/mg)inventioninvention(Rodionova)
p-nitrophenyl-β-D-xylopyranoside60.260.935.2
p-nitrophenyl-β-D-glucopyranoside0.20.37.9
p-nitrophenyl-β-D-0.00.00.6
galactopyranoside
p-nitrophenyl-α-L-2.83.45.8
arabinofuranoside
  inhibition Ki(mM xylosc)9.813.22.9

[30]

Table A summarises the specificity pattern of two β-xylosidases X-I and X-II of the invention—presumably differing only in their glycosylation pattern, not in their amino acid sequence—and of the β-xylosidase reported by Rodionova et al., and their inhibition by xylose. The amino acid composition of these β-xylosidases is given in table B.

[31]

Amino acid composition of β-xylosidase according to SEQ ID
NO. 1, compared to the β-xylosidase according to Rodionova et al.
mole %
Amino acidnumbermole %(Rodionova)
Ala8611.18.2
Arg273.52.1
Asn + Asp9512.25.6
Cys70.91.1
Gln + Glu749.512.4
Gly638.011.3
His131.71.4
Ile395.04.8
Leu698.98.8
Lys243.12.9
Met60.83.3
Phe243.12.9
Pro395.08.6
Ser536.88.7
Thr587.57.0
Trp152.02.6
Tyr415.33.4
Val455.86.1

EXAMPLE 1

Purification of A. niger β-xylosidase

[32]

Mutant strain A. niger NW147, a depressed derivative of strain NW205::130#2 (cspA1, pyrA6, nicA1, argB13,::pIM130) constructed as described in the copending PCT application filed 96.06.24 (as well as in EP 95201707.7 and EP 95202346.3) was grown in Aspergillus minimal medium (MM) (contains per litre: 6.0 g NaNO3, 1.5 g KH2PO4, 0.5 g MgSO4.7H2O, 0.5 g KCl, Carbon source as indicated, pH 6.0 and 1 ml Vishniac solution (Vishniac, W. and Santer, M., 1957) (contains per litre 10 g EDTA, 4.4 g ZnSO4.7H2O, 1.0 g MnCl2.4H2O, 0.32 g CoCl2.6H2O, 0.32 g CuSO4.5H2O, 0.22 g (NH4)6Mo7O24.4H2O, 1.47 g CaCl2.2H2O, 1.0 g FeSO4.7H2O, pH 4.0) supplemented with 1.5 % crude Wheat arabinoxylan, 10 mM L-arginine, 10 μM nicotinamide. This medium was inoculated with 1*106spores per ml and mycelium was grown for 96 hours at 30° C. and 250 rpm in an orbital New Brunswick shaker. The culture filtrate was collected after filtration of the mycelium on Myracloth (nylon gauze) using a Buchner funnel and mild suction. The pH of the culture filtrate was adjusted to pH 6.0 with 0.1 M NaOH after which the culture filtrate was diluted by the addition of 2 volumes of Millipore water.

[33]

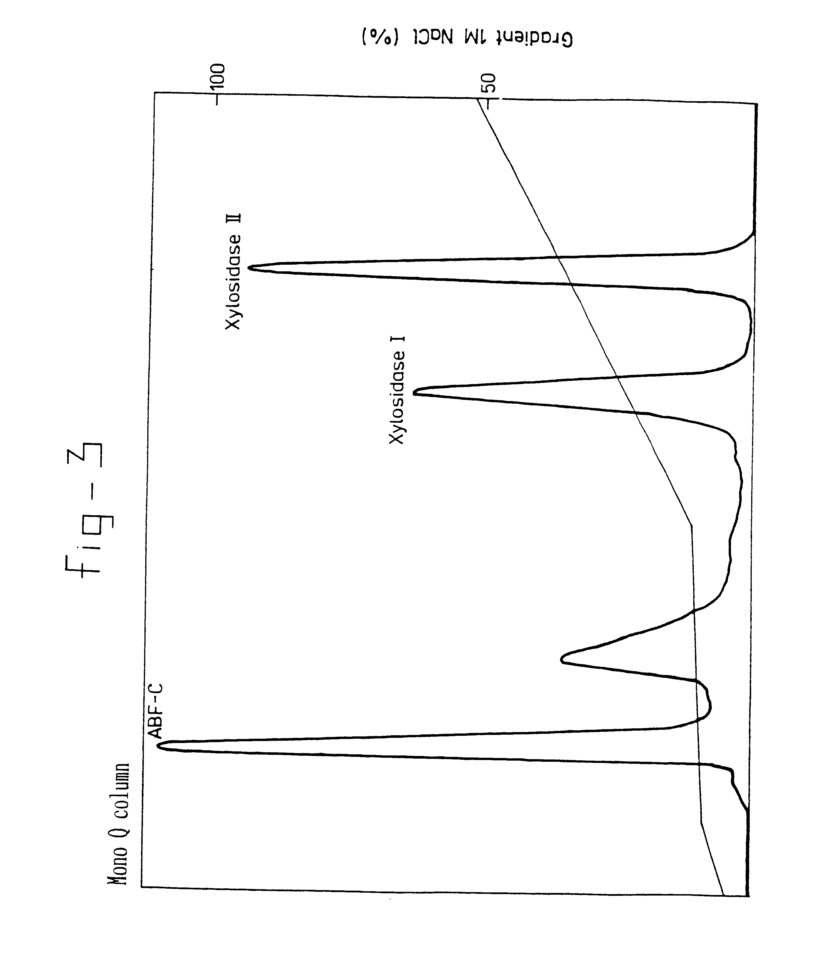
DEAE-Sephadex A-50 was equilibrated in 50 mM sodium acetate buffer pH 5.0 and was added to the culture filtrate. After 30-60 minutes of stirring at 4° C., the DEAE-Sephadex together with the culture filtrate were passed through a funnel with a glass filter holder and the DEAE-Sephadex A-50 was transferred to a column. This column was first eluted with 50 mM sodium acetate buffer pH 5.0, then with 50 mM sodium acetate buffer pH 5.0+0.5 M NaCl. Fractions containing β-xylosidase activity, as was detected using the chromogenic substrate 4-methylumbelliferyl-β-D-xyloside (detects β-xylosidases and endo-xylanases) (Sigma #M7008), were pooled and desalted by dialysis against Millipore water and subsequently dialysed against 20 mM piperazine-HCl buffer pH 5.0. After dialysis the sample was loaded on a DEAE-Sepharose Fast Flow column. This column was first eluted with 3 volumes 20 mM piperazine-HCl buffer pH 5.0 and then with a linear gradient of 0.5 M NaCl in 20 mM piperazine-HCl buffer pH 5.0. Detection of the eluted protein was performed by continuous measurement of the UV absorption at 280 nm (FIG. 1). Fractions of 10 ml were collected which were assayed for activity of β-xylosidase on para-nitro-phenyl-β-D-xylopyranoside (PNP-X) (Sigma #N2132). The β-xylosidase was found in fractions 11-27, which were pooled and subsequently dialysed against 20 mM piperazine-HCl buffer pH 6.0 (FIG. 2). 5 ml of the dialysed sample was applied on a Mono Q HR 5/5 column (Pharmacia). Protein was eluted using 59 ml of a linear gradient of 1 M NaCl in 20 mM piperazine-HCl buffer pH 6.0. Detection of the eluted protein was performed by continuous measurement of the UV absorption at 280 nm (FIG. 3). Two peaks containing β-xylosidase activity were found; β-xylosidase I was eluting at 0.19 M NaCl, while peak II eluted at 0.29 M NaCl. SDS-PAGE of both peak fractions revealed that the fractions corresponding with both peaks each contained a single protein band, both having the same apparent molecular weight of 110 kDa. The specific activity of both β-xylosidase I and II towards the artificial substrate PNP-X was determined as described by Rodionova et al., 1983, to be respectively 60.2 and 60.9 U/mg protein. In addition the activity against PNP-β-D-glucopyranoside (Sigma #N7006) was determined to be 0.2 and 0.3 U/mg, against PNP-β-D-galactopyranoside (Sigma #N1252) 0.0 and 0.0 U/mg and against PNP-β-L-arabinofuranoside (Sigma #N3641) 2.8 and 3.4 U/mg respectively for β-xylosidase I and II.

EXAMPLE 2

Construction of a cDNA Expression Library

[34]

A. niger NW147 was cultivated for 69 and 81 hr on MM containing 2% wheat arabinoxylan after which the mycelium was harvested by filtration and then washed with sterile saline. The mycelium was subsequently frozen in liquid nitrogen after which it was powdered using a Microdismembrator (Braun). Total RNA was isolated from the mycelial powder in accordance with the guanidium thiocyanate/CsCl protocol described in Sambrook et al. (1989), except that the RNA was centrifuged twice using a CsCl gradient. Poly A+ mRNA was isolated from 5 mg of total RNA by oligo(dT)-cellulose chromatography (Aviv and Leder, 1972, Sambrook et al., 1989) with the following modifications: SDS is omitted from all solutions and the loading buffer was supplemented with 9% (v/v) dimethylsulfoxide.

[35]

cDNA was synthesised from 7 μg poly A+ mRNA and ligated into bacteriophage lambda Uni-ZAP XR using the ZAP™-cDNA synthesis kit (Stratagene) according to the manufacturer's instructions. After ligation of the cDNA into Uni-ZAP XR vector-arms, the phage DNA was packaged using Packagene™ extract (Promega) according to the manufacturer's instructions. Ligation of 120 ng cDNA in 1.2 μg vector arms and subsequent packaging of the reaction mixture resulted in a primary library consisting of 3.5*104recombinant phages. This primary library was amplified using E. coli XL1-Blue MRF′ (Stratagene), titrated and stored at 4° C.

EXAMPLE 3

Preparation of Antibodies Against β-xylosidase

[36]

250 μg of both β-xylosidase I and II was dialysed against 1 mM phosphate buffer pH 7.0 and freeze-dried. The protein was resuspended in 100 μl sterile PBS (0.136 M NaCl; 2.7 mM KCl; 8 mM Na2HPO4; 1.75 mM KH2PO4; pH 7.4). To this protein mixture, 100 μl of Freunds' complete adjuvant was added and vortexed for 30 minutes to obtain a stable emulsion. For both proteins this mixture was injected into a mouse subcutaneously. In week 4 a booster was given by injecting 25 μg β-xylosidase in 100 μl sterile PBS to which 100 μl of Freunds' incomplete adjuvant was added. The mice were bled in week 7 and the serum tested. In week 13 the mice was given a second booster of 25 μg followed by a bleeding in week 14. This procedure of boosters with nn interval of 6 weeks followed by a bleeding may be repeated several times.

[37]

The collected blood was incubated for 30 minutes at 37° C. and subsequently stored at 4° C. for 16 hours. After centrifugation at 5000 rpm in a Sorvall High speed centrifuge the serum was collected and stored at −20° C.

EXAMPLE 4

Immunoscreening of the A. niger NW147 cDNA Library with Antibodies Against β-xylosidase II

[38]

To screen the A. niger NW147 cDNA library, constructed as described in Example 2, for β-xylosidase expressing cDNA clones 5*103pfu per plate were plated in NZYCM top-agarose containing 0.7% agarose on 85-mm-diameter NZYCM (1.5% agar) plates as described (Maniatis et al., 1982, pp. 64), using E. coli BB4 (Stratagene) as plating bacteria. Screening of the cDNA expression library obtained was basically performed as described by Young and Davies (1983). In short, 5000 pfu of the amplified stock were plated on NZYCM medium using E. coli BB4 cells as a host in 0.7 % top-agarose. Plates were incubated for 5 hrs at 37° C. after which they were covered with nitrocellulose filters which were previously soaked in 10 mM IPTO and air-dried. Plates were then further incubated for 6 hrs at 37° C. Plates were cooled to 4° C., the position of the filters on the plates was marked before they are removed. The filters were incubated for 15 min in 0.5 M NaCl, 0.05 % Tween. 20 (Biorad), 20 mM Tris/HCl pH 7.5 with gentle shaking, this was repeated once. The bacterial debris was removed by gentle scrubbing with gloved hands. Phages expressing a fusion protein containing a part of the β-xylosidase protein were identified by probing the filters with anti β-xylosidase II antiserum and subsequent detection using an alkaline phosphatase conjugate, according to the procedure described for Western blots in the appropriate Biorad manual. In two experiments 5*103and 5*104pfu of the amplified library were screened for expression of β-xylosidase cDNA; 4 positives were found. Each positive plaque was removed from the plate using a Pasteur pipette and the phages were cluted from the agar plug in 1 ml of SM buffer containing 20 μl chloroform, as described in Maniatis et al. (1982). The phages obtained were purified by repeating the procedure described above using filter replicas from plates containing 50-100 plaques of the isolated phages.

EXAMPLE 5

Analysis of β-xylosidase Expressing cDNA Clones

[39]

The cDNA clones expressing β-xylosidase were converted to Bluescript phagemids using super infection with the filamentous helper phage ExAssist™, which is included in the ZAP™-cDNA synthesis kit from Stratagene, according to the manufacturer's instructions.

[40]

The phagemid DNA was subsequently isolated as described in Sambrook et al. (1989). The isolated DNA of the 4 cDNA clones was subjected to restriction analysis using the restriction enzymes EcoRI and XhoI. The DNA was digested for 2 hours at 37° C. in a reaction mixture composed of the following solutions; 2 μl (≈1 μg) DNA solution; 2 μl of the appropriate 10*React buffer (Life Technologies); 10 U of each restriction enzyme (Life Technologies) and sterile distilled water to give a final volume of 20 μl. After addition of 4 μl DNA loading buffer the samples were loaded on a 0.7% TAE-agarose gel. The DNA fragments were separated by electrophoresis at 80 V for 1.5 hours. The restriction analysis revealed that the cDNA clones had inserts of different sizes of respectively 1.4, 1.5, 2.4 and 2.5 kb. The nucleotide sequences of a part of each of these cDNA's were determined by the dideoxynucleotide chain-termination procedure (Sanger et al., 1977) using the Pharmacia T7 DNA polymerase sequencing kit. The sequences obtained revealed that these cDNA's correspond all four to the same gene.

EXAMPLE 6

Screening of the A. niger Genomic Library for the β-xylosidase Encoding xlnD Gene and Isolation of the Gene

[41]

For the screening of the A. niger N400 genomic library, constructed as described by Harmsen et al., 1990, for the xlnD gene 3×103pfu per plate were plated in NZYCM top-agarose containing 0.7% agarose on five 85-mm-diameter NZYCM (1.5% agar) plates as described (Maniatis et al., 1982) using E. coli LE392 as plating bacteria. After overnight incubation of the plates at 37° C. two replicas of each plate were made on HybondN+ filters (Amersham) as described in Maniatis et al. (1982). After wetting the filters in 3×SSC the filters were washed for 60 min. at room temperature in 3×SSC. Hybridisation using a32P-labelled 2.5 kb EcoRI/XhoI fragment of cDNA clone #4, prepared as described by Sambrook et al., 1989, was done according the following procedure (Sambrook et al., 1989); prehybridisation in 6×SSC (20×SSC per 1000 ml: 175.3 g NaCl, 107.1 g sodium citrate.5.5 H2O, pH 7.0), 0.1% SDS, 0.05% sodium pyrophosphate, 5* Denhardt's solution (100×Denhardt's solution per 500 ml : 10 g Ficoll-400, 10 g polyvinylpyrrolidone, 10 g Bovine Serum Albumin (Pentax Fraction V)) and 20 μg/ml denatured herring sperm DNA at 68° C. for 3-5 hrs and hybridisation in an identical buffer, which contained the denatured radiolabelled probe at 68° C. for 15-18 hrs, followed by two washes in 2×SSC, 0.1 % SDS at 68° C. and two washes in 0.2×SSC, 0.1% SDS at 68° C. The membrane was covered with Saran wrap and autoradiographed overnight at −70° C. using Konica X-ray films and Kodak X-Omatic cassettes with regular intensifying screens.

[42]

This screening resulted in about 50 positive phages, of which ten were purified. Each positive plaque was picked from the plate using a Pasteur pipette and the phages were eluted from the agar plug in 1 ml of SM buffer containing 20 μl chloroform, as described in Maniatis et al. (1982). The phages obtained were purified by repeating the procedure described above using filter replicas from plates containing 50-100 plaques of the isolated phages.

[43]

After purification the phages were propagated by plating 5×103phages on NZYCM medium. After overnight incubation at 37° C. confluent plates were obtained, from which the phages were eluted by adding 5 ml SM buffer and storing the plate for 2 h. at 4° C. with intermittent shaking. After collection of the supernatant using a pipette, the bacteria were removed from the solution by centrifugation at 4,000×g for 10 min. at 4° C. To the supernatant 0.3% chloroform was added and the number of pfu was determined. These phage stocks contain approximately 109pfu/ml.

[44]

DNA of four selected phages G15-G18, isolated as described in Sambrook et al 1989. was analyzed by Southern analysis. The DNA was digested for 5 h. at 37° C. in a reaction mixture composed of the following solutions; 5 μl (≈1 μg) DNA solution; 2 μl of the appropriate 10×React buffer (Life Technologies); 10 U Restriction enzyme (Life Technologies) and sterile distilled water to give a final volume of 20 μl. The samples were incubated for 10 min. at 65° C. and rapidly cooled on ice, before loading on a 0.6% agarose gel in 1*TAE buffer. The DNA fragments were separated by electrophoresis at 25 V for 15-18 h.

[45]

After electrophoresis the DNA was transferred and denatured by alkaline vacuum blotting (VacuGene XL, Pharmacia LKB) to nylon membrane (Hybond N, Amserham) as described in the VacuGene XL instruction manual (pp. 25-26) and subsequently prehybridised and hybridized using the labelled 2.5 kb EcoRI/XhoI fragment of cDNA clone#4 and hybridisation conditions as described. The hybridisation pattern was obtained by exposure of Kodak XAR-5 X-ray film for 18 h. at −70° C. using an intensifying screen. In all four clones fragments originating from the same genomic region were found for which a restriction map was constructed (FIG. 4).

[46]

Based on the restriction map a 3.6 kb PstI fragment was selected for subcloning. 100 ng pEMBL19 PstI digested fragment was mixed with 250 ng 3.8 kb PstI fragment and 4 μl 5*ligation buffer (composition; 500 mM Tris-HCl, pH 7.6; 100 mM MgCl2; 10 mM ATP; 10 mM dithiothreitol; 25% PEG-6000) and 1 μl (1.2 U/μl) T4DNA ligase (Life Technologies) was added to this mixture in a final volume of 20 μl. After incubation for 16 h at 14° C. the mixture was diluted to 100 μl with sterile water. 10 μl of the diluted mixture was used to transform E. coli DH5α competent cells, prepared as described by Sambrook et al., 1989. Six of the resulting colonies were grown overnight in LB medium (LB medium per 1000 ml: 10 g trypticase peptone (BBL), 5 g yeast extract (BBL), 10 g NaCl, 0.5 mM Tris-HCl pH 7.5) containing 100 μg/ml ampicillin. From the cultures, plasmid DNA was isolated by the alkaline lysis method as described by Maniatis et al. (1982), which was used in restriction analysis to select a clone harbouring the desired plasmid pIM200. The strain containing the plasmid pIM200 was deposited at the Centraal Bureau voor Schimmelcultures, Baarn, NL, under access number CBS 677.96. Plasmid DNA was isolated on a large scale from 500 ml cultures E. coli DH5α containing pIM200 grown in LB medium containing 100 μg/ml ampicillin (Maniatis et al., 1982). The plasmid was purified by CsCl centrifugation, ethanol precipitated and dissolved in 400 μl TE. The yield was approximately 500 μg. This plasmid was used to construct a detailed restriction map (FIG. 5).

EXAMPLE 7

Transformation of A. niger using the Plasmid pIM200

[47]

250 ml of culture medium, which consists of MM supplemented with 2% glucose, 0.5% yeast extract, 0.2% casamino acids (Vitamin free), 2 mM leucine, 10 μM nicotinamide, 10 mM uridine, was inoculated with 1*106spores per ml of strain NW155 (cspA1, argB13, pyrA6, nicA1, leuA1, prtF28) (derived from NW228, Van den Hombergh et al, 1995) and mycelium was grown for 16-18 hours at 30° C. and 250 rpm in a orbital New Brunswick shaker. The mycelium was harvested on Myracloth (nylon gauze) using a Büchner funnel and mild suction and was washed several times with SP6 (SP6: 0.8% NaCl, 10 mM Na-phosphate buffer pH 6.0). 150 mg Novozyme 234 was dissolved in 20 ml SMC (SMC: 1.33 M sorbitol, 50 mM CaCl2, 20 mM MES buffer, pH 5.8) to which 1 g (wet weight) mycelium was added and which was carefully re-suspended. This suspension was incubated with gentle shaking for 1-2 hours at 30° C., every 30 minutes the mycelium was carefully resuspended and a sample was taken to monitor protoplast formation using a haemocytometer to count the protoplasts. When sufficient protoplasts were present (more then 1*108) these were carefully resuspended and the mycelial debris was removed by filtration over a sterile glasswool plug. The protoplasts were collected by 10 minutes centrifugation at 3000 rpm and 4° C. in a bench centrifuge, the supernatant was removed and the pellet was carefully resuspended in 5 ml STC (STC: 1.33 M Sorbitol, 50 mM CaCl2, 10 mM Tris/HCl, pH 7.5). This wash step was repeated twice and the protoplasts were finally resuspended in STC at a density of 1*108per ml.

[48]

The transformation was performed by adding 20 μg of pIM200 DNA and 5 μg pGW635, containing the A. niger pyrA gene (dissolved in a 10-20 μl TE), to 200 μL of protoplast suspension together with 50 μl of PEG buffer (PEG Buffer: 25% PEG-6000, 50 mM CaCl2, 10 mM Tris/HCl pH 7.2), mixed gently by pipetting up and down a few times, and incubated at room temperature for 20 minutes. After this period 2 ml PEG buffer was added, the solution was mixed gently and incubated at room temperature for another 5 minutes and subsequently 4 ml of STC was added and mixed gently on a vortex mixer. One ml portions of this suspension were then added to 4 ml of 0.95 M sucrose osmotically stabilised top agar and poured on osmotically stabilised plates. As a control A. niger was also transformed using pGW635.

EXAMPLE 8

Analysis of Transformants

[49]

The transformants from pIM200 obtained in Example 7 were analyzed phenotypically by plating on MM containing 1% oat spelt xylan and 1 mM 4-methylumbelliferyl-β-D-xyloside. Of the 26 transformants tested, five had an increased fluorescence. These transformants, together with a PYR+ transformant as a reference, were grown on MM containing 1% oat spelt xylan for 20, 27 and 42 hrs, after which the β-xylosidase activity towards PNP-X was measured. The results are summarised in Table C.

[50]

An increased level of β-xylosidase activity was found in all five transformants selected, the highest level being more then 30 times the wild-type activity. These results were confirmed by Western blot analysis, using the anti β-xylosidase antibody, prepared as described in Example 3, and the Bio-Rad Immun-blot GAR-AP assay kit following the suppliers instructions.

[51]

β-xylosidase activities in A. niger transformants
activity (mU/ml culture filtrate) after:
20 hr27 hr42 hr
pGW 63515 1617
XlsA182 8651
XlsA49011278
XlsA8211 239384 
XlsA96311074
XlsA1296295527 

EXAMPLE 9

The Primary Structure of the xlnD Gene

9.1: Sequence Analysis of the A. niger xlnD Gene

[52]

The sequence of the A. niger xlnD gene, its promoter/regulation region, the structural part of the gene and the termination region, was determined by subcloning fragments in pEMBL18/19, in combination with the use of specific oligonucleotides as primers in the sequencing reactions.

[53]

For nucleotide sequence analysis, restriction fragments were isolated which were then cloned in pEMBL18/19 DNA vectors and digested with the appropriate restriction enzymes. The nucleotide sequences were determined by the dideoxynucleotide chain-termination procedure (Sanger et al., 1977) using the Pharmacia T7 DNA polymerase sequencing kit. Computer analysis was done using the PC/GENE program (Intelligenetics). The sequence determined is given in SEQ ID NO:1.

9.2: Description of the xlnD Gene

[54]

The sequence comprising the xlnD structural gene (SEQ ID NO:1) is preceded by a 854 nucleotide long upstream region. A putative TATA box is found at position 787-794. The structural part of the xlnD gene ranges from position 855 till position 3266 and contains no introns, as was certified by sequencing both the cDNA fragment as well as the genomic fragment in pIM200.

[55]

The xlnD gene encodes a protein of 804 amino acids. The N-terminal amino acid sequence is preceded by a 26 amino acids long hydrophobic sequence, which presumably corresponds to the signal sequence. The mature β-xylosidase protein is 778 amino acids in length, and has a deduced molecular weight of 84,727 Da.

EXAMPLE 10

Screening of the A. tubigensis Genomic Library for the β-xylosidase Encoding xlyD Gene

[56]

For the screening of the A. tubigensis genomic library, constructed as described by De Graaff et al., 1994, for the A. tubigensis counterpart, 3×103pfu per plate were plated in NZYCM top-agarose containing 0.7% agarose on five 85 mm diameter NZYCM (1.5% agar) plates as described in Example 6. Hybridisation using a32P-labelled 3.6 kb PstI fragment of pIM200 prepared as described by Sambrook et al., 1989, was done according the following procedure (Sambrook et al., 1989); prehybridisation in 6×SSC, 0.1% SDS, 0.05% sodium pyrophosphate, 5*Denhardt's solution (see Example 6) and 20 μg/ml denatured herring sperm DNA at 65° C. for 3-5 hrs and hybridisation in an identical buffer which contained the denatured radiolabelled probe at 65° C. for 15-18 hrs, followed by two washes in 5×SSC, 0.1% SDS at 65° C. and two washes in 0.2×SSC, 1% SDS at 65° C. The membrane was covered with Saran wrap and autoradiographed overnight at −70° C. using Konica X-ray films and Kodak X-Omatic cassettes with regular intensifying screens.

[57]

This screening resulted in about 10 positive phages which were all purified. Each positive plaque was picked from the plate using a Pasteur pipette and the phages were eluted from the agar plug in 1 ml of SM buffer containing 20 μl chloroform, as described in Maniatis et al. (1982). The phages obtained were purified by repeating the procedure described above using filter replicas from plates containing 50-100 plaques of the isolated phages.

[58]

After purification the phages were propagated by plating 5×103phages on NZYCM medium. After overnight incubation at 37° C. confluent plates were obtained, from which the phages were eluted by adding 5 ml SM buffer and storing the plate for 2 h. at 4° C. with intermittent shaking. After collection of the supematant using a pipette, the bacteria were removed from the solution by centrifugation at 4,000 ×g for 10 min. at 4° C. To the supernatant 0.3% chloroform was added and the number of pfu is determined. These phage stocks contain approximately 109pfu/ml.

EXAMPLE 11

Disruption of the A. niger xlnD Gene

11.1: Construction of the Disruption Plasmids pIM203 and pIM204

[59]

The gene disruption plasmids pIM203 and pIM204 were constructed by generating an internal fragment of the xlnD gene by PCR. The fragment was generated using the oligonucleotides derived from the xlnD sequence (SEQ ID NO: 1). Xylos001 was derived from positions 1157 till 1176 and xylos004 was derived from positions 3147 till 3164. The fragment was generated by PCR containing 10 μl 10*reaction buffer (100 mM Tris-HCl, pH 8.3, 500 mM KCl, 15 mM MgCl2, 0.01% gelatine), 16 μl 1.25 mM of each of the four deoxynucleotide triphosphates, 1 ng of the plasmid pIM200 DNA and 1 μg of each of the oligonucleotides in a final volume of 100 μl. This reaction mixture was mixed and 1 μl TAQ polymerase (5 U/μl) (Life Technologies) was added. The DNA was denatured by incubation for 3 min at 92° C. followed by 25 cycli of 1 min 92° C., 1,5 min 52° C. and 1,5 min 72° C. After these 25 cycli the mixture was incubated for 5 min at 72° C. Analysis of the reaction products by agarose electrophoresis revealed a fragment of about 2000 bp, which corresponds to the size expected, based on the sequence of the gene. The resulting fragment was subcloned in the vector pGEM-T (Promega) resulting in the plasmid pIM202. Plasmid pIM203 was constructed by ligation of a SmaI/PstI fragment of pILJ16 (Johnstone et al., 1985), containing the A. nidulans argB gene (Upshall et al., 1986), in the EcoRV/PstI digested pIM202 vector. Plasmid pIM204 was constructed by ligation of the NsiI/XbaI fragment of pIM130 UP 95202346.3), containing the pyrA gene under the control of the UAS of the xlnA promoter of A. tubigensis, in the SpeI/NsiI digested pIM202 vector.

11.2: Disruption of the xlnD Gene in A. niger

[60]

The plasmids containing the xlnD internal fragment as well as the argB gene (pIM203) or the pyrA gene (pIM204), as described in Example 11.1, as a selection marker in transformation, were used to disrupt the A. niger xlnD gene. For this A. niger N902 (argB15, cspA1, fwnA1, metB10, pyrA5) was transformed, as described in Example 7, using the plasmids pIM203 and pIM204 selecting for arginine or uridine prototrophy respectively. The resulting transformants were screened for activity on methylumbelliferyl-β-D-xyloside on a 1% xylan plate as described in Example 8. For both groups of transformants twenty were screened. Of these transformants one of each group had a severe decreased level of MUX activity after 24 h of growth. Southern analysis of the selected transformants demonstrated for the pIM203 transformant a multicopy integration at the homologous xlnD locus. In case of the pIM204 transformant a single homologous integration at the xlnD locus had occurred. Analysis for PNP-X activity, as described in Example 8, of these transformants revealed an at least 100-fold decrease in β-xylosidase activity.

11.3: Effect of Overexpression and Inactivation of xlnD Gene on the Expression of Xylanolytic System of A. niger

[61]

To determine the effect of xlnD expression on the expression of the xylanolytic spectrum, A. niger N902, two xlnD multicopy-transformants in N902 and the xlnD gene disruption strains were grown in liquid culture. This was done in a transfer experiment into 2% oat spelt xylan or 3% D-xylose as a carbon source, after a preculture in 1% fructose for 18 h. Beta-xylosidase activity was determined as PNP-X activity in the culture filtrate. With both C sources a clear overexpression could be seen for the pIM200 transformants against an almost absense of PNP-X activity for both (pIM203 and pIM204) inactivation transformants. The xlnD gene disruption transformants showed an initial decreased level of endo-xylanase expression, which however increased in time finally after 16 hrs resulting in increased activity levels in comparison to the A. niger wild-type, thus resulting in xylanase preparations free of β-xylosidase.

[62]

The culture filtrates were subsequently analyzed by HPLC analysis, using a Dionex system and Pulsed Amperometric Detection. For this 1 ml of culture filtrate was boiled immediately after harvesting, to inactivate the xylanolytic enzymes, after which the sample was centrifuged for 10 min. (14.000 rpm at 4° C., Eppendorf centrifuge). The resulting supematant was diluted 5-fold in bidest and 20 μl was analyzed by HPLC using a Dionex CarboPac 100 column. The analysis indicated that, while in the wild-type and in the over-expression transformants only in the initial stage xylose oligomers could be detected in the culture filtrate, in the disruption mutant xylobiose and to a lesser extend xylotriose accumulated in the culture filtrate, thus resulting in a source for xylooligomers, in particular xylobiose and xylotriose.

EXAMPLE 12

Expression of the A. niger xlnD Gene in A. nidulans

[63]

The plasmid pIM200 was introduced into A. nidulans by cotransformation of A. nidulans G191 (Balance and Turner, 1985) using the A. niger pyrA gene, located on the plasmid pGW635 as a selective marker and the plasmid pIM200 as the cotransforming plasmid. Protoplasts were prepared as described in Example 7 and the transformation procedure was performed using 1.2 M Sorbitol for osmotic stabilisation, 1 μg pGW635 and 25 μg pIM200. The PYR+ obtained were then screened for xylD expression using the plate assay described in Example 8.

[64]

From this screening, five transformants were selected to determine β-xylosidase activity. The A. nidulans wild-type strain and the selected transformants cultivated for 26 h at 37° C. on minimal medium containing either 2% Birchwood xylan (Roth) or 3% D-xylose as an inducing carbon source. After removal of the mycelium, the β-xylosidase activity towards PNP-X in the culture filtrate was determined. The results are summarised in table D. The results show that xylD can be expressed in A. nidulans by using the native expression signals.

[65]

WG096 (Wt) 16 0
G191::200-572548
G191::200-7 9611
G191::200-924940
G191::200-1352033
G191::200-151525 210 

EXAMPLE 13

Screening Filamentous Fungi for the xlnD Gene

[66]

To analyse whether it is possible to isolate the xlnD counterpart from other fungi by heterologous hybridisation, using the 2.5 kb PstI/NsiI fragment of the xlnD gene as a probe, DNA was isolated from the following strains; A. niger N902 (argB15, cspA1, fwnA1, metB10, pyrA5), A. tubigensis NW184 (cspA1, fwnA1, pyrA22), A. nidulans WG096 pabaA1, yA2) of FGSC 187, A. acrileatus NW240 (pyrA3) of CBS 101.43, A. aculeatus NW217 (fwnA1, cspA1, pyrA4, lysA1) of CBS 115.80, A. foetidus (awamori) NW183 (cspA1, fwnA1, pyrA13, lysA1) of CBS 115.52 and Trichoderma reesei QM9414. 1-2 μg DNA was digested with BamHI or with XhoI and subsequently analyzed by Southern analysis. The hybridisation conditions used were; hybridisation in 6×SSC (20×SSC per 1000 ml: 175.3 g NaCl, 107.1 g sodium citrate.5H2O, pH 7.0), 0.1% SDS, 0.05% sodium pyrophosphate, 5*Denhardt's solution (see Example 6) and 20 μg/ml denatured herring sperm DNA at 56° C. for 18-24 hrs followed by two 30 min. washes in 5×SSC, 0.1% SDS at 56° C. and two 30 min. washes in 2×SSC, 0.1% SSC at 56° C. After hybridisation the membrane was covered with Saran wrap and autoradiographed overnight at −70° C. using Konica X-ray films and Kodak X-Omatic cassettes with regular intensifying screens.

[67]

As a result hybridising fragments were found for all fungi analysed, very strong hybridisation signals were found in A. niger, A. tubigensis, A. aculeatus, A. japonicus, and A. foetidus, while strong hybridisation signals were found in A. nidulans and Trichoderma reesei.

EXAMPLE 14

Effect of xlnR Gene Dosage on the Expression of the A. niger Xylanolytic System

[68]

The strain N902::200-18, harbouring multiple copies (about 6) of the A. niger xlnD gene encoding β-xylosidase, was transformed to arginine prototrophy in a co-transformation experiment, as described in Example 11 using 19 μg of the xlnR harbouring plasmid pIM230 and 2μg of the plasmid pIM650 harbouring the A. nidulans argB gene (Johnstone et al., 1985). The transformants obtained were screened for increased endo-xylanase expression, on MM plates containing 1% oat spelt xylan. Four colonies, having the fastest and largest halo formation, were selected to determine xlnR copy numbers. For this DNA of these transformants and the recipient strain, was isolated and serial dilutions were spotted onto Hybond N membrane. The copy number was estimated from the signals found after hybridisation, using a radiolabelled 4.5 kb SmaI/XbaI fragment spanning the coding sequence of the xlnR gene. Based on comparison to the recipient strain the xlnR copy number was determined to be 8 in N902::200-18-R14 and 32 in N902::200-18-R16. For both these transformants the effect of the increased gene dosage of xlnR was analysed by Northern analysis after strains were grown in liquid culture. This was done in a transfer experiment into 2% oat spelt xylan as a carbon source, after a preculture in 1% fructose for 18 h. Mycelial samples were taken 8 and 24 hrs after transfer, from which total RNA was isolated using TriZol (Life technologies) according to the manufacturers instructions and analysed by Northern blot analysis (Sambrook et al., 1989). Xylanase B expression levels were strongly increased in these transformants in comparison to the recipient strain, as detected after hybridisation using the radiolabelled 1 kb EcoRI/XhoI fragment of A. niger xlnB (Kinoshita et al., 1995).

REFERENCES

[69]

Aviv, H. and Leder, P. (1972) Proc. Natl. Acad. Sci. USA 11: 1408-1412.

[70]

Balance D. J. and Turner G. C. (1985) Gene 36: 321-331.

[71]

Dekker, R. F. H. (1983) Biotechnol. Bioeng. 3, 1127-1146.

[72]

Flipphi, M. J. A., Visser, J., van der Veen, P. and De Graaff, L. H. (1994) Microbiology 140: 2673-2682.

[73]

Garcia-Campayo and Wood (1993) Carbohydrate Res. 242, 229-245.

[74]

De Graaff L. H., Van den Broeck, H. C., Van Ooijen A. J. J. and Visser, J. (1994) Mol. Microbiol. 12: 479-490.

[75]

Harrsen, J. A. M., Kusters-van Someren, M. A., Visser, J. (1990) Curr. Genet. 18: 161-166.

[76]

Hombergh van den, J. P. T. W., van de Vondervoort, P. J. I., van der Heijden, N. C. B. A., and Visser, J. (1995) Curr. Genet. 28:299-308.

[77]

Johnstone, I. L., Hughes, S. G., Clutterbuck A. J. (1985) EMBO J. 4: 1307-1311.

[78]

Kinoshita K., Takano, M., Koseki, T., Ito. and Iwano, K. (1995). J. of Ferment. and Bioeng.:79, no 5, 422-428.

[79]

Kormelink, F., Searle-Van Leeuwen, M. J. F., Wood, T. M. and Voragen, A. G. J. (1993) J. Biotechnol. 27, 249-265.

[80]

Maniatis, T., Fritsch, E. F. and Sambrook, J. (1982) Molecular Cloning: A Laboratory Manual. Cold Spring Habor, N.Y.: Cold Spring Habor Laboratory Press.

[81]

Poutanen and Puls Appl. Microbiol. and Biotechnol. (1988) 28, 425-432.

[82]

Rodionova, N. A., Tavobilov, I. M. and Bezborodov, A. M. J. Appl. Biochem. 5, 300-312 (1983)

[83]

Sambrook, J., Fritsch, E. F. and Maniatis T. (1989) Molecular Cloning: A Laboratory Manual. 2nd edn. Cold Spring Habor, N.Y.: Cold Spring Habor Laboratory Press.

[84]

Sanger, F., Nickelsen, S. and Coulson A. R. (1977) Proc. Natl. Acad. Sci. USA 74: 5463-5467.

[85]

Schutte, J. B. (1991), Nutritional value and physiological effects of D-xylose and L-arabinose in poultry and pigs. Datapress & Datavisions, Wageningen, 173 pp.

[86]

Upshall, A., Gilbert, T., Saari G., O'Hara, P. J., Weglenski, P., Berse, B., Miller, K. and Timberlake, W. E. (1986) Mol. Gen. Genet. 204: 349-354.

[87]

Utt, E. A., Eddy, C. K., HEshav, K. F. and Ingram, L. O. (1991) Appl. Environm. Microbiol. 1227-1234.

[88]

Vishniac, W. and Santer, M. (1957) Bacteriol. Rev. 21: 195-213.

[89]

Whittington, H., Kerry-Williams, S., Bidgood, K., Dodsworth, N., Peberdy., J., Dobson, M., Hinchcliffe, E., and Ballance, D. J. (1990). Curr. genet. 18: 531-536.

[90]

Young, R. A. and Davies, R. W. (1983) Science 222: 778.

[91]

Как компенсировать расходы
на инновационную разработку
Похожие патенты