There is provided a scanning line interpolation device which is capable of providing an interpolated image with increased reproducibility of vertical high-frequency components in a still picture part. Preceding-field image data is stored in a field memory, and thereafter reference pixels which are located in an interpolation pixel position and its surrounding positions and required for interpolation are extracted from the preceding-field image data stored in the field memory and current-field image data. An inter-field motion judgement portion detects whether or not there is a motion of an image between preceding and current fields based on the extracted reference pixels. If the inter-field motion judgement portion detects that there is a motion, a selection circuit selects in-field interpolation data calculated in an in-field interpolation value calculation circuit from the current-field image data among the reference pixels. If the inter-field judgement portion detects that there is no motion, the selection circuit selects the preceding-field image data located in the interpolation pixel position among the reference pixels. Then, the selection circuit outputs the selected data as interpolation pixel image data.
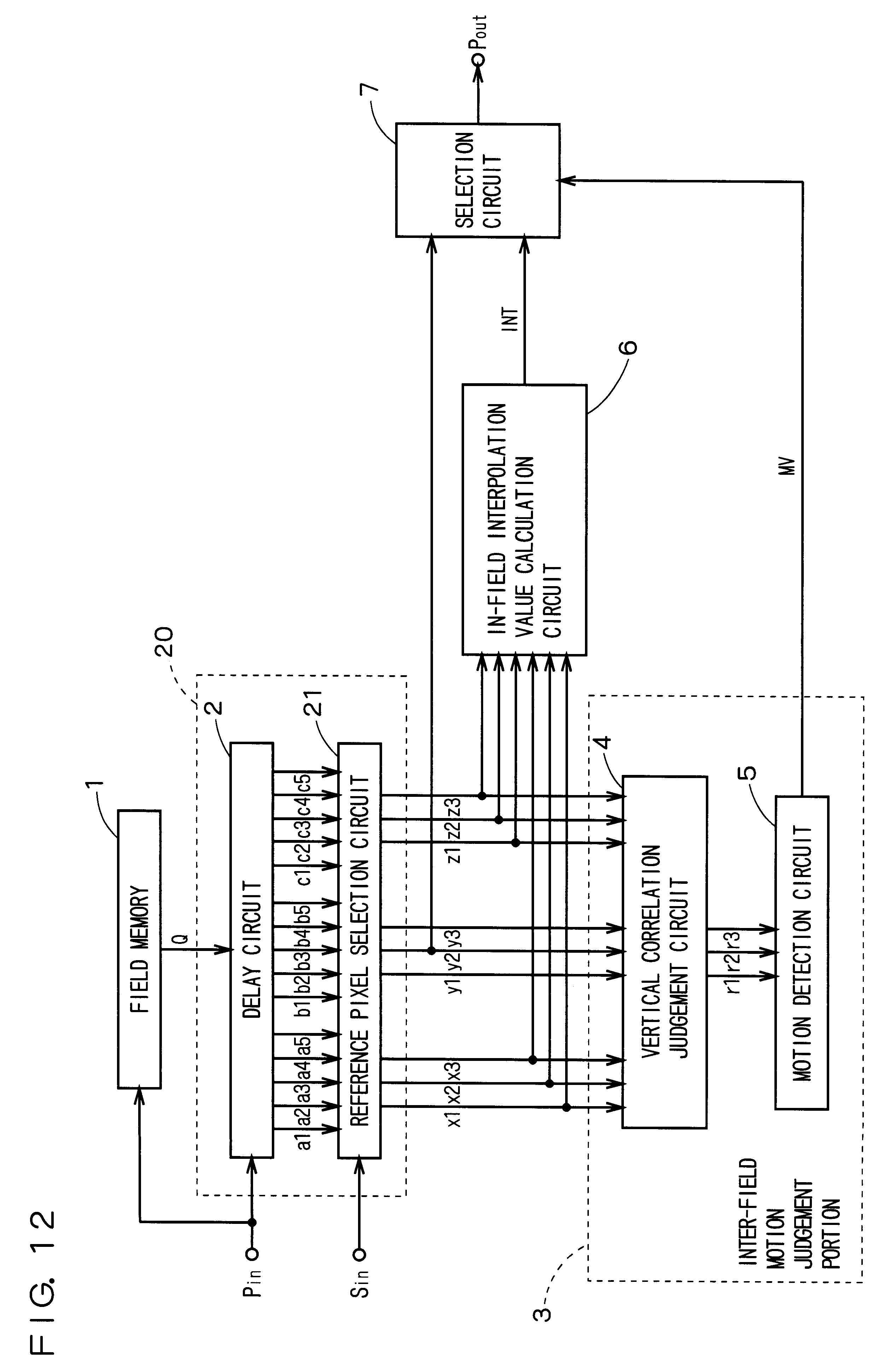
1. A scanning line interpolation device for converting an interlace signal into a non-interlace signal, comprising: storage means for storing preceding-field image data; reference pixel data extraction means for extracting a plurality of reference pixel data from current-field image data and said preceding-field image data provided from said storage means, said plurality of reference pixel data including pixel data located in an interpolation pixel position which is not present in said current-field image data and in positions surrounding said interpolation pixel position; inter-field motion detection means for detecting whether or not there is motion of an image between a preceding field and a current field, based on said plurality of reference pixel data; in-field interpolation data calculation means for calculating in-field interpolation data associated with said interpolation pixel position based on pixel data in said current field among said plurality of reference pixel data; and interpolation pixel selection means operative to select said in-field interpolation data when said inter-field motion detection means detects that there is motion, and to select pixel data in said preceding-field image data which is located in said interpolation pixel position when said inter-field motion detection means detects that there is no motion, thereby to output the selected data as interpolation pixel data of a pixel located in said interpolation pixel position, wherein said plurality of reference data comprise central line pixel data which are pixel data derived from said preceding-field image data and positioned on a central line on which said interpolation pixel position is present, and upper and lower line pixel data derived from said current-field image data and positioned on upper and lower lines lying above and below said central line, and wherein said inter-field motion detection means comprises: vertical correlation data calculation means for calculating vertical correlation data indicative of a vertical line correlation which is a pixel data correlation between said upper line pixel data, said central line pixel data and said lower line pixel data; and motion detection means for detecting whether or not there is motion of the image based on said vertical correlation data. 2. The scanning line interpolation device according to claim 1, wherein said vertical correlation data calculation means calculates said vertical correlation data depending on whether or not the values of three reference pixel data arranged vertically and included respectively in said upper line data, said central line data, and said lower line data among said plurality of reference pixel data are ranked in the following order of magnitude: said upper line data, said central line data and said lower line data; or said lower line data, said central line data and said upper line data. 3. The scanning line interpolation device according to claim 1, wherein said motion detection means detects that there is no motion of the image when said vertical correction data indicates that the vertical line correlation holds, and otherwise detects that there is motion of the image. 4. The scanning line interpolation device according to claim 1, wherein said inter-field motion detection means comprises: binarization means for weighting each of said plurality of reference pixel data to binarize each of said plurality of reference pixel data using an average value of the plurality of weighted reference pixel data as a threshold value; and motion detection means for comparing the plurality of binarized reference pixel data with a predetermined binary data pattern to detect motion of the image based on a result of the comparison. 5. The scanning line interpolation device according to claim 4, wherein said binarization means assigns a greater weight to said preceding-field pixel data than to said current-field pixel data among said plurality of reference pixel data. 6. The scanning line interpolation device according to claim 1, wherein said plurality of reference pixel data includes a first number of reference pixel data, and wherein said reference pixel data extraction means comprises: reference pixel data preliminary extraction means for preliminarily extracting a second number of reference pixel data from said current-field image data and said preceding-field image data provided from said storage means, said second number being greater than said first number of the pixel data located in said interpolation pixel position and in said positions surrounding said interpolation pixel position; and reference pixel data selection means for selecting said first number of reference pixel data to be actually extracted from said second number of reference pixel data. 7. The scanning line interpolation device according to claim 6, wherein said reference pixel data selection means receives an external selection signal to select said first number of reference pixel data based on said selection signal. 8. A scanning line interpolation device for converting an interlace signal into a non-interlace signal, comprising: a field memory storing preceding-field image data; an inter-field motion judgement portion detecting whether or not there is image motion between a preceding field and a current field based on reference pixel data, said reference pixel data including pixel data for an interpolation pixel position which is not present in said current-field image data and pixel data for pixel positions surrounding said interpolation pixel position; an in-field interpolation value calculation circuit calculating in-field interpolation data associated with said interpolation pixel position based on pixel data in said current field among said reference pixel data; and a selection circuit selecting said in-field interpolation data when said inter-field motion judgement portion detects image motion, and selecting pixel data in said preceding-field image data corresponding to said interpolation pixel position when said inter-field motion judgement portion detects that there is no image motion, said selection circuit outputting the selected data as interpolation pixel data for a pixel located in said interpolation pixel position, wherein said reference pixel data includes central line pixel data derived from said preceding-field image data and corresponding to pixel positions on a central line on which said interpolation pixel position is located, and upper and lower line pixel data derived from said current-field image data and corresponding to pixel positions on upper and lower lines, respectively above and below said central line; and said inter-field motion judgement portion comprises: a vertical correlation judgement circuit calculating vertical correlation data indicative of pixel data correlation between said upper line pixel data, said central line pixel data, and said lower line pixel data; and a motion detection circuit detecting whether or not there is image motion based on said vertical correlation data. 9. The scanning line interpolation device according to claim 8, wherein said vertical correlation judgement circuit calculates said vertical correlation data by determining whether or not three reference pixel data values, A, B, and C, arranged vertically and included respectively in said upper line data, said central line data, and said lower line data satisfy: A≧B≧C or C≧B≧A. 10. The scanning line interpolation device according to claim 8, wherein said motion detection circuit determines that there is no image motion when said vertical correlation data indicates that vertical line correlation exists, and determines that there is image motion otherwise. 11. The scanning line interpolation device according to claim 8, wherein said inter-field motion judgement portion comprises: a binarization circuit binarizing said reference pixel data using an average value of weighted reference pixel data as a threshold value. 12. The scanning line interpolation device according to claim 11, wherein said inter-field motion judgement portion further comprises: a still picture pattern judgement circuit comparing binarized reference pixel data with a predetermined binary data pattern to detect image motion based on a comparison result. 13. The scanning line interpolation device according to claim 11, wherein said binarization circuit utilizes a threshold value based on a greater weight for preceding-field pixel data relative to a weight for current-field pixel data. 14. The scanning line interpolation device according to claim 8, wherein said reference pixel data includes a first number of reference pixel data values, and said scanning line interpolation device further comprises: a reference pixel extraction portion extracting said reference pixel data and comprising: a delay circuit preliminarily extracting a second number of reference pixel data values from said current-field image data and said preceding-field image data stored by said field memory, said second number being greater than said first number; and a reference pixel selection circuit selecting said first number of reference pixel data values from said second number of reference pixel data values. 15. The scanning line interpolation device according to claim 14, wherein said reference pixel selection circuit receives an external selection signal and selects said first number of reference pixel data values based on said selection signal.
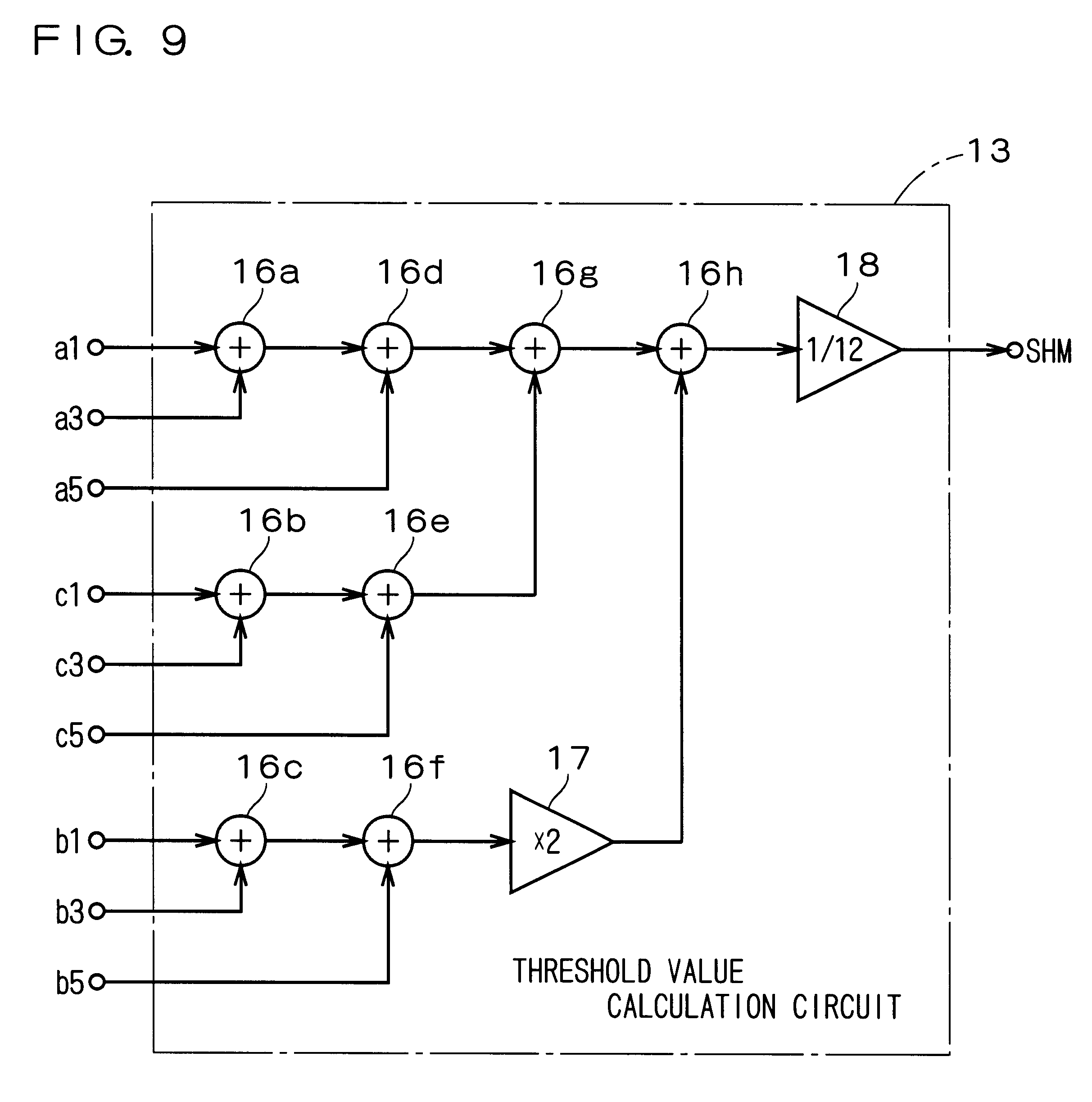
1. Field of the Invention The present invention relates to a scanning line interpolation device. More particularly, the invention relates to a scanning line interpolation device for converting an interlace signal into a non-interlace signal in image signal processing in a non-interlaced scanning CRT, a video printer, a matrix-type display device such as a plasma display, a liquid crystal display, an LED display, a field emission display, and a digital micromirror device, and the like. 2. Description of the Background Art The operation of the device shown in For the interpolation of an uppermost or lowermost scanning line, the reference pixels in a single reference line are directly used for the interpolation or the reference pixels in the reference line which should be present on opposite side from the single reference line are set to “0”. The interpolation table illustrated in The conventional scanning line interpolation device constructed as above described always performs a function as a vertical low pass filter upon the input image, thus deteriorating high-frequency components and providing only an interpolation image with fuzzy horizontal edges. Additionally, as a result of the interpolation of a comer part at which horizontal and vertical edges intersect, the comer part is rounded off since the slant interpolation is selected in accordance with the interpolation table. In particular, the interpolation performed on image data with sharp edges such as the image data of characters and graphics results in conspicuous edge fuzziness and significantly reduced interpolation image qualities. For example, image data “T” (ID1) as shown in A first aspect of the present invention is intended for a scanning line interpolation device for converting an interlace signal into a non-interlace signal. According to the present invention, the scanning line interpolation device comprises: storage means for storing preceding-field image data; reference pixel data extraction means for extracting a plurality of reference pixel data from current-field image data and the preceding-field image data provided from the storage means, the plurality of reference pixel data including pixel data located in an interpolation pixel position which is not present in the current-field image data and in positions surrounding the interpolation pixel position; inter-field motion detection means for detecting whether or not there is a motion of an image between a preceding field and a current field, based on the plurality of reference pixel data; in-field interpolation data calculation means for calculating in-field interpolation data associated with the interpolation pixel position based on pixel data in the current field among the plurality of reference pixel data; and interpolation pixel selection means operative to select the in-field interpolation data when the inter-field motion detection means detects that there is a motion, and to select pixel data in the preceding-field image data which is located in the interpolation pixel position when the inter-field motion detection means detects that there is no motion, thereby to output the selected data as interpolation pixel data of a pixel located in the interpolation pixel position. Preferably, according to a second aspect of the present invention, in the scanning line interpolation device of the first aspect, the plurality of reference pixel data comprise central line pixel data which are pixel data derived from the preceding-field image data and positioned on a central line on which the interpolation pixel position is present, and upper and lower line pixel data which are pixel data derived from the current-field image data and positioned on upper and lower lines lying above and below the central line, and the inter-field motion detection means comprises: vertical correlation data calculation means for calculating vertical correlation data indicative of a vertical line correlation which is a pixel data correlation between the upper line data, the central line data and the lower line data; and motion detection means for detecting whether or not there is a motion of the image based on the vertical correlation data. Preferably, according to a third aspect of the present invention, in the scanning line interpolation device of the first aspect, the inter-field motion detection means comprises: threshold-by-threshold binarization means for weighting each of the plurality of reference pixel data to binarize each of the plurality of reference pixel data using the average value of the plurality of weighted reference pixel data as a threshold value; and motion detection means for comparing the plurality of binarized reference pixel data with a predetermined binary data pattern to detect a motion of the image based on a result of the comparison. Preferably, according to a fourth aspect of the present invention, in the scanning line interpolation device of the first aspect, the plurality of reference pixel data include a first number of reference pixel data, and the reference pixel data extraction means comprises: reference pixel data preliminary extraction means for preliminarily extracting a second number of reference pixel data from the current-field image data and the preceding-field image data provided from the storage means, the second number being greater than the first number of the pixel data located in the interpolation pixel position and in the positions surrounding the interpolation pixel position; and reference pixel data selection means for selecting the first number of reference pixel data to be actually extracted from the second number of reference pixel data. The scanning line interpolation device in accordance with the first aspect of the present invention comprises the interpolation pixel selection means operative to select the in-field interpolation data when the inter-field motion detection means detects that there is a motion, and to select the pixel data in the preceding-field image data located in the interpolation pixel position when the inter-field motion detection means detects that there is no motion, thereby to output the selected data as the interpolation pixel data of the pixel located in the interpolation pixel position. This enhances the reproducibility of vertical high-frequency components in a still picture part of an image to reduce fuzziness at edges. Further, the inter-field motion detection means may detect whether or not there is a motion by using the preceding-field image data and the current-field image data as the reference pixel data required for motion detection, thereby to detect the motion between the fields. The vertical correlation data calculation means in the scanning line interpolation device in accordance with the second aspect of the present invention calculates the vertical correlation data indicative of the vertical line correlation which is the pixel data correlation between the upper line data, the central line data and the lower line data, thereby to achieve the motion detection sensitive to even a small amount of horizontal image movement. The motion detection means in the scanning line interpolation device in accordance with the third aspect of the present invention compares the plurality of binarized reference pixel data with the predetermined binary data pattern to detect the motion of the image based on the result of the comparison, thereby achieving the motion detection in accordance with the predetermined binary pattern. Furthermore, the reference pixel data selection means in the scanning line interpolation device in accordance with the fourth aspect of the present invention selects the first number of reference pixel data (< the second number) to be actually extracted from the second number of reference pixel data. Therefore, the reference pixel data selection means may select the first number of reference pixel data to be actually extracted from the second number of reference pixel data based on the bands of the preceding- and current-field image data serving as the input image data, to allow the inter-field motion detection means in the next stage to perform the motion detection. It is therefore an object of the present invention to provide a scanning line interpolation device which is capable of enhancing the reproducibility of vertical high-frequency components in a still picture part of an image to provide an interpolated image which is much less fuzzy at natural image edges, character and graphic edges and corners. These and other objects, features, aspects and advantages of the present invention will become more apparent from the following detailed description of the present invention when taken in conjunction with the accompanying drawings. According to preferred embodiments of the present invention, a scanning line interpolation device performs motion detection using reference pixel data extracted from two consecutive fields of image data to carry out scanning line interpolation processing based on the result of the motion detection, thereby providing a satisfactory interpolation result having enhanced reproducibility of vertical high-frequency components in a still picture part of an image. Further, the scanning line interpolation device according to the present invention detects a motion in the two consecutive fields of image data depending on whether or not there is a vertical correlation between a reference pixel in a central line and reference pixels in upper and lower lines. Therefore, the scanning line interpolation device is operative to perform the motion detection sensitive to even a small amount of image movement. Furthermore, the scanning line interpolation device according to the present invention performs the motion detection based on the result of comparison between the binary data of the reference pixels and a specific binary pattern. Thus, the scanning line interpolation device is operative to detect that a desired still picture pattern is not in motion. The preferred embodiments according to the present invention will now be described with reference to the drawings. In operation, the two-dimensional image data Pin quantized using a predetermined sampling frequency is inputted to the field memory 1 and the delay circuit 2. The field image data Pin inputted to the field memory 1 is delayed by a one-field time interval and then inputted to the delay circuit 2 as preceding-field image data Q. The one-line delay portion 8 and registers 9 All of the reference pixels extracted by the delay circuit 2 are inputted to the vertical correlation judgement circuit 4. The reference pixel data a1, a3, a5, c1, c3 and c5 are also inputted to the in-field interpolation value calculation circuit 6. The reference pixel data b3 present in the interpolation pixel position is also inputted to the selection circuit 7. The comparators 10 The OR circuit 11 The background art scanning line interpolation circuit described with reference to The motion detection data MV, the reference pixel data b3 present in the interpolation pixel position which is the preceding-field image data, and the in-field interpolation value INT are inputted to the selection circuit 7. The selection circuit 7 selects one of the reference pixel data b3 and the in-field interpolation value INT depending on the motion detection data MV. Specifically, the selection circuit 7 selects the reference pixel data b3 if the motion detection circuit 5 detects that there is no motion (MV =“0”), and selects the in-field interpolation value INT if the motion detection circuit 5 detects that there is a motion (MV=“1”). Then, the selection circuit 7 outputs the selected data or value as the interpolation result Pout. In accordance with the first preferred embodiment, the motion of the image in the interpolation pixel position is detected. If the result of the detection is that there is no motion, the preceding-field image data present in the interpolation pixel position is used as the interpolation value. This enhances the reproducibility of the vertical high-frequency components in a still picture part of the image. In particular, the interpolation performed upon image data with sharp edges such as the image data of characters and graphics may reduce the fuzziness not only at horizontal edges but also at edges of comer parts at which horizontal and vertical edges intersect, thereby enhancing visibility. Additionally, since the inter-field motion judgement portion 3 makes the judgement based on the correlation judgement data of the reference pixels arranged in the vertical direction of the image, the motion detection is sensitive to even a small amount of horizontal image movement. Furthermore, the inter-field motion judgement portion 3 judges that there is a vertical correlation if the three vertically adjacent pixels aj, bj and cj satisfy either aj≦bj≦cj or aj≧bj≧cj. This allows satisfactory image motion detection in gradation image parts wherein gradation levels change gradually as well as in the edge parts wherein the image within the range of the reference pixels is sharp. Furthermore, the in-field motion judgement portion 3 makes the vertical correlation judgement not only in the interpolation pixel position (j=3 herein) but also in pixel positions adjacent to the left and right thereof (j=1 and 5 herein), reducing motion detection failures. In particular, an image wherein there is a motion is prevented from being detected by mistake that there is no motion. Moreover, the delay circuit 2 extracts the reference pixels in such a manner that the reference pixels required by the background art scanning line interpolation device, which is corresponding to the in-field interpolation value calculation circuit 6 herein, and the reference pixels required for the motion detection are used in common. Thus, when the same input image band is given, both the in-field interpolation value and the motion detection provide satisfactory results. Specifically, the first preferred embodiment may provide the in-field interpolation value precisely responsive to the input image band and the motion detection just enough sensitive to the input image band. In operation, the quantized two-dimensional image data pin is inputted to the field memory 1 and the delay circuit 2. The field image data Pin inputted to the field memory 1 is delayed by a one-field time interval and then inputted to the delay circuit 2 as the preceding-field image data Q. The one-line delay portion 8 and registers 9 In the threshold value calculation circuit 13, the adders 16 SHM={(a1+a3+as+c1+c3+c5)+2·(b1+b3+b5)}/12 The threshold value data SHM is inputted to the binarization circuit 14. The comparators 19 The comparator 19 The second preferred embodiment uses the result of the comparison between the reference pixel binary data and the still picture pattern table, thereby to set still picture part patterns intended to be detected in detail. For example, setting corner patterns as shown in the still picture pattern table of In operation, the quantized two-dimensional image data Pin is inputted to the field memory 1 and the delay circuit 2. The field image data Pin inputted to the field memory 1 is delayed by a one-field time interval and then inputted to the delay circuit 2 as the preceding-field image data Q. The one-line delay portion 8 and registers 9 Thus, the scanning line interpolation device of the third preferred embodiment may select the reference pixel data required for the interpolation in response to the selection signal Sin. Therefore, the third preferred embodiment may determine the selection indication contents of the selection signal Sin based on the band of the input image data, to cause the inter-field motion judgement portion 3 to make the motion judgement with a sensitivity conforming to the band of the input image data. While the invention has been described in detail, the foregoing description is in all aspects illustrative and not restrictive. It is understood that numerous other modifications and variations can be devised without departing from the scope of the invention.BACKGROUND OF THE INVENTION
SUMMARY OF THE INVENTION
BRIEF DESCRIPTION OF THE DRAWINGS
DESCRIPTION OF THE PREFERRED EMBODIMENTS
First Preferred Embodiment
Second Preferred Embodiment
Third Preferred Embodiment