A dielectric film (110) is formed overlying a semiconductor device substrate (10). A dielectric post (204) having an outer peripheral boundary having sidewalls is formed over the dielectric film (110). A first conductive film (402) is deposited at least along the sidewalls of the dielectric post (204) to form a lower electrode. A capacitor dielectric film (1801) is deposited on the first conductive film, and a upper electrode (1802) is formed on the capacitor dielectric film (1801).
1. A capacitor electrode, comprising: a dielectric film having a recess overlying a semiconductor device substrate; a dielectric post protruding from the dielectric film, said dielectric post having an outer peripheral boundary defined by sidewalls, and a top surface; a first conductive film on the dielectric post, at least along the sidewalls of the dielectric post; and a second conductive film under the dielectric post, wherein the second conductive film lines the recess and portions of the dielectric post extend into the recess, the first and second conductive films being electrically connected together and defining portions of a capacitor electrode. 2. The capacitor electrode of claim 1, further comprising a third conductive film over the top surface of the dielectric post, the first, second, and third conductive films being electrically connected together and defining portions of the capacitor electrode. 3. The capacitor electrode of claim 1, wherein said portion of the dielectric post is an oxygen barrier. 4. The capacitor electrode of claim 1, wherein an oxygen barrier is disposed within the recess. 5. The capacitor electrode of claim 4, wherein the oxygen barrier includes a material selected from a group consisting of iridium and ruthenium. 6. The capacitor electrode of claim 4, wherein the oxygen barrier comprises a conductive liner that lines the recess, and a dielectric material that fills the recess, said conductive liner includes a material selected from a group consisting of iridium and ruthenium. 7. The capacitor electrode of claim 4, wherein the oxygen barrier comprises a conductive liner that lines the recess said conductive liner includes a material selected from a group consisting iridium oxide, ruthenium oxide, titanium nitride, titanium aluminum nitride, titanium silicon nitride, tantalum nitride, tantalum aluminum nitride, tantalum silicon nitride, metal nitrides, metal borides and metal carbides. 8. The capacitor electrode of claim 1, wherein at least one of the first and second conductive films includes a material selected from a group consisting of iridium, platinum, palladium, ruthenium, rhenium, rhodium and osmium. 9. A capacitor electrode comprising: a dielectric film having a recess overlying a semiconductor device substrate; a conductive plug disposed within the recess; an oxygen barrier overlying the conductive plug, wherein at least portions of the oxygen barrier are disposed within the recess; a dielectric post overlying portions of the oxygen barrier, said dielectric post having an outer peripheral boundary defined by sidewalls, and a top surface; a first conductive film on the dielectric post, at least along the sidewalls of the dielectric post; a second conductive film under the dielectric post, wherein the second conductive film is electrically coupled to the oxygen barrier; and a third conductive film overlying the top surface of the dielectric post, wherein the third conductive film is electrically connected to the first and second conductive film, and wherein the first, second, and third conductive films form a portion of a lower capacitor electrode. 10. The capacitor electrode of claim 9, wherein the oxygen barrier includes a material selected from a group consisting of iridium and ruthenium. 11. The capacitor electrode of claim 9, wherein the oxygen barrier comprises a material selected from a group consisting iridium oxide, ruthenium oxide, titanium nitride, titanium aluminum nitride, titanium silicon nitride, tantalum nitride, tantalum aluminum nitride, tantalum silicon nitride, metal nitrides, metal borides and metal carbides. 12. The capacitor electrode of claim 9, wherein at least one of the first, second, and third conductive films includes a material selected from a group consisting of iridium, platinum, palladium, ruthenium, rhenium, rhodium and osmium. 13. The capacitor electrode of claim 9, wherein the dielectric post is aligned with respect to the conductive plug, such that portions of the first conductive film overlie portions of the oxygen barrier.
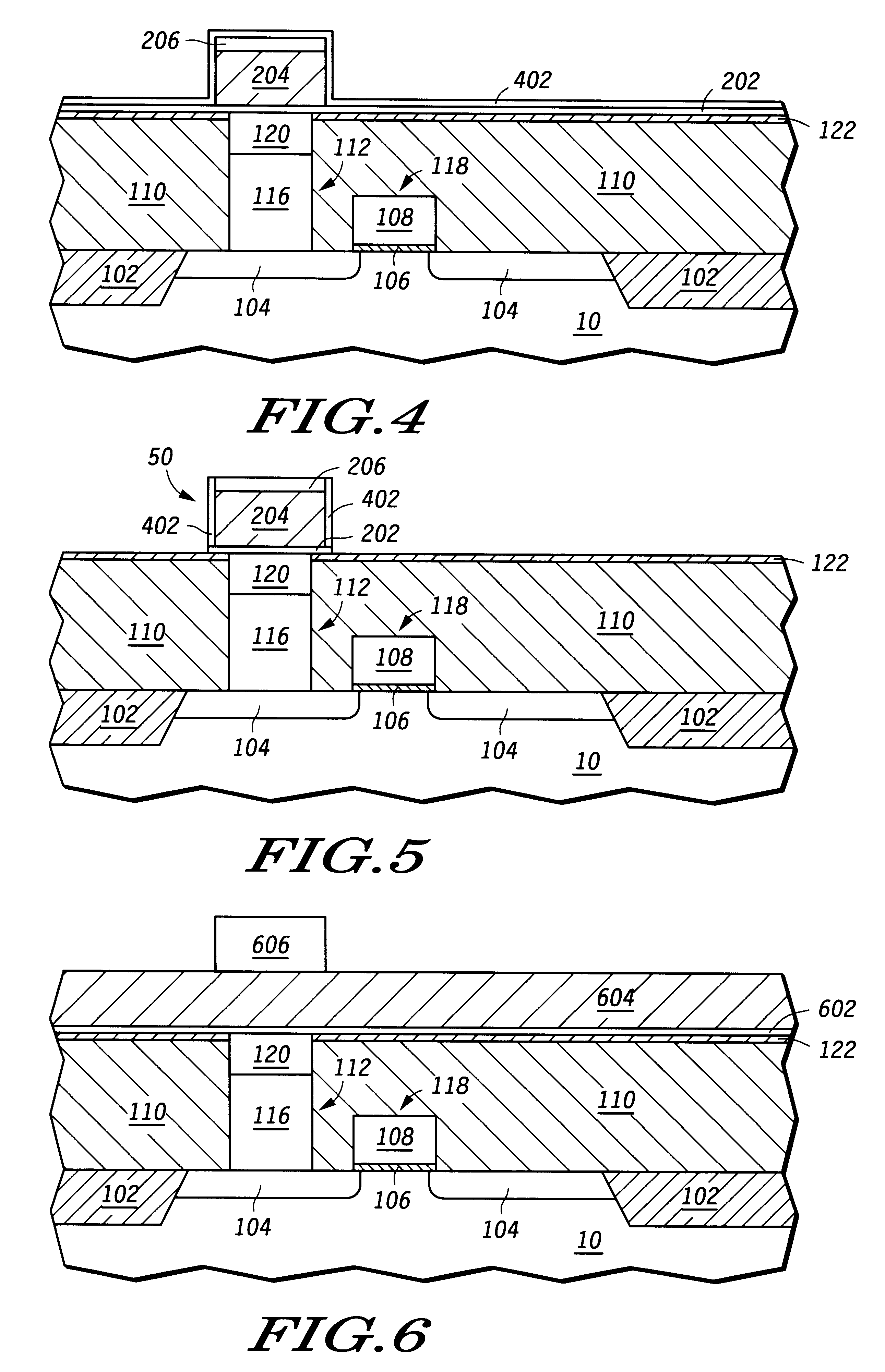
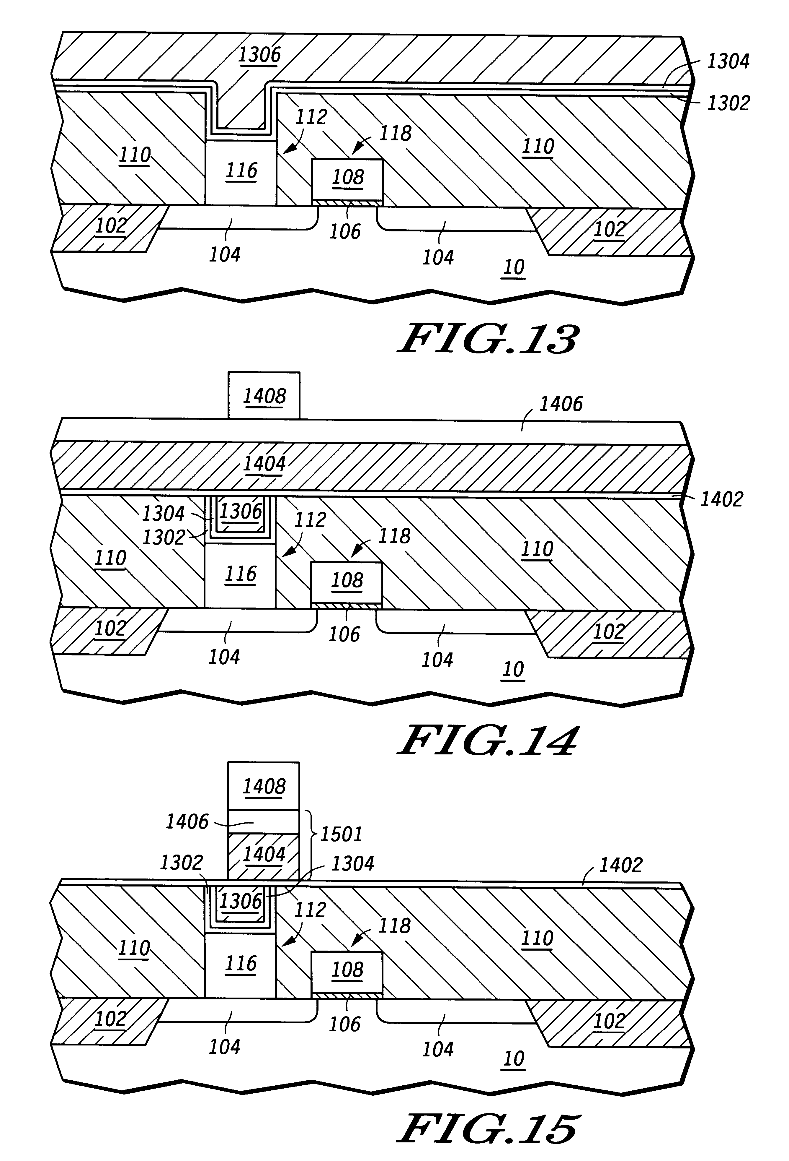
This application is related to U.S. patent application No. 09/058,935, filed Apr. 13, 1998 now abandoned; 09/064,076, filed Apr. 22, 1998 now U.S. Pat. No. 5,998,258; and 09/022,756, filed on Dec. 22, 1997, all of which are assigned to the current assignee hereof. The present invention relates generally to a method for forming a semiconductor device, and more particularly, to a method for forming an electrode. Semiconductor devices continue to be scaled to smaller dimensions. The reduction in size of circuitry, such as capacitors in dynamic random access memory (DRAM) bit cells, has prompted a need to integrate high dielectric constant materials into the fabrication of such devices. Barium strontium titanium oxide (BST) and similar materials are high dielectric constant (high-k) materials currently being used as part of this integration scheme. However, these high-k materials may be incompatible with many commonly used electrode materials because they require high temperature anneals in oxygen or deposition at high temperatures in the presence of oxygen in order to achieve their desired electrical properties. The exposure to oxygen at high temperatures is problematic because it can result in an oxidation of the electrode. This, in turn, can produce changes in the electrical properties of the capacitor. In order to minimize the problems associated with oxidation, materials that are resistant to oxidation at high temperatures and materials which form conductive oxides, such as platinum, iridium, palladium, ruthenium, osmium, and the like are being investigated for use in forming electrodes. However, current methods for forming electrodes using these materials are not without problems. Ruthenium is easily etched in an oxygen-containing plasma, however, one of the by-products, ruthenium oxide (RuO4), is toxic. In addition, by-products of etchants commonly used to etch conductive materials, such as halogens, have low volatilities or are unstable when etching materials such as platinum, palladium, and iridium. This creates difficulties when etching these materials, particularly as the materials become thicker to accommodate higher aspect ratio features and as the spacing between the features decreases. That is, because such by-products have low volatility, they are not easily removed from high-aspect ratio structures. Using high powered etching conditions and alternative processes, such as ion milling, to etch the thicker material, comes at the expense of selectivity loss and trenching of underlying films, as well as the formation of veils around the etched features. Trenching of underlying films is undesirable because of the impact it can have on device performance. Veils, or sidewall polymer, present a reliability concern. Their removal is difficult and is accomplished at the expense of lost time and additional processing steps. A need therefore exists to develop alternative manufacturing methods for forming conductive electrodes that are not susceptible to problems discussed hereinabove. The present invention is illustrated by way of example and not limitation in the accompanying figures, in which like references indicate similar elements, and in which: Skilled artisans appreciate that elements in the figures are illustrated for simplicity and clarity and have not necessarily been drawn to scale. For example, the dimensions of some of the elements in the figures may be exaggerated relative to other elements to help to improve understanding of embodiment(s) of the present invention. The present invention relates generally to a method for forming a semiconductor device and a device formed thereby. In accordance with one embodiment of the present invention, a dielectric film is formed overlying a semiconductor device substrate. A dielectric post having an outer peripheral boundary having sidewalls is formed over the dielectric film. A first conductive film is deposited at least along the sidewalls of the dielectric post to form a lower electrode. A capacitor dielectric film is then deposited on the first conductive film, and a upper electrode is formed on the capacitor dielectric film. In accordance with a second embodiment of the present invention, the semiconductor device includes a dielectric film overlying a semiconductor device substrate. A dielectric post having an outer peripheral boundary defined by sidewalls and a top surface, protruding from the dielectric film. A first conductive film on the dielectric post, at least along the sidewalls of the dielectric post, forming a lower electrode. A capacitor dielectric film on the first conductive film, and an upper electrode on the capacitor dielectric film. In one embodiment, the gate electrode 108 is a layer of polysilicon. Alternatively, gate electrode 108 may be a metal layer, such as tungsten or molybdenum, a metal nitride layer, such as titanium nitride or tungsten nitride, or a combination thereof. In addition, gate electrode 108 may be a polycide layer comprising a metal silicide, such as tungsten silicide, titanium silicide, or cobalt silicide, overlying a polysilicon layer. Following formation of the gate electrode 108, a dielectric film 110 is formed over the semiconductor device substrate 10 and patterned to form a contact opening. In one embodiment, dielectric film 110 is a layer of plasma deposited oxide that is formed using tetraethoxysilane (TEOS) as a source gas. Alternatively, dielectric film 110 may be a layer of silicon nitride, a layer of phosphosilicate glass (PSG), a layer of borophosphosilicate glass (BPSG), a silicon oxynitride layer, a polyimide layer, a low-k dielectric, or a combination thereof. Overlying dielectric film 110 is an adhesion/barrier layer 122. Adhesion/barrier layer 122 is typically formed using silicon nitride deposited to a thickness in a range of approximately 10-60 nanometers. Alternatively, adhesion/barrier layer 122 is formed as a layer of plasma enhanced nitride (PEN), silicon oxynitride, boron nitride, titanium oxide, tantalum oxide, other multi-component oxides and nitrides, and the like. Adhesion/barrier layer 122 is optionally used as an etch stop layer during subsequent processing to form a capacitor electrode. Following patterning, a contact opening is formed in the dielectric film 110 and adhesion/barrier layer 122. A conductive plug 113 is formed within the contact opening 112. Conductive plug 113 is formed using an adhesion/barrier film 114, such as titanium/titanium nitride (Ti/TiN), tantalum/tantalum nitride (Ta/TaN), and the like, a conductive fill material 116, such as tungsten or polysilicon, and the like, and an oxygen barrier material 120, such as iridium. After deposition, portions of the conductive fill material 116 and underlying adhesion/barrier film 114 are removed using a conventional etch or chemical-mechanical polishing (CMP) process to form a conductive plug. Top portions of the conductive plug are then selectively etched back to form a recess in the contact opening. The etch is performed using a conventional etch process having adequate selectivity to the adhesion/barrier layer 122 to remove approximately 100-250 nanometers of the conductive plug material from the uppermost portion of the plug opening. Approximately 350-550 nanometers of an oxygen barrier material is deposited over the top surface of the adhesion/barrier layer 122 and within the contact opening 112 to completely fill the contact opening 112. Typically, the oxygen barrier material 120 is formed using iridium. Alternatively, the oxygen barrier material 120 is formed using other conducting materials which may include noble metals, metals that are capable of forming conductive metal oxides, and conductive metal oxides and conductive metal nitrides. Examples of these include ruthenium (Ru), iridium oxide (IrO2), ruthenium oxide(ReO2, ReO3), titanium nitride (TiN), titanium aluminum nitride (TiAlN), titanium silicon nitride (TiSiN), tantalum nitride (TaN), tantalum aluminum nitride (TaAlN), tantalum silicon nitride (TaSiN), metal nitrides, metal borides, metal carbides, and the like. After deposition, portions of the oxygen barrier material 120 are removed using conventional etch or CMP processes to form the conductive plug 113. Up to this point in the process, conventional methods have been used to form the device as shown in FIG. 1. The thickness of conductive film 202 is in a range of approximately 20-50 nanometers. Overlying the conductive film 202 is dielectric material (dielectric film 204). Typically, the dielectric film 204 is formed as an undoped silicon oxide. The thickness of dielectric film 204 is approximately 250-450 nanometers. In one embodiment, the dielectric film 204 is formed using a chemical vapor deposition (CVD) process by reacting TEOS gas. Alternatively, dielectric film 204 may be formed using other deposition processes and with other materials. Examples of other materials include silicon nitride, silicon oxynitride, and the like. Overlying dielectric film 204 is conductive film 206. The thickness of conductive film 206 is in a range of approximately 50-100 nanometers. Overlying conductive film 206 is a photoresist layer 208. Photoresist layer 208 is patterned to define a portion of a bottom electrode of a capacitor. The photoresist layer 208 (shown in In Overlying adhesion/barrier layer 1002 is conductive film 1004. The thickness of conductive film 1004 is in a range of approximately 40-60 nanometers. The processes and materials used to form the conductive film 1004 are similar to those previously described to form conductive film 202. The conductive film 1004 is formed so as not to completely fill the contact opening 112. Overlying the conductive film 1004 is a dielectric material (dielectric film 1006). As illustrated in Overlying the dielectric film 1006 is conductive film 1008. The thickness of conductive film 1008 is in a range of approximately 50 to 150 nanometers. The processes and materials used to form the conductive film 1008 are similar to those previously described to form the conductive film 202. Overlying conductive film 1008 is a photoresist layer 1010. Photoresist layer 1010 is patterned to define a feature that subsequently forms portions of a lower capacitor electrode. Overlying adhesion/barrier layer 1002 is a conductive film 1304. The thickness of conductive film 1304 is in a range of approximately 40-60 nanometers. The processes and materials used to form the conductive film 1304 are similar to those previously described to form conductive film 202. The conductive film 1304 is formed so as not to completely fill the contact opening 112. Overlying the conductive film 1304 is a dielectric film 1306. The thickness of the dielectric film 1306 is in a range of approximately 300 to 500 nanometers. The processes and materials used to form the dielectric film 1306 are similar to those previously described to form dielectric film 204. Prior to depositing the conductive film 1402, portions of the dielectric film 1306, the conductive film 1304, and the adhesion/barrier layer 1302, not contained within contact opening 112, are removed using a conventional plasma etch or CMP process. Conductive film 1402 is then formed over the surface using materials and processes similar to those described previously to form conductive film 202. The thickness of conductive film 1402 is in a range of approximately 15-25 nanometers. Overlying conductive film 1402 is a dielectric film 1404, conductive film 1406, and patterned photoresist layer 1408. The thickness of dielectric film 1404 is in a range of approximately 200 to 500 nanometers. The thickness of conductive film 1406 is in a range of approximately 50 to 100 nanometers. The processes and materials used to form the dielectric film 1404 and conductive film 1406 are similar to those described previously to form conductive film 202 and dielectric film 204. In In Overlying the capacitor dielectric film 1801 is a conductive film 1802. Conductive film 1802 forms the upper capacitor electrode. Conductive film 1802 is formed using processes and materials similar to those described previously to form conductive film 202. The two capacitor electrodes, 50 and 1802, can include the same or different conductive materials. Overlying conductive film 1802 is an insulating layer 1803. The combination of the conductive film 1802, the capacitor dielectric film 1801, and the lower electrode 50 forms a capacitor 1804. The combination of the transistor 118, oxygen barrier material 120 and conductive fill material 116 (the storage node), and the capacitor 1804 forms a typical dynamic random access memory (DRAM) bit cell. Other electrical connections may be made but are not shown in FIG. 18. Also, other ILD layers and interconnect levels may be used if necessary to form a more complicated semiconductor device. It is noted that Methods for depositing and etching dielectrics are known in the art. Embodiments of the present invention make use of depositing and etching dielectrics in combination with depositing and etching conductive films to form capacitor electrodes. In the prior art, one currently used method for increasing the surface area of a three-dimensional capacitor electrode includes increasing the thickness of the conductive material used to form the electrode. Increasing the conductive material's thickness makes etching the electrode more complicated and difficult. Using embodiments of the present invention, the surface area and geometry of a three-dimensional capacitor electrode is preferentially and accurately controlled by first depositing a predetermined thickness of dielectric, patterning and etching it, and then forming a thin conductive material overlying the dielectric. Using the dielectric thickness to determine the height of the electrode allows the use of a thinner conductive electrode material without experiencing a reduction in surface area of the electrode or performance of the capacitor. Advantages of using this combination include the ability to use thinner conductive materials to form electrodes having larger overall surface area. The thinner conductive materials are inherently easier to etch. This becomes increasingly important as the aspect ratio of the capacitor structures increase. Also, the etch to define the capacitor electrode does not require patterning. Instead, feature size and spacing is determined by patterning and etching of the dielectric posts. The conductive material that is deposited along the dielectric post's sidewalls reduces the spacing between the electrodes beyond that of the original spacing between successive dielectric post structures. Additional benefits include a reduction in the amount of conductive material and cost to form the electrode. Thus it is apparent that there has been provided, in accordance with embodiments of the present invention, a capacitor electrode structure and a process for forming it, that provide advantages over the prior art. In the foregoing specification, the invention has been described with reference to specific embodiments. However, one or ordinary skill in the art appreciates that various modifications and changes can be made without departing from the skill of the present invention as set forth in the claims below. Accordingly, the specification and figures are to be regarded in an illustrative rather than a restrictive sense, and all such modifications are intended to be included within the scope of the present invention. In the claims, means plus function clauses if any cover the structures described herein that perform the recited functions. The means plus function clauses also cover structural equivalents and equivalent structures that perform the recited functions.RELATED APPLICATIONS
FIELD OF THE INVENTION
BACKGROUND OF THE INVENTION
BRIEF DESCRIPTION OF THE DRAWINGS
DETAILED DESCRIPTION