The present invention is a dental device for insertion in a patient's mouth generally between the patient's upper and lower teeth for cooperating and positioning the mandible and the maxilla in centric relation. The dental device includes a centric bite assembly including a bite portion which is insertable between the patient's upper and lower anterior teeth. The bite portion is constructed of pliable materials and is sized and shaped to maintain the patient's upper and lower posterior teeth spaced a distance apart as the patient bites down on the bite portion. The pliable materials result in the bite portion being partially collapsed as the patient bites down on the bite portion and permit relative movement of the upper and lower anterior teeth for cooperating in positioning the mandible and the maxilla in centric relation as a result of the patient's muscle contraction and relaxation as the patient bites down on the bite assembly while not causing a ramping effect. The bite portion further comprises a case having a cavity formed therein which is filled with a pliable material and the case is constructed of a pliable material. In one embodiment, the dental device includes an impression support assembly detachably connected to the bite portion and impression materials are connected to the impression support assembly for making impressions of the patient's upper and lower posterior teeth as the patient bites down on the bite portion. After such impressions have been made, the dental device, after removing the pliable material from the bite portion, may be positioned on a maxillary stone model mounted on an articulator for positioning the mandibular cast on the impression materials for positioning the mandibular cast in centric relation with respect to the maxillary stone model. The dental device also may be used for relieving muscle trismus and pain caused by muscles and diagnosing temporal mandibular joint problems by having the patient bite down on the bite portion tending to position the mandibular and the maxilla in centric relation. If the patient experiences pain after biting down on the bite portion for a period of time, this indicates a displaced disk as the diagnosed problem. If the patient does not experience pain and the mandible and the maxilla are positioned in centric relation, this indicates a muscle problem.
1. A dental device sized and shaped so as to be inserted into a patient's mouth to position the mandible and the maxilla in centric relation, comprising: a centric bite assembly positionable within the patient's mouth, the centric bite assembly comprising a pliable bite portion having a first end, a second end, an upper surface and a lower surface defining a cavity, and a pliable material disposed within the cavity so that when the patient bites down on the pliable bite portion the upper and lower surfaces of the pliable bite portion are maintained a distance apart while permitting the upper and lower anterior teeth to move relative to each other while maintaining the patient's upper and lower posterior teeth spaced a distance apart; and an impression support assembly detachably connected to the centric bite assembly, the impression support assembly positionable within the patient's mouth between the posterior teeth configured to receive an impression making material. 2. The dental device of claim 1 further comprising a connector assembly for selectively connecting and disconnecting the impression support assembly to and from the centric bite assembly. 3. The dental device of claim 2 wherein the connector assembly comprises a first connector tab having a slot formed therein and a second connector tab, the first connector tab connected to the second end of the pliable bite portion of the centric bite assembly such that the first connector tab extends longitudinally from the second end of the pliable bite portion of the centric bite assembly, the second connector tab disposed along a portion of a front edge of the impression support assembly such that upon positioning at least a portion of the second connector tab through the slot in the first connector tab and folding a portion of the second connector tab over a portion of the first connector tab the impression support assembly is connected to the centric bite assembly. 4. The dental device of claim 3 wherein the connector assembly further comprises a third connector tab disposed on a rear edge of the impression support assembly, the third connector tab being sized and dimensioned to permit the third connector tab to be folded over the rear edge of the first connector tab, disposed adjacent a portion of the first connector assembly. 5. The dental device of claim 1, wherein the first end of the pliable bite portion of the centric bite assembly is provided with a substantially arch configuration with the second end of the pliable bite portion of the centric bite assembly a substantially planar base of the arch. 6. The dental device of claim 2 wherein the impression support assembly comprises a substantially U-shaped member contoured to conform to the shape of the mouth from the incisors to the wisdom teeth. 7. The dental device of claim 6 wherein the connector assembly comprises a first connector tab having a slot formed therein and a second connector tab, the first connector tab connected to the second end of the pliable bite portion of the centric bite assembly such that the first connector tab extends longitudinally from the second end of the pliable bite portion of the centric bite assembly, the second connector tab disposed along a portion of a front edge of the impression support assembly such that upon positioning at least a portion of the second connector tab through the slot in the first connector tab and folding a portion of the second connector tab over a portion of the first connector tab the impression support assembly is connected to the centric bite assembly. 8. The dental device of claim 6 wherein the substantially U-shaped member is provided with a first leg contoured to conform to the curvature of one side of the mouth from the incisors to the wisdom teeth, and a spatially disposed second leg contoured to conform to the other side of the mouth from the incisors to the wisdom teeth. 9. The dental device of claim 8 wherein each of the first and second legs of the substantially U-shaped member of the impression support assembly is provided with a plurality of apertures for enhancing the connection of an impression making material to at least one of an upper and lower surfaces. 10. The dental device of claim 8 wherein the connector assembly further comprises a first connector tab having a slot formed therein and a second connector tab, the first connector tab connected to the second end of the pliable bite portion of the centric bite assembly such that the first connector tab extends longitudinally from the second end of the pliable bite portion of the centric bite assembly, the second connector tab disposed along a portion of a front edge of the impression support assembly such that upon positioning at least a portion of the second connector tab through the slot in the first connector tab and folding a portion of the second connector tab over a portion of the first connector tab the impression support assembly is connected to the centric bite assembly. 11. The dental device of claim 8 wherein an impression making material is disposed on at least one upper or lower surface of at least one leg of the substantially U-shaped member of the impression support assembly for making impressions of at least a portion of the patient's upper and lower posterior teeth when the patient bites down on the impression making material. 12. The dental device of claims 11 wherein the impression making material is a pliable material. 13. The dental device of claims 11 wherein the impression making material is a rapid setting material. 14. The dental device of claim 1 further comprising: a first tab connected to and extending from the first end of the pliable bite portion of the centric bite assembly, the tab being sized and shaped to permit gripping by an individual so as to assist the individual in holding the centric bite assembly and inserting the pliable bite portion into the patient's mouth between at least a portion of the patient's upper and lower anterior teeth. 15. The dental device of claim 7 wherein the connector assembly further comprises a third connector tab disposed on the rear edge of the impression support assembly, the third connector tab being sized and dimensioned to permit the third connector tab to be folded over the rear edge of the first connector tab, disposed adjacent a portion of the first connector assembly. 16. The dental device of claim 13 wherein the connector assembly further comprises a third connector tab located on the rear edge of the substantially U-shaped member of the impression support assembly sized and dimensioned to be folded over the rear edge of the first connector tab so as the third connect or tab is substantially adjacent to the lower surface of the first connector tab located on the centric bite assembly for purposes of further securing the impression support assembly to the centric bite assembly such that the impression support assembly extends longitudinally from the centric bite assembly. 17. The dental device of claim 1 further comprising, a impression making material disposed on at least one surface of the impression support assembly for making impressions of at least a portion of at least one of the patient's upper and lower posterior teeth when the patient bites down on the impression making material. 18. The dental device of claims 17 wherein the impression making material is a pliable material. 19. The dental device of claims 17 wherein the impression making material is a rapid setting material. 20. A method for making impressions of at least a portion of a patient's upper and lower posterior teeth with the patient's mandible and maxilla positioned in a centric relation using a dental device sized and shaped so as to be inserted into a patient's mouth, comprising the steps of: providing the dental device, wherein the dental device comprises: a centric bite assembly comprising a pliable bite portion having a first end and a second end, and an impression support assembly having a first end and a second end, the first end on the impression support assembly connectable to the centric bite assembly such that the impression support assembly extends longitudinally from a first connector tab of the centric bite assembly; positioning the centric bite assembly in the patient's mouth between at least a portion of the patient's upper and lower anterior teeth; biting, by the patient, on the centric bite assembly with at least a portion of the patient's upper and lower anterior teeth bitingly contacting the pliable bite portion of the centric bite assembly to partially collapse the pliable bite portion of the centric bite assembly, the partially collapsed pliable bite portion of the centric bite assembly maintaining the patient's upper and lower posterior teeth spaced a distance apart as the patient bites down on the centric bite assembly, the pliable bite portion of the centric bite assembly partially collapsing and permitting the lower anterior teeth to move relative to the upper anterior teeth, without causing a substantially ramping effect, thereby positioning the mandibular and maxilla in centric relation; maintaining the patient biting down on the centric bite assembly for a period of time sufficient for the mandible and maxilla to move into centric relation; removing the dental device from the patient's mouth; maintaining the patient's mouth in an opened position; connecting the impression support assembly to the centric bite assembly; and disposing impression making material on to the impression support assembly; inserting the dental device with the impression making material disposed on the impression support assembly into the patient's mouth, wherein the pliable bite portion of the centric bite assembly is positioned between at least some of the patient's upper and lower anterior teeth and the impression support assembly having the impression making material connected thereto is positioned between at least some of the patient's upper and lower posterior teeth; biting, by the patient, on the centric bite assembly with at least some of the patient's upper and lower anterior teeth bitingly contacting the pliable centric bite portion of the centric bite assembly and with at least some of the patient's upper and lower posterior teeth bitingly contacting the impression making material on the impression support assembly; and removing the dental device with the impression making material connected thereto from the patient's mouth, wherein the dental device provides impressions of at least a portion of the patient's upper and lower posteriorteeth in the impression making material, thereby indicating the position of the patient's upper and lower posterior teeth when the patient's mandible and maxilla are positioned in centric relation. 21. A method for making impressions of at least a portion of a patient's upper and lower posterior teeth with the patient's mandible and maxilla positioned in a centric relation using a dental device sized and shaped so as to be inserted into a patient's mouth, comprising the steps of: providing the dental device, wherein the dental device comprises: a centric bite assembly comprising a pliable bite portion having a first end and a second end; an impression support assembly having a first end and a second end; a connector assembly for connecting the first end of the impression support assembly to the second end of the centric bite assembly such that the impression support assembly extends longitudinally from the first connector tab of the centric bite assembly; and positioning the centric bite assembly in the patient's mouth between at least a portion of the patient's upper and lower anterior teeth; biting, by the patient, on the centric bite assembly with at least a portion of the patient's upper and lower anterior teeth bitingly contacting the pliable bite portion of the centric bite assembly to partially collapse the pliable bite portion of the centric bite assembly, the partially collapsed pliable bite portion of the centric bite assembly maintaining the patient's upper and lower posterior teeth spaced a distance apart as the patient bites down on the centric bite assembly, the pliable bite portion of the centric bite assembly partially collapsing and permitting the lower anterior teeth to move relative to the upper anterior teeth, without causing a substantially ramping effect, thereby positioning the mandibular and maxilla in centric relation; maintaining the patient biting down on the centric bite assembly for a period of time sufficient for the mandible and maxilla to move into centric relation; removing the dental device from the patient's mouth; maintaining the patient's mouth in an opened position; connecting the first end of the impression support assembly to the second end of the centric bite assembly; disposing rapid setting impression making material directly onto the occlusal surfaces of the upper and lower teeth of the patient; inserting the dental device into the patient's mouth, wherein the pliable bite portion of the centric bite assembly is positioned between at least some of the patient's upper and lower anterior teeth and the impression support assembly is positioned between at least some of the patient's upper and lower posterior teeth; biting, by the patient, on the centric bite assembly with at least some of the patient's upper and lower anterior teeth bitingly contacting the pliable centric bite portion of the centric bite assembly and with at least some of the impression material on the patient's upper and lower posterior teeth bitingly contacting the impression support assembly; and removing the dental device with the impression making material connected thereto from the patient's mouth, wherein the dental device provides impressions of at least a portion of the patient's upper and lower posterior teeth in the impression making material, thereby indicating the position of the patient's upper and lower posterior teeth when the patient's mandible and maxilla are positioned in centric relation. 22. The method of claim 20, wherein in the step of providing the centric bite assembly, the centric bite assembly further comprises a case having a cavity formed therein filled with a pliable cavity fill material. 23. The method of claim 20, further comprising the steps of: providing an articulator having a maxillary stone model of the patient's lower teeth mounted thereon and providing a mandibular cast of the patient's teeth; disconnecting the impression support assembly from the centric bite assembly; placing the impression of the patient's upper posterior teeth formed in the impression making material on occlusal surfaces of the upper posterior teeth of the maxillary stone model; placing occlusal surfaces of the mandibular cast on the opposite side of the impression making material having the impressions of the patient's upper posterior teeth formed therein thereby positioning the mandibular cast in a centric relation with respect to the maxillary stone model; and connecting the mandibular cast to the articulator. 24. The method of claim 21, further comprising the steps of: providing an articulator having a maxillary stone model of the patient's lower teeth mounted thereon; removing the impression making material from the impression support assembly; placing the impression making material on the maxillary stone model such that the impression of the patient's upper posterior teeth formed in the impression making material overlay occlusal surfaces of the upper posterior teeth of the maxillary stone model; placing occlusal surfaces of the mandibular cast on the opposite side of the impression making material, thereby positioning the mandibular cast in a centric relation with respect to the maxillary stone model; and connecting the mandibular cast to the articulator.
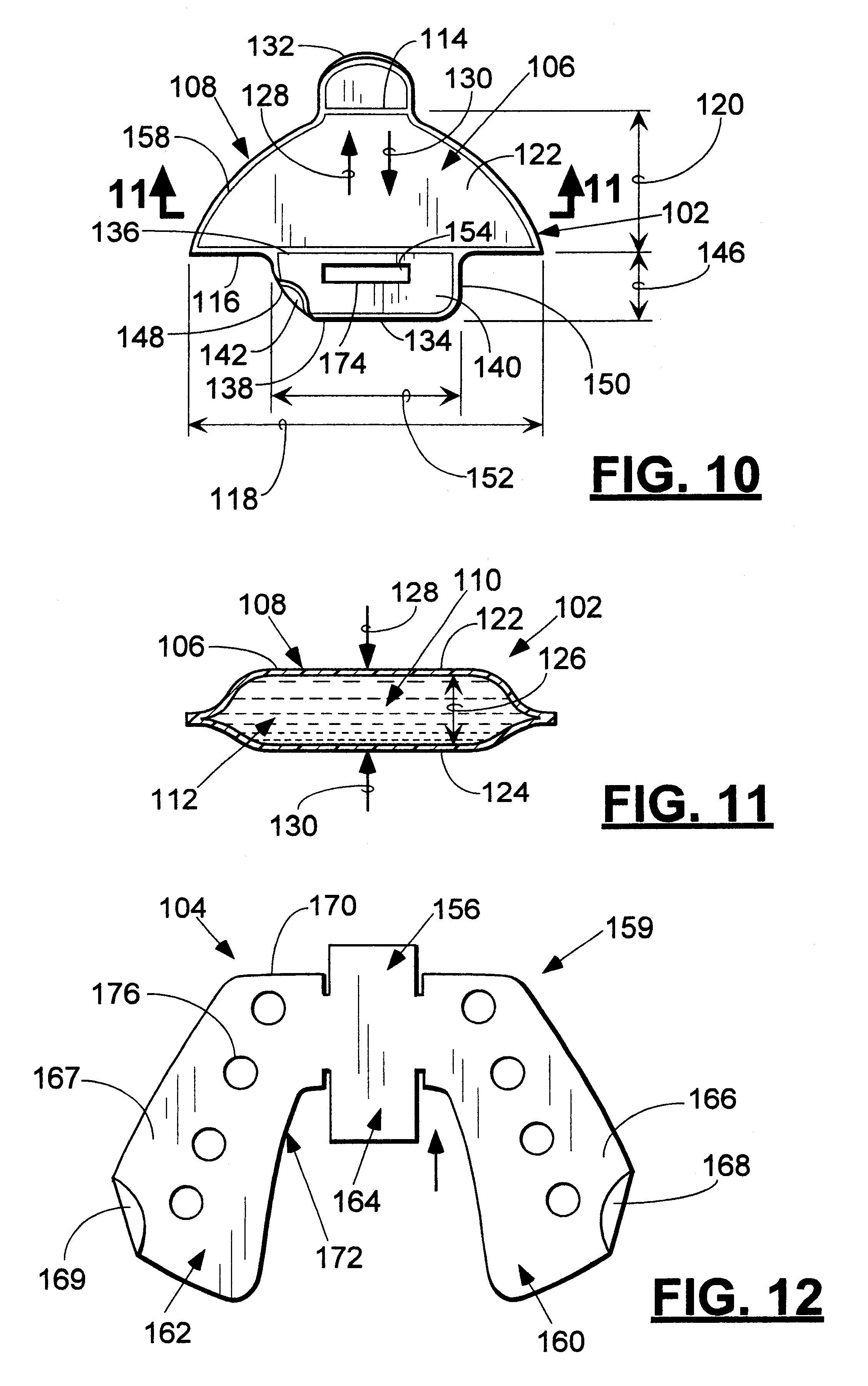
This is a continuation in part of application U.S. Ser. No. 09/270,877, filed Mar. 17, 1999, now U.S. Pat. No. 6,135,768 which is a continuation of U.S. Ser. No. 08/784,097, filed Jan. 15, 1997, now U.S. Pat. No. 5,954,503. Not applicable. The present invention relates generally to dental devices, and more particularly, but not by way of limitation, to a dental device for positioning the mandible and the maxilla in centric relation and methods for using same. Referring to the drawings in general and to (shown in FIGS. 3 and 4). The dental device 10 is constructed of materials, adapted, sized and shaped to be inserted into a patient's mouth generally between the patient's upper teeth and lower teeth for cooperating in positioning the mandible and the maxilla of the patient in centric relation. The term “centric relation” as used herein means the relationship of the mandible to the maxilla when the properly aligned condyle-disk assemblies are in the most superior position against the eminentia, irrespective of tooth position orvertical dimension. In this position, the head of the condyle of the mandible is in the upper most superior position in the glenoid fossa with a disk assembly between it and the eminentia. The term “centric relation” is well known to those skilled in the art of dentistry, and a more detailed description or illustrations are not deemed necessary. An individual patient has two sets of muscles that control centric relation, a set of elevator muscles and a set of positioner muscle. The elevator muscles are the masseter, temporalis, medial, pterygoid and the positioner muscles are the lateral pterygoid, and anterior fibers of the temporalis. When one set of muscles fires, the other set of muscles should release. That is, when the elevator muscles fire, the positioner muscles release, and when the positioner muscles fire, the elevator muscles release. When this does not occur, then there is an in-coordination of the muscles of the masticatory system which can cause pain and destruction of the dentition. The dental device 10 is constructed of materials, adapted, sized and shaped to program the upper and the lower arches back to their original position and not to the displaced position. That is, the dental device 10 is adapted to cooperate in positioning the mandible and the maxilla in centric relation. Referring to The centric bite assembly 16 includes a bite portion 18 which is adapted, constructed of materials, sized and shaped so the patient can bite down on the bite portion 18 when the centric bite assembly 16 is positioned between the upper and the lower anterior teeth of the patient. The bite portion 18 in particular is constructed of pliable material so that when the patient bites down on the bite portion 18 with at least some of the patient's anterior teeth, the patient's posterior teeth are spaced a distance apart. In one preferred embodiment as shown in the drawings, the bite portion 18 comprises an arch shaped case 20 having a cavity 22 ( As shown in The second end 28 (base portion) has a length 30 (FIG. 1). A distance 32 ( The bite portion 18 has an upper surface 34 ( The case 20 also is constructed of a pliable material of a type which will yield resulting in a partial collapsing of the case 20 as the patient bites down on the case 20 and which will permit relative movement between the upper and the lower anterior teeth during the use of the dental device 10. The construction of the case 20 of a pliable material and the cavity fill pliable material 24 cooperate to provide the portions of the centric bite assembly 16 constructed of pliable material which is selected to be yieldable when the patient bites down on the bite portion 18 and permit relative movement of the upper and lower teeth as the patient bites down on the bite portion 18. The distance 38 and the amount of cavity fill pliable material 24 disposed in the cavity 22 are determined to be sufficient so that, when the patient bites down on the bite portion 18, the upper surface 34 of the bite portion 18 does not engage the lower surface 36 of the bite portion 18, but rather remains spaced a distance from the lower surface 36. The case 20 also is constructed of a material which, not only cooperates with the cavity fill material 24 to permit the case 20 to partially collapse as the patient bites down on the bite portion 18, but also the case 20 is constructed of a material which permits the upper and lower anterior teeth to move or slide relative to each other in directions 37 and 39 (FIG. 1). More particularly, the occlusal surfaces of the lower anterior teeth slide in the direction 39 on the case 20 moving the mandible toward centric relation with the maxilla as the patient bites down on the bite portion 18. The pliable cavity fill material 24 cooperates with the pliable material of the cast 20 so the sliding movement mentioned above is the result of the patient's natural muscle contraction and expansion on relaxation as the patient bites down on the bite portion 18 and not caused by the bite portion 18 per se. The bite portion 18 does not result in a ramping effect as the patient bites down on the bite portion 18 which would force relative movement of the lower teeth in the direction 39 since the bite portion 18 conforms to the patient's upper and lower anterior teeth as the patient bites down on the bite portion 18. A tab 40 ( The dental device 10 also includes an impression support 42 ( The impression support 42 has an upper impression support surface 48 ( As shown in In one preferred embodiment, the dental device 10 is constructed of to sheets of two sheets of 18 gauge polyurethane with one sheet disposed on top of the other and the two sheets seal together along the outer peripheral edges of the dental device 10, as indicated in In one embodiment, the cavity 22 was filled with a non-toxic gel of the type identified commercially as propylene glycol, commercially available from SAS Laboratories Incorporated, Newton, Mass. This embodiment of the dental device 10 had the following approximate dimensions: length 30 of about 5.8 cm; distance 32 of about 2.5 cm; distance 38 of about 0.8 cm; distance 52 of about 1.0 mm; distance 54 of about 3.8 cm. The polyurethane sheets forming the bite portion 18 comprise the pliable material for the case 20 described above and the gel described above comprises the cavity fill pliable material 24. It should be noted that the case 20 may be constructed of any type of pliable material capable of performing the functions described herein and the cavity fill pliable material 24 may be any type of material such as the gel specifically identified above or a rubber or water or clay or cotton or any other type of pliable material suitable for performing the functions of the cavity fill pliable material 24, as described herein. Although the bite portion 18 is shown as being arch shaped, the bite portion 18 may be any geometric shape so long as the bite portion 18 is shaped to be positioned between at least some of the upper and the lower anterior teeth of a patient and provide biting surfaces for the upper and lower anterior teeth. For example, the bite portion 18 may be rectangular shaped or somewhat triangular shaped. The term “anterior teeth” generally refers to the cuspids and the intervening teeth therebetween. In one preferred embodiment, the bite portion 18 is shaped and sized to engage the anterior teeth from and including one cuspid to and including the other cuspid. It should be noted that the bite portion 18 could engage only the incisors and the intervening teeth or the bite portion 18 also could engage the lateral incisors and still perform the functions of the dental device 10 as described herein. It only is sufficient that the bite portion 18 be sized and shaped to engage at least some of the upper and lower anterior teeth of the patient for holding at least most of the anterior teeth spaced a distance apart while the patient bites downs on the bite portion 18 during the use of the dental device 10. The dental device 10 is useful in at least three different applications. One recording centric relation, two relieving muscle trismus and pain and three diagnosing temporal mandibular joint problems. For recording centric relation, the dentist grips the tab 40 of the dental device 10 and, while holding the tab 40, the dentist inserts the dental device 10 into the patient's mouth between the upper and the lower teeth to a position wherein the bite portion 18 is disposed between at least some of the upper and the lower anterior teeth of the patient, as generally shown in FIG. 5. The patient then bites down on the bite portion 18 with at least some of the patient's upper anterior teeth engaging the upper surface 34 of the case 20 and at least some of the patient's lower anterior teeth engaging the lower surface 36 of the case 20, as generally shown in FIG. 6. In this position, the patient bites down on the bite portion 18 in general directions 60 and 62 (FIG. 2). As the patient's upper and lower anterior teeth engage the respective upper and lower surfaces 34 and 36 of the case 20 and as the patient bites down on the case 20 in the directions 60 and 62, the force of the patient's bite partially collapses the case 20 moving the upper and lower surfaces 34 and 36 of the case 20 generally in the directions 60 and 62 toward each other. Since the case 20 is constructed of a pliable material and since the cavity 22 is filled with the cavity fill pliable material 24, the case 20 generally collapses somewhat moving the upper surface 34 toward the lower surface 36 as the patient bites down on the bite portion 18 of the dental device 10. The cavity fill pliable material 24 and the case 20 are constructed so that the cavity fill pliable material 24 always will support the upper surface spaced a distance from the lower surface of the case 20 as the patient bites down on the bite portion 18 and so the upper and the lower posterior teeth of the patient are spaced a distance apart when the patient has bitten down with full force on the bite portion 18 with a full power bite. The term “power bite” as used herein means that the patient has bitten down on the bite portion 18 while at least some of the posterior teeth are held a distance apart by the bite portion 18 positioned between at least some of the anterior teeth. In this position, the muscles located behind the teeth then can contract, forcing the jaw into the centric relation position because there substantially are no posterior teeth touching or interfering with this movement. The patient retains this power bite position for a period of time such as 5 or 20 minutes for example allowing or permitting the elevator muscles to center the condyle in centric relation while the positioner muscles relax thereby moving the mandible and the maxilla into centric relation. After the mandible and the maxilla are positioned in centric relation, the patient opens the patient's mouth and the dentist removes the dental device from the patient's mouth. At this stage, it is important that the patient's mouth remains open leaving the mandible and the maxilla in centric relation. In other words, it is important at this stage that the patient not bite down and move the mandible and the maxilla out of centric relation. Preferably, the dentist will place a cotton roll between the anterior teeth of the patient to prevent the patient from closing the patient's mouth at this stage. While the patient's mouth is maintained open or, in other words, while the patient's upper and lower teeth are maintained in a spaced apart relationship, the dentist then attaches the upper impression material 12 ( The upper and lower impression materials 12 and 14 are shown in Using an impression material of the type described above for the upper and the lower impression materials 12 and 14, the dentist places the upper and the lower impression materials 12 and 14 in warm water or otherwise raises the temperature of the impression materials 12 and 14 so they soften. In this softened condition, the dentist places the upper impression material 12 on the upper impression support surface 48 and places a lower impression material 14 on the lower impression support surface 50 forcing the upper and the lower impression materials 12 and 14 toward each other and against the respective upper and the lower impression support surfaces 48 and 50. While in this softened condition of the impression materials 12 and 14, 5 the impression materials 12 and 14 tend to bind to the respective upper and lower impression support surface 48 and 50 thereby connecting the upper and lower impression materials 12 and 14 to the impression support 42 of the dental device 10. The openings 56 permit some of the impression materials 12 and 14 to flow into the openings 56 as the upper and the lower impression materials 12 and 14 are pressed against the impression support 42 thereby providing a more secure connection between the impression support 42 and the upper and lower impression materials 12 and 14. The upper and lower impression materials 12 and 14 are sized and shaped and positioned on the dental device 10 to be positioned between the upper and lower posterior teeth of the patient when the dental device 10 is reinserted into the patient's mouth. As shown in When the softened impression materials 12 and 14 are placed adjacent the impression support 42 and pressed into position on the impression support 42, the impression support 42 impresses an impression of the impression support 42 in the impression materials 12 and 14. Thus, in a connected position, the impression materials 12 and 14 are disposed about adjacent each other and the upper impression material 12 is connected to the lower impression material 14. The impression materials 12 and 14 have an overall thickness 74 ( As the patient's occulsal surfaces of the upper and lower posterior teeth engage the respective upper and the lower impression material 12 and 14, the engagement results in an impression of portions of the upper and the lower posterior teeth of the patient being made in the respective impression materials 12 and 14. During this stage, the patient should bite down on the bite portion 18 and the impression materials 12 and 14 as hard as practically possible to make clear impressions and impressions which are of a sufficient depth. After the impressions have been made in the impression materials 12 and 14, the impression materials 12 and 14 then are cooled (hardened) by the dentist using cool water sprayed on the impression materials 12 and 14 for example while the dental device 10 including the impression materials 12 and 14 still are in the patient's mouth. After the impression materials 12 and 14 have been hardened, the dental device 10 including the impression materials 12 and 14 connected thereto are removed from the patient's mouth. The impression materials 12 and 14 then contain an impression of the patient's upper and lower anterior teeth with the patient's mandible and maxilla in centric relation. The dental device 10 including the impressions of the upper and lower posterior teeth in the impression materials 12 and 14 then is used to position a maxillary stone model 80 ( First, the dentist, using any sharp instrument (not shown), makes a cut in the case 20 providing access to the cavity 22. At least a substantial portion of the cavity fill material 24 then is removed from the cavity 20. This will permit occlusal surfaces of the anterior teeth on the maxillary stone model 80 and the mandibular cast 82 to somewhat engage with only the materials forming the case 20 being disposed therebetween, as illustrated in FIG. 8. Articulators and their use with maxillary stone models and mandibular casts are well known in the art of dentistry and a detailed description of the construction and use of such is not deemed necessary. In At this stage, the dentist already has made the maxillary stone model 80 and the mandibular cast 82 for the particular patient. The maxillary stone model 80 initially is mounted with a facebow on the articulator 84. The articulator 84 then is turned upside down to the position shown in The mandibular cast 82 then is secured or mounted (not shown) to the articulator 84 in this position. The mandibular cast 82 and the maxillary stone model 80 are now positioned on the articulator 84 in a true centric relation determined by the contracted elevator muscles, the relaxed positioner muscles and the condyle placed in the apex of force all determined by the particular patient. As mentioned before, the dental device 10 also can be used to relieve muscle trismus and pain. The impression support 42 and the impression materials 12 and 14 are not necessary for the procedure, although the impression support 42 may be included on the dental device 10, if desired. For this procedure, the dental device 10 is positioned in the patient's mouth in a position wherein the bite portion 18 is positioned between at least some of the patient's anterior upper and lower teeth in the same manner as described before. The patient then bites down on the bite portion 18 with the anterior teeth engaging the bite portion 18 and providing forces in directions 60 and 62 on the bite portion 18 partially collapsing the upper and lower surfaces 34 and 36 in the directions 60 and 62 generally toward each other, in the same manner as described before. As the patient bites down on the bite portion 18 and as this position is maintained for a period of time, the mandible and the maxilla are moved into centric relation in the manner described before with the elevator muscles contracting and the positioner muscles relaxing. In this position, pain caused by the muscles, subsides. Also, as mentioned before, the dental device 10 is useful in diagnosing temporal mandibular joint problems. The impression support 42 and the impression materials 12 and 14 are not necessary for the procedure, although the impression support 42 may be included on the dental device 10 if desired. With this procedure, the dental device 10 is positioned in the patient's mouth in the manner described before with the bite portion 18 generally positioned between at least some of the patient's upper and lower anterior teeth. In this position, the patient bites down on the bite portion 18 as hard as possible. While the patient bites down on the bite portion 18, if the disk has been displaced forward, the head of the condyle will be compressing the distal ligament, nerve endings and blood vessels against the eminences causing pain. Thus, the dentist can determine that it is a displaced disk causing the problem and it is not a muscle problem. On the other hand, if the disk is between the head of the condyle and eminence and the biting down causes no pain, the dentist knows it is a muscle problem. As described herein, the dental device 10 is used to relax the muscles so that the condyle will set in the centric relation position. The dental device 10 allows the mandible to adjust to the position of centric relation as the muscles relax. The dental device 10 does not have a ramp effect that would cause the mandible to distalize or, in other words, to go too far back, posteriorly. The dental device 10 does not require customized appliances to be made for each patient. The dental device 10 is quick and simple and one bite fits all patients. The dental device 10 is a one piece device when the upper and the lower impression materials 12 and 14 are connected to the bite portion 18 and does not come in two pieces when being used by the dentist. As described herein, the bite portion 18 comprised the case 20 with cavity fill material 24 disposed in the cavity 22. Rather than the dentist cutting the case 20 and forcing some of the cavity fill material 24 out of the case 20 during some of the operations as described herein, the dentist could simply cut the bite portion 18 from the impression support 42, thereby leaving the impression support 42 with the impression materials 12 and 14 connected thereto for use with the articulator 84 in the manner described before. Also, it should be noted that the bite portion 18 could be one solid piece constructed of a pliable material, rather than a case with a cavity fill with cavity fill material. In this last mentioned embodiment, the bite portion would be cut and removed from the impression support 42 with the impression materials 12 and 14 connected thereto for use with the articulator 84 in the manners described before. Referring to The dental device 100 is constructed of materials, adapted, sized and shaped to be inserted into a patient's mouth generally between the patient's upper teeth and lower teeth for cooperating in positioning the mandible and the maxilla of the patient in centric relation in substantially the same manner as the dental device 10 herein before described. Referring more particularly to Referring more specifically to As more clearly shown in The bite portion 106 has an upper surface 122 ( The case 108 (Which is also similar in construction as the case 20 of the dental device 10.) also is constructed of a pliable material which in combination with the cavity fill pliable material 112, permits a partial collapsing of the case 108 as the patient bites down on the case 108 and also permits relative movement between the upper and the lower anterior teeth during the use of the dental device 100 as the patient bites down on the bite portion 106. The distance 126 and the amount of the cavity fill pliable material 112 disposed in the cavity 110 are determined to be sufficient so that, when the patient bites down on the bite portion 106, the upper surface 122 of the bite portion 106 does not engage the lower surface 124 of the bite portion 106, but rather remains spaced a distance from the lower surface 124. As previously stated, The case 108 also is constructed of a material which, not only cooperates with the cavity fill material 112 to permit the case 108 to partially collapse as the patient bites down on the bite portion 106, but also the case 108 is constructed of a material which permits the upper and lower anterior teeth to move or slide relative to each other in directions 128 and 130 (FIG. 10). More particularly, the occlusal surfaces of the lower anterior teeth slide in the direction 130 on the case 108 moving the mandible toward centric relation with the maxilla as the patient bites down on the bite portion 106. The pliable cavity fill material 112 cooperates with the pliable material of the case 108 so the sliding movement mentioned above is the result of the patient's natural muscle contraction and expansion on relaxation as the patient bites down on the bite portion 106 and not caused by the bite portion 106 per se. The bite portion 106 does not result in a ramping effect as the patient bites down on the bite portion 106 which would force relative movement of the lower teeth in the direction 130 since the bite portion 106 conforms to the patient's upper and lower anterior teeth as the patient bites down on the bite portion 106. A first tab 132 ( The connector assembly 105 includes a first connector tab 134, a second connector tab 156 and a third connector tab 164 ( As shown in The substantially U-shaped member 159 is provided with a first leg 160 having an upper impression support surface 166 and lower impression support surface 168, a spatially disposed second leg 162 having an upper impression support surface 167 and lower impression support surface 169, the second connector tab 156, and the third connector tab 164. The first and second legs 160, 162 of the substantially U-shaped member 159 of the impression support assembly 104 can be provided with a plurality of apertures 176 of various sizes to facilitate adherence of an impression material to the upper and lower impression support surfaces 166, 168 and 167, 169 of the first and second legs 160, 162 of the substantially U-shaped member 159 of the impression support assembly 104. The upper and lower impression support surfaces 166, 168 of the first leg 160 of the substantially U-shaped member 159 are substantially planar and lie in parallel existing planes; and the upper and lower impression support surfaces 167, 169 of the second leg 162 of the substantially U-shaped member 159 are substantially planar and lie in parallel extending planes. The substantially U-shaped member 159 is also provided with a front edge 170 and a back edge 172. The second connector tab 156 of the connector assembly 105, which constitutes the male member of the connector assembly 105, is provided along the front edge 170 of the substantially U-shaped member 159 and the third connector tab 164 of the connector assembly 105 extends outwardly from along the back edge 172 of the substantially U-shaped member 159 substantially as shown in It should be noted that while the interconnection of the centric bite assembly 102 to the impression support assembly 104 via the connector assembly 105 has been shown and described utilizing the slot 154 in the first connector tab 134 on the centric bite assembly 102 and the second and third connector tabs 156, 164 located on the substantially U-shaped member 159 of the impression support assembly 104, the attachment or connection of the centric bite assembly 102 to the impression support assembly 104 can be accomplished by a variety of different connector assemblies capable of performing the same function as the connector assembly 105. For example, the connector assembly 105 could comprise a button and slot, metal snaps, adhesives or cohesives. The centric bite assembly 102 of the dental device 100 is also useful in the previously mentioned three different applications of: (1) recording centric relation, (2) relieving muscle trismus and pain and (3) diagnosing temporal mandibular joint problems. When relieving muscle trismus and pain, the centric bite assembly 102 can be used alone or in combination with the impression support assembly 104. The manner and procedure in which the centric bite assembly 102 is used to relieve muscle trismus and pain with the dental device 100 is similar to the manner and procedure used to relieve muscle trismus and pain utilizing the dental device 10 as herein before described with reference to When diagnosing temporal mandibular joint problems the centric bite assembly 102 of the dental device 100 alone can be used alone or in combination with the impression support assembly 104. The manner and procedure in which the centric bite assembly 102 is used to diagnose temporal mandibular joint problems with the dental device 100 is similar to the manner and procedure used to diagnose temporal mandibular joint problems utilizing the dental device 10 herein before described with reference to When using the dental device 100 to record centric relation, the centric bite assembly 102 is positioned in the patient's mouth, the patient bites down on the bite portion 106 of the centric bite assembly 102 (FIG. 15), the patient retains the power bite position, and the dentist removes the centric bite assembly 102 from the patient's mouth and places a cotton roll between the anterior teeth of the patient to prevent the patient from closing the patient's mouth, all as has been previously described. While the patient's mouth is maintained open or, in other words, while the patient's upper and lower teeth are maintained in a spaced apart relationship, the dentist connects the impression support assembly 104 to the first connector tab 134 of the connector assembly 105 as previously described (FIG. 13). Rapid setting impression material 178, 179 is then extruded onto the upper impression surfaces 166, 167 and the lower impression support surfaces 168, 169 of the first and second legs 160 and 162 of the substantially U-shaped member 159 of the impression support assembly 104. The rapid setting impression material 178, 179 is extruded onto the upper impression support surfaces 166, 167 and the lower impression support surfaces 168, 169 of the substantially U-shaped member 159 in such a position and until it reaches a sufficient quantity, thickness and depth so that when the dental device 100 is reinserted into the patient's mouth and the patient bites down on the centric bite assembly 102 of the dental device 100, the patient's upper and lower posterior teeth will engage and make adequate indentation and impressions into the rapid setting impression materials 178, 179 (FIG. 17). An example of such a rapid setting impression material which can be used in the practice of the present invention is of the type generally referred to as Blu-Mousse a rapid setting impression material commercially available from Parkell Products, Inc., New York. Afterthe rapid setting impression materials 178, 179 have been delivered onto the on the upper and lower impression support surfaces 166 and 168 of the first leg member 160 and the upper and lower impression support surfaces 167 and 169 of the second leg member 162 of the impression support assembly 104, and while the rapid setting impression materials 178, 179 are in a softened condition, the dentist removes the roll of cotton from the patient's mouth and while maintaining the upper and the lower teeth spaced a distance apart, the dentist reinserts the dental device 100 into the patient's mouth and positions the centric bite assembly 102 between at least some of the upper and lower anterior teeth thereby positioning the upper and the lower rapid setting Impression materials 178, 179 generally between some of the patient's upper and lower posterior teeth. In this position of the dental device 100, the patient bites down on the dental device 100, as shown in FIG. 15. As the patient bites down on the dental device 100, at least some of the patient's upper and lower anterior teeth engage the centric bite assembly 102 in the manner described before and at least some (preferably all) of the patient's upper and lower posterior teeth engage the rapid setting impression materials 178, 179 disposed on the upper and lower impression support surfaces 166 and 168 of the first leg member 160 and the upper and lower impression support surfaces 167 and 169 of the second leg member 162 of the impression support assembly 104. As the patient bites down on the dental device 100, the dentist may hold the patient's jaw to maintain centric relation if the patient tends to move the jaw forward out of centric relation. As the patient's occlusal surfaces of the upper and lower posterior teeth engage the respective upper and the lower rapid setting impression material 178, 179, the engagement results in an impression of portions of the upper and the lower posterior teeth of the patient being made in the respective rapid setting impression materials 178, 179. During this stage, the patient should bite down on the centric bite assembly portion 102 and the rapid setting impression materials 178, 179 until the rapid setting impression materials 178, 179 become hard enough to make clear impressions and impressions which are of a sufficient depth. After the rapid setting impression materials 178, 179 have been hardened, the dental device 100, including the impression materials 178, 179 connected thereto, is removed from the patient's mouth. The impression materials 178, 179 then contain an impression of the patient's upper and lower posterior teeth with the patient's mandible and maxilla in centric relation. The dental device 100 can also be used to record centric relation by extruding sufficient amounts of the previously described rapid setting impression materials 178, 179 directly onto the upper and lower teeth of the patient rather than onto the impression support assembly. Thereafter, reinserting the dental device 100 into the patient's mouth, positioning the centric bite assembly 102 between the upper and lower anterior teeth, thereby positioning the upper and lower impression support surfaces 166, 167 and 168, 169 between the upper and lower impression materials 178, 179 on the patient's upper and lower anterior teeth, biting by the patient on the dental device 100 until the impression materials 178, 179 on the patient's upper and lower teeth engage the first and second legs 160, 162 of the substantially U-shaped member 159 of the impression support assembly 104 and with enough force that the teeth make clear impression of sufficient depth in the impression materials 178, 179, maintaining this bite position until the impression materials 178, 179 adhere to the upper and lower surfaces 166, 167 and 168, 169 of the substantially U-shaped member 159 of the impression support assembly 104 and removing the dental device 100 and impression support assembly 104 with the dental impressions thereon from the patient's mouth. The dental device 100, including the impressions of the upper and lower posterior teeth in the impression materials 178, 179, then is used to position a maxillary stone model 180 and a mandibular cast 182 in proper relationship on an articulator 184 for use by the dentist in various reconstructive procedures, as has been previously described herein with reference to dental device 10. Changes may be made in the construction and the operation of the various components, elements and assemblies described herein and changes may be made in the steps or the sequence of steps of the methods described herein without departing from the spirit and scope of the invention as defined in the following claims.CROSS-REFERENCE TO RELATED APPLICATIONS
STATEMENT REGARDING FEDERALLY SPONSORED RESEARCH OR DEVELOPMENT
BACKGROUND OF THE INVENTION
FIELD OF THE INVENTION
BRIEF DESCRIPTION OF THE SEVERAL VIEWS OF THE DRAWING
DETAILED DESCRIPTION OF THE INVENTION