A method and apparatus for formation of a preformed bonded pull tab over a reseal liner is disclosed. The pull tab seal layer of material is bonded together with a reseal liner layer of material for insertion into a closure. The pull tab on the pull tab liner seal is formed prior to combination of the two layers and is folded backwards between the two layers of material. Thus, after combining the two layers, punching out the closure liner and insertion into the closure, the reseal liner is separated from the pull tab seal and the pull tab seal is adhered to the rim of the container. Only one punch press step is required for forming the closure and container seals and insertion of the members into the closure. By forming the pull tab prior to combining the two layers, an assembly of the pull tab and reseal liner is made more efficient and less time consuming.
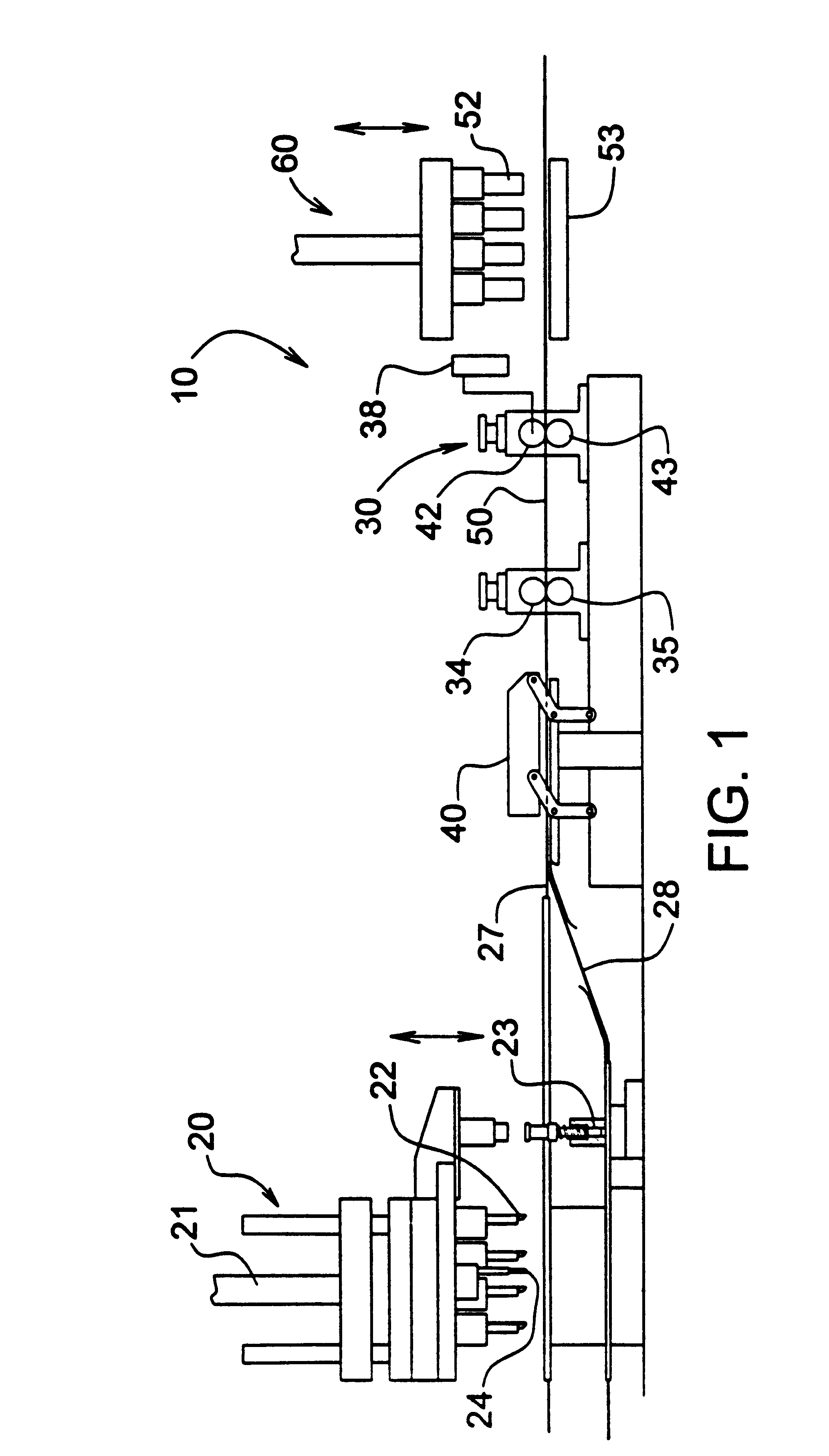
1. An apparatus for manufacturing a bonded pull tab over a reseal liner, comprising: a web of reseal liner material; a web of pull tab seal material; first tab forming punch press, said web of pull tab seal material positioned below said punch press, said first punch press further having at least one tab forming anvil extending downward therefrom and reciprocating through said web of pull tab seal material and forming at least one pull tab therein, said at least one pull tab being hingedly connected to said web of pull tab seal material, said first tab forming punch press further having a registration hole punch actuating on said web of reseal liner and said web of pull tab seal material; a folding mechanism to place said at least one pull tab against said web of pull tab seal material; a radiant heater to bond said web of pull tab seal material and said web of reseal liner material to form a combined web of material such that said at least one pull tab is compressed between said web of pull tab material and said reseal liner material; a second punch press located down line from said first tab forming punch press along said combined web of material for cutting out of said combined web of material said bonded pull tab over a reseal liner. 2. The apparatus of claim 1 wherein said web of pull tab seal material is comprised of a layer of bidirectionally strengthened material, a layer of thermoplastic material and a layer of aluminum. 3. The apparatus of claim 1 wherein said web of reseal liner material is a paper based material. 4. The apparatus of claim 1 wherein said reseal liner material is comprised of a layer of paperboard and a layer of wax. 5. The apparatus of claim 1 wherein said first tab forming punch press is further comprised of four diagonally spaced tab forming anvils. 6. The apparatus of claim 1 further comprising an optical sensor operably connected to a compression roller, said compression roller contacting said web of reseal liner material and said pull tab seal material along said formed registration holes. 7. An apparatus for manufacturing pull tab inner seal liner for a container, comprising: an inner seal liner web of material and a wax paperboard web of material; a first pull tab rotary punch press having a plurality of tab forming anvils; a conveyance motor to transport said wax paperboard web through said first pull tab rotary punch press; wherein said first pull tab rotary punch press forms a plurality of pull tabs in said inner liner web of material, said first pull tab rotary punch press further comprising a registration hole punch actuating on said inner seal liner web of material and said wax paperboard web of material; a radiant heater which receives said inner seal liner web and said wax paperboard web and creates a combined pull tab and reseal liner web; a second liner punch press which receives said combined pull tab and reseal liner web and having a plurality of reciprocating safety seal anvils thereon; wherein said second liner punch press punches out a plurality of closure pull tab and reseal liners from said combined pull tab and reseal liner web. 8. An apparatus for manufacturing a plurality of bonded pull tab over a reseal liners for closures, comprising: a pull tab seal web of material and a reseal liner web of material; a first tab forming punch press having a plurality of tab forming anvils thereon, said anvils forming a plurality of pull tabs in said pull tab seal web of material, said first tab forming punch press folding said plurality of pull tabs against said pull tab web of material; said first tab forming punch press including actuating a registration hole punch on said web of reseal liner and said web of pull tab seal material to form registration holes for further alignment; a conveyance motor for transporting said pull tab seal web through said first tab forming punch press; a radiant heater to combine said pull tab seal web and said reseal liner web such that said pull tabs are compressed therebetween and form a bonded pull tab over a reseal liner web of material alignment; a second liner punch press having a plurality of reciprocating safety seal anvils to punch out from said bonded pull tab over a reseal liner web of material said plurality of bonded pull tab over a reseal liners into said closures.
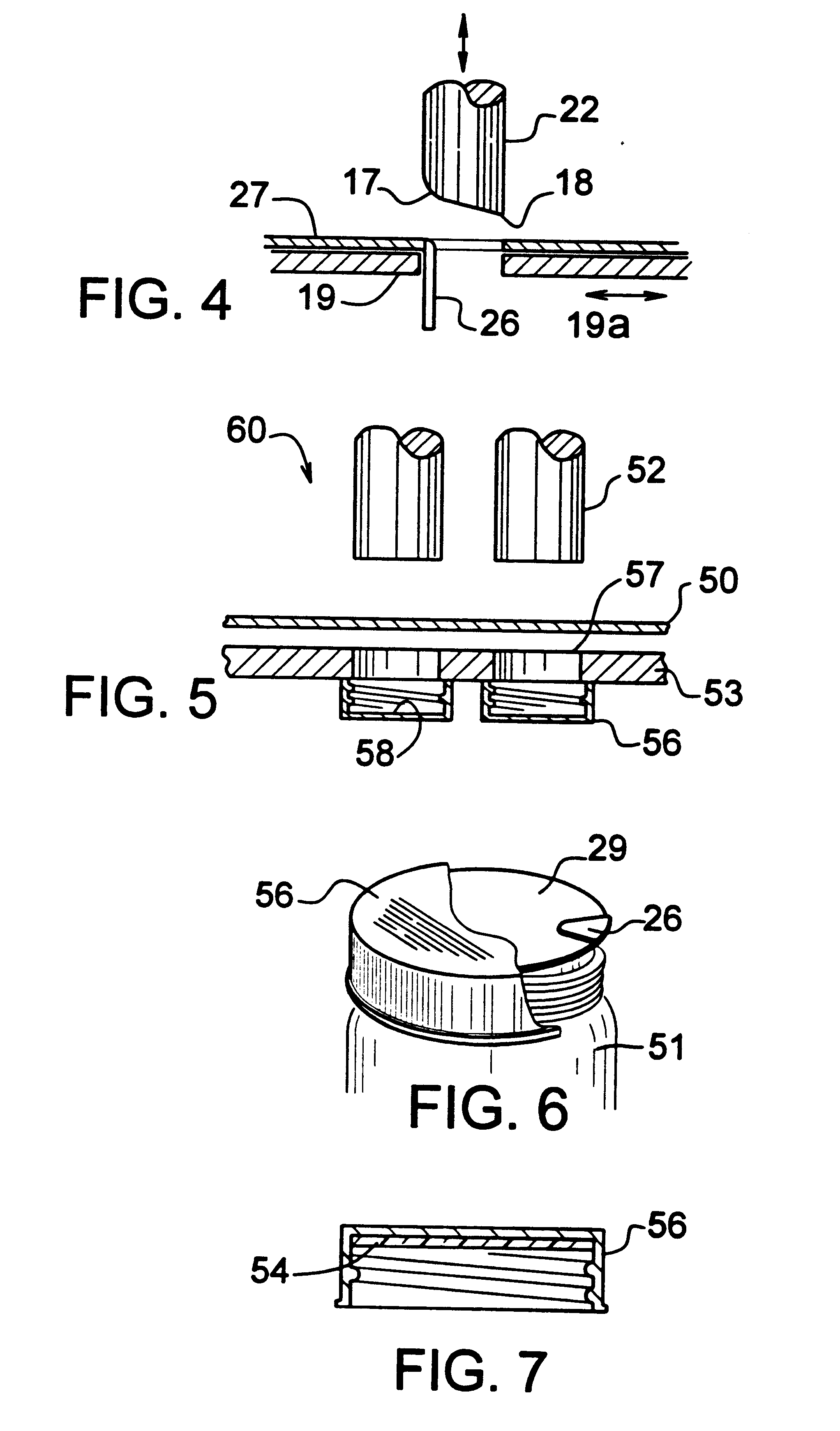
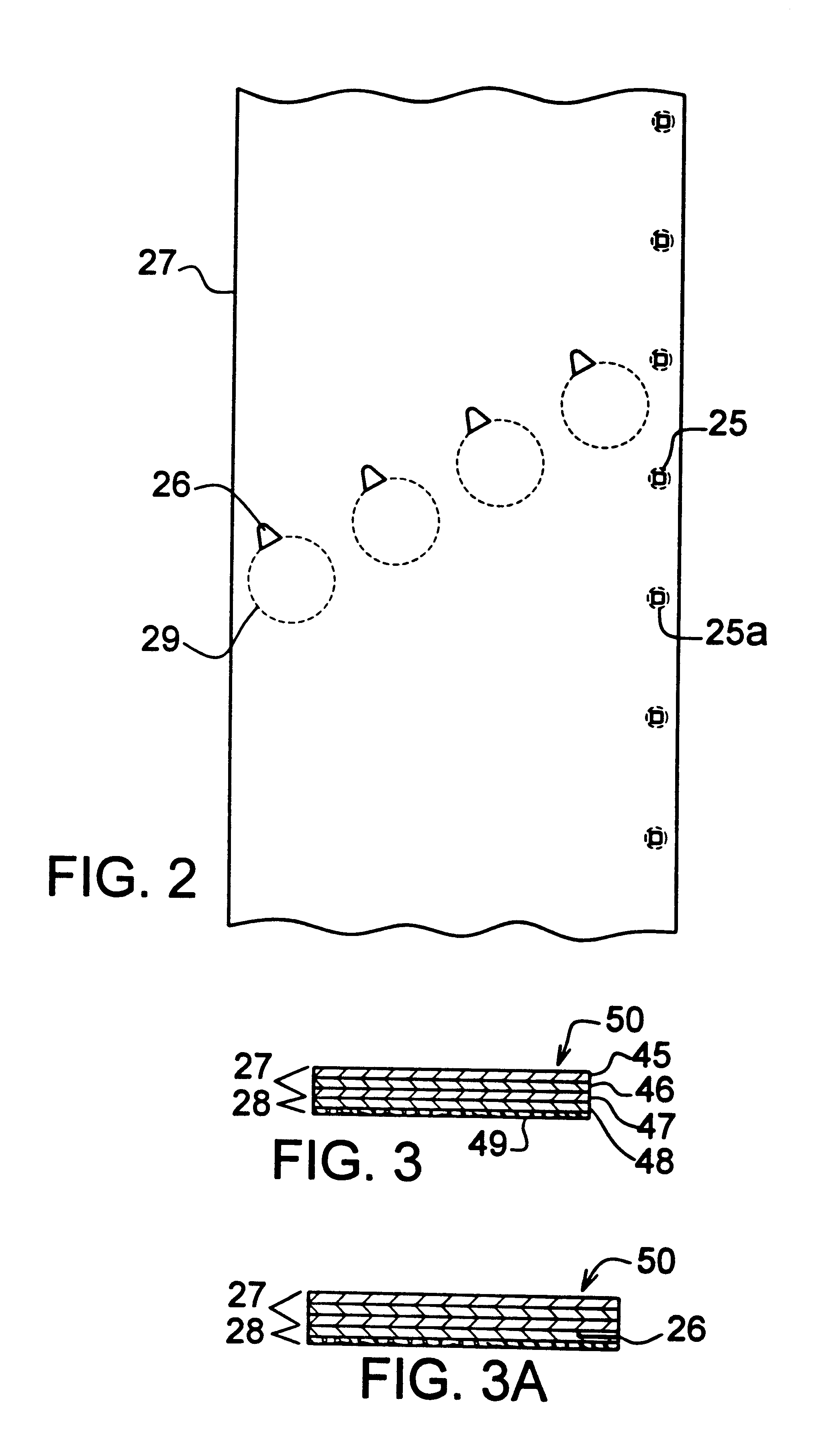
1. Field of the Invention This present invention relates to manufacturing reseal and pull tab liners which are combined in a closure and which have a pull tab for removing, upon first use, a liner adhered to the container. These types of reseal liners are manufactured and placed in the interior of a closure which is either threadably attached to a container or is snap fitted on the container neck. The pull tab liner is adhered to the rim of the container mouth and is removed by the user upon first use of the container contents. There is also a gasket or reseal liner placed in the interior of the closure to properly seal the container after removal of the pull tab liner. 2. Discussion of the Prior Art Pull tab reseal liners are fairly well known in the container and closure arts. Historically, these reseal liners are cut out of a web of material and inserted into the closure. A pull tab seal is then prepared, cut out and inserted into the closure which is then threadably screwed onto the container neck. There are many drawbacks however to the prior art manufacturing methods for generating reseal liners and pull tab liners which are adhered to the mouth or rim of a container. First and foremost, since the combined inserted liner is made of multiple layers of varying materials, multiple steps have historically been required for assembly and insertion of the pull tab liner and closure reseal liner into the closure. Additionally, these manufacturing problems have resulted in the layers of the sealing liner material being mis-aligned within the closure and possibly causing the pull tab to be improperly placed along the threads of the container lessening the accessibility of the pull tab for the user. U.S. Pat. No. 4,754,890 to Ullman et al teaches a tamper evident safety seal which is formed from a sealing liner having an integral tab portion and having a tab being double folded for release of the pull tab liner. The sealing liner for the Ullman reference combines a layer of foil and foam causing the foil to be folded over one edge and then mated with the foam before punching out the liner into the closure. However, one drawback in the tamper evident safety seal taught therein is that the fold over portion of the liner results in a large section of wasted material as opposed to utilizing only a small pull tab, as is used in most removable pull tab and reseal liner combinations. Additionally, the large section of fold over liner material can prevent the closure from sealing properly on the neck of the container before the fold over seal liner is removed thereby impeding the closure from threading onto the container completely or preventing an adequate seal of the container. There are additional methods of forming a pull tab reseal liner comprised of a first section of wax paperboard overlaid by a separate section of aluminum foil and plastic or seal material, the paperboard acting as the liner in the closure and the aluminum foil and other seal material acting as the pull tab seal liner on the container. These systems, however, such as is shown in U.S. Pat. No. 5,261,990 require the wax paperboard to be punched into the die containing the closure, and in a separate process the pull tab and liner material is separately formed and stamped into the closure for later bonding to the container rim after attachment of the closure on the container. The first layer of paperboard is glued into position against the top wall in the closure above the threads. The pull tab and liner material is then forcibly inserted and frictionally held into place by the threads until later bonding to the container. However, in this embodiment, accurate positioning of the liner material within the cap and of the pull tab is difficult because the separate layers are not combined and pressed into the closure concurrently causing positioning problems with the layers and other assembly difficulties. It is therefore an object of the present invention to overcome the deficiencies of the prior art listed above. It is another object of the present invention to provide a preformed bonded pull tab over a reseal liner which can be constructed in a single manufacturing step thereby preventing separate insertions of liner material into the closure. It is an additional object of the present invention to form pull tabs on a sealing liner which can be accurately placed and positioned for the user to remove the liner from the container and which prevents the pull tab from being folded under the liner material or being creased along the threads of the container. It is a further object of the present invention to provide an improved method and apparatus for construction of a preformed bonded pull tab which efficiently utilizes the lining material with limited waste and which can feed a combined paperboard and pull tab liner sheet of material through a standard lining machine for punching into a closure. Finally, the present invention comprises a method for manufacturing a bonded pull tab over a reseal liner for a closure, comprising: forming pull tabs in a pull tab liner web of material; folding said pull tabs backwards and underneath said pull tab liner web; forming a bonded pull tab over a reseal liner by joining said pull tab liner web with a reseal liner web such that said pull tab is compressed therebetween; punching out into a closure said combined seals. Additionally, the present invention comprises an apparatus for manufacturing a bonded pull tab over a reseal liner, comprising; a web of reseal liner material; a web of pull tab seal material; a tab forming punch press, said web of pull tab seal material positioned below said punch press, said punch press further having at least one tab forming anvil extending downward therefrom and reciprocating through said web of pull tab seal material and forming at least one pull tab therein; means to fold said at least one pull tab backward against said web of pull tab seal material; a radiant heater to bond said web of pull tab seal material and said web of reseal liner material to form a combined web of material such that said at least one pull tab is compressed between said web of pull tab material and said reseal liner material; and a punch press for cutting out said combined web of material. Finally, the present invention creates a web of bonded pull tab over a reseal liner material, comprising: a layer of pull tab liner material, said material having a pull tab formed therethrough; a layer of reseal liner material; wherein said pull tab is compressed between said layer of pull tab liner material and said layer of reseal liner material. These and other objects and the nature and advantages of the instant invention will be more apparent from the following detailed description of various embodiments of the invention taken in conjunction with the included drawings. A better understanding of the invention will be had upon reference to the following description in conjunction with the accompanying drawings in which like numerals refer to like parts and wherein: With reference to Tab forming anvils 22, the diagonal positioning of which is more clearly shown in Registration holes 25 Turning to Turning to In conjunction with the pull tab web 27, a mating web of material comprising wax and paperboard 28 is utilized in combination to provide the formed closure reseal liner 54 shown in FIG. 7. Wax paperboard 28 is comprised of a pulp or other paper material 49 above which is a layer of wax material 48 shown in FIG. 3. These materials comprise the paperboard web 28. Above the wax material 48 after joining of the two distinct web layers 27 and 28 is aluminum foil 47 or other metallic structure for the welding step of the pull tab liner 29 to the container. The foil 47 is formed as a part of the pull tab membrane 27 separate from paperboard 28. As a result, as shown in As seen by the schematic outline of Examining Returning to Returning to the schematic of As previously indicated, larger registration holes 25 Referring now to In As shown in The foregoing detailed description is given primarily for clearness of understanding and no unnecessary limitations are to be understood therefrom for modifications will become obvious to those skilled in the art upon reading this disclosure and may be made without departing from the spirit of the invention or the scope of the appended claims.BACKGROUND OF THE INVENTION
SUMMARY OF THE INVENTION
BRIEF DESCRIPTION OF THE DRAWINGS
DETAILED DESCRIPTION OF THE PREFERRED EMBODIMENT