The vehicular door lock device includes a casing fixed to a door and having a bulged portion defining an ingress passage receiving a striker on a vehicle body. A latch is supported on the casing for engagement with the striker for turning movement. A ratchet on the casing is for engagement and disengagement with and from the latch. An open lever is turnable on the casing and receives an operating force for releasing a locking state having the ratchet engaged with the latch. An internal operating-force inputting device transmits to the open lever a door opening operation force depending on the door opening operation within the vehicle. A locked-state switch-over device has an open link connected at one end to the open lever and switches over to an unlocked state to operate the ratchet from the engaged position to the disengaged position in response to the open lever turning, and a locked state inhibiting the ratchet from going to the disengaged position, irrespective of the turning movement of the open lever. The open link extends along a plane perpendicular to a lengthwise direction of the ingress passage and, is disposed sideways of the bulged portion on an opposite side from an inlet of the passage. The space occupied by the door lock device in the direction to avoid interference with a glass sash, along the thickness of a door can be small, and the door internal structure and thickness can be designed as desired.
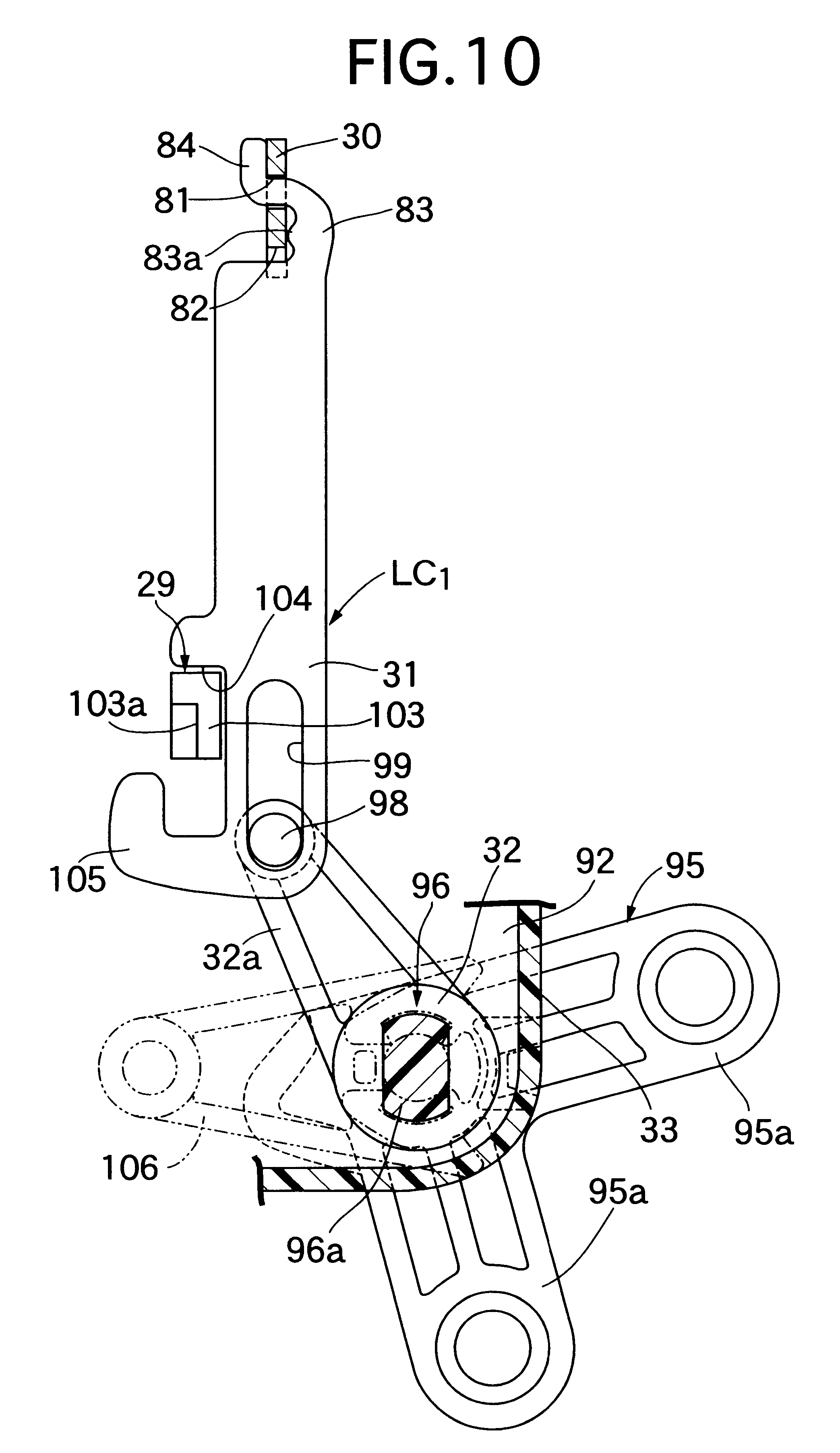
1. A door lock device for a vehicle, comprising a casing (261, 262, 263) fixed to a door (DF, DR) and having a bulged portion (41) which is bulged inwards of said door (DF, DR) to define an ingress passage (40) into which a striker (39) on a vehicle body (20) side enters; a latch (27) turnably supported on said casing (261, 262, 263) to be brought into engagement with said striker (39) entering said ingress passage (40) for turning movement; a ratchet (28) supported on said casing (261, 262, 263) for turning movement between an engaged position in which said ratchet (28) is engaged with said latch (27) and a disengaged position in which such engagement is released; an open lever (30) turnably carried on said casing (261, 262, 263) and capable of receiving an operating force for releasing a locking state in which said ratchet (28) is in engagement with said latch (27); an internal operating-force inputting means (PI1, PI2, PIF, PIR) connected to said open lever (30) to transmit to said open lever (30) a door opening operation force depending on a door opening operation within the vehicle; a locked-state switch-over means (LC1, LC2, LCF, LCR) which includes an open link (31) connected at one end thereof to said open lever (30) and which is capable of switching over an unlocked state in which said ratchet (28) can be operated from the engaged position to the disengaged position in response to the turning movement of said open lever (30) following input of said door opening operation force, and a locked state in which the operation of said ratchet (28) from the engaged position to the disengaged position is impossible irrespective of the turning movement of said open lever (30) following the input of said door opening operation force, wherein said open link (31) extends along a plane perpendicular to a lengthwise direction of said ingress passage (40) and is capable of being operated within said plane, said open link being disposed sideways of said bulged portion (41) on an opposite side from an inlet (40 2. A door lock device according to claim 1, wherein said locked-state switch-over means (LC1, LC2, LCF, LCR) includes at least said open link (31), and a locking lever (32) connected to the other end of said open link (31) for operation between an unlocking position in which an operating force for operating said ratchet (28) from the engaged position to the disengaged position in response to the operation of said open lever (30) following the input of said opening operation force can be transmitted from said open link (31) to said ratchet (28), and a locking position in which the transmission of said operating force from said open link (31) to said ratchet (28) is made impossible, irrespective of the operation of said open lever (30), and wherein a cover (33, 111, 151) is mounted to said casing (261, 262, 263) to cover said open link (31) and said locking lever (32) said cover being provided with a guide groove (91) for guiding the operation of said open link (31). 3. A door lock device according to claim 2, further including a plurality of ribs (93) which are fixedly provided on an inner side of said guide groove (91) to come into sliding contact with opposite sides of said open link (31). 4. A door lock device according to claim 2, further including a knob lever (95, 110, 110F, 110R) which is connected to said locking lever (32) to operate said locking lever (32) between the unlocking position and the locking position, said knob lever (95, 110, 110F, 110R) being integrally provided with a shaft section (96, 122) having the same axis as a turning axis of said knob lever (95, 110, 110F, 110R), said locking lever (32) being relatively non-turnably connected to said shaft section (96, 122). 5. A door lock device according to claim 4, further including a cylinder lever (106) connected to a key cylinder lock (107) and connected to said shaft section (96, 122) for turning movement in unison with each other about the same axis as said shaft section (96, 122). 6. A door lock device according to claim 4, wherein said shaft section (96, 122) of said knob lever (95, 110, 110F, 110R) is turnably supported on said cover (33, 111, 151). 7. A door lock device according to claim 1, further including a ratchet lever (29) connected to said ratchet (28) so as to be capable of transmitting the operating force from said open link (31) to said ratchet (28), said ratchet lever (29) being disposed in a coaxially superposed manner on said ratchet (28) against turning movement relative to said ratchet (28). 8. A door lock device according to claim 7, wherein said ratchet (28) comprises a ratchet body (67) made of a metal, said ratchet body (67) being covered at most thereof with a covering member (68) made of a synthetic resin, said covering member (68) having a resilient stopper (68 9. A door lock device according to claim 8, wherein said resilient stopper (68 10. A door lock device according to claim 1, wherein said locked-state switch-over means (LC1, LC2, LCF, LCR) includes at least said open link (31), and a locking lever (32) connected to the other end of said open link (31) for operation between an unlocking position in which an operating force for operating said ratchet (28) from the engaged position to the disengaged position in response to the operation of said open lever (30) following the input of said opening operation force can be transmitted from said open link (31) to said ratchet (28), and a locking position in which the transmission of said operating force from said open link (31) to said ratchet (28) is made impossible, irrespective of the operation of said open lever (30), and wherein said door lock device further includes an actuator (112) which is fixedly supported on said casing (262, 263) so as to be capable of turning said locking lever (32), said actuator (112) including an output shaft (142) coaxially connected to said locking lever (32). 11. A door lock device according to claim 2, wherein said cover (111, 151) is resiliently engaged with said casing (262, 263), in a manner to be attachable and detachable in an operating direction (121) parallel to the turning axes of said latch (27) and said ratchet (28); an actuator (112) being connected to said locking lever (32) and brought into resilient engagement with said cover (111, 151) from the side of said casing (262, 263), so that the position thereof relative to said cover (111, 151) in a plane perpendicular to the operating direction (121) is invariable; and said casing (262, 263) is provided with a limiting plate portion (78, 153) which is opposed to said actuator (112) to inhibit leaving of said actuator (112) from said cover (111, 151). 12. A door lock device according to claim 2, wherein said cover (111, 151) is mounted to said casing (262) to cover at least a knob lever (110, 110F, 110R) coaxially connected to said locking lever (32), said open link (31) and said locking lever (32), is provided with a support bore (131), and said door lock device further includes a connecting lever (124) which is disposed inwardly of said cover (111, 151), turnably carried on said cover (111, 151) and connected to said knob lever (110, 110F, 110R) to transmit to said knob lever (110, 110F, 110R) an operating force depending on the operation of a locking knob, said connecting lever(124) being integrally provided with a shaft section (125) which is inserted into said support bore (131) for turning movement about an axis of said shaft portion and which has a plurality of engage claws (132) resiliently engaged with a periphery of said support bore (131) on the side of an outer surface of said cover (111, 151), said outer surface of said cover (111, 151) being provided with a covering portion (133) which covers at least an upper portion and an outer end of said shaft section (125). 13. A door lock device according to claim 1, wherein said door is either a front side door (DF) or a rear side door (DR), and said internal operating-force inputting means (PIF, PIR) and said locked-state switch-over means (LCF, LCR) are formed in a different construction for said front side door (DF) or said rear side door (DR) in the vehicle, wherein a common unit (UC) is comprised of the casing (263) as a common casing capable of being mounted to either of the front side door (DF) and rear side door (DR), and a plurality of common parts (27, 28, 29, 30, 59, 73 and 75) including said latch (27), said ratchet (28) and said open lever (30) mounted to said casing as common to the front side door (DF) and the rear side door (DR), and wherein a (151) is formed into a shape common to the front side door (DF) and the rear side door (DR) and mounted to said casing (26) while covering said common unit (UC), so that any of said internal operating-force inputting means (PIF) and said locked-state switch-over means (LCF) for the front side door (DF) and said internal operating-force inputting means (PIR) and said locked-state switch-over means (LCR) for the rear side door (DR) can selectively be mounted to said cover (151). 14. A door lock device according to claim 1, wherein a cover (151) mounted to said casing (263) to cover said locked-state switch-over means (LCF, LCR) comprises a cover body (152) made of a synthetic resin and a support plate (153) coupled to said cover body (152), and said internal operating-force inputting means (PIF, PIR) includes an input lever (77) which is turnably supported on a support shaft (162) integrally provided on said cover body (152) with a tip end of said support shaft (162) supported on said support plate (153). 15. A door lock device according to claim 14, wherein said internal operating-force inputting means (PIF) comprises an internal operating-force transmitting means for a front side door (DF) which comprises a single input lever (77) turnably supported on said support shaft (162) for turning said open lever (30) in response to inputting of the door opening operation force and an internal operating-force inputting means (PIR) for a rear side door (DR) which includes a first input lever (165) turnably supported on said support shaft (162) so as to be capable of receiving the door opening operation force, and a second input lever (166) connected to said open lever (30) and turnably supported on said support shaft (162), such that the connection and disconnection of said second input lever (166) to and from said first input lever (165) can be switched over from one to another; and said support shaft (162) is formed into a stepped fashion and includes a small-diameter support portion (162
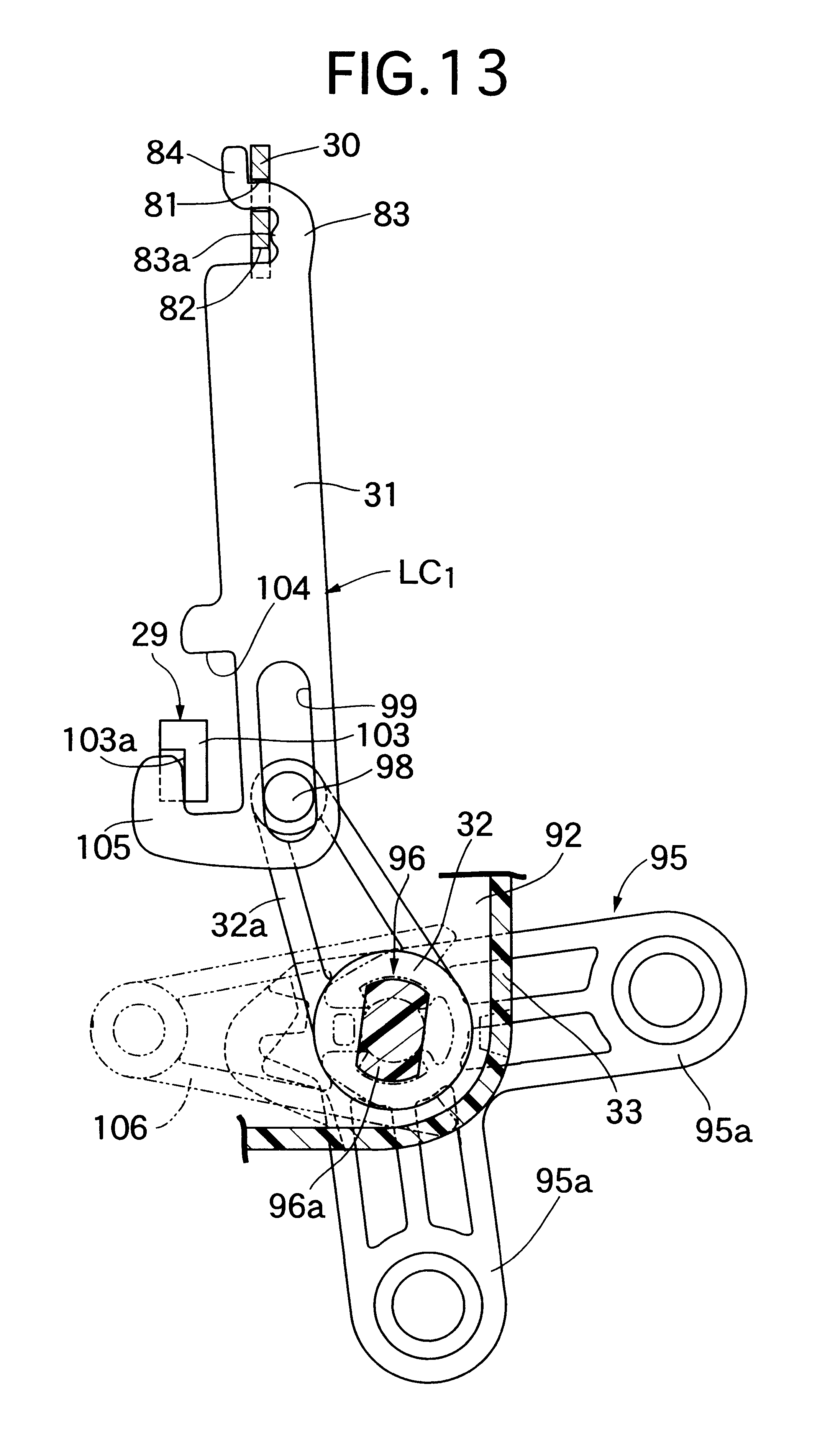
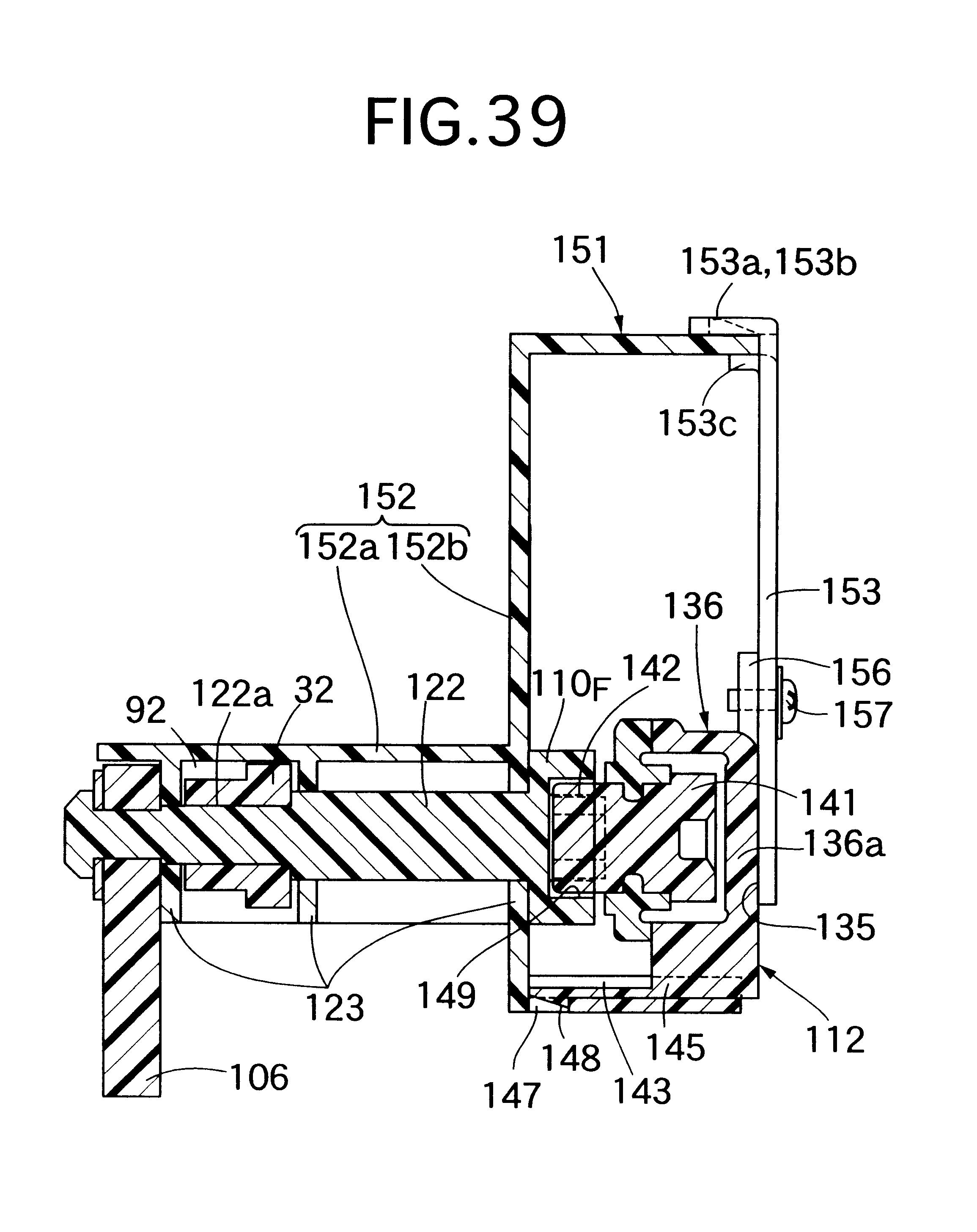
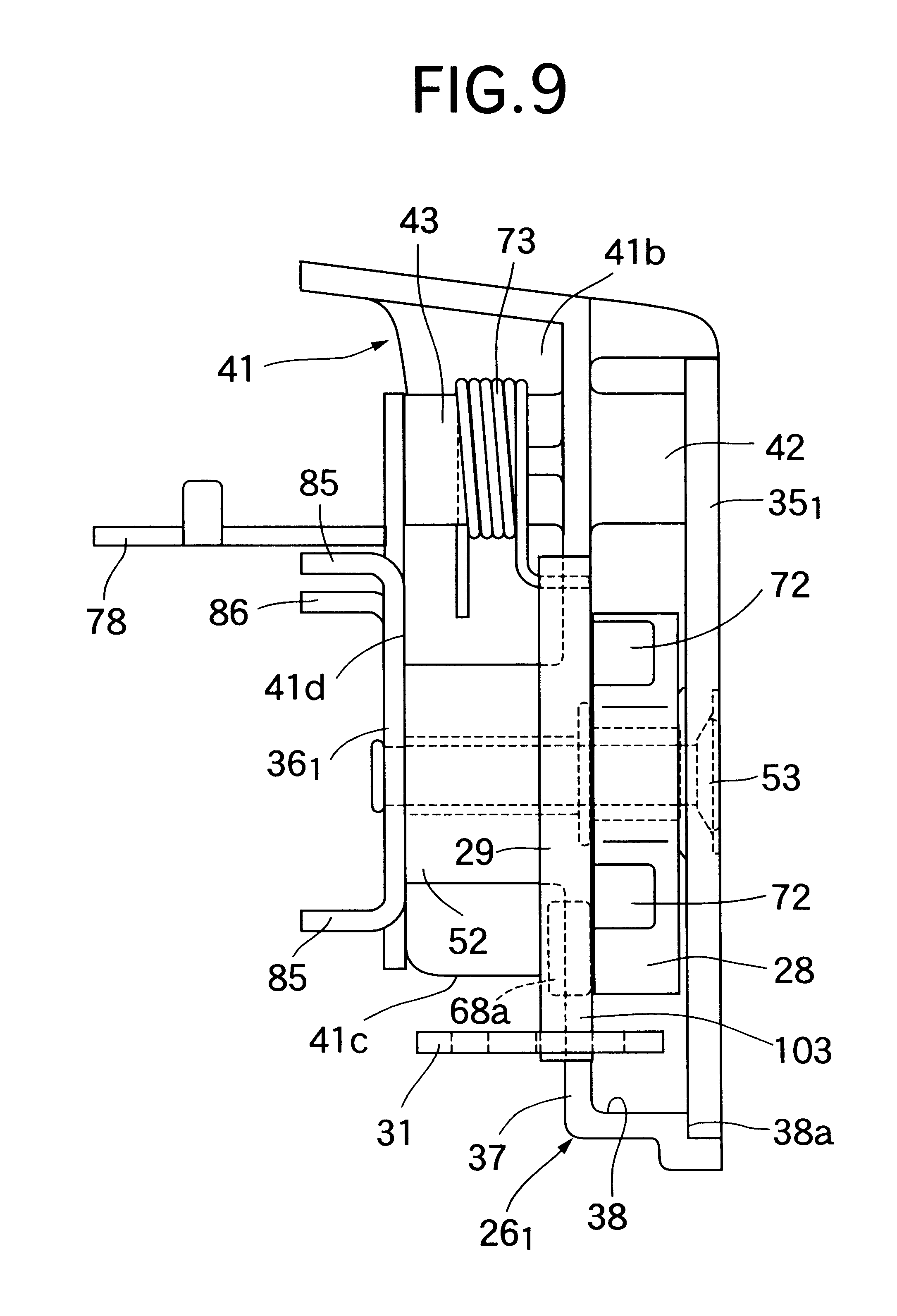
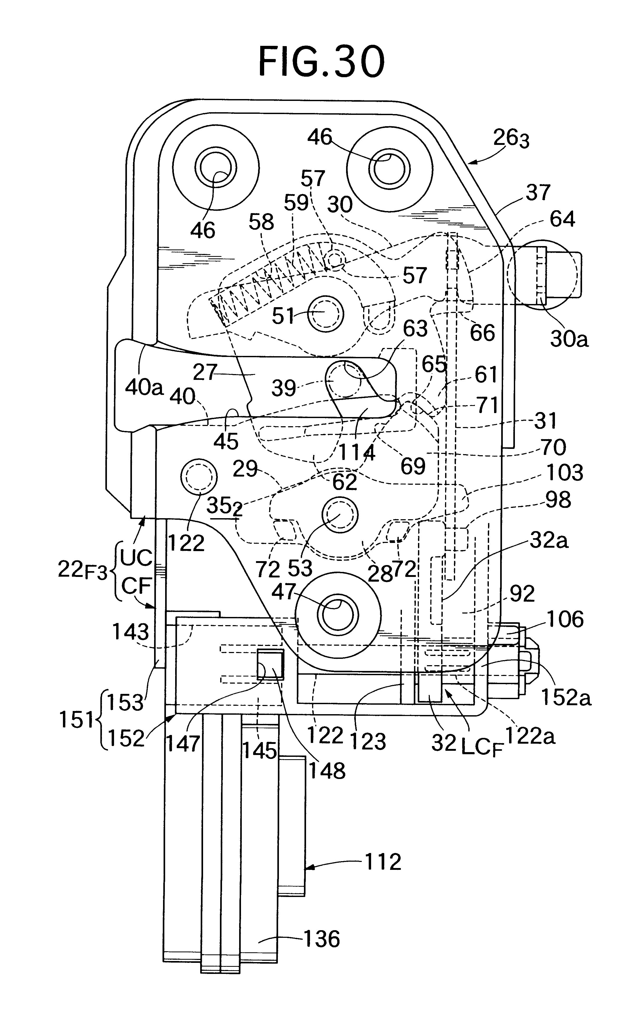
1. Field of the Invention The present invention relates to a door lock device for a vehicle and particularly, to a door lock device for a vehicle, including a casing fixed to a door and having a bulged portion which defines an ingress passage, a latch adapted to be engaged with a striker entering the ingress passage for turning movement, a ratchet capable of being turned between an engaged position in which the ratchet is engaged with the latch and a disengaged position in which such engagement is released, an open link connected at one end thereof to an open lever, and a locking lever connected to the other end of the open link. 2. Description of the Related Art Such a door lock device is conventionally known, for example, from Japanese Patent Publication No.5-51750 and the like. Such a door lock device is mounted to one end of a door which is pivotally supported at the other end thereof to a vehicle body for turning movement, and the back of a bulged portion included in a casing is disposed to face toward a glass sash which is mounted within the door so as to guide the lifting and lowering movements of a glass pane. In the door lock device disclosed in the above Japanese Patent Publication No.5-51750, however, the open link capable of swinging movement within a plane parallel to the turning axes of the latch and the ratchet is disposed on the back of the bulged portion. For this reason, the space occupied in the thickness-wise direction of the door by the door lock device is relatively large, and the degree of freedom in setting the thickness of the door is decreased. Accordingly, it is an object of the present invention to provide a door lock device for a vehicle, wherein the space occupied by the door lock device in a direction to avoid the interference with the glass sash and in the thickness-wise direction of the door can be set at an extremely small value, and the degree of freedom in setting the door internal structure and the thickness of the door can be increased. To achieve the above object, according to a first aspect and feature of the present invention, there is provided a door lock device for a vehicle, comprising a casing fixed to a door and having a bulged portion which is bulged inwards of the door to define an ingress passage into which a striker on a vehicle body side enters; a latch turnably supported on the casing, to be brought into engagement with the striker entering into the ingress passage for turning movement; a ratchet supported on the casing for turning movement between an engaged position in which the ratchet is engaged with the latch and a disengaged position in which such engagement is released; an open lever turnably carried on the casing and capable of receiving an operating force for releasing a locking state in which the ratchet is in engagement with the latch; an internal operating-force inputting means connected to the open lever to transmit to the open lever a door opening operation force depending on the door opening operation within the vehicle; a locked-state switch-over means which includes an open link connected at one end thereof to the open lever and which is capable of switching over an unlocked state in which the ratchet can be operated from the engaged position to the disengaged position in response to the turning movement of the open lever following input of the door opening operation force, and a locked state in which the operation of the ratchet from the engaged position to the disengaged position is impossible irrespective of the turning movement of the open lever following the input of the door opening operation force, wherein the open link which extends along a plane perpendicular to a lengthwise direction of the ingress passage and which is capable of being operated within such plane, is disposed sideways of the bulged portion on an opposite side from an inlet of the ingress passage. With the arrangement of the above first feature, the open link can be operably disposed by effectively utilizing a space occupied by the bulged portion included in the casing, and a relatively large unoccupied space can be ensured between the door lock device and a glass sash, because it is unnecessary to ensure a large space required for the operation of the open link on the side of a back of the bulged portion. In addition, since the open link extends along the plane perpendicular to the lengthwise direction of the ingress passage, the space for the open link disposed sideways of the bulged portion on the side opposite from the inlet of the ingress passage may be small and hence, the space occupied in the thickness-wise direction of the door by the door lock device may also be small. According to a second aspect and feature of the present invention, in addition to the arrangement of the first feature, the locked-state switch-over means includes at least the open link, and a locking lever connected to the other end of the open link for operation between an unlocking position in which an operating force for operating the ratchet from the engaged position to the disengaged position in response to the operation of the open lever following the input of the opening operation force can be transmitted from the open link to the ratchet, and a locking position in which the transmission of the operating force from the open link to the ratchet is impossible, irrespective of the operation of the open lever, and wherein the cover mounted to the casing to cover the open link and the locking lever is provided with a guide groove for guiding the operation of the open link. With such arrangement, since the open link and the locking lever are covered with the cover an exclusive tool cannot be inserted into the door to be engaged with the open link or the locking lever. Thus, it is possible to prevent the open link or the locking lever from being operated as undesired by the exclusive tool and hence, the steal-preventing property can be enhanced. Moreover, the open link can reliably be operated by guiding the operation of the open link in the guide groove provided in the cover. According to a third aspect and feature of the present invention, in addition to the arrangement of the second feature, a plurality of ribs are fixedly provided on an inner side of the guide groove to come into sliding contact with opposite sides of the open link. With such arrangement, the chattering of the open link can reliably be eliminated, thereby effectively preventing the generation of noise during traveling of the vehicle or during opening and closing of the door. According to a fourth aspect and feature of the present invention, in addition to the arrangement of the second feature, a knob lever is connected to the locking lever to operate the locking lever between the unlocking position and the locking position, the knob lever being integrally provided with a shaft section having the same axis as a turning axis of the knob lever, and the locking lever is relatively non-turnably connected to the shaft section. With such arrangement, since the locking lever is relatively non-turnably connected to the shaft section integral with the knob lever, the locking lever and the knob lever can be supported commonly, and can be supported for turning movement by a small number of parts and in a small number of assembling steps. Moreover, the locking lever and the knob lever are turned in unison with each other about the same axis, leading to an excellent efficiency of transmission of the force between the knob lever and the locking lever. According to a fifth aspect and feature of the present invention, in addition to the arrangement of the fourth feature, a cylinder lever connected to a key cylinder lock is connected to the shaft section for turning movement in unison with each other about the same axis as the shaft section. With such arrangement, the cylinder lever, in addition to the knob lever and the locking lever, can be turned about the same axis, and the knob lever, the locking lever and the cylinder lever can be supported for turning movement by a small number of parts and in a small number of assembling steps, while the efficiency of transmission of the force between the cylinder lever and the locking lever can also be enhanced. According to a sixth aspect and feature of the present invention, in addition to the arrangement of the fourth feature, the shaft section of the knob lever is turnably supported on the cover. With such arrangement, the number of parts can be reduced by supporting the shaft section of the knob lever on the cover for enhancing the steal-preventing property. More specifically, if the open link and the locking lever are disposed in an exposed manner within the door, the exclusive tool inserted into the door can be brought into engagement with either one of the open link and the locking lever to operate the open link or the locking lever as undesired and hence, there is a possibility that the vehicle may be stolen. According to the present invention, however, it is impossible to bring the exclusive tool into engagement with the open link or the locking lever by the cover, whereby the steal-preventing property can be enhanced. Since the shaft section integral with the knob lever is supported on the cover for enhancing the steal-preventing property, any exclusive component for supporting the shaft section is not required other than the cover, which can contribute to a reduction in the number of parts. According to a seventh aspect and feature of the present invention, in addition to the arrangement of the first feature, a ratchet lever connected to the ratchet so as to be capable of transmitting the operating force from the open link to the ratchet is disposed in a coaxially superposed manner on the ratchet against turning movement relative to the ratchet. With such arrangement, since the ratchet lever is disposed in the coaxially superposed manner on the ratchet and moreover, the ratchet lever is non-turnable relative to the ratchet, the ratchet and ratchet lever can be supported commonly for turning movement, thereby reducing the number of parts and enhancing the efficiency of transmission of the force between the ratchet lever and the ratchet. Moreover, the ratchet and the ratchet lever can be connected to each other in a compact arrangement, thereby making the door lock device compact. According to an eighth aspect and feature of the present invention, in addition to the arrangement of the seventh feature, the ratchet comprises a ratchet body made of a metal, the ratchet body being covered at most thereof with a covering member made of a synthetic resin, the covering member having a resilient stopper integrally formed thereon to protrude from the ratchet in a direction parallel to the turning axis of the ratchet, the stopper being operable to abut against a casing to define an end of turning movement of the ratchet in a direction to be engaged with the latch. With such arrangement, since the end of turning movement of the ratchet in the direction to be engaged with the latch is defined by the abutment of the resilient stopper against the casing, a shock sound generated upon abutment of the resilient stopper against the casing to define the end of turning movement can be absorbed by the resilient action of the resilient stopper to prevent the generation of noise. Moreover, since the resilient stopper protrudes from the ratchet in the direction parallel to the turning axis of the ratchet, the space occupied by the ratchet within a plane perpendicular to such turning axis can be reduced, as compared with a case where the stopper protrudes radially from the turning axis, thereby providing a reduction in size of the ratchet and in turn, a reduction in size of the casing. According to a ninth aspect and feature of the present invention, in addition to the arrangement of the eighth feature, the resilient stopper is disposed on the ratchet at a location in which the stopper is sandwiched between the casing and the ratchet lever when the stopper is in abutment against the casing. With such arrangement, the durability of the resilient stopper can be enhanced by supporting the resilient stopper on the ratchet lever. According to a tenth aspect and feature of the present invention, in addition to the arrangement of the first feature, the locked-state switch-over means includes at least the open link, and a locking lever connected to the other end of the open link for operation between an unlocking position in which an operating force for operating the ratchet from the engaged position to the disengaged position in response to the operation of the open lever following the input of the opening operation force can be transmitted from the open link to the ratchet, and a locking position in which the transmission of the operating force from the open link to the ratchet is impossible, irrespective of the operation of the open lever, and an actuator is fixedly supported on the casing so as to be capable of turning the locking lever, and includes an output shaft coaxially connected to the locking lever. With such arrangement, since the output shaft of the actuator is coaxially connected to the locking lever, it is not required that a connecting member is mounted between the output shaft of the actuator and the locking lever. Thus, it is possible not only to reduce the number of the parts and enhance the assemblability, but also to enhance the efficiency of transmission of the power between the actuator and the locking lever. According to an eleventh aspect and feature of the present invention, in addition to the arrangement of the second feature, the cover is resiliently engaged with the casing, in a manner to be attachable and detachable in an operating direction parallel to the turning axes of the latch and the ratchet; an actuator is connected to the locking lever and brought into resilient engagement with the cover from the side of the casing, so that the position thereof relative to the cover in a plane perpendicular to the operating direction is invariable; and the casing is provided with a limiting plate portion which is opposed to the actuator to inhibit leaving of the actuator from the cover. With such arrangement, the actuator is clamped and fixed between the limiting plate portion of the casing and the cover by bringing the cover into resilient engagement with the casing in a state in which the actuator has been brought into resilient engagement with the cover from the side of the casing. Thus, the actuator can easily be assembled without use of a fastening part such as a machine screw, and the assembling operability can be enhanced. According to a twelfth aspect and feature of the present invention, in addition to the arrangement of the second feature, the cover mounted to the casing to cover at least a knob lever coaxially connected to the locking lever, the open link, and the locking lever, is provided with a support bore, and the door lock device further includes a connecting lever which is disposed inwardly of the cover, turnably carried on the cover and connected to the knob lever to transmit to the knob lever an operating force depending on the operation of a locking knob, the connecting lever being integrally provided with a shaft section which is inserted into the support bore for turning movement about an axis of the shaft portion and which has a plurality of engage claws resiliently engaged with a periphery of the support bore on the side of an outer surface of the cover, the outer surface of the cover being provided with a covering portion which covers at least an upper portion and an outer end of the shaft section. With such arrangement, by inserting the shaft section integrally connected to the connecting lever into the support bore in the cover, the shaft section, namely, the connecting lever is attached to the cover for turning movement about the axis but against axial movement and hence, it is easy to assemble the connecting lever to the cover. Moreover, since at least the upper portion and the outer end of the shaft section are covered with the covering portion provided on the cover, wrong access from the outside to the shaft section is impossible. Moreover, an external force is prevented from being applied to the shaft section of the connecting lever in a direction to permit the shaft section to leave the support bore at an assembling step or at a transporting stage, and hence, the connecting lever cannot be disconnected out of the cover. According to a thirteenth aspect and feature of the present invention, in addition to the arrangement of the first feature, the internal operating-force inputting means and the locked-state switch-over means are formed in different constructions for a front side door and a rear side door in the vehicle, wherein a common unit is comprised of the casing as a common casing capable of being mounted to either of the front side door and the rear side door, and a plurality of common parts including the latch, the ratchet and the open lever mounted to the casing as common to the front side door and the rear side door, and wherein the cover is formed into a shape common to the front side door and the rear side door and mounted to the casing while covering the common unit, so that any of the internal operating-force inputting means and the locked-state switch-over means for the front side door and the internal operating-force inputting means and the locked-state switch-over means for the rear side door can selectively be mounted to the cover. With such arrangement, since the common unit is formed of the casing and the plurality of common parts mounted to the casing, a portion of the door lock device can be assembled without distinction between the use in the front side door and the use in the rear side door. In addition, since any of the internal operating-force inputting means and the locked-state switch-over means for the front side door and the internal operating-force inputting means and the locked-state switch-over means for the rear side door can be selectively mounted to the cover common to the front side door and the rear side door, the assemblability of the door lock device can be enhanced, and the large number of parts can be used commonly in the door lock devices for the front side door and the rear side door, thereby providing a reduction in cost, while facilitating the management of the parts. According to a fourteenth aspect and feature of the present invention, in addition to the arrangement of the first feature, the cover mounted to the casing to cover the locked-state switch-over means comprises a cover body made of a synthetic resin and a support plate coupled to the cover body, and the internal operating-force inputting means includes an input lever which is turnably supported on a support shaft integrally provided on the cover body with a tip end of the support shaft supported on the support plate. With such arrangement, since the input lever of the internal operating-force inputting means is turnably supported on the support shaft integrally provided on the cover body made of the synthetic resin, the number of parts can be reduced and the assembling operation can be facilitated, as compared with a case where the input lever is supported using a rivet or rivets. Moreover, since the tip end of the support shaft integral with the cover body is supported on the support plate coupled to the cover body, the support shaft is dual-supported, or supported at two locations, whereby the strength of supporting of the input lever can be enhanced. According to a fifteenth aspect and feature of the present invention, in addition to the arrangement of the fourteenth feature, the internal operating-force inputting means for a front side door comprises a single input lever turnably supported on the support shaft for turning the open lever in response to inputting of a door opening operation force; the internal operating-force inputting means for a rear side door includes a first input lever turnably supported on the support shaft so as to be capable of receiving the door opening operation force, and a second input lever connected to the open lever and turnably supported on the support shaft, such that the connection and disconnection of the second input lever to and from the first input lever can be switched over from one to another; and the support shaft is formed into a stepped fashion and includes a large-diameter support portion on which the second input lever included in the internal operating-force inputting means for the rear side door can be turnably supported, and a small-diameter support portion which is coaxially connected to the large-diameter support portion and which selectively and turnably supports the single input lever included in the internal operating-force inputting means for the front side door and the first input lever included in the internal operating-force inputting means for the rear side. With such arrangement, the input lever of the internal operating-force inputting means can be supported on the support shaft, even when it is used for the front side door or for the rear side door. Therefore, the cover can be used commonly for the front side door and for the rear side door, thereby simplifying the management of the parts or components. The above and other objects, features and advantages of the invention will become apparent from the following description of the preferred embodiment taken in conjunction with the accompanying drawings. A first embodiment of the present invention will now be described by way of an embodiment with reference to Referring first to The door lock devices 22F1and 22Rhave basically the same construction, and the door lock device 22F1mounted on the front side door DFwill be described below. Referring also to An end wall 25 Referring also to Referring also to The casing body 37 is integrally provided with a bulged portion 41 which is bulged away from the surface plate 351, and an ingress passage 40, which opens into the recess 38, is defined by the bulged portion 41 to permit the entering of a striker 39 (see A cylindrical boss portion 42 is integrally provided in a projecting manner on a lower portion of a section of the casing body 37 which is opposed to the surface plate 351, with a tip end face of the boss portion 42 being connected flush to the step 38 A flat support surface 37 In this manner, the surface plate 351, the back plate 361and the casing body 37 are coupled by the screw member 44 and the pair of rivet shafts 51 and 53 in such a manner that the casing body 37 is sandwiched between the surface and back plates 351and 361, thereby forming the casing 261. An opening 45 corresponding to the ingress passage 40 is provided in the surface plate 351. A pair of threaded bores 46, 46 are provided in an upper portion of the surface plate 351, and a single threaded bore 47 is provided in a lower portion of the surface plate 351at a portion protruding downwards from the casing body 37. The surface plate 351and the casing 261are fastened to the end wall 25 Accommodating cylindrical portions 48, 48 formed into a bottomed cylinder shape are integrally provided on the casing body 37 at locations corresponding to the two threaded bores 46, 46 in the upper portion of the surface plate 351to accommodate the bolts screwed into the threaded bores 46, 46, so that they open into the recess 38. The latch 27 is inserted between the surface plate 351and the casing body 37 of the casing 261and turnably carried by the rivet shaft 51. The ratchet 28 and the ratchet lever 29 are disposed in a superposed manner between the surface plate 351and the protrusion support portion 52 and turnably carried by the common rivet shaft 53. Namely, the latch 27 is turnably supported on the casing 261above the ingress passage 40, while the ratchet 28 and the ratchet lever 29 are turnably supported on the casing 261below the ingress passage 40 in such a manner that the ingress passage 40 is sandwiched between the ratchet 28 as well as the ratchet lever 29 and the latch 27. Moreover, the rivet shafts 51 and 53 have parallel axes, and the latch 27 and the ratchet 28 as well as the ratchet lever 29 are turnable about parallel axes. Referring particularly to The latch 27 is provided with (1) a first leg 61 which protrudes outwards, so that it is opposed to the inlet 40 On the other hand, the ratchet 28 also comprises a ratchet body 67 made of a metal, most of which is covered with a covering member made of a synthetic resin. The ratchet 28 is integrally provided with an engage arm portion 70 which has, at one side thereof, a sliding-contact surface 69 capable of coming into sliding contact with outer peripheries of the first leg 61 and the protrusion 64 of the latch 27 and which protrudes toward the latch 27. A locking surface 71 capable of engaging with the full-engage step 65 and the half-engage step 66 of the latch 27 is formed at a tip end of the engage arm portion 70 in such a manner that the ratchet body 67 is torn off. The ratchet lever 29 is formed from a synthetic resin and turnably carried by the rivet shaft 53 common to the ratchet 28 in such a manner that it is sandwiched between the protrusion support portion 52 of the casing body 37 and the ratchet 28. Moreover, a pair of engage pins 72, 72 are integrally provided in a projecting manner on the ratchet lever 29 for engagement with the ratchet 28 to inhibit the relative turning movement of the ratchet lever 29 relative to the ratchet 28. More specifically, the ratchet lever 29 is disposed coaxially in a superposed relation to the ratchet 28, so that it is turned in unison with the ratchet 28. A torsion spring 73 is mounted between the casing body 37 and the ratchet lever 29 to surround the boss portion 43 through which the screw member 44 is inserted, so that the ratchet 28 turnable in unison with the ratchet lever 29 is biased for turning movement in a direction (in a counterclockwise direction in The end of the turning movement of the ratchet 28 turnable in unison with the ratchet lever 29 in the direction to engage the latch 27 is defined by the abutment of a resilient stopper 68 When the latch 27 is at the end of the turning movement in the door opening direction, the sliding-contact surface 69 of the ratchet 28 is in contact with the outer periphery of the protrusion 64 of the ratchet 28. When the first leg 61 is pushed by the striker 39 entering the ingress passage 40 to turn the latch 27 in a door closing direction (in the counterclockwise direction in FIG. 6), the striker 39 is brought into engagement with the engage groove 63, and the sliding-contact surface 69 of the ratchet 28 is shifted from the outer periphery of the protrusion 64 to a position of contact with the outer periphery of the first leg 61. In this case, a half-closed state of the front side door DFis maintained by engagement of the locking surface 71 of the ratchet 28 with the half-engage step 66. When the latch 27 is further turned in the door closing direction as the striker 39 engaged in the engage groove 63 is further moved inwards within the ingress passage 40, the locking surface 71 of the ratchet 28 having the sliding-contact surface 69 in sliding contact with the outer periphery of the first leg 61 is brought into engagement with the full-engage step 65. Thus, the front side door DFis locked in a completely closed state by the engagement of the locking surface 71 with the full-engage step 65. A stopper 74 made of a rubber is fitted and fixed to the casing body 37 to face an inner end of the ingress passage 40 and adapted to abut against the striker 39 entering the ingress passage 40 to define the end of entering of the striker 39. The open lever 30 is formed to extend over a long distance in a direction along a lengthwise direction of the bulged portion 41 of the casing body 37 above the bulged portion 41, and a lengthwise intermediate portion of the open lever 30 is turnably carried on the boss portion 50, while being in sliding contact with the support surface 37 A lengthwise one end 30 The internal operating force inputting means P1comprises an input lever 77 which is turnably carried on a bracket 78 integrally provided on the back plate 361through a support shaft 79 having an axis in a direction perpendicular to the turning axis of the open lever 30, and an urging portion 77 The input lever 77 is turned in a direction (in a counterclockwise direction in Namely, the open lever 30 is turned in the counterclockwise direction in Referring also to The open link 31 is disposed sideways of the bulged portion 41 on the side opposite from the inlet 40 A connecting bore 81 is provided in the open lever 30 at the middle between one end 30 With such a structure in which the one end of the open link 31 has been engaged with and connected to the open lever 30, the open link 31 is operated so that it is stroked toward the other end in the lengthwise direction of the open link 31, i.e., downwards in response to the turning movement of the open lever 30 in the counterclockwise direction in The cover 33 is formed from a synthetic resin into a box shape with a portion on the side of the casing 261being opened, and is fastened to the casing 261to cover the side of the casing 261opposite from the surface plate 351, i.e., adjacent the glass sash 23. To fasten the cover 33, a pair of positioning protrusions 85, 85 are integrally provided at the lower portion of the back plate 361of the casing 261at a distance spaced apart from each other in the lengthwise direction of the ingress passage 40 to protrude toward the cover 33. A threaded bore 87 is provided in the lower portion of the back plate 361, so that it is located at the middle between both of the positioning protrusions 85, 85, and a single positioning protrusion 86 is integrally provided at the upper portion of the back plate 361at a location spaced apart from the bracket 78 to protrude toward the cover 33. On the other hand, the cover 33 is provided with positioning bores 88, 88 into which the positioning protrusions 85, 85 are fitted, and a bottomed positioning bore 89 into which the positioning protrusion 86 is fitted. In a state in which the cover 33 has been positioned relative to the casing 261by fitting the positioning protrusions 85, 85 and 86 into the corresponding positioning bores 88, 88 and 89, respectively, a screw member 90 inserted through the cover 33 is screwed into the threaded bore 87 in the back plate 361. In a state in which the cover 33 has been attached to the casing 261in the above manner, the ratchet 28, the ratchet lever 29, most of the open lever 30, the open link 31 and the locking lever 32 are covered with the cover 33, and the opposite ends of the open lever 30 protrude in opposite sideways directions from the cover 33. A guide groove 91 for guiding of the open link 31 operated within the plane perpendicular to the lengthwise direction of the ingress passage 40 is provided in the cover 33 to extend over a long distance along such plane, and an operating chamber 92, in which the locking lever 32 is accommodated for operation, is defined in the cover 33 to lead to a lower end of the guide groove 91. Moreover, a plurality of ribs 93 are fixedly mounted on an inner side of the guide groove 91 to come into sliding contact with opposite sides of the open link 31, as best shown in FIG. 7. The ribs 93 may be formed integrally with the cover 33, as shown, or may be formed of an elastomeric material such as a rubber different from a material for the cover 33, which is fixedly provided on the inner sides of the guide groove 91 by affixing or the like. A knob lever 95 is carried at the lower portion of the cover 33 for turning movement about a turning axis that extends on a plan perpendicular to the turning axes of the ratchet 28 and the ratchet lever 29 and extending substantially in the lengthwise direction of the ingress passage 40, so that it is turned in response to the operation of an operating knob (not shown) provided on the inner surface of the front side door DF. The knob lever 95 is disposed inside the cover 33 within the front side door DF, and is formed from a synthetic resin and integrally provided with a shaft section 96 having the same axis as the turning axis of the knob lever 95. The cover 33 has a cylindrical support shaft section 97 integrally provided thereon at a location excluding the operating chamber 92, with the shaft section 96 being turnably fitted in the cylindrical support shaft section 97. The shaft section 96 has a connecting shaft portion 96 The locking lever 32 is integrally provided with a connecting arm portion 32 The locking lever 32 is capable of being turned between the unlocking position shown in FIG. 10 and the locking position shown in The knob lever 95 is integrally provided with a pair of lever portions 95 A stopper pin 102 is projectingly provided on the cover 33 and is capable of abutting against a side of the knob lever 95 to limit the turning movement of the knob lever 95 and the locking lever 32 in a range between the unlocking position and the locking position. A cylinder lever 106 is mounted to an end of the shaft section 96 opposite from the knob lever 95 and is disposed sideways of the cover 33 to sandwich the cover 33 between the cylinder lever 106 and the knob lever 95. The cylinder lever 106 is turned about an axis of the shaft section 96 in response to a key operation of a key cylinder lock 107 (see The acceptable range of relative turning movement of the cylinder lever 106 and the shaft section 96 is set so that the force cannot be transmitted from the shaft section 96 to the cylinder lever 106, when the locking lever 32 is turned between the unlocking position and the locking position by the knob lever 95 integral with the shaft section 96. When the cylinder lever 106 is operated to turn the locking lever 32 between the unlocking position and the locking position, the knob lever 95 is also turned integrally with the shaft section 96. The engage arm portion 103 integrally provided on the ratchet lever 29 extends with its tip end disposed sideways of the open link 31 on the side of the surface plate 351within the operating chamber 92, and the open link 31 is provided with an urging surface 104 which is opposed to the tip end of the engage arm portion 103. When the locking lever 32 is in the unlocking position and moreover, the ratchet 28 is in a state in which its locking surface 71 has been brought into engagement with the full-engage step 65, i.e., in a state shown in When the open link 31 is operated in the direction to release the locked state in the state in which the locking lever 32 is in the unlocking position, as described above, the pin 98 provided on the connecting arm portion 32 The urging surface 104 is displaced from the position in which it is opposed to the engage arm portion 103 of the ratchet lever 29, when the locking lever 32 is turned to the locking position, as shown in FIG. 11. Therefore, even if either of the outside handle 76 and the inside handle is operated to operate the open link 31 in the direction to release the locked state, when the locking lever 32 is in the locking position, the urging surface 104 cannot apply the urging force to the engage arm portion 103. In other words, the transmission of the operating force from the open link 31 to the ratchet lever 29 is impossible, and hence, the ratchet 28 remains engaged with the latch 27, and the locked state of the front side door DFis maintained. A substantially L-shaped engage portion 105 is integrally provided at the other end, i.e., the lower end of the open link 31 at a distance spaced apart from the urging surface 104, and an engage step 103 The engage portion 105 is brought into engagement with the engage step 103 The cover 33 is assembled to the back plate 361of the casing 261in such a manner that one end of the open link 31 is brought into engagement with the open lever 30 in a state in which the locking lever 32, the knob lever 95, the cylinder lever 106 and the open link 31 have been assembled to the cover 33. The operation of the first embodiment will be described below. In the door lock device 22F1, the open link 30 capable of transmitting to the ratchet lever 29 the operating force for operating the ratchet 28 in the direction to release the engagement with the latch 27 in response to the inputting of the operating force to the open lever 30, extends along the plane perpendicular to the lengthwise direction of the ingress passage 40, and is disposed sideways of the bulged portion 41 on the side opposite from the inlet 40 Therefore, the open link 31 can be disposed for operation by effectively utilizing a space occupied between the end wall 25 The cover 33 is mounted to the casing 261to cover at least the open link 31 and the locking lever 32, and even if an exclusive tool is inserted into the front side door DFwhen the front side door DFis in the locked state, the exclusive tool cannot be brought into engagement with the open link 31 or the locking lever 32. Therefore, it is possible to reliably prevent the open link 31 or the locking lever 32 from being operated as undesired by the exclusive tool, thereby enhancing the steal-preventing property. The knob lever 95 and the cylinder lever 106 connected to the locking lever 32 are disposed outside the cover 33, but the cylinder lever 106 cannot be turned, unless the key cylinder lock 107 is operated. The knob lever 95 is disposed inside the window glass pane 21Fin the front side door DFand hence, it is impossible to bring the exclusive tool into engagement with the knob lever 95 from the side of the outer surface of the front side door DF. In addition, since the guide groove 91 for guiding the operation of the open link 31 is provided in the cover 33 for covering the open link 31, the operation of the open link 31 can be reliably can be carried out without addition of a part other than the cover 33, notwithstanding that the open link 31 is cantilever-supported on the open lever 30. Moreover, since the plurality of ribs 93 are fixedly provided on the inner side of the guide groove 91 to come into sliding contact with the opposite sides of the open link 31, the chattering of the open link 31 can reliably be eliminated and hence, it is possible to effectively prevent the generation of a noise during traveling of the vehicle or during opening and closing of the front side door DF. The knob lever 95, which is turned in response to the operation of the operating knob, is connected to the locking lever 32 connected to the other end of the open link 31, but the knob lever 95 is integrally with the shaft section 96 coaxial with the axis of turning movement of the knob lever 95, and the locking lever 32 is connected to the shaft section 96 for relative non-turning movement. Therefore, the locking lever 32 and the knob lever 95 can be supported commonly, and they can be supported for turning movement by a small number of parts and in a small number of assembling steps. Moreover, the force can be transmitted with an excellent efficiency between the knob lever 95 and the locking lever 32 by turning the locking lever 32 and the knob lever 95 in unison with each other about the same axis. Further, since the cylinder lever 106 connected to the key cylinder lock 107 is connected to the shaft section 96 for turning movement about the same axis as the shaft section 96 in unison with the shaft section 96, the cylinder lever 106 in addition to the knob lever 32 and the locking lever 95 can be turned about the same axis. Thus, the knob lever 95, the locking lever 32 and the cylinder lever 106 can be supported for turning movement by a smaller number of parts and in a smaller number of assembling steps, and the efficiency of transmission of the force between the cylinder lever 106 and the locking lever 32 is also enhanced. Further, since the shaft section 96 is turnably supported by the cover 33 mounted to the casing 261to enhance the steal preventing property, any part for supporting the locking lever 32, the knob lever 95 and the cylinder lever 106 is not required other than the cover 33, which can contribute to a reduction in number of parts. Since the ratchet lever 29 is coaxially disposed in the superposed relation to the ratchet 28 for relative non-turning movement, the ratchet 28 and the ratchet lever 29 can turnably and commonly be supported by the rivet shaft 53, leading to a reduced number of parts and to an enhanced efficiency of transmission of the force between the ratchet lever 29 and the ratchet 28. Moreover, the ratchet 28 and the ratchet lever 29 are connected in a compact arrangement, whereby the door lock device 22F1can be made compact. The end of turning movement of the ratchet 28 in the direction to be engaged with the latch 27 is defined by abutment of the resilient stopper 68 Further, since the resilient stopper 68 A second embodiment of the present invention will now be described with reference to Referring first to Referring also to A tongue piece portion 114 adapted to resiliently abut against the striker 39 entering the ingress passage 40 from the sideways to brake the entering of the striker 39 is integrally provided on the casing body 37 to extend from the inlet 40 The internal operating force inputting means PI2comprises the input lever 77 which is turnably carried, through a support shaft 79 having an axis extending in a direction perpendicular to a turning axis of the open lever 30, on a bracket 109 which is formed into a flat shape along a plane parallel to the turning axes of the latch 27 and the ratchet 28 and integrally connected at right angles to the back plate 362. On the other hand, an input plate portion 30 The cover 111 is formed from a synthetic resin into a box shape with a portion on the side of the casing 262being opened, and is mounted to the casing 262to cover a portion of the casing 262on the side opposite from the surface plate 352, i.e., on the side of the glass sash 23. The cover 111 is integrally provided with a risen portion 111 As shown in Further, a pair of fitting projections 119, 119 are provided at a lower portion of the back plate 362to protrude toward the cover 111, and a pair of fitting bores 120, 120 for fitting of the fitting projections 119, 119 are provided in the cover 111. Thus, the fitting projections 119, 119 are resiliently engaged with inner surface of the fitting bores 120, 120 in an engage structure similar to the structure in which the fitting projections 116, 116 are resiliently engaged into the fitting bores 115, 115. Therefore, the cover 111 is resiliently engaged with the back plate 362of the casing 262, so that the attaching and detaching operations can be carried out in a direction along the bracket 109, i.e., in an operating direction 121 parallel to the turning axes of the latch 27 and the ratchet 28. The locked-state switch-over means LC2is comprised of the open link 31, the locking lever 32, a knob lever 110 coaxially connected to the locking lever 32, the cylinder lever 106 coaxially connected to the knob lever 110, an actuator 112 connected to the locking lever 32 and clamped and fixed between casing 262and the cover 111, and a connecting lever 124 connected to the knob lever 110 and turnably carried on the cover 111. In a state in which the cover 111 has been mounted to the casing 262, the ratchet 28, the ratchet lever 29, most of the open lever 30, the open link 31, the locking lever 32 and the connecting lever 124 are covered with the cover 111, and opposite ends of the open lever 30 protrude in opposite sideways directions from the cover 111. As in the first embodiment, the guide groove 91 for guiding the open link 31 operated within a plane perpendicular to the lengthwise direction of the ingress passage 40 is provided in the cover 111 to extend over a long distance along such plane, and the operating chamber 92, in which the locking lever 32 is accommodated for operation, is defined in the cover 111 to lead to a lower end of the guide groove 91. Moreover, a plurality of ribs 93 are fixedly provided on an inner side of the guide groove 91 to come into sliding contact with opposite sides of the open link 31, as best shown in FIG. 19. The ribs 93 may be formed integrally with the cover 111, as shown, or may be formed of an elastomeric material such as a rubber different from a material for the cover 111, which is fixedly provided on the inner sides of the guide groove 91 by affixing or the like. A knob lever 110 is carried at the lower portion of the cover 111 for turning movement about a turning axis perpendicular to the turning axes of the ratchet 28 and the ratchet lever 29 and extending substantially in the lengthwise direction of the ingress passage 40, so that it is turned in response to the operation of the locking knob (not shown) provided on the inner surface of the front side door DF. Referring also to The shaft section 122 has a connecting shaft portion 122 A connecting lever 124 is turnably carried on the risen portions 111 A triangular projection 110 A pair of stopper pins 130, 130 are projectingly provided on the cover 111 and is capable of abutting against a side of the knob lever 110 to limit the turned positions of the knob lever 110 and the locking lever 32 in a range between the unlocking position and the locking position. Referring to Moreover, the risen portion 111 The cylinder lever 106 is disposed sideways of the cover 111 to sandwich the cover 111 between the cylinder lever 106 and the knob lever 110 and is attached to an end of the shaft section 122 which is opposite from the knob lever 110. The cylinder lever 106 is connected to the shaft section 122 for permitting turning movement relative to the shaft section 122 in a range limited about the axis. The acceptable range of relative turning movement of the shaft section 122 and the cylinder lever 106 is set so that the force cannot be transmitted from the shaft section 122 to the cylinder lever 106, when the locking lever 32 is turned between the unlocking position and the locking position by the knob lever 110 integral with the shaft section 122. When the cylinder lever 106 is operated to turn the locking lever 32 between the unlocking position and the locking position, the knob lever 110 is also turned with the shaft section 122. An opening 135 which opens downwards is defined between the lower portion of the cover 111 and the lower portion of the back plate 362of the casing 262, and the actuator 112 connected to the shaft section 122 turned with the locking lever 32 is mounted to the cover 111 and the casing 262, so that a portion thereof protrudes into the cover 111 through the opening 135. The actuator 112 includes, within a housing 136 made of a synthetic resin, a motor 137, a worm 138 provided on an output shaft of the motor 137, a worm gear 139 rotatably carried on the housing 136 and meshed with the worm 138, a gear 140 integral with the worm gear 139, and a sector gear 141 meshed with the gear 140. A rotary shaft of the sector gear 141 is provided as an output shaft 142 of the actuator 112 to protrude from the housing 136. The housing 136 of the actuator 112 includes a protrusion 136 Fitting grooves 143 and 144 opening toward the bracket 109 on the back plate 362of the casing 262are provided in the cover 111 at a location corresponding to the opening 135 and defined in a substantially T-shape within a plane perpendicular to the operating direction 121 for attaching and detaching the cover 111 to and from the casing 262. The fitting grooves 143 and 144 are provided in the cover 111 with the relative attitudes different through 90 degree within such plane. On the other hand, substantially T-shaped fitting portions 145 and 146 are provided on the housing 136 of the actuator 112 and fitted into the fitting grooves 143 and 144, respectively. Moreover, one 145 of the fitting portions is provided with an engage claw 148 resiliently engaged into an engage bore 147 which is provided in the cover 111 to open into the fitting groove 143. The other fitting portion 146 is also resiliently engaged with the cover 111 in a structure similar to the structure in which the fitting portion 145 has been resiliently engaged with the cover 111. Therefore, the actuator 112 is resiliently engaged with the cover 111 from the side of the casing 262in such a manner that the position thereof is invariable relative to the cover 111 within the plane perpendicular to the operating direction 121 for attaching and detaching the cover 111 to and from the casing 262. The bracket 109 of the back plate 362of the casing 262is opposed to the protrusion 136 Moreover, the output shaft 142 of the actuator 122 is formed into a non-circular cross-sectional shape. On the other hand, a recess 149, into which the output shaft 142 is relatively non-turnably fitted, is provided in an end of the shaft section 122 non-turnable relative to the locking lever 32, which is opposed to the output shaft 142, i.e., an end on the side of the knob lever 110, and the output shaft 142 of the actuator 122 is coaxially connected to the shaft section 122. The operation of the second embodiment will be described below. The knob lever 110 turned in response to the operation of the locking knob is connected to the locking lever 32 connected to the other end of the open link 31. The knob lever 110 is integrally provided with the shaft section 122 coaxial with the turning axis of the knob lever 110, and the locking lever 32 is connected to the shaft section 122 for non-turning movement relative to each other. Therefore, the locking lever 32 and the knob lever 110 can be supported commonly, and they can be turnably supported by a small number of parts and in a small number of assembling steps. Moreover, the force can be transmitted with an excellent efficiency between the knob lever 110 and the locking lever 32 by turning the locking lever 32 and the knob lever 110 in unison with each other about the same axis. In addition, since the cylinder lever 106 connected to the key cylinder lock 107 (see The cover 111 is resiliently engaged with the casing 262, so that the attaching and detaching operations can be carried out in the operating direction 121 parallel to the turning axes of the latch 27 and the ratchet 28, and the actuator 112 connected to the locking lever 32 is resiliently engaged with the cover 111 from the side of the casing 262, so that the position thereof relative to the cover 111 in the plane perpendicular to the operating operation 121 is invariable. The casing 262is provided with the bracket 109 as the limiting plate opposed to the actuator 112 to inhibit the leaving of the actuator 112 from the cover 111. Therefore, the actuator 112 is clamped and fixed between the bracket 109 of the casing 262and the cover 111 by bringing the cover 111 into resilient engagement with the casing 262in the state in which the actuator 112 has been brought into resilient engagement with the cover 111 from the side of the casing 262. As a result, the actuator 112 can easily be assembled without use of a fastening part such as a machine screw, leading to an enhanced assembling operability. Moreover, since the output 142 of the actuator 112 is coaxially connected to the locking lever 32, it is not required that a connecting member is mounted between the output 142 of the actuator 112 and the locking lever 32. Thus, the number of parts can be reduced, and the assemblability can be enhanced, the efficiency of transmission of the power between the actuator 112 and the locking lever 32 can also be enhanced. Due to the difficulty to directly connect to the knob lever 110 the operating force transmitting member such as a rod connected to the locking knob to because of the relative-positional relationship between the locking knob and the knob lever 110 receiving the operating force depending on the operation of the locking knob, the connecting lever 124 mounted between the operating force transmitting member and the knob lever 110 is turnably carried on the cover 111. However, the cover 111 is provided with the support bore 131 into which the shaft section 125 integrally provided on the connecting lever 124 is inserted, and the shaft section 125 is provided with the plurality of engage claws 132 resiliently engaged with the periphery of the support bore 131 on the side of the outer surface of the cover 111. Therefore, by inserting the shaft section 125 integrally connected to the connecting lever 124 into the support bore 131 of the cover 111, the shaft section 125, namely, the connecting lever 124 is attached to the cover 111 for turning movement about the axis and for axial movement inhibited. Thus, the attachment of the connecting lever 124 to the cover 111 is facilitated. Moreover, since the covering member 133 is provided on the outer surface of the cover 111 to cover at least the upper portion and the outer end of the shaft section 125, the wrong access to the shaft section 125 from the outside is impossible. Furthermore, an external force is prevented from being applied to the shaft section 125 of the connecting lever 124 in a direction of leaving of the shaft section 125 from the support bore 131 at an assembling step or at a transporting stage, and the connecting lever 124 cannot be disconnected from the cover 111. A third embodiment of the present invention will now be described with reference to Referring to The common unit UC comprises the latch 27, the ratchet 28, the ratchet lever 29, the open lever 30, the spring 59 and the torsion springs 73 and 75 which are parts common to the front side door DFand the rear side door DRand which mounted to a common casing 263capable of being fastened to any of the front side door DFand the rear side door DR. Referring also to The cover unit CF for the front side door comprises the internal operating-force inputting means PIFand the locked-state switch-over means LCFfor the front side door DFmounted to a cover 151 which is formed into a shape common to the front side door DFand the rear side door DRand which is mounted to the casing 263to cover the common unit UC. The cover 151 comprises a support plate 153 made of a metal and coupled to a cover body 152 made of a synthetic resin. The cover body 152 integrally includes a main body portion 152 The support plate 153 is opposed to the risen portion 152 As shown in Further, a pair of fitting projections 160, 160 are provided at a lower portion of the back plate 363to protrude toward the cover 151, and a pair of fitting bores 161, 161, into which the fitting projections 160, 160 are fitted, are provided in the main body portion 152 As shown in Therefore, the cover body 152 is brought into resilient engagement with the back plate 363of the casing 263, so that it can be detached in a direction along the support plate 153, i.e., in an operating direction 121 parallel to the turning axes of the latch 27 and the ratchet 28. Referring also to The support shaft 162 is integrally provided on the risen portion 152 An annular support tube portion 163 is integrally provided on the risen portion 152 On the other hand, a circular projection 153 When the cover body 152 and the support plate 153 are coupled to each other, the projection 153 The locked-state switch-over means LCFincludes the open link 31, the locking lever 32, the knob lever 110Fcoaxially connected to the locking lever 32, the connecting lever 124 connected to the knob lever 110F, the cylinder lever 106 coaxially connected to the knob lever 110F, and the actuator 112 connected to the locking lever 32 and fixed to the cover 151. The locked-state switch-over means LCFis covered with the cover 151. A knob lever 110Fis carried at a lower portion of the cover body 152 for turning movement about a turning axis perpendicular to the turning axes of the ratchet 28 and the ratchet lever 29 and extending substantially in the lengthwise direction of the ingress passage 40, so that it is turned in response to the operation of the locking knob (not shown) mounted on the inner surface of the front side door DF. Referring also to A connecting shaft portion 122 An opening 135 which opens downwards is defined between the lower portion of the cover 151 and the lower portion of the back plate 363of the casing 263, and the actuator 112 connected to the shaft section 122 turned with the locking lever 32 is mounted to the cover 151, so that a portion thereof protrudes into the cover 151 through the opening 135. Namely, the actuator 112 is resiliently engaged with the cover body 152 from the side of the casing 263, so that the position thereof relative to cover body 152 is invariable in the plane perpendicular to the operating direction 121 for the operation of attaching and detaching the cover body 152 to the casing 263. The support plate 153 forming the cover 151 together with the cover body 152 is opposed as a limiting plate to the protrusion 136 Referring to The door lock device 22R′ for the rear side door DRis comprised of a common unit UC common to the front side door DFand the rear side door DR, and a rear side door cover unit CR assembled to the common unit UC. Referring also to The internal operating-force inputting means PIRincludes first and second input levers 165 and 166 turnably supported on the support shaft 162 of the cover 151, and a child lock mechanism 167. Referring to Referring also to The second input lever 166 is integrally provided with an arm portion 166 A locking piece 172 is mounted to the arm portion 166 On the other hand, the first input lever 165 is provided with an engage arm 165 Therefore, when the first input lever 165 is turned in the counterclockwise direction in On the other hand, when the locking piece 172 is in the position spaced apart from the support shaft 162 along the elongated bore 170 as shown in The child lock mechanism 167 is switched over between an unlocking state in which the locking piece 172 is moved to the position close to the support shaft 162 along the elongated bore 170, and a locking state in which the locking piece 172 is moved to the position spaced apart from the support shaft 162 along the elongated bore 170. In the locking state of the child lock mechanism 167, the opening operation force is not transmitted to the open lever 30, even if a child sitting on a rear seat switches the locked-state switch-over means LCRinto the unlocking state by mistake, and operates the inside handle mounted on the inner surface of the rear side door DRfor opening of the rear side door DR. The child lock mechanism 167 includes a child lever 175 of a synthetic resin, which is carried on the support plate 153 of the cover 151 for turning movement about an axis parallel to the turning axes of the first and second input levers 165 and 166, i.e., the axis of the support shaft 162, and a child link 176 of a synthetic resin, which is connected at one end thereof to the child lever 175 and integrally formed at the other end thereof with the locking piece 172. Referring to The child lever 175 is integrally provided with arm portions 175 The child link 176 is disposed on the outer surface of the support plate 153, while the second input lever 166 is disposed on the inner surface of the support plate 153. It is required that the locking piece 172 connected at one end thereof integrally and at right angles to the other end of the child link 176 has the other end passed through the support plate 153 and disposed inside the support plate 153. A through-bore 183 through which the locking piece 172 is extended is provided in the support plate 153 to permit the movement of the locking piece 172 with the operation of the child lock mechanism 167 and the turning operation of the second input lever 166. On the other hand, a base end of a pin-shaped operating portion 184 is provided integrally and at right angles at a tip end of the other arm portion 175 In the opened state of the rear side door DR, the operating portion 184 can be operated to turn the child lever 175 between the unlocking position and the locking position. Further, the child lever 175 is integrally provided with an arm portion 175 The turning movement of the child lever 175 between the unlocking position and the locking position by the operation of the operating portion 184 is conducted, so that the moderating pin 185 climbs over the projection 186, and thus, a moderation is applied to the turning operation of the child lever 175 between the unlocking position and the locking position. The locked-state switch-over means LCRincludes the open link 31, the locking lever 32, a knob lever 110R, and the actuator 112 connected to the locking lever 32 and fixed to the cover 151. The locked-state switch-over means LCRis covered with the cover 151. The locked-state switch-over means LCRfor the rear side door DRdoes not include the connecting lever 124 and the cylinder lever 106 which are included in the locked-state switch-over means LCFfor the front side door DF. Moreover, the shape of the knob lever 110Rof the locked-state switch-over means LCRfor the rear side door DRis different from that of the knob lever 110Fincluded in the locked-state switch-over means LCFfor the front side door DF. A shaft section 122 is integrally provided on the knob lever 110Rand turnably carried on the cover body 152 of the cover 151, as in the knob lever 110F. The knob lever 110Ris provided with a connecting bore 187 for connecting a transmitting means (not shown) such as a rod connected to a locking knob (not shown) mounted on the inner surface of the rear side door DR. The knob lever 110Ris also provided with a recess 188 into which the output shaft 142 of the actuator 112 is relatively non-turnably fitted. The operation of the third embodiment will be described below. The common unit UC is comprised of the common casing 263capable of being attached to any of the front side door DFand the rear side door DR, and the latch 27, the ratchet 28, the open lever 30, the spring 59 and the torsion springs 73 and 75, all of which are mounted to the casing 263as components common to the front side door DFand the rear side door DR. The door lock device 22F3for the front side door DFcomprises the common unit UC and the front side door cover unit CF, and the door lock device 22R′ for the rear side door DRcomprises the common unit UC and the rear side door cover unit CR. The front side door cover unit CF comprises the internal operating-force inputting means PIFand the locked-state switch-over means LCFfor the front side door, which are mounted to the cover 151 that is formed into the shape common to the front and rear side doors DFand DRand attached to the casing 263to cover the common unit UC. The rear side door cover unit CR comprises the internal operating-force inputting means PIRand the locked-state switch-over means LCRfor the rear side door, which are mounted to the cover 151. The casing 263is capable of being selectively mounted to any of the internal operating-force inputting means PIFand the locked-state switch-over means LCFfor the front side door DFand the internal operating-force inputting means PIRand the locked-state switch-over means LCRfor the rear side door DR. More specifically, the cover body 152 of the cover 151 is provided with the support bore 131 for turnably supporting the connecting lever 124 of the locked-state switch-over means LCFfor the front side door DF. The support plate 153 of the cover 151 is provided with the limiting bore 182, the through-bore 183 and the projections 186 for the child lock mechanism 167 included in the internal operating-force inputting means PIRfor the rear side door DR. In the cover 151 used in the door lock device 22F3for the front side door DF, the limiting bore 182, the through-bore 183 and the projections 186 are not used, and in the cover 151 used in the door lock device 22R′ for the rear side door DR, the support bore 131 is not used. By commonly using many of components forming the door lock device 22F3for the front side door DFas well as the door lock device 22R′ for the rear side door DRrespectively as the common unit UC and commonly using the casing 263for the front side door cover unit CF and the rear side door cover unit CR in the above manner, a reduction in cost can be provided, while facilitating the management of the components, and the assemblability can also be enhanced. The single input lever 77 included in the internal operating-force inputting means PIFfor the front side door DF, as well as the first and second input levers 165 and 166 included in the internal operating-force inputting means PIRfor the rear side door DRare turnably supported on the support shaft 162 integrally provided on the cover body 152 made of the synthetic resin. Therefore, as compared with a case where the input levers 77, 165 and 166 are supported using rivets, the number of parts can be reduced, and the assembling operation can be facilitated. Moreover, since the support shaft 162 integral with the cover body 152 is supported at its tip end on the support plate 153 coupled to the cover body 152, the support shaft 162 is dual-supported, or supported at two locations, whereby the strength of supporting of the input levers 77, 165 and 166 can be enhanced. In addition, the support shaft 162 is formed into the stepped fashion and includes the large-diameter support portion 162 Although the embodiments of the present invention have been described in detail, it will be understood that the present invention is not limited to the above-described embodiments, and various modifications may be made without departing from the spirit and scope of the invention defined in claims.BACKGROUND OF THE INVENTION
SUMMARY OF THE INVENTION
BRIEF DESCRIPTION OF THE DRAWINGS
DETAILED DESCRIPTION OF THE PREFERRED EMBODIMENTS